JP2010018872A - ろう付性に優れたアルミニウム合金ブレージングシート - Google Patents
ろう付性に優れたアルミニウム合金ブレージングシート Download PDFInfo
- Publication number
- JP2010018872A JP2010018872A JP2008182871A JP2008182871A JP2010018872A JP 2010018872 A JP2010018872 A JP 2010018872A JP 2008182871 A JP2008182871 A JP 2008182871A JP 2008182871 A JP2008182871 A JP 2008182871A JP 2010018872 A JP2010018872 A JP 2010018872A
- Authority
- JP
- Japan
- Prior art keywords
- brazing
- sacrificial anode
- core material
- anode material
- aluminum alloy
- Prior art date
- Legal status (The legal status is an assumption and is not a legal conclusion. Google has not performed a legal analysis and makes no representation as to the accuracy of the status listed.)
- Granted
Links
Images
Landscapes
- Prevention Of Electric Corrosion (AREA)
Abstract
【解決手段】心材の片面にAl−Si系ろう材を、他方の面には犠牲陽極材をクラッドしたアルミニウム合金ブレージングシートであって、心材および犠牲陽極材それぞれのビッカース硬さをHvA、HvBとし、ブレージングシートを450℃で焼きなました後の心材および犠牲陽極材それぞれのビッカース硬さをHvC、HvDとした時に、HvA/HvCが1.2以上であり、かつHvB/HvDが1.2未満である、ろう付性に優れたアルミニウム合金ブレージングシート。
【選択図】なし
Description
ろう付方法には様々あるが、非腐食性フラックスであるフッ化物系フラックスを用いて、N2ガス中でろう付するNB法(ノコロックブレージング法)が一般的に用いられている。
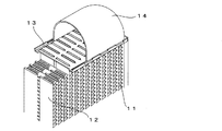
ろう付を用いて製造するラジエータ等のアルミニウム合金製熱交換器は、例えば図4に示すように複数本の扁平チューブ(12)の間にコルゲート状に加工したフィン(11)を一体に形成し、該扁平チューブ(12)の両端はプレート(13)とタンク(14)とで構成される空間にそれぞれ開口させた構造を有する。ここで扁平チューブ(12)には、溶接タイプのチューブとろう付タイプのチューブとが主に用いられる。溶接タイプチューブは、電縫溶接によって板材の端面を溶接した後、扁平管に加工するタイプのチューブであり、ろう付タイプのチューブは、板材をロール成形等により加工した後、ろう付時に隙間をろうで充填して密閉するタイプのチューブである。
また、大量のろうが成形によって形成された溝を通る過程でチューブ心材を溶融させながらチューブ自体をえぐるろう流れによるエロージョンが発生する可能性がある。このろう流れによるエロージョンが発生するとエロージョンの起きていない箇所に比べてチューブの残肉量が非常に小さくなり、熱交換器の耐食性、耐久性が低下する問題がある。
本発明は、この問題点を解消するべく行われたものであって、チューブに形成される成形溝が約600℃で行われるろう付において良好なろう付性を得ることができ、さらに、チューブとプレートの接合部におけるろう付不良とチューブに形成される成形溝におけるろう流れによるエロージョンを抑制することができるアルミニウム合金ブレージングシートを提供することを目的とする。
すなわち本発明は、
(1)心材の片面にAl−Si系ろう材をクラッドし、心材の他方の面には犠牲陽極材をクラッドしたアルミニウム合金ブレージングシートであって、ろう付前の心材および犠牲陽極材それぞれのビッカース硬さをHvA、HvBとし、ろう付前のブレージングシートを450℃で焼きなました後の心材および犠牲陽極材それぞれのビッカース硬さをHvC、HvDとした時に、HvAとHvCの比HvA/HvCが1.2以上であり、かつHvBとHvDの比HvB/HvDが1.2未満であることを特徴とするろう付性に優れたアルミニウム合金ブレージングシート、
(2)心材が、Si:0.05〜1.2%(質量%、以下同じ)、Fe:0.05〜0.4%、Cu:0.3〜1.2%およびMn:0.3〜1.8%を含有し、Ti:0.02〜0.3%、Zr:0.02〜0.3%、Cr:0.02〜0.3%およびV:0.02〜0.3%のうち1種以上を含有し、残部Alと不可避的不純物からなり、犠牲陽極材がZn:1.0〜6.0%を含有し、残部Alと不可避的不純物からなるAl合金であることを特徴とする(1)項記載のろう付性に優れたアルミニウム合金ブレージングシート、
(3)心材が、Si:0.05〜1.2%(質量%、以下同じ)、Fe:0.05〜0.4%、Cu:0.3〜1.2%およびMn:0.3〜1.8%を含有し、Ti:0.02〜0.3%、Zr:0.02〜0.3%、Cr:0.02〜0.3%およびV:0.02〜0.3%のうち1種以上を含有し、残部Alと不可避的不純物からなり、犠牲陽極材がZn:1.0〜6.0%を含有し、さらにSi:0.05〜1.0%、Mn:0.02〜1.8%、Ti:0.02〜0.3%およびV:0.02〜0.3%のうち1種以上を含有し、残部Alと不可避的不純物からなるAl合金であることを特徴とする(1)項記載のろう付性に優れたアルミニウム合金ブレージングシート、および、
(4)心材が、さらにMg:0.05〜0.6%を含有することを特徴とする(2)または(3)項記載のろう付性に優れたアルミニウム合金ブレージングシート、
を提供するものである。
本発明のアルミニウム合金ブレージングシートを構成する心材および犠牲陽極材それぞれのビッカース硬さをHvA、HvBとし、ブレージングシートを450℃で焼きなました後の心材および犠牲陽極材それぞれのビッカース硬さをHvC、HvDとした時に、HvAとHvCの比であるHvA/HvCが1.2以上であり、かつHvBとHvDの比であるHvB/HvDが1.2未満である。HvC、HvDは450℃で焼きなました後の心材および犠牲陽極材それぞれのビッカース硬さであり、ひずみがほとんど残っていない状態(O調質の状態)である。よって、HvAとHvCの比であるHvA/HvCおよびHvBとHvDの比であるHvB/HvDの値が1に近いほど、素材の状態における心材および犠牲陽極材がO調質に近いことになる。反対に値が1から離れるほど、素材の状態における心材、犠牲陽極材にひずみが多く導入されていることになる。
なお、上記のブレージングシートを450℃で焼きなました後の心材および犠牲陽極材それぞれのビッカース硬さは、本発明のブレージングシート自体が作製の際に450℃の焼きなましを施されるものではなく、450℃の焼きなましが施された状態を想定したものである。このように想定するのは、450℃で焼きなましを行うと、材料中にひずみがほとんど残っていない状態となることから、この状態に対して硬さを比較することでブレージングシートの再結晶の度合いの指標とすることができるためである。
このエロージョンが発生すると、心材の強度や耐食性が低下する問題が生じる。ろう付時の心材のエロージョンを抑制するためには素材の段階で心材のひずみ量がある一定量必要であり、HvA/HvCが1.2以上であればその状態が達成できる。好ましくは、HvA/HvCは1.3以上である。
[1.心材]
Siは、Fe、MnとともにAl−Fe−Mn−Si系の化合物を形成し、分散強化として作用し、或いはマトリクスに固溶して固溶強化により強度を向上させる。また、Mgと反応してMg2Si化合物を形成することで強度が向上する。Siの含有量は、0.05〜1.2%(組成の%は質量%を表す、以下同じ)の範囲であり、0.05%未満ではその効果が小さく、1.2%を超えると心材の融点が低下し、溶融が起こる可能性が高くなる。好ましくは、0.2〜1.0%である。
Feは、再結晶核となり得るサイズの金属間化合物を作りやすい。ろう付後の結晶粒径を粗大にしてろう拡散を抑制するためには、Feの含有量は、0.05〜0.4%であり、0.05%未満では高純度アルミニウム地金を使用しなければならずコスト高となり、0.4%を超えるとろう付後の結晶粒径が微細となり、ろう拡散が生じる恐れがある。好ましくは、0.1〜0.2%である。
Cuは、固溶強化により強度を向上させ、また電位を貴にして犠牲陽極材、フィン材との電位差を大きくし、犠牲陽極効果による防食効果を向上させる。Cuの含有量は、0.3〜1.2%の範囲であり、0.3%未満ではその効果が小さく、1.2%を超えると粒界腐食が発生する可能性が高くなる。好ましくは、0.3〜1.0%である。
Mnは、強度とろう付性、耐食性を向上させ、また電位を貴にする効果がある。Mnの含有量は、0.3〜1.8%であり、0.3%未満ではその効果が小さく、1.8%を超えると鋳造時に巨大金属間化合物が形成されやすくなり、塑性加工性を低下させる。好ましくは、0.5〜1.5%である。
Mgは、Mg2Si析出による強度向上に効果がある。Mgの含有量は、0.05〜0.6%であり、0.05%未満ではその効果が小さく、0.6%を超えるとろう付性が低下する。好ましくは、0.05〜0.4%である。
Tiは、固溶強化により強度を向上させ、また耐食性の向上が図れる。好ましい含有量は、0.02〜0.3%であり、0.02%未満ではその効果は得られず、0.3%を超えると巨大金属間化合物を形成しやすくなり、塑性加工性を低下させる。より好ましくは、0.1〜0.2%である。
Zrは、固溶強化により強度を向上させ、またAl−Zr系の微細化合物が析出し、ろう付後の結晶粒粗大化に作用する。好ましい含有量は、0.02〜0.3%であり、0.02%未満ではその効果は得られず、0.3%を超えると巨大金属間化合物を形成しやすくなり、塑性加工性を低下させる。より好ましくは、0.1〜0.2%である。
Crは、固溶強化により強度を向上させ、また耐食性の向上が図れる。好ましい含有量は、0.02〜0.3%であり、0.02%未満ではその効果は得られず、0.3%を超えると巨大金属間化合物を形成しやすくなり、塑性加工性を低下させる。より好ましくは、0.1〜0.2%である。
Vは、固溶強化により強度を向上させ、また耐食性の向上が図れる。好ましい含有量は、0.02〜0.3%であり、0.02%未満ではその効果は得られず、0.3%を超えると巨大金属間化合物を形成しやすくなり、塑性加工性を低下させる。より好ましくは、0.1〜0.2%である。
本発明の犠牲陽極材ではZnは必須の構成成分であり、電位を卑にすることができ、心材との電位差を形成することで犠牲陽極効果により耐食性を向上できる。Znの含有量は、1.0〜6.0%であり、1.0%未満ではその効果が十分ではなく、6.0%を超えると、腐食速度が速くなり早期に犠牲陽極材が消失し、耐食性が低下する。好ましくは2.0〜5.0%である。
Siは、Fe、MnとともにAl−Fe−Mn−Si系の化合物を形成し、分散強化として作用し、或いはマトリクスに固溶して固溶強化により強度を向上させる。また、ろう付時に心材から拡散してくるMgと反応してMg2Si化合物を形成することで強度が向上する。好ましいSiの含有量は、0.05〜1.0%である。0.05%未満ではその効果が十分でなく、1.0%を超えると犠牲陽極材の融点が低下し、溶融が起こる可能性が高くなる。また犠牲陽極材の電位を貴にするため、犠牲陽極効果を阻害し、耐食性が低下する。より好ましくは、0.1〜0.8%である。0.05%未満では、強度向上が不十分である。
Mnは、強度と耐食性を向上させる。添加する場合の好ましい含有量は、0.02〜1.8%である。1.8%を超えると鋳造時に巨大金属間化合物が形成されやすくなり、塑性加工性を低下させる。また犠牲陽極材の電位を貴にするため、犠牲陽極効果を阻害し、耐食性が低下する。0.02%未満では、強度向上が必ずしも十分ではない。より好ましくは、0.05〜1.5%である。
Tiは、固溶強化により強度を向上させ、また耐食性の向上が図れる。好ましい含有量は、0.02〜0.3%以下である。0.02%未満では強度および耐食性の向上効果が得られず、0.3%を超えると巨大金属間化合物を形成しやすくなり、塑性加工性を低下させる。より好ましくは、0.1〜0.2%である。
Vは、固溶強化により強度を向上させ、また耐食性の向上が図れる。好ましい含有量は、0.02〜0.3%であり、0.02%未満ではその効果は得られず、0.3%を超えると巨大金属間化合物を形成しやすくなり、塑性加工性を低下させる。より好ましくは、0.1〜0.2%である。
これら、Si、Mn、Ti、Vは、必要により犠牲陽極材中に少なくとも1種が添加されるものである。
なお、犠牲陽極材中には、不可避的不純物として0.05〜0.2%程度のFeが含有されていてもかまわない。
ろう材は通常使用されているAl−Si系合金ろう材を使用することができ、特に制限されるものではなく、例えば、JIS4343、4045および4047合金(Al−7〜13wt%Si)が好ましい。
本発明のアルミニウム合金ブレージングシートは、上記記載の合金からなる心材の片面にAl−Si系ろう材をクラッドし、また心材の他方の面には上述の合金からなる犠牲陽極材をクラッドすることで製造される。
心材に対しては、鋳塊の均質化処理を行わないか、行う場合は550℃以下で行う。550℃を超えると、心材中に存在するMn系化合物が粗大化し、強度の低下および心材の再結晶温度が低下する。心材の再結晶温度が低下すると素材の段階で心材のひずみを必要以上に残存させたクラッド材を得ることが困難となる。均質化処理を行う場合のより好ましい心材の均質化処理温度は530℃未満である。
表1および表2に示す金属成分および組成をもつ心材合金および犠牲陽極材合金をそれぞれ金型鋳造により鋳造して各々両面を面削して仕上げた。その後、ろう材にはJIS4045合金を用い、ろう材と犠牲陽極材を500℃で熱間圧延により所望の厚さまで圧延し、板材を作製した。
そして、作製した各ブレージングシートを供試材とし、供試材における心材、犠牲陽極材のビッカース硬さ、ろう付性、ろう付後強度および耐食性に関する評価を下記に示す方法で行い、それらの結果を表3および表4に示した。
供試材およびその供試材に450℃×2hの焼鈍を実施した材料をそれぞれ樹脂埋めし、断面を研磨した。それにケラーエッチングを行い、マイクロビッカース試験機により、焼鈍前の心材および犠牲陽極材のビッカース硬さHvA、HvB、および焼鈍後の心材および犠牲陽極材のビッカース硬さHvC、HvDを測定した。試験荷重は10gとした。
〔b〕ろう付評価:
図1はろう付試験用のテストピースの斜視図、図2はそのA−A断面の一部拡大図、および図3はそのテストピースをろう付加熱した後のB−B断面の一部拡大図である。
図1および図2に示すように、幅端部においてろう材(5)と犠牲陽極材(7)の接合界面ができるようにブレージングシート(4)の供試材を2枚合わせてろうの流路を形成した成形チューブ(2)を作製した後、コルゲート成形したJIS3003合金のフィン(1)とコの字型に成形したプレート(3)とあわせることでろう付試験用テストピース(TP)を作製した。これを5%のフッ化物フラックス水溶液中に浸漬し、200℃で乾燥後に600℃×3minのノコロックろう付加熱を行った。その後、図3に示すような断面のミクロ観察を行い、成形チューブ(2)とプレート(3)との接合部において形成されたフィレット(8)ののど厚(フィレット中の矢印で示した部分)を測定した(参考文献:「アルミニウムブレージングハンドブック」 P.129 軽金属溶接構造協会編、平成4年1月発行)。
のど厚が、150μm以上ものは、ろう付性が良好「○」、のど厚が150μm未満のもの、またはフィレットが形成されなかったものは、ろう付性が不十分「×」とした。
ブレージングシート供試材を600℃×3minのろう付加熱後、200℃/minの冷却速度で冷却し、その後室温で1週間放置した。このサンプルを引張速度10mm/min、ゲージ長50mmの条件で、JIS Z2241に従って、常温にて引張試験を実施した。
〔d〕フィン接合率:
JIS3003合金に1.5%のZnを添加した合金のフィン材をコルゲート成形し、ブレージングシート供試材のろう材面とあわせた後、これを5%のフッ化物フラックス懸濁液中に浸漬し、200℃で乾燥後に600℃×3分のノコロックろう付加熱を行った。この試験コアのフィンの全山数に対する接合したフィンの山数の割合をフィン接合率とした。フィン接合率が95%以上のものはろう付性が良好「○」、95%未満のものはろう付性が不十分「×」とした。
上記〔b〕で作製したろう付試験用TPのA−A断面のミクロ観察を行い、加工を加えた箇所の心材のエロージョン発生の有無を確認した。エロージョン無しは「○」、エロージョン有りは「×」とした。
〔f〕外部(熱交換器の大気側)耐食性評価:
上記〔d〕に記載と同様の条件で試験コアを作製後、ろう材側の耐食性を評価するため犠牲陽極材側をシールし、CASS試験(JIS H8681)500時間を実施し、最大孔食深さを測定した。
〔g〕内部(熱交換器の冷却水・冷媒側)耐食性評価:
上記〔c〕に記載の引張試験試料と同様、600℃×3分のろう付加熱を行った後、ろう材側をシールし、Cl−500ppm、SO4 2−100ppm、Cu2+10ppmを含む88℃の高温水中で8h、室温放置で16hのサイクル浸漬試験を3か月実施し、最大孔食深さを測定した。
表5および表6に示す金属成分および組成をもつ心材合金および犠牲陽極材合金をそれぞれ金型鋳造により鋳造して各々両面を面削して仕上げた。その後、ろう材にはJIS4045合金を用い、ろう材と犠牲陽極材を500℃で熱間圧延により所望の厚さまで圧延し、板材を作製した。
そして、作製した各ブレージングシートを供試材とし、供試材における心材、犠牲陽極材のビッカース硬さ、ろう付性、ろう付後強度および耐食性に関する評価を前記した方法で行い、それらの結果を表7および表8に示した。
表8から明らかなように、本発明例である試験材No.7〜13、19〜22は、TPによるろう付評価の結果、チューブとプレートの接合部において良好なフィレットが形成され、ろう付は良好であった。また、フィン接合率、耐エロージョン性に優れ、さらに外部(熱交換器の大気側に相当)、内部(冷却水側に相当)共に最大孔食深さ0.09μm以下で耐食性が良好であった。試験材No.12、13はそれらに加え、ろう付後の引張強さが170N/mm2以上と高かった。
それに対して、比較例である試験材No.14、16、17、18については、心材に添加したSi、Fe、Cu、Mgのいずれかが多すぎたために、ろう材と心材の界面においてエロージョンが見られた。試験材No.18は、添加したMgが多すぎたために、フィン接合率が低下した。試験材No.14〜16、23、25は、外部もしくは内部において最大孔食深さが0.15μmを超え、耐食性が不十分であった。試験材No.14〜17、25は、心材或いは犠牲材において鋳造時に巨大金属間化合物が生成した。
表5および表6に示す心材合金A4および犠牲陽極材合金B6をそれぞれ金型鋳造により鋳造して各々両面を面削して仕上げた。その後、ろう材にはJIS4045合金を用い、ろう材と犠牲陽極材を500℃で熱間圧延により所望の厚さまで圧延し、板材を作製した。
前記したろう材、犠牲陽極材および心材をろう材−心材−犠牲陽極材の組み合わせで組み合わせて、表9に示す工程で製造し、最終板厚0.25mmの板材を作製した。
そして、作製した各ブレージングシートを供試材とし、供試材における心材、犠牲陽極材のビッカース硬さ、ろう付性、ろう付後強度および耐食性に関する評価を前記した方法で行い、それらの結果を表10に示した。
2 チューブ
3 プレート
4 ブレージングシート
5 ろう材
6 心材
7 犠牲陽極材
8 フィレット
11 フィン
12 扁平チューブ
13 プレート
14 タンク
Claims (4)
- 心材の片面にAl−Si系ろう材をクラッドし、心材の他方の面には犠牲陽極材をクラッドしたアルミニウム合金ブレージングシートであって、心材および犠牲陽極材それぞれのビッカース硬さをHvA、HvBとし、ブレージングシートを450℃で焼きなました後の心材および犠牲陽極材それぞれのビッカース硬さをHvC、HvDとした時に、HvAとHvCの比HvA/HvCが1.2以上であり、かつHvBとHvDの比HvB/HvDが1.2未満であることを特徴とするろう付性に優れたアルミニウム合金ブレージングシート。
- 心材が、Si:0.05〜1.2%(質量%、以下同じ)、Fe:0.05〜0.4%、Cu:0.3〜1.2%およびMn:0.3〜1.8%を含有し、Ti:0.02〜0.3%、Zr:0.02〜0.3%、Cr:0.02〜0.3%およびV:0.02〜0.3%のうち1種以上を含有し、残部Alと不可避的不純物からなり、犠牲陽極材がZn:1.0〜6.0%を含有し、残部Alと不可避的不純物からなるAl合金であることを特徴とする請求項1記載のろう付性に優れたアルミニウム合金ブレージングシート。
- 心材が、Si:0.05〜1.2%(質量%、以下同じ)、Fe:0.05〜0.4%、Cu:0.3〜1.2%およびMn:0.3〜1.8%を含有し、Ti:0.02〜0.3%、Zr:0.02〜0.3%、Cr:0.02〜0.3%およびV:0.02〜0.3%のうち1種以上を含有し、残部Alと不可避的不純物からなり、犠牲陽極材がZn:1.0〜6.0%を含有し、さらにSi:0.05〜1.0%、Mn:0.02〜1.8%、Ti:0.02〜0.3%およびV:0.02〜0.3%のうち1種以上を含有し、残部Alと不可避的不純物からなるAl合金であることを特徴とする請求項1記載のろう付性に優れたアルミニウム合金ブレージングシート。
- 心材が、さらにMg:0.05〜0.6%を含有することを特徴とする請求項2または3記載のろう付性に優れたアルミニウム合金ブレージングシート。
Priority Applications (1)
| Application Number | Priority Date | Filing Date | Title |
|---|---|---|---|
| JP2008182871A JP5396042B2 (ja) | 2008-07-14 | 2008-07-14 | ろう付性に優れたアルミニウム合金ブレージングシート |
Applications Claiming Priority (1)
| Application Number | Priority Date | Filing Date | Title |
|---|---|---|---|
| JP2008182871A JP5396042B2 (ja) | 2008-07-14 | 2008-07-14 | ろう付性に優れたアルミニウム合金ブレージングシート |
Publications (2)
| Publication Number | Publication Date |
|---|---|
| JP2010018872A true JP2010018872A (ja) | 2010-01-28 |
| JP5396042B2 JP5396042B2 (ja) | 2014-01-22 |
Family
ID=41704055
Family Applications (1)
| Application Number | Title | Priority Date | Filing Date |
|---|---|---|---|
| JP2008182871A Active JP5396042B2 (ja) | 2008-07-14 | 2008-07-14 | ろう付性に優れたアルミニウム合金ブレージングシート |
Country Status (1)
| Country | Link |
|---|---|
| JP (1) | JP5396042B2 (ja) |
Cited By (5)
| Publication number | Priority date | Publication date | Assignee | Title |
|---|---|---|---|---|
| JP2011219831A (ja) * | 2010-04-12 | 2011-11-04 | Furukawa-Sky Aluminum Corp | ろう付け性及び耐食性に優れたアルミニウム合金ブレージングシート、及びそれを用いた熱交換器 |
| JP2011241448A (ja) * | 2010-05-18 | 2011-12-01 | Furukawa-Sky Aluminum Corp | 耐アルカリ性に優れたアルミニウム合金クラッド材 |
| JP2013194244A (ja) * | 2012-03-15 | 2013-09-30 | Kobe Steel Ltd | アルミニウム合金積層板 |
| JP2013194243A (ja) * | 2012-03-15 | 2013-09-30 | Kobe Steel Ltd | アルミニウム合金積層板 |
| JP5339560B1 (ja) * | 2012-11-14 | 2013-11-13 | 古河スカイ株式会社 | アルミニウム合金ブレージングシート及びその製造方法 |
Citations (6)
| Publication number | Priority date | Publication date | Assignee | Title |
|---|---|---|---|---|
| JPH04297541A (ja) * | 1991-03-26 | 1992-10-21 | Furukawa Alum Co Ltd | 熱交換器用アルミニウム合金クラッド材 |
| JP2000087171A (ja) * | 1998-09-14 | 2000-03-28 | Furukawa Electric Co Ltd:The | 曲げ疲労特性および耐食性に優れるアルミニウム合金複合材 |
| JP2000202680A (ja) * | 1999-01-11 | 2000-07-25 | Sumitomo Light Metal Ind Ltd | ろう付け性および耐食性に優れた熱交換器用アルミニウム合金クラッド材 |
| JP2001001179A (ja) * | 1999-06-23 | 2001-01-09 | Denso Corp | 耐食性が良好な真空ろう付け用アルミニウム合金ブレージングシート及びこれを使用した熱交換器 |
| JP2001170794A (ja) * | 1999-12-15 | 2001-06-26 | Sumitomo Light Metal Ind Ltd | 造管性および耐食性に優れた熱交換器用高強度アルミニウム合金クラッド材 |
| JP2008163366A (ja) * | 2006-12-27 | 2008-07-17 | Kobe Steel Ltd | 熱交換器用アルミニウム合金ブレージングシート |
-
2008
- 2008-07-14 JP JP2008182871A patent/JP5396042B2/ja active Active
Patent Citations (6)
| Publication number | Priority date | Publication date | Assignee | Title |
|---|---|---|---|---|
| JPH04297541A (ja) * | 1991-03-26 | 1992-10-21 | Furukawa Alum Co Ltd | 熱交換器用アルミニウム合金クラッド材 |
| JP2000087171A (ja) * | 1998-09-14 | 2000-03-28 | Furukawa Electric Co Ltd:The | 曲げ疲労特性および耐食性に優れるアルミニウム合金複合材 |
| JP2000202680A (ja) * | 1999-01-11 | 2000-07-25 | Sumitomo Light Metal Ind Ltd | ろう付け性および耐食性に優れた熱交換器用アルミニウム合金クラッド材 |
| JP2001001179A (ja) * | 1999-06-23 | 2001-01-09 | Denso Corp | 耐食性が良好な真空ろう付け用アルミニウム合金ブレージングシート及びこれを使用した熱交換器 |
| JP2001170794A (ja) * | 1999-12-15 | 2001-06-26 | Sumitomo Light Metal Ind Ltd | 造管性および耐食性に優れた熱交換器用高強度アルミニウム合金クラッド材 |
| JP2008163366A (ja) * | 2006-12-27 | 2008-07-17 | Kobe Steel Ltd | 熱交換器用アルミニウム合金ブレージングシート |
Cited By (6)
| Publication number | Priority date | Publication date | Assignee | Title |
|---|---|---|---|---|
| JP2011219831A (ja) * | 2010-04-12 | 2011-11-04 | Furukawa-Sky Aluminum Corp | ろう付け性及び耐食性に優れたアルミニウム合金ブレージングシート、及びそれを用いた熱交換器 |
| JP2011241448A (ja) * | 2010-05-18 | 2011-12-01 | Furukawa-Sky Aluminum Corp | 耐アルカリ性に優れたアルミニウム合金クラッド材 |
| JP2013194244A (ja) * | 2012-03-15 | 2013-09-30 | Kobe Steel Ltd | アルミニウム合金積層板 |
| JP2013194243A (ja) * | 2012-03-15 | 2013-09-30 | Kobe Steel Ltd | アルミニウム合金積層板 |
| JP5339560B1 (ja) * | 2012-11-14 | 2013-11-13 | 古河スカイ株式会社 | アルミニウム合金ブレージングシート及びその製造方法 |
| EP2732898A1 (en) * | 2012-11-14 | 2014-05-21 | UACJ Corporation | Aluminum-alloy brazing sheet and method of manufacturing same |
Also Published As
| Publication number | Publication date |
|---|---|
| JP5396042B2 (ja) | 2014-01-22 |
Similar Documents
| Publication | Publication Date | Title |
|---|---|---|
| JP5049488B2 (ja) | アルミニウム合金ブレージングシートの製造方法 | |
| CN105814219B (zh) | 铝合金包层材料及其制造方法、以及使用该铝合金包层材料的热交换器及其制造方法 | |
| JP6006421B2 (ja) | アルミニウム合金クラッド材及びその製造方法、ならびに、当該アルミニウム合金クラッド材を用いた熱交換器 | |
| JP4166613B2 (ja) | 熱交換器用アルミニウム合金フィン材および該フィン材を組付けてなる熱交換器 | |
| JP6452626B2 (ja) | アルミニウム合金クラッド材及びその製造方法、ならびに、当該アルミニウム合金クラッド材を用いた熱交換器及びその製造方法 | |
| CN103805820B (zh) | 铝合金钎焊片材及其制造方法 | |
| JP5188115B2 (ja) | 高強度アルミニウム合金ブレージングシート | |
| CN105339514B (zh) | 铝合金钎焊片及其制造方法 | |
| JP4825507B2 (ja) | アルミニウム合金ブレージングシート | |
| JP6418714B2 (ja) | アルミニウム合金クラッド材及びその製造方法、ならびに、当該アルミニウム合金クラッド材を用いた熱交換器及びその製造方法 | |
| JP5188116B2 (ja) | 高強度アルミニウム合金ブレージングシートおよびその製造方法 | |
| JP5985973B2 (ja) | アルミニウム合金ブレージングシート及びその製造方法、ならびに、当該アルミニウム合金ブレージングシートを用いた熱交換器 | |
| JP6047304B2 (ja) | 高強度アルミニウム合金ブレージングシート及びその製造方法 | |
| JP5543119B2 (ja) | 高耐熱性アルミニウム合金ブレージングシートの製造方法 | |
| JP5396042B2 (ja) | ろう付性に優れたアルミニウム合金ブレージングシート | |
| JP5599131B2 (ja) | アルミニウム合金ろう材およびアルミニウム合金ブレージングシートの製造方法 | |
| JP2001170793A (ja) | 造管性および耐食性に優れた熱交換器用高強度アルミニウム合金クラッド材 | |
| JP2011012327A (ja) | ろう付性に優れるブレージングシートおよび該ブレージングシートの製造方法 | |
| JP2010209444A (ja) | 高耐熱性アルミニウム合金ブレージングシートおよびその製造方法 | |
| JP2009149936A (ja) | 強度、ろう付性に優れたろう付け造管用熱交換器用アルミニウム合金クラッド材および熱交換器用アルミニウム合金チューブ | |
| JP5306836B2 (ja) | 強度及び耐食性に優れたアルミニウム合金ブレージングシート |
Legal Events
| Date | Code | Title | Description |
|---|---|---|---|
| A621 | Written request for application examination |
Free format text: JAPANESE INTERMEDIATE CODE: A621 Effective date: 20110707 |
|
| A977 | Report on retrieval |
Free format text: JAPANESE INTERMEDIATE CODE: A971007 Effective date: 20130304 |
|
| A131 | Notification of reasons for refusal |
Free format text: JAPANESE INTERMEDIATE CODE: A131 Effective date: 20130319 |
|
| A521 | Request for written amendment filed |
Free format text: JAPANESE INTERMEDIATE CODE: A523 Effective date: 20130516 |
|
| A131 | Notification of reasons for refusal |
Free format text: JAPANESE INTERMEDIATE CODE: A131 Effective date: 20130730 |
|
| A521 | Request for written amendment filed |
Free format text: JAPANESE INTERMEDIATE CODE: A523 Effective date: 20130828 |
|
| TRDD | Decision of grant or rejection written | ||
| A01 | Written decision to grant a patent or to grant a registration (utility model) |
Free format text: JAPANESE INTERMEDIATE CODE: A01 Effective date: 20131008 |
|
| A61 | First payment of annual fees (during grant procedure) |
Free format text: JAPANESE INTERMEDIATE CODE: A61 Effective date: 20131021 |
|
| R150 | Certificate of patent or registration of utility model |
Free format text: JAPANESE INTERMEDIATE CODE: R150 Ref document number: 5396042 Country of ref document: JP |
|
| R250 | Receipt of annual fees |
Free format text: JAPANESE INTERMEDIATE CODE: R250 |
