JP2010018053A - 衛星管制システム及び衛星管制装置 - Google Patents

衛星管制システム及び衛星管制装置 Download PDF

Info

Publication number
JP2010018053A
JP2010018053A JP2008177876A JP2008177876A JP2010018053A JP 2010018053 A JP2010018053 A JP 2010018053A JP 2008177876 A JP2008177876 A JP 2008177876A JP 2008177876 A JP2008177876 A JP 2008177876A JP 2010018053 A JP2010018053 A JP 2010018053A
Authority
JP
Japan
Prior art keywords
session
satellite control
data
baseband
control device
Prior art date
Legal status (The legal status is an assumption and is not a legal conclusion. Google has not performed a legal analysis and makes no representation as to the accuracy of the status listed.)
Granted
Application number
JP2008177876A
Other languages
English (en)
Other versions
JP5030878B2 (ja
Inventor
Takehisa Kimura
剛久 木村
Current Assignee (The listed assignees may be inaccurate. Google has not performed a legal analysis and makes no representation or warranty as to the accuracy of the list.)
Mitsubishi Electric Corp
Original Assignee
Mitsubishi Electric Corp
Priority date (The priority date is an assumption and is not a legal conclusion. Google has not performed a legal analysis and makes no representation as to the accuracy of the date listed.)
Filing date
Publication date
Application filed by Mitsubishi Electric Corp filed Critical Mitsubishi Electric Corp
Priority to JP2008177876A priority Critical patent/JP5030878B2/ja
Publication of JP2010018053A publication Critical patent/JP2010018053A/ja
Application granted granted Critical
Publication of JP5030878B2 publication Critical patent/JP5030878B2/ja
Expired - Fee Related legal-status Critical Current
Anticipated expiration legal-status Critical

Links

Images

Landscapes

  • Arrangements For Transmission Of Measured Signals (AREA)

Abstract

【課題】オペレータが手動で操作することなく、使用するベースバンド装置を切り替えることができるようにする。
【解決手段】データの種類別に主系のベースバンド装置2Aと衛星管制装置1間にセッションが接続されているとき、衛星管制装置1が、主系のベースバンド装置2Aの異常を検出すると、主系のベースバンド装置2Aと衛星管制装置1間のセッションを切断して、データの種類別に従系のベースバンド装置2Bと衛星管制装置1間にセッションを接続する。
【選択図】図1

Description

この発明は、衛星管制装置と人工衛星がベースバンド装置経由でデータを送受信する衛星管制システムと、主系のベースバンド装置と従系のベースバンド装置を切り替える衛星管制装置とに関するものである。
例えば、以下の特許文献1に開示されている衛星管制システムでは、衛星管制装置が衛星管制局に設置されているベースバンド装置経由で、制御コマンドを人工衛星に送信する一方、人工衛星から送信されたテレメトリデータをベースバンド装置経由で受信して、人工衛星の監視制御を実施する衛星管制方式を採用している。
ここで、ベースバンド装置は、衛星管制装置から送信された制御コマンドを変調して人工衛星に送信する一方、人工衛星から送信されたテレメトリデータを復調して衛星管制装置に送信する処理を実施するものであり、衛星管制装置と人工衛星間のデータの橋渡しを行っている。
なお、以下の特許文献1に開示されている衛星管制システムでは、衛星管制装置とベースバンド装置の組が複数実装されており、現在使用中のベースバンド装置に異常が発生すると、オペレータが手動で操作して、使用する衛星管制装置とベースバンド装置の組を切り替えるようにしている。
特開2003−182697号公報(段落番号[0008]から[0013]、図1)
従来の衛星管制システムは以上のように構成されているので、現在使用中のベースバンド装置に異常が発生しても、他のベースバンド装置を使用して、制御コマンドやテレメトリデータの伝送を継続することができるが、オペレータが手動で操作しなければ、使用するベースバンド装置を切り替えることができない。このため、オペレータが異常の発生を確認して、ベースバンド装置の切替操作を完了するまでの間、制御コマンドやテレメトリデータの伝送が中断してしまうなどの課題があった。
この発明は上記のような課題を解決するためになされたもので、オペレータが手動で操作することなく、使用するベースバンド装置を切り替えることができるようにして、データ伝送等の中断を回避することができる衛星管制システムを得ることを目的とする。
また、この発明は、主系のベースバンド装置と従系のベースバンド装置を切り替えることができる衛星管制装置を得ることを目的とする。
この発明に係る衛星管制システムは、主系及び従系のベースバンド装置が共通に使用するポートとして、衛星管制装置から送信されるデータの種類別に固有のポートが用意されることで、データの種類別に主系のベースバンド装置と衛星管制装置間にセッションが接続されており、衛星管制装置が主系のベースバンド装置の異常を検出すると、主系のベースバンド装置と衛星管制装置間のセッションを切断して、データの種類別に従系のベースバンド装置と衛星管制装置間にセッションを接続するようにしたものである。
この発明によれば、主系及び従系のベースバンド装置が共通に使用するポートとして、衛星管制装置から送信されるデータの種類別に固有のポートが用意されることで、データの種類別に主系のベースバンド装置と衛星管制装置間にセッションが接続されており、衛星管制装置が主系のベースバンド装置の異常を検出すると、主系のベースバンド装置と衛星管制装置間のセッションを切断して、データの種類別に従系のベースバンド装置と衛星管制装置間にセッションを接続するように構成したので、オペレータが手動で操作することなく、使用するベースバンド装置を切り替えることができるようになり、その結果、データ伝送等の中断を回避することができる効果がある。
実施の形態1.
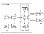
図1はこの発明の実施の形態1による衛星管制システムを示す構成図であり、図において、衛星管制装置1はデータの種類(例えば、テレメトリ、コマンド、監視、制御、レンジング、イベント)別に主系のベースバンド装置2Aとの間にセッション6Aが接続されており、データをセッション6A及び主系のベースバンド装置2A経由で人工衛星4に送信する一方、人工衛星4から主系のベースバンド装置2A及びセッション6A経由で、上記データに対する応答を受信する処理を実施する。
また、衛星管制装置1は主系のベースバンド装置2Aの異常を検出すると、主系のベースバンド装置2Aとの間のセッション6Aを切断して、上記データの種類別に従系のベースバンド装置2Bとの間にセッション6Bを接続する処理を実施する。
主系のベースバンド装置2Aはデータの種類別に衛星管制装置1との間にセッション6Aが接続されており、衛星管制装置1から送信されたデータをセッション6Aを通じて受信すると、そのデータを変調してRF/IF信号経路5に出力することにより、そのデータを人工衛星4に送信する一方、人工衛星4から送信された上記データに対する応答を受信すると、その応答を復調してセッション6Aに出力することにより、その応答を衛星管制装置1に送信する処理を実施する。
従系のベースバンド装置2Bは主系のベースバンド装置2Aに異常が発生したときに使用される予備のベースバンド装置であり、衛星管制装置1により主系のベースバンド装置2Aの異常が検出されて、衛星管制装置1との間にセッション6Bが接続されたのち、衛星管制装置1から送信されたデータをセッション6Bを通じて受信すると、そのデータを変調してRF/IF信号経路5に出力することにより、そのデータを人工衛星4に送信する一方、人工衛星4から送信された上記データに対する応答を受信すると、その応答を復調してセッション6Bに出力することにより、その応答を衛星管制装置1に送信する処理を実施する。
アンテナ3は主系のベースバンド装置2A又は従系のベースバンド装置2Bにより変調されたデータである変調信号を人工衛星4に送信する一方、人工衛星4から送信された上記データに対する応答である変調信号を受信して、その変調信号を主系のベースバンド装置2A又は従系のベースバンド装置2Bに出力する。
人工衛星4は衛星管制装置1から送信されたデータを受信すると、そのデータに対する応答を送信する処理を実施する。
図2はデータの種類(テレメトリ、コマンド、監視、制御、レンジング、イベント)別に衛星管制装置1と主系のベースバンド装置2A間に接続されているセッション6Aを示す説明図である。
図3はこの発明の実施の形態1による衛星管制システムの衛星管制装置1を示す構成図であり、図において、コマンド作成部11は後述する衛星管制用アプリケーション(図4を参照)によって動作が制御される処理部であり、コマンド作成許可部15からコマンドの作成許可を受けると、人工衛星4に送信するデータとして、コマンドを作成する処理を実施する。
コマンド送信部12は衛星管制用アプリケーションによって動作が制御される処理部であり、コマンド作成部11により作成されたコマンドをセッション管理部13に出力する処理を実施する。
セッション管理部13は衛星管制用アプリケーションによって動作が制御される処理部であり、コマンド送信部12から出力されたコマンドを規定のセッション(図2の例では、セッション6Aにおけるコマンド用のセッション)に出力することにより、そのコマンドを主系のベースバンド装置2Aに送信し、その後、主系のベースバンド装置2Aから送信される当該コマンドに対する応答の待ち状態になり、そのコマンドに対する応答を受信すると、その応答を応答処理部14に出力する処理を実施する。
また、セッション管理部13は後述するベースバンド装置監視制御用アプリケーション(図4を参照)によっても動作が制御される処理部であり、異常検出部16により主系のベースバンド装置2Aの異常が検出されると、ベースバンド装置の切替指令を切替処理部17に出力する処理を実施する。
応答処理部14は衛星管制用アプリケーションによって動作が制御される処理部であり、コマンド送信部12からコマンドが出力されるとタイマーを起動し、そのタイマーの値が規定値に到達する前にセッション管理部13により応答が受信されると、タイマーを停止して、応答が受信された旨をコマンド作成許可部15に通知し、そのタイマーの値が規定値に到達しても、セッション管理部13により応答が受信されない場合、運用の停止処理を実施する(セッション管理部13によるコマンドの送信処理や応答の受信処理を停止させる)。
コマンド作成許可部15は衛星管制用アプリケーションによって動作が制御される処理部であり、応答処理部14から応答が受信された旨の通知を受けると、次のコマンドの作成許可をコマンド作成部11に出力する処理を実施する。
異常検出部16はベースバンド装置監視制御用アプリケーションによって動作が制御される処理部であり、主系のベースバンド装置2Aの監視情報を確認して、主系のベースバンド装置2Aの異常を検出する処理を実施する。なお、異常検出部16は異常検出手段を構成している。
切替処理部17はベースバンド装置監視制御用アプリケーションによって動作が制御される処理部であり、セッション管理部13からベースバンド装置の切替指令を受けると、主系のベースバンド装置2Aと接続されているセッション6Aを切断するとともに、データの種類別に従系のベースバンド装置2Bとの間にセッション6Bを接続する処理を実施する。
なお、セッション管理部13及び切替処理部17からセッション切断手段とセッション接続手段が構成されている。
図4は衛星管制用アプリケーション及びベースバンド装置監視制御用アプリケーションにおけるデータの送受信や監視制御を示す説明図である。
図5は衛星管制用アプリケーションによる衛星管制装置1の処理内容を示すフローチャートである。
また、図6はベースバンド装置監視制御用アプリケーションによる衛星管制装置1の処理内容を示すフローチャートである。
次に動作について説明する。
衛星管制装置1とベースバンド装置2A,2Bとの接続は、TCP/IPの接続を基本とするLAN接続であり、ベースバンド装置2A,2Bが共通に使用するポートとして、衛星管制装置1から送信されるデータの種類別に固有のTCP固定ポートが用意されている。
データの種類別に固有のTCP固定ポートが用意されていることにより、図2に示すように、衛星管制装置1と主系のベースバンド装置2Aの間には、データの種類別にセッション6Aが接続されている。
図2の例では、テレメトリ用のセッション、コマンド用のセッション、監視用のセッション、制御用のセッション、レンジング用のセッション、イベント用のセッションが接続されている。
最初に、衛星管制装置1及びベースバンド装置2A,2B等の処理内容を簡単に説明する。処理内容の詳細は後述する。
衛星管制装置1は、主系のベースバンド装置2Aとの間にセッション6Aが接続されている状態のとき、データを人工衛星4に送信する場合、そのデータをセッション6Aに出力することにより、そのデータを主系のベースバンド装置2Aに送信する。
なお、データが例えば「コマンド」であれば、セッション6Aにおけるコマンド用のセッションに出力し、データが例えば「制御」であれば、セッション6Aにおける制御用のセッションに出力する。
主系のベースバンド装置2Aは、衛星管制装置1からセッション6Aを通じてデータを受信すると、そのデータを変調してRF/IF信号経路5に出力する。
これにより、そのデータの変調信号がアンテナ3から放射されて、そのデータの変調信号が人工衛星4に送信される。
人工衛星4は、データの変調信号を受信すると、その変調信号を復調してデータの内容を把握し、そのデータの内容に対応する処理を実施する(例えば、人工衛星4の姿勢を傾ける処理や、データの観測処理など実施する)。
人工衛星4は、そのデータに対する応答(例えば、姿勢の傾斜角や観測結果を示すデータ)を示す変調信号を送信する。
主系のベースバンド装置2Aは、アンテナ3が人工衛星4から送信された変調信号を受信すると、その変調信号を取得して復調する。
主系のベースバンド装置2Aは、送信データに対する応答を示す復調信号をセッション6に出力することにより、送信データに対する応答を衛星管制装置1に送信する。
なお、応答が例えば「テレメトリ」であれば、セッション6Aにおけるテレメトリ用のセッションに出力し、応答が例えば「監視」であれば、セッション6Aにおける監視用のセッションに出力する。
衛星管制装置1は、主系のベースバンド装置2Aから送信データに対する応答を受信すると、次のデータを送信する処理を実施する。
また、衛星管制装置1は、主系のベースバンド装置2Aの異常を検出する処理を実施し、主系のベースバンド装置2Aの異常を検出すると、そのベースバンド装置2Aとの間に接続されているセッション6を切断し、そのベースバンド装置2Bとの間にセッション6Bを接続する処理を実施する。
これにより、主系のベースバンド装置2Aに異常が発生しても、オペレータが切替操作を実施することなく、ベースバンド装置2Bを使用することが可能になり、データの送受信を継続して実施することができる。
次に、衛星管制装置1及びベースバンド装置2A,2B等の処理内容を具体的に説明する。
ここでは、衛星管制装置1がデータとして、「コマンド」を人工衛星4に送信する例を説明する。
衛星管制装置1がコマンドを送信する際の処理内容は衛星管制用アプリケーションによって制御され(図5を参照)、衛星管制装置1が主系のベースバンド装置2Aからベースバンド装置2Bに切り替える際の処理内容はベースバンド装置監視制御用アプリケーションによって制御される(図6を参照)。
まず、衛星管制装置1のコマンド作成部11は、コマンド作成許可部15からコマンドの作成許可を受けると、人工衛星4に送信するデータとして、コマンドを作成する(図5のステップST1)。
衛星管制装置1のコマンド送信部12は、コマンド作成部11がコマンドを作成すると、そのコマンドをセッション管理部13に出力する(ステップST2)。
なお、コマンド送信部12は、後述するように、応答処理部14がコマンド送信のリトライ指令を受けると、先に出力したコマンドをセッション管理部13に再出力する。
衛星管制装置1のセッション管理部13は、コマンド送信部12からコマンドを受けると、そのコマンドを規定のセッション(セッション6Aにおけるコマンド用のセッション)に出力することにより、そのコマンドを主系のベースバンド装置2Aに送信し、その後、主系のベースバンド装置2Aから当該コマンドに対する応答が返信されるまで待機状態になる(ステップST3)。
なお、セッション管理部13は、コマンドを送信する際、データの種類別に割り当てられているセッションを使用するようにしているので、送信先であるベースバンド装置2Aを特に認識することなく(送信先がベースバンド装置2Aであるのか、ベースバンド装置2Bであるのかを確認することなく)、コマンドを送信することができる。
因みに、コマンド作成部11及びコマンド送信部12はアプリケーション層での動作となるが、セッション管理部13はセッション層での動作となる。
主系のベースバンド装置2Aは、衛星管制装置1のセッション管理部13からセッション6Aを通じてコマンドを受信すると、そのコマンドを変調してRF/IF信号経路5に出力する。
これにより、そのコマンドの変調信号がアンテナ3から放射されて、そのコマンドの変調信号が人工衛星4に送信される。
人工衛星4は、コマンドの変調信号を受信すると、その変調信号を復調してコマンドの内容を把握し、そのコマンドの内容に対応する処理を実施する(例えば、人工衛星4の姿勢を傾ける処理や、データの観測処理など実施する)。
人工衛星4は、そのコマンドに対する応答(例えば、姿勢の傾斜角や観測結果を示すデータ)を示す変調信号を送信する。
主系のベースバンド装置2Aは、アンテナ3が人工衛星4から送信された変調信号を受信すると、その変調信号を取得して復調する。
主系のベースバンド装置2Aは、コマンドに対する応答を示す復調信号をセッション6に出力することにより、コマンドに対する応答を衛星管制装置1に送信する。
なお、応答が例えば「テレメトリ」であれば、セッション6Aにおけるテレメトリ用のセッションに出力し、応答が例えば「監視」であれば、セッション6Aにおける監視用のセッションに出力する。
衛星管制装置1のセッション管理部13は、主系のベースバンド装置2Aからコマンドに対する応答が返信されてくると、そのコマンドに対する応答を受信し、その応答を応答処理部14に出力する。
衛星管制装置1の応答処理部14は、コマンド送信部12からコマンドがセッション管理部13に出力されるとタイマーを起動する。
応答処理部14は、セッション管理部13によりコマンドに対する応答が受信されたか否かを監視し(ステップST4)、コマンドに対する応答が受信された場合には、タイマーを停止して、応答が受信された旨をコマンド作成許可部15に通知する。
一方、コマンドに対する応答が受信されていない場合には、そのタイマーの値が規定値に到達しているか否かを判定する。即ち、コマンド送信部12からコマンドが出力されたのち、時間T1が経過したか否かを判定する(ステップST5)。
応答処理部14は、コマンド送信部12からコマンドが出力されたのち、時間T1が経過していなければ、再度、セッション管理部13によりコマンドに対する応答が受信されたか否かを監視する(ステップST4)。
一方、コマンド送信部12からコマンドが出力されたのち、時間T1が経過していれば、既にコマンドの送信回数が規定のリトライ回数に到達しているか否か判定する(ステップST6)。
応答処理部14は、コマンドの送信回数が規定のリトライ回数に到達していなければ、コマンド送信のリトライ指令をコマンド送信部12に出力する。
これにより、コマンド送信部12は、先に出力したコマンドをセッション管理部13に再出力する。
応答処理部14は、コマンドの送信回数が規定のリトライ回数に到達している場合、
運用の停止処理を実施する。即ち、セッション管理部13によるコマンドの送信処理や応答の受信処理を停止させる(ステップST7)。
コマンド作成許可部15は、ステップST4の処理で、応答処理部14から応答が受信された旨の通知を受けると、次のコマンドの作成許可をコマンド作成部11に出力する(ステップST8)。
衛星管制装置1の異常検出部16は、セッション管理部13に管理されているベースバンド装置2A,2Bに対する接続セッション情報を参照する。
ここで、接続セッション情報は、衛星管制装置1とセッションが接続されているベースバンド装置がベースバンド装置2Aであるのか、ベースバンド装置2Bであるのかを識別することができる情報であり、また、どのデータの種別に対してセッションが接続されているかを識別することができる情報である。
具体的には、現在、衛星管制装置1とセッションが接続されているベースバンド装置のIPアドレス、現在使用されていない待機状態のベースバンド装置のIPアドレス、データの種類別に用意されている固有のTCP固定ポートのポート番号などが記録されている情報である。
異常検出部16は、接続セッション情報を参照して、現在、衛星管制装置1とセッションが接続されているベースバンド装置がベースバンド装置2Aであることを特定すると、主系のベースバンド装置2Aからセッション6を通じて監視情報を収集し、その監視情報を確認する(図6のステップST11)。
異常検出部16は、例えば、主系のベースバンド装置2Aの監視情報に異常が発生している旨の情報が含まれていれば、主系のベースバンド装置2Aに異常が発生していると判断し、異常が発生している旨の情報が含まれていなければ、主系のベースバンド装置2Aに異常が発生していないと判断する(ステップST12)。
衛星管制装置1のセッション管理部13は、異常検出部16が主系のベースバンド装置2Aの異常を検出しなければ、衛星管制装置1とベースバンド装置2A間に接続されているセッション6Aを維持する(ステップST13)。
セッション管理部13は、異常検出部16が主系のベースバンド装置2Aの異常を検出すると、管理している接続セッション情報を参照して、切替先のベースバンド装置である従系のベースバンド装置2BのIPアドレスと、データの種類別に用意されている固有のTCP固定ポートのポート番号を確認する。
そして、セッション管理部13は、ベースバンド装置の切替指令(切替指令には、従系のベースバンド装置2BのIPアドレスと、TCP固定ポートのポート番号とが含まれている)を切替処理部17に出力する。
衛星管制装置1の切替処理部17は、セッション管理部13からベースバンド装置の切替指令を受けると、ベースバンド装置の切替処理を実施する(ステップST15)。
即ち、切替処理部17は、現在、主系のベースバンド装置2Aと接続されているセッション6Aを切断する。
また、切替処理部17は、ベースバンド装置の切替指令に含まれている従系のベースバンド装置2BのIPアドレスとTCP固定ポートのポート番号を参照して、従系のベースバンド装置2Bとの間に、TCP固定ポート毎にセッション6Bを接続する。即ち、データの種類別にセッションを接続する。
なお、異常検出部16及びセッション管理部13はアプリケーション層での動作となるが、切替処理部17はセッション層での動作となる。
以上で明らかなように、この実施の形態1によれば、主系及び従系のベースバンド装置2A,2Bが共通に使用するポートとして、衛星管制装置1から送信されるデータの種類別に固有のポートが用意されることで、データの種類別に主系のベースバンド装置2Aと衛星管制装置1間にセッションが接続されており、衛星管制装置1が主系のベースバンド装置2Aの異常を検出すると、主系のベースバンド装置2Aと衛星管制装置1間のセッションを切断して、データの種類別に従系のベースバンド装置2Bと衛星管制装置1間にセッションを接続するように構成したので、オペレータが手動で操作することなく、使用するベースバンド装置を切り替えることができるようになり、その結果、データ伝送等の中断を回避することができる効果を奏する。
また、この実施の形態1によれば、主系のベースバンド装置2Aの監視情報を確認して、主系のベースバンド装置2Aの異常を検出すると、主系のベースバンド装置2Aとの間のセッションを切断して、データの種類別に従系のベースバンド装置2Bとの間にセッションを接続するように構成したので、オペレータが手動で操作することなく、自動的に使用するベースバンド装置を切り替えることができる効果を奏する。
また、この実施の形態1によれば、データを送信してから所定の応答時間が経過しても、ベースバンド装置からデータに対する応答が得られない場合、データの送信処理及び応答の受信処理を停止するように構成したので、使用するベースバンド装置を切り替えてもデータ伝送等が行えない状況下での無駄な送受信処理を止めることができる効果を奏する。
この発明の実施の形態1による衛星管制システムを示す構成図である。 データの種類(テレメトリ、コマンド、監視、制御、レンジング、イベント)別に衛星管制装置1と主系のベースバンド装置2A間に接続されているセッション6Aを示す説明図である。 この発明の実施の形態1による衛星管制システムの衛星管制装置1を示す構成図である。 衛星管制用アプリケーション及びベースバンド装置監視制御用アプリケーションにおけるデータの送受信や監視制御を示す説明図である。 衛星管制用アプリケーションによる衛星管制装置1の処理内容を示すフローチャートである。 ベースバンド装置監視制御用アプリケーションによる衛星管制装置1の処理内容を示すフローチャートである。
符号の説明
1 衛星管制装置、2A 主系のベースバンド装置、2B 従系のベースバンド装置、3 アンテナ、4 人工衛星、5 RF/IF信号経路、6A セッション、6B セッション、11 コマンド作成部、12 コマンド送信部、13 セッション管理部(セッション切断手段、セッション接続手段)、14 応答処理部、15 コマンド作成許可部、16 異常検出部(異常検出手段)、17 切替処理部(セッション切断手段、セッション接続手段)。

Claims (4)

  1. 衛星管制装置から送信されたデータを受信して、上記データを人工衛星に送信する一方、上記人工衛星から上記データに対する応答を受信して、上記応答を上記衛星管制装置に送信する主系のベースバンド装置を備えるとともに、上記主系のベースバンド装置に異常が発生したときに使用される従系のベースバンド装置を備える衛星管制システムにおいて、上記主系及び従系のベースバンド装置が共通に使用するポートとして、上記衛星管制装置から送信されるデータの種類別に固有のポートが用意されることで、上記データの種類別に上記主系のベースバンド装置と上記衛星管制装置間にセッションが接続されており、上記衛星管制装置が上記主系のベースバンド装置の異常を検出すると、上記主系のベースバンド装置と上記衛星管制装置間のセッションを切断して、上記データの種類別に上記従系のベースバンド装置と上記衛星管制装置間にセッションを接続することを特徴とする衛星管制システム。
  2. 衛星管制装置は、主系のベースバンド装置の監視情報を確認して、上記主系のベースバンド装置の異常を検出すると、上記主系のベースバンド装置との間のセッションを切断して、データの種類別に従系のベースバンド装置との間にセッションを接続することを特徴とする請求項1記載の衛星管制システム。
  3. 衛星管制装置は、データを送信してから所定の応答時間が経過しても、ベースバンド装置から上記データに対する応答が得られない場合、データの送信処理及び応答の受信処理を停止することを特徴とする請求項1記載の衛星管制システム。
  4. データの種類別にセッションが接続されている主系のベースバンド装置の異常を検出する異常検出手段と、上記異常検出手段により主系のベースバンド装置の異常が検出されると、上記主系のベースバンド装置と接続されているセッションを切断するセッション切断手段と、上記異常検出手段により主系のベースバンド装置の異常が検出されると、上記データの種類別に従系のベースバンド装置との間にセッションを接続するセッション接続手段とを備えた衛星管制装置。
JP2008177876A 2008-07-08 2008-07-08 衛星管制システム及び衛星管制装置 Expired - Fee Related JP5030878B2 (ja)

Priority Applications (1)

Application Number Priority Date Filing Date Title
JP2008177876A JP5030878B2 (ja) 2008-07-08 2008-07-08 衛星管制システム及び衛星管制装置

Applications Claiming Priority (1)

Application Number Priority Date Filing Date Title
JP2008177876A JP5030878B2 (ja) 2008-07-08 2008-07-08 衛星管制システム及び衛星管制装置

Publications (2)

Publication Number Publication Date
JP2010018053A true JP2010018053A (ja) 2010-01-28
JP5030878B2 JP5030878B2 (ja) 2012-09-19

Family

ID=41703394

Family Applications (1)

Application Number Title Priority Date Filing Date
JP2008177876A Expired - Fee Related JP5030878B2 (ja) 2008-07-08 2008-07-08 衛星管制システム及び衛星管制装置

Country Status (1)

Country Link
JP (1) JP5030878B2 (ja)

Cited By (3)

* Cited by examiner, † Cited by third party
Publication number Priority date Publication date Assignee Title
JP2014158259A (ja) * 2013-01-16 2014-08-28 Mitsubishi Electric Corp 衛星管制システム、衛星管制方法
RU2573015C2 (ru) * 2014-04-16 2016-01-20 Акционерное общество "Военно-промышленная корпорация "Научно-производственное объединение машиностроения" (АО "ВПК "НПО машиностроения") Многомодульный космический аппарат для очистки геостационарной орбиты и способ очистки геостационарной орбиты
JP2016116147A (ja) * 2014-12-17 2016-06-23 日本電気株式会社 人工衛星監視制御システム

Citations (12)

* Cited by examiner, † Cited by third party
Publication number Priority date Publication date Assignee Title
JPH09294290A (ja) * 1996-02-26 1997-11-11 Fuji Xerox Co Ltd セルラ通信網およびその通信方法
JPH10135935A (ja) * 1996-10-31 1998-05-22 Sharp Corp データ通信装置
JP2001266010A (ja) * 2000-03-22 2001-09-28 Sharp Corp 顧客管理システム
JP2003182697A (ja) * 2001-12-17 2003-07-03 Mitsubishi Electric Corp 衛星管制方式
JP2003234797A (ja) * 2002-02-12 2003-08-22 Sony Corp 通信システム、送信装置および方法、受信装置および方法、記録媒体、並びにプログラム
JP2003244047A (ja) * 2002-02-14 2003-08-29 Mitsubishi Electric Corp 衛星通信方式
JP2003283543A (ja) * 2002-03-27 2003-10-03 Fujitsu Ltd 障害時の経路切替え機能を備えた情報処理システム及びその情報端末
JP2006352544A (ja) * 2005-06-16 2006-12-28 Kddi Corp レイヤ2ネットワークの冗長化システム
JP2007060326A (ja) * 2005-08-25 2007-03-08 Hitachi Ltd セッション中継装置およびセッション救済方法
JP2007183738A (ja) * 2006-01-05 2007-07-19 Sony Corp 情報処理装置および方法、並びにプログラム
JP2007272472A (ja) * 2006-03-30 2007-10-18 Nomura Research Institute Ltd セッション引継システム
JP2008103952A (ja) * 2006-10-18 2008-05-01 Fujitsu Ltd 通信管理装置および通信管理方法

Patent Citations (12)

* Cited by examiner, † Cited by third party
Publication number Priority date Publication date Assignee Title
JPH09294290A (ja) * 1996-02-26 1997-11-11 Fuji Xerox Co Ltd セルラ通信網およびその通信方法
JPH10135935A (ja) * 1996-10-31 1998-05-22 Sharp Corp データ通信装置
JP2001266010A (ja) * 2000-03-22 2001-09-28 Sharp Corp 顧客管理システム
JP2003182697A (ja) * 2001-12-17 2003-07-03 Mitsubishi Electric Corp 衛星管制方式
JP2003234797A (ja) * 2002-02-12 2003-08-22 Sony Corp 通信システム、送信装置および方法、受信装置および方法、記録媒体、並びにプログラム
JP2003244047A (ja) * 2002-02-14 2003-08-29 Mitsubishi Electric Corp 衛星通信方式
JP2003283543A (ja) * 2002-03-27 2003-10-03 Fujitsu Ltd 障害時の経路切替え機能を備えた情報処理システム及びその情報端末
JP2006352544A (ja) * 2005-06-16 2006-12-28 Kddi Corp レイヤ2ネットワークの冗長化システム
JP2007060326A (ja) * 2005-08-25 2007-03-08 Hitachi Ltd セッション中継装置およびセッション救済方法
JP2007183738A (ja) * 2006-01-05 2007-07-19 Sony Corp 情報処理装置および方法、並びにプログラム
JP2007272472A (ja) * 2006-03-30 2007-10-18 Nomura Research Institute Ltd セッション引継システム
JP2008103952A (ja) * 2006-10-18 2008-05-01 Fujitsu Ltd 通信管理装置および通信管理方法

Cited By (4)

* Cited by examiner, † Cited by third party
Publication number Priority date Publication date Assignee Title
JP2014158259A (ja) * 2013-01-16 2014-08-28 Mitsubishi Electric Corp 衛星管制システム、衛星管制方法
JP2015159563A (ja) * 2013-01-16 2015-09-03 三菱電機株式会社 衛星管制システム及びプログラム
RU2573015C2 (ru) * 2014-04-16 2016-01-20 Акционерное общество "Военно-промышленная корпорация "Научно-производственное объединение машиностроения" (АО "ВПК "НПО машиностроения") Многомодульный космический аппарат для очистки геостационарной орбиты и способ очистки геостационарной орбиты
JP2016116147A (ja) * 2014-12-17 2016-06-23 日本電気株式会社 人工衛星監視制御システム

Also Published As

Publication number Publication date
JP5030878B2 (ja) 2012-09-19

Similar Documents

Publication Publication Date Title
KR100906504B1 (ko) 무선 통신 시스템, 무선 lan 기지국 및 이를 위해이용되는 설정 내용 확인/변경 방법
US9030929B2 (en) Redundant control device and network system
US20120131123A1 (en) Method for controlling flow in a stack system and chassis switch in a stack system
CN109743771A (zh) 一种实现车机网络共存的方法及其系统
US20140198727A1 (en) Wireless communication apparatus, wireless communication method, and computer-readable storage medium
JP5030878B2 (ja) 衛星管制システム及び衛星管制装置
EP3675550A1 (en) Alternate wan connectivity to home iot devices
JP3380725B2 (ja) 無線通信システム制御方法及び無線通信システム並びにそれに用いられる情報処理装置
JP2009296293A (ja) 通信装置
US7778184B2 (en) Communication system and remote diagnosis system
JP2002217791A (ja) 無線通信装置
KR100656784B1 (ko) 유/무선 통신망을 이용한 위성관제 시스템 및 그의유/무선 통신링크 설정 및 해제 방법
KR101717363B1 (ko) Sdn 환경에서 컨트롤러의 역할을 변경하는 방법 및 이를 수행하는 장치
CN102802237A (zh) 数据转发控制方法以及无线集中控制设备
KR100358439B1 (ko) 컴팩트 제어국간의 이더넷을 이용한 데이터 전송방법
JP6959570B2 (ja) 印刷装置および印刷装置の制御方法
US9161202B2 (en) Method and a device for roaming in a local communication system
JP6533958B2 (ja) 制御機器、通信機器制御システム、その制御方法およびそのプログラム
JP5117302B2 (ja) 無線システム
JP2025042614A (ja) 障害処理機能があるネットワーク接続装置及びその障害処理方法
KR101549282B1 (ko) 무선 통신 시스템의 기지국의 상태를 확인하기 위한 장치 및 그 방법
JPH04292023A (ja) 無線通信装置
JP2022083823A5 (ja)
JP2011035974A (ja) 電力系統監視制御システムおよび中継装置引継ぎ方法
JP2008104149A (ja) ソフトウェア無線機

Legal Events

Date Code Title Description
A621 Written request for application examination

Free format text: JAPANESE INTERMEDIATE CODE: A621

Effective date: 20091222

A977 Report on retrieval

Free format text: JAPANESE INTERMEDIATE CODE: A971007

Effective date: 20110622

A131 Notification of reasons for refusal

Free format text: JAPANESE INTERMEDIATE CODE: A131

Effective date: 20110705

A521 Request for written amendment filed

Free format text: JAPANESE INTERMEDIATE CODE: A523

Effective date: 20110829

A131 Notification of reasons for refusal

Free format text: JAPANESE INTERMEDIATE CODE: A131

Effective date: 20120131

A521 Request for written amendment filed

Free format text: JAPANESE INTERMEDIATE CODE: A523

Effective date: 20120330

TRDD Decision of grant or rejection written
A01 Written decision to grant a patent or to grant a registration (utility model)

Free format text: JAPANESE INTERMEDIATE CODE: A01

Effective date: 20120529

A01 Written decision to grant a patent or to grant a registration (utility model)

Free format text: JAPANESE INTERMEDIATE CODE: A01

A61 First payment of annual fees (during grant procedure)

Free format text: JAPANESE INTERMEDIATE CODE: A61

Effective date: 20120626

R150 Certificate of patent or registration of utility model

Free format text: JAPANESE INTERMEDIATE CODE: R150

Ref document number: 5030878

Country of ref document: JP

Free format text: JAPANESE INTERMEDIATE CODE: R150

FPAY Renewal fee payment (event date is renewal date of database)

Free format text: PAYMENT UNTIL: 20150706

Year of fee payment: 3

R250 Receipt of annual fees

Free format text: JAPANESE INTERMEDIATE CODE: R250

R250 Receipt of annual fees

Free format text: JAPANESE INTERMEDIATE CODE: R250

R250 Receipt of annual fees

Free format text: JAPANESE INTERMEDIATE CODE: R250

R250 Receipt of annual fees

Free format text: JAPANESE INTERMEDIATE CODE: R250

R250 Receipt of annual fees

Free format text: JAPANESE INTERMEDIATE CODE: R250

R250 Receipt of annual fees

Free format text: JAPANESE INTERMEDIATE CODE: R250

R250 Receipt of annual fees

Free format text: JAPANESE INTERMEDIATE CODE: R250

LAPS Cancellation because of no payment of annual fees