JP2010016402A - 冷媒冷却型両面冷却半導体装置 - Google Patents

冷媒冷却型両面冷却半導体装置 Download PDF

Info

Publication number
JP2010016402A
JP2010016402A JP2009233387A JP2009233387A JP2010016402A JP 2010016402 A JP2010016402 A JP 2010016402A JP 2009233387 A JP2009233387 A JP 2009233387A JP 2009233387 A JP2009233387 A JP 2009233387A JP 2010016402 A JP2010016402 A JP 2010016402A
Authority
JP
Japan
Prior art keywords
refrigerant
double
semiconductor device
sided cooling
sided
Prior art date
Legal status (The legal status is an assumption and is not a legal conclusion. Google has not performed a legal analysis and makes no representation as to the accuracy of the status listed.)
Granted
Application number
JP2009233387A
Other languages
English (en)
Other versions
JP5267412B2 (ja
Inventor
Seiji Inoue
誠司 井上
Current Assignee (The listed assignees may be inaccurate. Google has not performed a legal analysis and makes no representation or warranty as to the accuracy of the list.)
Denso Corp
Original Assignee
Denso Corp
Priority date (The priority date is an assumption and is not a legal conclusion. Google has not performed a legal analysis and makes no representation as to the accuracy of the date listed.)
Filing date
Publication date
Application filed by Denso Corp filed Critical Denso Corp
Priority to JP2009233387A priority Critical patent/JP5267412B2/ja
Publication of JP2010016402A publication Critical patent/JP2010016402A/ja
Application granted granted Critical
Publication of JP5267412B2 publication Critical patent/JP5267412B2/ja
Anticipated expiration legal-status Critical
Expired - Lifetime legal-status Critical Current

Links

Images

Classifications

    • H10W72/60
    • H10W72/016
    • H10W72/07336
    • H10W72/07636
    • H10W72/5363
    • H10W72/652
    • H10W72/655
    • H10W74/00

Landscapes

  • Inverter Devices (AREA)
  • Cooling Or The Like Of Electrical Apparatus (AREA)
  • Cooling Or The Like Of Semiconductors Or Solid State Devices (AREA)

Abstract

【課題】簡素な構造で優れた放熱能力を奏しえる冷媒冷却型両面冷却半導体装置を提供すること。
【解決手段】両面冷却型半導体モジュール1と、扁平な接触受熱面を有して冷却流体が内部を流れる冷媒チュ−ブ2とを絶縁スペ−サを介して密接させた状態で両面冷却型半導体モジュール1を冷媒チュ−ブ2にて両面冷却型半導体モジュール2の厚さ方向に挟圧部材6,7,10で挟圧する。構造が簡素で冷却効果が大きく、冷却効果のばらつきが少ない半導体装置を実現できる。
【選択図】図4

Description

本発明は、冷媒冷却型両面冷却半導体装置に関する。
端子を有し半導体チップを内蔵する半導体モジュ−ルの冷却性を向上するために、半導体モジュ−ルに水冷式の冷却部材を接触させてそれを冷却することが提案されている。
また、両面から放熱を行う両面放熱型半導体モジュ−ルが特開平6ー291223号公報に提案されている。
特開平6−291223号公報
しかしながら、上述し従来の水冷式半導体モジュ−ルでは、内部を水(又は冷媒)が貫流する冷媒内部貫流冷却部材と半導体モジュ−ルとの熱伝導性に優れた接合を図る必要があり、これには、半導体モジュ−ルの主面に露出する電極(兼伝熱)部材と冷媒内部貫流冷却部材とをはんだなどで接合することが最善であるが、冷媒内部貫流冷却部材は、冷凍サイクル装置や冷却水循環装置に接続する必要があり、このためこれら冷凍サイクル装置や冷却水循環装置と同電位(通常、接地電位)となる冷媒内部貫流冷却部材と半導体モジュ−ルの上記電極部材との間に電気絶縁性でなるべく熱伝導性に優れた絶縁スペ−サを介設する必要がある。
ところが、このような絶縁スペ−サを用いると半導体モジュ−ルの電極部材と冷媒内部貫流冷却部材とを接合することができないので、半導体モジュ−ルの電極部材と冷媒内部貫流冷却部材との間の熱抵抗の低減のために、これら半導体モジュ−ルの電極部材や冷媒内部貫流冷却部材を絶縁スペ−サに強く、かつ、押し付け面各部で均一な圧力で押し付ける必要がある。
しかし、このように半導体モジュ−ルや冷媒内部貫流冷却部材を絶縁スペ−サに強くかつ均一な圧力で押し付ける構造は全体構造の複雑化を招き、また押し付け力の適切な設定が容易ではなかった。すなわち、押し付け力が弱いと半導体モジュ−ルと冷却部材との間の熱抵抗が増大して冷却能力が低下し、押し付け力が強過ぎると半導体モジュ−ル内の半導体チップが割れてしまう。
特に、半導体モジュ−ルの電極部材の表面や冷却部材の表面には製造上避けられない微小凹凸や反りなどが存在するため、どうしても面方向の一部に局部的な押し付け力の集中を招いてしまい、この集中部位にて半導体チップが耐えうる押し付け力を超えて押し付けを行うことができず、その結果、この集中部位以外での熱抵抗の増大を招いてしまう。
本発明は上記問題点に鑑みなされたものであり、簡素な構造で優れた放熱能力を奏しえる冷媒冷却型両面冷却半導体装置を提供することをその目的としている。
上記目的を達成する請求項1記載の冷媒冷却型両面冷却半導体装置は、半導体チップ又は両面冷却型半導体モジュールと、扁平な接触受熱面を有して冷却流体が内部を流れる冷媒チュ−ブと、前記半導体チップ又は両面冷却型半導体モジュールの両主面に前記冷媒チュ−ブの平坦面を絶縁スペ−サを介して又は直接に密接させた状態で前記半導体チップ又は両面冷却型半導体モジュールを前記冷媒チュ−ブにて半導体チップ又は両面冷却型半導体モジュールの厚さ方向に挟圧させる挟圧部材と、を備え、前記冷却チューブは、流路方向および挟圧方向に延びる複数の隔壁を有することを特徴とする。
すなわち、本構成は、両面放熱型半導体モジュ−ル(又は半導体チップ)を絶縁スペ−サを介して一対の冷媒チュ−ブで挟み、挟圧部材でこれらのセットを所定圧力で挟圧する構成を採用している。
このようにすれば、1個の挟圧部材で半導体モジュ−ル(半導体チップ)両側の2つの扁平な冷媒チュ−ブを同一圧力(半導体モジュ−ル(半導体チップ)両側の電極部材の面積を等しいとした場合)で半導体モジュ−ル(半導体チップ)に押し付けることができ、簡素な構造で押し付け圧力のばらつきが小さい挟圧構造を実現することができるとともに、更に半導体モジュ−ル(半導体チップ)の熱を両側の冷媒チュ−ブに放散することができるので優れた冷却性能を実現することができる。
本構成によれば、冷媒チュ−ブの接触受熱面各部の押圧を一定化することができる。
請求項2記載の構成によれば請求項1記載の冷媒冷却型両面冷却半導体装置において更に、前記半導体チップ又は両面放熱型半導体モジュ−ルにそれぞれ接する各前記冷媒チュ−ブの両端は、共通の入り口ヘッダ及び出口ヘッダにそれぞれ接続される。
本構成によれば、各冷媒チュ−ブに流入する冷媒又は冷却流体の温度、流量のばらつきを減らし、各両面放熱型半導体モジュ−ルの温度ばらつきを低減でき、これら各半導体モジュ−ルの一部の冷却機能が低下して、それにより回路全体の最大出力が制限されるという不具合を防止することができる。
また、冷媒ポンプやコンプレッサからみた冷媒配管系の冷媒輸送抵抗が小さくなり、それに要する動力損失を低減することができる。
請求項3記載の構成によれば請求項1又は2記載の冷媒冷却型両面冷却半導体装置において更に、前記冷媒チュ−ブは良熱伝導性の軟質材を介して前記絶縁スペ−サに接することを特徴としている。
本構成によれば、冷媒チュ−ブは、軟質材を介して半導体チップ又は半導体モジュールに密着するので、もし冷媒チュ−ブに反りや表面凹凸などがあったとしても、冷媒チュ−ブは上記挟圧力によりその各部において局所的に容易に変形して絶縁スペ−サの表面になじむことができ、これら両者間の熱抵抗を低減することができる。
更に、半導体モジュ−ル(半導体チップ)の電極部材表面とそれと軟質の絶縁スペ−サを介して対面する冷媒チュ−ブの平坦な接触受熱面との間の距離が面方向各部において変動しても、同様に軟質材の局所的変形によりこれらの距離差を低減して両者間の熱抵抗を低減することができ、優れた冷却性能をもつ半導体装置を実現することができる。なお、この軟質材は、冷媒チュ−ブと別々に作製されてもよく、一体に作製されてもよい。
請求項4記載の構成によれば請求項1乃至3のいずれか記載の冷媒冷却型両面冷却半導体装置において更に、前記挟圧部材は、板ばね部材を含むことを特徴としている。
本構成によれば、簡単に一定の挟圧力を得ることができるとともに、半導体チップ又は両面放熱型半導体モジュ−ルの脱着が極めて簡単となり、交換などの作業性が格段に向上する。
好適な態様において、板ばね部材は、両端部が前記両押さえ板を弾性付勢するコ字状金属板からなる。このようにすれば、たとえばばね板などを折り曲げるなどして簡素に作製できる上、板ばね部材それ自体で挟圧力を発生できるため、全体構造が簡素となる。
請求項5記載の構成によれば請求項1乃至3のいずれか記載の冷媒冷却型両面冷却半導体装置において更に、前記挟圧部材は、最も外側の一対の前記冷媒チュ−ブに個別に接する一対の押さえ板と、前記両押さえ板を貫通するスル−ボルトと、前記スル−ボルトに螺着されるナットとを有することを特徴としている。
本構成によれば、剛体である押さえ板が、スル−ボルトの付勢により、簡素な挟圧構造で各冷媒チュ−ブを面方向均一に加圧することができ、挟圧力の面方向のばらつきを低減することができる。
請求項6記載の構成によれば請求項4記載の冷媒冷却型両面冷却半導体装置において更に、前記挟圧部材は、最も外側の一対の前記冷媒チュ−ブに個別に接する一対の押さえ板を有し、前記板ばね部材は、コ字状に形成されて両端部が前記両押さえ板を弾性付勢する。
本構成によれば、板ばね部材はそれ自身のみで挟圧力を発生するとともに、冷媒チュ−ブや両面放熱型半導体モジュ−ルを支持する支持部材としての機能ももつので、全体構造が簡素となる。また、板ばね部材は、両端部が前記両押さえ板を弾性付勢するコ字状金属板とすれば、ばね板などを折り曲げるなどして簡素に作製できる。
請求項7記載の構成によれば請求項1乃至6のいずれか記載の冷媒冷却型両面冷却半導体装置において更に、多数の前記半導体チップ又は両面冷却型半導体モジュールと多数の前記冷媒チュ−ブとのセットを前記挟圧方向に複数配置して前記挟圧部材で挟圧する構造を有することを特徴としている。
本構成によれば、一個の挟圧構造(挟圧部材)で多数セットの冷媒チュ−ブ/半導体モジュ−ル(半導体チップ)/冷媒チュ−ブにそれぞれ等しい挟圧力を付与することができるので、コンパクトで簡素な挟圧構造で全体として優れた大電流制御半導体装置を実現することができる。
請求項8記載の構成によれば請求項1乃至7のいずれか記載の冷媒冷却型両面冷却半導体装置において、複数の前記半導体チップ又は両面放熱型半導体モジュ−ルは、三相インバータ回路を構成する。
本構成によれば、三相インバータ回路の各半導体スイッチング素子の放熱抵抗のばらつきを低減してそれらの間の温度ばらつきを低減し、各半導体スイッチング素子の一つが早期に過熱して装置がダウンすることがない。
請求項9記載の構成によれば請求項1乃至8のいずれか記載の冷媒冷却型両面冷却半導体装置において更に、前記冷媒チュ−ブの反半導体チップ側の平坦面に他の発熱部品の平坦面を密接させ、前記挟圧部材で、前記半導体チップ又は両面冷却型半導体モジュールと前記冷媒チュ−ブと前記発熱部品とを挟圧する構造を有することを特徴としている。
本構成によれば、挟圧構造を複雑化することなく、更に他の発熱部品も良好に冷却することができる。
また、半導体モジュ−ル(半導体チップ)の一時的な大発熱に対してこの発熱部品は冷媒チュ−ブを通じてヒ−トシンクとしての機能を果たすことができ、更に好都合である。
請求項10記載の構成によれば請求項9記載の冷媒冷却型両面冷却半導体装置において更に、前記半導体チップ又は両面冷却型半導体モジュールは三相インバ−タ回路の一部又は全部をなし、前記発熱部品は、前記三相インバ−タ回路の正負直流電源端間に接続される平滑コンデンサからなることを特徴としている。
本構成によれば、コンパクトで平滑コンデンサ及び半導体モジュ−ル(半導体チップ)の冷却性に優れた三相インバータ回路装置を実現することができる。
請求項11記載の構成によれば請求項2記載の冷媒冷却型両面冷却半導体装置において、装置は密閉ケースに収容され、前記入り口ヘッダ及び出口ヘッダの各一端は、前記ケ−スから外部に突出しているので、ケース内部において、冷媒配管系の機械的連結部がなく、この連結部からの液漏れにより半導体チップや両面放熱型半導体モジュ−ルの絶縁不良や短絡といった事故を皆無とすることができる。
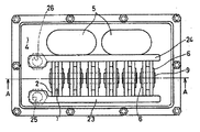
本発明の両面冷却型半導体モジュール及び冷媒チューブの組み立て厚さ方向断面図である。 図1に示す半導体モジュールを用いた冷媒間接冷却型半導体装置の平面図である。 図2に示す冷媒間接冷却型半導体装置の縦断面図である。 他の実施例の冷媒間接冷却型半導体装置の平面図である。 図4に示す冷媒間接冷却型半導体装置の縦断面図である。 他の実施例の冷媒間接冷却型半導体装置の平面図である。 図6に示す冷媒間接冷却型半導体装置の縦断面図である。 図6に示す冷媒間接冷却型半導体装置の一部横断面図である。
本発明の冷媒冷却型両面冷却半導体装置の好適な実施態様を図面を参照して以下説明する。
(実施例1)
図1はこの冷媒冷却型両面冷却半導体装置の要部分解厚さ方向断面図を示す。
(半導体モジュ−ルの構成)
1は、両面冷却型半導体モジュール、2は冷媒チュ−ブ、3は金属製又は良熱伝導性のスペ−サである。
両面放熱型半導体モジュ−ル1において、101aはIGBT素子が形成された半導体チップ、101bはフライホイルダイオ−ドが形成された半導体チップ、102はヒ−トシンク及び電極(この実施例ではエミッタ側)を兼ねる金属伝熱板、103はヒ−トシンク及び電極(この実施例ではコレクタ側)を兼ねる金属伝熱板、104ははんだ層、102aは金属伝熱板102の半導体チップ側へ突出する突出部、102bは金属伝熱板102の突出端子部、103bは金属伝熱板103の突出端子部、105は制御電極端子、108はボンディングワイヤ、8は絶縁板(本発明で言う絶縁スペ−サ)、9は封止樹脂部である。
半導体チップ101a、101bは、金属伝熱板103の内側の主面上にはんだ層104で接合され、半導体チップ101a、101bの残余の主面には、金属伝熱板102の突出部102aがはんだ層104で接合され、これによりIGBTのコレクタ電極面及びエミッタ電極面にフライホイルダイオ−ドのアノ−ド電極面及びカソ−ド電極面がいわゆる逆並列に接続されている。金属伝熱板102、103にはたとえばMoやWが用いられている。はんだ層104を他の接合機能材料に置換してもよい。
二つの突出部102aは、半導体チップ101a、101bの厚さの差を吸収する厚さの差をもち、これにより金属伝熱板102の外主面は平面となっている。
封止樹脂部9はたとえばエポキシ樹脂からなり、これら金属伝熱板102、103の側面を覆ってモ−ルドされており、これにより半導体チップ101a、101bは封止樹脂部9でモ−ルドされている。ただし、金属伝熱板102、103の外主面すなわち接触受熱面は完全に露出している。
突出端子部102b、103bは封止樹脂部9から図1中、右方に突出し、いわゆるリ−ドフレ−ム端子である複数の制御電極端子105は、IGBTが形成された半導体チップ101aのゲ−ト(制御)電極面と制御電極端子105とを接続している。
絶縁スペ−サである絶縁板8は、この実施例では窒化アルミニウムフィルムで構成されているが、他の絶縁フィルムでもよい。絶縁板8は金属伝熱板102、103を完全に覆って密着しているが、絶縁板8と金属伝熱板102、103とは、単に接触するだけでもよいし、シリコングリスなどの良熱伝導材を塗布してもよいし、それらを種々の方法で接合させてもよい。また、セラミック溶射などで絶縁層を形成してもよく、絶縁板8を金属伝熱板上に接合してもよく、冷媒チュ−ブ上に接合又は形成してもよい。
冷媒チュ−ブ2は、アルミニウム合金を引き抜き成形法あるいは押し出し成形法で成形された板材を必要な長さに切断して作製されている。冷媒チュ−ブ2の厚さ方向断面は、図1に示すように、互いに所定間隔を隔てて流路方向に延在する多数の隔壁21で区画された流路22を多数有している。
スペ−サ(本発明でいう軟質材)3は、この実施例では、はんだ合金などの軟質の金属板とされているが、金属伝熱板2の接触面に塗布などにより形成したフィルム(膜)としてもよい。この軟質のスペ−サ3の表面は、後述する挟圧により容易に変形して、絶縁材8の微小凹凸や反り、冷媒チュ−ブ2の微小凹凸や反りになじんで熱抵抗を低減する。なお、スペ−サ3の表面などに公知の良熱伝導性グリスなどを塗布してもよく、スペ−サ3を省略してもよい。
(冷媒冷却型両面冷却半導体装置の構成)
上述した両面放熱型半導体モジュ−ルを用いた冷媒冷却型両面冷却半導体装置の例を図2、図3を参照して以下に説明する。図2は、この半導体装置の蓋を外した平面図を示し、図3はその縦断面図を示す。
1は半導体モジュ−ル、2は冷媒チュ−ブ、4は一端開口のケ−ス、5は互いに並列接続された一対の平滑コンデンサ、6は押さえ板、9は板ばね部材、11は蓋、23は入り口ヘッダ、24は出口ヘッダ、25、26は冷媒配管、27は冷媒配管固定用のナットである。
ケ−ス4の底部には、ナットにより冷媒配管25、26が固定されており、冷媒配管25、26の先端はケ−ス4の底部を貫通して下方に突出している。
冷媒配管25、26はケ−ス4内にて、中空平板状の入り口ヘッダ23、出口ヘッダ24の下端に一体に連通しており、ヘッダ23、24はケ−ス4内にてケ−ス4の底面に直角に立設され、所定間隔を隔てて平行に対面している。両ヘッダ23、24の対向主面間に6対の冷媒チュ−ブ2は配置されている。
各冷媒チュ−ブ2は、それぞれ両ヘッダ23、24の主面と直角かつ互いに平行に配置され、それらの両端は両ヘッダ23、24に個別に連通、接合されている。各冷媒チュ−ブ2は後述するように中空の厚板形状を有する。
同一対の冷媒チュ−ブ2、2は両面放熱型半導体モジュ−ル1を挟持し、三相インバータ回路を構成する6個のモジュール1は互いに異なる対の冷媒チュ−ブ2、2で挟持されている。
それぞれモジュール1を挟持する冷媒チュ−ブ2、2の外側主面にはそれぞれ金属平板からなる押さえ板6が密着され、これら押さえ板6、冷媒チュ−ブ2、モジュール1、冷媒チュ−ブ2、押さえ板6のセットは板ばね部材9により挟圧されている。押さえ板6はヒートシンクマスを兼ねる。板ばね部材9は、バネ鋼板をU字状に形成した形状を有し、両端部間に上記セットを挟んで挟圧する。なお、押さえ板6を省略して板ばね部材6で一対の冷媒チュ−ブ2、モジュール1、冷媒チュ−ブ2を直接挟圧してもよい。
平滑コンデンサ5は、扁平形状を有し、その平坦外面はヘッダ24の裏主面に密着している。
各半導体モジュ−ル1は三相インバ−タ回路の各半導体スイッチング素子を構成しており、各半導体スイッチング素子は1個のIGBT素子に1個のフライホイルダイオ−ドを逆並列接続して構成されている。各対の半導体モジュ−ル1、1の一方は単相インバ−タ回路のハイサイド側の半導体モジュ−ルをなし、他方は同一相の単相インバ−タ回路のハイサイド側の半導体モジュ−ルをなす。したがって、3対の半導体モジュ−ル1、1はそれぞれU、V、W相の単相インバ−タ回路を構成している。平滑コンデンサ5は、上記三相インバ−タ回路の正負直流電源端間に接続される平滑コンデンサであり、電源ラインを通じて直流電源側にスイッチングノイズが入力されるのを抑止するためのものである。
各冷媒チュ−ブ2には、入り口ヘッダ23を通じて等流量かつ等温の冷媒が供給され、更に、共通の挟圧部材で挟圧されるため各半導体モジュ−ル1と冷媒チュ−ブ2との間の単位面積当たりの挟圧力は略等しく、挟圧面積も等しいので、半導体モジュ−ル1に対する冷媒チュ−ブ2の挟圧力が略等しくなる。これらの結果、各半導体モジュ−ル1の冷却能力はほぼ等しくすることができる。
(実施例2)
図1に示すモジュール1を用いた他の実施例の冷媒冷却型両面冷却半導体装置を図4、図5に示す。
(装置構成)
図4は、この半導体装置の蓋を外した平面図を示し、図5はその縦断面図を示す。
1は半導体モジュ−ル、2は冷媒チュ−ブ、4は一端開口のケ−ス、5は平滑コンデンサ、6は押さえ板、7はスル−ボルト、10はナット、11は蓋、23は入り口ヘッダ、24は出口ヘッダ、25、26は冷媒配管、27は冷媒配管固定用のナットである。
3対の扁平な冷媒チュ−ブ2が、その厚さ方向に所定間隔を隔てて隔設され、各対の冷媒チュ−ブ2、2の間に図2中、上下に一対の半導体モジュ−ル1、1が挟設されている。各半導体モジュ−ル1は三相インバ−タ回路の各半導体スイッチング素子を構成しており、各半導体スイッチング素子は上述のように1個のIGBT素子に1個のフライホイルダイオ−ドを逆並列接続して構成されている。
平滑コンデンサ5は、上記三相インバ−タ回路の正負直流電源端間に接続される平滑コンデンサであり、電源ラインを通じて直流電源側にスイッチングノイズが入力されるのを抑止するためのものである。
各一対の半導体モジュ−ル1、1の一方は単相インバ−タ回路のハイサイド側の半導体モジュ−ルをなし、他方は同一相の単相インバ−タ回路のハイサイド側の半導体モジュ−ルをなす。したがって、3対の半導体モジュ−ル1、1はそれぞれU、V、W相の単相インバ−タ回路を構成している。
各相の半導体モジュ−ル1、1はその両面を図1に説明したように冷媒チュ−ブ2、2にサンドイッチされており、相が異なる冷媒チュ−ブ2、2の間にそれぞれ扁平円筒形状の平滑コンデンサ5がサンドイッチされている。更に左右最外側の冷媒チュ−ブ2、2には押さえ板6が当接され、両押さえ板6、6の上端部及び下端部にはそれぞれスル−ボルト7が積層方向に挿通され、ナット10により締結されている。
ナット10の締結力は冷媒チュ−ブ2、2による半導体モジュ−ル1の挟圧力が所定値となるように調節されている。すなわち、本実施例によれば、押さえ板6、スル−ボルト7及びナット10からなる挟圧部材は、冷媒チュ−ブ2、2による半導体モジュ−ル1の挟圧力を設定する機能と、三相インバータ回路装置を組み立てし支持する構造部材としての機能とを有している。
図3に示すように、各冷媒チュ−ブ2の右端は入り口ヘッダ23に、左端は出口ヘッダ24に接合されており、入り口ヘッダ23の一端は冷媒吸入側の冷媒配管25に、出口ヘッダ24の一端は冷媒吸入側の冷媒配管26を通じてケ−ス4の底部から下方に突出している。27は冷媒配管25、26をケ−ス4の底部に締結、固定するナットである。
各冷媒チュ−ブ2には、入り口ヘッダ23を通じて等流量かつ等温の冷媒が供給され、更に、共通の挟圧部材で挟圧されるため各半導体モジュ−ル1と冷媒チュ−ブ2との間の単位面積当たりの挟圧力は略等しく、挟圧面積も等しいので、半導体モジュ−ル1に対する冷媒チュ−ブ2の挟圧力が略等しくなる。これらの結果、各半導体モジュ−ル1の冷却能力はほぼ等しくすることができる。
(変形態様)
上記実施例の半導体モジュ−ル1は半導体チップに置換しても同様の作用効果を奏することができる。
(実施例3)
図1に示すモジュール1を用いた他の実施例の冷媒冷却型両面冷却半導体装置を図6、図7に示す。
(装置構成)
図6は、この半導体装置の蓋を外した平面図を示し、図7はその縦断面図を示す。
この実施例の装置は、モジュール1、冷媒チュ−ブ2、平滑コンデンサ5、押さえ板6のセットを実施例2と同一配列とし、このセットを実施例1で説明した板ばね部材9を大型化した大型板ばね部材90で一挙に挟持させたものである。したがって、大型板ばね部材90は、ケ−ス4の底部に平行な姿勢で配置される一個の中央板部90bと、この中央板部90bの両端部からそれぞれそれと直角に延設されて互いに対面する一対の平板状の両端部90a、90aとからなる。91は、大型板ばね部材90の中央板部90bに凹設された条溝部である。
本実施例によれば、一層簡単に各部材を組み立てることができるとともに、各部材にばらつきが小さい挟圧力を与えることができる。
1:両面冷却型半導体モジュール
2:冷媒チューブ
6:押さえ板(挟圧部材)
7:スルーボルト(挟圧部材)
9:板ばね部材(挟圧部材)
10:ナット(挟圧部材)

Claims (11)

  1. 半導体チップ又は両面冷却型半導体モジュールと、
    扁平な接触受熱面を有して冷却流体が内部を流れる冷媒チュ−ブと、
    前記半導体チップ又は両面冷却型半導体モジュールの両主面に前記冷媒チュ−ブの平坦面を絶縁スペ−サを介して又は直接に密接させた状態で前記半導体チップ又は両面冷却型半導体モジュールを前記冷媒チュ−ブにて半導体チップ又は両面冷却型半導体モジュールの厚さ方向に挟圧させる挟圧部材と、を備え、
    前記冷却チューブは、流路方向および挟圧方向に延びる複数の隔壁を有することを特徴とする冷媒冷却型両面冷却半導体装置。
  2. 請求項1記載の冷媒冷却型両面冷却半導体装置において、
    前記半導体チップ又は両面放熱型半導体モジュ−ルにそれぞれ接する各前記冷媒チュ−ブの両端は、共通の入り口ヘッダ及び出口ヘッダにそれぞれ接続されることを特徴とする冷媒冷却型両面冷却半導体装置。
  3. 請求項1又は2記載の冷媒冷却型両面冷却半導体装置において、
    前記冷媒チュ−ブは良熱伝導性の軟質材を介して前記半導体チップ又は半導体モジュールに接することを特徴とする冷媒冷却型両面冷却半導体装置。
  4. 請求項1乃至3のいずれか記載の冷媒冷却型両面冷却半導体装置において、
    前記挟圧部材は、板ばね部材を含むことを特徴とする冷媒冷却型両面冷却半導体装置。
  5. 請求項1乃至3のいずれか記載の冷媒冷却型両面冷却半導体装置において、
    前記挟圧部材は、最も外側の一対の前記冷媒チュ−ブに個別に接する一対の押さえ板と、前記両押さえ板を貫通するスル−ボルトと、前記スル−ボルトに螺着されるナットとを有することを特徴とする冷媒冷却型両面冷却半導体装置。
  6. 請求項4記載の冷媒冷却型両面冷却半導体装置において、
    前記挟圧部材は、最も外側の一対の前記冷媒チュ−ブに個別に接する一対の押さえ板を有し、前記板ばね部材は、コ字状に形成されて両端部が前記両押さえ板を弾性付勢することを特徴とする冷媒冷却型両面冷却半導体装置。
  7. 請求項1乃至6のいずれか記載の冷媒冷却型両面冷却半導体装置において、
    多数の前記半導体チップ又は両面冷却型半導体モジュールと多数の前記冷媒チュ−ブとのセットを前記挟圧方向に複数配置して前記挟圧部材で挟圧する構造を有することを特徴とする冷媒冷却型両面冷却半導体装置。
  8. 請求項1乃至7のいずれか記載の冷媒冷却型両面冷却半導体装置において、
    複数の前記半導体チップ又は両面放熱型半導体モジュ−ルは、三相インバータ回路を構成することを特徴とする冷媒冷却型両面冷却半導体装置。
  9. 請求項1乃至8のいずれか記載の冷媒冷却型両面冷却半導体装置において、
    前記冷媒チュ−ブの反半導体チップ側の平坦面に他の発熱部品の平坦面を密接させ、前記挟圧部材で、前記半導体チップ又は両面冷却型半導体モジュールと前記冷媒チュ−ブと前記発熱部品とを挟圧する構造を有することを特徴とする冷媒冷却型両面冷却半導体装置。
  10. 請求項9記載の冷媒冷却型両面冷却半導体装置において、
    前記半導体チップ又は、両面冷却型半導体モジュールは三相インバ−タ回路の一部又は全部をなし、前記発熱部品は、前記三相インバ−タ回路の正負直流電源端間に接続される平滑コンデンサからなることを特徴とする冷媒冷却型両面冷却半導体装置。
  11. 請求項2記載の冷媒冷却型両面冷却半導体装置において、
    密閉ケースに収容され、前記入り口ヘッダ及び出口ヘッダの各一端は、前記ケ−スから外部に突出していることを特徴とする冷媒冷却型両面冷却半導体装置。
JP2009233387A 2009-10-07 2009-10-07 冷媒冷却型両面冷却半導体装置 Expired - Lifetime JP5267412B2 (ja)

Priority Applications (1)

Application Number Priority Date Filing Date Title
JP2009233387A JP5267412B2 (ja) 2009-10-07 2009-10-07 冷媒冷却型両面冷却半導体装置

Applications Claiming Priority (1)

Application Number Priority Date Filing Date Title
JP2009233387A JP5267412B2 (ja) 2009-10-07 2009-10-07 冷媒冷却型両面冷却半導体装置

Related Parent Applications (1)

Application Number Title Priority Date Filing Date
JP2000136934A Division JP4423746B2 (ja) 2000-04-19 2000-05-10 冷媒冷却型両面冷却半導体装置

Publications (2)

Publication Number Publication Date
JP2010016402A true JP2010016402A (ja) 2010-01-21
JP5267412B2 JP5267412B2 (ja) 2013-08-21

Family

ID=41702133

Family Applications (1)

Application Number Title Priority Date Filing Date
JP2009233387A Expired - Lifetime JP5267412B2 (ja) 2009-10-07 2009-10-07 冷媒冷却型両面冷却半導体装置

Country Status (1)

Country Link
JP (1) JP5267412B2 (ja)

Cited By (8)

* Cited by examiner, † Cited by third party
Publication number Priority date Publication date Assignee Title
JP2011198802A (ja) * 2010-03-17 2011-10-06 Fuji Electric Co Ltd 水冷式半導体冷却ユニットのスタック構造
JP2013059155A (ja) * 2011-09-07 2013-03-28 Denso Corp 電力変換装置
WO2014097561A1 (ja) * 2012-12-21 2014-06-26 株式会社デンソー 放熱シート、放熱装置、放熱装置の製造方法
JP2016524454A (ja) * 2013-07-08 2016-08-12 シーメンス アクチエンゲゼルシヤフトSiemens Aktiengesellschaft マルチレベルコンバータ
JP2017162922A (ja) * 2016-03-08 2017-09-14 株式会社デンソー 冷却チューブ
DE102017116390A1 (de) 2016-07-21 2018-02-08 Denso Corporation Leistungsumwandlervorrichtung mit einem Halbleitermodul mit laminiertem Aufbau
WO2019031348A1 (ja) * 2017-08-11 2019-02-14 株式会社デンソー 電力変換装置
US10263388B2 (en) 2017-07-11 2019-04-16 Fanuc Corporation LD module cooling device and laser apparatus

Families Citing this family (1)

* Cited by examiner, † Cited by third party
Publication number Priority date Publication date Assignee Title
KR20230172344A (ko) 2022-06-15 2023-12-22 현대자동차주식회사 파워 모듈 및 이를 이용한 모터 구동 시스템

Citations (8)

* Cited by examiner, † Cited by third party
Publication number Priority date Publication date Assignee Title
JPH05504444A (ja) * 1990-01-25 1993-07-08 ローベルト ボッシュ ゲゼルシャフト ミット ベシュレンクテル ハフツング 冷却さるベき電子素子のための保持装置
JPH08330484A (ja) * 1995-06-01 1996-12-13 Fuji Electric Co Ltd 半導体素子の固定構造体
JPH09260585A (ja) * 1996-03-25 1997-10-03 Fuji Electric Co Ltd 平型半導体素子
JPH09307039A (ja) * 1996-05-13 1997-11-28 Mitsubishi Electric Corp 半導体スタック冷却装置
JPH1075564A (ja) * 1996-08-29 1998-03-17 Hitachi Ltd 半導体電力変換装置
JPH10107194A (ja) * 1996-09-30 1998-04-24 Fuji Electric Co Ltd 水冷式半導体素子スタックの冷却体およびその製造方法
JPH1167996A (ja) * 1997-08-20 1999-03-09 Fuji Electric Co Ltd 沸騰冷却装置を備えた半導体スタック
JP4423746B2 (ja) * 2000-05-10 2010-03-03 株式会社デンソー 冷媒冷却型両面冷却半導体装置

Patent Citations (8)

* Cited by examiner, † Cited by third party
Publication number Priority date Publication date Assignee Title
JPH05504444A (ja) * 1990-01-25 1993-07-08 ローベルト ボッシュ ゲゼルシャフト ミット ベシュレンクテル ハフツング 冷却さるベき電子素子のための保持装置
JPH08330484A (ja) * 1995-06-01 1996-12-13 Fuji Electric Co Ltd 半導体素子の固定構造体
JPH09260585A (ja) * 1996-03-25 1997-10-03 Fuji Electric Co Ltd 平型半導体素子
JPH09307039A (ja) * 1996-05-13 1997-11-28 Mitsubishi Electric Corp 半導体スタック冷却装置
JPH1075564A (ja) * 1996-08-29 1998-03-17 Hitachi Ltd 半導体電力変換装置
JPH10107194A (ja) * 1996-09-30 1998-04-24 Fuji Electric Co Ltd 水冷式半導体素子スタックの冷却体およびその製造方法
JPH1167996A (ja) * 1997-08-20 1999-03-09 Fuji Electric Co Ltd 沸騰冷却装置を備えた半導体スタック
JP4423746B2 (ja) * 2000-05-10 2010-03-03 株式会社デンソー 冷媒冷却型両面冷却半導体装置

Cited By (14)

* Cited by examiner, † Cited by third party
Publication number Priority date Publication date Assignee Title
JP2011198802A (ja) * 2010-03-17 2011-10-06 Fuji Electric Co Ltd 水冷式半導体冷却ユニットのスタック構造
JP2013059155A (ja) * 2011-09-07 2013-03-28 Denso Corp 電力変換装置
WO2014097561A1 (ja) * 2012-12-21 2014-06-26 株式会社デンソー 放熱シート、放熱装置、放熱装置の製造方法
US9936610B2 (en) 2013-07-08 2018-04-03 Siemens Aktiengesellschaft Multilevel converter
JP2016524454A (ja) * 2013-07-08 2016-08-12 シーメンス アクチエンゲゼルシヤフトSiemens Aktiengesellschaft マルチレベルコンバータ
KR101846307B1 (ko) * 2013-07-08 2018-04-09 지멘스 악티엔게젤샤프트 다중레벨 변환기
JP2017162922A (ja) * 2016-03-08 2017-09-14 株式会社デンソー 冷却チューブ
DE102017116390A1 (de) 2016-07-21 2018-02-08 Denso Corporation Leistungsumwandlervorrichtung mit einem Halbleitermodul mit laminiertem Aufbau
US10410953B2 (en) 2016-07-21 2019-09-10 Denso Corporation Power conversion device including semiconductor module provided with laminated structure
US10263388B2 (en) 2017-07-11 2019-04-16 Fanuc Corporation LD module cooling device and laser apparatus
DE102018210108B4 (de) 2017-07-11 2022-12-29 Fanuc Corporation Ld-modul-kühlvorrichtung und lasereinrichtung
WO2019031348A1 (ja) * 2017-08-11 2019-02-14 株式会社デンソー 電力変換装置
JP2019037047A (ja) * 2017-08-11 2019-03-07 株式会社デンソー 電力変換装置
US11189544B2 (en) 2017-08-11 2021-11-30 Denso Corporation Plurality of cooling tubes with coolant for a power conversion package

Also Published As

Publication number Publication date
JP5267412B2 (ja) 2013-08-21

Similar Documents

Publication Publication Date Title
JP4423746B2 (ja) 冷媒冷却型両面冷却半導体装置
JP4292686B2 (ja) 冷媒冷却型両面冷却半導体装置
JP5267412B2 (ja) 冷媒冷却型両面冷却半導体装置
US7106592B2 (en) Coolant cooled type semiconductor device
CN1332441C (zh) 双面冷却型半导体模块
JP5521091B2 (ja) 電力変換装置
JP2002026215A (ja) 冷却流体冷却型半導体装置
WO2015198411A1 (ja) パワーモジュール装置、電力変換装置およびパワーモジュール装置の製造方法
JP2009212137A (ja) 発熱素子の冷却装置
JP2001308245A (ja) 冷媒冷却型両面冷却半導体装置
KR20180121624A (ko) 반도체 장치
JP5392196B2 (ja) 半導体装置
JP4626082B2 (ja) 冷却水路を備えた電気装置
JPH11121668A (ja) 液冷平形半導体装置
JP6218856B2 (ja) 電力変換装置
JP2004158489A (ja) 圧接型半導体装置
JP2011109127A (ja) 冷却流体冷却型半導体装置
JP6119419B2 (ja) 電力変換装置
JP4158648B2 (ja) 半導体冷却ユニット
WO2023166635A1 (ja) 半導体装置
CN120476472A (zh) 半导体装置、电力变换装置
JP2004158485A (ja) 圧接型半導体装置

Legal Events

Date Code Title Description
A621 Written request for application examination

Free format text: JAPANESE INTERMEDIATE CODE: A621

Effective date: 20091007

A977 Report on retrieval

Free format text: JAPANESE INTERMEDIATE CODE: A971007

Effective date: 20120907

A131 Notification of reasons for refusal

Free format text: JAPANESE INTERMEDIATE CODE: A131

Effective date: 20120918

A521 Request for written amendment filed

Free format text: JAPANESE INTERMEDIATE CODE: A523

Effective date: 20121116

A02 Decision of refusal

Free format text: JAPANESE INTERMEDIATE CODE: A02

Effective date: 20121211

A521 Request for written amendment filed

Free format text: JAPANESE INTERMEDIATE CODE: A523

Effective date: 20130307

A911 Transfer to examiner for re-examination before appeal (zenchi)

Free format text: JAPANESE INTERMEDIATE CODE: A911

Effective date: 20130314

TRDD Decision of grant or rejection written
A01 Written decision to grant a patent or to grant a registration (utility model)

Free format text: JAPANESE INTERMEDIATE CODE: A01

Effective date: 20130409

A61 First payment of annual fees (during grant procedure)

Free format text: JAPANESE INTERMEDIATE CODE: A61

Effective date: 20130422

R151 Written notification of patent or utility model registration

Ref document number: 5267412

Country of ref document: JP

Free format text: JAPANESE INTERMEDIATE CODE: R151

R250 Receipt of annual fees

Free format text: JAPANESE INTERMEDIATE CODE: R250

R250 Receipt of annual fees

Free format text: JAPANESE INTERMEDIATE CODE: R250

R250 Receipt of annual fees

Free format text: JAPANESE INTERMEDIATE CODE: R250

R250 Receipt of annual fees

Free format text: JAPANESE INTERMEDIATE CODE: R250

EXPY Cancellation because of completion of term