JP2010015824A - 雷保護装置の絶縁電線側の放電部 - Google Patents

雷保護装置の絶縁電線側の放電部 Download PDF

Info

Publication number
JP2010015824A
JP2010015824A JP2008174780A JP2008174780A JP2010015824A JP 2010015824 A JP2010015824 A JP 2010015824A JP 2008174780 A JP2008174780 A JP 2008174780A JP 2008174780 A JP2008174780 A JP 2008174780A JP 2010015824 A JP2010015824 A JP 2010015824A
Authority
JP
Japan
Prior art keywords
insulated wire
discharge
discharge space
discharge part
protection device
Prior art date
Legal status (The legal status is an assumption and is not a legal conclusion. Google has not performed a legal analysis and makes no representation as to the accuracy of the status listed.)
Granted
Application number
JP2008174780A
Other languages
English (en)
Other versions
JP5100537B2 (ja
Inventor
Yoshinori Asada
良則 浅田
Hitoshi Sugimoto
仁志 杉本
Hiroaki Sugimoto
博昭 杉本
Current Assignee (The listed assignees may be inaccurate. Google has not performed a legal analysis and makes no representation or warranty as to the accuracy of the list.)
Hokuriku Electric Power Co
Original Assignee
Hokuriku Electric Power Co
Priority date (The priority date is an assumption and is not a legal conclusion. Google has not performed a legal analysis and makes no representation as to the accuracy of the date listed.)
Filing date
Publication date
Application filed by Hokuriku Electric Power Co filed Critical Hokuriku Electric Power Co
Priority to JP2008174780A priority Critical patent/JP5100537B2/ja
Publication of JP2010015824A publication Critical patent/JP2010015824A/ja
Application granted granted Critical
Publication of JP5100537B2 publication Critical patent/JP5100537B2/ja
Expired - Fee Related legal-status Critical Current
Anticipated expiration legal-status Critical

Links

Images

Landscapes

  • Thermistors And Varistors (AREA)

Abstract

【課題】雷保護装置は、電線路への直撃雷や誘導雷などにより、絶縁電線の断線や碍子の破損が発生するのを防止するもので、絶縁電線側の放電部と、気中間隙を介して対向する限流素子側の放電部とを備える。絶縁電線側の放電部について、その放電機能を十分に発揮しつつも、部品点数の削減および構造の単純化を図り、施工作業を容易にすること。
【解決手段】碍子2の接地部位に設けた限流素子側の放電部7に対して気中間隙を介して絶縁電線側に対向して設けた雷保護装置の絶縁電線側の放電部8において、大気から絶縁電線5の芯線5aに到達する放電空間路9を絶縁電線5の絶縁被覆5bに形成し、芯線5aのうち放電空間路9に面する部分が放電電極10になることを特徴とする雷保護装置の絶縁電線側の放電部。放電空間路9は穴である。
【選択図】 図1

Description

雷保護装置は、電線路への直撃雷や誘導雷などにより、絶縁電線の断線や碍子の破損が発生するのを防止するものである。そして、雷保護装置は、絶縁電線側の放電部と、限流素子側の放電部を気中間隙を介して対向して設けたものである。本発明は、このうち絶縁電線側の放電部に関する。
従来の雷保護装置のうち、絶縁電線側の放電部としては、碍子の上端部付近において絶縁電線の外側を開閉可能な筒型のカバーで囲み、カバーと絶縁電線の間に絶縁コンパウンドを充填し、電線側の放電電極となるネジをカバーから締め付け、ネジの先端を絶縁電線の芯線に到達させるものが知られている(例えば、特許文献1、2参照)。
特開平10−12068号公報 実開昭62−192517号公報
一方、雷保護装置のうち、限流素子側の放電部は、限流素子が含まれた限流要素ユニットを碍子の下端部付近に配置してある。そして、限流要素ユニットの上下には課電側電極、接地側電極が設けられている。課電側電極には素子側の放電電極(アークホーン)が、電線側の放電電極に対向して設けられている。
上述の雷保護装置は、落雷による過電圧が絶縁電線に印加されると、芯線に接触したネジ(電線側の放電電極)からフラッシオーバーし、素子側の放電電極、課電側電極、限流素子、接地側電極等を介して雷撃電流が大地に流れ込む。また、雷撃電流に伴う続流を限流素子により遮断して、絶縁電線の断線や碍子の破損が防止される。
ところで、上述の絶縁電線側の放電部は、カバーと絶縁電線の間に絶縁コンパウンドを充填するものである。もし、ネジの先端と芯線との間に絶縁コンパウンドが介在していると、絶縁コンパウンドの絶縁性によって導通が妨げられることになり、放電側電極としての役割を果たせないおそれもある。例えば、絶縁コンパウンドの流動性により絶縁電線がカバー内で動くと、それによってネジの先端と絶縁電線の芯線の導通が不完全になるおそれもあった。
また、絶縁電線側の放電部は、ネジ、ネジ穴をあけたカバー、絶縁コンパウンドの他に、絶縁材料で作られたネジの頭部や、筒型のカバーの外側をさらに覆う別のカバーなど、多くの部品や、複雑な構造を採用していた。
さらに、絶縁コンパウンドは流動性があることから、ネジの締め付け作業時に、絶縁電線を中心にしてネジの反対側が柔らかなクッションで抑えられているような感じとなり、ネジを締め付け難くしていた。
なお、ネジの先端が芯線に達したことを確認するには、ネジの締め付けトルクが目標値に達するまで工具でネジを締める手法が一例として挙げられる。しかしながら、目標値は、絶縁コンパウンドの流動性を加味して設定しなければならず、その分だけ、目標値の設定も難しくなる。
本発明は上記実情を考慮して創作されたもので、その解決課題は絶縁電線側の放電機能を十分に発揮しつつも、部品点数の削減および構造の単純化を図り、施工作業を容易なものとすることである。
本発明は、碍子の接地部位に設けた限流素子側の放電部に対して気中間隙を介して絶縁電線側に対向して設けた雷保護装置の絶縁電線側の放電部を前提とする。
そして、請求項1の発明は、大気から絶縁電線の芯線に到達する放電空間路を絶縁電線の絶縁被覆に形成し、芯線のうち放電空間路に面する部分が放電電極になることを特徴とする。
放電空間路は色々な形態がある。一例としては、請求項2の発明のように、放電空間路は穴であってもよい。
また、穴の形成箇所は問わないが、絶縁電線の下側から作業する場合を考慮すると、放電空間路としての穴は、絶縁電線を上下に二分した場合の下側に形成してあることが望ましい。絶縁電線の下側に穴を形成すれば、絶縁電線の真下であろうが真下から少しずれていようが、芯線の放電電極から限流素子側の放電電極までの距離に、大差はないので、放電機能を十分に発揮できる。したがって、穴あけ箇所を大まかに定めて施工できることから、施工作業を容易に行える。また、絶縁電線は架空されており、その下から作業を行うことが多いので、その点でも施工作業を容易に行える。
さらに、放電空間路の形態の別例としては、請求項3の発明のように、放電空間路は、絶縁被覆の円周方向に沿って連続する円弧状またはリング状であっても良い。
放電空間路の穴が小さいものであれば、鳥等が芯線の放電電極に触れるおそれがないので、このような場合、鳥等への対策としては、放電空間路を覆う絶縁カバーは原則必要ない。しかし、不測の事態を高いレベルで回避するには、請求項4の発明のように、放電空間路を覆う絶縁カバーを、絶縁電線の全周を囲んで固定してあることが望ましい。
請求項1の発明は、絶縁電線に放電空間路を形成してあるので、絶縁電線の芯線のうち放電空間路に面する部分が放電電極となり、放電機能を十分に発揮することができる。また、絶縁電線の芯線と大気の間の絶縁被覆を取り除いたり、絶縁被覆に針で穴をあけたりするだけで、放電空間路を形成できるので、絶縁電線に固定する特別な電極が不要となり、部品点数の削減および構造の単純化を図ることができる。さらに、放電空間路の施工作業を絶縁電線に直接行えるので、従来のような絶縁電線の外側を絶縁コンパウンドを介してカバーで囲むものに比べれば、絶縁コンパウンドがない分だけ、絶縁電線を押さえたり掴んだりする力が直に絶縁電線に加わるので、施工作業は容易なものとなる。また、従来のような心配、つまり、絶縁コンパウンドの流動性により絶縁電線がカバー内で動くことでネジの先端と絶縁電線の芯線の導通が不完全になる心配もなくなる。
また、請求項2の発明は、放電空間路が穴なので、絶縁被覆を取り除く部分(絶縁被覆に針で穴をあける部分も含む。)も小さくて済む。その上、例えば穿設工具を締め付けて穴を開けることもでき、締め付けトルクの目標値の設定が容易となる。
請求項3の発明は、放電空間路をリング状又は円弧状とし、かつ絶縁被覆の全周に亘って連続してあるので、放電空間路の施工が容易となる。つまり、穴あけの場合であれば、穴あけ箇所を作業者に明確に特定して、施工させなければならないが、円周方向の一部(円弧状)または全周(リング状)であれば施工領域が広いので、施工箇所の特定が多少大まかであってもよく、作業者への指示が容易になるし、作業者も気楽に放電空間路を施工できる。また、穴あけに比べて、放電電極の面積が広くなるので、より確実に放電機能を発揮できる。
請求項4の発明は、放電空間路を覆う絶縁カバーを、絶縁電線の全周を囲んで固定してあるので、不測の事態を高いレベルで回避できる。また、この場合であっても部品点数が絶縁カバー1つだけですむので、部品点数の削減および構造の単純化を図ることができるし、施工作業も容易である。
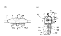
図1に示すように雷保護装置の設置箇所は次の通りである。図示しない電柱に対して腕金1を水平に固定し、腕金1の上に碍子2を載せ、碍子2からピン3が腕金1よりも下に突出している。このピン3にナット4を締め付け、それによって碍子2の下端部が固定される。碍子2の上端部にはその周囲に沿って、くぼみが環状に設けられており、くぼみに絶縁電線5をあて、碍子2の上端部において絶縁電線5にバインド線6を巻き付け、それによって碍子2の上端部が固定される。
また、雷保護装置の構成は、碍子2の接地部位に設ける限流素子側の放電部7と、絶縁電線5に設ける絶縁電線側の放電部8と、に大別され、限流素子側の放電部7と絶縁電線側の放電部8を気中間隙を介して対向して配置する。以下、絶縁電線側の放電部8、限流素子側の放電部7の順に詳述する。
絶縁電線側の放電部8は、絶縁電線5の芯線5aに到達する放電空間路9を、絶縁電線5の絶縁被覆5bに形成し、芯線5aのうち放電空間路9に面する部分が放電電極10になるものである。また、放電空間路9を覆う絶縁カバー11が、絶縁電線5の全周を囲んで固定されている。
放電空間路9は、絶縁電線5の芯線5aを大気に晒す空間であって、絶縁電線5を上下に二分した場合の下側に形成してある。放電空間路9は、図1では絶縁電線5の外部から芯線5aに到達する穴である。また、この穴は、芯線5aに到達していれば、外部から芯線5aが目視できるか否かは問わない。したがって、絶縁被覆5bに針を刺すことによって形成された穴であってもよく、この場合、絶縁被覆5bから針を抜くと、穴は絶縁被覆5bの弾力性によって目視では殆ど塞がっている。また、穴は、直径5mm以上のものであってもよく、この程度であれば、絶縁被覆5bと芯線5aの色の違いから、芯線5aに達しているか否かを目視で確認できる。通常、絶縁被覆5bは黒色で、芯線5aは銅色(光沢のある赤茶色)である。
穴の形成は、通常、活線状態にある架空された絶縁電線5に対して行う。作業車のバケットに載った作業員が、公知の穴あけ工具を操作し、穴あけ工具のクランプ部を狭めて絶縁電線5を掴み、穴あけ工具の切削刃を回動して、絶縁被覆5bを切削する。この回動による締め付けトルクを表示する機能がついている穴あけ工具を用いた場合、締め付けトルクが目標値に達したら、締め付けを終了して穴あけ作業を終了する。
また、放電空間路9は、図2では絶縁被覆5bの円周方向の全周に亘って連続するリング状である。この場合、断面円形である芯線5aの全周部分がワッカ状の放電電極10となる。リングの幅(絶縁電線の長手方向の幅)は、限定されないが、1〜10cm程度が望ましい。
リング状に形成する場合は、作業車のバケットに載った作業員が、公知の剥離工具を操作し、剥離工具のクランプ部を狭めて絶縁電線5を軽く掴み、剥離工具の刃先を絶縁被覆5bに深く押し込んだ後に、絶縁電線5を中心にして剥離工具自体を回転させて、絶縁被覆5bを全周に亘って連続して剥ぎ取る。
絶縁カバー11は、開閉可能なものであって、放電空間路9を中心にして絶縁電線5の長手方向の両側を挟持して固定するものである。また、絶縁カバー11は、絶縁電線5の全周を囲むことにより、放電空間路9を覆っているが、閉じた状態であっても内外に通じる隙間が自然と形成されるものである。例えば、絶縁カバー11を開閉する部分、絶縁電線5の長手方向の両側を挟持する部分に隙間が形成される。
絶縁カバー11の一例は、絶縁電線の左側を覆う左カバー11aと、右側を覆う右カバー11bと、左右のカバー11a、11bの上端部を連続する柔軟な繋ぎ片11cとからなる、合成樹脂製の一体成型品である。右カバー11bの底片11b1の先部を左カバー11aの底片11a1の上にまで延長して重ね合わせてある。また、各底片11a1、11b1から複数の連結片11a2、11b2がそれぞれ対向して垂下している。右の連結片11b2から突出する連結ピン11dを左の連結片11a2にあけた連結孔11eに貫通させ、連結ピン11dの先部に設けられた断面三角形状の膨大部で連結孔11eから外れないようにして左右のカバー11a、11bが閉じた状態に保たれる。なお、右側の底片11b1には別の箇所に把持片11fを垂下しており、これは絶縁カバー11を絶縁電線5に取り付ける際に、作業員がマジックハンドで掴む箇所となる。
また、右カバー11bには絶縁電線5を上下から押さえる押さえ片11gが設けられている。押さえ片11gは、弾力性を有するもので、上下二枚ずつ、絶縁電線5の長手方向の両側に離れて設けられてある。二枚の上側の押さえ片11gは、「八」の字状に末広がりに設けられている。二枚の下側の押さえ片11gは、上側と対称的に設けられている。上下の押さえ片11gの先部は、図1の例では、絶縁被覆5bを押さえている。上下の押さえ片11gの先部は、図2の例では、芯線5aを押さえると共に、絶縁被覆5bと芯線5aの境目に接しており、絶縁電線5の長手方向に位置ずれしないようになっている。
次に限流素子側の放電部7について述べる。限流素子側の放電部7は、前述のナット4によって腕金1に取付金物12を碍子2と一緒に固定し、碍子2の接地部位に設けられた取付金物12を介して限流要素ユニット13を起立して固定してある。また、限流要素ユニット13の上部には素子側の放電電極となるアークホーン14を固定し、アークホーン14(アークリング)で碍子2の周りを気中間隙を介して囲んでいる。アークホーン14は、碍子2を中心にして限流要素ユニット13とは反対側において、絶縁電線側の放電部8と対向している。
限流要素ユニット13は、非直線性の電圧電流特性を有する限流素子を中心に配置し、限流素子の上には課電側電極、下には接地側電極をそれぞれ設け、限流素子、課電側電極、および接地側電極の外側を絶縁体でモールドしたものである。課電側電極および接地側電極にはアークホーン14、取付金物12をそれぞれ接続してある。
上述した雷保護装置は、落雷による過電圧が絶縁電線5に印加されると、芯線5aの放電電極10からフラッシオーバーし、放電空間路9、気中間隙(絶縁カバー11の隙間を含む。)、アークホーン14、課電側電極、限流素子、接地側電極等を介して雷撃電流が大地に流れ込む。また、雷撃電流に伴う続流を限流素子により遮断して、絶縁電線5の断線や碍子2の破損が防止される。
本発明は上記実施形態に限定されない。例えば、放電空間路9は、絶縁被覆5bを半周分だけ剥ぎ取って、半円状の放電電極10を芯線5aに形成しても良い。
(イ)、(ロ)図は、雷保護装置を示す正面図、A−A線断面図である。 (イ)、(ロ)図は、絶縁電線側の放電部の別例を示す正面図、B−B線断面図である。
符号の説明
1腕金、2碍子、3ピン、4ナット、5絶縁電線、5a芯線、5b絶縁被覆、
6バインド線、7限流素子側の放電部、8絶縁電線側の放電部、9放電空間路、
10放電電極、11絶縁カバー、11a左カバー、11a1底片、11a2連結片、
11b右カバー、11b1底片、11b2連結片、11c繋ぎ片、11d連結ピン、
11e連結孔、11f把持片、11g押さえ片、
12取付金物、13限流要素ユニット、14アークホーン

Claims (4)

  1. 碍子(2)の接地部位に設けた限流素子側の放電部(7)に対して気中間隙を介して絶縁電線側に対向して設けた雷保護装置の絶縁電線側の放電部(8)において、
    大気から絶縁電線(5)の芯線(5a)に到達する放電空間路(9)を絶縁電線(5)の絶縁被覆(5b)に形成し、芯線(5a)のうち放電空間路(9)に面する部分が放電電極(10)になることを特徴とする雷保護装置の絶縁電線側の放電部。
  2. 放電空間路(9)は穴であることを特徴とする請求項1記載の雷保護装置の絶縁電線側の放電部。
  3. 放電空間路(9)は、絶縁被覆(5b)の円周方向に沿って連続する円弧状またはリング状であることを特徴とする請求項1記載の雷保護装置の絶縁電線側の放電部。
  4. 放電空間路(9)を覆う絶縁カバー(11)を、絶縁電線(5)の全周を囲んで固定してあることを特徴とする請求項2又は3記載の雷保護装置の絶縁電線側の放電部。
JP2008174780A 2008-07-03 2008-07-03 雷保護装置の絶縁電線側の放電部 Expired - Fee Related JP5100537B2 (ja)

Priority Applications (1)

Application Number Priority Date Filing Date Title
JP2008174780A JP5100537B2 (ja) 2008-07-03 2008-07-03 雷保護装置の絶縁電線側の放電部

Applications Claiming Priority (1)

Application Number Priority Date Filing Date Title
JP2008174780A JP5100537B2 (ja) 2008-07-03 2008-07-03 雷保護装置の絶縁電線側の放電部

Publications (2)

Publication Number Publication Date
JP2010015824A true JP2010015824A (ja) 2010-01-21
JP5100537B2 JP5100537B2 (ja) 2012-12-19

Family

ID=41701754

Family Applications (1)

Application Number Title Priority Date Filing Date
JP2008174780A Expired - Fee Related JP5100537B2 (ja) 2008-07-03 2008-07-03 雷保護装置の絶縁電線側の放電部

Country Status (1)

Country Link
JP (1) JP5100537B2 (ja)

Citations (2)

* Cited by examiner, † Cited by third party
Publication number Priority date Publication date Assignee Title
JPS5632687A (en) * 1979-08-27 1981-04-02 Masao Tomita Method of sealing arc extinguishing powder for continuous breakdown type flash display unit
JPS62192517U (ja) * 1986-05-29 1987-12-07

Patent Citations (2)

* Cited by examiner, † Cited by third party
Publication number Priority date Publication date Assignee Title
JPS5632687A (en) * 1979-08-27 1981-04-02 Masao Tomita Method of sealing arc extinguishing powder for continuous breakdown type flash display unit
JPS62192517U (ja) * 1986-05-29 1987-12-07

Also Published As

Publication number Publication date
JP5100537B2 (ja) 2012-12-19

Similar Documents

Publication Publication Date Title
CN105514882B (zh) 一种电缆剥皮钳及其剥皮方法
JP5100537B2 (ja) 雷保護装置の絶縁電線側の放電部
CN105633863B (zh) 一种电缆剥皮钳及其剥皮方法
JP2015019497A (ja) 接地短絡器具
KR102788799B1 (ko) 외부 환경적 요인으로부터 전력선을 보호하는 바인드리스 라인 포스트 커버
JP5349509B2 (ja) 縁線接続方法
CN104992798A (zh) 低压带电装接绝缘护套
JP2017054651A (ja) 避雷器縁線抜け防止具
JP4716888B2 (ja) 接地棒及びその作成方法
JP2007026802A (ja) アース線付き電線
CN210326753U (zh) 一种高压电缆局部剥切的固定装置
CN219990815U (zh) 一种接地线绕线装置
CN205599826U (zh) 用于钳断屏顶带电小母线的断线钳
JP5642586B2 (ja) 避雷器
CN204464077U (zh) 绝缘操作杆及装置
CN104466699A (zh) 配电设备
CN211265031U (zh) 一种便于开剥的电缆和光缆
JP5628373B2 (ja) 高圧カットアウト用耐塩支持碍子の保護カバー
JP6488779B2 (ja) 引下線用端末キャップ
JP2023105010A (ja) コンクリート製ポール
CN205722944U (zh) 方便安装的临时布线线缆结构
JP2006066218A (ja) アース線付平型ケーブル
CN205406162U (zh) 一种船用火灾报警控制电缆
CN204517390U (zh) 四合一防雷保护器
JP5955892B2 (ja) ケーブル挿通口保護カバー

Legal Events

Date Code Title Description
A621 Written request for application examination

Free format text: JAPANESE INTERMEDIATE CODE: A621

Effective date: 20110331

A977 Report on retrieval

Free format text: JAPANESE INTERMEDIATE CODE: A971007

Effective date: 20120907

TRDD Decision of grant or rejection written
A01 Written decision to grant a patent or to grant a registration (utility model)

Free format text: JAPANESE INTERMEDIATE CODE: A01

Effective date: 20120919

A01 Written decision to grant a patent or to grant a registration (utility model)

Free format text: JAPANESE INTERMEDIATE CODE: A01

A61 First payment of annual fees (during grant procedure)

Free format text: JAPANESE INTERMEDIATE CODE: A61

Effective date: 20120925

FPAY Renewal fee payment (event date is renewal date of database)

Free format text: PAYMENT UNTIL: 20151005

Year of fee payment: 3

R150 Certificate of patent or registration of utility model

Free format text: JAPANESE INTERMEDIATE CODE: R150

R250 Receipt of annual fees

Free format text: JAPANESE INTERMEDIATE CODE: R250

R250 Receipt of annual fees

Free format text: JAPANESE INTERMEDIATE CODE: R250

R250 Receipt of annual fees

Free format text: JAPANESE INTERMEDIATE CODE: R250

LAPS Cancellation because of no payment of annual fees