JP2010015730A - Led照明装置 - Google Patents

Led照明装置 Download PDF

Info

Publication number
JP2010015730A
JP2010015730A JP2008172848A JP2008172848A JP2010015730A JP 2010015730 A JP2010015730 A JP 2010015730A JP 2008172848 A JP2008172848 A JP 2008172848A JP 2008172848 A JP2008172848 A JP 2008172848A JP 2010015730 A JP2010015730 A JP 2010015730A
Authority
JP
Japan
Prior art keywords
light emitting
substrate
heat sink
emitting diode
led lighting
Prior art date
Legal status (The legal status is an assumption and is not a legal conclusion. Google has not performed a legal analysis and makes no representation as to the accuracy of the status listed.)
Granted
Application number
JP2008172848A
Other languages
English (en)
Other versions
JP4221053B1 (ja
Inventor
Toshimi Yoshida
年美 吉田
Current Assignee (The listed assignees may be inaccurate. Google has not performed a legal analysis and makes no representation or warranty as to the accuracy of the list.)
BIOTOPE KK
BIOTOPE
Original Assignee
BIOTOPE KK
BIOTOPE
Priority date (The priority date is an assumption and is not a legal conclusion. Google has not performed a legal analysis and makes no representation as to the accuracy of the date listed.)
Filing date
Publication date
Application filed by BIOTOPE KK, BIOTOPE filed Critical BIOTOPE KK
Priority to JP2008172848A priority Critical patent/JP4221053B1/ja
Application granted granted Critical
Publication of JP4221053B1 publication Critical patent/JP4221053B1/ja
Publication of JP2010015730A publication Critical patent/JP2010015730A/ja
Expired - Fee Related legal-status Critical Current
Anticipated expiration legal-status Critical

Links

Images

Landscapes

  • Led Device Packages (AREA)
  • Fastening Of Light Sources Or Lamp Holders (AREA)
  • Arrangement Of Elements, Cooling, Sealing, Or The Like Of Lighting Devices (AREA)
  • Non-Portable Lighting Devices Or Systems Thereof (AREA)

Abstract

【課題】 本発明は,放熱効率が高く,低電力で高い輝度を発揮できるLED照明装置(1)を提供することを目的とする。
【解決手段】 本発明は,基本的には,放熱板を露出させ複数のくぼみ部を形成させることで,乱反射を起こして輝度を高めることができるとともに,放熱板の表面積を広くできるので,放熱性も向上させることができるという知見や,イトロ処理を施すことで,放熱性を著しく高めることができるという知見に基づく。本発明のLED照明装置(1)は,複数の発光ダイオード(3)と放熱板(5)とを有する。特に,本発明の第1の側面は,乱反射を起こすための複数のディンプル(9)を有するLED照明装置(1)などに関する。そして,放熱板(5)の表面は,イトロ処理により形成された酸化ケイ素被膜(6)を有するものが好ましい。
【選択図】 図1

Description

本発明は,放熱効率が高く,低電力で高い輝度を発揮できるLED照明装置に関する。
発光ダイオード(LED)は,たとえば,ガラスエポキシ基板や金属基板に装着されて表示装置に使用される。LEDが発光すると,熱を発するため,LEDが高温になることがある。特に複数のLEDを有する表示装置では,温度が高くなるという問題がある。このため,LEDが高温になる事態を防止するために,基板を放熱板に固定することが行われている。
たとえば,特開2006−018175号公報(下記特許文献1)では,放熱板の前面に,基板を介して複数の発光ダイオードを連結し,後面にはフィン部を連結する表示装置が開示されている。この表示装置は,このように,放熱板にフィンにより通風して放熱効率を高めている。
しかしながら,この表示装置は,フィン部を駆動するために電力を消費する。また,基板と放熱板との熱伝導性が異なるため,効果的に放熱できない。さらに,基板が放熱板を覆っているため,放熱板の一面からしか放熱できない。されらに,基板と発光ダイオードとを接続するためにシリコンが用いられる。このシリコンは,断熱性を有するため,発光ダイオードの熱が放熱板に伝わる事態を防止する。このため,放熱効率が益々悪化した。
特開2006−018175号公報
本発明は,放熱効率が高く,低電力で高い輝度を発揮できるLED照明装置(1)を提供することを目的とする。
本発明は,基本的には,放熱板を露出させ複数のくぼみ部を形成させることで,乱反射を起こして輝度を高めることができるとともに,放熱板の表面積を広くできるので,放熱性をも向上させることができるという知見に基づく。このような知見に基づき,本発明では,プリント基板を用いないか,又はプリント基板を必要最小限の幅を有するものとする。また,本発明は,イトロ処理を施すことで,放熱性を著しく高めることができるという知見に基づく。
本発明の第1の側面は,LED照明装置(1)に関する。このLED照明装置(1)は,複数の発光ダイオード(3)と放熱板(5)とを有する。特に,本発明の第1の側面は,乱反射を起こすための複数のディンプル(9)を有するLED照明装置(1)などに関する。
放熱板(5)は,複数のLED設置部(7)を有する。このLED設置部(7)は,発光ダイオードを放熱板に固定するためのものである。放熱板(5)は,その表面に複数のくぼみ部(9)を有する。放熱板(5)の表面は,イトロ処理により形成された酸化ケイ素被膜(6)を有するものが好ましい。イトロ処理により形成された酸化ケイ素被膜(6)を有することで,放熱効果が高まる。そして,発光ダイオード(3)は,LED設置部(7)に装着される。
このように,放熱板(5)が複数のくぼみ部(9)を有するため,発光ダイオードからの光が,このくぼみ部(9)において乱反射する。これにより,LED照明装置(1)の発光効率が格段に高まる。また,くぼみ部(9)により放熱板の表面積が広くなる。このため,放熱板(5)の放熱効率を高めることができる。
複数のくぼみ部(9)は,ディンプル形状のくぼみ部であることが好ましい。このような曲面を有するくぼみ部であれば,発光ダイオードからの光を乱反射させることができるため,LED照明装置(1)の発光効率が格段に高まる。
放熱板(5)表面のうち,少なくとも50%以上の部分は露出していることが好ましい。ここで,放熱板(5)表面とは,放熱板(5)の表面のうち,発光ダイオードの発光部が存在する表面を意味する。従来のLED照明装置では,放熱板(5)の表面が,たとえば,プリント基板(11)で覆われている。本発明では,放熱板(5)の表面が露出しているため,放熱板(5)を乱反射板として用いることができる。さらに,放熱板(5)の裏面のみならず,放熱板(5)表面においても,有効に放熱を行うことができることとなる。
本発明のLED照明装置(1)は,さらに複数の基板(11)を有してもよい。この基板(11)は,たとえば,プリント基板である。そして,基板(11)は,放熱板(5)と密着する。また,基板(11)は,電線固定部(13)を有する。電線固定部(13)は,発光ダイオード(3)の電源線(15)を,電源供給線(17)又は隣接する発光ダイオード(3)の電源線(15)と接続する。また,電線固定部(13)は,発光ダイオード(3)を前記基板(11)に固定する。
ここで,隣接する2つの発光ダイオード(3a,3b)を,第1の発光ダイオード(3a)及び第2の発光ダイオード(3b)とする。すると,第1の発光ダイオード(3a)を固定するための第1の基板(11a)と,第2の発光ダイオード(3b)を固定するための第2の基板(11b)とは接続されていない。すなわち,通常のLED照明装置であれば,一つのプリント基板に複数の発光ダイオードが装着される。本発明の別の好ましいLED照明装置は,基板が発光ダイオードごとに独立している。
そして,本発明の好ましいLED照明装置は,第1の基板(11a)と第2の基板(11b)との間を接続する接続基板を有する。そして,放熱板の表面の内,複数の基板(11)及び接続基板に覆われていない部分は露出する。
また,第1の基板(11a)と第2の基板(11b)との間に位置する放熱板(5)が露出するものも好ましい。よって,通常のLED照明装置と異なり,発光ダイオードの間の表示側の放熱板も光の乱反射に寄与する。さらに,放熱板が露出するので,放熱効率も高まる。
本発明の第2の側面は,LED照明装置(1)に関する。そして,このLED照明装置は,複数の発光ダイオード(3)と放熱板(5)とを有する。第2の側面のLED照明装置(1)は,放熱板(5)の表面にイトロ処理により形成された酸化ケイ素被膜(6)を有する。このため,放熱効率を高めることができる。
本発明によれば,放熱効率が高く,低電力で高い輝度を発揮できるLED照明装置(1)を提供できる。
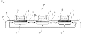
以下,図面に基づいて本発明を実施するための最良の形態について説明する。図1は,本発明の発光ダイオード照明装置を説明するための概念図である。図1に示されるように,本発明の第1の側面は,LED照明装置(1)に関する。「LED照明装置」は,発光ダイオードを含む照明装置を意味する。すなわち,LED照明装置は,発光ダイオードを光源とする照明装置に関する。特に,本発明の第1の側面は,乱反射を起こすための複数のディンプルを有するLED照明装置(1)などに関する。
そして,このLED照明装置(1)は,複数の発光ダイオード(3)と放熱板(5)とを有する。発光ダイオードは,公知のものを適宜用いればよい。放熱板(5)の材質は,たとえば,アルミ板があげられる。放熱板(5)の厚さは,用途に応じて適宜調整すればよい。本発明では,放熱板をも反射板や乱反射板として用いる。このため,少なくとも放熱板(5)表面は,鏡面加工を施されているものが好ましい。放熱板(5)が鏡面加工された表面を有する場合は,発光ダイオードから発せされた光を効果的に反射させることができる。
放熱板(5)は,複数のLED設置部(7)を有する。このLED設置部(7)は,発光ダイオードを放熱板に固定するためのものである。よって,LED設置部(7)が円筒状の孔部である場合,その円筒の直径は,発光ダイオードの幹部がはまる大きさであればよい。LED設置部(7)は,四角柱状の孔部であってもよいし,楕円柱状の孔部であってもよいし,多角形柱状の孔部であってもよい。また,孔部は,貫通していてもよい。孔部が貫通している場合,放熱板(5)の裏面で,配線がなされることが好ましい。発光ダイオードを放熱板に固定できるのであれば,孔部は貫通していなくてもよい。
放熱板(5)は,その表面に複数のくぼみ部(9)を有する。複数のくぼみ部(9)は,ディンプル形状のくぼみ部であることが好ましい。なお,放熱板(5)の表面のうち,発光ダイオードの発光部に面した面にくぼみ部が形成されることが好ましい。このような曲面を有するくぼみ部であれば,発光ダイオードからの光を乱反射させることができるため,LED照明装置(1)の発光効率が格段に高まる。なお,くぼみ部(9)の大きさは,乱反射を惹き起こすことができる大きさや深さであればよい。具体的には,直径0.5mm以上2mm以下などがあげられる。また,くぼみ部の深さは,たとえば,0.1mm以上2mm以下があげられる。もちろん,くぼみ部の大きさや深さは,用途やLED照明装置の規模に応じて適宜調整すればよい。
複数のくぼみ部(9)は,ランダムに形成されたものであることが好ましい。複数のくぼみ部(9)がランダムに形成されるので,発光ダイオードからの光を効果的に乱反射させることができる。もちろん,複数のくぼみ部(9)は,放熱板(5)表面の格子点状に設けられてもよい。複数のくぼみ部(9)は,放熱板の表面全体に設けられることが好ましい。もっとも,放熱板(9)の縁の部分については,LED照明装置を容易に取り扱うことができるようにするためくぼみ部(9)が設けられていなくてもよい。複数のくぼみ部(9)が設けられる領域は,放熱板(5)表面の50%以上であることが好ましく,90%以上であることがより好ましい。ランダムなくぼみ部(9)は,たとえば,放熱板を先端が丸い釘でたたくことにより形成してもよい。また,所定の設計パターンを有する金型を押し当ててくぼみ部を形成してもよい。ランダムなくぼみ部(9)は,たとえば,ぐしゃぐしゃにした金属薄膜を放熱板に貼り付けることにより形成してもよい。
放熱板(5)表面のうち,少なくとも50%以上の部分は露出していることが好ましい。ここで,放熱板(5)表面とは,放熱板(5)の表面のうち,発光ダイオードの発光部が存在する表面を意味する。従来のLED照明装置では,放熱板(5)の表面が,たとえば,プリント基板(11)で覆われている。本発明では,放熱板(5)の表面が露出しているため,放熱板(5)を乱反射板として用いることができる。さらに,放熱板(5)の裏面のみならず,放熱板(5)表面においても,有効に放熱を行うことができることとなる。
放熱板(5)の表面は,イトロ処理により形成された酸化ケイ素被膜(6)を有するものが好ましい。イトロ処理により形成された酸化ケイ素被膜(6)を有することで,放熱効果が高まる。イトロ処理は,たとえば,特開2008−114384号公報に記載されるとおり公知である。そして,イトロ処理の例は,バーナーによる酸化炎を介して対象物の表面に酸化ケイ素膜を形成する表面処理や,紫外線を用いて対象物の表面に酸化ケイ素膜を形成する表面処理があげられる。また,イトロ液を塗布することにより酸化ケイ素被膜を形成してもよい。
そして,発光ダイオード(3)は,LED設置部(7)に装着される。
このように,放熱板(5)が複数のくぼみ部(9)を有するため,発光ダイオードからの光が,このくぼみ部(9)において乱反射する。これにより,LED照明装置(1)の発光効率が格段に高まる。また,くぼみ部(9)により放熱板の表面積が広くなる。このため,放熱板(5)の放熱効率を高めることができる。
図2は,LED設置部が放熱板を貫通している場合のLED照明装置を説明するための図である。図2Aは,放熱板の例を示す。図2Bは,LED照明装置の例を示す。図2ABに示されるように,本発明のLED照明装置(1)は,さらに複数の基板(11)を有してもよい。もちろん,本発明のLED照明装置(1)は,基板を有さないものであってもよい。この基板(11)は,たとえば,プリント基板である。そして,基板(11)は,放熱板(5)と密着する。また,基板(11)は,電線固定部(13)を有する。電線固定部(13)は,発光ダイオード(3)の電源線(15)を,電源供給線(17)又は隣接する発光ダイオード(3)の電源線(15)と接続する。また,電線固定部(13)は,発光ダイオード(3)を前記基板(11)に固定する。通常の発光ダイオードは,この基板を用いて,発光ダイオード間の電力の授受を行う。このため,放熱板表面は,基板に覆われている。放熱板表面が基板に覆われているので,放熱板からの放熱効率が悪化する。また,放熱板表面が基板に覆われているので,発光ダイオードから発光した光を基板表面が吸収する。この結果,通常の発光ダイオードは,輝度が失われ,熱も発生する。
ここで,隣接する2つの発光ダイオード(3a,3b)を,第1の発光ダイオード(3a)及び第2の発光ダイオード(3b)とする。すると,第1の発光ダイオード(3a)を固定するための第1の基板(11a)と,第2の発光ダイオード(3b)を固定するための第2の基板(11b)とは接続されていない。すなわち,通常のLED照明装置であれば,一つのプリント基板に複数の発光ダイオードが装着される。しかし,本発明の好ましいLED照明装置では,基板(11)が発光ダイオードごとに独立している。このため,第1の基板(11a)と第2の基板(11b)との間に位置する放熱板(5)が露出する。図2Bにおいて符号21は,基板により覆われず露出した放熱板(5)の部分を示す。よって,通常のLED照明装置と異なり,発光ダイオードの間の表示側の放熱板の放熱効率も高まる。なお,基板(11)が,放熱板(5)表面に設けられる場合は,基板によって覆われずに露出する放熱板(5)表面の部分が増えるため,発光効率をもあげることができる。
また,本発明の好ましいLED照明装置は,第1の基板(11a)と第2の基板(11b)との間を接続する接続基板を有する。この接続基板は,第1の基板(11a)と第2の基板(11b)との間を電気的に接続するために最小限の幅を有するものである。この接続基板は,いわゆるプリント基板を用いることができる。接続基板の幅の例は,発光ダイオードの幅と同一程度である。そして,放熱板の表面のうち,複数の基板(11)及び接続基板に覆われていない部分は露出する。よって,通常のLED照明装置と異なり,発光ダイオードの間の表示側の放熱板の放熱効率も高まる。なお,基板(11)が,放熱板(5)表面に設けられる場合は,基板によって覆われずに露出する放熱板(5)表面の部分が増えるため,発光効率をもあげることができる。
本発明の第2の側面は,LED照明装置(1)に関する。そして,このLED照明装置は,複数の発光ダイオード(3)と放熱板(5)とを有する。第2の側面のLED照明装置(1)は,放熱板(5)の表面にイトロ処理により形成された酸化ケイ素被膜(6)を有する。このため,放熱効率を高めることができる。この第2の側面のLED照明装置(1)は,先に説明した第1の側面のLED照明装置の構成を適宜採用できる。
次に,本発明のLED照明装置の製造方法の例を説明する。本発明のLED照明装置は,公知のLED照明装置において用いられている部品を用いることができる。アルミ製の放熱板の片面を鏡面仕上げする。この鏡面仕上げは任意である。また,その上で,等間隔となるように孔部を設ける。この孔部は,将来発光ダイオードが装填される部位である。そして,孔部が設けられた放熱板に釘を用いてランダムに複数のディンプルを形成する。なお,複数のディンプルを形成した後,孔部を形成してもよい。次に,イトロ処理を施して,イトロ処理による酸化ケイ素被膜(6)を形成する。この際,特にディンプル内にも酸化ケイ素被膜(6)が形成されるように留意する。
孔部はたとえば,貫通孔である。この場合,発光ダイオードを,貫通孔を通す。放熱板の裏面には,発光ダイオードを固定する基板が存在する。この基板は,発光ダイオードごとにある。そして,基板では発光ダイオードの電源線が,電源供給線と固定されている。これにより,電源から発光ダイオードへと電力を供給できる。また,発光ダイオードの電源線が,隣接する発光ダイオードの電源線と接続されていてもよい。これにより,隣接する発光ダイオードにも電力を供給できることとなる。
本発明のLED照明装置は,照明装置である。よって,本発明のLED照明装置は,たとえば,屋外街頭,各種照明として使用できる。
ディンプル状のくぼみ部による輝度向上検証実験
ディンプル状のくぼみ部により輝度が向上することを検証するため,以下の実験を行った。まず,ディンプル状のくぼみ部を有さない放熱板と,ディンプル状のくぼみ部を有する放熱板とを用意した。図3は,実施例1において作成した放熱板を示す図面に替わる写真である。図3において,左の放熱板は対照実験用の放熱板である。図3において右の放熱板には,4つの貫通孔の周りには複数のランダムなディンプル状のくぼみ部が設けられている。
次に,放熱板の4つの貫通孔に発光ダイオードの胴体部分を通した。図4は,放熱板の裏面における電源線を接続した様子を示す図面に替わる写真である。図4に示されるように,放熱板の裏面に発光ダイオードごとに基板を用意した。また,発光ダイオードの電源線間を,プリント基板を用いて電気的に接続した。なお,プリント基板は,隣接する発光ダイオードのベース部分を接続する部位にのみ存在させ,接続基板として最小限の幅のみを有するものとした。
図5は,複数のくぼみ部を有する放熱板を用いたLED照明装置が発光する様子を示す図面に替わる写真である。図6は,くぼみ部を形成しない放熱板を用いたLED照明装置が発光する様子を示す図面に替わる写真である。図5と図6とを比較すると,くぼみ部を有する放熱板を用いることで,放熱板全体が明るく光ることや,全体として輝度が格段に高まることがわかる。
プリント基板を用いない配線
次に,プリント基板を用いずに配線を行った。図7は,5個の発光ダイオードの電源線を,プリント基板を用いずに接続した例を示す図面に替わる写真である。プリント配線を用いていないため各発光ダイオード間の放熱板が露出している。
放熱性検証実験
次にイトロ処理による放熱性を検証する実験を行った。
図8は,放熱性試験の結果を示す図面に替わるグラフである。図8に示されるように,放熱板の裏面をイトロ焼付したものや,放熱板の裏面をイトロ液によりイトロ処理したものは,極めて放熱性が向上するといえる。また,放熱板の表面をイトロ焼付したものや,放熱板の表面をイトロ液によりイトロ処理したものも,放熱性が向上することがわかる。なお,この実施例では,比較実験として,イトロ処理を施していないものの放熱性についても検討した。放熱板の裏面のアルミニウムが露出しているもののイトロ処理を施していないもの,放熱板の裏面のみに放熱用シリコン層を形成したもの,表面及び裏面のアルミニウムを露出させたもの,表面及び裏面に放熱用シリコン層を形成したものについても放熱性を検討した。比較実験に比べてイトロ処理を施したものは,放熱性が格段に高まることがわかる。
本発明は,発光ダイオードを用いた照明装置に関するので,照明機器の分野で利用されうる。
図1は,本発明の発光ダイオード照明装置を説明するための概念図である。 図2は,LED設置部が放熱板を貫通している場合のLED照明装置を説明するための図である。図2Aは,放熱板の例を示す。図2Bは,LED照明装置の例を示す。 図3は,実施例1において作成した放熱板を示す図面に替わる写真である。 図4は,放熱板の裏面における電源線を接続した様子を示す図面に替わる写真である。 図5は,複数のくぼみ部を有する放熱板を用いたLED照明装置が発光する様子を示す図面に替わる写真である。 図6は,くぼみ部を形成しない放熱板を用いたLED照明装置が発光する様子を示す図面に替わる写真である。 図7は,5個の発光ダイオードの電源線を,プリント基板を用いずに接続した例を示す図面に替わる写真である。 図8は,放熱性試験の結果を示す図面に替わるグラフである。
符号の説明
1 LED照明装置
3,3a,3b 発光ダイオード
5 放熱板
6 酸化ケイ素被膜
7 LED設置部
9 くぼみ部
11,11a,11b 基板
13 電線固定部
15 電源線
17 電源供給線
21 放熱板の露出した部分

Claims (6)

  1. 複数の発光ダイオード(3)と,放熱板(5)と,を有するLED照明装置(1)であって,

    前記放熱板(5)は,複数のLED設置部(7)を有し,
    前記発光ダイオード(3)は,前記LED設置部(7)に装着され,

    前記放熱板(5)は,その表面に複数のくぼみ部(9)を有する,

    LED照明装置(1)。
  2. 前記放熱板(5)の表面は,イトロ処理により形成された酸化ケイ素被膜(6)を有する,
    請求項1に記載のLED照明装置(1)。
  3. 前記複数のくぼみ部(9)は,ディンプル形状のくぼみ部であり,
    前記放熱板(5)表面のうち,少なくとも50%以上の部分は露出している,
    請求項1に記載のLED照明装置(1)。
  4. 前記LED照明装置(1)は,さらに複数の基板(11)を有し,

    前記基板(11)は,前記放熱板(5)と密着し,
    前記基板(11)は,電線固定部(13)を有し,
    前記電線固定部(13)は,前記発光ダイオード(3)の電源線(15)を,電源供給線(17)又は隣接する発光ダイオード(3)の電源線(15)と接続するとともに,前記発光ダイオード(3)を前記基板(11)に固定し,

    前記隣接する2つの発光ダイオード(3a,3b)を,第1の発光ダイオード(3a)及び第2の発光ダイオード(3b)としたときに,前記第1の発光ダイオード(3a)を固定するための第1の基板(11a)と,前記第2の発光ダイオード(3b)を固定するための第2の基板(11b)とは接続されておらず,

    前記第1の基板(11a)と前記第2の基板(11b)との間を接続する接続基板を有し,

    前記放熱板(5)のうち,前記複数の基板(11)及び前記接続基板に覆われていない部分は露出する,

    請求項1に記載のLED照明装置(1)。
  5. 前記LED照明装置(1)は,さらに複数の基板(11)を有し,

    前記基板(11)は,前記放熱板(5)と密着し,
    前記基板(11)は,電線固定部(13)を有し,
    前記電線固定部(13)は,前記発光ダイオード(3)の電源線(15)を,電源供給線(17)又は隣接する発光ダイオード(3)の電源線(15)と接続するとともに,前記発光ダイオード(3)を前記基板(11)に固定し,

    前記隣接する2つの発光ダイオード(3a,3b)を,第1の発光ダイオード(3a)及び第2の発光ダイオード(3b)としたときに,前記第1の発光ダイオード(3a)を固定するための第1の基板(11a)と,前記第2の発光ダイオード(3b)を固定するための第2の基板(11b)とは接続されておらず,前記第1の基板(11a)と前記第2の基板(11b)との間に位置する放熱板(5)が露出する,

    請求項1に記載のLED照明装置(1)。
  6. 複数の発光ダイオード(3)と放熱板(5)とを有するLED照明装置(1)であって,

    前記放熱板(5)は,複数のLED設置部(7)を有し,
    前記発光ダイオード(3)は,前記LED設置部(7)に装着され,

    前記放熱板(5)は,その表面にイトロ処理により形成された酸化ケイ素被膜(6)を有する,

    LED照明装置(1)。
JP2008172848A 2008-07-01 2008-07-01 Led照明装置 Expired - Fee Related JP4221053B1 (ja)

Priority Applications (1)

Application Number Priority Date Filing Date Title
JP2008172848A JP4221053B1 (ja) 2008-07-01 2008-07-01 Led照明装置

Applications Claiming Priority (1)

Application Number Priority Date Filing Date Title
JP2008172848A JP4221053B1 (ja) 2008-07-01 2008-07-01 Led照明装置

Publications (2)

Publication Number Publication Date
JP4221053B1 JP4221053B1 (ja) 2009-02-12
JP2010015730A true JP2010015730A (ja) 2010-01-21

Family

ID=40403876

Family Applications (1)

Application Number Title Priority Date Filing Date
JP2008172848A Expired - Fee Related JP4221053B1 (ja) 2008-07-01 2008-07-01 Led照明装置

Country Status (1)

Country Link
JP (1) JP4221053B1 (ja)

Families Citing this family (1)

* Cited by examiner, † Cited by third party
Publication number Priority date Publication date Assignee Title
KR102098594B1 (ko) 2014-03-14 2020-04-08 삼성전자주식회사 Led 패키지

Citations (6)

* Cited by examiner, † Cited by third party
Publication number Priority date Publication date Assignee Title
JP2004055229A (ja) * 2002-07-17 2004-02-19 Mitsubishi Electric Lighting Corp Led光源装置及び照明器具
JP2005327577A (ja) * 2004-05-13 2005-11-24 Momo Alliance Co Ltd 発光装置並びに該発光装置を用いた街灯、信号灯及び表示灯
JP2006351356A (ja) * 2005-06-16 2006-12-28 Ichikoh Ind Ltd 車両用灯具
JP2007011333A (ja) * 2005-06-17 2007-01-18 Schott Ag 金属反射鏡および金属反射鏡の製作方法
JP2007184541A (ja) * 2005-12-09 2007-07-19 Matsushita Electric Ind Co Ltd 発光モジュールとその製造方法並びにそれを用いたバックライト装置
JP2008072013A (ja) * 2006-09-15 2008-03-27 Nichia Chem Ind Ltd 発光装置

Patent Citations (6)

* Cited by examiner, † Cited by third party
Publication number Priority date Publication date Assignee Title
JP2004055229A (ja) * 2002-07-17 2004-02-19 Mitsubishi Electric Lighting Corp Led光源装置及び照明器具
JP2005327577A (ja) * 2004-05-13 2005-11-24 Momo Alliance Co Ltd 発光装置並びに該発光装置を用いた街灯、信号灯及び表示灯
JP2006351356A (ja) * 2005-06-16 2006-12-28 Ichikoh Ind Ltd 車両用灯具
JP2007011333A (ja) * 2005-06-17 2007-01-18 Schott Ag 金属反射鏡および金属反射鏡の製作方法
JP2007184541A (ja) * 2005-12-09 2007-07-19 Matsushita Electric Ind Co Ltd 発光モジュールとその製造方法並びにそれを用いたバックライト装置
JP2008072013A (ja) * 2006-09-15 2008-03-27 Nichia Chem Ind Ltd 発光装置

Also Published As

Publication number Publication date
JP4221053B1 (ja) 2009-02-12

Similar Documents

Publication Publication Date Title
JP2008288183A (ja) 照明器具
KR100998480B1 (ko) 열전달/발산 모듈을 구비한 반도체 발광 장치
JP2009543348A5 (ja)
JP2014191920A (ja) 照明装置及び導光部材
JP2002216525A (ja) 面照明装置
WO2016080006A1 (ja) 光源ユニット及び照明装置
JP2009181814A (ja) 光源装置
KR101118917B1 (ko) 엘이디 조명 및 백라이트 유닛용 광원장치
JP5577209B2 (ja) 照明装置
JP2010118340A (ja) 発光ダイオードダウンライト
KR20120070930A (ko) 발광장치
JP4221053B1 (ja) Led照明装置
JP5696239B2 (ja) 照明装置及び照明装置に用いられる光源基板
CN101556024B (zh) 侧光式背光模组的灯反射器
KR101940987B1 (ko) 히트싱크가 적용된 led 조명장치용 인쇄회로기판
JP2007115577A (ja) 照明装置
JP2009187718A (ja) 光源装置
CN102646786A (zh) 散热结构
JP2014011088A (ja) 照明装置
KR20110012001A (ko) 엘이디 조명장치
KR101843505B1 (ko) 엘이디 램프
CN101463981B (zh) 具有散热结构的发光二极管模组
JP2015156324A (ja) 車両用灯具
JP4493482B2 (ja) 光照射装置
KR101442516B1 (ko) 반사판과 렌즈를 구비한 led 조명모듈

Legal Events

Date Code Title Description
TRDD Decision of grant or rejection written
A01 Written decision to grant a patent or to grant a registration (utility model)

Free format text: JAPANESE INTERMEDIATE CODE: A01

A61 First payment of annual fees (during grant procedure)

Free format text: JAPANESE INTERMEDIATE CODE: A61

Effective date: 20081114

FPAY Renewal fee payment (event date is renewal date of database)

Free format text: PAYMENT UNTIL: 20111121

Year of fee payment: 3

R150 Certificate of patent or registration of utility model

Free format text: JAPANESE INTERMEDIATE CODE: R150

FPAY Renewal fee payment (event date is renewal date of database)

Free format text: PAYMENT UNTIL: 20111121

Year of fee payment: 3

S303 Written request for registration of pledge or change of pledge

Free format text: JAPANESE INTERMEDIATE CODE: R316304

S531 Written request for registration of change of domicile

Free format text: JAPANESE INTERMEDIATE CODE: R313531

FPAY Renewal fee payment (event date is renewal date of database)

Free format text: PAYMENT UNTIL: 20111121

Year of fee payment: 3

R350 Written notification of registration of transfer

Free format text: JAPANESE INTERMEDIATE CODE: R350

FPAY Renewal fee payment (event date is renewal date of database)

Free format text: PAYMENT UNTIL: 20111121

Year of fee payment: 3

FPAY Renewal fee payment (event date is renewal date of database)

Free format text: PAYMENT UNTIL: 20121121

Year of fee payment: 4

LAPS Cancellation because of no payment of annual fees