JP2010015663A - 相変化デバイスを用いた高密度コンテンツ・アドレス可能メモリ - Google Patents

相変化デバイスを用いた高密度コンテンツ・アドレス可能メモリ Download PDF

Info

Publication number
JP2010015663A
JP2010015663A JP2008270695A JP2008270695A JP2010015663A JP 2010015663 A JP2010015663 A JP 2010015663A JP 2008270695 A JP2008270695 A JP 2008270695A JP 2008270695 A JP2008270695 A JP 2008270695A JP 2010015663 A JP2010015663 A JP 2010015663A
Authority
JP
Japan
Prior art keywords
memory
search
resistance
access device
word
Prior art date
Legal status (The legal status is an assumption and is not a legal conclusion. Google has not performed a legal analysis and makes no representation as to the accuracy of the status listed.)
Granted
Application number
JP2008270695A
Other languages
English (en)
Other versions
JP4848409B2 (ja
Inventor
Hon Ramu Chan
チャン・ホン・ラム
Bipin Rajendran
ビピン・ラジェンドラン
Current Assignee (The listed assignees may be inaccurate. Google has not performed a legal analysis and makes no representation or warranty as to the accuracy of the list.)
International Business Machines Corp
Original Assignee
International Business Machines Corp
Priority date (The priority date is an assumption and is not a legal conclusion. Google has not performed a legal analysis and makes no representation as to the accuracy of the date listed.)
Filing date
Publication date
Application filed by International Business Machines Corp filed Critical International Business Machines Corp
Publication of JP2010015663A publication Critical patent/JP2010015663A/ja
Application granted granted Critical
Publication of JP4848409B2 publication Critical patent/JP4848409B2/ja
Expired - Fee Related legal-status Critical Current
Anticipated expiration legal-status Critical

Links

Images

Classifications

    • GPHYSICS
    • G11INFORMATION STORAGE
    • G11CSTATIC STORES
    • G11C15/00Digital stores in which information comprising one or more characteristic parts is written into the store and in which information is read-out by searching for one or more of these characteristic parts, i.e. associative or content-addressed stores
    • G11C15/02Digital stores in which information comprising one or more characteristic parts is written into the store and in which information is read-out by searching for one or more of these characteristic parts, i.e. associative or content-addressed stores using magnetic elements
    • GPHYSICS
    • G11INFORMATION STORAGE
    • G11CSTATIC STORES
    • G11C11/00Digital stores characterised by the use of particular electric or magnetic storage elements; Storage elements therefor
    • G11C11/02Digital stores characterised by the use of particular electric or magnetic storage elements; Storage elements therefor using magnetic elements
    • G11C11/16Digital stores characterised by the use of particular electric or magnetic storage elements; Storage elements therefor using magnetic elements using elements in which the storage effect is based on magnetic spin effect
    • GPHYSICS
    • G11INFORMATION STORAGE
    • G11CSTATIC STORES
    • G11C15/00Digital stores in which information comprising one or more characteristic parts is written into the store and in which information is read-out by searching for one or more of these characteristic parts, i.e. associative or content-addressed stores
    • G11C15/04Digital stores in which information comprising one or more characteristic parts is written into the store and in which information is read-out by searching for one or more of these characteristic parts, i.e. associative or content-addressed stores using semiconductor elements
    • GPHYSICS
    • G11INFORMATION STORAGE
    • G11CSTATIC STORES
    • G11C15/00Digital stores in which information comprising one or more characteristic parts is written into the store and in which information is read-out by searching for one or more of these characteristic parts, i.e. associative or content-addressed stores
    • G11C15/04Digital stores in which information comprising one or more characteristic parts is written into the store and in which information is read-out by searching for one or more of these characteristic parts, i.e. associative or content-addressed stores using semiconductor elements
    • G11C15/046Digital stores in which information comprising one or more characteristic parts is written into the store and in which information is read-out by searching for one or more of these characteristic parts, i.e. associative or content-addressed stores using semiconductor elements using non-volatile storage elements
    • GPHYSICS
    • G11INFORMATION STORAGE
    • G11CSTATIC STORES
    • G11C13/00Digital stores characterised by the use of storage elements not covered by groups G11C11/00, G11C23/00, or G11C25/00
    • G11C13/0002Digital stores characterised by the use of storage elements not covered by groups G11C11/00, G11C23/00, or G11C25/00 using resistive RAM [RRAM] elements
    • G11C13/0004Digital stores characterised by the use of storage elements not covered by groups G11C11/00, G11C23/00, or G11C25/00 using resistive RAM [RRAM] elements comprising amorphous/crystalline phase transition cells

Landscapes

  • Engineering & Computer Science (AREA)
  • Computer Hardware Design (AREA)
  • Semiconductor Memories (AREA)
  • Read Only Memory (AREA)
  • Digital Transmission Methods That Use Modulated Carrier Waves (AREA)

Abstract

【課題】 相変化デバイスを用いた高密度コンテンツ・アドレス可能メモリ・アレイを提供すること。
【解決手段】 ストアド・ワードをメモリ素子にストアするコンテンツ・アドレス可能メモリ・アレイを提供する。各メモリ素子は、少なくとも2つの相補的バイナリ・ビットのうちの1つを、少なくとも2つの相補的抵抗のうちの1つとしてストアする。各メモリ素子はアクセス・デバイスに電気的に結合される。コンテンツ・アドレス可能メモリ・アレイの一態様は、バイアス回路を用いて検索動作中にアクセス・デバイスにバイアスをかけることである。検索動作中、ビット・ストリングを含む検索ワードが受信される。各アクセス・デバイスはバイアスをかけられて、検索ワード内の対応する検索ビットの相補的な抵抗値になる。メモリ素子内にストアされたビットがアクセス・デバイス内の抵抗により表されるビットに対して相補的である場合に、検索ワードとストアド・ワードの間のマッチが指示される。
【選択図】 図4

Description

本発明はコンテンツ・アドレス可能メモリに関し、より具体的には相変化材料及びアクセス・デバイスを用いた高密度コンテンツ・アドレス可能メモリ・セルに関する。
コンテンツ・アドレス可能メモリ(CAM)は高速検索用途に用いられる型のコンピュータ・メモリである。ほとんどのCAMデバイスは、データ記憶デバイスとして静的ランダム・アクセス・メモリ(SRAM)(メモリをストアするのにトランジスタを用いる)、並びにマッチ動作用の付加的トランジスタ及び相補的トランジスタを用いる。普通、これらのCAMデバイスにおいては、メモリ・アレイ中の個々のメモリ・セルを動作させ及びプログラムするのにサーチライン・アクセス素子及びワードライン・アクセス素子が必要である。サーチライン・アクセス素子及びワードライン・アクセス素子は大電力駆動の大型電界効果トランジスタ(FET)から成ることが多い。
相変化材料を利用してCAMデバイス内で情報をストアすることもできる。相変化材料は、各相が異なるデータ値を表す異なる相又は状態にすることができる。一般に、各相は異なる電気特性を示す。アモルファス相及び結晶相は典型的な2つの相であり、電気抵抗の検出可能な差を有するのでバイナリ・データ記憶(1及び0)に用いられる。具体的には、アモルファス相は結晶相よりも高い抵抗を有する。
カルコゲニドは相変化材料として普通に用いられる一群の材料である。それらは典型的にはカルコゲン(周期表の16/VIA族)及びより電気的陽性の元素を含む。セレン(Se)及びテルル(Te)は、相変化メモリ・セルを作製するときカルコゲニドを形成するのに用いられる群中の2つの最も普通の半導体である。この型の材料の例には、GeSbTe(GST)、SbTe、及びInSeがある。しかし、幾つかの相変化材料にはGeSbのようなカルコゲンは用いられない。このように、別々のアモルファス状態と結晶状態を保持することができる限り、種々の材料を相変化材料セルに用いることができる。
相変化CAMデバイス及び標準的CAMデバイスにおける2つの問題は、メモリ・デバイス内の個々のメモリ・セル(相補的アクセス・トランジスタ及び相補的メモリ要素を必要とする)の大きな寸法、及び、メモリ・デバイス内の検索動作(大きな大電力駆動FETを用いるワードライン充電を必要とする)を実行するのに必要な大電力である。従って、個々のメモリ・セルの寸法を縮小し、且つワードライン充電を除去する方法を考案することが望ましい。
本発明の一態様はコンテンツ・アドレス可能メモリ・アレイを操作する方法である。このコンテンツ・アドレス可能メモリ・アレイは、情報ビットの集合をストアド・ワードとしてストアするように配列された複数のメモリ・セルを含む。各メモリ・セルは直列回路内のアクセス・トランジスタに電気的に結合されたメモリ素子を含む。メモリ素子は少なくとも2つの相補的抵抗のうちの1つとしてバイナリ・データをストアするように構成される。
本方法は検索ワードを受信ステップと、コンテンツ・アドレス可能メモリ内の、ストアド・ワード・データがビット単位の順番で検索ワード・データにマッチする位置を決定するステップとから成る。本方法はまた、各々のストアド・ワードの各メモリ・セルのアクセス・トランジスタにバイアスをかけるステップを含む。アクセス・トランジスタの実効抵抗は、検索ワードの対応するビットの相補的抵抗である。本方法はまた、各々のストアド・ワードに関するメモリ・セルを通過する集合電流を計測するステップを含む。さらに本方法は、集合電流が所定の値の範囲内にある場合に、各ストアド・ワードに対する検索マッチを指示するステップを含む。
本発明の別の態様は、コンテンツ・アドレス可能メモリ・アレイである。コンテンツ・アドレス可能メモリ・アレイは、ストアド・ワードをストアするように組み合せられた複数のメモリ・セルを含む。各々のメモリ・セルは直列回路内のアクセス・トランジスタに電気的に結合されたメモリ素子を含む。メモリ素子は少なくとも2つの相補的抵抗のうちの1つとしてバイナリ・データをストアするように構成される。コンテンツ・アドレス可能メモリ・アレイは検索ワードを受信してコンテンツ・アドレス可能メモリ・アレイ内の、ストアド・ワード・データがビット単位の順番で検索ワード・データにマッチする位置を決定するように構成された受信ユニットを含む。コンテンツ・アドレス可能メモリ・アレイはまた、各々のメモリ・セルのアクセス・トランジスタにバイアスをかけてアクセス・トランジスタの実効抵抗を検索ワードの対応するビットの相補的抵抗とするように構成されたバイアス・ユニットを含む。さらに、コンテンツ・アドレス可能メモリ・アレイはマッチ・ユニットを含む。マッチ・ユニットは、各々のストアド・ワードに関するメモリ・セルを通過する集合電流を計測するように構成される。マッチ・ユニットはまた、集合電流が所定の値の範囲内にある場合に、各ストアド・ワードに対する検索マッチを指示するように構成される。
本発明のさらに別の態様はメモリ・デバイスである。メモリ・デバイスはストアド抵抗に設定可能なメモリ素子を含む。ストアド抵抗は、少なくとも2つの相補的バイナリ値のうち1つに関連する少なくとも2つの相補的抵抗のうちの1つである。メモリ・デバイスはまた、第1端子と第2端子の間の電流を制御する共通端子を有するアクセス・トランジスタを含む。第1端子はメモリ素子と電気的に結合される。メモリ・デバイスはまた、バイアス回路を含む。バイアス回路は共通端子に電気的に結合され、アクセス・トランジスタにバイアスをかけて、検索ビットに関連する抵抗に相補的な実効抵抗にするように構成される。
本発明と考えられる主題が具体的に指摘され、本明細書に添付された特許請求の範囲において明確に請求される。本発明の前述及び他の目的、特徴及び利点は、添付の図面に関連して記述される以下の詳細な説明から明白となる。
本発明は本発明の実施形態に関連して説明する。本発明の説明を通して図1乃至図5を参照する。
以下に詳述するように、本発明の一態様は複数のメモリ・セルを含むコンテンツ・アドレス可能メモリ・アレイである。各個々のメモリ・セルは、直列回路内のアクセス・トランジスタに電気的に結合されたメモリ素子を含む。複数のアクセス・トランジスタが単一のマッチラインに電気的に結合される。アクセス・トランジスタは対をなすビットラインとマッチラインの間の電流を制御する。各ビットライン及び各マッチラインは複数のメモリ・セルに電気的に結合される。このメモリ・セル設計は有利なことに、各メモリ・セル内に相補的なアクセス・トランジスタ及びメモリ素子構造体を含める必要性を除去する。その結果、通常のCAMメモリ・セルに比べて、各メモリ・セルの占める実面積(real estate)が縮小し、メモリ・セルの電力消費が減少する。
本発明の一実施形態において、メモリ・セルのメモリ素子は、少なくとも2つの相補的抵抗のうちの1つをストアすることができる相変化材料を含む。そのような相変化材料の一例はゲルマニウム−アンチモン−テルル(GST)である。相変化メモリ素子の一実施例において、メモリ素子は2つの状態のうちの1つ、即ち結晶状態又はアモルファス状態にプログラムすることができる。結晶状態はストアド「0」値を表すことができ、アモルファス状態はストアド「1」値を表すことができる。結晶状態において、メモリ素子は相対的に低い抵抗値を示す。一方、アモルファス状態においては、メモリ素子は相対的に高い抵抗値を示す。ここでもやはり、当業者であれば、種々の抵抗体をメモリ素子に用いることができ、相変化材料の実施例は単に例証に過ぎないことを認識するであろう。
相変化メモリにおいて、メモリ素子の状態を変えるには、材料を融点まで加熱し、次いで材料を冷却して可能な状態の1つにすることが必要である。メモリ素子を通過する電流はオーム加熱を生じて相変化材料を融解させる。メモリ素子内の相変化材料を融解させ、そして緩やかに冷却することは、相変化材料が結晶状態を形成する時間を見込む。メモリ素子内の相変化材料を融解させ、そして急速に冷却することは、相変化材料をアモルファス状態にクエンチする。
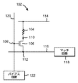
図1には、本発明によるメモリ・デバイス102の一実施形態を示す。メモリ・デバイス102はメモリ素子104及びアクセス・デバイス106を含む。メモリ素子104は、前述のように、ストアド抵抗に設定可能である。より具体的には、ストアド抵抗は、少なくとも2つの相補的なバイナリ値のうちの1つに関連した少なくとも2つの相補的な抵抗のうちの1つとすることができる。例えば、1ビット・メモリ記憶において、メモリ素子104は「0」又は「1」をストアすることができる。「0」及び「1」は、5kオーム及び500kオームのような相補的抵抗としてストアされる。2ビット・メモリ記憶においては、メモリ素子104は「00」、「01」、「10」又は「11」をストアすることができる。この例において、「00」と「11」が相補的抵抗値としてストアされ、「01」と「10」が相補的抵抗値としてストアされる。本発明の特定の実施形態において、メモリ素子104は相変化デバイスである。本発明の別の実施形態においてメモリ素子104は、浮遊ゲート・トランジスタ、抵抗メモリ素子、磁気抵抗ランダム・アクセス・メモリ(MRAM)、又は電荷トラップ・デバイスを含む。
アクセス・デバイスは、第1端子110と第2端子112の間の電流を制御する共通端子108を含む。アクセス・デバイス106の第1端子110はメモリ素子104に電気的に結合される。本発明の特定の実施形態において、アクセス・デバイス106は金属酸化物半導体電界効果トランジスタ(MOSFET)である。本発明の趣旨及び範囲から逸脱せずに、バイポーラ接合トランジスタ(BJT)のような他のアクセス・デバイスを、アクセス・デバイス106の代りとすることができることが企図されている。
図示したように、メモリ素子104はまたビットライン114に電気的に結合される。当業者であれば、ビットライン114は、メモリ素子104を所望の状態にプログラムするため、及びメモリ素子の状態を読み取るために用いることができることを認識するであろう。例えば、プログラミング中に、高電流がビットラインを通じてメモリ素子104に入り、相変化材料をオーム加熱により融解させる。メモリ検索又は読み取り動作中は、低電流がビットライン114を通じてメモリ素子に入るが、その低電流は相変化材料を融解させるには不十分であり、しかしメモリ素子を横切る電圧降下を検出するには充分に大きい。
アクセス・デバイス106の第2端子112は、マッチライン116に電気的に結合される。プログラミング中、マッチライン116はメモリ素子104を通過する比較的高電流を沈めて(又は取得して)相変化材料を融解させるように機能する。メモリ検索動作中、マッチライン116は電流を、メモリ素子104を通してマッチ回路118まで送る。以下により詳しく論じるように、マッチ回路118は、アクセス・デバイス106の実効抵抗とメモリ素子104のストアド抵抗とが互いに相補的である場合にのみ、検索マッチを指示するように構成される。
アクセス・デバイス106の共通端子108は、サーチライン120に電気的に結合される。メモリのプログラミング中、サーチライン120は、アクセス・トランジスタをオンにして、高電流がメモリ素子104中を流れてメモリ素子104の状態を変えることを可能にするように用いられる。メモリ検索中、サーチライン120は、サーチライン120に電気的に結合されたバイアス回路122により制御される。バイアス回路は、アクセス・デバイス106にバイアスをかけて、検索ビットに関連する抵抗と相補的な実効抵抗にする。
検索動作中、検索ワードは外部ソース、例えば中央処理装置(CPU)又は外部メモリ・コントローラから受信される。検索ワードは、メモリ・アレイ内で検索されるべきバイナリ値を含むビット・ストリングである。検索ワード内の各検索ビットは、ビット単位の順番でメモリ・デバイス102内のストアド・ビットに対応する。バイアス回路122はアクセス・デバイス106にバイアスをかけて、検索ビットに関連する抵抗に相補的な実効抵抗にする。例えば、検索ビットが「1」(抵抗のRESET又は相変化メモリ内のアモルファス状態)である場合、アクセス・デバイス106の実効抵抗値は「0」に設定される。検索ビットが「0」(抵抗のSET又は相変化メモリ内の結晶状態)である場合、アクセス・デバイス106の実効抵抗値は「1」に設定される。次にマッチ回路118はビットライン114からマッチライン116に加えられたサーチ電流を計測する。サーチ電流はメモリ素子104及びアクセス・デバイス106を通過し、従ってメモリ素子104及びアクセス・デバイス106の集合抵抗を計測することができる。当業者であれば、抵抗計測のために、種々の技法及び回路、例えばそれに限定されないが、電流計測回路及び電流制御発信器を用いることができることを認識するであろう。
次に図2を参照すると、本発明の一実施形態に関するマッチ抵抗202の表が示される。この表は、アクセス・トランジスタの抵抗204、メモリ素子の抵抗206、及びマッチラインの値208を示す。抵抗「0」及び「1」は任意の抵抗値としてメモリ素子内にストアされることに留意されたい。例えば、5kオームが「0」を表すことが可能であり、500kオームが「1」を表すことが可能である。
図示したように、アクセス・トランジスタの抵抗204がメモリ素子の抵抗206の相補値である場合には、マッチラインの値208はマッチとみなすことができる。アクセス・トランジスタの抵抗204及びメモリ素子の抵抗206の両方が共に「1」又は「0」に等しい場合には、マッチラインの値208はマッチとはみなされない。
検索動作中、マッチ回路118(図1参照)は、メモリ素子及びアクセス・トランジスタを通して流れるサーチ電流を計測することによって、「マッチ」であるか又は「非マッチ」であるかを判断する。サーチ電流が所定の値の範囲内にある場合、「マッチ」の結果がマッチ回路により戻され、そうでなければ「非マッチ」の結果が戻される。
例えば、アクセス・トランジスタの抵抗204及びメモリ素子の抵抗206が共に「0」に等しい場合を考える。この場合、マッチ回路により検出される電流は高すぎてマッチの値の範囲外となる。メモリ素子の抵抗206とアクセス・トランジスタの抵抗204が相補的である場合には、マッチラインの値208はマッチの値の範囲に入る中間の値となる。アクセス・トランジスタの抵抗204及びメモリ素子の抵抗206が共に「1」に等しい場合、マッチ回路は非マッチを示す。この場合マッチ回路により検出される電流は低すぎて、やはりマッチの値の範囲外となる。上の例を用いると、3つの理論的な計測抵抗値、10kオーム、505kオーム、及び1000kオームだけが可能である。505kオームを中心とするマッチの値の範囲は、マッチラインの値208がこの範囲に入る場合にだけマッチが指示されるように作ることができる。
本発明の代りの実施形態においては、単一のメモリ素子が複数ビットをストアすることができる。2ビット記憶において、単一のメモリ素子は「00」、「01」、「10」、又は「11」をストアすることができる。ここでもやはり、検索ビットとストアド・ビットが相補的であるとき、マッチが指示される。例えば、検索ビットが「01」である場合、メモリ素子中のストアド・ビットは、マッチのためには「10」でなければならない。
再び図1を参照すると、メモリ・デバイス102のプログラミング動作はCPUからストア・ワードを受信するステップを含む。ストア・ワードはメモリ・アレイ中にストアされるべきビット・ストリングを含む。ストア・ワードの各々のストア・ビットは単一のメモリ素子104内にストアされる。バイアス回路122はアクセス・デバイス106に、メモリ素子中にストア・ビットをストアするのに充分な所定の信号を加えることによってバイアスをかける。例えば相変化メモリ内において、「1」(RESET又はアモルファス状態)をストアするために、アクセス・デバイス106の共通端子108は、メモリ素子104を通して比較的高電流信号のパルスを加えられる。急な立下りを生ずる迅速な電力遮断が、メモリ素子104内の相変化材料をクエンチしてアモルファス状態にする。「0」(SET又は結晶状態)をストアするためには、アクセス・デバイス106の共通端子108における電流信号は、振幅を緩やかに減少させられる。これは緩やかな立下りを生じ、メモリ素子104内の相変化材料がゆっくり冷却して結晶状態になることを可能にする。再度、当業者であれば認識するように、単一のメモリ素子104が複数ビットをストアすることができることに留意されたい。
図3は、本発明により企図されたメモリ・システムの一実施形態の図を示す。このシステムは、メモリ・アレイ302、受信ユニット304、バイアス・ユニット306、マッチ・ユニット308、及び中央処理装置(CPU)310を備える。本発明の特定の実施形態において、メモリ・デバイス312は、受信ユニット304、バイアス・ユニット306、コンテンツ・アドレス可能メモリ・アレイ302、及びマッチ・ユニット308を備える。本発明の他の実施形態においては、受信ユニット304、バイアス・ユニット306、及びマッチ・ユニット308は別々にパッケージすることができる。さらに他の実施形態において、メモリ・システムのユニットは、一組のコンピュータ実行可能命令としてコンピュータ可読媒体内に具体化することができる。
メモリ・アレイ302は、ストアド・ワードをストアするために組み合せられた複数のメモリ・セルを含む。前述のように、各メモリ・セルは直列回路内のアクセス・トランジスタに電気的に結合されたメモリ素子を含む。メモリ素子は少なくとも2つの相補的抵抗のうちの1つとしてバイナリ・データをストアするように構成される。
受信ユニット304は、CPUから情報を受信する。その機能の一部として、受信ユニット304はCPUによって要求された動作がプログラミング動作であるか又は検索動作であるかを判断する。特に、受信ユニット304は、メモリ・アレイ302のストアド・ワード内の検索のための検索ワードを受信するように構成され、ここで検索ワードのビット位置は、ビット単位で順番にストアド・ワードのビット位置に対応する。受信ユニット304はその情報をバイアス・ユニット306に中継する。
バイアス・ユニット306は、プログラミング動作又は検索動作のためにメモリ・アレイ302内のアクセス・トランジスタにバイアスをかける(前述のように)。検索動作中、バイアス・ユニットは各メモリ・セルのアクセス・トランジスタにバイアスをかけて、アクセス・トランジスタの実効抵抗を検索ワードの対応するビットの相補的抵抗にするように構成される。また検索動作中、マッチ・ユニット308は、各ストアド・ワードに関するメモリ・セルを通過した集合電流を計測し、集合電流が所定の値の範囲にある場合に各ストアド・ワードに対する検索マッチを指示するように構成される。マッチ・ユニット308は、検索マッチ及びマッチ位置をCPUに対して指示する。
ここで図4を参照すると、コンテンツ・アドレス可能メモリ・アレイ402の一実施形態が示される。一例として、4つのメモリ・セルを示す2行2列のコンテンツ・アドレス可能メモリ・アレイを説明する。コンテンツ・アドレス可能メモリ・アレイ402は、アクセス・トランジスタ106に電気的に結合された複数のメモリ素子104を備える。メモリ素子104はビットライン406に電気的に結合され、その結果複数のメモリ素子104が単一のビットライン406に電気的に結合される。アクセス・トランジスタ106は、サーチライン404及びマッチライン408に電気的に結合される。複数のアクセス・トランジスタ106は、単一のサーチライン404及び単一のマッチライン408に電気的に結合される。
本発明のこの特定の実施形態において、プログラミング動作及び検索動作は、ビットライン406a及びサーチライン404aを活性化するステップを含む。コンテンツ・アドレス可能メモリ・アレイ402のプログラミング動作中、2つの2ビット長のストア・ワード(ストアされるべきワード)が受信される。個々のメモリ素子104a、104bが第1の2ビット長ストア・ワードの2ビットをストアするように割り当てられ、メモリ素子104c及び104dが第2の2ビット長ストア・ワードの2ビットをストアするように割り当てられる。目標のメモリ素子内に特定のストア・ビットをストアするには、目標のメモリ素子104aに電気的に結合されたビットライン406が電源電圧に設定される。全てのマッチライン408a及び408bは接地電圧に設定される。ストア・ビットが「1」(RESET又はアモルファス状態)に等しい場合、目標のメモリ素子104aに関連する目標のアクセス・トランジスタ106aに電気的に結合されたサーチライン404aに、メモリ素子104a内の相変化材料を迅速に融解させ冷却する信号が加えられる。ストア・ビットが「0」(SET又は結晶状態)に等しい場合には、サーチライン404aは、融解した相変化材料を緩やかに冷却するように制御される。他のサーチライン404bは接地電圧に設定される。このプロセスは、ストア・ワード内の全てのストア・ビットがコンテンツ・アドレス可能メモリ・アレイ内にプログラムされるまで実行される。
メモリ・アレイ402の検索動作中、検索ワードが受信されるが、ここで検索ワードのビット位置は、ビット単位の順番でストアド・ワードのビット位置に対応する。全てのビットライン406は電源電圧に設定され、全てのマッチライン408はマッチ回路118に接続される。バイアス回路122はサーチライン404を相対的高電圧又は相対的低電圧に設定して、アクセス・トランジスタ106の実効抵抗が検索ワード内の検索ビットに対して相補的となるようにする。
例えば、メモリ素子106a及び106bが、それぞれストアド・ワードの第1及び第2ビットを構成すると仮定する。また、5kオームが「0」を表し、500kオームが「1」を表すと仮定する。検索ワード内の第1ビットが「1」である場合、目標のアクセス・トランジスタ106aに電気的に結合されたサーチライン404aは相対的高電圧に設定され、その結果目標のアクセス・トランジスタ106aの実効抵抗は「0」又は5kオームに等しくなるように制御される。検索ワード内の第1ビットが「0」である場合、目標のアクセス・トランジスタ106aに電気的に結合されたサーチライン404aは相対的低電圧に設定される。これは、対応するアクセス・トランジスタ106aの実効抵抗を「1」又は500kオームに等しくする。電気的に結合されたメモリ素子104aの抵抗がアクセス・トランジスタ106aの実効抵抗に相補的である場合にビット・マッチが生じる。
検索ワードを検索する際、全体のビット・ストリングが検索され、そして図示したように、複数のメモリ素子104a及び104b並びにアクセス・トランジスタ106a及び106bは、単一のマッチライン408a及びビットライン406aに電気的に結合される(並列に)。ストアド・ワード内の全てのビットが検索ワードの全てのビットにマッチする場合にのみ、マッチが生じる。マッチ回路は、RをSET抵抗(「0」又は結晶状態の抵抗)、kをSET−RESET比(SET及びREST状態の間の抵抗比)nを検索ワード内のビット数として、マッチラインの正味の抵抗がR(k+1)/nに等しい場合にマッチを指示する。例えば、SET抵抗は5kオーム、RESET抵抗は500kオームであり、そしてワード当りのビット数は2であると仮定する。ビットライン406a及びマッチライン408aにわたる正味の抵抗が252.5kオームに等しい場合のみ、マッチが生じることになる。即ち、アクセス・トランジスタ106aと直列のメモリ素子104a、及びそれらに並列の、アクセス・トランジスタ106bと直列のメモリ素子104b、の全抵抗である。しかし、実際には252.5kオームのような正確な数値は、検索動作が実行されるたびに再現することは非常に困難となる。従って、この値を中心とする値の範囲が正確な数値の代りに用いられる
図5は、メモリ・アレイの検索動作に関する本発明の一実施形態を示す。メモリ・アレイの検索動作は、ワード検索をメモリ・アレイ上で実行することを可能にする。図5に示した動作は、ソフトウェア、ファームウェア、ハードウェア又はそれらのある組合せにおいて実施することができる。プログラム・コード論理は記憶媒体にストアし、コンピュータにロードする及び/又はそれによって実行することができ、プログラム・コード論理をコンピュータにロードし、それによって実行するときは、そのコンピュータは本発明を実施するための装置となる。記憶媒体の例には、固体メモリ(RAM又はROM)、フロッピー(登録商標)・ディスク、CD−ROM、ハード・ドライブ、ユニバーサル・シリアル・バス(USB)フラッシュ・ドライブ、又は任意の他のコンピュータ可読記憶媒体が含まれる。
検索動作のプロセス・フローは受信動作502で開始する。この動作中、検索ワードが外部ソース、例えば中央処理装置(CPU)又は外部メモリ・コントローラから受信される。検索ワードはnビットのビット・ストリングを含む。nビットのビット・ストリングは検索ビットを含む。受信動作502が完了した後、制御はバイアス動作504に進む。
バイアス動作504において、対応するストアド・ワードのアクセス・トランジスタは、n個の検索ビットのビット値に相補的な抵抗に設定される。本発明の同等の実施形態において、対応するストアド・ワードのアクセス・トランジスタがビット値に対して非相補的な抵抗に設定され、そしてストアド・ワードは相補的な値としてストアされることが企図されている。バイアス動作504が完了した後、制御は計測動作506に進む。
計測動作506において、電流がビットラインからマッチラインまで、ストアド・ワードのメモリ素子及びアクセス・トランジスタを通して流れる。メモリ素子及びアクセス・トランジスタを通過する集合電流が単一のマッチライン上で計測される。計測動作506が完了した後、制御は判断動作508に進む。
判断動作508において、マッチラインの正味の電流が値の範囲と比較される。正味の電流が値の範囲にある場合、マッチが存在し、そして制御は指示動作510に進む。正味の電流が値の範囲に入らない場合には検索動作が終了する。
指示動作510において、検索ワードとストアド・ワードの間のマッチが指示され、ストアド・ワードの位置が外部ソースに対して中継して戻される。ストアド・ワードの位置が指示された後、プロセス・フローは終了する。
コンテンツ・アドレス可能メモリ・デバイスの好ましい実施形態(これは例証を意図したものであり限定するものではない)を説明したが、当業者であれば上記の教示を考慮して修正及び改変を施すことができることに留意されたい。従って、開示された特定の実施形態に変更を施すことができ、それらは添付の特許請求の範囲によって概説される本発明の趣旨及び範囲に入ることを理解されたい。本発明の態様を詳細にそして特に特許法により要求されるように記述したが、請求する事項及び特許証により保護されることを望む事項は添付の特許請求の範囲において示される。
本発明により企図されたメモリ・デバイスの一実施形態を示す。 マッチライン結果を判断するための真理値表を示す。 本発明により企図されたメモリ・システムを示す。 本発明により企図されたコンテンツ・アドレス可能メモリ・アレイを示す。 本発明により企図されたメモリ・アレイを操作するプロセス・フローを示す。
符号の説明
102:メモリ・デバイス
104、104a、104b、104c、104d:メモリ素子
106、106a、106b、106c、106d:アクセス・デバイス(アクセス・トランジスタ)
108:共通端子
110:第1端子
112:第2端子
114、406、406a、406b:ビットライン
116、408、408a、408b:マッチライン
118:マッチ回路
120、404、404a、404b:サーチライン
122:バイアス回路
202:マッチ抵抗の表
204:アクセス・トランジスタの抵抗
206:メモリ素子の抵抗
208:マッチラインの値
302:メモリ・アレイ
304:受信ユニット
306:バイアス・ユニット
308:マッチ・ユニット
310:中央処理装置(CPU)
312:メモリ・デバイス
402:コンテンツ・アドレス可能メモリ・アレイ

Claims (22)

  1. コンテンツ・アドレス可能メモリ・アレイを操作する方法であって、
    前記コンテンツ・アドレス可能メモリ・アレイは、情報のビットの集合をストアド・ワードとしてストアするように配列された複数のメモリ・セルを含み、
    各々の前記メモリ・セルは、直列回路内のアクセス・デバイスに電気的に結合されたメモリ素子を含み、
    前記メモリ素子は、少なくとも2つの相補的抵抗のうちの1つとしてバイナリ・データをストアするように構成されていて、
    前記コンテンツ・アドレス可能メモリ・アレイを通して検索する検索ワードを受信するステップと、
    各ストアド・ワードの各メモリ・セルの前記アクセス・デバイスにバイアスをかけて、前記アクセス・デバイスの実効抵抗を前記検索ワードの対応するビットの相補的抵抗にする、バイアスをかけるステップと、
    各ストアド・ワードの前記メモリ・セルの集合抵抗を計測するステップと、
    前記集合抵抗が所定の値の範囲にある場合に、各ストアド・ワードに対して検索マッチを指示するステップとを含む
    方法。
  2. 前記メモリ素子は、相変化素子、抵抗メモリ素子、浮遊ゲートFET、磁気抵抗ランダム・アクセス・メモリ(MRAM)、及び電荷トラップ・デバイスのうちの1つを含む、請求項1に記載の方法。
  3. 前記集合抵抗が所定の値の範囲内にある場合に、少なくとも1つのストアド・ワードのメモリ位置を指示するステップをさらに含む、請求項1に記載の方法。
  4. 前記アクセス・デバイスは金属酸化物半導体電界効果トランジスタ(MOSFET)である、請求項1に記載の方法。
  5. 前記アクセス・デバイスは、複数の前記アクセス・デバイスが単一のサーチライン導電体に電気的に結合されるように、サーチラインに電気的に結合される、請求項1に記載の方法。
  6. 前記コンテンツ・アドレス可能メモリ・アレイ内に記憶するストア・ワードを受信するステップであって、前記ストア・ワードの各々のビットが個々のメモリ・セルにストアされる、前記受信するステップと、
    前記サーチライン内に所定の信号を加え、その結果、前記ストア・ワードを記憶するために用いられる所望のメモリ・セルの前記アクセス・デバイスを通過する電流パルスが前記メモリ素子を所望の抵抗値にプログラムすることにより、前記ストア・ワードを前記コンテンツ・アドレス可能メモリ・アレイ内にストアするステップと
    をさらに含む、請求項5に記載の方法。
  7. 前記電気的に結合されたアクセス・デバイス及びメモリ素子は、複数の前記電気的に結合されたアクセス・デバイス及びメモリ素子が単一のビットライン及び単一のマッチラインに電気的に結合されるように、ビットライン及びマッチラインに電気的に結合される、請求項1に記載の方法。
  8. コンテンツ・アドレス可能メモリ・アレイであって、
    ストアド・ワードをストアするように組み合された複数のメモリ・セルであって、該メモリ・セルの各々は直列回路内のアクセス・デバイスに電気的に結合されたメモリ素子を含み、該メモリ素子は少なくとも2つの相補的抵抗のうちの1つとしてバイナリ・データをストアするように構成される、複数のメモリ・セルと、
    前記コンテンツ・アドレス可能メモリ・アレイを通して検索する検索ワードを受信するように構成された、受信ユニットと、
    前記各メモリ・セルの前記アクセス・デバイスにバイアスをかけて、前記アクセス・デバイスの実効抵抗を前記検索ワードの対応するビットの相補的抵抗にするように構成された、バイアス・ユニットと、
    前記ストアド・ワードの各々に関する前記メモリ・セルの集合抵抗を計測し、前記集合抵抗が所定の値の範囲内にある場合に、前記各ストアド・ワードに対して検索マッチを指示するように構成された、マッチ・ユニットとを備える、
    コンテンツ・アドレス可能メモリ・アレイ。
  9. 前記メモリ素子は、相変化素子、抵抗メモリ素子、浮遊ゲートFET、磁気抵抗ランダム・アクセス・メモリ(MRAM)、及び電荷トラップ・デバイスのうちの1つを含む、請求項8に記載のコンテンツ・アドレス可能メモリ・アレイ。
  10. 前記マッチ・ユニットは、前記集合抵抗が前記所定の値の範囲内にある場合に、少なくとも1つのストアド・ワードのメモリ位置を指示するようにさらに構成される、請求項9に記載のコンテンツ・アドレス可能メモリ・アレイ。
  11. 前記アクセス・デバイスは金属酸化物半導体電界効果トランジスタ(MOSFET)である、請求項8に記載のコンテンツ・アドレス可能メモリ・アレイ。
  12. 前記アクセス・デバイスは、複数の前記アクセス・デバイスが単一のサーチラインに電気的に結合されるように、サーチラインに電気的に結合される、請求項8に記載のコンテンツ・アドレス可能メモリ・アレイ。
  13. 前記受信ユニットは、前記コンテンツ・アドレス可能メモリ・アレイ内に記憶するためのストア・ワードを受信するようにさらに構成され、
    前記ストア・ワード内の各ビットは個々のメモリ・セルにストアされる、
    請求項12に記載のコンテンツ・アドレス可能メモリ・アレイ。
  14. 前記バイアス・ユニットは、前記サーチラインに電圧パルスを印加して、前記ストア・ワードを記憶するために用いられる所望のメモリ・セルの前記アクセス・デバイスを通過する電流パルスが前記メモリ素子を所望の抵抗値にプログラムするようにさらに構成される、請求項13に記載のコンテンツ・アドレス可能メモリ・アレイ。
  15. 前記電気的に結合されたアクセス・デバイス及びメモリ素子は、複数の前記電気的に結合されたアクセス・デバイス及びメモリ素子が単一のビットライン及び単一のマッチラインに電気的に結合されるように、ビットライン及びマッチラインに電気的に結合される、請求項8に記載のコンテンツ・アドレス可能メモリ・アレイ。
  16. ストアド抵抗に設定可能なメモリ素子であって、前記ストアド抵抗は、少なくとも2つの相補的バイナリ値のうちの1つに関連する少なくとも2つの相補的抵抗のうちの1つである、メモリ素子と、
    前記メモリ素子に電気的に結合された第1端子と、第2端子との間の電流を制御する共通端子を含む、アクセス・デバイスと、
    前記共通端子に電気的に結合され、前記アクセス・デバイスにバイアスをかけて検索ビットに関連する前記抵抗に対して相補的な実効抵抗にするように構成された、バイアス回路とを備える
    メモリ・デバイス。
  17. 前記第2端子に電気的に結合されたマッチ回路をさらに含み、
    前記マッチ回路は、前記アクセス・デバイスの前記実効抵抗と前記メモリ素子の前記ストアド抵抗とが互いに相補的である場合にだけ、検索マッチを指示するように構成される、
    請求項16に記載のメモリ・デバイス。
  18. 前記マッチ回路は、前記メモリ素子及び前記アクセス・デバイスを通して流れるサーチ電流が所定の値の範囲内にあるかどうか計測するようにさらに構成される、請求項17に記載のメモリ・デバイス。
  19. 前記マッチ回路は、前記アクセス・デバイスの前記実効抵抗と前記メモリ素子の前記ストアド抵抗とが互いに相補的である場合にだけ、前記メモリ素子の位置を指示するようにさらに構成される、請求項17に記載のメモリ・デバイス。
  20. 前記メモリ素子は、相変化素子、抵抗メモリ素子、浮遊ゲートFET、磁気抵抗ランダム・アクセス・メモリ(MRAM)、及び電荷トラップ・デバイスのうちの1つを含む、請求項16に記載のメモリ・デバイス。
  21. 前記アクセス・デバイスは金属酸化物半導体電界効果トランジスタ(MOSFET)で構成される、請求項16に記載のメモリ・デバイス。
  22. 前記アクセス・デバイスはバイポーラ接合トランジスタ(BJT)で構成される、請求項16に記載のメモリ・デバイス。
JP2008270695A 2008-06-30 2008-10-21 相変化デバイスを用いた高密度コンテンツ・アドレス可能メモリ Expired - Fee Related JP4848409B2 (ja)

Applications Claiming Priority (2)

Application Number Priority Date Filing Date Title
US12/165,530 US7782646B2 (en) 2008-06-30 2008-06-30 High density content addressable memory using phase change devices
US12/165530 2008-06-30

Publications (2)

Publication Number Publication Date
JP2010015663A true JP2010015663A (ja) 2010-01-21
JP4848409B2 JP4848409B2 (ja) 2011-12-28

Family

ID=40416948

Family Applications (1)

Application Number Title Priority Date Filing Date
JP2008270695A Expired - Fee Related JP4848409B2 (ja) 2008-06-30 2008-10-21 相変化デバイスを用いた高密度コンテンツ・アドレス可能メモリ

Country Status (6)

Country Link
US (1) US7782646B2 (ja)
EP (1) EP2141707B1 (ja)
JP (1) JP4848409B2 (ja)
CN (1) CN101620884B (ja)
AT (1) ATE544156T1 (ja)
TW (1) TWI497493B (ja)

Families Citing this family (17)

* Cited by examiner, † Cited by third party
Publication number Priority date Publication date Assignee Title
US8650355B2 (en) * 2008-10-15 2014-02-11 Seagate Technology Llc Non-volatile resistive sense memory on-chip cache
US8489801B2 (en) * 2009-03-04 2013-07-16 Henry F. Huang Non-volatile memory with hybrid index tag array
US8120937B2 (en) * 2009-03-06 2012-02-21 International Business Machines Corporation Ternary content addressable memory using phase change devices
US7982488B2 (en) * 2009-05-29 2011-07-19 Infineon Technologies Ag Phase-change memory security device
US8908407B1 (en) * 2011-07-30 2014-12-09 Rambus Inc. Content addressable memory (“CAM”)
JP5686698B2 (ja) * 2011-08-05 2015-03-18 ルネサスエレクトロニクス株式会社 半導体装置
US9214231B2 (en) 2013-01-31 2015-12-15 Hewlett-Packard Development Company, L.P. Crossbar memory to provide content addressable functionality
US9230647B2 (en) 2013-12-27 2016-01-05 Taiwan Semiconductor Manufacturing Co., Ltd. Metal line connection for improved RRAM reliability, semiconductor arrangement comprising the same, and manufacture thereof
US9336860B1 (en) 2015-05-20 2016-05-10 International Business Machines Corporation Complementary bipolar SRAM
US9431106B1 (en) 2015-06-09 2016-08-30 Freescale Semiconductor, Inc. Ternary content addressable memory (TCAM) with magnetic tunnel junction (MTJ) devices
CN106409335B (zh) * 2015-07-31 2019-01-08 华为技术有限公司 内容寻址存储单元电路及其搜索和写操作方法、存储器
US9613701B2 (en) 2015-08-24 2017-04-04 Freescale Semiconductor, Inc. Ternary content addressable memory (TCAM) with programmable resistive elements
US10622064B2 (en) 2018-01-25 2020-04-14 University Of Dayton Memristor crossbar configuration
US10741244B1 (en) * 2019-06-21 2020-08-11 Macronix International Co., Ltd. Memory and operating method thereof
TWI741691B (zh) * 2020-07-23 2021-10-01 旺宏電子股份有限公司 三維結構三態內容可定址記憶體
US11289166B2 (en) * 2020-08-04 2022-03-29 Micron Technology, Inc. Acceleration of data queries in memory
US11797531B2 (en) * 2020-08-04 2023-10-24 Micron Technology, Inc. Acceleration of data queries in memory

Citations (2)

* Cited by examiner, † Cited by third party
Publication number Priority date Publication date Assignee Title
JPS5698791A (en) * 1980-01-09 1981-08-08 Nippon Telegr & Teleph Corp <Ntt> Associative memory
WO2007005067A1 (en) * 2005-06-30 2007-01-11 International Business Machines Corporation Non-volatile content addressable memory using phase-change-material memory elements

Family Cites Families (19)

* Cited by examiner, † Cited by third party
Publication number Priority date Publication date Assignee Title
IT1246350B (it) * 1990-07-11 1994-11-17 Eurand Int Metodo per ottenere una rapida sospensione in acqua di farmaci insolubili
US5260074A (en) * 1992-06-22 1993-11-09 Digestive Care Inc. Compositions of digestive enzymes and salts of bile acids and process for preparation thereof
JPH10242432A (ja) 1997-02-27 1998-09-11 Sony Corp 不揮発性半導体記憶装置
TW409253B (en) 1997-09-29 2000-10-21 Siemens Ag Associative memory and its operation method
US7201923B1 (en) * 1998-03-23 2007-04-10 General Mills, Inc. Encapsulation of sensitive liquid components into a matrix to obtain discrete shelf-stable particles
IL151866A0 (en) * 2001-01-30 2003-04-10 Memcall Inc Combined content addressable memories
US6751110B2 (en) * 2002-03-08 2004-06-15 Micron Technology, Inc. Static content addressable memory cell
EP2261928B1 (en) 2003-10-22 2012-09-05 STMicroelectronics Srl A content addressable memory cell
JP4631090B2 (ja) 2004-02-19 2011-02-16 株式会社 東北テクノアーチ 磁気抵抗効果素子を用いたロジックインメモリ回路
US7050316B1 (en) 2004-03-09 2006-05-23 Silicon Storage Technology, Inc. Differential non-volatile content addressable memory cell and array using phase changing resistor storage elements
JP4367281B2 (ja) * 2004-08-03 2009-11-18 ソニー株式会社 演算回路
US7499303B2 (en) * 2004-09-24 2009-03-03 Integrated Device Technology, Inc. Binary and ternary non-volatile CAM
US8071089B2 (en) * 2005-11-01 2011-12-06 Bio-Cat, Inc. Composition with a fungal (yeast) lipase and method for treating lipid malabsorption in cystic fibrosis as well as people suffering from pancreatic lipase insufficiency
US7675765B2 (en) 2005-11-03 2010-03-09 Agate Logic, Inc. Phase-change memory (PCM) based universal content-addressable memory (CAM) configured as binary/ternary CAM
US7626858B2 (en) 2006-06-09 2009-12-01 Qimonda North America Corp. Integrated circuit having a precharging circuit
KR100900199B1 (ko) 2006-09-19 2009-06-02 삼성전자주식회사 상변화 메모리를 이용하는 캠(ContentAddressable Memory ; CAM) 셀 및 캠
US20080199448A1 (en) * 2007-02-16 2008-08-21 Ross Mairi R Enzyme composition for improving food digestion
WO2008102264A2 (en) * 2007-02-20 2008-08-28 Eurand Pharmaceuticals Limited Stable digestive enzyme compositions
US8658163B2 (en) * 2008-03-13 2014-02-25 Curemark Llc Compositions and use thereof for treating symptoms of preeclampsia

Patent Citations (2)

* Cited by examiner, † Cited by third party
Publication number Priority date Publication date Assignee Title
JPS5698791A (en) * 1980-01-09 1981-08-08 Nippon Telegr & Teleph Corp <Ntt> Associative memory
WO2007005067A1 (en) * 2005-06-30 2007-01-11 International Business Machines Corporation Non-volatile content addressable memory using phase-change-material memory elements

Also Published As

Publication number Publication date
JP4848409B2 (ja) 2011-12-28
CN101620884A (zh) 2010-01-06
ATE544156T1 (de) 2012-02-15
EP2141707A1 (en) 2010-01-06
TW201015551A (en) 2010-04-16
EP2141707B1 (en) 2012-02-01
US20090323384A1 (en) 2009-12-31
CN101620884B (zh) 2013-04-03
US7782646B2 (en) 2010-08-24
TWI497493B (zh) 2015-08-21

Similar Documents

Publication Publication Date Title
JP4848409B2 (ja) 相変化デバイスを用いた高密度コンテンツ・アドレス可能メモリ
US7813167B2 (en) Memory cell
KR101369049B1 (ko) 상변화 디바이스들을 이용하는 3진수 내용 주소화 메모리
US9064565B2 (en) Phase change memory device
CN101231884B (zh) 用于多阶相变化存储器的电流顺从感测架构
US20070236987A1 (en) Phase change memory devices and systems, and related programming methods
KR101895393B1 (ko) 상 변화 메모리 및 스위치(pcms) 메모리 디바이스에서의 드리프트 관리
US20190214079A1 (en) Device for switching between different reading modes of a non-volatile memory and method for reading a non-volatile memory
US7872889B2 (en) High density ternary content addressable memory
EP1947652A1 (en) Phase-change memory device with error correction capability
US8625362B2 (en) Data sensing device non-volatile memory
US8374024B2 (en) System for handling data in a semiconductor memory apparatus
US7864566B2 (en) Phase change memory programming method without reset over-write
US7751217B2 (en) Content addressable memory using phase change devices
CN113724755B (zh) 具有程序驱动器电路的非易失性存储器设备
US20070047160A1 (en) Reprogrammable switch using phase change material
US7965537B2 (en) Phase change memory with finite annular conductive path
US20060164896A1 (en) Memory cell array biasing method and a semiconductor memory device
TWI750715B (zh) 在記憶體裝置中儲存熔絲資料之實施方案

Legal Events

Date Code Title Description
A131 Notification of reasons for refusal

Free format text: JAPANESE INTERMEDIATE CODE: A131

Effective date: 20091110

A02 Decision of refusal

Free format text: JAPANESE INTERMEDIATE CODE: A02

Effective date: 20100302

A521 Request for written amendment filed

Free format text: JAPANESE INTERMEDIATE CODE: A523

Effective date: 20100630

A911 Transfer to examiner for re-examination before appeal (zenchi)

Free format text: JAPANESE INTERMEDIATE CODE: A911

Effective date: 20100709

A912 Re-examination (zenchi) completed and case transferred to appeal board

Free format text: JAPANESE INTERMEDIATE CODE: A912

Effective date: 20100730

RD14 Notification of resignation of power of sub attorney

Free format text: JAPANESE INTERMEDIATE CODE: A7434

Effective date: 20110831

A521 Request for written amendment filed

Free format text: JAPANESE INTERMEDIATE CODE: A523

Effective date: 20110906

A01 Written decision to grant a patent or to grant a registration (utility model)

Free format text: JAPANESE INTERMEDIATE CODE: A01

A61 First payment of annual fees (during grant procedure)

Free format text: JAPANESE INTERMEDIATE CODE: A61

Effective date: 20111017

FPAY Renewal fee payment (event date is renewal date of database)

Free format text: PAYMENT UNTIL: 20141021

Year of fee payment: 3

R150 Certificate of patent or registration of utility model

Free format text: JAPANESE INTERMEDIATE CODE: R150

R250 Receipt of annual fees

Free format text: JAPANESE INTERMEDIATE CODE: R250

R250 Receipt of annual fees

Free format text: JAPANESE INTERMEDIATE CODE: R250

R250 Receipt of annual fees

Free format text: JAPANESE INTERMEDIATE CODE: R250

LAPS Cancellation because of no payment of annual fees