JP2010015357A - 光学的情報読取装置 - Google Patents

光学的情報読取装置 Download PDF

Info

Publication number
JP2010015357A
JP2010015357A JP2008174349A JP2008174349A JP2010015357A JP 2010015357 A JP2010015357 A JP 2010015357A JP 2008174349 A JP2008174349 A JP 2008174349A JP 2008174349 A JP2008174349 A JP 2008174349A JP 2010015357 A JP2010015357 A JP 2010015357A
Authority
JP
Japan
Prior art keywords
code
reading
ratio
end side
port
Prior art date
Legal status (The legal status is an assumption and is not a legal conclusion. Google has not performed a legal analysis and makes no representation as to the accuracy of the status listed.)
Granted
Application number
JP2008174349A
Other languages
English (en)
Other versions
JP5056627B2 (ja
Inventor
Toshiyuki Tsunoda
利幸 角田
Current Assignee (The listed assignees may be inaccurate. Google has not performed a legal analysis and makes no representation or warranty as to the accuracy of the list.)
Denso Wave Inc
Original Assignee
Denso Wave Inc
Priority date (The priority date is an assumption and is not a legal conclusion. Google has not performed a legal analysis and makes no representation as to the accuracy of the date listed.)
Filing date
Publication date
Application filed by Denso Wave Inc filed Critical Denso Wave Inc
Priority to JP2008174349A priority Critical patent/JP5056627B2/ja
Publication of JP2010015357A publication Critical patent/JP2010015357A/ja
Application granted granted Critical
Publication of JP5056627B2 publication Critical patent/JP5056627B2/ja
Expired - Fee Related legal-status Critical Current
Anticipated expiration legal-status Critical

Links

Images

Abstract

【課題】読取方向に沿って配列される2以上の一次元コードをデコードするとき所望のコード以外の読み取りを無効とする光学的情報読取装置を提供する。
【解決手段】第1コードBおよび第2コードBについてデコード成功している場合には、第1コードBにおける読取方向一端側の単位モジュールに対応する幅W1Lと読取方向他端側の単位モジュールに対応する幅W1Rとの比率である第1比率Wと、第2コードBにおける読取方向一端側の単位モジュールに対応する幅W2Lと読取方向他端側の単位モジュールに対応する幅W2Rとの比率である第2比率Wとが演算される。そして、読取口13の傾斜度合θが、第1比率Wおよび第2比率Wに基づいて演算される。そして、第1コードBおよび第2コードBの少なくともいずれか一方の読み取りが、傾斜度合θに基づいて無効にするか否かが判定される。
【選択図】図4

Description

本発明は、一次元コードの読み取りを行う光学的情報読取装置に関するものである。
光学的情報読取装置の分野では、明色(白色)パターンと暗色(黒色)パターンとからなる一次元コードにレーザ光等を照射し、その反射光を受光、解析することで一次元コードの情報を読み取る構成のものが広く提供されている。この種の光学的情報読取装置は、一次元コードをより精度高く読み取ることが要望されており、そのような課題を解決しようとする技術としては例えば特許文献1のようなものがある。
特開平09−274639号公報
ところで、上記特許文献1におけるバーコード読取装置では、複数のバーコードを読み込んだ際、使用者の操作により読み取り可能範囲を調整して意図しないバーコードの読み取りを防止している。しかしながら、このバーコード読取装置では、読み取り可能範囲を調整するためのトリガー等の補助装置を必要とする上、読み取り状況に応じて対応するトリガーを操作する必要があり、作業性が悪くなるという問題がある。
本発明は、上述した課題を解決するためになされたものであり、その目的とするところは、読取方向に沿って配列される2以上の一次元コードをデコードするとき所望のコード以外の読み取りを無効とする光学的情報読取装置を提供することにある。
上記目的を達成するため、特許請求の範囲に記載の請求項1の光学的情報読取装置では、1または2以上の単位モジュールからなる明色パターンおよび暗色パターンがそれぞれ複数配されてなる一次元コード(B)を読み取り可能な光学的情報読取装置(10)であって、読取方向に沿って配列される第1コード(B)および第2コード(B)の2つの一次元コードからの反射光(Lr)を読取口(13)を介して受光する受光手段(28)と、前記受光手段からの出力信号に基づいて前記第1コードおよび前記第2コードをデコードするデコード手段(40)と、デコードされた前記第1コードにおける読取方向一端側の前記単位モジュールに対応する幅(W1L)と読取方向他端側の前記単位モジュールに対応する幅(W1R)との比率である第1比率(W)と、デコードされた前記第2コードにおける読取方向一端側の前記単位モジュールに対応する幅(W2L)と読取方向他端側の前記単位モジュールに対応する幅(W2R)との比率である第2比率(W)と、を演算する比率演算手段(40)と、前記第1コードおよび前記第2コードを読み取る際の当該両コードを含む基準面(S)に対する前記読取口の傾斜度合(θ)を、前記第1比率および前記第2比率に基づいて演算する傾斜度合演算手段(40)と、前記デコード手段によりデコードされた前記第1コードおよび前記第2コードの少なくともいずれか一方の読み取りを、前記傾斜度合に基づいて無効にするか否かを判定する判定手段(40)と、を備えることを技術的特徴とする。
また、特許請求の範囲に記載の請求項2の光学的情報読取装置では、1または2以上の単位モジュールからなる明色パターンおよび暗色パターンがそれぞれ複数配されてなる一次元コード(B)を読み取り可能な光学的情報読取装置(10)であって、第1コード(B)および第2コード(B)の2つの一次元コードと、これら両コードが読取方向の両端側に位置するように配列される1または2以上の一次元コードとからの反射光(Lr)を読取口(13)を介して受光する受光手段(28)と、前記受光手段からの出力信号に基づいて少なくとも前記第1コードおよび前記第2コードをデコードするデコード手段(40)と、デコードされた前記第1コードにおける読取方向一端側の前記単位モジュールに対応する幅(W1L)と読取方向他端側の前記単位モジュールに対応する幅(W1R)との比率である第1比率(W)と、デコードされた前記第2コードにおける読取方向一端側の前記単位モジュールに対応する幅(W2L)と読取方向他端側の前記単位モジュールに対応する幅(W2R)との比率である第2比率(W)と、を演算する比率演算手段(40)と、前記第1コードおよび前記第2コードを読み取る際の当該両コードを含む基準面(S)に対する前記読取口の傾斜度合(θ)を、前記第1比率および前記第2比率に基づいて演算する傾斜度合演算手段(40)と、前記デコード手段によりデコードされた前記第1コードおよび前記第2コードの少なくともいずれか一方の読み取りを、前記傾斜度合に基づいて無効にするか否かを判定する判定手段(40)と、を備えることを技術的特徴とする。
請求項1の発明では、比率演算手段により、第1コードにおける読取方向一端側の単位モジュールに対応する幅と読取方向他端側の単位モジュールに対応する幅との比率である第1比率と、第2コードにおける読取方向一端側の単位モジュールに対応する幅と読取方向他端側の単位モジュールに対応する幅との比率である第2比率とが演算される。そして、傾斜度合演算手段により、上記基準面に対する読取口の傾斜度合が、第1比率および第2比率に基づいて演算される。そして、判定手段により、第1コードおよび第2コードの少なくともいずれか一方の読み取りが、傾斜度合に基づいて無効にするか否かが判定される。
読取方向に沿って近接して配列される2つの一次元コードを同時に読み取る場合、ある使用者にとっては、当該両コードを含む基準面に対して読取口を傾斜させることで、この読取口に近接する一次元コードの読み取りを有効にし、当該読取口から離間する一次元コードの読み取りを無効にすることが望ましい場合がある。一方、別の使用者にとっては、読取口から離間する一次元コードの読み取りを有効にし、当該読取口に近接する一次元コードの読み取りを無効にすることが望ましい場合がある。
また、上記基準面に対して読取口が傾斜した状態で一次元コードを読み取る場合、デコードされた一次元コードにおける読取方向一端側の単位モジュールに対応する幅と読取方向他端側の単位モジュールに対応する幅との比率は、読取口の傾斜度合に応じて変化する。すなわち、上記比率に基づいて読取口の傾斜度合を演算することができ、この傾斜度合から、第1コードおよび第2コードのどちらが読取口に対して近接・離間しているかを判定することができる。
そこで、上述のように、第1比率および第2比率に基づいて読取口の傾斜度合を演算することにより、読取口に近接する一次元コードの読み取りのみを有効にする場合には当該読取口から離間する一次元コードの読み取りを無効にし、読取口から離間する一次元コードの読み取りのみを有効にする場合には当該読取口に近接する一次元コードの読み取りを無効にすることができる。例えば、読取口の傾斜度合から第1コードが第2コードよりも読取口に近接していると判断されるとき、読取口に近接する一次元コードの読み取りを有効にする場合には第2コードの読み取りを無効にし、読取口から離間する一次元コードの読み取りを有効にする場合には第1コードの読み取りを無効にすることができる。
特に、第1コードにおける第1比率と第2コードにおける第2比率との双方に基づいて読取口の傾斜度合を演算しているので、読み取られた2つの一次元コードが縮尺の異なるコードや種別の異なるコードであっても、両コードのどちらが読取口に近接しているかを正確に判定することができる。
したがって、読取方向に沿って配列される2つの一次元コードをデコードするとき所望のコード以外の読み取りを無効とすることができる。
請求項2の発明では、受光手段により、第1コードおよび第2コードの2つの一次元コードと、これら両コードが読取方向の両端側に位置するように配列される1または2以上の一次元コードとからの反射光が読取口を介して受光される。そして、デコード手段により、受光手段からの出力信号に基づいて少なくとも第1コードおよび第2コードがデコードされる。そして、比率演算手段により、第1コードにおける読取方向一端側の単位モジュールに対応する幅と読取方向他端側の単位モジュールに対応する幅との比率である第1比率と、第2コードにおける読取方向一端側の単位モジュールに対応する幅と読取方向他端側の単位モジュールに対応する幅との比率である第2比率とが演算される。そして、傾斜度合演算手段により、上記基準面に対する読取口の傾斜度合が、第1比率および第2比率に基づいて演算される。そして、判定手段により、第1コードおよび第2コードの少なくともいずれか一方の読み取りが、傾斜度合に基づいて無効にするか否かが判定される。
これにより、読取方向に沿って配列される3以上の一次元コードからの反射光が読取口を介して受光される場合であっても、上述した請求項1の発明と同様に、読取口に近接する一次元コードの読み取りのみを有効にすることもできるし、読取口から離間する一次元コードの読み取りのみを有効にすることもできる。
したがって、読取方向に沿って配列される3以上の一次元コードをデコードするとき所望のコード以外の読み取りを無効とすることができる。
請求項3の発明では、使用者は、選択手段により、第1コードおよび第2コードのうち読取口に対して離間するコードの読み取りを無効とするか読取口に対して近接するコードの読み取りを無効とするかを選択する。そして、判定手段は、選択手段による選択結果と傾斜度合とに基づいて、第1コードおよび第2コードの少なくともいずれか一方の読み取りを無効にするか否かを判定する。
これにより、使用者は、読取作業性等を考慮して、読取口に対して離間する一次元コードの読み取りを無効とするか、読取口に対して近接する一次元コードの読み取りを無効とするかを選択することができる。
請求項4の発明では、判定手段は、傾斜度合が第1の閾値以下となるとき、例えば、上記基準面に対して読取口が傾斜していないと判断される閾値以下となるときに、第1コードおよび第2コードの読み取りをともに無効と判定する。
これにより、上記基準面に対する読取口の傾斜度合が小さく読取口から第1コードまでの距離と読取口から第2コードまでの距離との差が小さい場合には、上記基準面に対する読取口の傾斜度合が第1の閾値を超えるまで両コードの読み取りが無効と判定される。このため、使用者が第1コードおよび第2コードのいずれかを読み取るために読取口を傾斜させたことに応じて、使用者が所望するコードの読み取りのみを有効とすることができる。
請求項5の発明では、判定手段は、第1比率と第2比率との差が第2の閾値以上となるとき、例えば、第1コードおよび第2コードを含む基準面が湾曲しており第1比率と第2比率との差が上記第2の閾値以上となるときに、第1コードおよび第2コードの読み取りをともに無効と判定する。
第1コードおよび第2コードが同一平面上に配列されている場合には第1比率と第2比率とがほぼ一致するが、例えば、上記基準面が湾曲している場合には第1比率と第2比率との差が大きくなり上記第2の閾値以上になってしまう。このように第1比率と第2比率との差が第2の閾値以上となると、これら両比率に基づいて読取口から第1コードまでの距離と読取口から第2コードまでの距離とを正確に測定することができなくなる。
そこで、上述のように第1比率と第2比率との差が第2の閾値以上となる場合には第1コードおよび第2コードの双方の読み取りが無効と判定されることにより、基準面の湾曲等に起因する誤判定を防止することができる。
請求項6の発明では、光、音または振動等の通知手段により、第1コードおよび第2コードがともにデコードされるとき、その旨が使用者に通知される。これにより、使用者は、2以上の一次元コードがデコードされた状態を光、音または振動等により認識しながら、両コードのいずれかを読み取るために読取口を傾斜させることができるので、読取作業を良好に行うことができる。
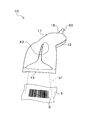
以下、本発明の光学的情報読取装置をバーコードリーダに適用した実施形態を図を参照して説明する。図1は、本実施形態に係るバーコードリーダ10の構成概要を示す斜視図である。図2は、バーコードリーダ10の電気的構成を示すブロック図である。
図1に示すように、バーコードリーダ10は、主に、ハウジングを構成する上ケース11および下ケース12、このハウジング内に収容される図略のプリント配線板および光学系、さらにこのハウジングから外部に延びて上位システムと電気的な接続を可能にするケーブル50等より構成されている。このバーコードリーダ10は、JAN,CODE39,NW−7,ITF等のいわゆるバーコード(「一次元コード」の一例)を読み取るとともに読み取ったバーコードのデータを上位システムに転送する光学的情報読取装置である。
上ケース11および下ケース12は、ABS樹脂等の合成樹脂からなる成形部材で、主に、バーコードリーダ10の表側の外観を形成している。これら上ケース11および下ケース12の一端側には、読取口13が形成され、また他端側にはケーブル取付部15が形成されている。この読取口13が形成される一端側は、裏面側に大きく前傾する首曲がり形状に形成されている。これにより、使用者がバーコードリーダ10を当該上ケース11側から把持した状態で、読取対象物Sに貼付されたバーコードBに読取口13を当て易くしている。
なお、上ケース11の首曲がり形状部のほぼ中央には、後述するように、バーコードの読み取りに関する情報を光で使用者に通知し得る発光部43が形成されている。
図略のプリント配線板は、上ケース11および下ケース12により形成される内部空間に収容可能な矩形状に形成されており、メモリ35や制御回路40、あるいは発光部43の光源となる発光ダイオード(LED)等の電気系の電子部品を実装することにより、所定の電子回路を構成し得る配線パターンがプリントされている。このプリント配線板には、これらの電子部品のほかに、バーコードの読み取りに必要な光学系の照明光源21や受光センサ28等も実装されている。
次に、このようなプリント配線板に実装されるバーコードリーダ10の電気的構成を図2に基づいて説明する。図2に示すように、バーコードリーダ10の電気的構成は、主に、照明光源21、受光センサ28、結像レンズ27等の光学系と、メモリ35、制御回路40、発光部43、ブザー44、バイブレータ45等のマイコン系と、から構成されている。
光学系は、投光光学系と、受光光学系とに分かれている。投光光学系を構成する照明光源21は、照明光Lfを発光可能な照明光源として機能するもので、例えば、赤色のLEDとこのLEDの出射側に設けられるレンズとから構成されている。なお、図1では、1または2以上のバーコードBが貼付された読取対象物であるメニューシートSに向けて照明光Lfを照射する例を概念的に示している。
受光光学系は、受光センサ28、結像レンズ27、反射鏡(図示略)などによって構成されている。受光センサ28は、メニューシートSの各バーコードBに照射されて反射した反射光Lrを受光可能に構成されるものである。この受光センサ28は、結像レンズ27を介して入射する入射光を受光可能にプリント配線板(図示略)に実装されている。なお、受光センサ28は、特許請求の範囲に記載の「受光手段」に相当し得るものである。
結像レンズ27は、外部から読取口13を介して入射する入射光を集光して受光センサ28の受光面28aに像を結像可能な結像光学系として機能するものである。本実施形態では、照明光源21から照射された照明光Lfが、バーコードBにて反射した後、この反射光Lrを結像レンズ27で集光し、受光センサ28の受光面28aにコード像を結像させている。
マイコン系は、増幅回路31、A/D変換回路33、メモリ35、アドレス発生回路36、同期信号発生回路38、制御回路40、発光部43、ブザー44、バイブレータ45、通信インタフェース48等から構成されている。
光学系の受光センサ28から出力される画像信号(アナログ信号)は、増幅回路31に入力されることで所定ゲインで増幅された後、A/D変換回路33に入力されると、アナログ信号からディジタル信号に変換される。そして、ディジタル化された画像信号、つまり画像データ(画像情報)は、メモリ35に入力されると、所定のコード画像情報格納領域に蓄積される。なお、同期信号発生回路38は、受光センサ28およびアドレス発生回路36に対する同期信号を発生可能に構成されており、またアドレス発生回路36は、この同期信号発生回路38から供給される同期信号に基づいて、メモリ35に格納される画像データの格納アドレスを発生可能に構成されている。
制御回路40は、バーコードリーダ10全体を制御可能なマイコンで、CPU、システムバス、入出力インタフェース等からなるもので、メモリ35とともに情報処理装置を構成し得るもので情報処理機能を有する。この制御回路40は、内蔵された入出力インタフェースを介して種々の入出力装置と接続可能に構成されており、本実施形態の場合、発光部43、ブザー44、バイブレータ45、通信インタフェース48等が接続されている。
これにより、例えば、バーコードBの読み取りに関する情報を通知するインジケータとして機能する発光部43の点灯・消灯、ビープ音やアラーム音を発生可能なブザー44の鳴動のオンオフ、さらには当該バーコードリーダ10の使用者に伝達し得る振動を発生可能なバイブレータ45の駆動制御や外部装置とのシリアル通信を可能にする通信インタフェース48の通信制御等を可能にしている。なお、通信インタフェース48に接続される外部装置には、当該バーコードリーダ10の上位システムに相当するホストコンピュータHST等が含まれる。
次に、バーコードリーダ10の読取処理について説明する。図3は、複数のバーコードBが貼付されたメニューシートSの一例を示す説明図である。
この読取処理では、図3に示すように複数のバーコードBが貼付されたメニューシートSに対して、1または2以上のバーコードBをデコードした場合に、所望のコードのみの読み取りを有効とする処理がなされる。なお、図3に示すメニューシートSの一例としては、コンビニエンスストア等の小売店においておでん等を販売する際に使用されるメニューシートが挙げられる。
特に、バーコードリーダ10は、後述する傾斜読取モードが選択され、かつ、2以上のバーコードBがデコードされた場合に、各バーコードBが貼付されるメニューシートSの表面(基準面)に対する読取口13の傾斜度合(以下、傾斜度合θともいう)を演算し、この傾斜度合θに基づいて、読取口13に最も近接するバーコードBおよび読取口13から最も離間するバーコードBのいずれかのみの読み取りを有効にする構成となっている。このように構成される理由について、以下に説明する。
図3に示すメニューシートSのように、読取方向(図3中の左右方向)に沿って近接して配列される2以上のバーコードを同時に読み取る場合、ある使用者にとっては、当該両バーコードを含む基準面に対して読取口13を傾斜させることで、この読取口13に近接するバーコードの読み取りを有効にし、当該読取口13から離間するバーコードの読み取りを無効にすることが望ましい場合がある。一方、別の使用者にとっては、読取口13から離間するバーコードの読み取りを有効にし、当該読取口13に近接するバーコードの読み取りを無効にすることが望ましい場合がある。
また、上記基準面に対して読取口13が傾斜した状態でバーコードを読み取る場合、デコードされたバーコードにおける読取方向一端側の単位モジュールに対応する幅と読取方向他端側の単位モジュールに対応する幅との比率は、読取口13の傾斜度合に応じて変化する。すなわち、上記比率に基づいて読取口13の傾斜度合を演算することができ、この傾斜度合から、両バーコードのどちらが読取口13に対して近接・離間しているかを判定することができる。
そこで、2以上のバーコードBについてデコードされた場合に、読取口13に対して近接または離間する一方のバーコードBのみの読み取りを有効とする傾斜読取モードが選択可能に設けられている。また、この傾斜読取モードが選択された場合に、読取口13に対して近接するバーコードBのみを読み取り可能とする近接コード読取モードと、読取口13に対して離間するバーコードBのみを読み取り可能とする離間コード読取モードとが選択可能に設けられている。
本実施形態においては、使用者が、読取作業性等を考慮して予めホストコンピュータHSTに対して所定の操作を行うことにより、傾斜読取モードを選択するか否か、近接コード読取モードおよび離間コード読取モードのいずれを選択するかが設定される。後述する読取処理においては、傾斜読取モードが選択され、かつ、近接コード読取モードが選択されている場合について説明する。なお、バーコードリーダ10にモード切替スイッチを設け、このモード切替スイッチの操作に応じて、傾斜読取モードを選択するか否か、近接コード読取モードおよび離間コード読取モードのいずれを選択するかを設定してもよい。なお、上述した各モードを選択するための手段は、特許請求の範囲に記載の「選択手段」に相当し得るものである。
以下、読取処理の具体的な流れについて説明する。なお、図4は、読取処理の流れを例示するフローチャートである。図5(A)は、傾斜度合θが小さい場合のブザー44の動作を説明するための説明図であり、図5(B)は、傾斜度合θが大きい場合のブザー44の動作を説明するための説明図である。図6(A)は、傾斜度合θが小さい場合の第1コードBおよび第2コードBと読取口13との関係を示す説明図であり、図6(B)は、図6(A)に示す状態で第1コードBおよび第2コードBがデコードされた配列データを概念的に示す説明図である。図7(A)は、傾斜度合θが大きい場合の第1コードBおよび第2コードBと読取口13との関係を示す説明図であり、図7(B)は、図7(A)に示す状態で第1コードBおよび第2コードBがデコードされた配列データを概念的に示す説明図である。
バーコードリーダ10が作動状態になり、読取処理が開始されると、まず、ステップS101において、画像データ取得処理がなされる。この処理では、受光センサ28にバーコードBのコード情報を読み取らせる処理(即ち、受光センサ28にバーコードBからの反射光を受光させ、画像データを取得させる処理)がなされる。
次に、ステップS103において、デコード処理がなされる。この処理では、受光センサ28からの受光信号の信号波形を所定の閾値と比較し、その比較に基づいて信号波形を明色領域と暗色領域とに区分けする。上記所定の閾値は、予め定められた一定の値であってもよく、信号波形に基づいて定められる値であってもよい。
これにより、暗色領域と明色領域との配列データが得られる。この配列データは、バーコードBにおける暗色パターン及び明色パターンの配列に対応するものであり、各暗色パターンの位置(所定の基準位置に対する相対位置)及び幅を特定でき、各明色パターンの位置(所定の基準位置に対する相対位置)及び幅を特定できるようになっている。各暗色パターンおよび各明色パターンは、1または2以上の単位モジュールから構成され、暗色パターンおよび明色パターンの組み合わせにより1キャラクタが構成される。なお、このステップS103によるデコード処理は、特許請求の範囲に記載の「デコード手段」に相当し得るものである。
そして、上記デコード処理が正常になされデコードが成功していると判断されると(S105でYes)、ステップS107において、2以上のバーコードBについてデコードが成功しているか否かについて判定される。なお、デコードが成功していないと判断されると(S105でNo)、再度、ステップS101からの処理がなされる。
ここで、1つのバーコードBのみデコード成功している場合には(S107でNo)、後述するステップS129にて読取完了状態通知処理がなされる。
一方、ステップS107において、2以上のバーコードBについてデコード成功している場合には、Yesと判定される。このとき、デコード成功したバーコードBのうち、読取方向における読取開始側(図5〜図7中の左側)であって最初にデコード成功したバーコードBが第1コードBと設定されるとともに、読取方向における読取終了側(図5〜図7中の右側)であって最後にデコード成功したバーコードBが第2コードBと設定される。なお、以下の説明では、まず、第1コードBおよび第2コードBの2つのバーコードBについてデコード成功している場合について説明する。
ステップS109において、傾斜読取モードが選択されているか否かについて判定される。本実施形態においては、上述のごとく、予め傾斜読取モードが選択されているため(S109でYes)、ステップS111における読取可能状態通知処理がなされる。なお、予め傾斜読取モードが選択されていない場合には(S109でNo)、ステップS113にて最初にデコード成功したバーコードBである第1コードBの読み取りのみを有効とし、ステップS129にて読取完了状態通知処理がなされる。
ステップS111における読取可能状態通知処理では、ブザー44が鳴動する。具体的には、例えば、図5(A)に示すように、ブザー44により「ピピピピピ・・・」とビープ音が継続して発生する。この通知により、使用者は、2以上のバーコードBについてデコード成功している読取可能状態であることを認識することができる。
なお、上述したブザー44の鳴動に代えた発光部43の点滅またはバイブレータ45の振動により、または、ブザー44の鳴動に加えた発光部43の点滅およびバイブレータ45の振動により、上記読取可能状態であることを使用者に通知するようにしてもよい。なお、ブザー44、発光部43およびバイブレータ45は、特許請求の範囲に記載の「通知手段」に相当し得るものである。
次に、ステップS115において、第1比率Wおよび第2比率Wの演算処理がなされる。
この処理では、第1コードBにおける読取方向一端側の単位モジュールに対応する幅W1Lと読取方向他端側の単位モジュールに対応する幅W1Rとに基づいて、両幅の比率である第1比率Wが演算される。具体的には、第1コードBの読取方向一端側の1キャラクタC1Lの幅を求めこの1キャラクタC1Lを構成する単位モジュールの幅W1Lを演算するとともに、第1コードBの読取方向他端側の1キャラクタC1Rの幅を求めこの1キャラクタC1Rを構成する単位モジュールの幅W1Rを演算する。そして、幅W1Lおよび幅W1Rに基づいて以下の式(1)により第1比率Wが演算される。
=W1L/W1R ・・・(1)
同様に、第2コードBの読取方向一端側の1キャラクタC2Lの幅を求めこの1キャラクタC2Lを構成する単位モジュールの幅W2Lを演算するとともに、第2コードBの読取方向他端側の1キャラクタC2Rの幅を求めこの1キャラクタC2Rを構成する単位モジュールの幅W2Rを演算する。そして、幅W2Lおよび幅W2Rに基づいて以下の式(2)により第2比率Wが演算される。
=W2L/W2R ・・・(2)
図6(A)に示すように、第1コードBおよび第2コードBが貼付されるメニューシートSの表面(基準面)に対して読取口13が傾斜していない場合には、図6(B)に示すように、幅W1Lと幅W1Rとが等しくなるとともに幅W2Lと幅W2Rとが等しくなる。このため、第1比率Wおよび第2比率Wは1に等しくなる。
一方、図7(A)に示すように、メニューシートSの表面に対して読取口13が第1コードBに近接するように傾斜している場合には、図7(B)に示すように、幅W1Lが幅W1Rよりも大きくなるとともに幅W2Lが幅W2Rよりも大きくなる。このため、メニューシートSの表面に対して読取口13が第1コードBに近接するように傾斜している場合には、第1比率Wおよび第2比率Wは1よりも大きくなる。また、メニューシートSの表面に対して読取口13が第2コードBに近接するように傾斜している場合には、幅W1Lが幅W1Rよりも小さくなるとともに幅W2Lが幅W2Rよりも小さくなり、第1比率Wおよび第2比率Wは1よりも小さくなる。
なお、このステップS115による第1比率Wおよび第2比率Wの演算処理は、特許請求の範囲に記載の「比率演算手段」に相当し得るものである。
次に、ステップS117において、第1比率Wと第2比率Wとの差の絶対値が所定の閾値W以下であるか否かについて判定される。
第1コードBおよび第2コードBが同一平面上に位置している場合には、幅W1L、幅W1R、幅W2Lおよび幅W2Rを正確に測定することができるため、第1比率Wと第2比率Wとの差が小さくなる。一方、第1コードBおよび第2コードBが貼付されるメニューシートSが湾曲等しており両コードB,Bが同一平面上にない場合には、幅W1L、幅W1R、幅W2Lおよび幅W2Rを正確に測定することができない。このため、幅W1Lおよび幅W1Rの比率と幅W2Lおよび幅W2Rの比率とが異なることから第1比率Wと第2比率Wとの差が大きくなり、誤判定を生じる可能性が高くなる。
そこで、第1比率Wと第2比率Wとの差の絶対値が閾値Wを超える場合には(S117でNo)、両コードB,Bの読み取りを無効にして、再度ステップS101からの処理がなされる。なお、本実施形態においては、閾値Wは、例えば、0.1に設定されている。
一方、第1比率Wと第2比率Wとの差の絶対値が閾値W以下の場合には(S117でYes)、ステップS119において、傾斜度合θの演算処理がなされる。上述したように、傾斜度合θの変化に応じて第1比率Wおよび第2比率Wが変化することから、第1比率Wおよび第2比率Wから傾斜度合θを演算することができる。このように、第1コードBにおける第1比率Wと第2コードBにおける第2比率Wとの双方に基づいて傾斜度合θを演算しているので、読み取られたバーコードBが縮尺の異なるコードや種別の異なるコードであっても、両コードB,Bのどちらが読取口13に近接しているかを正確に判定することができる。なお、このステップS119による傾斜度合θの演算処理は、特許請求の範囲に記載の「傾斜度合演算手段」に相当し得るものである。
次に、ステップS121において、傾斜度合θの絶対値が所定の閾値θ以下であるか否かについて判定される。傾斜度合θは、図6(A)に示す状態の場合では、0(ゼロ)に等しくなる。また、傾斜度合θは、読取口13がメニューシートSの表面に対して第1コードBに近接するように傾斜している場合では(図7(A)参照)、0(ゼロ)より大きくなり、読取口13がメニューシートSの表面に対して第2コードBに近接するように傾斜している場合では、0(ゼロ)より小さくなる。
そこで、ステップS121では、傾斜度合θの絶対値が所定の閾値θ以下である場合に、メニューシートSの表面に対して読取口13が傾斜している状態(以下、傾斜状態ともいう)ではないと判定する。なお、本実施形態においては、閾値θは、例えば、5°に設定されている。
ここで、傾斜度合θの絶対値が所定の閾値θ以下である場合には(S121でYes)、傾斜状態ではないと判定されて、両コードB,Bの読み取りを無効にして、再度ステップS101からの処理がなされる。
一方、使用者が上記読取可能状態通知処理により読取可能状態であることを認識し、所望のバーコードBの読み取りを有効にするために読取口13を傾斜させると、傾斜度合θの絶対値が所定の閾値θ以下になり(S121でNo)、傾斜状態であると判定される。
次に、ステップS123において、近接コード読取モードが選択されているか否かについて判定される。本実施形態では、上述のごとく、予め近接コード読取モードが選択されているため(S123でYes)、ステップS125において近接コード読取処理がなされる。この処理では、傾斜度合θが閾値θより大きくなる場合には、読取口13は第1コードBに近接しているから、第1コードBのみの読み取りが有効とされ、第2コードBの読み取りが無効になる。また、傾斜度合θが閾値θの負値より小さくなる場合には、読取口13は第2コードBに近接しているから、第2コードBのみの読み取りが有効とされ、第1コードBの読み取りが無効になる。
なお、離間コード読取モードが選択されている場合には、ステップS123においてNoと判定されて、ステップS127において、離間コード読取処理がなされる。この処理では、傾斜度合θが閾値θより大きくなる場合には、読取口13は第2コードBから離間しているから、第2コードBのみの読み取りが有効とされ、第1コードBの読み取りが無効になる。また、傾斜度合θが閾値θの負値より小さくなる場合には、読取口13は第1コードBから離間しているから、第1コードBのみの読み取りが有効とされ、第2コードBの読み取りが無効になる。
なお、このステップS123および上述したステップS117、S121による判定処理は、特許請求の範囲に記載の「判定手段」に相当し得るものである。
上述したステップS107にてNoと判定されるか、ステップS113、S125、S127における処理がなされると、ステップS129において、読取完了状態通知処理がなされる。この処理では、ブザー44が鳴動する。具体的には、例えば、図5(B)に示すように、ブザー44により「ピー」と、上記読取可能状態とは異なるビープ音が発生する。この通知により、使用者は、所望のコードの読み取りのみが有効になって読み取りが完了する読取完了状態であることを認識することができる。なお、上述したブザー44の鳴動に代えた発光部43の点滅またはバイブレータ45の振動により、または、ブザー44の鳴動に加えた発光部43の点滅およびバイブレータ45の振動により、上記読取完了状態であることを使用者に通知するようにしてもよい。
このように、2つのバーコードBについてデコード成立した場合に、読取口13に近接するバーコードBの読み取りのみを有効にして読取口13から離間するバーコードBの読み取りを無効にするか、読取口13から離間するバーコードBの読み取りのみを有効にして読取口13に近接するバーコードBの読み取りを無効にすることができる。
次に、第1コードBおよび第2コードBが読取方向の両端側に位置するように配列される複数のバーコードBについてデコード成功した場合について説明する。なお、以下の説明において、読取口13は、図7(A)に示すように、メニューシートSの表面に対して第1コードBに近接するように傾斜しているものとする。
2以上のバーコードBについてデコードが成功していることから上述したステップS107においてYesと判定されると、ステップS109にてYesと判定された後、読取可能状態通知処理(S111)がなされる。次に、ステップS115において、第1比率Wおよび第2比率Wが演算される。このとき、第1コードBと第2コードBとの間に配列されるバーコードBの上記比率については演算されない。そして、第1比率Wおよび第2比率Wに基づいてステップS117にてYesと判定され、ステップS119にて演算される傾斜度合θに基づいてS121にてNoと判定される。
そして、近接コード読取モードが選択されている場合には(S123でYes)、近接コード読取処理(S125)がなされて、第1コードBの読み取りのみが有効となり、第2コードBおよび他のバーコードBの読み取りが無効となる。一方、離間コード読取モードが選択されている場合には(S123でNo)、離間コード読取処理(S127)がなされて、第2コードBの読み取りのみが有効となり、第1コードBおよび他のバーコードBの読み取りが無効となる。
このように、3以上のバーコードBについてデコード成立した場合であっても、読取口13に近接するバーコードBの読み取りのみを有効にして読取口13から離間するバーコードBを含めた他のバーコードBの読み取りを無効にするか、読取口13から離間するバーコードBの読み取りのみを有効にして読取口13に近接するバーコードBを含めた他のバーコードBの読み取りを無効にすることができる。
以上説明したように、本実施形態に係るバーコードリーダ10では、第1コードBおよび第2コードBについてデコード成功している場合には、第1コードBにおける読取方向一端側の単位モジュールに対応する幅W1Lと読取方向他端側の単位モジュールに対応する幅W1Rとの比率である第1比率Wと、第2コードBにおける読取方向一端側の単位モジュールに対応する幅W2Lと読取方向他端側の単位モジュールに対応する幅W2Rとの比率である第2比率Wとが演算される。そして、第1コードBおよび第2コードBが貼付されるメニューシートSの表面に対する読取口13の傾斜度合θが、第1比率Wおよび第2比率Wに基づいて演算される。そして、第1コードBおよび第2コードBの少なくともいずれか一方の読み取りが、傾斜度合θに基づいて無効にするか否かが判定される。
これにより、例えば、読取口13の傾斜度合θから第1コードBが第2コードBよりも読取口13に近接していると判断されるとき、読取口13に近接するバーコードBの読み取りを有効にする場合には第2コードBの読み取りを無効にし、読取口から離間するバーコードBの読み取りを有効にする場合には第1コードBの読み取りを無効にすることができる。
特に、第1コードBにおける第1比率Wと第2コードBにおける第2比率Wとの双方に基づいて読取口13の傾斜度合θを演算しているので、読み取られた2つのバーコードBが縮尺の異なるコードや種別の異なるコードであっても、両コードB,Bのどちらが読取口13に近接しているかを正確に判定することができる。
また、本実施形態に係るバーコードリーダ10では、読取方向に沿って配列される3以上のバーコードBについてデコードされる場合であっても、2つのバーコードBについてデコードされる場合と同様に、読取口13に近接するバーコードBの読み取りのみを有効にすることもできるし、読取口13から離間するバーコードBの読み取りのみを有効にすることもできる。
したがって、読取方向に沿って配列される2以上のバーコードBをデコードするとき所望のバーコードB以外の読み取りを無効とすることができる。
さらに、本実施形態に係るバーコードリーダ10では、使用者は、第1コードBおよび第2コードBのうち読取口13に対して離間するバーコードBの読み取りを無効とするか読取口13に対して近接するバーコードBの読み取りを無効とするかを選択することができる。そして、この選択結果と傾斜度合θとに基づいて、第1コードBおよび第2コードBの少なくともいずれか一方の読み取りを無効にするか否かを判定する。
これにより、使用者は、読取作業性等を考慮して、読取口13に対して離間するバーコードBの読み取りを無効とするか、読取口13に対して近接するバーコードBの読み取りを無効とするかを選択することができる。
さらに、本実施形態に係るバーコードリーダ10では、傾斜度合θの絶対値が閾値θ以下となるとき、第1コードBおよび第2コードBの読み取りをともに無効と判定する。
これにより、メニューシートSの表面に対する読取口13の傾斜度合θが小さく読取口13から第1コードBまでの距離と読取口13から第2コードBまでの距離との差が小さい場合には、傾斜度合θの絶対値が閾値θを超えるまで両コードB,Bの読み取りが無効と判定される。このため、使用者が第1コードBおよび第2コードBのいずれかを読み取るために読取口13を傾斜させたことに応じて、使用者が所望するバーコードBの読み取りのみを有効とすることができる。
さらに、本実施形態に係るバーコードリーダ10では、メニューシートSが湾曲等しており第1比率Wと第2比率Wとの差が閾値W以上となるとき、第1コードBおよび第2コードBの読み取りをともに無効と判定する。これにより、メニューシートSの湾曲等に起因する誤判定を防止することができる。
さらに、本実施形態に係るバーコードリーダ10では、ブザー44、発光部43およびバイブレータ45等の通知手段により、第1コードBおよび第2コードBがともにデコードされるとき、その旨が使用者に通知される。これにより、使用者は、2以上のバーコードBがデコードされた状態を光、音または振動等により認識しながら、両コードB,Bのいずれかを読み取るために読取口13を傾斜させることができるので、読取作業を良好に行うことができる。
なお、本発明は上記実施形態に限定されるものではなく、以下のように具体化してもよく、その場合でも、上記実施形態と同等の作用・効果が得られる。
(1)上記実施形態において、メニューシートSは、コンビニエンスストア等の小売店においておでん等を販売する際に使用されるメニューシートに限ることなく、読取方向に沿って2以上の一次元コードが配列される読取対象物等であってもよい。
(2)上記ステップS121の判定において、傾斜度合θの絶対値が、閾値θより大きな値に設定される所定の閾値以上となる場合にもYesと判定して、誤判定を防止するようにしてもよい。
本実施形態に係るバーコードリーダの構成概要を示す斜視図である。 バーコードリーダの電気的構成を示すブロック図である。 複数のバーコードが貼付されたメニューシートの一例を示す説明図である。 読取処理の流れを例示するフローチャートである。 図5(A)は、傾斜度合が小さい場合のブザーの動作を説明するための説明図であり、図5(B)は、傾斜度合が大きい場合のブザーの動作を説明するための説明図である。 図6(A)は、傾斜度合が小さい場合の第1コードおよび第2コードと読取口との関係を示す説明図であり、図6(B)は、図6(A)に示す状態で第1コードおよび第2コードがデコードされた配列データを概念的に示す説明図である。 図7(A)は、傾斜度合が大きい場合の第1コードおよび第2コードと読取口との関係を示す説明図であり、図7(B)は、図7(A)に示す状態で第1コードおよび第2コードがデコードされた配列データを概念的に示す説明図である。
符号の説明
10…バーコードリーダ(光学的情報読取装置)
13…読取口
28…受光センサ(受光手段)
40…制御回路(デコード手段、比率演算手段、傾斜度合演算手段、判定手段)
43…発光部(通知手段)
44…ブザー(通知手段)
45…バイブレータ(通知手段)
B…バーコード(一次元コード)
…第1コード
…第2コード
S…メニューシート(基準面)
…第1比率
…第2比率
1L,W1R,W2L,W2R…幅
…閾値(第2の閾値)
θ…傾斜度合
θ…閾値(第1の閾値)

Claims (6)

  1. 1または2以上の単位モジュールからなる明色パターンおよび暗色パターンがそれぞれ複数配されてなる一次元コードを読み取り可能な光学的情報読取装置であって、
    読取方向に沿って配列される第1コードおよび第2コードの2つの一次元コードからの反射光を読取口を介して受光する受光手段と、
    前記受光手段からの出力信号に基づいて前記第1コードおよび前記第2コードをデコードするデコード手段と、
    デコードされた前記第1コードにおける読取方向一端側の前記単位モジュールに対応する幅と読取方向他端側の前記単位モジュールに対応する幅との比率である第1比率と、デコードされた前記第2コードにおける読取方向一端側の前記単位モジュールに対応する幅と読取方向他端側の前記単位モジュールに対応する幅との比率である第2比率と、を演算する比率演算手段と、
    前記第1コードおよび前記第2コードを読み取る際の当該両コードを含む基準面に対する前記読取口の傾斜度合を、前記第1比率および前記第2比率に基づいて演算する傾斜度合演算手段と、
    前記デコード手段によりデコードされた前記第1コードおよび前記第2コードの少なくともいずれか一方の読み取りを、前記傾斜度合に基づいて無効にするか否かを判定する判定手段と、
    を備えることを特徴とする光学的情報読取装置。
  2. 1または2以上の単位モジュールからなる明色パターンおよび暗色パターンがそれぞれ複数配されてなる一次元コードを読み取り可能な光学的情報読取装置であって、
    第1コードおよび第2コードの2つの一次元コードと、これら両コードが読取方向の両端側に位置するように配列される1または2以上の一次元コードとからの反射光を読取口を介して受光する受光手段と、
    前記受光手段からの出力信号に基づいて少なくとも前記第1コードおよび前記第2コードをデコードするデコード手段と、
    デコードされた前記第1コードにおける読取方向一端側の前記単位モジュールに対応する幅と読取方向他端側の前記単位モジュールに対応する幅との比率である第1比率と、デコードされた前記第2コードにおける読取方向一端側の前記単位モジュールに対応する幅と読取方向他端側の前記単位モジュールに対応する幅との比率である第2比率と、を演算する比率演算手段と、
    前記第1コードおよび前記第2コードを読み取る際の当該両コードを含む基準面に対する前記読取口の傾斜度合を、前記第1比率および前記第2比率に基づいて演算する傾斜度合演算手段と、
    前記デコード手段によりデコードされた前記第1コードおよび前記第2コードの少なくともいずれか一方の読み取りを、前記傾斜度合に基づいて無効にするか否かを判定する判定手段と、
    を備えることを特徴とする光学的情報読取装置。
  3. 前記デコード手段により前記第1コードおよび前記第2コードをともにデコードする場合に、両コードのうち前記読取口に対して離間するコードの読み取りを無効とするか前記読取口に対して近接するコードの読み取りを無効とするかを使用者に選択させ得る選択手段を備え、
    前記判定手段は、前記選択手段による選択結果と前記傾斜度合とに基づいて、前記デコード手段によりデコードされた前記第1コードおよび前記第2コードの少なくともいずれか一方の読み取りを無効にするか否かを判定することを特徴とする請求項1または2に記載の光学的情報読取装置。
  4. 前記判定手段は、前記傾斜度合が第1の閾値以下となるときに、前記第1コードおよび前記第2コードの読み取りをともに無効と判定することを特徴とする請求項1〜3のいずれか一項に記載の光学的情報読取装置。
  5. 前記判定手段は、前記第1比率と前記第2比率との差が第2の閾値以上となるときに、前記第1コードおよび前記第2コードの読み取りをともに無効と判定することを特徴とする請求項1〜4のいずれか一項に記載の光学的情報読取装置。
  6. 前記デコード手段により前記第1コードおよび前記第2コードをともにデコードするときその旨を使用者に通知する通知手段を備えることを特徴とする請求項1〜5のいずれか一項に記載の光学的情報読取装置。
JP2008174349A 2008-07-03 2008-07-03 光学的情報読取装置 Expired - Fee Related JP5056627B2 (ja)

Priority Applications (1)

Application Number Priority Date Filing Date Title
JP2008174349A JP5056627B2 (ja) 2008-07-03 2008-07-03 光学的情報読取装置

Applications Claiming Priority (1)

Application Number Priority Date Filing Date Title
JP2008174349A JP5056627B2 (ja) 2008-07-03 2008-07-03 光学的情報読取装置

Publications (2)

Publication Number Publication Date
JP2010015357A true JP2010015357A (ja) 2010-01-21
JP5056627B2 JP5056627B2 (ja) 2012-10-24

Family

ID=41701426

Family Applications (1)

Application Number Title Priority Date Filing Date
JP2008174349A Expired - Fee Related JP5056627B2 (ja) 2008-07-03 2008-07-03 光学的情報読取装置

Country Status (1)

Country Link
JP (1) JP5056627B2 (ja)

Cited By (1)

* Cited by examiner, † Cited by third party
Publication number Priority date Publication date Assignee Title
JP2016170599A (ja) * 2015-03-12 2016-09-23 株式会社デンソーウェーブ 情報コード読取装置

Citations (2)

* Cited by examiner, † Cited by third party
Publication number Priority date Publication date Assignee Title
JP2000011086A (ja) * 1998-06-16 2000-01-14 Casio Comput Co Ltd データコード読取装置およびそのプログラム記録媒体
JP2002092542A (ja) * 2000-09-14 2002-03-29 Denso Corp 光学式情報読取装置

Patent Citations (2)

* Cited by examiner, † Cited by third party
Publication number Priority date Publication date Assignee Title
JP2000011086A (ja) * 1998-06-16 2000-01-14 Casio Comput Co Ltd データコード読取装置およびそのプログラム記録媒体
JP2002092542A (ja) * 2000-09-14 2002-03-29 Denso Corp 光学式情報読取装置

Cited By (1)

* Cited by examiner, † Cited by third party
Publication number Priority date Publication date Assignee Title
JP2016170599A (ja) * 2015-03-12 2016-09-23 株式会社デンソーウェーブ 情報コード読取装置

Also Published As

Publication number Publication date
JP5056627B2 (ja) 2012-10-24

Similar Documents

Publication Publication Date Title
US20190362117A1 (en) Multiple imaging assembly for a reader
JP6624318B2 (ja) 光学的情報読取装置
JP5167833B2 (ja) 光学的情報読取装置
JP5056627B2 (ja) 光学的情報読取装置
JP2006244139A (ja) 光学情報読取装置
CN109388981B (zh) 用于多个安装位置的标记读取器声学壳体
JP2011008574A (ja) 光学的情報読取装置
JP6638614B2 (ja) 光学的情報読取装置
JP6398809B2 (ja) 情報コード読取装置
JP5104713B2 (ja) 光学的情報読取装置
JP6867423B2 (ja) 光学的情報読取装置
JP5262994B2 (ja) 光学的情報読取装置
JP5888199B2 (ja) バーコード読取装置
JP5218316B2 (ja) 光学的情報読取装置
JP2011048561A (ja) 光学的情報読取装置
JP6263932B2 (ja) 光学的情報読取装置
JP2748672B2 (ja) バーコード読取装置
JP5115131B2 (ja) 光学的情報読取装置
US20140312119A1 (en) Apparatus for and method of audibly guiding a user to a selected target from an array of targets
JP4650138B2 (ja) 光学的情報読取装置
JP2016177643A (ja) 情報コード読取装置
JP7347188B2 (ja) 読取装置
JP2020181428A (ja) 光学的情報読取装置
JP5212389B2 (ja) 光学的情報読取装置
JP5152086B2 (ja) バーコード読取方法およびバーコード読取装置

Legal Events

Date Code Title Description
A621 Written request for application examination

Free format text: JAPANESE INTERMEDIATE CODE: A621

Effective date: 20100727

A977 Report on retrieval

Free format text: JAPANESE INTERMEDIATE CODE: A971007

Effective date: 20120625

TRDD Decision of grant or rejection written
A01 Written decision to grant a patent or to grant a registration (utility model)

Free format text: JAPANESE INTERMEDIATE CODE: A01

Effective date: 20120703

A01 Written decision to grant a patent or to grant a registration (utility model)

Free format text: JAPANESE INTERMEDIATE CODE: A01

A61 First payment of annual fees (during grant procedure)

Free format text: JAPANESE INTERMEDIATE CODE: A61

Effective date: 20120716

FPAY Renewal fee payment (event date is renewal date of database)

Free format text: PAYMENT UNTIL: 20150810

Year of fee payment: 3

R150 Certificate of patent or registration of utility model

Ref document number: 5056627

Country of ref document: JP

Free format text: JAPANESE INTERMEDIATE CODE: R150

Free format text: JAPANESE INTERMEDIATE CODE: R150

FPAY Renewal fee payment (event date is renewal date of database)

Free format text: PAYMENT UNTIL: 20150810

Year of fee payment: 3

R250 Receipt of annual fees

Free format text: JAPANESE INTERMEDIATE CODE: R250

R250 Receipt of annual fees

Free format text: JAPANESE INTERMEDIATE CODE: R250

R250 Receipt of annual fees

Free format text: JAPANESE INTERMEDIATE CODE: R250

R250 Receipt of annual fees

Free format text: JAPANESE INTERMEDIATE CODE: R250

R250 Receipt of annual fees

Free format text: JAPANESE INTERMEDIATE CODE: R250

R250 Receipt of annual fees

Free format text: JAPANESE INTERMEDIATE CODE: R250

LAPS Cancellation because of no payment of annual fees