JP2010014611A - 半導体寸法計測装置 - Google Patents

半導体寸法計測装置 Download PDF

Info

Publication number
JP2010014611A
JP2010014611A JP2008176047A JP2008176047A JP2010014611A JP 2010014611 A JP2010014611 A JP 2010014611A JP 2008176047 A JP2008176047 A JP 2008176047A JP 2008176047 A JP2008176047 A JP 2008176047A JP 2010014611 A JP2010014611 A JP 2010014611A
Authority
JP
Japan
Prior art keywords
wafer
semiconductor
piece
dimension
imaging device
Prior art date
Legal status (The legal status is an assumption and is not a legal conclusion. Google has not performed a legal analysis and makes no representation as to the accuracy of the status listed.)
Granted
Application number
JP2008176047A
Other languages
English (en)
Other versions
JP5047081B2 (ja
Inventor
Ryuichi Miyoshi
隆一 三好
Current Assignee (The listed assignees may be inaccurate. Google has not performed a legal analysis and makes no representation or warranty as to the accuracy of the list.)
Sharp Corp
Original Assignee
Sharp Corp
Priority date (The priority date is an assumption and is not a legal conclusion. Google has not performed a legal analysis and makes no representation as to the accuracy of the date listed.)
Filing date
Publication date
Application filed by Sharp Corp filed Critical Sharp Corp
Priority to JP2008176047A priority Critical patent/JP5047081B2/ja
Publication of JP2010014611A publication Critical patent/JP2010014611A/ja
Application granted granted Critical
Publication of JP5047081B2 publication Critical patent/JP5047081B2/ja
Expired - Fee Related legal-status Critical Current
Anticipated expiration legal-status Critical

Links

Images

Landscapes

  • Length Measuring Devices By Optical Means (AREA)

Abstract

【課題】表面が鏡面状態である被測定物の寸法を正確に測定でき、被測定物の寸法計測の作業効率が高く、且つ、低コストである半導体寸法計測装置を提供する。
【解決手段】半導体寸法計測装置1は、ウェハ10から切り出されたウェハ分割片11の寸法を計測する装置であり、ウェハ分割片11を保持する保持台2と、保持台2に保持されたウェハ分割片11の表面に自己が投影されない位置に配置され、ウェハ分割片11を撮像する撮像装置3と、撮像装置3によりウェハ分割片11を撮像して得られた撮像画像25に基づいてウェハ分割片11の寸法を求める寸法計算装置4とを備える。
【選択図】図1

Description

本発明は、ウェハから切り出されたウェハ分割片の寸法を計測する半導体寸法計測装置に関する。
半導体の生産工程では、各工程での歩留りを求める目的で、ウェハ上の有効な半導体チップ数を計測する。ウェハを所定の寸法に分割して半導体を製造する場合は、ウェハ分割片ごとに半導体チップ数が計測される。
ウェハ分割片ごとの半導体チップ数の計測では、まず、撮像装置によりウェハ分割片を撮像し、撮像装置により得られた撮像画像の処理してウェハ分割片の寸法が求められ、その寸法からウェハ分割片の面積が求められる。そして、この面積を半導体チップの面積で割ることにより、半導体チップ数が求められる。あるいは、より簡便な方法として、ウェハ分割片の長さを半導体チップの幅で割ることにより半導体チップ数が求められる。
したがって、ウェハ分割片の半導体チップ数を正確に計測するためには、ウェハ分割片の寸法を正確に計測することが必要となる。
以下、ウェハ分割片の寸法の計測方法について説明する。
図12は、ウェハの平面図である。図13は、ウェハから切り出されたウェハ分割片の平面図である。図14は、ウェハ分割片を搭載するためのトレイの平面図である。図15は、ウェハ分割片の寸法の計測に用いられる従来の計測装置の側面図である。図16は、従来の計測装置で、ウェハ分割片が搭載されたトレイを撮像して得られた撮像画像を示す画像図である。
ウェハ分割片111は、図12に示すウェハ110をダイシングで短冊状に分割することにより、形成される。そして、ウェハ分割片111は、外観検査作業やそのウェハ分割片111の半導体チップ数の計測作業を効率的に行うため、図14に示すようなトレイ120に搭載される。また、トレイ120を搬送するときにはウェハ分割片111の位置ズレが生じるので、トレイ120には凹部120aが設けられ、この凹部120aにウェハ分割片111が収容される。そして、図15に示すように、撮像装置103を備えた計測装置101を用いて、ウェハ分割片111内の半導体チップ数が求められる。
計測装置101は、トレイ120を保持する保持台102と、CCD(Charge Coupled Devices)を撮像素子とする撮像装置103と、リング状照明器107から構成されている。この撮像装置103は保持台102の真上に配置され、リング状照明器107は、撮像装置103の鏡筒の周囲に設けられている。
ウェハ分割片111は、保持台102に載せることで、撮像装置103の真下に配置される。そして、ウェハ分割片111は、撮像装置103により撮像される。さらに、撮像画像をラベリングで画像処理することによりウェハ分割片111の外縁が特定され、当該外縁からウェハ分割片111の寸法が求められ、この寸法に基づいてウェハ分割片111の面積が求められる。また、ウェハ分割片111の面積を半導体チップの面積で割る、あるいは、上記で求めたウェハ分割片の長さを半導体チップの幅で割ることで、半導体チップ数が求められる。
しかしながら、ウェハ分割片111は、金などの電極材料の蒸着によりその表面が鏡面状態になっているため、撮像装置103やリング照明器107が、ウェハ分割片111の表面に投影されることがあった。このため、撮像装置103やリング状照明器107が映った状態でウェハ分割片111が撮像されることとなる。したがって、撮像画像125の画像処理においては、ウェハ分割片111の表面に映された撮像装置103やリング状照明器107の輪郭111bが認識されるため、当該輪郭111bとウェハ分割片111の外縁111aとが混在することとなり、ウェハ分割片111の外縁111aが正確に認識されず、この結果、ウェハ分割片111の寸法が正確に計測できないといった問題が生じていた。
そこで、ウェハ分割片111の寸法を正確に計測する方法として、撮像装置103やリング状照明器107のウェハ分割片111への投影を防止する擬似同軸落斜照明器を用いた方法が提案されている。
図17は、擬似同軸落斜照明器を備えた計測装置の側面図である。図18は、擬似同軸落斜照明器を備えた計測装置の照明範囲とトレイとを示す平面図である。
擬似同軸落斜照明器117を備えた計測装置101aの構成は、照明器の構造以外は、上記に示した計測装置101と同様である。擬似同軸落斜照明器117は、図17に示すように、撮像装置103の光軸103aに対し、垂直方向から照射する照明器117aを有しており、その照明器117aからの光を、光軸103aに垂直な面に対して斜めに配置されたハーフミラー117bで反射させることで、保持台102に配置された被測定物を照明する構造とされている。この構造により、被測定物を照明するために光軸103a上に配置されていた照明器117aを光軸103a上から外すことができ、且つ、撮像装置103側から被測定物側へ進行する光を遮断することができるので、撮像装置103や擬似同軸落斜照明器117が被測定物に投影されることを防止することができる。
したがって、擬似同軸落斜照明器117を備えた計測装置101aによれば、被測定物であるウェハ分割片111に撮像装置103や照明器117aが投影されることが防止されるので、正確にその寸法を計測することができる(特許文献1参照:以下、これを従来技術1という)。
また、ウェハ分割片111の寸法を計測する他の方法として、作業者が目測でウェハ分割片111を計測する方法もある。
図19は、ウェハ分割片を計測目盛のついたシート上に載せた状態を示す説明図である。
この場合は、トレイ120上に配置されたウェハ分割片111を作業者がピンセットで摘み、方眼紙などの計測目盛のついたシート130にウェハ分割片111を載せて、顕微鏡でウェハ分割片111を観察しながらシート130上の計測目盛を読み取ってウェハ分割片111の寸法を計測する(以下、これを従来技術2という)。
特開平05−343447号公報
しかしながら、従来技術1では、擬似同軸落斜照明器117の照明範囲117cが限定される。したがって、図18に示すように、被測定物であるウェハ分割片111を搭載するトレイ120の大きさがその照明範囲117cよりも大きい場合は、その一部分にしか照明が当たらず、鮮明に撮像することができる範囲は制限され、これにより、トレイ120上にある全部のウェハ分割片111を一画面で撮像することができず、また、トレイ120上にある全部のウェハ分割片111を一括して画像処理をすることができなかった。そのため、トレイ120が照明範囲117cより大きい場合は、トレイ120を順に送り、トレイ120上にあるウェハ分割片111の寸法計測を複数回に分けて行う必要があり、作業効率が低かった。その上、トレイ120の送り作業を手動で行う場合は、送りの誤操作によって計測されないウェハ分割片111が発生するといった問題もあった。トレイ120を自動送りとする場合であっても、自動化される分作業効率が向上するものの、自動送り機構が必要となるため、計測装置101a自体が大型化、高コスト化するという問題があった。
ここで、従来技術1における、寸法計測の過程で画像処理の一括処理が行えないという問題を解決する一手段として、市販の擬似同軸落斜照明器117を用いるのではなく、大型の照明器とハーフミラーを組み合わせてトレイ120全体を照明可能とする大型の擬似同軸落斜照明器117を自作し、この大型の擬似同軸落斜照明器117を用いることも考えられる。しかしながら、擬似同軸落斜照明器117自体が大型化するため、計測装置101a自体が大型化、高コスト化するという問題がある。
また、他の手段として、市販の擬似同軸落斜照明器117と、低倍率レンズを備えた高分解能撮像装置と、画像処理システムとを用い、当該擬似同軸落斜照明器117の照明範囲117c内にトレイ120全体が入るように構成するということも考えられる。この手段によれば、低倍率レンズの撮像によりトレイ120全体を撮像することができ、且つ、高分解能撮像装置の採用により分解能を低下させずに被測定物を計測することができることから、一括画像処理を行うことも可能となる。しかしながら、このような高分解能撮像装置及び画像処理システムを用いて計測装置101aを構成すれば、計測装置101aが非常に高価になってしまうという問題がある。
一方、従来技術2では、作業者がトレイ120上のウェハ分割片111を1個ずつピンセットなどで取り出し、顕微鏡を介して目視で寸法を計測するため、作業効率や測定精度が非常に低いといった問題があり、その上、ウェハ分割片111は脆い材質であるためピンセットでウェハ分割片111に傷や欠けを生じさせるといった問題があった。
本発明はこのような状況に鑑みてなされたものであり、表面が鏡面状態である被測定物の寸法を正確に測定することができ、寸法計測の作業効率が高く、且つ、低コストである半導体寸法計測装置を提供することを目的とする。
本発明に係る半導体寸法計測装置は、ウェハから切り出されたウェハ分割片の寸法を計測する装置であり、前記ウェハ分割片を保持する保持台と、前記保持台に保持された前記ウェハ分割片の表面に自己が投影されない位置に配置され、前記ウェハ分割片を撮像する撮像装置と、前記撮像装置により前記ウェハ分割片を撮像して得られた撮像画像に基づいて前記ウェハ分割片の寸法を求める寸法計算装置とを備えたことを特徴とする。
本発明によれば、ウェハ分割片を撮像する撮像装置は、ウェハ分割片の表面に自己が投影されない位置に配置されることから、ウェハ分割片に撮像装置が投影されてしまうことが防止され、撮像装置の輪郭がウェハ分割片の表面に現れることもないので、撮像装置によりウェハ分割片を撮像して得られた撮像画像に基づいてウェハ分割片の寸法を正確に求めることができる。
また、上記の半導体寸法計測装置において、前記保持台の傾斜角が調整可能とされたことを特徴としてもよい。
この構成によれば、ウェハ分割片を保持する保持台の傾斜角が調整可能とされているので、撮像装置の焦点が合う範囲内に、ウェハ分割片を最も適当な傾斜角で配置することができる。これにより、撮像装置の焦点ずれによるぼやけを抑制して、ウェハ分割片を撮像することができるので、正確にウェハ分割片の寸法を計測することができる。
また、ウェハ分割片を、撮像装置の光軸に垂直な面に対して斜めに配置することもできることから、仮に、撮像装置の光軸に垂直な面にウェハ分割片を配置したとしたならば撮像装置の撮像範囲よりも広い範囲にわたってウェハ分割片が配置されてしまう場合であっても、保持台を傾斜させて、撮像装置の光軸に垂直な面に対してウェハ分割片を斜めに配置することで、ウェハ分割片全部を撮像装置の撮像範囲内に入れることができるので、広い範囲にわたって配置される複数のウェハ分割片全部を一回で撮像することができ、これにより、ウェハ分割片全部の撮像画像を寸法計算装置で一括処理することができる。
また、撮像装置の撮像範囲よりも広い範囲に配置されたウェハ分割片を、撮像画像の解像度を維持しつつ撮像するには、従来の方法では、ウェハ分割片全体を撮像範囲に入れるために、撮像装置を低倍率レンズ付き高分解能撮像装置に交換する必要があったが、上記のように、ウェハ分割片を斜めにすることで撮像装置の撮像範囲よりも広い範囲を撮像することが可能となるので、従来の方法では必要とされた高価な高分解能撮像装置の導入を行わなくて済み、その分、設備投資を抑制することができる。
また、上記の半導体寸法計測装置において、前記撮像装置の光軸方向が調整可能とされたことを特徴としてもよい。
この構成によれば、撮像装置の光軸方向が調整可能とされていることから、ウェハ分割片の表面に対して光軸の角度を変えることができるので、撮像装置の焦点があうように、撮像装置を最も適当な位置に配置することができる。これにより、撮像装置の焦点ずれによるぼやけを抑制して、ウェハ分割片を撮像することができるので、正確にウェハ分割片の寸法を計測することができる。
また、撮像装置の光軸方向の調整により、ウェハ分割片を、撮像装置の光軸に垂直な面に対して斜めに配置することもできることから、仮に、撮像装置の光軸に垂直な面にウェハ分割片を配置したとしたならば撮像装置の撮像範囲よりも広い範囲にわたってウェハ分割片が配置される場合であっても、撮像装置の光軸を調整することにより、当該光軸に垂直な面に対し斜めの面にウェハ分割片を配置させて、ウェハ分割片全部を撮像装置の撮像範囲内に入れることができるので、広い範囲にわたって配置される複数のウェハ分割片全部を一回で撮像することができ、これにより、ウェハ分割片全部の撮像画像を寸法計算装置で一括処理することができる。
また、撮像装置の撮像範囲よりも広い範囲に配置されたウェハ分割片を、撮像画像の解像度を維持しつつ撮像するには、従来の方法では、ウェハ分割片全体を撮像範囲に入れるために、撮像装置を低倍率レンズ付き高分解能撮像装置に交換する必要があったが、上記のように、撮像装置の光軸方向の調整により、光軸に垂直な面に対し斜めの面にウェハ分割片を配置させることで、撮像装置の撮像範囲よりも広い範囲を撮像することが可能となるので、従来の方法では必要とされた高価な高分解能撮像装置の導入を行わなくて済み、その分、設備投資を抑制することができる。
また、上記の半導体寸法計測装置において、前記保持台に保持された前記ウェハ分割片が前記撮像装置の光軸に垂直な面に対し斜めに配置されることで、前記ウェハ分割片の形状が手前側から奥側にかけて縮小するように変形して撮像される撮像画像に対し、前記寸法計算装置は、前記ウェハ分割片の撮像画像(以下、ウェハ分割片撮像画像ともいう。)上での変形を補正して前記ウェハ分割片の実際の寸法を求めることを特徴としてもよい。
この構成によれば、ウェハ分割片が撮像装置の光軸に垂直な面に対して斜めに配置されることにより、ウェハ分割片の形状が手前側から奥側にかけて縮小するように変形して撮像される場合であっても、寸法計算装置はウェハ分割片撮像画像上での変形を補正してウェハ分割片の実際の寸法を求めるので、ウェハ分割片の寸法を正確に求めることができる。
また、上記に記載の半導体寸法計測装置において、少なくとも前記保持台と前記撮像装置が、外乱光を遮断する筐体内に収納されたことを特徴としてもよい。
この構成のよれば、保持台及び撮像装置が筐体内に配置され、外乱光が遮断されることから、保持台に配置されるウェハ分割片に筐体外部の背景の投影や外乱光による撮像画像の乱れが防止されるので、ウェハ分割片の寸法を正確に計測することができる。
また、上記に記載の半導体寸法計測装置において、前記ウェハ分割片を間接的に照明する照明器が設けられたことを特徴としてもよい。
この構成によれば、ウェハ分割片に光が直接照射されないことから、ウェハ分割片上で強い光が反射することはないので、撮像装置のハレーションの発生が防止される。したがって、ハレーションによる撮像画像の乱れが防止されるので、常時、ウェハ分割片の寸法を正確に計測することができる。
また、照明器が、ウェハ分割片を間接的に照明する位置に配置されているので、照明器自体がウェハ分割片に投影されることもない。
また、ウェハ分割片の照明は間接的でありさえすればよく、擬似同軸落斜照明器のように平行光を出す装置で照明する必要はないので、照明範囲が限定されることもない。
また、上記の半導体寸法計測装置において、前記寸法計算装置により求められた前記ウェハ分割片の寸法に基づいて前記ウェハ分割片の半導体チップ数を求める半導体チップ数計測装置をさらに備えたことを特徴としてもよい。
この構成によれば、ウェハ分割片内にある半導体チップ数を計測する半導体チップ数計測装置が備えられているので、ウェハ分割片内にある半導体チップ数を求めることができる。
また、上記の半導体寸法計測装置において、前記半導体チップ数計測装置は前記ウェハ分割片の欠損部を除外して前記半導体チップ数を求めることを特徴としてもよい。
この構成によれば、ウェハ分割片から欠損部を除外して半導体チップ数を求めるので、ウェハ分割片に存在する有効な半導体チップ数をより正確に求めることができる。
また、上記の半導体寸法計測装置において、半導体レーザチップ又は発光ダイオードチップを構成要素とするウェハ分割片を計測対象とすることを特徴としてもよい。
この構成によれば、半導体レーザチップ又は発光ダイオードチップを構成要素とするウェハ分割片の寸法を正確に計測することができる。
本発明によれば、半導体寸法計測装置において、ウェハ分割片を撮像する撮像装置は、ウェハ分割片の表面に自己が投影されない位置に配置されることから、ウェハ分割片には撮像装置の投影が防止され、撮像装置の輪郭がウェハ分割片の表面に表れることもないので、撮像装置によりウェハ分割片を撮像して得られた撮像画像に基づいてウェハ分割片の寸法を正確に求めることができる。
以下、本発明の実施の形態を図面に基づいて説明する。
図1は、半導体寸法計測装置の構成図である。図2は、照明器の光拡散の状態を示す、半導体寸法計測装置の筐体部分の側面図である。図3は、ウェハ分割片が搭載されたトレイの平面図である。図4は、撮像装置と保持台との位置関係を示す配置図である。図5は、傾けたトレイを撮像装置で撮像したときの撮像装置とトレイとの配置と、そのときの撮像画像を示す図である。
半導体寸法計測装置1は、ウェハ10(図9参照)から切り出されたウェハ分割片11の寸法を計測する計測装置であり、保持台2と、撮像装置3と、寸法計算装置4とを備えており、保持台2に配置されたウェハ分割片11を撮像装置3により撮像し、撮像装置3により取得された撮像画像25に基づいて当該ウェハ分割片11の寸法を計測するものである。
半導体寸法計測装置1には、本実施の形態のように、ウェハ分割片11内の半導体チップ数を計測するための半導体チップ数計測装置8を備えることが好ましい。
上記半導体チップ数計測装置は、寸法計算装置4と同一装置で兼ねることも可能である。
なお、ウェハ分割片11とは、ウェハ10から所定寸法に切り出された短冊状のものであり、短冊状のものには、矩形のもののみならず、正方形、台形のものが含まれる。また、本実施形態の半導体寸法計測装置1の計測対象は、例えば、半導体レーザチップ又は発光ダイオードチップを構成要素とするウェハ分割片11を挙げることができるが、計測対象は、この種のチップのウェハ分割片11に限定されるものではない。
半導体寸法計測装置1は、開放された空間に、保持台2、撮像装置3及び寸法計算装置4を夫々配置して組み立ててもよいが、図1のように、外乱光を遮断する筐体6内に、保持台2及び撮像装置3を収納することが好ましい。このような構成により、外乱光が遮断され、ウェハ分割片11に筐体6外部の背景が投影されることや、外乱光による撮像画像25の乱れが防止されるので、ウェハ分割片11の寸法を正確に計測することができる。
なお、筐体6には、ウェハ分割片11の搭載されたトレイ20の出し入れを可能とするために、開閉自在な扉(図示省略)が設けられている。
保持台2は、ウェハ分割片11を保持するものである。具体的には、保持台2は、直接ウェハ分割片11を保持するものではなく、ウェハ分割片11を搭載するためのトレイ20を保持する構成とされ、間接的に、ウェハ分割片11を保持するものである。また、保持台2は、水平面(例えば、筐体6の底面61)に対する角度θ1が調整可能なように、設置されている。
撮像装置3は、ウェハ分割片11を撮像する装置であり、CCDなどのイメージセンサ素子と光学レンズ系により構成されている。
また、図1に示すように、撮像装置3は、その装置自体がウェハ分割片11に投影されないように、保持台2の法線2a方向に対して、撮像装置3の光軸3aの方向が所定角度ずれるように、配置されている。また、撮像装置3は、その光軸3aの方向が調整可能に、筐体6の天井又は側面に取り付けられている。または、底部からスタンドによって保持されている
寸法計算装置4は、撮像装置3による撮像画像25に基づいて、ウェハ分割片11の寸法を求める装置である。具体的には、撮像画像25(図5参照)をラベリング処理し、各ウェハ分割片11の外縁を特定し、各ウェハ分割片11の寸法を算出するように構成されている。また、寸法計算装置4には、撮像画像25を表示させるモニタ41が備えられている。
また、寸法計算装置4には、モニタ画面40上で、手動によりウェハ分割片11の寸法の計測が可能なように、手動寸法計測装置45が装備されている。手動寸法計測装置45は、モニタ画面40上のカーソル42を操作する操作キー43を備えており、操作者が、モニタ画面40を確認しながら、カーソル42を、撮像画像25上でのウェハ分割片11の角部にあわせることで、ウェハ分割片11の寸法が計測されうるように、構成されている。
半導体チップ数計測装置8は、寸法計算装置4により求められたウェハ分割片11の寸法に基づいて、ウェハ分割片11内にある半導体チップ数を計測する装置である。具体的には、半導体チップ数計測装置8は、寸法計算装置4により求められたウェハ分割片11の寸法に基づいてウェハ分割片11の面積を求め、当該面積を半導体チップ12(図9乃至図11参照)の面積で除算する、あるいは、ウェハ分割片11の長さを半導体チップ12の幅で除算することにより求められる。この構成により、ウェハ分割片11の半導体チップ数が迅速に求められる。
また、ウェハ分割片11を照明するための照明器7は、ウェハ分割片11を間接的に照明する位置に設置される。例えば、図2に示すように、照明器7は、天井62や側面63からの反射光でウェハ分割片11を間接的に照明するように、筐体6の底面61に設置されている。
このような構成によれば、ウェハ分割片11に光が直接照射されないことから、ウェハ分割片11上で強い光が反射することはないので、撮像装置3のハレーションの発生が防止される。したがって、ハレーションによる撮像画像25の乱れが防止されるので、常時、ウェハ分割片11の寸法を正確に計測することができる。
また、照明器7が、ウェハ分割片11を間接的に照明する位置に配置されているので、照明器7自体がウェハ分割片11に投影されることもない。
また、ウェハ分割片11の照明は間接的でありさえすればよく、前記従来技術1の擬似同軸落斜照明器のような平行光を出す装置でウェハ分割片11を照明する必要はないので、照明範囲が限定されることもない。
次に、撮像装置3により撮像されるウェハ分割片11の配置について説明する。
トレイ20には、ウェハ分割片11を収容するための凹部20aが並設されており、ウェハ分割片11は、図3に示すように、凹部20aに収容され、トレイ20に並べられる。なお、ウェハ分割片11の並び順は特に定められず、各ウェハ分割片11は、任意の凹部20aに配置される。また、凹部20aの深さは、ウェハ分割片11の厚みと同等程度であるか、又はそれより浅くされ、ウェハ分割片11の外縁が撮像装置3により明確に撮像されうる程度に、設定されている。
そして、図4又は図5に示すように、トレイ20は、その全体が、撮像装置3の撮像範囲3bに入るように、保持台2に配置される。
例えば、トレイ20が撮像範囲よりも大きい場合は、図4に示すように、撮像装置3の光軸3aが水平面に対して斜めになるように、撮像装置3の角度を調整するとともに、保持台2を水平(θ1=0°)に配置され、トレイ20全体が撮像装置3の撮像範囲3bに入るようにされる。
ところが、撮像装置3とトレイ20との間の最近接距離3cと最離遠距離3dとの距離差が撮像装置3の焦点深度の許容値を超える程大きい場合は、焦点ずれが発生し撮像画像25がぼやけてしまうので、各ウェハ分割片11の寸法を正確に求めることができない。
一方、撮像画像25において焦点ずれを完全になくすためには、撮像装置3の光軸3aを保持台2に対して直交させること、すなわち、撮像装置3の光軸3aの角度θ2(光軸3aと鉛直線とのなす角)と、保持台2の水平面からの角度θ1とを一致させればよい(θ1=θ2)が、このような設定では、撮像装置3がウェハ分割片11に投影されてしまうため、各ウェハ分割片11の寸法を正確に求めることができない。
そこで、撮像装置3からトレイ20までの最近接距離3cと最離遠距離3dに対応するトレイ20上の各点において、撮像装置3の焦点ずれが生じないように、すなわち、撮像装置3の焦点深度の許容値を超えない範囲内で、撮像装置3と保持台2の角度がそれぞれ調整される。例えば、図5に示すように、撮像装置3の光軸3aが保持台2の法線2aに対して傾くように撮像装置3と保持台2の角度が調整される。
このような場合、撮像装置3に対して奥側が手前側よりも視野が広くなるため、撮像装置3によりトレイ20を撮像した場合、その撮像画像25は、図5に示すように、上部が下部よりも小さい台形となる。つまり、トレイ20に搭載されたウェハ分割片11同士で寸法が同一であっても、奥側に配置されたものは、手前側に配置されたものよりも、小さく撮像されることとなる。このため、ウェハ分割片11のウェハ分割片撮像画像26に対応する画素数について奥側のものと手前側のものとを比較すると、奥側に配置されたものの画素数は、手前側に配置されたものの画素数よりも少なくなり、奥側と手前側との間で画素分解能が異なることとなる。したがって、撮像画像25に基づいて、トレイ20上の各ウェハ分割片11の寸法を求める場合において、撮像画像25上の各画素に同一の単位距離を割り当てると、同一寸法のウェハ分割片11であっても異なった寸法として計測されることとなる。
そこで、このような事態を回避するため、撮像装置3により斜めに傾けたトレイ20を撮像する場合においては、撮像画像25に基づいてウェハ分割片11の寸法を求めるときに、撮像画像25上における各点での画素分解能、および、撮像画像25におけるウェハ分割片撮像画像26の重心座標に基づいて、撮像画像25の変形が補正され、ウェハ分割片11の寸法が求められる。
ここで、画素分解能とは、撮像画像25上における隣接する2画素間距離に対応する実際の距離である。
次に、撮像画像25の変形を補正して、撮像画像25からウェハ分割片11の寸法を求める方法について説明する。
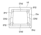
図6は、校正用プレートの平面図である。図7は、校正用プレートを撮像装置で撮像した校正用プレートの画像図である。図8は、ウェハ分割片を撮像装置で撮像したときに得られるウェハ分割片撮像画像を示す画像図である。
まず、撮像装置3と保持台2の配置が決定される。具体的には、撮像装置3と保持台2との距離、及び、撮像装置3の光軸3aと保持台2の法線2aとのなす角度が決定される。これは、これらのパラメータにより、画素分解能が異なるためである。つまり、下記に示す補正式は、これらのパラメータごとに求められるものである。
次に、撮像装置3と保持台2を所定の配置としてウェハ分割片11を撮像したときの撮像画像25上における各点での補正値を求めるために、図6に示すような、校正用プレート21が用意される。
校正用プレート21には、上下方向に既定の間隔を隔てた相互に平行な2本の区切り線21a,21aと、左右方向に既定の間隔を隔てた相互に平行な2本の区切り線21b,21bが描画されている。また、これらの区切り線21a,21a,21b,21bは、相互に交差する4つの交点P1〜P4が、それぞれ校正用プレート21の各隅部に位置するように、配置されている。なお、図6においては、左上の交点を第1点P1、右上の交点を第2点P2、左下の交点を第3点P3、右下の交点を第4点P4、とする。
次に、校正用プレート21を保持台2上に配置し、校正用プレート21を撮像装置3で撮像する。このとき、校正用プレート21の撮像画像25aは、図7に示すように、上部が下部よりも小さくなる。
次に、校正用プレート21の撮像画像25aが表示されるモニタ画面40上で、校正用プレート21の第1点P1〜第4点P4の座標を計測する。
例えば、校正用プレート21の第1点P1〜第4点P4の座標は、寸法計算装置4の手動寸法計測器45により計測される。具体的には、校正用プレート21の撮像画像25aを寸法計算装置4のモニタ画面40に表示させ、このモニタ画面40上で、校正用プレート21の第1点P1にカーソル42を合わせ、当該第1点P1の座標を読み取る。同様にして、第2点P2〜第4点P4の座標を読み取る。
そして、モニタ画面40上で取得された第1点P1〜第4点P4のXY座標、並びに、校正用プレート21上の第1点P1と第2点P2の実際の間隔、及び第2点P2と第4点P4の実際の間隔から、次の式により、撮像画像25上の任意の座標での画素分解能が算出される。
すなわち、第1点P1、第2点P2、第3点P3、第4点P4の撮像画像25上でのXY座標は、それぞれ(X1,Y1)、(X2,Y2)、(X3,Y3)、(X4、Y4)とし、また、校正用プレート21の左右に平行な2本の区切り線21b,21bの実際の間隔をLXとし、上下に平行な区切り線21a,21aの実際の間隔をLYとすると、
座標Y1におけるX方向画素分解能Xres(Y1)= LX/(X2−X1)
座標Y3におけるX方向画素分解能Xres(Y3)= LX/(X4−X3)
座標YiにおけるX方向画素分解能Xres(Yi)
=Xres(Y3)+(Yi−Y3)×(Xres(Y3)−Xres(Y1))/(Y3−Y1)
座標XiにおけるY方向画素分解能Yres= LY/(Y3−Y1)
となる。
なお、図7に示す校正用プレート21の撮像画像25aでは、Y1=Y2、Y3=Y4となっている。
次に、寸法測定するウェハ分割片11を搭載したトレイ20を保持台2上に配置し、トレイ20を撮像装置3で撮像する。そして、撮像画像25は、寸法計算装置4により、図8に示すように、ラベリング処理され、各ウェハ分割片11の外縁が特定される。続いて、各ウェハ分割片撮像画像26のX,Y方向の寸法Sx,Syが求められるとともに、各ウェハ分割片撮像画像26における重心座標Gx,Gyが求められる。その後、各ウェハ分割片撮像画像26について、寸法Sx,Sy、重心座標Gx,Gy、当該重心座標でのX方向画素分解能、及びY方向画素分解能に基づいて、下記の式により、各ウェハ分割片11の実際の寸法LenX,LenYが求められる。
LenX=Sx × Xres(Gy)
LenY=Sy × Yres
以上の方法より、撮像装置3に対して保持台2が斜めに配置した状態でトレイ20を撮像した場合でも、上記の式により、撮像画像25の変形が補正されるので、ウェハ分割片11の正確な寸法を求めることができる。
次に、ウェハ分割片11の寸法が求められた後に行われる、半導体チップ数の計測について説明する。
半導体チップ数の計測は、半導体チップ数計測装置8により行われる。ところが、当該ウェハ分割片11内に、有効な半導体チップ数として計測すべきでない部分が含まれる場合がある。
このような場合は、次のような処理をして、有効な半導体チップ数の計測が行われる。
図9は、保持部を示すウェハの平面図である。図10は、ウェハの周縁部に対応する部分を示すウェハ分割片の平面図である。図11は、ウェハの金属未蒸着部を示すウェハ分割片の平面図である。
なお、図10において、斜線部は、半導体チップの欠け部分を示し、図11において、斜線部は、半導体チップ上の金属未蒸着部12bを示している。
ウェハ10は円形であるため、矩形の半導体チップ12を形成する場合、ウェハ10の周縁部には、矩形とならない半導体チップ(以下、欠けチップという。)12aが形成されることとなる。このような、矩形とならない欠けチップ12aは、最終的には除去される。
また、ウェハ10の製造プロセスにおいては、金などの電極材料の蒸着が行われるが、蒸着処理が行われるときウェハ10は保持具50により保持されるため、図11に示すように、ウェハ10の一部に蒸着膜が形成されない金属未蒸着部12bが生じる。そのため、金属未蒸着部12bも、最終的に除去される。
したがって、ウェハ分割片11において、有効な半導体チップ12の数を計測するには、これら除去されるべき欠損部(欠けチップ12aや金属未蒸着部12b)を除外して計測する必要がある。
そこで、この欠損部を除外する方法について説明する。
ウェハ分割片11においては、上記の欠けチップ12a又は金属未蒸着部12bは、両端部又は一端部に現れる。
そのため、ウェハ分割片11の寸法Sy(ウェハ分割片11の上下方向の幅)は、欠けチップ12aや金属未蒸着部12bが存在するウェハ分割片11の端部から求めるのではなく、中央部分から求める。
また、上記寸法Syを求める際に、ウェハ分割片11の端縁11a(側縁11cに対し垂直に延びる部分)の寸法St(図10参照)を求める。そして、寸法Stが、寸法Syに所定倍率(1未満の数値。例えば、0.8。)を掛けて得られた値よりも小さい値となる場合は、ウェハ分割片11の有効面積を求めるにあたって、その端縁11aから所定距離内の部分(除外部分)11bを、欠けチップ12a又は金属未蒸着部12bに対応するものとして、ウェハ分割片11の面積から除外する。
なお、ウェハ分割片11の面積から除外すべき除外部分(端縁から所定距離内にある領域の面積)11bは、ウェハサイズ(周縁の曲率)、チップサイズ、保持具50の面積等によって変化するため、ウェハ分割片11の面積から除外部分11bを除外するかを定めるための、寸法Syに掛けられる上記所定倍率、及び、ウェハ分割片11の面積からどの程度の面積を除外するかを定めるための所定距離Srは、適宜変更可能とされている。
そして、ウェハ分割片11の半導体チップ数を求めるときは、ウェハ分割片11の面積から除外部分11bの面積を除去して有効面積を求め、その有効面積を半導体チップ12の面積で除算することにより求める。
以上の方法によれば、ウェハ分割片11に欠損部(欠けチップ12aや金属未蒸着部12b)があっても、ウェハ分割片11から欠損部を除外してウェハ分割片11の有効面積を求め、その有効面積に基づいて半導体チップ数を算出するので、ウェハ分割片11に存在する有効な半導体チップ数を正確に求めることができる。
以上の構成の半導体寸法計測装置1によれば、ウェハ分割片11を撮像する撮像装置3は、ウェハ分割片11の表面に自己が投影されない位置に配置されることから、ウェハ分割片11に撮像装置3が投影されてしまうことが防止され、撮像装置3の輪郭がウェハ分割片11の表面に現れることもないので、撮像装置3によりウェハ分割片11を撮像して得られた撮像画像25に基づいてウェハ分割片11の寸法を正確に求めることができる。
また、ウェハ分割片11を保持する保持台2の傾斜角が調整可能とされているので、撮像装置3の焦点が合う範囲内に、ウェハ分割片11を最も適当な傾斜角で配置することができる。
また、撮像装置3の光軸3aの方向が調整可能とされていることから、ウェハ分割片11の表面に対して光軸3aの角度を変えることができるので、撮像装置3の焦点が合うように、撮像装置3を最も適当な位置に配置することができる。
これにより、撮像装置3の焦点ずれによるぼやけを抑制して、ウェハ分割片11を撮像することができるので、正確にウェハ分割片11の寸法を計測することができる。
ところで、撮像装置3の撮像範囲3bよりも広い範囲にわたってウェハ分割片11が配置される場合もある。
これに対しては、半導体寸法計測装置1は、保持台2の傾斜角の調整により、ウェハ分割片11を撮像装置3の光軸3aに垂直な面に対して斜めに配置させること、又は、撮像装置3の光軸方向を調整することにより、ウェハ分割片11を撮像装置3の光軸3aに垂直な面に対し斜めの面に配置させることができ、これにより、ウェハ分割片11全部を撮像装置3の撮像範囲3b内に入れることができるので、広い範囲にわたって配置されるウェハ分割片11の全部を一回で撮像することができ、ウェハ分割片撮像画像26全部を寸法計算装置4で一括処理することができる。
また、撮像装置3の撮像範囲3bよりも広い範囲に配置されたウェハ分割片11を、撮像画像25の解像度を維持しつつ撮像するには、従来の方法では、ウェハ分割片11全体を撮像範囲3bに入れるために、撮像装置3を低倍率レンズ付き高分解能撮像装置に交換する必要があったが、本発明においては、保持台2の傾斜角の調整によりウェハ分割片11が撮像装置3の光軸3aに垂直な面に対して斜めに配置されうる構成、又は、撮像装置3の光軸方向の調整によりウェハ分割片11が撮像装置3の光軸3aに垂直な面に対して斜めに配置されうる構成とされていることから、撮像装置3の撮像範囲3bよりも広い範囲を撮像することができるので、従来の方法では必要とされた高価な高分解能撮像装置の導入を行わなくて済み、その分、設備投資を抑制することができる。
また、半導体寸法計測装置1において、保持台2にトレイ20を介して保持されたウェハ分割片11が撮像装置3の光軸3aに垂直な面に対し斜めに配置されることで、ウェハ分割片11の形状が手前側から奥側にかけて縮小するように変形して撮像される撮像画像25に対し、寸法計算装置4は、ウェハ分割片撮像画像26での変形を補正してウェハ分割片11の実際の寸法を求めるので、ウェハ分割片11の寸法を正確に求めることができる。
本発明に係る半導体寸法計測装置の一実施形態を示す構成図である。 照明器の光拡散の状態を示す、半導体寸法計測装置の筐体部分の側面図である。 ウェハ分割片が搭載されたトレイの平面図である。 撮像装置と保持台との位置関係を示す配置図である。 傾けたトレイを撮像装置で撮像したときの撮像装置とトレイとの配置と、そのときの撮像画像を示す図である。 校正用プレートの平面図である。 校正用プレートを撮像装置で撮像した校正用プレートの画像図である。 ウェハ分割片を撮像装置で撮像したときに得られるウェハ分割片撮像画像を示す画像図である。 保持部を示すウェハの平面図である。 ウェハの周縁部に対応する部分を示すウェハ分割片の平面図である。 ウェハの金属未蒸着部を示すウェハ分割片の平面図である。 ウェハの平面図である。 ウェハから切り出されたウェハ分割片の平面図である。 ウェハ分割片を搭載するためのトレイの平面図である。 ウェハ分割片の寸法の計測に用いられる従来の計測装置の側面図である。 従来の計測装置で、ウェハ分割片が搭載されたトレイを撮像して得られた撮像画像を示す画像図である。 擬似同軸落斜照明器を備えた計測装置の側面図である。 擬似同軸落斜照明器を備えた計測装置の照明範囲とトレイとを示す平面図である。 ウェハ分割片を計測目盛のついたシート上に載せた状態を示す説明図である。
符号の説明
1 半導体寸法計測装置
2 保持台
3 撮像装置
4 寸法計算装置
6 筐体
7 照明器
8 半導体チップ数計測装置
10 ウェハ
11 ウェハ分割片
12 半導体チップ
20 トレイ
21 校正用プレート

Claims (9)

  1. ウェハから切り出されたウェハ分割片の寸法を計測する半導体寸法計測装置において、
    前記ウェハ分割片を保持する保持台と、
    前記保持台に保持された前記ウェハ分割片の表面に自己が投影されない位置に配置され、前記ウェハ分割片を撮像する撮像装置と、
    前記撮像装置により前記ウェハ分割片を撮像して得られた撮像画像に基づいて前記ウェハ分割片の寸法を求める寸法計算装置とを備えたことを特徴とする半導体寸法計測装置。
  2. 請求項1に記載の半導体寸法計測装置において、
    前記保持台の傾斜角が調整可能とされたことを特徴とする半導体寸法計測装置。
  3. 請求項1又は2に記載の半導体寸法計測装置において、
    前記撮像装置の光軸方向が調整可能とされたことを特徴とする半導体寸法計測装置。
  4. 請求項2又は3に記載の半導体寸法計測装置において、
    前記保持台に保持された前記ウェハ分割片が前記撮像装置の光軸に垂直な面に対し斜めに配置されることで、前記ウェハ分割片の形状が手前側から奥側にかけて縮小するように変形して撮像される撮像画像に対し、前記寸法計算装置は、前記ウェハ分割片の撮像画像上での変形を補正して前記ウェハ分割片の実際の寸法を求めることを特徴とする半導体寸法計測装置。
  5. 請求項1乃至4のいずれか一つに記載の半導体寸法計測装置において、
    少なくとも前記保持台と前記撮像装置が、外乱光を遮断する筐体内に収納されたことを特徴とする半導体寸法計測装置。
  6. 請求項1乃至5のいずれか一つに記載の半導体寸法計測装置において、
    前記ウェハ分割片を間接的に照明する照明器が設けられたことを特徴とする半導体寸法計測装置。
  7. 請求項1乃至6のいずれか一つに記載の半導体寸法計測装置において、
    前記寸法計算装置により求められた前記ウェハ分割片の寸法に基づいて前記ウェハ分割片の半導体チップ数を求める半導体チップ数計測装置をさらに備えたことを特徴とする半導体寸法計測装置。
  8. 請求項7に記載の半導体寸法計測装置において、
    前記半導体チップ数計測装置は前記ウェハ分割片の欠損部を除外して前記半導体チップ数を求めることを特徴とする半導体寸法計測装置。
  9. 請求項1乃至8のいずれか一つに記載の半導体寸法計測装置において、
    半導体レーザチップ又は発光ダイオードチップを構成要素とするウェハ分割片を計測対象とすることを特徴とする半導体寸法計測装置。
JP2008176047A 2008-07-04 2008-07-04 半導体寸法計測装置 Expired - Fee Related JP5047081B2 (ja)

Priority Applications (1)

Application Number Priority Date Filing Date Title
JP2008176047A JP5047081B2 (ja) 2008-07-04 2008-07-04 半導体寸法計測装置

Applications Claiming Priority (1)

Application Number Priority Date Filing Date Title
JP2008176047A JP5047081B2 (ja) 2008-07-04 2008-07-04 半導体寸法計測装置

Publications (2)

Publication Number Publication Date
JP2010014611A true JP2010014611A (ja) 2010-01-21
JP5047081B2 JP5047081B2 (ja) 2012-10-10

Family

ID=41700850

Family Applications (1)

Application Number Title Priority Date Filing Date
JP2008176047A Expired - Fee Related JP5047081B2 (ja) 2008-07-04 2008-07-04 半導体寸法計測装置

Country Status (1)

Country Link
JP (1) JP5047081B2 (ja)

Cited By (1)

* Cited by examiner, † Cited by third party
Publication number Priority date Publication date Assignee Title
JP2017194410A (ja) * 2016-04-22 2017-10-26 大日本印刷株式会社 検査装置及び検査方法

Citations (1)

* Cited by examiner, † Cited by third party
Publication number Priority date Publication date Assignee Title
JP2000205841A (ja) * 1999-01-14 2000-07-28 Hitachi Cable Ltd ウエハ形状認識方法

Patent Citations (1)

* Cited by examiner, † Cited by third party
Publication number Priority date Publication date Assignee Title
JP2000205841A (ja) * 1999-01-14 2000-07-28 Hitachi Cable Ltd ウエハ形状認識方法

Cited By (1)

* Cited by examiner, † Cited by third party
Publication number Priority date Publication date Assignee Title
JP2017194410A (ja) * 2016-04-22 2017-10-26 大日本印刷株式会社 検査装置及び検査方法

Also Published As

Publication number Publication date
JP5047081B2 (ja) 2012-10-10

Similar Documents

Publication Publication Date Title
KR101469403B1 (ko) 하전 입자선 장치
JP5041303B2 (ja) 形状測定装置及び形状測定方法
JP2013011856A (ja) 撮像システムおよびその制御方法
US8810799B2 (en) Height-measuring method and height-measuring device
KR102717443B1 (ko) 기판의 위치 맞춤 방법
JP5765651B2 (ja) 3次元測定装置
JP2011196732A (ja) 波面収差測定方法及びその装置
JP2005070225A (ja) 表面画像投影装置及び表面画像投影方法
JP2020101743A (ja) 共焦点顕微鏡、及びその撮像方法
JP5047081B2 (ja) 半導体寸法計測装置
JP2012242138A (ja) 形状計測装置
JP5531883B2 (ja) 調整方法
JP2007327836A (ja) 外観検査装置及び方法
JP2012026816A (ja) 寸法測定方法および装置
JP2010243212A (ja) 傾斜検出方法、および傾斜検出装置
JP5544894B2 (ja) ウエハ検査装置及びウエハ検査方法
JP2018109550A (ja) 電子部品搬送装置および電子部品検査装置
JP3823488B2 (ja) Icリード浮き検査装置及び検査方法
JP5708501B2 (ja) 検出方法および検出装置
JP2000266682A (ja) 画像取込み装置
JP2009258187A (ja) 光学顕微鏡装置及び光学顕微鏡用データ処理装置
JP2017053775A (ja) 光透過性を備えた物体内部の撮像装置および検査装置
JP5280918B2 (ja) 形状測定装置
JP2007225403A (ja) 距離計測装置の調整機構およびそれを備えた立体形状認識システム
JP2011018864A (ja) 位置検出装置、基板重ね合わせ装置及び位置検出方法

Legal Events

Date Code Title Description
A621 Written request for application examination

Free format text: JAPANESE INTERMEDIATE CODE: A621

Effective date: 20100826

A977 Report on retrieval

Free format text: JAPANESE INTERMEDIATE CODE: A971007

Effective date: 20120215

A131 Notification of reasons for refusal

Free format text: JAPANESE INTERMEDIATE CODE: A131

Effective date: 20120221

A521 Request for written amendment filed

Free format text: JAPANESE INTERMEDIATE CODE: A523

Effective date: 20120306

RD02 Notification of acceptance of power of attorney

Free format text: JAPANESE INTERMEDIATE CODE: A7422

Effective date: 20120306

TRDD Decision of grant or rejection written
A01 Written decision to grant a patent or to grant a registration (utility model)

Free format text: JAPANESE INTERMEDIATE CODE: A01

Effective date: 20120626

A01 Written decision to grant a patent or to grant a registration (utility model)

Free format text: JAPANESE INTERMEDIATE CODE: A01

A61 First payment of annual fees (during grant procedure)

Free format text: JAPANESE INTERMEDIATE CODE: A61

Effective date: 20120717

FPAY Renewal fee payment (event date is renewal date of database)

Free format text: PAYMENT UNTIL: 20150727

Year of fee payment: 3

R150 Certificate of patent or registration of utility model

Ref document number: 5047081

Country of ref document: JP

Free format text: JAPANESE INTERMEDIATE CODE: R150

Free format text: JAPANESE INTERMEDIATE CODE: R150

LAPS Cancellation because of no payment of annual fees