JP2010014319A - 竪型溶解炉および溶銑製造方法 - Google Patents
竪型溶解炉および溶銑製造方法 Download PDFInfo
- Publication number
- JP2010014319A JP2010014319A JP2008174028A JP2008174028A JP2010014319A JP 2010014319 A JP2010014319 A JP 2010014319A JP 2008174028 A JP2008174028 A JP 2008174028A JP 2008174028 A JP2008174028 A JP 2008174028A JP 2010014319 A JP2010014319 A JP 2010014319A
- Authority
- JP
- Japan
- Prior art keywords
- furnace
- tuyere
- oxygen
- injection pipe
- fuel gas
- Prior art date
- Legal status (The legal status is an assumption and is not a legal conclusion. Google has not performed a legal analysis and makes no representation as to the accuracy of the status listed.)
- Granted
Links
Images
Classifications
-
- Y—GENERAL TAGGING OF NEW TECHNOLOGICAL DEVELOPMENTS; GENERAL TAGGING OF CROSS-SECTIONAL TECHNOLOGIES SPANNING OVER SEVERAL SECTIONS OF THE IPC; TECHNICAL SUBJECTS COVERED BY FORMER USPC CROSS-REFERENCE ART COLLECTIONS [XRACs] AND DIGESTS
- Y02—TECHNOLOGIES OR APPLICATIONS FOR MITIGATION OR ADAPTATION AGAINST CLIMATE CHANGE
- Y02P—CLIMATE CHANGE MITIGATION TECHNOLOGIES IN THE PRODUCTION OR PROCESSING OF GOODS
- Y02P10/00—Technologies related to metal processing
- Y02P10/20—Recycling
Landscapes
- Manufacture Of Iron (AREA)
- Vertical, Hearth, Or Arc Furnaces (AREA)
- Manufacture And Refinement Of Metals (AREA)
Abstract
【解決手段】炉頂部から鉄源と炭材を装入し、炉下部に設けられた複数の羽口から熱風を吹き込み、炭材の燃焼熱で鉄源を溶解することにより溶銑を製造する竪型溶解炉において、少なくとも一部の羽口内に、酸素噴射管Aと燃料ガス噴射管Bを設置するとともに、当該羽口の先端内径をdとした場合、酸素噴射管Aから噴射される酸素と燃料ガス噴射管Bから噴射される燃料ガスとが、羽口先端から炉中心方向における距離d以内の領域(但し、羽口内部の領域を含む)で接触するように構成した。噴射管A,Bから噴射される酸素と燃料ガスとの燃焼ガスにより羽口先近傍領域の雰囲気温度が上昇し、炭材の燃焼・発熱が促進されることで溶銑の生産性が向上する。
【選択図】図2
Description
また、本発明の他の目的は、羽口先近傍領域とともに、炉中心部領域での炭材の燃焼・発熱を促進し、溶銑をより高い生産性で製造することができる竪型溶解炉を提供することにある。
さらに、本発明の他の目的は、そのような竪型溶解炉を用いて、溶銑を高い生産性で安定的に製造することができる溶銑製造方法を提供することにある。
[1]炉頂部から鉄源と炭材を装入し、炉下部に設けられた複数の羽口から熱風を吹き込み、炭材の燃焼熱で鉄源を溶解することにより溶銑を製造する竪型溶解炉において、少なくとも一部の羽口内に、酸素噴射管と燃料ガス噴射管を設置するとともに、当該羽口の先端内径をdとした場合、前記酸素噴射管から炉内に向けて噴射される酸素と前記燃料ガス噴射管から炉内に向けて噴射される燃料ガスとが、羽口先端から炉中心方向における少なくとも距離d以内の領域(但し、羽口内部の領域を含む)で接触するように構成したことを特徴とする竪型溶解炉。
[3]上記[1]の竪型溶解炉において、酸素噴射管と燃料ガス噴射管を2重管状に設け、該2重管の外管を燃料ガス噴射管とし、内管を酸素噴射管とすることを特徴とする竪型溶解炉。
[4]上記[1]〜[3]のいずれかの竪型溶解炉において、酸素噴射管のノズル部がラバール状または先細状であることを特徴とする竪型溶解炉。
[6]上記[5]の溶銑製造方法において、燃料ガス噴射管から噴射する燃料ガスが、天然ガス、プロパンガス、製鉄プロセスガス、液体燃料気化ガスの1種または2種以上を主成分とすることを特徴とする溶銑製造方法。
[8]上記[5]〜[7]のいずれかの溶銑製造方法において、炉に装入する炭材の調和平均粒径dpが、炉内径Dに対してD/dp≧30を満足することを特徴とする溶銑製造方法。
ここで、本発明において酸素噴射管から噴射される酸素と燃料ガス噴射管から噴射される燃料ガスとが「接触する」とは、酸素噴射管および燃料ガス噴射管の噴射口(ノズル)から噴出する各々のガスが、噴射方向中心に対して片側10°(両側20°)の角度で拡がるガス拡散領域を形成した際に、酸素と燃料ガスのガス拡散領域どうしが一部でも重なり合う状態を指す。したがって、酸素噴射管の噴射口と燃料ガス噴射管の噴射口とが隣接していれば、実質的にそれら噴射口(ノズル先)の位置が、ガスどうしの「接触する」位置ということになる。
また、本発明において、酸素噴射管と燃料ガス噴射管を2重管状に設け、この2重管の外管を酸素噴射管、内管を燃料ガス噴射管とする構造とした場合には、酸素と燃料ガスの接触状態が高まるため燃焼効率がより向上し、このため、羽口先近傍領域での炭材の燃焼・発熱をより効果的に促進させることができる。
また、以上のような竪型溶解炉を用いた本発明の溶銑製造方法によれば、羽口先近傍領域の雰囲気温度を上昇させて、同領域での炭材の燃焼・発熱を促進させることができ、さらには羽口先から炉中心部までの広い領域で炭材の燃焼・発熱を促進させることができるので、溶銑を高い生産性で安定的に製造することができる。
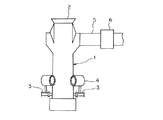
図において、1は炉体、2は炉頂に設けられる原料装入部、3は炉下部の周方向において適当な間隔で設けられる複数の羽口(送風羽口)、4はこの羽口3に熱風を供給する熱風管、5は炉体上部に接続される排気ダクト、6は前記排気ダクト5の途中に設けられる集塵装置である。
この溶解炉の大きさ等に本質的な制限はないが、実質的に操業可能若しくは操業上有利なサイズとして、通常は、羽口位置での炉内径が2〜4m程度、炉高が5〜10m程度である。羽口数に制限はないが、通常、4〜12本程度である。
酸素噴射管Aと燃料ガス噴射管Bを設置するのは、炉体1が有する全部の羽口3でもよいし、一部の羽口3でもよい。また、適用する羽口を周期的に変えてもよい。
図2は、本発明の一実施形態における羽口構造を示すもので、図2(a)は羽口の縦断面図、図2(b)は羽口の正面図である。図において、30が羽口管、31が羽口先端である。
この実施形態では、酸素噴射管Aと燃料ガス噴射管Bを並列状に設置したものである。上記のように酸素噴射管Aと燃料ガス噴射管Bは、それぞれから噴射される酸素と燃料ガスとが、羽口先端31から炉中心方向における距離d以内の領域で接触する(したがって、少なくとも一部において混合し、燃焼する)ように配置される。ここで、羽口先端31から炉中心方向における距離d以内の領域には、羽口内部の領域も含まれる。本実施形態では、両噴射管A,Bからそれぞれ噴射される酸素と燃料ガスは、噴射後すぐに羽口内部の領域で接触し、燃焼する。
酸素噴射管Aと燃料ガス噴射管Bは、その各先端が羽口先端31から突出しないように設置される。これら噴射管A,Bの先端が羽口先端31から突出すると、羽口先のコークス充填層内を流下する流鉄によって損耗を生じるので望ましくない。
L<d/(2tanθ)
但し、θ:ノズル(噴射口)先での噴出ガスの片側の拡がり角度(ガス噴射方向中心に対する片側の拡がり角度)であって、10°とする。
本実施形態では、酸素噴射管Aと燃料ガス噴射管Bを2重管状(断面同心円状)に設け、この2重管構造の外管を酸素噴射管Aとし、内管を燃料ガス噴射管Bとしたものである。
このような構造とすることにより、酸素噴射管Aから噴射される酸素と燃料ガス噴射管Bから噴射される燃料ガスの接触状態がより高まるため、燃焼効率がより向上する。このため、羽口先近傍領域でのコークスの燃焼・発熱をより効果的に促進させることができる。
本実施形態では、酸素噴射管Aと燃料ガス噴射管Bを2重管状(断面同心円状)に設け、この2重管構造の外管を燃料ガス噴射管Bとし、内管を酸素噴射管Aとしたものである。
このような構造とすることにより、上述したように、燃焼ガスにより羽口先近傍領域の雰囲気温度が上昇し、その領域でのコークスの燃焼・発熱が促進されるという効果が得られるとともに、さらに、次のような効果が得られる。羽口先で生じる燃焼ガス(燃料ガスと酸素および送風空気との燃焼で生じる燃焼ガス)が、酸素噴射管Aから噴射される酸素流を外側から包み込むことで酸素流の膨張・拡散が抑制される。すなわち、酸素噴射管Aから噴射される酸素流の外側に生成する燃焼ガスは、酸素ガスに較べて密度が小さく且つ動粘性係数が大きいため、酸素流の流速を減衰させず且つ酸素流の拡散を抑制し、酸素流の流速および直進性を維持させるに役立つ。このため酸素流は、十分な速度を保ちつつ、それほど拡散しない状態で炉内中心部領域に到達でき、炉中心部領域でのコークスの燃焼・発熱を促進させることができる。その結果、羽口先から炉中心部までの広い領域で、コークスの燃焼・発熱を促進でき、溶銑の生産性をより高めることができる。
本実施形態では、酸素噴射管Aと燃料ガス噴射管Bを2重管状(断面同心円状)に設け、この2重管構造の外管を燃料ガス噴射管Bとし、内管を酸素噴射管Aとするとともに、酸素噴射管Aのノズル部(吐出部)を、酸素を超音速で吐出可能なラバール状(図中、7が絞り部)としたものである。
酸素噴射管Aのノズル部(吐出部)は、ラバール状ではなく、先細状としてもよい。また、噴射される高速酸素流は、音速以下の流速であってもよい。また、図2,図3の実施形態においても、酸素噴射管Aのノズル部をラバール状または先細状とすることができる。
この溶銑製造方法では、炉頂部2から鉄源と炭材を装入し、羽口3から熱風を吹き込み、さらに酸素噴射管Aから酸素を、燃料ガス噴射管Bから燃料ガスをそれぞれ噴射し、炭材の燃焼熱で鉄源を溶解することにより溶銑を製造する。
燃料ガス噴射管Bから噴射する燃料ガスに特別な制限はないが、通常、天然ガス、プロパンガス、製鉄プロセスガス、液体燃料気化ガスの1種または2種以上を主成分とするものが用いられる。燃料ガス噴射管Bから噴射する燃料ガス量は、酸素噴射管Aから噴射する酸素によって完全燃焼する量以下とすることが好ましい。
炉に装入する炭材(コークスなど)の調和平均粒径dpは、炉内径Dに対してD/dp≧30、好ましくはD/dp≧40、より好ましくはD/dp≧50を満足することが望ましい。dpの小さい炭材の方が安価であるので、できるだけD/dpの大きい条件で操業することが、経済性の面からは好ましい。一方で、D/dpが大きいほど、炉中心部側には送風空気(酸素)が届きにくくなるので、炉中心部側での燃焼・発熱が不十分となるとともに、カーボンソリューションロス反応による吸熱が進みやすくなり、炉腹断面積当たりの生産性が低減傾向となる。したがって、本発明はこのようなD/dpの大きい条件において、その有用性が特に大きいと言える。
鉄源とコークスは、炉内に同時に装入してもよいし、交互に装入してもよい。また、主たる炉装入原料は、鉄系スクラップ、鉄含有ダスト/スラッジ塊成化物の1種以上の鉄源とコークスであるが、それ以外に、例えば、銑鉄、還元鉄、鉄鉱石等の鉄源、木炭や無煙炭等の炭材などを装入してもよい。
また、前記鉄含有スラッジは、酸化鉄及び/又は金属鉄を含むスラッジであり、その種類に特に制限はないが、上述したような各種ダストが湿式集塵機で捕集されることでスラッジ化したものが、代表例として挙げられる。
前記水硬性バインダーとしては、例えば、ポルトランドセメント、高炉セメント、アルミナセメント、フライアッシュセメントなどの各種セメント、高炉水砕スラグ微粉末、生石灰などの1種以上を用いることができる。原料中の水硬性バインダーの配合量は、強度の発現及びスラグ生成量の抑制の観点から、一般に2〜25mass%程度とすることが好ましい。
また、生成するスラグ量をなるべく少なくするという観点から、原料中でのSiO2、Al2O3、CaO、MgOの合計量を25mass%以下とすることが好ましい。当然、これら成分は水硬性バインダーなどに含有されるものも含まれる。
水の量は原料の配合によっても異なるが、成形時に圧縮しても水がしみ出てこない最大水量が望ましい。定量的には、JIS−A−1101(コンクリートのスランプ測定方法)に準じた測定においてスランプが0である最大水量となるように調整することが好ましい。水の量が少なすぎると適切に成形できず、また水硬性バインダーの硬化も進行しない。一方、水の量が多すぎて成形時に水がしみ出てくると、その水の処理などに特別な対応が必要になるからである。
成形物の形状は任意であるが、炉に装入した際の粉化をなるべく抑えるために角部が少ない方が好ましい。また、成形物の大きさも任意であるが、あまり小さいと竪型溶解炉に装入した際に炉の圧力損失を増大させ、一方、あまり大きいと竪型溶解炉に装入した際に塊成化物の中心部の昇温遅れによる還元・溶解遅れを生じるので、一般には容積で20〜2000cm3程度のサイズが好ましい。
また、鉄含有ダスト/スラッジ塊成化物としては、上述したような水硬性バインダーを用いて成形体を水和硬化させる製法以外の方法で製造されたものでもよい。
鉄源には鉄系スクラップ90mass%+鉄含有ダスト/スラッジ塊成化物10mass%を用い、炭材には鋳物コークス40mass%+篩目40mmで篩った篩上の高炉コークス60mass%を用い、出銑温度1500〜1550℃、コークス比130〜200kg/t・pigの条件で操業を行った。
なお、発明例4で用いた酸素噴射管Aは、ノズル部がラバール状のものであり、酸素流のノズル出口流速が超音速(マッハ2程度)となるものである。
2 原料装入部
3 羽口
4 熱風管
5 排気ダクト
6 集塵装置
7 絞り部
30 羽口管
31 羽口先端
A 酸素噴射管
B 燃料ガス噴射管
Claims (8)
- 炉頂部から鉄源と炭材を装入し、炉下部に設けられた複数の羽口から熱風を吹き込み、炭材の燃焼熱で鉄源を溶解することにより溶銑を製造する竪型溶解炉において、
少なくとも一部の羽口内に、酸素噴射管と燃料ガス噴射管を設置するとともに、当該羽口の先端内径をdとした場合、前記酸素噴射管から炉内に向けて噴射される酸素と前記燃料ガス噴射管から炉内に向けて噴射される燃料ガスとが、羽口先端から炉中心方向における少なくとも距離d以内の領域(但し、羽口内部の領域を含む)で接触するように構成したことを特徴とする竪型溶解炉。 - 酸素噴射管と燃料ガス噴射管を2重管状に設け、該2重管の外管を酸素噴射管とし、内管を燃料ガス噴射管とすることを特徴とする請求項1に記載の竪型溶解炉。
- 酸素噴射管と燃料ガス噴射管を2重管状に設け、該2重管の外管を燃料ガス噴射管とし、内管を酸素噴射管とすることを特徴とする請求項1に記載の竪型溶解炉。
- 酸素噴射管のノズル部がラバール状または先細状であることを特徴とする請求項1〜3のいずれかに記載の竪型溶解炉。
- 請求項1〜4のいずれかに記載の竪型溶解炉を用いた溶銑製造方法であって、
鉄源として、鉄系スクラップ、鉄含有ダストおよび/または鉄含有スラッジの塊成化物の1種以上を炉に装入するとともに、
酸素噴射管から酸素を、燃料ガス噴射管から燃料ガスを、それぞれ炉内に向けて噴射することを特徴とする溶銑製造方法。 - 燃料ガス噴射管から噴射する燃料ガスが、天然ガス、プロパンガス、製鉄プロセスガス、液体燃料気化ガスの1種または2種以上を主成分とすることを特徴とする請求項5に記載の溶銑製造方法。
- 酸素噴射管から、ノズル出口流速が超音速の酸素ジェットを噴射することを特徴とする請求項5または6に記載の溶銑製造方法。
- 炉に装入する炭材の調和平均粒径dpが、炉内径Dに対してD/dp≧30を満足することを特徴とする請求項5〜7のいずれかに記載の溶銑製造方法。
Priority Applications (1)
| Application Number | Priority Date | Filing Date | Title |
|---|---|---|---|
| JP2008174028A JP5125819B2 (ja) | 2008-07-02 | 2008-07-02 | 竪型溶解炉および溶銑製造方法 |
Applications Claiming Priority (1)
| Application Number | Priority Date | Filing Date | Title |
|---|---|---|---|
| JP2008174028A JP5125819B2 (ja) | 2008-07-02 | 2008-07-02 | 竪型溶解炉および溶銑製造方法 |
Publications (3)
| Publication Number | Publication Date |
|---|---|
| JP2010014319A true JP2010014319A (ja) | 2010-01-21 |
| JP2010014319A5 JP2010014319A5 (ja) | 2012-09-06 |
| JP5125819B2 JP5125819B2 (ja) | 2013-01-23 |
Family
ID=41700588
Family Applications (1)
| Application Number | Title | Priority Date | Filing Date |
|---|---|---|---|
| JP2008174028A Expired - Fee Related JP5125819B2 (ja) | 2008-07-02 | 2008-07-02 | 竪型溶解炉および溶銑製造方法 |
Country Status (1)
| Country | Link |
|---|---|
| JP (1) | JP5125819B2 (ja) |
Cited By (1)
| Publication number | Priority date | Publication date | Assignee | Title |
|---|---|---|---|---|
| JP2016030833A (ja) * | 2014-07-25 | 2016-03-07 | Jfeスチール株式会社 | 高炉の送風開始方法および炉床部昇温用バーナー |
Families Citing this family (1)
| Publication number | Priority date | Publication date | Assignee | Title |
|---|---|---|---|---|
| JP2924709B2 (ja) | 1995-05-18 | 1999-07-26 | 日立電線株式会社 | テープアキュームレート装置 |
Citations (7)
| Publication number | Priority date | Publication date | Assignee | Title |
|---|---|---|---|---|
| JPS6217107A (ja) * | 1985-07-15 | 1987-01-26 | Goto Gokin Kk | 羽口 |
| JPS6236390U (ja) * | 1985-04-15 | 1987-03-04 | ||
| JPH1053804A (ja) * | 1996-06-07 | 1998-02-24 | Kawasaki Steel Corp | 高炉への微粉炭吹き込みバーナ |
| JPH10237514A (ja) * | 1997-02-21 | 1998-09-08 | Kawasaki Steel Corp | 高炉の微粉炭吹込み用バーナー |
| JP2002121609A (ja) * | 2000-08-10 | 2002-04-26 | Nkk Corp | 微粉炭の多量吹込みによる高炉操業方法 |
| JP2005213590A (ja) * | 2004-01-29 | 2005-08-11 | Jfe Steel Kk | 高炉への固体燃料吹き込み方法及び吹き込みランス |
| JP2006312757A (ja) * | 2005-05-06 | 2006-11-16 | Jfe Steel Kk | 気体還元材吹込み用のランス、高炉および高炉操業方法 |
-
2008
- 2008-07-02 JP JP2008174028A patent/JP5125819B2/ja not_active Expired - Fee Related
Patent Citations (7)
| Publication number | Priority date | Publication date | Assignee | Title |
|---|---|---|---|---|
| JPS6236390U (ja) * | 1985-04-15 | 1987-03-04 | ||
| JPS6217107A (ja) * | 1985-07-15 | 1987-01-26 | Goto Gokin Kk | 羽口 |
| JPH1053804A (ja) * | 1996-06-07 | 1998-02-24 | Kawasaki Steel Corp | 高炉への微粉炭吹き込みバーナ |
| JPH10237514A (ja) * | 1997-02-21 | 1998-09-08 | Kawasaki Steel Corp | 高炉の微粉炭吹込み用バーナー |
| JP2002121609A (ja) * | 2000-08-10 | 2002-04-26 | Nkk Corp | 微粉炭の多量吹込みによる高炉操業方法 |
| JP2005213590A (ja) * | 2004-01-29 | 2005-08-11 | Jfe Steel Kk | 高炉への固体燃料吹き込み方法及び吹き込みランス |
| JP2006312757A (ja) * | 2005-05-06 | 2006-11-16 | Jfe Steel Kk | 気体還元材吹込み用のランス、高炉および高炉操業方法 |
Cited By (1)
| Publication number | Priority date | Publication date | Assignee | Title |
|---|---|---|---|---|
| JP2016030833A (ja) * | 2014-07-25 | 2016-03-07 | Jfeスチール株式会社 | 高炉の送風開始方法および炉床部昇温用バーナー |
Also Published As
| Publication number | Publication date |
|---|---|
| JP5125819B2 (ja) | 2013-01-23 |
Similar Documents
| Publication | Publication Date | Title |
|---|---|---|
| CN103512351B (zh) | 一种金属化烧结矿的烧结装置及其生产方法 | |
| JPH0778252B2 (ja) | 溶融シャフト炉による製鉄におけるまたは関する改良 | |
| WO2016173248A1 (en) | Flash ironmaking system and method | |
| JP5125819B2 (ja) | 竪型溶解炉および溶銑製造方法 | |
| JP2004183070A (ja) | 溶鉄の製法 | |
| CN103834752A (zh) | 一种热态熔渣在线改质装置 | |
| JP2014505169A (ja) | 溶銑製造装置及びそれを利用した溶銑の製造方法 | |
| RU2343199C1 (ru) | Способ промывки горна доменной печи | |
| KR20040057191A (ko) | 일반탄을 이용한 용철 제조 공정에서 분환원철 및 분소성부원료의 괴성체를 이용한 용철제조방법 | |
| JP2008111172A (ja) | 高炉の操業方法 | |
| JP5515242B2 (ja) | 竪型溶解炉を用いた溶銑製造方法 | |
| JP5439756B2 (ja) | 竪型溶解炉を用いた溶銑製造方法 | |
| JP5181878B2 (ja) | 溶銑製造方法 | |
| JP5251296B2 (ja) | 竪型溶解炉を用いた溶銑製造方法 | |
| JP5910182B2 (ja) | 竪型溶解炉を用いた溶銑の製造方法 | |
| JP5262354B2 (ja) | 竪型溶解炉を用いた溶銑製造方法 | |
| JP5251297B2 (ja) | 竪型溶解炉を用いた溶銑製造方法 | |
| JP5181875B2 (ja) | 竪型溶解炉を用いた溶銑製造方法 | |
| CN203794916U (zh) | 一种热态熔渣在线改质装置 | |
| JP5082678B2 (ja) | 竪型スクラップ溶解炉を用いた溶銑製造方法 | |
| KR101918363B1 (ko) | 휘발물질을 포함하는 탄재를 포함하는 탄재 내장 브리켓 및 산화분위기에서의 이의 환원방법 | |
| CN115867679A (zh) | 用于炼铁生产的高炉 | |
| CN204455172U (zh) | 冶炼设备 | |
| CN109439915A (zh) | 一种利用高炉高温熔渣显热在线处理含锌粉尘的方法及其应用 | |
| JP2014015653A (ja) | 銑鉄製造方法及び銑鉄製造炉 |
Legal Events
| Date | Code | Title | Description |
|---|---|---|---|
| A621 | Written request for application examination |
Free format text: JAPANESE INTERMEDIATE CODE: A621 Effective date: 20110421 |
|
| A521 | Request for written amendment filed |
Free format text: JAPANESE INTERMEDIATE CODE: A523 Effective date: 20120724 |
|
| TRDD | Decision of grant or rejection written | ||
| A01 | Written decision to grant a patent or to grant a registration (utility model) |
Free format text: JAPANESE INTERMEDIATE CODE: A01 Effective date: 20121002 |
|
| A01 | Written decision to grant a patent or to grant a registration (utility model) |
Free format text: JAPANESE INTERMEDIATE CODE: A01 |
|
| A61 | First payment of annual fees (during grant procedure) |
Free format text: JAPANESE INTERMEDIATE CODE: A61 Effective date: 20121015 |
|
| R150 | Certificate of patent or registration of utility model |
Free format text: JAPANESE INTERMEDIATE CODE: R150 Ref document number: 5125819 Country of ref document: JP Free format text: JAPANESE INTERMEDIATE CODE: R150 |
|
| FPAY | Renewal fee payment (event date is renewal date of database) |
Free format text: PAYMENT UNTIL: 20151109 Year of fee payment: 3 |
|
| R250 | Receipt of annual fees |
Free format text: JAPANESE INTERMEDIATE CODE: R250 |
|
| LAPS | Cancellation because of no payment of annual fees |
