JP2010014067A - 内燃機関のシリンダブロック - Google Patents

内燃機関のシリンダブロック Download PDF

Info

Publication number
JP2010014067A
JP2010014067A JP2008176184A JP2008176184A JP2010014067A JP 2010014067 A JP2010014067 A JP 2010014067A JP 2008176184 A JP2008176184 A JP 2008176184A JP 2008176184 A JP2008176184 A JP 2008176184A JP 2010014067 A JP2010014067 A JP 2010014067A
Authority
JP
Japan
Prior art keywords
cylinder
cooling water
cylinder block
internal combustion
combustion engine
Prior art date
Legal status (The legal status is an assumption and is not a legal conclusion. Google has not performed a legal analysis and makes no representation as to the accuracy of the status listed.)
Granted
Application number
JP2008176184A
Other languages
English (en)
Other versions
JP5062071B2 (ja
Inventor
Toru Kitamura
融 北村
Hideshi Hashizume
秀史 橋爪
Current Assignee (The listed assignees may be inaccurate. Google has not performed a legal analysis and makes no representation or warranty as to the accuracy of the list.)
Toyota Motor Corp
Original Assignee
Toyota Motor Corp
Priority date (The priority date is an assumption and is not a legal conclusion. Google has not performed a legal analysis and makes no representation as to the accuracy of the date listed.)
Filing date
Publication date
Application filed by Toyota Motor Corp filed Critical Toyota Motor Corp
Priority to JP2008176184A priority Critical patent/JP5062071B2/ja
Publication of JP2010014067A publication Critical patent/JP2010014067A/ja
Application granted granted Critical
Publication of JP5062071B2 publication Critical patent/JP5062071B2/ja
Expired - Fee Related legal-status Critical Current
Anticipated expiration legal-status Critical

Links

Images

Landscapes

  • Cylinder Crankcases Of Internal Combustion Engines (AREA)

Abstract

【課題】燃焼室に近いシリンダボア壁の上部の効果的な冷却が可能であり、しかも、低コストで信頼性の高い内燃機関のシリンダブロックを提供することを目的とする。
【解決手段】多気筒内燃機関のシリンダボア11aの周囲を囲むように形成されたウォータジャケット20には、シリンダ列方向の一端側から冷却水が導入されるようになっている。ウォータジャケット20には、シリンダ軸方向の上方へ向かう冷却水の流れを形成する整流部22が複数設けられている。整流部22は、シリンダブロック10の成形時に同時にシリンダボア11aの外壁に一体形成される。整流部22は、シリンダ軸方向に沿った深さが浅く形成された部分となっている。
【選択図】図2

Description

本発明は、自動車用エンジン等の内燃機関に使用されるシリンダブロックの構造に関する。
自動車用エンジン等の内燃機関に使用されるシリンダブロックには、ウォータポンプにより圧送される冷却水を流通させるウォータジャケット(冷却水通路)が設けられる。ウォータジャケットは、燃焼室からの熱により加熱されたシリンダボア壁(シリンダボアの外壁)を冷却するために、シリンダボア壁の周囲を囲むように形成される。
シリンダブロックにおいては、燃焼室に近いシリンダボア壁の上部の効果的な冷却を図ることが重要となる。従来では、ウォータジャケットにシリンダ軸方向の上方へ冷却水を導くための整流部材を設けた技術が提案されている(例えば、特許文献1参照)。
実開昭62−135842号公報
しかしながら、上記特許文献1に示される従来例では、整流部材がシリンダボア壁とは別の部材により構成されるため、次のような点が懸念される。すなわち、整流部材をシリンダボア壁の所定位置に取り付ける作業が必要になるため、その分、シリンダブロックの製造コストが増加してしまう。また、シリンダボア壁に対する整流部材の位置が変動する可能性があり、冷却水の流れが変化して所望の冷却性能が得られなくなることが懸念される。
本発明は、そのような問題点を鑑みてなされたものであり、燃焼室に近いシリンダボア壁の上部の効果的な冷却が可能であり、しかも、低コストで信頼性の高い内燃機関のシリンダブロックを提供することを目的とする。
本発明は、上述の課題を解決するための手段を以下のように構成している。すなわち、本発明は、多気筒内燃機関のシリンダボアの周囲を囲むように形成された冷却水通路を備え、上記冷却水通路にシリンダ列方向の一端側から冷却水を導入するように構成された内燃機関のシリンダブロックにおいて、上記冷却水通路には、シリンダ軸方向の上方へ向かう冷却水の流れを形成する整流部が複数設けられ、上記整流部は、シリンダブロックの成形時に同時にシリンダボアの外壁に一体形成されることを特徴としている。
上記構成によれば、整流部によって冷却水通路に導入された冷却水がシリンダ軸方向の上方へ向けて案内されるため、燃焼室に近いシリンダボアの外壁の上部を効果的に冷却することができる。さらに、整流部が特別な機械加工を施さなくても形成されるので、整流部を別部材によって構成する上記従来例の場合に比べて、整流部を容易に製作することができ、シリンダブロックの製造コストの低減を図ることができる。しかも、整流部はシリンダブロックに一体形成されるので、シリンダボアの外壁に対する整流部材の位置が変動することはない。したがって、整流部による安定した整流作用が得られ、信頼性の高いシリンダブロックが得られる。
本発明において、シリンダブロックは、鋳造成形されるものであって、その鋳造時に上記整流部が同時に成形されることが好ましい。つまり、整流部は、鋳造後のそのままの状態(粗材の状態)で使用される。この構成では、整流部がシリンダブロックの鋳造時に同時に製作されるので、整流部を容易に製作することができ、シリンダブロックの製造コストの低減を図ることができる。
また、本発明において、上記整流部は、シリンダ軸方向に沿った深さが浅く形成された部分となっていることが好ましい。この構成によれば、整流部で冷却水の流路面積が絞られるため、冷却水が整流部を通過することで冷却水の流速が増加する。これにより、燃焼室に近いシリンダボアの外壁の上部をさらに効果的に冷却することができる。
また、本発明において、上記整流部は、シリンダ列方向の最も一端側に配置される気筒を除く各気筒に設けられ、冷却水の流れ方向の上流側から下流側へ向かうほど、シリンダ軸方向に沿った深さが浅くなるように形成されていることが好ましい。冷却水の流れ方向の上流側に設けられる整流部のシリンダ軸方向に沿った深さを浅くし過ぎると、圧損が増大するため、下流側では冷却水の流速が低下してしまう。この構成によれば、冷却水の流れ方向の上流側から下流側にかけて、冷却水の流路面積が徐々に絞られるので、圧損の増大を回避でき、下流側において所望の流速を確保することが可能となる。
また、本発明において、上記整流部は、シリンダ列方向において互いに隣り合うヘッドボルト孔同士の中間位置に形成されていることが好ましい。つまり、整流部は、シリンダ列方向においてシリンダボアの中心に対応する位置に設けられている。ヘッドボルトの締め付け軸力は、冷却水通路の底部を介してシリンダボアの外壁に伝えられる。この場合、冷却水通路の深さが浅いほど、ヘッドボルトの締め付け軸力がシリンダボアの外壁に伝わりやすくなり、その結果、シリンダボアの変形が大きくなる。この構成によれば、冷却水通路の深さが浅い整流部がヘッドボルト孔から比較的遠く離れた箇所に設けられるので、冷却水通路の浅低化にともなうヘッドボルトの締め付け軸力によるシリンダボアの変形を抑制することができる。
また、本発明において、上記整流部の冷却水の流れ方向の上流側の案内面は、上方に向かうほど上記流れ方向の下流側に傾くように形成されていることが好ましい。この構成によれば、整流部の案内面により冷却水がシリンダ軸方向の上方へ導かれやすくなるため、整流部による整流作用を向上させることができる。これにより、燃焼室に近いシリンダボアの外壁の上部をより効果的に冷却することができる。
本発明によれば、整流部によって冷却水通路に導入された冷却水がシリンダ軸方向の上方へ向けて案内されるため、燃焼室に近いシリンダボアの外壁の上部を効果的に冷却することができる。さらに、整流部が特別な機械加工を施さなくても形成されるので、シリンダブロックの製造コストの低減を図ることができる。しかも、整流部はシリンダブロックに一体形成されるので、シリンダボアの外壁に対する整流部材の位置が変動することはない。したがって、整流部による安定した整流作用が得られ、信頼性の高いシリンダブロックが得られる。
本発明を実施するための最良の形態について添付図面を参照しながら説明する。
以下の実施形態では、自動車用直列4気筒ガソリンエンジンに使用されるシリンダブロックに本発明を適用した例について説明する。
図1は、実施形態に係る直列4気筒エンジンの各シリンダボア11a,11a,…、および、その周辺部を示すシリンダブロック10の平面図であって、シリンダ列、ウォータジャケット(冷却水通路)20の配置状態を示している(シリンダブロック10の外縁形状については省略している)。図1において、左端に位置する気筒を第1番気筒♯1、その右側に位置する気筒を第2番気筒♯2、そのさらに右側に位置する気筒を第3番気筒♯3、そして、右端に位置する気筒を第4番気筒♯4とする。また、図1において、下側を排気側とし、上側を吸気側とする。ただし、気筒番号や吸排気の形態は一例であって、これに限るものではない。
シリンダブロック10は、例えばアルミニウム合金製であって、図1に示すように、直列状態で配置された4つのシリンダバレル11,11,…が一体成形されて成るサイアミーズシリンダバレル12を備えている。このシリンダブロック10の頂面には、図示しないシリンダヘッドがシリンダヘッドガスケットを介して締結される。
サイアミーズシリンダバレル12は、各気筒のシリンダバレル11となる4つの円筒体を連続して直列に繋げた形状に形成されている。各シリンダバレル11は、ピストンが摺動するシリンダボア11aの外壁部分となっている。各シリンダバレル11には、シリンダボア11aの内面を構成する鋳鉄製のシリンダライナ11bが一体的に鋳込まれており、ピストンが摺接するシリンダボア11aの内面の機械的強度、耐摩耗性、耐熱性等が確保されるようになっている。
サイアミーズシリンダバレル12の外周側には、ブロック外壁部13が配置されている。ブロック外壁部13は、サイアミーズシリンダバレル12と所定の間隔をあけて対向するように形成されている。そして、サイアミーズシリンダバレル12の外壁面と、ブロック外壁部13の内壁面とによって、ウォータジャケット20が形成されている。
ウォータジャケット20は、サイアミーズシリンダバレル12(4つのシリンダバレル11,11,…)の周囲を囲むように設けられている。ウォータジャケット20は、シリンダヘッドの組み付け面(ヘッド載置面)となるデッキ面に開放されている。つまり、シリンダブロック10は、オープンデッキタイプに構成されている。そして、ウォータジャケット20の複数箇所には、シリンダ軸方向に沿った深さD(頂面から底面までの距離)が浅くなっている整流部22,22,…が設けられている。ウォータジャケット20の整流部22の詳細については後述する。
ブロック外壁部13のシリンダ列方向の一端側(図1における左端側)、つまり、第1番気筒♯1の近傍には、図示しないウォータポンプからの冷却水をウォータジャケット20に導入するための冷却水入口16が形成されている。この実施形態では、冷却水入口16は、ブロック外壁部13の下部に設けられている(図2参照)。また、冷却水入口16は、ブロック外壁部13の排気側寄りの部分に設けられている。
図1では、上方から見たときのウォータジャケット20における冷却水の主な流れ(水平な方向への流れ)を矢印で示している。具体的に、冷却水入口16から流入された冷却水は、この冷却水入口16の近傍に設けられるウォータジャケット20の冷却水導入部21に供給される。冷却水導入部21は、ウォータジャケット20の一端側で排気側の部分を外側へ拡げた形状となっている。
ウォータジャケット20の冷却水導入部21に導入された冷却水は、各シリンダバレル11の配列方向に沿ってサイアミーズシリンダバレル12の片側(図1における下側である排気側)を第1番気筒♯1から第4番気筒♯4に向かって流れる。次に、冷却水は、第4番気筒♯4の外周囲に沿って流れ方向が反転した後、再び、各シリンダバレル11の配列方向に沿ってサイアミーズシリンダバレル12の他方の片側(図1における上側である吸気側)を第1番気筒♯1に向かって流れるようになっている。第1番気筒♯1の周囲に戻った冷却水は、その後、この第1番気筒♯1の近傍に配置される冷却水出口18からシリンダヘッドに向かって流出されるようになっている。冷却水出口18は、シリンダヘッドガスケットとシリンダヘッドとにそれぞれ形成されており、シリンダブロック10からシリンダヘッドへの冷却水の流通が可能となっている。
また、ブロック外壁部13の複数箇所には、シリンダヘッドを一体的に組み付けるためのヘッドボルトが締め付けられるヘッドボルト孔17,17,…が形成されている。ヘッドボルト孔17は、各シリンダバレル11(各シリンダボア11a)の周囲に4つずつ配置されている。4つのシリンダボア11a,11a,…に対して、合計10のヘッドボルト孔17,17,…が設けられている。この場合、ヘッドボルト孔17は、吸気側と排気側とでほぼ対称な位置に配置されている。そして、ヘッドボルト孔17は、シリンダ列方向の両端部に2つずつ配置され、また、隣り合うシリンダボア11a,11a間(ボア間)に2つずつ配置されている。このように、ヘッドボルト孔17は、シリンダ列方向において、シリンダボア11aの端部に対応する位置には設けられているが、シリンダボア11aの中心(ボア中心)に対応する位置には設けられていない。
次に、この実施形態の特徴であるウォータジャケット20の整流部22について詳しく説明する。
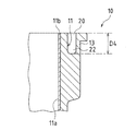
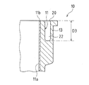
図2は、図1におけるX2方向から見たシリンダブロック10の内部を示す図であり、ウォータジャケット20の形状を示している(ウォータジャケット20の手前側に配置されるブロック外壁部13については省略している)。図3は、図1におけるX3−X3線に沿った断面図、図4は、図1におけるX4−X4線に沿った断面図、図5は、図1におけるX5−X5線に沿った断面図、図6は、図1におけるX6−X6線に沿った断面図である。
図1〜図6に示すように、ウォータジャケット20には、シリンダ軸方向の上方へ向かう冷却水の流れを形成するための整流部22が複数(この実施形態では3つ)形成されている。具体的には、整流部22は、ウォータジャケット20の深さDが整流部22以外の底部(図3)に比べて浅くなっている部分となっている。言い換えれば、複数の突起がウォータジャケット20の底部から頂面側へ向けて延びており、突起によって冷却水の流路面積が絞られている。
この実施形態では、ウォータジャケット20の排気側の部分に整流部22が設けられている。上述したように、ウォータジャケット20の排気側の部分→吸気側の部分の順で冷却水が流れるため、整流部22は、ウォータジャケット20の比較的上流側の部分に設けられることになる。
整流部22は、シリンダ列方向の最も一端側に位置する第1番気筒#1を除く各気筒に設けられている。この場合、整流部22は、第2,第3,第4番気筒♯2,♯3,♯4の周囲に1つずつ設けられている。
また、整流部22は、シリンダ列方向においてシリンダボア11aの中心に対応する位置に設けられている。言い換えれば、整流部22は、ヘッドボルト孔17から比較的遠く離れた箇所、より具体的には、シリンダ列方向において互いに隣り合うヘッドボルト孔17,17の中間の位置に設けられている。
さらに、3つの整流部22,22,…におけるウォータジャケット20の深さDは、それぞれ異なっている。具体的には、ウォータジャケット20の深さDは、第2番気筒♯2の周囲の整流部22の深さD2(図4)→第3番気筒♯3の周囲の整流部22の深さD3(図5)→第4番気筒♯4の周囲の整流部22の深さD4(図6)の順で浅くなっている(D2<D3<D4)。このように、整流部22におけるウォータジャケット20の深さDは、ウォータジャケット20の冷却水の流れ方向の上流側から下流側に向かうほど漸次浅くなっている。
整流部22は、シリンダブロック10の製造過程において、次のようにして製作される。鋳造成形によりシリンダブロック10を製造する際、ウォータジャケット20は成形型により製作される。この場合、ウォータジャケット20の成形型は、シリンダ軸方向に沿って上方(図2等の上方)に向けて抜かれるため、鋳造に先立って、成形型の下部に整流部22と同じ形状の切欠きを予め形成しておけばよい。こうすれば、鋳造時、成形型の型抜きと同時にウォータジャケット20が成形され、また同時に整流部22が成形される。そして、このようにして製作された整流部22はそのままの状態(粗材の状態)で使用される。
この実施形態によれば、ウォータジャケット20に上述のような整流部22が設けられているので、シリンダブロック10において次のような作用効果が得られる。
整流部22が設けられるウォータジャケット20の排気側の部分では、冷却水入口16から導入された冷却水が整流部22によって案内され、例えば図2に矢印で示すようなシリンダ軸方向の上方へ向かう冷却水の流れが形成される。また、整流部22で冷却水の流路面積が絞られるため、整流部22を通過することで冷却水の流速が増加する。これにより、燃焼室に近いシリンダバレル11(シリンダボア11aの外壁)の上部を効果的に冷却することができる。
そして、整流部22におけるウォータジャケット20の深さDが冷却水の流れ方向の上流側から下流側に向かうほど浅くなるため、圧損を抑制しつつ、シリンダ軸方向の上方へ向かう冷却水の流れを確保することが可能となる。すなわち、冷却水の流れ方向の上流側に設けられる整流部22のシリンダ軸方向に沿った深さを浅くし過ぎると、流通抵抗が増大し、圧損が増大する結果、下流側では冷却水の流速が低下してしまう。この実施形態では、冷却水の流れ方向の上流側から下流側にかけて、冷却水の流路面積が徐々に絞られるので、圧損の増大を回避でき、下流側において所望の流速を確保することが可能となる。この場合、整流部22によりウォータジャケット20の上部における流速が速められた冷却水は、整流部22の設けられていないウォータジャケット20の吸気側の部分においても引き続きその流速を維持しながら流れる。このため、この実施形態では、ウォータジャケット20の比較的下流側の部分(この実施形態では吸気側の部分)には整流部22を設けないようにしている。
さらに、整流部22が特別な機械加工を施さなくても形成されるので、整流部を別部材(整流部材)によって構成する上記従来例の場合に比べて、整流部22を容易に製作することができ、シリンダブロック10の製造コストの低減を図ることができる。加えて、上記従来例の場合、シリンダバレル11に対し整流部を構成する別部材の位置が変動する可能性があり、冷却水の流れが変化して所望の冷却性能が得られなくなることが懸念される。これに対し、この実施形態では、整流部22がシリンダブロック10に一体形成されるので、シリンダバレル11に対する整流部22の位置が変動することは一切ない。したがって、整流部22による安定した整流作用が得られ、信頼性の高いシリンダブロック10が得られる。
また、整流部22は、ヘッドボルト孔17から比較的遠く離れた箇所に設けられるので、シリンダヘッドの組み付け時にヘッドボルトの締め付け軸力によるシリンダボア11aの変形を抑制することができる。詳細には、ヘッドボルトの締め付け軸力は、ウォータジャケット20の底部を介してシリンダボア11aの外壁となるシリンダバレル11に伝えられる。この場合、ウォータジャケット20の深さDが浅いほど、ヘッドボルトの締め付け軸力がシリンダバレル11に伝わりやすくなり、シリンダボア11aの変形量が増大することになる。この実施形態では、整流部22をシリンダ列方向で隣り合うヘッドボルト孔17,17の中間位置に設けることで、整流部22をヘッドボルト孔17,17から遠ざけるようにしている。これにより、整流部22を介してシリンダバレル11に伝わるヘッドボルトの締め付け軸力が抑制されるため、ウォータジャケット20の浅低化にともなうシリンダボア11aの変形を抑制することができる。
−他の実施形態−
以上、本発明の実施形態について説明したが、ここに示した実施形態は一例であり、さまざまに変形することが可能である。
整流部22の冷却水の流れ方向の上流側の案内面22aを次のような形状とすることで、整流部22による整流作用を向上させることができる。すなわち、整流部22の案内面22aを、図7に示すように、シリンダ軸方向の上方に向かうほど冷却水の流れ方向の下流側に傾くような形状とすることが好ましい。具体的には、図7に示す整流部22は、シリンダ軸方向の上方に向かうほど先細りするような形状となっており、案内面22aがシリンダ軸方向と平行ではなく、シリンダ軸方向に対し斜めに傾いている。この場合、案内面22aの傾斜角度を、複数の整流部22,22,…に対し同じ角度に設定してもよいし、異なる角度に設定してもよい。
このような案内面22aを設けることで、冷却水がシリンダ軸方向の上方へ導かれやすくなるため、整流部22による整流作用を向上させることができる。これにより、燃焼室に近いシリンダバレル11の上部をより効果的に冷却することができる。上記のような案内面22aを有する整流部22を製作するには、ウォータジャケット20の成形型の下部に整流部22に対応する切欠きを形成する際、案内面22aと同じ傾きの斜面を予め設けておけばよい。
整流部22をウォータジャケット20の比較的下流側となる吸気側の部分にも設ける構成としてもよい。上記実施形態では、ウォータジャケット20の吸気側の部分において、ウォータジャケット20の上部における冷却水の流速が維持されるとして、吸気側の部分には整流部22を設けなかった。しかし、ウォータジャケット20の吸気側の部分において、ウォータジャケット20の上部における冷却水の流速低下を未然に防ぐ観点から、整流部22をウォータジャケット20の吸気側の部分にも併せて設けることが好ましい。この場合、吸気側の整流部22は、ウォータジャケット20の深さが上記実施形態の第4番気筒♯4の排気側の整流部22と同じか、あるいはそれよりも浅くなるように形成することが可能である。また、吸気側の整流部22を各気筒に設けることが可能である。
上記実施形態で挙げたウォータジャケット20における冷却水の流れや、冷却水入口16の位置は一例であって、それ以外であってもよい。例えば、ウォータジャケット20における冷却水の流れは、吸気側の部分→排気側の部分の順で冷却水が流れるような形態であってもよい。この場合、整流部22をウォータジャケット20の比較的上流側となる吸気側の部分に設けることが好ましい。また、ウォータジャケット20における冷却水の流れは、シリンダ列方向の一端側から導入された冷却水がウォータジャケットの吸気側の部分と排気側の部分とに分かれて流れるような形態であってもよい。この場合、整流部22をウォータジャケット20の吸気側の部分および排気側の部分にそれぞれ設けることが好ましい。
上記実施形態で挙げた自動車用直列4気筒ガソリンエンジンは一例であって、それ以外の多気筒内燃機関にも本発明は適用可能である。例えば、自動車用に限らず、その他の用途に使用されるエンジンに対しても本発明は適用可能である。ディーゼルエンジンにも本発明は適用可能である。また、気筒数や、エンジン形式(直列型、V型、水平対向型等の別)についても特に限定されるものではない。さらに、サイアミーズ構造ではないシリンダブロックに対しても本発明は適用可能である。また、クローズドデッキ構造のシリンダブロックに対しても本発明は適用可能である。
実施形態に係るシリンダブロックを示す平面図である。 図1におけるX2方向から見たシリンダブロックの内部を示す図である。 図1におけるX3−X3線に沿った断面図である。 図1におけるX4−X4線に沿った断面図である。 図1におけるX5−X5線に沿った断面図である。 図1におけるX6−X6線に沿った断面図である。 他の実施形態で、図2に対応する図である。
符号の説明
10 シリンダブロック
11 シリンダバレル
11a シリンダボア
16 冷却水入口
17 ヘッドボルト孔
20 ウォータジャケット
22 整流部

Claims (6)

  1. 多気筒内燃機関のシリンダボアの周囲を囲むように形成された冷却水通路を備え、
    上記冷却水通路にシリンダ列方向の一端側から冷却水を導入するように構成された内燃機関のシリンダブロックにおいて、
    上記冷却水通路には、シリンダ軸方向の上方へ向かう冷却水の流れを形成する整流部が複数設けられ、
    上記整流部は、当該シリンダブロックの成形時に同時にシリンダボアの外壁に一体形成されることを特徴とする内燃機関のシリンダブロック。
  2. 請求項1に記載の内燃機関のシリンダブロックにおいて、
    当該シリンダブロックは、鋳造成形されるものであって、その鋳造時に上記整流部が同時に成形されることを特徴とする内燃機関のシリンダブロック。
  3. 請求項1または請求項2に記載の内燃機関のシリンダブロックにおいて、
    上記整流部は、シリンダ軸方向に沿った深さが浅く形成された部分となっていることを特徴とする内燃機関のシリンダブロック。
  4. 請求項3に記載の内燃機関のシリンダブロックにおいて、
    上記整流部は、シリンダ列方向の最も一端側に配置される気筒を除く各気筒に設けられ、冷却水の流れ方向の上流側から下流側へ向かうほど、シリンダ軸方向に沿った深さが浅くなるように形成されていることを特徴とする内燃機関のシリンダブロック。
  5. 請求項3または請求項4に記載の内燃機関のシリンダブロックにおいて、
    上記整流部は、シリンダ列方向において互いに隣り合うヘッドボルト孔同士の中間位置に形成されていることを特徴とする内燃機関のシリンダブロック。
  6. 請求項1〜請求項5のいずれか1つに記載の内燃機関のシリンダブロックにおいて、
    上記整流部の冷却水の流れ方向の上流側の案内面は、上方に向かうほど上記流れ方向の下流側に傾くように形成されていることを特徴とする内燃機関のシリンダブロック。
JP2008176184A 2008-07-04 2008-07-04 内燃機関のシリンダブロック Expired - Fee Related JP5062071B2 (ja)

Priority Applications (1)

Application Number Priority Date Filing Date Title
JP2008176184A JP5062071B2 (ja) 2008-07-04 2008-07-04 内燃機関のシリンダブロック

Applications Claiming Priority (1)

Application Number Priority Date Filing Date Title
JP2008176184A JP5062071B2 (ja) 2008-07-04 2008-07-04 内燃機関のシリンダブロック

Publications (2)

Publication Number Publication Date
JP2010014067A true JP2010014067A (ja) 2010-01-21
JP5062071B2 JP5062071B2 (ja) 2012-10-31

Family

ID=41700382

Family Applications (1)

Application Number Title Priority Date Filing Date
JP2008176184A Expired - Fee Related JP5062071B2 (ja) 2008-07-04 2008-07-04 内燃機関のシリンダブロック

Country Status (1)

Country Link
JP (1) JP5062071B2 (ja)

Cited By (11)

* Cited by examiner, † Cited by third party
Publication number Priority date Publication date Assignee Title
JP2011185110A (ja) * 2010-03-05 2011-09-22 Toyota Motor Corp 内燃機関の冷却装置
JP2012002102A (ja) * 2010-06-15 2012-01-05 Mazda Motor Corp エンジン構造
JP2012057493A (ja) * 2010-09-06 2012-03-22 Nissan Motor Co Ltd エンジンのウォータジャケット構造
WO2014129139A1 (ja) * 2013-02-21 2014-08-28 マツダ株式会社 多気筒エンジンの冷却装置
WO2015145961A1 (ja) * 2014-03-28 2015-10-01 マツダ株式会社 エンジンの冷却構造
WO2015159696A1 (ja) * 2014-04-14 2015-10-22 日産自動車株式会社 シリンダブロック
JP2016164376A (ja) * 2015-03-06 2016-09-08 愛知機械工業株式会社 シリンダブロックおよびこれを備える内燃機関並びにシリンダブロックの製造方法
JP2018109361A (ja) * 2016-12-28 2018-07-12 株式会社クボタ 多気筒エンジンの水冷構造
WO2019206558A1 (de) * 2018-04-27 2019-10-31 Bayerische Motoren Werke Aktiengesellschaft Flüssigkeitsgekühlte brennkraftmaschine
KR20190142003A (ko) * 2018-06-15 2019-12-26 지엠 글로벌 테크놀러지 오퍼레이션스 엘엘씨 디플렉터를 구비한 워터자켓
CN113494382A (zh) * 2020-04-08 2021-10-12 丰田自动车株式会社 内燃机

Citations (6)

* Cited by examiner, † Cited by third party
Publication number Priority date Publication date Assignee Title
JPS62135842U (ja) * 1986-02-21 1987-08-26
JPH04214951A (ja) * 1990-12-14 1992-08-05 Toyota Motor Corp 内燃機関の冷却装置
JPH0674090A (ja) * 1992-06-26 1994-03-15 Mazda Motor Corp エンジンの冷却装置
JPH0674089A (ja) * 1992-07-03 1994-03-15 Mazda Motor Corp エンジンの冷却装置
JPH06330808A (ja) * 1993-05-26 1994-11-29 Nissan Motor Co Ltd 水冷式エンジンのシリンダブロック構造
JPH07109952A (ja) * 1993-08-20 1995-04-25 Nissan Motor Co Ltd 水冷式内燃機関のシリンダブロック

Patent Citations (6)

* Cited by examiner, † Cited by third party
Publication number Priority date Publication date Assignee Title
JPS62135842U (ja) * 1986-02-21 1987-08-26
JPH04214951A (ja) * 1990-12-14 1992-08-05 Toyota Motor Corp 内燃機関の冷却装置
JPH0674090A (ja) * 1992-06-26 1994-03-15 Mazda Motor Corp エンジンの冷却装置
JPH0674089A (ja) * 1992-07-03 1994-03-15 Mazda Motor Corp エンジンの冷却装置
JPH06330808A (ja) * 1993-05-26 1994-11-29 Nissan Motor Co Ltd 水冷式エンジンのシリンダブロック構造
JPH07109952A (ja) * 1993-08-20 1995-04-25 Nissan Motor Co Ltd 水冷式内燃機関のシリンダブロック

Cited By (20)

* Cited by examiner, † Cited by third party
Publication number Priority date Publication date Assignee Title
JP2011185110A (ja) * 2010-03-05 2011-09-22 Toyota Motor Corp 内燃機関の冷却装置
JP2012002102A (ja) * 2010-06-15 2012-01-05 Mazda Motor Corp エンジン構造
JP2012057493A (ja) * 2010-09-06 2012-03-22 Nissan Motor Co Ltd エンジンのウォータジャケット構造
US9624816B2 (en) 2013-02-21 2017-04-18 Mazda Motor Corporation Cooling device for multi-cylinder engine
WO2014129139A1 (ja) * 2013-02-21 2014-08-28 マツダ株式会社 多気筒エンジンの冷却装置
JP2014163224A (ja) * 2013-02-21 2014-09-08 Mazda Motor Corp 多気筒エンジンの冷却構造
WO2015145961A1 (ja) * 2014-03-28 2015-10-01 マツダ株式会社 エンジンの冷却構造
JP2015190403A (ja) * 2014-03-28 2015-11-02 マツダ株式会社 エンジンの冷却構造
CN106103957A (zh) * 2014-03-28 2016-11-09 马自达汽车株式会社 发动机的冷却构造
US10202932B2 (en) 2014-03-28 2019-02-12 Mazda Motor Corporation Engine cooling structure
WO2015159696A1 (ja) * 2014-04-14 2015-10-22 日産自動車株式会社 シリンダブロック
JP2016164376A (ja) * 2015-03-06 2016-09-08 愛知機械工業株式会社 シリンダブロックおよびこれを備える内燃機関並びにシリンダブロックの製造方法
JP2018109361A (ja) * 2016-12-28 2018-07-12 株式会社クボタ 多気筒エンジンの水冷構造
WO2019206558A1 (de) * 2018-04-27 2019-10-31 Bayerische Motoren Werke Aktiengesellschaft Flüssigkeitsgekühlte brennkraftmaschine
KR20190142003A (ko) * 2018-06-15 2019-12-26 지엠 글로벌 테크놀러지 오퍼레이션스 엘엘씨 디플렉터를 구비한 워터자켓
KR102066202B1 (ko) * 2018-06-15 2020-01-14 지엠 글로벌 테크놀러지 오퍼레이션스 엘엘씨 디플렉터를 구비한 워터자켓
CN113494382A (zh) * 2020-04-08 2021-10-12 丰田自动车株式会社 内燃机
JP2021165550A (ja) * 2020-04-08 2021-10-14 トヨタ自動車株式会社 内燃機関
JP7255543B2 (ja) 2020-04-08 2023-04-11 トヨタ自動車株式会社 内燃機関
CN113494382B (zh) * 2020-04-08 2023-09-22 丰田自动车株式会社 内燃机

Also Published As

Publication number Publication date
JP5062071B2 (ja) 2012-10-31

Similar Documents

Publication Publication Date Title
JP5062071B2 (ja) 内燃機関のシリンダブロック
JP4187045B2 (ja) シリンダブロック
CN103967643A (zh) 用于内燃发动机的气缸盖
JP7079698B2 (ja) 内燃機関のシリンダヘッド
JP2007127066A (ja) 内燃機関の冷却構造及び水路形成部材
JP7339110B2 (ja) シリンダヘッド
US7770548B2 (en) Cooling structure of cylinder head
EP3034846A1 (en) Cylinder block
JP2006207459A (ja) 内燃機関の冷却構造及び水路形成部材
JP4192845B2 (ja) エンジンの冷却水通路構造
RU2602722C1 (ru) Газопровод для рециркуляции выхлопных газов
JP6062312B2 (ja) シリンダブロックの冷却構造
CN103967644B (zh) 用于内燃发动机的气缸盖
JP2014516151A (ja) 熱伝達装置
EP2713033B1 (en) Air-cooling type internal combustion engine and saddled vehicle having the same
JP2005048650A (ja) 内燃機関用ピストン
JP2013189872A (ja) 多気筒内燃機関
JP4383992B2 (ja) 内燃機関用ピストン
JP2008014263A (ja) 内燃機関の冷却構造及びその冷却構造に使用されるシリンダヘッドガスケット
JP3783580B2 (ja) 内燃機関のシリンダブロック
JP7553377B2 (ja) 内燃機関
JP7528469B2 (ja) シリンダブロック
EP4174303A1 (en) Cylinder head for internal combustion engine
JP7048657B2 (ja) ウォータジャケット
JP4134819B2 (ja) シリンダブロック

Legal Events

Date Code Title Description
A621 Written request for application examination

Free format text: JAPANESE INTERMEDIATE CODE: A621

Effective date: 20100906

A977 Report on retrieval

Free format text: JAPANESE INTERMEDIATE CODE: A971007

Effective date: 20110926

A131 Notification of reasons for refusal

Free format text: JAPANESE INTERMEDIATE CODE: A131

Effective date: 20111004

A521 Written amendment

Free format text: JAPANESE INTERMEDIATE CODE: A523

Effective date: 20111122

RD02 Notification of acceptance of power of attorney

Free format text: JAPANESE INTERMEDIATE CODE: A7422

Effective date: 20111122

TRDD Decision of grant or rejection written
A01 Written decision to grant a patent or to grant a registration (utility model)

Free format text: JAPANESE INTERMEDIATE CODE: A01

Effective date: 20120710

A01 Written decision to grant a patent or to grant a registration (utility model)

Free format text: JAPANESE INTERMEDIATE CODE: A01

A61 First payment of annual fees (during grant procedure)

Free format text: JAPANESE INTERMEDIATE CODE: A61

Effective date: 20120723

FPAY Renewal fee payment (event date is renewal date of database)

Free format text: PAYMENT UNTIL: 20150817

Year of fee payment: 3

LAPS Cancellation because of no payment of annual fees