JP2010008193A - 被測定物形状測定治具及び三次元形状測定方法 - Google Patents

被測定物形状測定治具及び三次元形状測定方法 Download PDF

Info

Publication number
JP2010008193A
JP2010008193A JP2008167087A JP2008167087A JP2010008193A JP 2010008193 A JP2010008193 A JP 2010008193A JP 2008167087 A JP2008167087 A JP 2008167087A JP 2008167087 A JP2008167087 A JP 2008167087A JP 2010008193 A JP2010008193 A JP 2010008193A
Authority
JP
Japan
Prior art keywords
measurement
measured
measuring
reference sphere
lens
Prior art date
Legal status (The legal status is an assumption and is not a legal conclusion. Google has not performed a legal analysis and makes no representation as to the accuracy of the status listed.)
Granted
Application number
JP2008167087A
Other languages
English (en)
Other versions
JP5059700B2 (ja
Inventor
Kotaro Hirano
宏太郎 平野
Hirofumi Kakiuchi
博文 垣内
Yoshiyuki Omori
義幸 大森
Current Assignee (The listed assignees may be inaccurate. Google has not performed a legal analysis and makes no representation or warranty as to the accuracy of the list.)
Mitutoyo Corp
Mitsutoyo Kiko Co Ltd
Original Assignee
Mitutoyo Corp
Mitsutoyo Kiko Co Ltd
Priority date (The priority date is an assumption and is not a legal conclusion. Google has not performed a legal analysis and makes no representation as to the accuracy of the date listed.)
Filing date
Publication date
Application filed by Mitutoyo Corp, Mitsutoyo Kiko Co Ltd filed Critical Mitutoyo Corp
Priority to JP2008167087A priority Critical patent/JP5059700B2/ja
Priority to US12/457,032 priority patent/US7869060B2/en
Priority to AT09163212T priority patent/ATE494525T1/de
Priority to DE602009000525T priority patent/DE602009000525D1/de
Priority to EP09163212A priority patent/EP2138803B1/en
Publication of JP2010008193A publication Critical patent/JP2010008193A/ja
Application granted granted Critical
Publication of JP5059700B2 publication Critical patent/JP5059700B2/ja
Expired - Fee Related legal-status Critical Current
Anticipated expiration legal-status Critical

Links

Images

Landscapes

  • Length Measuring Devices By Optical Means (AREA)
  • Length Measuring Devices With Unspecified Measuring Means (AREA)

Abstract

【課題】被測定物の表裏面の三次元測定を高精度かつ高速に行う。
【解決手段】レンズ20と基準球20Aと基準円筒30の三次元形状を表面側及び裏面側のいずれ側からでも表裏両面において測定可能な被測定物形状測定治具10を用いて、基準球20Aの中心点座標と、基準円筒30の所定距離H離れた2点の断面により構成される円のそれぞれの中心点座標と、レンズ20のR1面及びR2面のそれぞれの頂点座標Pr1,Pr2及び光軸L1,L2の方向を得て、R2面側測定データをY軸回りに180°回転させ、R1面側及びR2面側測定データを基準球20Aの中心点座標Osが一致するように平行移動させ、R1面に対するR2面の偏心d及び傾きθを求める。
【選択図】図1

Description

この発明は、三次元形状測定機等の測定機にてレンズ等の被測定物の表裏面の相対的な位置関係に基づいて、表裏面の偏心及び傾きを求めるための被測定物形状測定治具及び三次元形状測定方法に関する。
従来より、レンズの表裏面の偏心や傾きを求める方法として、例えば次のようなものが知られている。下記特許文献1に開示されている測定方法は、表面側及び裏面側から測定可能な被測定物保持治具を用いてレンズの三次元形状データと3つの基準球の中心点座標を測定し、基準球の中心点座標を基準にレンズの表裏面の三次元形状データを合成し、レンズ表裏面合成データからレンズの表面と裏面との間の偏心及び傾きを算出するとされている。
特開2006−78398号公報
しかしながら、上記特許文献1に開示されている測定方法では、3つの基準球を三次元測定して各中心点座標を得た後に、これらの中心点座標を基準にしてレンズ表裏面の三次元測定データを位置合わせし、レンズ表裏面の頂点の偏心及び傾きを測定するため、特に基準の三次元測定に時間がかかり、全体として三次元測定に時間がかかってしまうという問題がある。
本発明は、このような問題点に鑑みてなされたもので、被測定物の表裏面の三次元測定を高精度かつ高速に行うことができる被測定物形状測定治具及び三次元形状測定方法を提供することを目的とする。
上述した課題を解決し、目的を達成するため、本発明に係る被測定物形状測定治具は、第1面及びこれに対向する第2面を有する板状体と、前記第1面及び前記第2面のそれぞれにおいてその表面が外部に露出するように前記板状体に固定された基準球と、前記第1面及び前記第2面のそれぞれにおいてその外周表面が外部に露出するように前記板状体の側方に固定された基準円筒と、前記板状体を貫通するように形成された孔部を有し被測定物の表面及び裏面がそれぞれ前記第1面及び第2面において露出するように前記孔部において前記被測定物を保持する被測定物保持部とを備えたことを特徴とする。
本発明に係る被測定物形状測定治具は、上記のように構成することにより、基準球と基準円筒の三次元形状測定及び二次元形状測定により被測定物の基準面(参照面)を得ることができるので、被測定物の表裏面の三次元測定を高精度かつ高速に行うことが可能となる。
なお、前記被測定物形状測定治具は、前記板状体を前記第1面と前記第2面が反転可能なように回動自在に支持する支持軸部を更に備えることができる。
また、本発明に係る三次元形状測定方法は、第1面及びこれに対向する第2面を有すると共に、基準球、及び基準円筒を固定的に保持する板状体からなる被測定物形状測定治具において、前記基準球、前記基準円筒及び少なくとも一つの被測定物を、前記第1面及び前記第2面のそれぞれにおいてそれらの表面が露出する状態で保持する工程と、前記基準球の三次元形状を測定してこの基準球の中心点座標を算出する工程と、前記基準円筒における軸方向に所定距離離れた2点の断面を二次元形状測定して、各断面により構成される円のそれぞれの中心点座標を算出する工程と、前記被測定物の一方の面の三次元形状を測定して測定データを得る工程と、前記基準球、前記基準円筒及び前記被測定物の測定結果に基づいて、前記円の各中心点座標を結ぶ線分がY軸と一致するよう、前記中心点座標及び前記測定データに関し、X軸の回り及びZ軸の回りに座標変換を行う工程と、前記基準球、前記基準円筒及び前記被測定物の測定結果に基づいて、前記基準球及び前記円の各中心点座標を結んで構成される面がX−Y平面と平行となるよう、前記中心点座標及び前記測定データに関し、Y軸の回りに座標変換を行う工程とを、前記被測定物の表面、及び裏面のそれぞれについて実行すると共に、前記被測定物の表面に関し得られた測定データと前記被測定物の裏面に関し得られた測定データとに基づき、前記表面と前記裏面との間の相対位置データを算出する工程とを備えることを特徴とする。
本発明によれば、基準球と基準円筒とを備える被測定物形状測定治具の基準球及び基準円筒の測定結果を用いて被測定物の表裏面の三次元測定を高精度かつ高速に行うことができる。
また、異なる工程で取得した三次元形状測定データを基準球及び基準円筒の測定結果を用いて座標変換により位置合わせし、一つの工程で測定した三次元形状データとして解析することができる。
さらに、基準球と基準円筒により得られた面を利用することで、基準球のみによる被測定物の表裏面の位置合わせに比べて精度を高め、表裏面の偏心及び傾きの測定を高速に行うことができる。
以下、添付の図面を参照して、本発明に係る被測定物形状測定治具及び三次元形状測定方法の好適な実施の形態を詳細に説明する。
図1は、本発明の一実施形態に係る被測定物形状測定治具の全体構成を示す斜視図、なお、以下に示す実施形態においては、被測定物としては、例えば樹脂成形によって製造されるレンズを例に挙げて説明し、このレンズの表裏面の偏心及び傾きを求めるために、本発明に係る三次元形状測定方法を適用したものを例にして説明する。
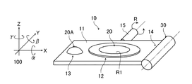
図1に示すように、被測定物形状測定治具(以下、「測定治具」と呼ぶ。)10は、表裏両面にX−Y平面が形成された鋼、ステンレス、アルミニウム、真鍮などの材料を矩形状に成形した板状体11からなり、少なくとも一つの被測定物としてのレンズ20をこの板状体11の表裏両面からレンズ20の表裏面が露出する状態で保持するものである。そして、この測定治具10は、レンズ20の表裏面のいずれ側からでもレンズ20の三次元形状測定などによる偏心や傾きを測定可能に構成されている。
また、測定治具10は、セラミックスや超硬合金などの材料を略真球に加工してなる基準球20Aと、セラミックス、ガラス、鋼などの材料からなる基準円筒30とを、それぞれ板状体11上に固定すると共に板状体11の側面に固定して保持している。
この測定治具10は、具体的には、例えばレンズ20を板状体11の中心部にてその表裏面が露出する状態で保持する被測定物保持部12と、基準球20Aが板状体11の一方の端部側にて、板状体11の表裏両面からそれぞれの表面が露出する状態で接着などにより取り付けられた基準球搭載部13と、基準円筒30が板状体11の基準球搭載部13が設けられた端部と被測定物保持部12を介して反対側の他方の端部の端面側に、板状体11の表裏両面からそれぞれ外周面を露出する状態で接着などにより取り付けられた基準円筒取付部14と、板状体11をその表裏両面に図1中矢印Rで示す方向に回動自在に支持する支持軸部15とを備えて構成されている。被測定物保持部12は、被測定物を保持した際、被測定物の表面及び裏面が露出されるよう、図示しない孔部を有している。
図2は、このように構成された測定治具10を備えた三次元形状測定装置全体の例を示す斜視図である。三次元形状測定装置は、例えば非接触型の三次元測定機1と、この三次元測定機1を駆動制御すると共に必要なデータ処理を実行するコンピュータシステム2とから構成されている。
三次元測定機1は、例えば次のように構成されている。すなわち、架台3上には、測定治具10を回動自在に保持する測定テーブル4が装着されており、この測定テーブル4は、図示しないY軸駆動機構によってY軸方向に駆動される。架台3の両側縁部中央部には上方に延びる支持アーム5,6が固定されており、この支持アーム5,6の両上端部を連結するようにX軸ガイド7が固定されている。このX軸ガイド7には、撮像ユニット8が支持されている。撮像ユニット8は、図示しないX軸駆動機構によってX軸ガイド7に沿って駆動する。
撮像ユニット8の内部は、次のように構成されている。すなわち、X軸ガイド7にそって移動可能に図示しないスライダが設けられ、このスライダに一体にZ軸ガイド(図示せず)が固定されている。このZ軸ガイドには、図示しない支持板がZ軸方向に摺動自在に設けられ、この支持板に画像測定用の撮像手段であるCCDカメラ31と、非接触式変位計であるレーザプローブ32とが併設されている。これにより、CCDカメラ31とレーザプローブ32とは、一定の位置関係を保ってX、Y、Zの3軸方向に同時に移動できるようになっている。
図3に示すように、CCDカメラ31には、撮像範囲を照明するための照明装置33が付加されている。レーザプローブ32の近傍位置には、レーザプローブ32のレーザビームによる測定位置を確認するために、測定位置の周辺を撮像するCCDカメラ34と、レーザプローブ32の測定位置を照明するための照明装置35とが設けられている。レーザプローブ32は、撮像ユニット8の移動の際にレーザプローブ32を退避するための上下動機構36と、レーザビームの方向性を最適な方向に適合させるための回転機構37とにより支持されている。
レーザプローブ32は、半導体レーザ51と、この半導体レーザ51から放射される光の光量を制限する光量制御部51aとを備えている。半導体レーザ51から放射された光は、図示しないビームスプリッタ、1/4波長板、及び対物レンズを介して測定治具10の測定部に光スポットを形成する。測定治具10から反射された光は、1/4波長板を介しビームスプリッタで反射され、コノスコープ部(図示せず)を通過し、CCDカメラのCCD素子上において干渉縞を形成する。
コノスコープ部は、入射側の偏光子と、出射側の検格子と、それらの間に挟まれた複屈折結晶とからなる。すなわち、入射した光は、偏光子において偏光されて、複屈折結晶において、偏光方向に直交した2つの波面に分割されると共に2つの偏光光間で位相差を生じさせ、2つの偏光成分の間に90°の位相シフトが導かれる。その後、検格子を介して再び重ね合わせることにより、同心円状の干渉縞が生じる。
このとき、生成される干渉縞の周期には、物体の高さ(散乱角)により決定されるので、この干渉縞を周波数解析することにより、被測定物の光軸方向の変位を検出することができる。このように、レーザプローブ32の出力には、高さ情報が含まれているので、走査面における断面形状、表面性状等の情報を得ることができるという利点がある。
三次元測定機1において、画像測定用のCCDカメラ31及びレーザプローブ32の測定位置確認用のCCDカメラ34で測定治具10を撮像して得られた画像信号は、コンピュータ21に供給される。この2種類の画像は、後述する選択回路Scによっていずれかが選択されてCRTディスプレイ25上に表示される。CCDカメラ31,34の撮像に必要な照明光は、コンピュータ21の制御に基づき、照明制御部74,75が照明装置33,35をそれぞれ制御することにより与えられる。
レーザプローブ32から得られた変位量の信号は、A/D変換器76を介して第2メモリ83に一時的に格納され、コンピュータ21に供給される。そして、これらを含む撮像ユニット8が、コンピュータ21の制御に基づいて動作するXYZ軸駆動部77によってXYZ軸方向に駆動される。撮像ユニット8のXYZ軸方向の位置は、XYZ軸エンコーダ78によって検出され、コンピュータ21に供給される。また、レーザプローブ32中の半導体レーザ51から放射されるレーザ光の光量を制御する光量制御部51aは、CPU81からの制御信号に基づき制御を実行する。
一方、コンピュータ21は、制御の中心をなすCPU81と、このCPU81に接続される第1メモリ82と、第2メモリ83と、プログラム記憶部84と、ワークメモリ85と、インタフェース86,87,89と、第1メモリ82に記憶された多値画像データ又はCCDカメラ34から供給される画像信号を選択する選択回路Scと、選択回路Scで選択された多値画像データをCRTディスプレイ25に表示するための表示制御部88とにより構成されている。
CPU81は、画像測定モードとレーザ測定モードとで選択回路Scを切り換える。第1メモリ82に格納された多値画像データによる画像、又はCCDカメラ34から供給された画像信号による画像は、表示制御部88の表示制御動作によってCRTディスプレイ25に表示される。
一方、キーボード22、ジョイスティック23及びマウス24から入力されるオペレータの指示情報は、インタフェース86を介してCPU81に入力される。また、CPU81には、レーザプローブ32で検出された変位量やXYZ軸エンコーダ78からのXYZ座標情報等が取り込まれる。
CPU81は、これらの入力情報、オペレータの指示及びプログラム記憶部84に格納されたプログラム及びテーブル84tに基づいて、XYZ軸駆動部77によるステージ移動、測定治具10のレンズ20等の画像の解析、測定値の演算処理及び半導体レーザ51の出力レーザ光量の制御処理等の各種の処理を実行する。また、CPU81は、測定テーブル4に設けられた図示しない測定治具10の回動機構を制御して、測定治具10を支持軸部15を中心に回動させる。
ワークメモリ85は、CPU81の各種処理のための作業領域を提供する。測定値は、インタフェース87を介してプリンタ26に出力される。また、インタフェース89は、外部の図示しないCADシステム等により提供されるレンズ20等のCADデータを、所定の形式に変換してコンピュータシステム2に入力するためのものである。
図4及び図5は、本発明の一実施形態に係る被測定物形状測定治具を用いた被測定物の三次元形状測定処理手順の例を示すフローチャートである。レンズ20をセットした上記の測定治具10を三次元測定機1に取り付け、レンズ20の三次元形状を測定する処理の例について説明する。なお、説明の便宜上、レンズ20の凹面側をR1面側とし、凸面側をR2面側として説明する。図4に示すように、まず、測定治具10の被測定物保持部12の孔部にレンズ20を取り付けて固定する(ステップS100)。
そして、測定治具10に取り付けられたレンズ20のR1面側が上になっているか否かを判断し(ステップS101)、上になっていると判断した場合(ステップS101のY)は、ステップS102に進み、レンズ20のR1面側を上に位置させたまま測定治具10を三次元測定機1の測定テーブル4上に配置する(ステップS102)。
一方、上になっていないと判断した場合(ステップS101のN)は、ステップS112に進み、レンズ20のR2面側を上に位置させたまま測定治具10を三次元測定機1の測定テーブル4上に配置する(ステップS112)。ここでは、このステップS112以降の処理については後述する。
レンズ20のR1面側を上に位置させて配置した場合、次に、測定治具10の基準球搭載部13に取り付けられた基準球20Aを三次元形状測定して、基準球20Aの三次元形状測定データである基準球測定データを取得し、この基準球測定データをコンピュータ21に備えられた第1メモリ82等に記録して保存する(ステップS103)。
そして、得られた基準球測定データを用いて、コンピュータ21のCPU81による演算処理にて、図6に示すように、基準球20Aの中心点の座標Osを算出し(ステップS104)、基準球20Aの中心点座標算出結果を第1メモリ82等に保存する。
次に、測定治具10の基準円筒取付部14に取り付けられた基準円筒30における所定距離H離れた2点の断面を二次元形状測定して、基準円筒30の二次元形状測定データである基準円筒測定データを取得し、この基準円筒測定データを第1メモリ82等に記録して保存する(ステップS105)。
そして、得られた基準円筒測定データを用いて、CPU81によって断面により構成される円のそれぞれの中心点座標O1,O2を算出し(ステップS106)、基準円筒30の各中心点座標算出結果を第1メモリ82等に保存する。
次に、測定治具10の被測定物保持部12に固定保持されたレンズ20のR1面側を三次元形状測定して、レンズ20のR1面の三次元形状測定データであるR1面側測定データを取得し、このR1面側測定データを第1メモリ82等に保存する(ステップS107)。
そして、このR1面側測定データを用い、CPU81による演算処理で、レンズ20のR1面側の頂点座標Pr1及び光軸L1の方向を算出し(ステップS108)、レンズ20のR1面側算出結果を第1メモリ82等に保存する。
ここで、上記ステップS104、ステップS106、及びステップS108にてそれぞれ算出された基準球20Aの中心点座標Os、各円の中心点座標O1,O2、レンズ20のR1面側の頂点座標Pr1及び光軸L1の方向の測定データを、CPU81による座標変換によって、図7(a)に示すように、ステップS106にて得られた各円の中心点座標O1,O2を結ぶ線分O1O2が測定機座標系100のY軸と一致するように(すなわち、線分O1O2’となり、基準球20の中心点座標Os’となるように)、X軸回りのα方向にδγだけ回転移動させるとともに、図7(b)に示すように、Z軸回りのγ方向にδαだけ回転移動させる(ステップS109)。
また、上記ステップS104、ステップS106、及びステップS108にてそれぞれ算出された基準球20Aの中心点座標Os、各円の中心点座標O1,O2、レンズ20のR1面側の頂点座標Pr1及び光軸L1の方向の測定データを、CPU81による座標変換によって、図8に示すように、ステップS104にて得られた中心点座標Os及びステップS106にて得られた中心点座標O1,O2を結んで構成される面OsO1O2がX−Y平面に平行となるように(すなわち、面OsO1’O2’となるように)、Y軸回りのβ方向にδβだけ回転移動させる(ステップS110)。
ここまでの処理が完了したら、レンズ20のR2面側について、三次元形状測定が済んでいるか否かを判断し(ステップS111)、済んでいないと判断した場合(ステップS111のN)は、上記ステップS112に移行して、図9に示すように、レンズ20のR2面側についても上記ステップS103〜ステップS110と同様に、ステップS113〜ステップS120を行って、各測定データ(基準球測定データ、基準円筒測定データ、R2面側測定データ)や各算出結果(基準球20Aの中心点座標算出結果、基準円筒30の各中心点座標算出結果、レンズ20のR2面側算出結果(R2面側の頂点座標Pr2及び光軸L2の方向))を得るとともに、測定データの回転移動処理(ステップS119、ステップS120)を行う。
こうして、レンズ20のR2面側の各処理が完了したら、同様にレンズ20のR1面側について、三次元形状測定が済んでいるか否かを判断し(ステップS121)、済んでいないと判断した場合(ステップS121のN)は、上記ステップS102に移行して、以降の処理を行う。
レンズ20のR2面側及びレンズ20のR1面側のいずれについても三次元形状測定が済んでいる場合(ステップS111のY、ステップS121のY)は、図5に示すように、演算処理部によって座標変換を行い、例えば図10に示すようにレンズ20のR2面側測定データを測定機座標系100のY軸回りのβ方向に180°回転させる(ステップS122)。
そして、図11に示すように、レンズ20のR1面側測定データとR2面側測定データとを、基準球20Aの中心点座標Osが一致するように平行移動させ(ステップS123)、図12に示すように、レンズ20のR1面を基準として、レンズ20のR2面の偏心d及び傾きθを求め(ステップS124)、本フローチャートによる一連の三次元形状測定処理を終了する。なお、上記ステップS124では、レンズ20のR1面とR2面の2面の偏心dを求めたが、例えばこれら2面のレンズ20の外径に対する偏心dを求めるようにしてもよい。
以上述べたように、上述した実施形態によれば、基準球20Aと基準円筒30とを備える測定治具10の基準球20A及び基準円筒30の各測定結果を用いて、レンズ20の表裏面(R1面、R2面)の三次元測定を高精度かつ高速に行うことが可能となる。
また、レンズ20のR1面側とR2面側の異なる工程でそれぞれ取得した三次元形状測定データを基準球20A及び基準円筒30の測定結果を用いて座標変換により位置合わせし、結果的に一つの工程でレンズ20を測定した三次元形状データとして解析することが可能となる。
さらに、基準球20Aと基準円筒30により得られた面OsO1O2を利用することで、基準球20Aのみによるレンズ20の表裏面の位置合わせに比べて精度を高め、表裏面の偏心d及び傾きθの測定を高速に行うことが可能となる。
なお、以上説明した測定処理は、測定治具10に1個のレンズ20を保持した場合についてであるが、複数のレンズを保持した場合には、各レンズについて上記処理を行えばよく、基準球20A、基準円筒30及びレンズ20に対する測定順序は任意に決定することができると共に、レンズ20のR1面及びR2面の測定順序も任意に決定することができる。
また、本実施形態で説明した三次元形状測定方法は、あらかじめ用意されたプログラムを、上述した三次元測定機1のみならず、輪郭形状測定機などを含む表面性状測定装置において実行することにより実現することができる。このプログラムは、ハードディスク、フレキシブルディスク、CD−ROM、MO、DVD、Blu−ray Disc等のコンピュータ21で読み取り可能な記録媒体に記録され、このコンピュータによって記録媒体から読み出されることによって実行される。また、このプログラムは、インターネット等のネットワークを介して配布することが可能な伝送媒体であってもよい。
以上の説明の通り本発明によれば、三次元形状測定によりレンズ等の表裏面で光軸が一致するように製造されるべき被測定物の偏心や傾きを測定するのに有用である。
本発明の一実施形態に係る被測定物形状測定治具の全体構成を示す斜視図である。 本発明の一実施形態に係る被測定物形状測定治具を備えた三次元形状測定装置全体の例を示す斜視図である。 コンピュータシステムの内部構成の例を示すブロック図である。 本発明の一実施形態に係る被測定物形状測定治具を用いた被測定物の三次元形状測定処理手順の例を示すフローチャートである。 本発明の一実施形態に係る被測定物形状測定治具を用いた被測定物の三次元形状測定処理手順の例を示すフローチャートである。 同被測定物のR1面側の測定状態を示す説明図である。 同三次元形状測定処理手順における回転移動処理を説明するための説明図である。 同三次元形状測定処理手順における回転移動処理を説明するための説明図である。 同被測定物のR2面側の測定状態を示す説明図である。 同三次元形状測定処理手順におけるR2面側測定データの回転処理を説明するための説明図である。 同三次元形状測定処理手順におけるR1面側及びR2面側測定データの平行移動処理を説明するための説明図である。 同被測定物のR1面を基準にした偏心と傾きを示す説明図である。
符号の説明
1 三次元測定機
2 コンピュータシステム
3 架台
4 測定テーブル
5,6 支持アーム
7 X軸ガイド
8 撮像ユニット
10 被測定物形状測定治具(測定治具)
11 板状体
12 被測定物保持部
13 基準球搭載部
14 基準円筒取付部
15 支持軸部
20 レンズ
20A 基準球
21 コンピュータ
22 キーボード
23 ジョイスティック
24 マウス
26 プリンタ
30 基準円筒
100 測定機座標系

Claims (3)

  1. 第1面及びこれに対向する第2面を有する板状体と、
    前記第1面及び前記第2面のそれぞれにおいてその表面が外部に露出するように前記板状体に固定された基準球と、
    前記第1面及び前記第2面のそれぞれにおいてその外周表面が外部に露出するように前記板状体の側方に固定された基準円筒と、
    前記板状体を貫通するように形成された孔部を有し被測定物の表面及び裏面がそれぞれ前記第1面及び第2面において露出するように前記孔部において前記被測定物を保持する被測定物保持部と
    を備えた
    ことを特徴とする被測定物形状測定治具。
  2. 前記板状体を前記第1面と前記第2面が反転可能なように回動自在に支持する支持軸部を更に備えたことを特徴とする請求項1記載の被測定物形状測定治具。
  3. 第1面及びこれに対向する第2面を有すると共に、基準球、及び基準円筒を固定的に保持する板状体からなる被測定物形状測定治具において、前記基準球、前記基準円筒及び少なくとも一つの被測定物を、前記第1面及び前記第2面のそれぞれにおいてそれらの表面が露出する状態で保持する工程と、
    前記基準球の三次元形状を測定してこの基準球の中心点座標を算出する工程と、
    前記基準円筒における軸方向に所定距離離れた2点の断面を二次元形状測定して、各断面により構成される円のそれぞれの中心点座標を算出する工程と、
    前記被測定物の一方の面の三次元形状を測定して測定データを得る工程と、
    前記基準球、前記基準円筒及び前記被測定物の測定結果に基づいて、前記円の各中心点座標を結ぶ線分がY軸と一致するよう、前記中心点座標及び前記測定データに関し、X軸の回り及びZ軸の回りに座標変換を行う工程と、
    前記基準球、前記基準円筒及び前記被測定物の測定結果に基づいて、前記基準球及び前記円の各中心点座標を結んで構成される面がX−Y平面と平行となるよう、前記中心点座標及び前記測定データに関し、Y軸の回りに座標変換を行う工程と
    を、前記被測定物の表面、及び裏面のそれぞれについて実行すると共に、
    前記被測定物の表面に関し得られた測定データと前記被測定物の裏面に関し得られた測定データとに基づき、前記表面と前記裏面との間の相対位置データを算出する工程と
    を備えることを特徴とする三次元形状測定方法。
JP2008167087A 2008-06-26 2008-06-26 被測定物形状測定治具及び三次元形状測定方法 Expired - Fee Related JP5059700B2 (ja)

Priority Applications (5)

Application Number Priority Date Filing Date Title
JP2008167087A JP5059700B2 (ja) 2008-06-26 2008-06-26 被測定物形状測定治具及び三次元形状測定方法
US12/457,032 US7869060B2 (en) 2008-06-26 2009-05-29 Jig for measuring an object shape and method for measuring a three-dimensional shape
AT09163212T ATE494525T1 (de) 2008-06-26 2009-06-19 Einspannvorrichtung zur messung einer objektform und verfahren zur messung einer dreidimensionalen form
DE602009000525T DE602009000525D1 (de) 2008-06-26 2009-06-19 Einspannvorrichtung zur Messung einer Objektform und Verfahren zur Messung einer dreidimensionalen Form
EP09163212A EP2138803B1 (en) 2008-06-26 2009-06-19 Jig for measuring an object shape and method for measuring a three-dimensional shape

Applications Claiming Priority (1)

Application Number Priority Date Filing Date Title
JP2008167087A JP5059700B2 (ja) 2008-06-26 2008-06-26 被測定物形状測定治具及び三次元形状測定方法

Publications (2)

Publication Number Publication Date
JP2010008193A true JP2010008193A (ja) 2010-01-14
JP5059700B2 JP5059700B2 (ja) 2012-10-24

Family

ID=41588890

Family Applications (1)

Application Number Title Priority Date Filing Date
JP2008167087A Expired - Fee Related JP5059700B2 (ja) 2008-06-26 2008-06-26 被測定物形状測定治具及び三次元形状測定方法

Country Status (1)

Country Link
JP (1) JP5059700B2 (ja)

Cited By (6)

* Cited by examiner, † Cited by third party
Publication number Priority date Publication date Assignee Title
WO2014177632A1 (de) * 2013-05-02 2014-11-06 Carl Zeiss Vision International Gmbh Verfahren und system für das ermitteln der räumlichen struktur eines gegenstands
DE102013219838B4 (de) * 2013-09-30 2015-11-26 Carl Zeiss Ag Verfahren und System für das Ermitteln der räumlichen Struktur eines Gegenstands
DE102018201481A1 (de) 2018-01-31 2019-08-01 Carl Zeiss Vision Gmbh Vorrichtung und Verfahren zur Bestimmung der dreidimensionalen Oberflächengeometrie von Objekten
JP2021015120A (ja) * 2019-07-11 2021-02-12 Jfeスチール株式会社 破面形状評価方法、破面形状データ格納方法、及び破面形状評価装置
US11644296B1 (en) 2021-12-17 2023-05-09 Industrial Technology Research Institute 3D measuring equipment and 3D measuring method
WO2024202476A1 (ja) * 2023-03-24 2024-10-03 パナソニックIpマネジメント株式会社 レンズ測定方法及びレンズ測定装置

Citations (4)

* Cited by examiner, † Cited by third party
Publication number Priority date Publication date Assignee Title
JP2002340503A (ja) * 2001-05-16 2002-11-27 Mitsutoyo Corp 表面性状測定機における被測定物の相対姿勢調整方法
JP2004286457A (ja) * 2003-03-19 2004-10-14 Mitsutoyo Corp 表面性状測定機の校正用治具、表面性状測定機の校正方法、表面性状測定機の校正プログラムおよびこの校正プログラムを記録した記録媒体
JP2006078398A (ja) * 2004-09-10 2006-03-23 Matsushita Electric Ind Co Ltd 表裏面の偏心及び傾きの測定方法及びその装置
JP2007085882A (ja) * 2005-09-22 2007-04-05 Mitsutoyo Corp 相対関係測定方法、相対関係測定用治具、及び相対関係測定装置

Patent Citations (4)

* Cited by examiner, † Cited by third party
Publication number Priority date Publication date Assignee Title
JP2002340503A (ja) * 2001-05-16 2002-11-27 Mitsutoyo Corp 表面性状測定機における被測定物の相対姿勢調整方法
JP2004286457A (ja) * 2003-03-19 2004-10-14 Mitsutoyo Corp 表面性状測定機の校正用治具、表面性状測定機の校正方法、表面性状測定機の校正プログラムおよびこの校正プログラムを記録した記録媒体
JP2006078398A (ja) * 2004-09-10 2006-03-23 Matsushita Electric Ind Co Ltd 表裏面の偏心及び傾きの測定方法及びその装置
JP2007085882A (ja) * 2005-09-22 2007-04-05 Mitsutoyo Corp 相対関係測定方法、相対関係測定用治具、及び相対関係測定装置

Cited By (9)

* Cited by examiner, † Cited by third party
Publication number Priority date Publication date Assignee Title
WO2014177632A1 (de) * 2013-05-02 2014-11-06 Carl Zeiss Vision International Gmbh Verfahren und system für das ermitteln der räumlichen struktur eines gegenstands
AU2014261378B2 (en) * 2013-05-02 2017-02-16 Carl Zeiss Ag Method and system for determining the spatial structure of an object
US9797804B2 (en) 2013-05-02 2017-10-24 Carl Zeiss Vision International Gmbh Method and system for determining the spatial structure of an object
DE102013219838B4 (de) * 2013-09-30 2015-11-26 Carl Zeiss Ag Verfahren und System für das Ermitteln der räumlichen Struktur eines Gegenstands
DE102018201481A1 (de) 2018-01-31 2019-08-01 Carl Zeiss Vision Gmbh Vorrichtung und Verfahren zur Bestimmung der dreidimensionalen Oberflächengeometrie von Objekten
JP2021015120A (ja) * 2019-07-11 2021-02-12 Jfeスチール株式会社 破面形状評価方法、破面形状データ格納方法、及び破面形状評価装置
US11644296B1 (en) 2021-12-17 2023-05-09 Industrial Technology Research Institute 3D measuring equipment and 3D measuring method
TWI806294B (zh) * 2021-12-17 2023-06-21 財團法人工業技術研究院 三維量測設備與三維量測方法
WO2024202476A1 (ja) * 2023-03-24 2024-10-03 パナソニックIpマネジメント株式会社 レンズ測定方法及びレンズ測定装置

Also Published As

Publication number Publication date
JP5059700B2 (ja) 2012-10-24

Similar Documents

Publication Publication Date Title
EP2138803B1 (en) Jig for measuring an object shape and method for measuring a three-dimensional shape
JP5059700B2 (ja) 被測定物形状測定治具及び三次元形状測定方法
JP3678915B2 (ja) 非接触三次元測定装置
JP7414643B2 (ja) 形状測定装置および形状測定方法
JP2011196954A (ja) 非球面体測定方法および装置
CN113029036B (zh) 一种非接触式物体三维轮廓光学检测装置及检测方法
JP2021181983A (ja) クロマティックレンジセンサシステム
JP5059699B2 (ja) 被測定物形状測定治具及び三次元形状測定方法
JPH11351841A (ja) 非接触三次元測定方法
JP4791118B2 (ja) 画像測定機のオフセット算出方法
JP3602965B2 (ja) 非接触三次元測定方法
JP4434431B2 (ja) 三次元形状測定装置
JP2001324311A (ja) 3次元形状測定機及びその測定方法
JP2006078398A (ja) 表裏面の偏心及び傾きの測定方法及びその装置
CN117760336B (zh) 一种五轴干涉测量系统的标定方法、介质及电子设备
JP4791568B2 (ja) 3次元測定装置
KR20110065365A (ko) 비구면체 측정 방법 및 장치
JP4646520B2 (ja) 3次元形状測定方法及び装置
JP5025444B2 (ja) 三次元形状測定装置
EP2236978A1 (en) Optical measuring device and method to determine the shape of an object and a machine to shape the object.
JP6287153B2 (ja) センサユニット、形状測定装置、及び構造物製造システム
JP4833662B2 (ja) 非接触変位計測装置、並びにそのエッジ検出方法及びエッジ検出プログラム
JP2012002548A (ja) 光波干渉測定装置
JP2012112706A (ja) 表面形状測定装置及び表面形状測定方法
JP2005172610A (ja) 3次元測定装置

Legal Events

Date Code Title Description
A621 Written request for application examination

Free format text: JAPANESE INTERMEDIATE CODE: A621

Effective date: 20110506

TRDD Decision of grant or rejection written
A977 Report on retrieval

Free format text: JAPANESE INTERMEDIATE CODE: A971007

Effective date: 20120711

A01 Written decision to grant a patent or to grant a registration (utility model)

Free format text: JAPANESE INTERMEDIATE CODE: A01

Effective date: 20120717

A01 Written decision to grant a patent or to grant a registration (utility model)

Free format text: JAPANESE INTERMEDIATE CODE: A01

A61 First payment of annual fees (during grant procedure)

Free format text: JAPANESE INTERMEDIATE CODE: A61

Effective date: 20120802

FPAY Renewal fee payment (event date is renewal date of database)

Free format text: PAYMENT UNTIL: 20150810

Year of fee payment: 3

R150 Certificate of patent or registration of utility model

Ref document number: 5059700

Country of ref document: JP

Free format text: JAPANESE INTERMEDIATE CODE: R150

Free format text: JAPANESE INTERMEDIATE CODE: R150

R250 Receipt of annual fees

Free format text: JAPANESE INTERMEDIATE CODE: R250

R250 Receipt of annual fees

Free format text: JAPANESE INTERMEDIATE CODE: R250

R250 Receipt of annual fees

Free format text: JAPANESE INTERMEDIATE CODE: R250

LAPS Cancellation because of no payment of annual fees