JP2010007567A - 汎用エンジンの排気還流構造 - Google Patents

汎用エンジンの排気還流構造 Download PDF

Info

Publication number
JP2010007567A
JP2010007567A JP2008167866A JP2008167866A JP2010007567A JP 2010007567 A JP2010007567 A JP 2010007567A JP 2008167866 A JP2008167866 A JP 2008167866A JP 2008167866 A JP2008167866 A JP 2008167866A JP 2010007567 A JP2010007567 A JP 2010007567A
Authority
JP
Japan
Prior art keywords
exhaust
valve
exhaust gas
cam
intake
Prior art date
Legal status (The legal status is an assumption and is not a legal conclusion. Google has not performed a legal analysis and makes no representation as to the accuracy of the status listed.)
Granted
Application number
JP2008167866A
Other languages
English (en)
Other versions
JP5145133B2 (ja
Inventor
Soji Kajima
壮二 鹿島
Current Assignee (The listed assignees may be inaccurate. Google has not performed a legal analysis and makes no representation or warranty as to the accuracy of the list.)
Honda Motor Co Ltd
Original Assignee
Honda Motor Co Ltd
Priority date (The priority date is an assumption and is not a legal conclusion. Google has not performed a legal analysis and makes no representation as to the accuracy of the date listed.)
Filing date
Publication date
Application filed by Honda Motor Co Ltd filed Critical Honda Motor Co Ltd
Priority to JP2008167866A priority Critical patent/JP5145133B2/ja
Priority to US12/488,766 priority patent/US7886714B2/en
Priority to EP09251643A priority patent/EP2138699B1/en
Priority to AT09251643T priority patent/ATE507385T1/de
Priority to DE602009001145T priority patent/DE602009001145D1/de
Publication of JP2010007567A publication Critical patent/JP2010007567A/ja
Application granted granted Critical
Publication of JP5145133B2 publication Critical patent/JP5145133B2/ja
Expired - Fee Related legal-status Critical Current
Anticipated expiration legal-status Critical

Links

Images

Classifications

    • FMECHANICAL ENGINEERING; LIGHTING; HEATING; WEAPONS; BLASTING
    • F01MACHINES OR ENGINES IN GENERAL; ENGINE PLANTS IN GENERAL; STEAM ENGINES
    • F01LCYCLICALLY OPERATING VALVES FOR MACHINES OR ENGINES
    • F01L13/00Modifications of valve-gear to facilitate reversing, braking, starting, changing compression ratio, or other specific operations
    • F01L13/0015Modifications of valve-gear to facilitate reversing, braking, starting, changing compression ratio, or other specific operations for optimising engine performances by modifying valve lift according to various working parameters, e.g. rotational speed, load, torque
    • FMECHANICAL ENGINEERING; LIGHTING; HEATING; WEAPONS; BLASTING
    • F01MACHINES OR ENGINES IN GENERAL; ENGINE PLANTS IN GENERAL; STEAM ENGINES
    • F01LCYCLICALLY OPERATING VALVES FOR MACHINES OR ENGINES
    • F01L1/00Valve-gear or valve arrangements, e.g. lift-valve gear
    • F01L1/02Valve drive
    • F01L1/04Valve drive by means of cams, camshafts, cam discs, eccentrics or the like
    • F01L1/047Camshafts
    • F01L1/053Camshafts overhead type
    • FMECHANICAL ENGINEERING; LIGHTING; HEATING; WEAPONS; BLASTING
    • F01MACHINES OR ENGINES IN GENERAL; ENGINE PLANTS IN GENERAL; STEAM ENGINES
    • F01LCYCLICALLY OPERATING VALVES FOR MACHINES OR ENGINES
    • F01L1/00Valve-gear or valve arrangements, e.g. lift-valve gear
    • F01L1/12Transmitting gear between valve drive and valve
    • F01L1/18Rocking arms or levers
    • F01L1/181Centre pivot rocking arms
    • FMECHANICAL ENGINEERING; LIGHTING; HEATING; WEAPONS; BLASTING
    • F02COMBUSTION ENGINES; HOT-GAS OR COMBUSTION-PRODUCT ENGINE PLANTS
    • F02MSUPPLYING COMBUSTION ENGINES IN GENERAL WITH COMBUSTIBLE MIXTURES OR CONSTITUENTS THEREOF
    • F02M26/00Engine-pertinent apparatus for adding exhaust gases to combustion-air, main fuel or fuel-air mixture, e.g. by exhaust gas recirculation [EGR] systems
    • F02M26/01Internal exhaust gas recirculation, i.e. wherein the residual exhaust gases are trapped in the cylinder or pushed back from the intake or the exhaust manifold into the combustion chamber without the use of additional passages
    • FMECHANICAL ENGINEERING; LIGHTING; HEATING; WEAPONS; BLASTING
    • F01MACHINES OR ENGINES IN GENERAL; ENGINE PLANTS IN GENERAL; STEAM ENGINES
    • F01LCYCLICALLY OPERATING VALVES FOR MACHINES OR ENGINES
    • F01L1/00Valve-gear or valve arrangements, e.g. lift-valve gear
    • F01L1/02Valve drive
    • F01L1/04Valve drive by means of cams, camshafts, cam discs, eccentrics or the like
    • F01L1/047Camshafts
    • F01L1/053Camshafts overhead type
    • F01L2001/0535Single overhead camshafts [SOHC]
    • FMECHANICAL ENGINEERING; LIGHTING; HEATING; WEAPONS; BLASTING
    • F01MACHINES OR ENGINES IN GENERAL; ENGINE PLANTS IN GENERAL; STEAM ENGINES
    • F01LCYCLICALLY OPERATING VALVES FOR MACHINES OR ENGINES
    • F01L2800/00Methods of operation using a variable valve timing mechanism
    • F01L2800/10Providing exhaust gas recirculation [EGR]

Landscapes

  • Engineering & Computer Science (AREA)
  • Mechanical Engineering (AREA)
  • General Engineering & Computer Science (AREA)
  • Chemical & Material Sciences (AREA)
  • Combustion & Propulsion (AREA)
  • Exhaust-Gas Circulating Devices (AREA)
  • Valve-Gear Or Valve Arrangements (AREA)
  • Valve Device For Special Equipments (AREA)

Abstract

【課題】小型軽量化が図れる汎用エンジンの排気還流構造を提供する。
【解決手段】エンジン始動時よりエンジン回転数が所定の作業回転数まで上昇するように設定され、吸気弁と、排気弁と、これらの吸気弁、排気弁を開閉するためにカムシャフト25に設けられたカム75を備え、排気ガスの一部をシリンダ内に還流する汎用エンジンの排気還流構造において、カム75に、吸気弁が開いている時期に排気弁を開く排気還流用カム山75cが設けられている。
【選択図】図2

Description

本発明は、汎用エンジンの排気還流構造の改良に関するものである。
従来のエンジンの排気還流構造として、スロットル開度に応じて排ガスの吸気系側への還流を制御する排気還流装置が知られている(例えば、特許文献1参照。)。
特開2004−169687公報
特許文献1の図5、図6、図13、図15によれば、排気還流装置は、シリンダヘッド3に設けられた一対の支柱10,10’と、これらの支柱10,10’に取付けられた副ロッカ軸20と、この副ロッカ軸20に揺動自在に且つスライド自在に支持された副ロッカアーム21と、吸気ロッカアーム14iから延ばされて副ロッカアーム21の一端部に設けられた長孔22に挿入された連動ピン23と、副ロッカアーム21の他端部にねじ結合された間隔調整ボルト24と、この間隔調整ボルト24の先端を当てるために排気ロッカアーム14eに突出形成された連接片25と、副ロッカアーム21に連結されたシフトフォーク27と、副ロッカアーム21をシフトフォーク27を介して副ロッカ軸20に沿って移動させる負圧式アクチュエータ30とを備えている。
エンジン運転中に、スロットル開度が所定の開度になると、負圧式アクチュエータ30に作用する負圧が所定値以上になり、負圧式アクチュエータ30がシフトフォーク27を引いて副ロッカアーム21を排気ロッカアーム14e側へ移動させるため、間隔調整ボルト24が連接片25に乗るようなり、この状態で吸気ロッカアーム14iが揺動して吸気バルブが開くときに、吸気ロッカアーム14iの揺動に伴って連動ピン23が副ロッカアーム21を揺動させる。この結果、間隔調整ボルト24を介して連接片25が押し下げられ、排気ロッカアーム14eが揺動して、排気弁8eが開き、排ガスが燃焼室5内に吸入される。即ち、排気環流が行われる。
上記の排気還流装置では、図12に示されるように、スロットルバルブが所定の中間開度のときのみアクチュエータ30が作動して、排気還流が行われる。
例えば、芝刈機等に搭載される小型の汎用エンジンでは、始動直後から負荷の変動に対して自動的にスロットルバルブを開閉することでエンジン回転数が一定の定格エンジン回転数となるようにエンジン回転数を調整するガバナが設けられ、操作性の向上が図られている。更に、このような小型の汎用エンジンでは、作業時の負担を軽減するために、小型化・軽量化が望まれ、排気還流構造を採用するに当たっても、上記のような複雑な排気環流装置の構造簡素化が求められる。
本発明の目的は、小型軽量化が図れる汎用エンジンの排気還流構造を提供することにある。
請求項1に係る発明は、エンジン始動時よりエンジン回転数が所定の作業回転数まで上昇するように設定され、吸気弁と、排気弁と、これらの吸気弁、排気弁を開閉するためにカムシャフトに設けられたカムとを備え、排気ガスの一部をシリンダ内に還流させる汎用エンジンの排気還流構造において、カムに、吸気弁が開いている時期に排気弁を開くカム山が設けられていることを特徴とする。
汎用エンジンを始動すると、エンジン回転数は設定された所定の作業回転数、即ち、定格回転数まで上昇する。そして、吸気弁が開いている時期に、排気弁を開閉するカムに設けられたカム山によって排気弁が開き、排気ガスの一部が排気弁を介してシリンダ内の燃焼室に還流される。即ち、エンジン始動時から排気還流が行われる。
汎用エンジンに、スロットルバルブの開度を調整するスロットルレバーなど、作業者が操作する操作部材を持たず、従来のようなアイドル回転数や低回転域といった回転域の設定がないため、エンジン回転数に応じて切り換える複雑な切換機構を排気還流構造に設ける必要がなく、カムに単に排気還流用のカム山を設けるだけであるから、排気還流構造が簡素になる。
請求項1に係る発明では、カムに、吸気弁が開いている時期に排気弁を開くカム山が設けられているので、汎用エンジンを始動させたときにエンジン回転数を定格回転数まで上昇させて、吸気弁が開いている時期にカム山によって排気弁を開くことができ、排気ガスを還流させることができる。
従って、従来のような排気還流のための複雑な切換機構を設ける必要がなく、排気還流構造が簡素になり、汎用エンジンの小型軽量化を図ることができる。
本発明を実施するための最良の形態を添付図に基づいて以下に説明する。なお、図面は符号の向きに見るものとする。
図1は本発明に係る排気還流構造を備えた汎用エンジンを示す正面図(一部断面図)であり、エンジン10は、クランクケース11と、このクランクケース11の上部に取付けられたシリンダブロック12と、このシリンダブロック12に開けられたシリンダ穴12aに移動自在に挿入されたピストン13と、このピストン13にピストンピン14を介して連結されたコネクティングロッド16と、このコネクティングロッド16に連結されるとともにクランクケース11及びシリンダブロック12のそれぞれの合わせ部で回転自在に支持されたクランクシャフト17と、シリンダブロック12の上部に一体に形成されたシリンダヘッド本体18と、このシリンダヘッド本体18の上部開口を塞ぐヘッドカバー19と、シリンダヘッド本体18に設けられた動弁機構21と、この動弁機構21を駆動するためにクランクシャフト17及び動弁機構21のそれぞれに渡された調時駆動部材22と、エンジン始動時から負荷の変動に対して自動的にスロットルバルブ(不図示)の開度を調整することでエンジン回転数が作業回転数、即ち、一定の定格エンジン回転数となるようにエンジン回転数を調整するガバナ(不図示)とからなる。
動弁機構21は、シリンダヘッド本体18の中央部に回転自在に取付けられたカムシャフト25と、シリンダヘッド本体18に設けられた吸気側ロッカシャフト31及び排気側ロッカシャフト32と、これらの吸気側ロッカシャフト31及び排気側ロッカシャフト32にそれぞれ揺動自在に取付けられてカムシャフト25に設けられたカム(不図示)に駆動される吸気側ロッカアーム33及び排気側ロッカアーム34と、これらの吸気側ロッカアーム33及び排気側ロッカアーム34のそれぞれの端部にアジャストスクリュー36,36を介して軸部端部が当てられた吸気弁43及び排気弁44とからなる。
吸気弁43及び排気弁44は、ピストン13の上方に形成された燃焼室37に通じる吸気ポート41及び排気ポート42の燃焼室37側の開口をそれぞれ開閉する部品である。
調時駆動部材22は、クランクシャフト17に取付けられた駆動プーリ51と、カムシャフト25に取付けられた従動プーリ52と、これらの駆動プーリ51及び従動プーリ52のそれぞれに掛け渡された歯付きベルト53と、この歯付きベルト53に張力を与えるベルトテンショナ(不図示)とからなる。
シリンダヘッド本体18には、吸気装置61と、排気ポート42に連通する排気装置としての消音器62とが取付けられている。
吸気装置61は、エアクリーナ64と、このエアクリーナ64に接続されるとともにシリンダヘッド本体18に吸気ポート41に連通するように取付けられたキャブレタ65とからなる。
キャブレタ65は、エンジン10の始動性を向上させるためにチョークバルブ(不図示)が設けられ、エンジン10に前部に、チョークバルブを開閉するチョークレバー66と、このチョークレバー66及びキャブレタ65のそれぞれを連結するリンク67とが設けられている。なお、68はキャブレタ65に燃料を供給する燃料タンクである。
ガバナは、一般的に知られている構造のものであり、例えば、特開平8−177441号の図1に記載されたガバナGと同一構造か、これに近い構造のものである。
図2(a),(b)は本発明に係る排気還流構造を示す説明図である。
(a)は吸気側ロッカアーム33及び排気側ロッカアーム34のそれぞれの一端部33a,34aがカムシャフト25に形成されたカム75の基準円75a上に接触した状態を示している。この状態では、吸気弁43(図1参照)及び排気弁44(図1参照)はそれぞれ閉じた状態にある。なお、符号77はアジャストスクリュー36をロックするロックナットである。
(b)は吸気側ロッカアーム33の一端部33aがカム75の正規カム山75bに当たり、吸気側ロッカアーム33が(a)の状態から矢印Aに示すように吸気側ロッカシャフト31を中心にスイングした状態を示している。この結果、吸気側ロッカアーム33の他端部のアジャストスクリュー36が吸気弁43(図1参照)の軸部端部を押し付け、吸気弁43が開く。
また、排気側ロッカアーム34の一端部34aがカム75の排気還流用カム山75cに当たり、排気側ロッカアーム34が(a)の状態から矢印Bに示すように排気側ロッカシャフト32を中心にわずかにスイングした状態を示している。この結果、排気側ロッカアーム34の他端部のアジャストスクリュー36が排気弁44(図1参照)の軸部端部を押し付け、排気弁44がわずかに開く。
図3は図1の3−3線断面図であり、排気還流用カム75cと排気側ロッカアーム34との位置関係を示している。
カムシャフト25は、シリンダヘッド本体18に取付けられた支軸78に回転自在に支持され、カム75の燃焼室37から遠い側に排気還流用カム75cが形成され、この排気還流用カム山75cの半径方向外側に排気側ロッカアーム34の一端部34aが配置されている。従って、排気還流用カム75cで排気側ロッカアーム34を駆動させることができる。
また、排気側ロッカアーム34の一端部34aは、カム75の排気還流用カム75cが無い部分の半径方向外側まで延びているので、正規カム山75b(図2(b)参照)でも排気側ロッカアーム34が駆動される。
図4は図1の4−4線断面図であり、排気還流用カム75cと吸気側ロッカアーム33との位置関係を示している。
即ち、吸気側ロッカアーム33の一端部33aは、排気還流用カム75cの半径方向外側には配置されておらず、カム75の排気還流用カム75cが形成されていない部分であるカム75の燃焼室37から近い側に且つカム75の半径方向外側に配置されている。従って、排気還流用カム75cで吸気側ロッカアーム33は駆動されない。
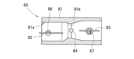
図5は本発明に係るキャブレタの要部を示す断面図であり、キャブレタ65のキャブレタボディ81に主空気通路81aが開けられ、この主空気通路81aの中央部に他の部分よりも内径が小さくされたベンチュリ部81bが形成され、このベンチュリ部81bに対して空気の流れの上流側に開度調整可能なチョークバルブ82が設けられ、ベンチュリ部81bに対して空気の流れの下流側にガバナによって開度が自動調整されるスロットルバルブ83が設けられている。
スロットルバルブ83を手動によって調整するスロットルレバー等の操作部材は汎用エンジン10(図1参照)には設けられておらず、従って、作業者がスロットルバルブ83の開度を調整することはできない。
ここで、符号84は主空気通路81aに燃料を吐出するメインノズル、86はチョークバルブ82を支持するためにキャブレタボディ81に回転自在に取付けられたチョークバルブ軸、87はスロットルバルブ83を支持するためにキャブレタボディ81に取付けられたスロットルバルブ軸である。
図6は本発明に係る吸気弁及び排気弁のリフト量を説明するグラフであり、縦軸は吸気弁及び排気弁のリフト量、横軸はクランク角度(単位は°)を示している。グラフ中の実線は排気弁、一点鎖線は吸気弁を示している。
排気弁は、汎用エンジンの膨張行程の後半で開き始め、吸気行程の前半で閉じる。
吸気弁は、汎用エンジンの排気行程の後半で開き始め、圧縮行程の前半で閉じる。この吸気弁が開いているクランク角度範囲内のある時期、即ち吸気行程中に、排気弁は再び開いて閉じる。このときの排気弁のリフト量は排気行程中でのリフト量に比べて小さい。
このように、吸気行程中に排気弁が開くことで、燃焼室から一旦排気ポート、消音器側に流出した排気ガスが燃焼室内に還流される。これにより、燃焼室における燃焼温度の過度の上昇が抑えられ、排ガス中のNOxを低減することができる。
図7は本発明に係る吸気弁及び排気弁のリフト量の別実施形態を説明するグラフであり、縦軸は吸気弁及び排気弁のリフト量、横軸はクランク角度(単位は°)を示している。グラフ中の実線は排気弁、一点鎖線は吸気弁を示している。
排気弁は、汎用エンジンの膨張行程の後半で開き始め、排気行程の中間の時期で正規リフト量となる第1のピークが発生し、吸気行程の前半でリフト量は一旦小さくなるが、その後にリフト量は次第に大きくなり、吸気行程の中間の時期で第1のピークのリフト量よりは小さいが排気還流のための第2のピークが発生し、吸気行程の終了とほぼ同時期に閉じる。
以上の図1、図2、図5に示したように、エンジン始動時よりエンジン回転数が所定の作業回転数まで上昇するように設定され、吸気弁43と、排気弁44と、これらの吸気弁43、排気弁44を開閉するためにカムシャフト25に設けられたカム75(図3参照)を備え、排気ガスの一部をシリンダ穴12a内の燃焼室37に還流する汎用エンジン10の排気還流構造において、カム75に、吸気弁43が開いている時期に排気弁44を開くカム山としての排気還流用カム山75cが設けられているので、汎用エンジン10を始動させたときにエンジン回転数を定格回転数まで上昇させて、吸気弁43が開いている時期に排気還流用カム山75cによって排気弁44を開くことができ、排気ガスを還流させることができる。
従って、従来のような排気還流のための複雑な切換機構を設ける必要がなく、排気還流構造が簡素になり、汎用エンジン10の小型軽量化を図ることができる。
本発明の排気還流構造は、汎用エンジンに好適である。
本発明に係る排気還流構造を備えた汎用エンジンを示す正面図である。 本発明に係る排気還流構造を示す説明図である。 図1の3−3線断面図である。 図1の4−4線断面図である。 本発明に係るキャブレタの断面図である。 本発明に係る吸気弁及び排気弁のリフト量を説明するグラフである。 本発明に係る吸気弁及び排気弁のリフト量の別実施形態を説明するグラフである。
符号の説明
10…汎用エンジン、25…カムシャフト、43…吸気弁、44…排気弁、75…カム、75c…カム山(排気還流用カム山)。

Claims (1)

  1. エンジン始動時よりエンジン回転数が所定の作業回転数まで上昇するように設定され、吸気弁と、排気弁と、これらの吸気弁、排気弁を開閉するためにカムシャフトに設けられたカムとを備え、排気ガスの一部をシリンダ内に還流させる汎用エンジンの排気還流構造において、
    前記カムに、前記吸気弁が開いている時期に前記排気弁を開くカム山が設けられていることを特徴とする汎用エンジンの排気還流構造。
JP2008167866A 2008-06-26 2008-06-26 汎用エンジンの排気還流構造 Expired - Fee Related JP5145133B2 (ja)

Priority Applications (5)

Application Number Priority Date Filing Date Title
JP2008167866A JP5145133B2 (ja) 2008-06-26 2008-06-26 汎用エンジンの排気還流構造
US12/488,766 US7886714B2 (en) 2008-06-26 2009-06-22 Exhaust gas reflux mechanism for multipurpose engine
EP09251643A EP2138699B1 (en) 2008-06-26 2009-06-25 Exhaust gas reflux mechanism for multipurpose engine
AT09251643T ATE507385T1 (de) 2008-06-26 2009-06-25 Abgasrückführmechanismus für einen mehrzweckmotor
DE602009001145T DE602009001145D1 (de) 2008-06-26 2009-06-25 Abgasrückführmechanismus für einen Mehrzweckmotor

Applications Claiming Priority (1)

Application Number Priority Date Filing Date Title
JP2008167866A JP5145133B2 (ja) 2008-06-26 2008-06-26 汎用エンジンの排気還流構造

Publications (2)

Publication Number Publication Date
JP2010007567A true JP2010007567A (ja) 2010-01-14
JP5145133B2 JP5145133B2 (ja) 2013-02-13

Family

ID=41137318

Family Applications (1)

Application Number Title Priority Date Filing Date
JP2008167866A Expired - Fee Related JP5145133B2 (ja) 2008-06-26 2008-06-26 汎用エンジンの排気還流構造

Country Status (5)

Country Link
US (1) US7886714B2 (ja)
EP (1) EP2138699B1 (ja)
JP (1) JP5145133B2 (ja)
AT (1) ATE507385T1 (ja)
DE (1) DE602009001145D1 (ja)

Families Citing this family (7)

* Cited by examiner, † Cited by third party
Publication number Priority date Publication date Assignee Title
ES2643552T3 (es) * 2009-08-20 2017-11-23 Husqvarna Zenoah Co., Ltd. Carburador
WO2011030456A1 (ja) * 2009-09-14 2011-03-17 本田技研工業株式会社 内燃機関の動弁装置
JP5740121B2 (ja) * 2010-09-16 2015-06-24 本田技研工業株式会社 動弁機構付きエンジン
JP6343176B2 (ja) * 2014-05-21 2018-06-13 株式会社やまびこ 層状掃気式2サイクルエンジン用の気化器
JP6389200B2 (ja) * 2016-03-28 2018-09-12 本田技研工業株式会社 内燃機関の動弁装置
WO2018142312A1 (en) * 2017-02-01 2018-08-09 Tvs Motor Company Limited Cylinder head for an internal combustion engine
EP3779163B1 (en) * 2018-03-30 2023-07-12 Honda Motor Co., Ltd. Engine

Citations (2)

* Cited by examiner, † Cited by third party
Publication number Priority date Publication date Assignee Title
US20030200954A1 (en) * 2002-04-30 2003-10-30 Zsoldos Jeffrey S. Method and apparatus for combining exhaust gas recirculation and engine exhaust braking using single valve actuation
JP2008069671A (ja) * 2006-09-12 2008-03-27 Honda Motor Co Ltd 内燃機関の排気還流装置

Family Cites Families (16)

* Cited by examiner, † Cited by third party
Publication number Priority date Publication date Assignee Title
US1952881A (en) 1932-07-30 1934-03-27 Clarke C Minter Internal combustion engine
JP3231201B2 (ja) 1994-12-26 2001-11-19 本田技研工業株式会社 Ohc型エンジンの潤滑装置
US6125828A (en) * 1995-08-08 2000-10-03 Diesel Engine Retarders, Inc. Internal combustion engine with combined cam and electro-hydraulic engine valve control
WO1999030011A1 (en) * 1997-12-11 1999-06-17 Diesel Engine Retarders, Inc. Variable lost motion valve actuator and method
WO2000061930A1 (en) * 1999-04-14 2000-10-19 Diesel Engine Retarders, Inc. Exhaust and intake rocker arm assemblies for modifying valve lift and timing during positive power
JP3704011B2 (ja) * 1999-12-20 2005-10-05 本田技研工業株式会社 内燃機関の蒸発燃料処理装置
US6349688B1 (en) 2000-02-18 2002-02-26 Briggs & Stratton Corporation Direct lever overhead valve system
US6439195B1 (en) * 2000-07-30 2002-08-27 Detroit Diesel Corporation Valve train apparatus
JP4414118B2 (ja) * 2001-08-30 2010-02-10 本田技研工業株式会社 エンジンの動弁機構
US7152576B2 (en) * 2002-04-08 2006-12-26 Richard Vanderpoel Compact lost motion system for variable value actuation
EP1492946B1 (en) * 2002-04-08 2011-11-02 Jacobs Vehicle Systems, Inc. Compact lost motion system for variable valve actuation
JP4199086B2 (ja) 2002-11-06 2008-12-17 本田技研工業株式会社 内燃機関の排気還流装置
CN1922395A (zh) * 2003-12-30 2007-02-28 雅各布斯车辆系统公司 气门驱动系统和方法
DE102005015853A1 (de) * 2005-04-07 2006-10-26 Daimlerchrysler Ag Verfahren zum Betrieb einer Hubkolbenbrennkraftmaschine mit einer internen und externen Abgasrückführung
US7500466B2 (en) * 2006-06-29 2009-03-10 Jacobs Vehicle Systems, Inc. Variable valve actuation and engine braking
US7712449B1 (en) * 2009-05-06 2010-05-11 Jacobs Vehicle Systems, Inc. Lost motion variable valve actuation system for engine braking and early exhaust opening

Patent Citations (2)

* Cited by examiner, † Cited by third party
Publication number Priority date Publication date Assignee Title
US20030200954A1 (en) * 2002-04-30 2003-10-30 Zsoldos Jeffrey S. Method and apparatus for combining exhaust gas recirculation and engine exhaust braking using single valve actuation
JP2008069671A (ja) * 2006-09-12 2008-03-27 Honda Motor Co Ltd 内燃機関の排気還流装置

Also Published As

Publication number Publication date
DE602009001145D1 (de) 2011-06-09
EP2138699A1 (en) 2009-12-30
ATE507385T1 (de) 2011-05-15
JP5145133B2 (ja) 2013-02-13
US20090320792A1 (en) 2009-12-31
US7886714B2 (en) 2011-02-15
EP2138699B1 (en) 2011-04-27

Similar Documents

Publication Publication Date Title
JP5145133B2 (ja) 汎用エンジンの排気還流構造
JP4955020B2 (ja) 4サイクルエンジン
US8122861B2 (en) Two-stroke cycle combustion engine of air scavenging type
JP5925878B2 (ja) 内燃機関の吸気装置
EP2638274B1 (en) Air supply device of stratified scavenging two-cycle engine
US7246794B2 (en) Carburetor throttle valve control system
KR100585979B1 (ko) 내연기관의 배기 환류 장치
JP6055709B2 (ja) 内燃機関の吸気装置
JP5192975B2 (ja) 内部egr機構を備えたエンジンのシリンダヘッド
JP4126881B2 (ja) 燃料噴射式エンジンの吸気制御装置
US8186335B2 (en) Load control mechanism for internal combustion engine
CN104514638B (zh) 节气门体
TW200530490A (en) Valve operating device for internal combustion engine
JP6241988B2 (ja) 内燃機関
EP2177738B1 (en) Electrohydraulic device for the phase and lifting variation of the valves in an internal combustion engine
KR100582140B1 (ko) 내연기관의 밸브메커니즘
JP3925550B2 (ja) 燃料噴射式エンジンの吸気制御装置
JP3925551B2 (ja) 燃料噴射式エンジンの吸気制御装置
JPH05133212A (ja) 多気筒内燃機関
JP2013209914A (ja) 内燃機関
JP2015140672A (ja) オートチョーク装置
JP2006233961A (ja) 自然吸気式内燃機関
JPS62178723A (ja) エンジンの吸気装置
JPH074219A (ja) 多気筒内燃機関

Legal Events

Date Code Title Description
A621 Written request for application examination

Free format text: JAPANESE INTERMEDIATE CODE: A621

Effective date: 20101126

A131 Notification of reasons for refusal

Free format text: JAPANESE INTERMEDIATE CODE: A131

Effective date: 20120410

A521 Request for written amendment filed

Free format text: JAPANESE INTERMEDIATE CODE: A523

Effective date: 20120518

A02 Decision of refusal

Free format text: JAPANESE INTERMEDIATE CODE: A02

Effective date: 20120710

A521 Request for written amendment filed

Free format text: JAPANESE INTERMEDIATE CODE: A523

Effective date: 20121003

A911 Transfer to examiner for re-examination before appeal (zenchi)

Free format text: JAPANESE INTERMEDIATE CODE: A911

Effective date: 20121011

TRDD Decision of grant or rejection written
A01 Written decision to grant a patent or to grant a registration (utility model)

Free format text: JAPANESE INTERMEDIATE CODE: A01

Effective date: 20121120

A01 Written decision to grant a patent or to grant a registration (utility model)

Free format text: JAPANESE INTERMEDIATE CODE: A01

A61 First payment of annual fees (during grant procedure)

Free format text: JAPANESE INTERMEDIATE CODE: A61

Effective date: 20121126

FPAY Renewal fee payment (event date is renewal date of database)

Free format text: PAYMENT UNTIL: 20151130

Year of fee payment: 3

R150 Certificate of patent or registration of utility model

Ref document number: 5145133

Country of ref document: JP

Free format text: JAPANESE INTERMEDIATE CODE: R150

Free format text: JAPANESE INTERMEDIATE CODE: R150

R250 Receipt of annual fees

Free format text: JAPANESE INTERMEDIATE CODE: R250

LAPS Cancellation because of no payment of annual fees