JP2010003931A - 変圧器 - Google Patents

変圧器 Download PDF

Info

Publication number
JP2010003931A
JP2010003931A JP2008162492A JP2008162492A JP2010003931A JP 2010003931 A JP2010003931 A JP 2010003931A JP 2008162492 A JP2008162492 A JP 2008162492A JP 2008162492 A JP2008162492 A JP 2008162492A JP 2010003931 A JP2010003931 A JP 2010003931A
Authority
JP
Japan
Prior art keywords
pure water
transformer
water
tank
cooling
Prior art date
Legal status (The legal status is an assumption and is not a legal conclusion. Google has not performed a legal analysis and makes no representation as to the accuracy of the status listed.)
Granted
Application number
JP2008162492A
Other languages
English (en)
Other versions
JP5348948B2 (ja
Inventor
Masahiro Hanai
正広 花井
Sumimasa Sato
純正 佐藤
Takeshi Chigiri
健史 千切
Koji Suzuki
浩二 鈴木
Current Assignee (The listed assignees may be inaccurate. Google has not performed a legal analysis and makes no representation or warranty as to the accuracy of the list.)
Toshiba Corp
Original Assignee
Toshiba Corp
Priority date (The priority date is an assumption and is not a legal conclusion. Google has not performed a legal analysis and makes no representation as to the accuracy of the date listed.)
Filing date
Publication date
Application filed by Toshiba Corp filed Critical Toshiba Corp
Priority to JP2008162492A priority Critical patent/JP5348948B2/ja
Publication of JP2010003931A publication Critical patent/JP2010003931A/ja
Application granted granted Critical
Publication of JP5348948B2 publication Critical patent/JP5348948B2/ja
Expired - Fee Related legal-status Critical Current
Anticipated expiration legal-status Critical

Links

Images

Landscapes

  • Transformer Cooling (AREA)

Abstract

【課題】純水を絶縁と冷却に使用することにより小型で信頼性の高い変圧器を提供する。
【解決手段】冷却媒体として純水5を用い、この純水中に変圧器の巻線3,4、鉄心2等の構造物を配置する。変圧器タンク1の上部に接続された第1の配管11に、純水冷却用クーラー30及び純水循環用ポンプ32を順次接続し、さらにその下流側にイオン交換樹脂を封入した純水器33を接続する。そして、第1の配管11を純水器33の下流側で変圧器タンク1の下部に接続して、純水循環系を構成する。また、内側巻線3、外側巻線4、鉄心2、変圧器タンク1、第1の配管11、第2の配管12、純水冷却用クーラー30、純水循環用ポンプ32及び純水器33等、純水と接する部分に気密性の高いコーティングを施す。
【選択図】図1

Description

本発明は、変圧器に係り、特に絶縁冷却媒体として水を使用した変圧器に関するものである。
一般的に、変圧器には絶縁性能と冷却性能とが要求される。そのため、これらの性能を満足させるため、従来は、絶縁冷却媒体として、石油を精製して製造された鉱油やシリコン油が使用されていた。一方、近年では、環境保護の観点から、外部に漏れた場合の環境負荷を低減するために、ひまわり種子・菜種などの植物油を精製して製造された植物油を変圧器に適用する動きがある。
上記ひまわり油、菜種油などの植物油は、絶縁性能及び冷却性能には優れているが、外部に漏れた場合には、環境に与える負荷は鉱油ほど大きくないものの、環境へ与える打撃は大きい。このため、植物油といえども、外部に漏れないように油止め対策が必要である。一方、火災になった場合には、油が燃え尽きるまで消火は困難であるため、鉱油を用いた場合と同様に消火設備が必要である。
ここで、図5を参照して、冷却媒体として絶縁油を用いた従来の内鉄形送油式変圧器の構成について説明する。すなわち、変圧器タンク1内に鉄心2が配設され、その周囲に内側巻線3及び外側巻線4が巻回されている。また、前記変圧器タンク1の上部には第1の配管11が接続され、この第1の配管11はクーラー9及びポンプ10を介して、前記変圧器タンク1の下部に接続されている。また、バルブ13が設置された第2の配管12が、前記ポンプ10の下流側において前記第1の配管11から分岐され、変圧器タンク1の上部に接続されている。
また、前記変圧器タンク1の上部には、コンサベータ21及びブッシング31が配設され、このコンサベータ21の内部にはゴム膜22が取り付けられ、前記変圧器タンク1とコンサベータ21の間に設置された導通管25によって、コンサベータ21内に絶縁油7が導入されるように構成されている。また、コンサベータ21の上面には呼吸器官23を介して乾燥装置24が接続されている。
上記のような構成を有する従来の内鉄形送油式変圧器においては、変圧器タンク1の下部から導入された冷却媒体である絶縁油7は、鉄心2、内側巻線3及び外側巻線4を冷却しながらタンク上部へ移動し、変圧器タンク1の上部から第1の配管11に導入されるように構成されている。そして、第1の配管11に導入された絶縁油7は、前記クーラー9によって冷却された後、ポンプ10によって、変圧器タンク1の下部から再びタンク内に導入されるように構成されている。
一方、バルブ13を開くことによって、ポンプ10の下流側で第1の配管11から分流して第2の配管12に導入された絶縁油7は、変圧器タンク1の上部から再びタンク1内に導入されるように構成されている。
上述したように、図5に示したような冷却媒体として絶縁油を用いた従来の内鉄形送油式変圧器において、冷却媒体である絶縁油が外部に漏れた場合には、環境に与える打撃が大きいため、たとえ、冷却媒体が外部に漏れた場合でも、環境に影響を与えない絶縁冷却媒体を用いることが望まれている。このような環境に影響を与えない絶縁冷却媒体としてはまず水を挙げることができるが、通常の水を使用した場合、絶縁性の点で問題がある。
このような問題点を解決するために、冷却媒体として純水を利用することが知られている(特許文献1参照)。純水は、通常の水と同様に優れた冷却特性を持つため、冷却だけを目的に使用する場合には問題はない。しかし、冷却だけでなく絶縁の機能の適用を考える場合には、電気抵抗と絶縁耐力が問題となる。
すなわち、純水は、通常の水に比べて高い抵抗率及び絶縁破壊電圧を持ち、それぞれ大体0.2〜5×10Ω・cm、4〜8kV/mmの値である。(非特許文献1参照)。しかし、一般的な絶縁油の抵抗率及び破壊電圧は、0.1〜10×1014Ω・cm、20〜30kV/mmと高く、純水は絶縁物よりも抵抗率では10倍低く、破壊電圧では約5倍低い(非特許文献2参照)。
さらに、水は他の物質を溶かしやすい性質を持ち、特にイオンを大量に溶かした場合には、抵抗率や破壊電圧が低下するため、印加電圧が低い変圧器の負荷タップ巻線の限流抵抗器などに適用することが考えられている(特許文献2参照)。
一方、交流電圧を直流電圧に変換するサイリスタバルブでは、サイリスタの熱を水で冷却すると共に、各モジュール間の電位差を保つために水をイオン交換器に通して純水にすると共に、直流高電圧部分が印加されているサイリスタモジュール部分を冷却するために、絶縁ホースで絶縁をして循環させる方式を取っている(特許文献3参照)。
このサイリスタモジュールでは、金属に直接純水を接触させて冷却する方式を取っているが、直接金属と接触する面積が限られている場合には、水に溶け込むイオンも多くないために、水が循環する間にイオンは少量しか水に溶け込まないため、イオン交換器の交換は数年に1度の程度で運転が可能であった。
このように、純水は金属と接触することで金属イオンを溶かし、抵抗率と破壊電圧が低くなるため、純水を絶縁に使用する場合には、サイリスタバルブの適用例からも分かるとおり、限られた部分を冷却する場合には水に溶け込むイオン量が多くないことから、常にイオン交換器で純水に制御すると共に、電位差がある部分には長い絶縁距離で利用されている。
このように、従来、水のみを用いて絶縁をしようとすると、水に溶けるイオンを取り除き、常に純水の状態で絶縁したい部分に行き渡らせる必要がある。一方、その結果、コイル部分及び鉄心部分と水とが接触する面積は非常に大きくなる。
特開2006−74963号公報 特開平5−234778号公報 特開平6−165371号公報 昭和56年電気学会東京支部大会17(pp20) 電気学会技術報告第730号
通常、変圧器では、絶縁と冷却を行う液体又は気体の絶縁媒体は、コイルの下部から上部に流れるようになっている。従来の変圧器と同様に水をコイル下部から上部に流すと、コイル下部では純水であったものが、上部に行くに従い、コイルとの接触で銅イオンを含むようになり、コイル上部ではイオンを大量に含む水になり、絶縁が保てなくなると予想されていたため、今までは水は変圧器の絶縁・冷却媒体として利用されていなかった。
この原因として以下のことが考えられる。変圧器は絶縁・冷却媒体と固体絶縁物の複合絶縁の構成をとっており、油入変圧器の絶縁油、ガス絶縁変圧器のSF6ガス共に誘電率が固体絶縁物よりも小さい。この結果、絶縁油、SF6ガス共に固体絶縁物よりも電位分担が大きいため、高い絶縁性能を持つ絶縁・冷却媒体が必要であるとの認識が一般的であった。
このため、固体絶縁物より低い絶縁特性を有する純水を使用しても、純水に分担される電位より水の絶縁耐力が小さいとの予想で、水を変圧器の絶縁・冷却媒体に使用することはなかった。さらに、変圧器内部にはタンク、鉄心等の金属部分が多数存在するために、純水に金属が溶ける結果、さらに絶縁耐力が低下するために、純水を絶縁・冷却媒体に使用することは困難と考えられていた。
しかしながら、水の比誘電率が81であるのに対して、通常の固体絶縁物である高分子絶縁物の比誘電率は4程度であるために、交流や雷インパルス印加時には、水側に分担する電位は高分子絶縁物の約20分の1となる。また、通常の固体絶縁物の破壊電圧が60〜100kV/mm程度であるのに対して、純水の絶縁破壊電圧は先に述べたように4〜8kV/mmであり、100kV/mmの約20分の1とバランスが取れている。
そこで、本発明者等は、イオンが水に大量に溶けて絶縁耐力が低下しなければ、従来の油入変圧器やガス絶縁変圧器と同様の大きさの変圧器が製造できるとの見地から鋭意検討を重ね、本発明を完成させるに至ったものである。
すなわち、本発明は、上述したような従来技術の問題点を解決するために提案されたものであり、その目的は、純水を絶縁と冷却に使用しながら小型で信頼性の高い変圧器を提供することにある。
上記の課題を解決するために、請求項1に記載の変圧器は、絶縁冷却媒体として純水が用いられ、変圧器タンクの外部に設けられた純水冷却手段と前記変圧器タンクとを循環する純水循環系が構成され、変圧器を構成する部材の内、前記純水と接する部分に気密性の高い被覆が施され、前記純水の循環系にイオン除去手段が設けられていることを特徴とするものである。
上記のような構成を有する請求項1に記載の発明によれば、絶縁冷却媒体として用いられる純水が直接金属に接触することがないため、金属イオンが純水中に溶け込む量が非常に少なくなる。その結果、コイル上部において、水の抵抗率及び絶縁破壊電圧が低下することを防止できる。また、純水の循環系にイオン除去手段を設けたことにより、水の抵抗率及び絶縁耐力をより高精度に保つことができる。なお、変圧器を構成する部材の内、純水と接する部分とは、冷却媒体(純水)を循環させる配管、クーラー、ポンプ、タンク、コンサベータ等の部品である。
また、請求項2に記載の変圧器は、絶縁冷却媒体として純水及び水が用いられ、変圧器タンクの外部に設けられた純水冷却手段と前記変圧器タンク内の所定の部位とを循環する純水循環系が構成されると共に、変圧器タンクの外部に設けられた水冷却手段と前記変圧器タンク内の所定の部位とを循環する水循環系が構成され、変圧器を構成する部材の内、前記純水と接する部分に気密性の高い被覆が施され、前記純水の循環系にイオン除去手段が設けられていることを特徴とするものである。
上記のような構成を有する請求項2に記載の発明によれば、請求項1と同様の作用効果が得られるだけでなく、絶縁冷却媒体として純水と水を用い、高い絶縁性能を要求される巻線部分等には純水を用い、絶縁性能を要求されない鉄心部分等には水を用いているため、気密性の高い被覆を施す部位を最小限に抑えることができる。
以上述べたように、本発明によれば、イオンが水に溶ける量を低減することで純水の維持が容易になるため、純水を絶縁と冷却に使用しながら小型で信頼性の高い変圧器を提供することができる。
以下、本発明の実施形態について図面を参照して説明する。なお、図5に示した従来型と同様の部材には同様の符号を付して説明は省略する。
(1)第1実施形態
(1−1)構成
本実施形態においては、冷却媒体として純水5が用いられ、この純水中に変圧器の巻線3,4、鉄心2等の構造物が配置されている。また、変圧器タンク1の上部に接続された第1の配管11には、純水冷却用クーラー30及び純水循環用ポンプ32が順次接続され、さらにその下流側には、イオン交換樹脂を封入した純水器33(請求項のイオン除去手段に対応)が接続されている。
そして、前記第1の配管11は、前記純水器33の下流側で、変圧器タンク1の下部に接続されている。また、バルブ13が設置された第2の配管12が、前記純水器33の下流側において前記第1の配管11から分岐され、変圧器タンク1の上部に接続されている。なお、前記第2の配管12は、純水循環用ポンプ32の排出量が変えられない場合に、タンク1内に流れる純水の量を適宜調整するために設けられている。
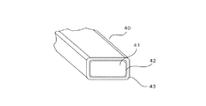
また、本実施形態においては、内側巻線3及び外側巻線4としては、図2に示すように、気密性の高い被覆42として例えばダイヤモンドライクカーボン(DLC)でコーティングした銅線41の外側に高分子フィルム43を巻いた素線40を、高分子製の円筒に高分子製のレールを配置したものの回りに巻いたものが用いられる。また、鉄心2としては、酢酸セルロースでコーティングした薄板の珪素鋼板を重ねて束ねたものが用いられる。
さらに、本実施形態においては、変圧器タンク1、第1の配管11、第2の配管12、純水冷却用クーラー30、純水循環用ポンプ32及び純水器33の内面にも、酢酸セルロースによるコーティングが施されている。また、変圧器上部に取り付けられたコンサベータ21の内面、及び内部に取り付けられたゴム膜22には、ダイヤモンドライクカーボン(DLC)によるコーティングが施されている。
なお、コーティングを施す部位により、酢酸セルロースによるコーティングとダイヤモンドライクカーボン(DLC)によるコーティングとを区別して適用しているのは、酢酸セルロースには柔軟性があるが、DLCには柔軟性がないため、柔らかいものにDLCを取り付けると割れてしまうからである。
(1−2)作用
以上のような構成を有する本実施形態においては、変圧器タンク1の下部から導入された冷却媒体である純水5は、鉄心2、内側巻線3及び外側巻線4を冷却しながらタンク上部へ移動し、前記変圧器タンク1の上部から第1の配管11に導入される。
第1の配管11に導入された純水5は、前記純水冷却用クーラー30によって冷却された後、純水循環用ポンプ32によって純水器33に導入され、純水器33に封入されたイオン交換樹脂でイオンを取り除かれた後、変圧器タンク1の下部から再びタンク1内に導入される。
この場合、本実施形態においては、変圧器タンク1、第1の配管11、第2の配管12、純水冷却用クーラー30、純水循環用ポンプ32及び純水器33の内面には、酢酸セルロースによってコーティングが施されているため、冷却媒体である純水5がこれらと接触しても、純水5に溶け込むイオンの量は非常に小さい。
その結果、本実施形態において絶縁冷却媒体として用いられる純水5は、高い抵抗率と絶縁耐力を循環中の全ての状態で維持しながら変圧器タンク1の下部からタンク内に導入され、変圧器の巻線及び鉄心を冷却した後、タンク上部に接続された配管から純水冷却用クーラー30に戻される。
さらに、本実施形態においては、変圧器上部に取り付けられたコンサベータ21の内部に取り付けられたゴム膜22にもダイヤモンドライクカーボン(DLC)によるコーティングが施されているため、ゴム膜22を介して空気が透過されることを防止できる。その結果、酸素、窒素等のイオンが水に溶け込むことを防止できるので、水の抵抗率及び絶縁破壊電圧が低下することを防止できる。
(1−3)効果
以上述べたように、本実施形態によれば、純水を絶縁冷却媒体として使用し、イオン源となる金属及び外気と接するゴム等に、ダイヤモンドライクカーボン(DLC)や酢酸セルロースによる気密性の高い被覆を施すことにより、純水へのイオンの溶け込みを最小限にすると共に、イオン交換樹脂を用いたイオン除去手段(純水器33)を純水の循環系に取り付けることで、純水の維持が容易になるため、巻線の上部においても絶縁性能の低下を防止することができる。その結果、純水を絶縁と冷却に使用した、小型で信頼性の高い変圧器を得ることができる。
(2)第2実施形態
(2−1)構成
本実施形態においては、冷却媒体として純水5及び水6が用いられ、鉄心2を冷却する水6と、巻線及びその他の部分を冷却する純水5とをそれぞれ別個の循環系を用いて、タンク内に循環供給するように構成されている。
すなわち、図3に示すように、内側巻線3及び外側巻線4はFRP等からなる絶縁容器50内に配置され、この絶縁容器50の上部には第3の配管51が接続され、変圧器タンク1の外側に引き出されている。この第3の配管51には、純水冷却用クーラー30及び純水循環用ポンプ32が順次接続され、さらにその下流側に設置されたイオン交換樹脂を封入した純水器33を介して、前記絶縁容器50の下部に接続されている。
また、前記純水循環用ポンプ32と純水器33の間において、前記第3の配管51から第4の配管52が分岐され、前記純水冷却用クーラー30の上流側で前記第3の配管51に接続されている。また、この第4の配管52には、バルブ13が設置されている。なお、前記第4の配管52は、純水循環用ポンプ32の排出量が変えられない場合に、絶縁容器50内に流れる純水の量を変えるために設けられている。従って、純水器33を通す必要がないため、純水器33の上流側で前記第3の配管51から分岐されている。
一方、変圧器タンク1の上部に接続された第1の配管11には、水冷却用クーラー53及び水循環用ポンプ54が設置され、さらに、バルブ13が設置された第2の配管12が、前記水循環用ポンプ54の下流側で第1の配管11から分岐され、変圧器タンク1の上部に接続されている。なお、この第2の配管12は、水循環用ポンプ54の排出量が変えられない場合に、タンク1内に流れる水の量を変えるために設けられている。
そして、前記第1の配管11を介して、前記絶縁容器50の外側の空間に水6が循環供給され、これにより、前記絶縁容器50の外側の空間に配置された鉄心2が、水6によって冷却されるように構成されている。
また、本実施形態においても、上記第1実施形態と同様に、図2に示すように、内側巻線3及び外側巻線4としては、気密性の高い被覆42としてダイヤモンドライクカーボンでコーティングした銅線41の外側に高分子フィルム43を巻いた素線40を、高分子製の円筒に高分子製のレールを配置したものの回りに巻いたものが用いられる。なお、本実施形態においては、鉄心部分にはコーティング処理は不要である。
さらに、本実施形態においては、絶縁容器50、第3の配管51、第4の配管52、純水冷却用クーラー30、純水循環用ポンプ32及び純水器33の内面には、酢酸セルロースによるコーティングが施されている。また、変圧器上部に取り付けられたコンサベータ21の内面、及び内部に取り付けられたゴム膜22には、ダイヤモンドライクカーボンによるコーティングが施されている。
(2−2)作用
以上のような構成を有する本実施形態においては、絶縁性能を要求される巻線3、4を冷却する純水5は、第3の配管51を介して変圧器タンク1内に配設された絶縁容器50の下部から該容器内に導入され、内側巻線3及び外側巻線4を冷却しながら絶縁容器50の上部に移動し、絶縁容器50の上部から第3の配管51に導入される。
第3の配管51に導入された純水5は、純水冷却用クーラー30によって冷却された後、純水循環用ポンプ32によって純水器33に導入され、純水器33に封入されたイオン交換樹脂でイオンを取り除かれた後、変圧器タンク1の下部から再び絶縁容器50内に導入される。
一方、絶縁性能を要求されない巻線以外の部分、特に鉄心2を冷却する水6は、変圧器タンク1の下部からタンク内に導入され、鉄心2を冷却しながらタンク上部へ移動し、変圧器タンク1の上部から第1の配管11に導入される。第1の配管11に導入された水6は、前記水冷却用クーラー53によって冷却された後、水循環用ポンプ54によって変圧器タンク1の下部から再びタンク内に導入される。
このように、本実施形態においては、絶縁容器50、第3の配管51、第4の配管52、純水冷却用クーラー30、純水循環用ポンプ32及び純水器33の内面には、酢酸セルロースによってコーティングが施されているため、冷却媒体である純水5がこれらと接触しても、純水にとけ込むイオンの量は非常に小さい。
その結果、冷却媒体である純水5は、高い抵抗率と絶縁耐力を循環中の全ての状態で維持しながら変圧器タンク内に設置された絶縁容器50の下部から入り、変圧器の巻線を冷却した後、絶縁容器50の上部に接続された配管から純水冷却用クーラー30に戻される。
さらに、本実施形態においては、絶縁性能を要求されない巻線以外の部分の冷却には水6を用いているため、タンク内面、鉄心部分には気密性の被覆をする必要がない。
(2−3)効果
以上述べたように、本実施形態においては、絶縁性能を要求されない鉄心部分の冷却媒体(水)が循環する系と、絶縁性能を要求される巻線部分の冷却媒体(純水)が循環する系とを分離して構成することにより、気密性の被覆を必要とする部分を少なくすることができるだけでなく、純水とイオンの発生源との接触も少なくすることができるため、必要とするイオン交換樹脂の量を少なくすることができる。また、鉄心を構成する薄い珪素鋼鈑すべてに気密性の優れた被覆をする必要がなくなるため、コストを削減することができる。
(3)第3実施形態
(3−1)構成
本実施形態は、上記第2実施形態の変形例であって、図4に示したように、鉄心2を冷却する水6が循環する系と、巻線3、4及びその他の部分を冷却する純水5が循環する系とを分離して構成する場合に、鉄心2を密閉容器60内に収納配置し、鉄心2を冷却する水6が、前記密閉容器60の上部に接続された第5の配管61を介して変圧器タンク1の外側に引き出されるように構成したものである。
この第5の配管61には、水冷却用クーラー53及び水循環用ポンプ54が設置され、さらに、バルブ13が設置された第6の配管62が、前記水循環用ポンプ54の下流側で第5の配管61から分岐され、前記水冷却用クーラー53の上流側で前記第5の配管61に接続されている。なお、この第6の配管62は、水循環用ポンプ54の排出量が変えられない場合に、密閉容器60内に流れる水の量を変えるために設けられている。
そして、前記第5の配管61を介して、鉄心2を収納した密閉容器60の下部に水6が循環供給され、これにより、鉄心2が水6によって冷却されるように構成されている。
一方、変圧器タンク1の上部に接続された第1の配管11には、純水冷却用クーラー30及び純水循環用ポンプ32が設置され、さらにその下流側に、イオン交換樹脂を封入した純水器33が設置されている。そして、前記第1の配管11は、前記純水器33の下流側で、変圧器タンク1の下部に接続されている。また、バルブ13が設置された第2の配管12が、前記純水器33の下流側において前記第1の配管11から分岐され、変圧器タンク1の上部に接続されている。
(3−2)作用
以上のような構成を有する本実施形態においては、絶縁性能を要求される巻線3、4を冷却する純水5は変圧器タンク1の下部から導入され、内側巻線3及び外側巻線4を冷却しながら変圧器タンク1の上部に移動し、第1の配管11に導入される。
第1の配管11に導入された純水5は、純水冷却用クーラー30によって冷却された後、純水循環用ポンプ32によって純水器33に導入され、純水器33に封入されたイオン交換樹脂でイオンを取り除かれた後、変圧器タンク1の下部から再びタンク内に導入される。
一方、絶縁性能を要求されない鉄心2を冷却する水6は、鉄心2を収納した密閉容器60の下部から導入され、鉄心2を冷却しながら上方へ移動し、密閉容器60の上部から第5の配管61に導入される。第5の配管61に導入された水6は、前記水冷却用クーラー53によって冷却された後、水循環用ポンプ54によって変圧器タンク1の下部から再び前記密閉容器60内に導入される。
このように、本実施形態においては、変圧器タンク1、純水が循環する第1の配管11、第2の配管12、純水冷却用クーラー30、純水循環用ポンプ32及び純水器33の内面には、酢酸セルロースによってコーティングが施されているため、冷却媒体である純水5がこれらと接触しても、純水にとけ込むイオンの量は非常に小さい。
その結果、冷却媒体である純水5は、高い抵抗率と絶縁耐力を循環中の全ての状態で維持しながら変圧器タンクの下部から入り、変圧器の巻線を冷却した後、タンク上部に設けられた配管から純水冷却用クーラー30に戻される。さらに、本実施形態においては、絶縁性能を要求されない鉄心部分には特に気密性の優れたコーティングを施さず、また、鉄心部分の冷却には水6を用いているため、この水の循環系にも気密性の被覆をする必要がない。
(3−3)効果
以上述べたように、本実施形態においては、絶縁性能を要求されない鉄心部分の冷却媒体(水)が循環する系と、絶縁性能を要求される巻線部分の冷却媒体(純水)が循環する系とを分離して構成することにより、気密性の被覆を必要とする部分を少なくすることができるだけでなく、純水とイオンの発生源との接触も少なくすることができるため、必要とするイオン交換樹脂の量を少なくすることができる。また、鉄心を構成する薄い珪素鋼鈑すべてに気密性の優れた被覆をする必要がなくなるため、コストを削減することができる。
(4)他の実施形態
なお、本発明は、上述したような実施形態に限定されるものではなく、以下に示すような変形例も考えられる。すなわち、上記第2実施形態及び第3実施形態のように、純水装置を取り付けない水を用いた冷却系を用いた装置では、水の代わりに窒素、空気などを冷却媒体として使用し、ポンプの代わりにガスブロアでガスを循環して冷却することもできる。
また、図示はしていないが、素線の銅線を中空にして、中空の内側にダイヤモンドライクコーティングを施すと共に、内部に水を通すことで冷却効率を上げることができる。
また、素線の被覆としてポリエチレンのフィルムを巻くのではなく、銅線の周りにポリエチレンをダイスによる押し出しで被覆層を設けたケーブルを作製し、そのポリエチレンのケーブルの周りにダイヤモンドライクコーティングを施すことで、ポリエチレンに含まれるイオンが水に溶け込むことを防止できる。この結果、純水の維持が行いやすく、イオン交換樹脂の交換期間の長期化ができるようになり経済性が高くなる。さらに、素線の被覆として酢酸セルロースを使用することで、銅線のコーティングをする必要がなくなる。
また、上記の実施形態においては、イオン除去手段としてイオン交換樹脂を用いたが、逆浸透膜を使用することもできる。すなわち、逆浸透膜をチューブ状に形成し、このチューブを複数束ねて大きな表面積を持たせ、チューブ内側に圧力を加えることにより、水分子より小さな分子が透過可能になるため純水を得ることができる。なお、この逆浸透膜としては、例えば、芳香族ポリアミドあるいは酢酸セルロースを用いることができる。
また、上記逆浸透膜を気密性の高い被覆として用いることもできる。すなわち、上記逆浸透膜は、圧力を加えても水分子よりも大きな物質は通しにくい性質を持つため、水分子より大きなイオンを透過させない目的で、タンク等の表面に気密性の高い被覆として用いることもできる。その結果、タンクから水に鉄等のイオンが溶け出すのを防止することができる。
上記のような変圧器は、変電所などで使用する200MVAを超えるような大容量の変圧器で説明したが、これに限ったものでなく1MVA以下の領域までの変圧器でも作用効果は変わらない。さらに、災害時の復興用などの一時的に変圧器を必要とする場所で用いられるトレーラに載せて移動するタイプの変圧器にも適している。
本発明に係る変圧器の第1実施形態の構成を示す縦断面図。 本発明の巻線の素線の構成を示す斜視断面図。 本発明に係る変圧器の第2実施形態の構成を示す縦断面図。 本発明に係る変圧器の第3実施形態の構成を示す縦断面図。 従来の内鉄形送油式変圧器の構成の一例を示す縦断面図。
符号の説明
1…タンク
2…鉄心
3…内側巻線
4…外側巻線
5…純水
6…水
7…絶縁油
8…純水器
9…クーラー
10…ポンプ
11…第1の配管
12…第2の配管
13…バルブ
21…コンサベータ
22…ゴム膜
23…呼吸器管
24…乾燥装置
25…導通管
30…純水冷却用クーラー
31…ブッシング
32…純水循環用ポンプ
33…純水器
40…素線
41…銅線
42…気密性の高い被覆
43…高分子フィルム
50…絶縁容器
51…第3の配管
52…第4の配管
53…水冷却用クーラー
54…水循環用ポンプ
60…密閉容器
61…第5の配管
62…第6の配管

Claims (10)

  1. 絶縁冷却媒体として純水が用いられ、
    変圧器タンクの外部に設けられた純水冷却手段と前記変圧器タンクとを循環する純水循環系が構成され、
    変圧器を構成する部材の内、前記純水と接する部分に気密性の高い被覆が施され、
    前記純水の循環系にイオン除去手段が設けられていることを特徴とする変圧器。
  2. 絶縁冷却媒体として純水及び水が用いられ、
    変圧器タンクの外部に設けられた純水冷却手段と前記変圧器タンク内の所定の部位とを循環する純水循環系が構成されると共に、
    変圧器タンクの外部に設けられた水冷却手段と前記変圧器タンク内の所定の部位とを循環する水循環系が構成され、
    変圧器を構成する部材の内、前記純水と接する部分に気密性の高い被覆が施され、
    前記純水の循環系にイオン除去手段が設けられていることを特徴とする変圧器。
  3. 前記イオン除去手段が、イオン交換樹脂であることを特徴とする請求項1又は請求項2に記載の変圧器。
  4. 前記イオン除去手段が、逆浸透膜であることを特徴とする請求項1又は請求項2に記載の変圧器。
  5. 前記気密性の高い被覆は、処理対象となる金属部分に絶縁被覆をした上に形成されるものであることを特徴とする請求項1乃至請求項4のいずれか一に記載の変圧器。
  6. 前記気密性の高い被覆は、処理対象となる金属部分に絶縁被覆をする前に形成されるものであることを特徴とする請求項1乃至請求項4のいずれか一に記載の変圧器。
  7. 前記気密性の高い被覆としてダイヤモンドライクコーティングを用いたことを特徴とする請求項1乃至請求項6のいずれか一に記載の変圧器。
  8. 前記気密性の高い被覆として逆浸透膜を用いたことを特徴とする請求項1乃至請求項6のいずれか一に記載の変圧器。
  9. 前記逆浸透膜として酢酸セルロースを用いたことを特徴とする請求項4又は請求項8に記載の変圧器。
  10. 前記逆浸透膜として芳香族ポリアミドを用いたことを特徴とする請求項4又は請求項8に記載の変圧器。
JP2008162492A 2008-06-20 2008-06-20 変圧器 Expired - Fee Related JP5348948B2 (ja)

Priority Applications (1)

Application Number Priority Date Filing Date Title
JP2008162492A JP5348948B2 (ja) 2008-06-20 2008-06-20 変圧器

Applications Claiming Priority (1)

Application Number Priority Date Filing Date Title
JP2008162492A JP5348948B2 (ja) 2008-06-20 2008-06-20 変圧器

Publications (2)

Publication Number Publication Date
JP2010003931A true JP2010003931A (ja) 2010-01-07
JP5348948B2 JP5348948B2 (ja) 2013-11-20

Family

ID=41585391

Family Applications (1)

Application Number Title Priority Date Filing Date
JP2008162492A Expired - Fee Related JP5348948B2 (ja) 2008-06-20 2008-06-20 変圧器

Country Status (1)

Country Link
JP (1) JP5348948B2 (ja)

Cited By (13)

* Cited by examiner, † Cited by third party
Publication number Priority date Publication date Assignee Title
CN103448602A (zh) * 2013-09-13 2013-12-18 国家电网公司 变压器辅助降温车
EP2696358A1 (de) * 2012-08-10 2014-02-12 STS Spezial-Transformatoren-Stockach GmbH & Co. KG Mittelfrequenz-Transformator
CN104183368A (zh) * 2013-05-22 2014-12-03 上海东普电器制造有限公司 清洁能源变压器双水冷综合降温系统
CN104269250A (zh) * 2014-10-21 2015-01-07 江苏天利机电有限公司 水冷却干式变压器
KR20160019756A (ko) * 2014-08-12 2016-02-22 엘에스산전 주식회사 변압기용 냉각 장치
CN106024305A (zh) * 2016-05-23 2016-10-12 江苏瑞恩电气股份有限公司 一种具有散热装置的干式变压器及其控制系统
CN107493673A (zh) * 2017-08-16 2017-12-19 中国原子能科学研究院 一种高电压隔离大功率设备冷却系统
CN108022721A (zh) * 2018-01-09 2018-05-11 张云戈 一种浸没式变压器散热装置及浸没式变压器
CN111883342A (zh) * 2020-08-18 2020-11-03 江苏鹤都电器有限公司 一种具有智能变频功能的干式变压器冷却装置
CN114242390A (zh) * 2021-11-17 2022-03-25 湖南省冠群电子科技有限公司 一种具有防潮结构的一体成型电感
CN114360874A (zh) * 2021-12-22 2022-04-15 王首权 一种单相电力变压器
US20220181063A1 (en) * 2019-03-22 2022-06-09 Efacec Energia - Maquinas E Equipamentos Electricos S.V. Modular system applied to transformers
CN118919238A (zh) * 2024-09-18 2024-11-08 上海凯利电器厂有限公司 一种带螺旋散热管的干式电力变压器

Citations (10)

* Cited by examiner, † Cited by third party
Publication number Priority date Publication date Assignee Title
JPS51103647U (ja) * 1975-02-18 1976-08-19
JPH01111310A (ja) * 1987-10-26 1989-04-28 Toshiba Corp 静止誘導機器
JPH01147816A (ja) * 1987-12-04 1989-06-09 Toshiba Corp 静止誘導機器
JPH0242707A (ja) * 1988-08-03 1990-02-13 Toshiba Corp 静止誘導機器
JPH0490885A (ja) * 1990-08-01 1992-03-24 Nippon Rensui Kk 純水製造装置及び製造方法
JPH05212252A (ja) * 1992-02-04 1993-08-24 Toray Ind Inc 逆浸透液体分離装置
JPH05315150A (ja) * 1992-05-13 1993-11-26 Toshiba Corp 箔巻変圧器
JP2001148310A (ja) * 1999-09-24 2001-05-29 Robert Bosch Gmbh マイクロコイル
JP2003022911A (ja) * 2001-07-10 2003-01-24 Fuji Electric Corp Res & Dev Ltd 薄膜コイルモジュールおよびその製造方法および使用方法
JP2007524226A (ja) * 2003-06-25 2007-08-23 サイマー インコーポレイテッド 磁気回路要素を冷却する方法及び装置

Patent Citations (10)

* Cited by examiner, † Cited by third party
Publication number Priority date Publication date Assignee Title
JPS51103647U (ja) * 1975-02-18 1976-08-19
JPH01111310A (ja) * 1987-10-26 1989-04-28 Toshiba Corp 静止誘導機器
JPH01147816A (ja) * 1987-12-04 1989-06-09 Toshiba Corp 静止誘導機器
JPH0242707A (ja) * 1988-08-03 1990-02-13 Toshiba Corp 静止誘導機器
JPH0490885A (ja) * 1990-08-01 1992-03-24 Nippon Rensui Kk 純水製造装置及び製造方法
JPH05212252A (ja) * 1992-02-04 1993-08-24 Toray Ind Inc 逆浸透液体分離装置
JPH05315150A (ja) * 1992-05-13 1993-11-26 Toshiba Corp 箔巻変圧器
JP2001148310A (ja) * 1999-09-24 2001-05-29 Robert Bosch Gmbh マイクロコイル
JP2003022911A (ja) * 2001-07-10 2003-01-24 Fuji Electric Corp Res & Dev Ltd 薄膜コイルモジュールおよびその製造方法および使用方法
JP2007524226A (ja) * 2003-06-25 2007-08-23 サイマー インコーポレイテッド 磁気回路要素を冷却する方法及び装置

Cited By (23)

* Cited by examiner, † Cited by third party
Publication number Priority date Publication date Assignee Title
CN103578715B (zh) * 2012-08-10 2017-06-09 Sts特种变压器斯多卡克股份有限公司 中频变压器
EP2696358A1 (de) * 2012-08-10 2014-02-12 STS Spezial-Transformatoren-Stockach GmbH & Co. KG Mittelfrequenz-Transformator
CN103578715A (zh) * 2012-08-10 2014-02-12 Sts特种变压器斯多卡克股份有限公司 中频变压器
JP2014039031A (ja) * 2012-08-10 2014-02-27 Sts Spezialwagen-Trnaformatoren Stockach Gmbh & Co Kg 中波変圧器
US9437356B2 (en) 2012-08-10 2016-09-06 Sts Spezial-Transformatoren-Stockach Gmbh & Co. Kg Medium frequency transformer
CN104183368A (zh) * 2013-05-22 2014-12-03 上海东普电器制造有限公司 清洁能源变压器双水冷综合降温系统
CN104183368B (zh) * 2013-05-22 2018-01-23 上海东普电器制造有限公司 清洁能源变压器双水冷综合降温系统
CN103448602A (zh) * 2013-09-13 2013-12-18 国家电网公司 变压器辅助降温车
CN103448602B (zh) * 2013-09-13 2015-12-30 国家电网公司 变压器辅助降温车
KR101864625B1 (ko) * 2014-08-12 2018-06-07 엘에스산전 주식회사 변압기용 냉각 장치
KR20160019756A (ko) * 2014-08-12 2016-02-22 엘에스산전 주식회사 변압기용 냉각 장치
CN104269250A (zh) * 2014-10-21 2015-01-07 江苏天利机电有限公司 水冷却干式变压器
CN106024305B (zh) * 2016-05-23 2018-01-02 江苏瑞恩电气股份有限公司 一种具有散热装置的干式变压器及其控制系统
CN106024305A (zh) * 2016-05-23 2016-10-12 江苏瑞恩电气股份有限公司 一种具有散热装置的干式变压器及其控制系统
CN107493673A (zh) * 2017-08-16 2017-12-19 中国原子能科学研究院 一种高电压隔离大功率设备冷却系统
CN108022721A (zh) * 2018-01-09 2018-05-11 张云戈 一种浸没式变压器散热装置及浸没式变压器
US20220181063A1 (en) * 2019-03-22 2022-06-09 Efacec Energia - Maquinas E Equipamentos Electricos S.V. Modular system applied to transformers
US12424373B2 (en) * 2019-03-22 2025-09-23 Efacec Energia—Maquinas E Equipamentos Electricos S.A. Modular system applied to transformers
CN111883342A (zh) * 2020-08-18 2020-11-03 江苏鹤都电器有限公司 一种具有智能变频功能的干式变压器冷却装置
CN111883342B (zh) * 2020-08-18 2021-03-30 江苏鹤都电器有限公司 一种具有智能变频功能的干式变压器冷却装置
CN114242390A (zh) * 2021-11-17 2022-03-25 湖南省冠群电子科技有限公司 一种具有防潮结构的一体成型电感
CN114360874A (zh) * 2021-12-22 2022-04-15 王首权 一种单相电力变压器
CN118919238A (zh) * 2024-09-18 2024-11-08 上海凯利电器厂有限公司 一种带螺旋散热管的干式电力变压器

Also Published As

Publication number Publication date
JP5348948B2 (ja) 2013-11-20

Similar Documents

Publication Publication Date Title
JP5348948B2 (ja) 変圧器
US8674253B2 (en) Gas insulation apparatus
TW319873B (ja)
US2561738A (en) Cooling and insulating electrical apparatus
US8659378B2 (en) Electric transformer with improved cooling system
US20090173515A1 (en) Elongated member and use thereof
JP5059487B2 (ja) 超伝導ケーブルを有するシステム
US2173717A (en) Electrical system of power transmission
US10910138B2 (en) Gas-insulated electrical apparatus, in particular gas-insulated transformer or reactor
US20120120537A1 (en) Current fault limiter with live tank
CN103345990B (zh) 一种应用于高压超导电力设备的出线套管
CA2774994A1 (en) A fault current limiter
CA2866304A1 (en) Fuses
KR101400312B1 (ko) 극저온 용기 내부의 초전도 소자 및 외부 회로 연결용부싱을 갖는 이상 전류 리미터
Harumoto et al. Development of 275 kV EHV class gas-insulated power transformer
KR102835656B1 (ko) 저점도 절연 유체를 포함하는 부싱 및 부싱을 갖는 전기 설비
CN110911164A (zh) 3重冗余高压绝缘系统及其设计方法、干式变压器
JPH02299108A (ja) 超電導ケーブル
KR101635662B1 (ko) 변압기
JP2013120777A (ja) 超電導コイルおよび超電導変圧器
JP5921874B2 (ja) 電力用誘導機器の超電導コイル
JP2005341737A (ja) 超電導機器の端末構造
JPH05315150A (ja) 箔巻変圧器
CN104685576B (zh) 包含有机氟化合物的电绝缘体及其制造方法
RU168870U1 (ru) Трансформатор преобразовательный трехфазный многообмоточный с жидкостной системой охлаждения

Legal Events

Date Code Title Description
A621 Written request for application examination

Free format text: JAPANESE INTERMEDIATE CODE: A621

Effective date: 20110519

A977 Report on retrieval

Free format text: JAPANESE INTERMEDIATE CODE: A971007

Effective date: 20121212

A131 Notification of reasons for refusal

Free format text: JAPANESE INTERMEDIATE CODE: A131

Effective date: 20121225

A521 Request for written amendment filed

Free format text: JAPANESE INTERMEDIATE CODE: A523

Effective date: 20130225

A131 Notification of reasons for refusal

Free format text: JAPANESE INTERMEDIATE CODE: A131

Effective date: 20130507

TRDD Decision of grant or rejection written
A01 Written decision to grant a patent or to grant a registration (utility model)

Free format text: JAPANESE INTERMEDIATE CODE: A01

Effective date: 20130723

A61 First payment of annual fees (during grant procedure)

Free format text: JAPANESE INTERMEDIATE CODE: A61

Effective date: 20130820

R151 Written notification of patent or utility model registration

Ref document number: 5348948

Country of ref document: JP

Free format text: JAPANESE INTERMEDIATE CODE: R151

LAPS Cancellation because of no payment of annual fees