JP2010002174A - 熱交換器及び空調システム - Google Patents

熱交換器及び空調システム Download PDF

Info

Publication number
JP2010002174A
JP2010002174A JP2009124591A JP2009124591A JP2010002174A JP 2010002174 A JP2010002174 A JP 2010002174A JP 2009124591 A JP2009124591 A JP 2009124591A JP 2009124591 A JP2009124591 A JP 2009124591A JP 2010002174 A JP2010002174 A JP 2010002174A
Authority
JP
Japan
Prior art keywords
heat exchanger
pipe
refrigerant
outer pipe
compressor
Prior art date
Legal status (The legal status is an assumption and is not a legal conclusion. Google has not performed a legal analysis and makes no representation as to the accuracy of the status listed.)
Granted
Application number
JP2009124591A
Other languages
English (en)
Other versions
JP5381325B2 (ja
Inventor
Hideaki Asai
英明 浅井
Katsuhiro Kawabata
克宏 川端
Keisuke Tanimoto
啓介 谷本
Tomoaki Ko
倫明 康
Current Assignee (The listed assignees may be inaccurate. Google has not performed a legal analysis and makes no representation or warranty as to the accuracy of the list.)
Daikin Industries Ltd
Original Assignee
Daikin Industries Ltd
Priority date (The priority date is an assumption and is not a legal conclusion. Google has not performed a legal analysis and makes no representation as to the accuracy of the date listed.)
Filing date
Publication date
Application filed by Daikin Industries Ltd filed Critical Daikin Industries Ltd
Priority to JP2009124591A priority Critical patent/JP5381325B2/ja
Publication of JP2010002174A publication Critical patent/JP2010002174A/ja
Application granted granted Critical
Publication of JP5381325B2 publication Critical patent/JP5381325B2/ja
Expired - Fee Related legal-status Critical Current
Anticipated expiration legal-status Critical

Links

Images

Classifications

    • FMECHANICAL ENGINEERING; LIGHTING; HEATING; WEAPONS; BLASTING
    • F24HEATING; RANGES; VENTILATING
    • F24TGEOTHERMAL COLLECTORS; GEOTHERMAL SYSTEMS
    • F24T10/00Geothermal collectors
    • F24T10/30Geothermal collectors using underground reservoirs for accumulating working fluids or intermediate fluids
    • FMECHANICAL ENGINEERING; LIGHTING; HEATING; WEAPONS; BLASTING
    • F24HEATING; RANGES; VENTILATING
    • F24TGEOTHERMAL COLLECTORS; GEOTHERMAL SYSTEMS
    • F24T10/00Geothermal collectors
    • F24T10/10Geothermal collectors with circulation of working fluids through underground channels, the working fluids not coming into direct contact with the ground
    • FMECHANICAL ENGINEERING; LIGHTING; HEATING; WEAPONS; BLASTING
    • F24HEATING; RANGES; VENTILATING
    • F24TGEOTHERMAL COLLECTORS; GEOTHERMAL SYSTEMS
    • F24T10/00Geothermal collectors
    • F24T10/40Geothermal collectors operated without external energy sources, e.g. using thermosiphonic circulation or heat pipes
    • YGENERAL TAGGING OF NEW TECHNOLOGICAL DEVELOPMENTS; GENERAL TAGGING OF CROSS-SECTIONAL TECHNOLOGIES SPANNING OVER SEVERAL SECTIONS OF THE IPC; TECHNICAL SUBJECTS COVERED BY FORMER USPC CROSS-REFERENCE ART COLLECTIONS [XRACs] AND DIGESTS
    • Y02TECHNOLOGIES OR APPLICATIONS FOR MITIGATION OR ADAPTATION AGAINST CLIMATE CHANGE
    • Y02EREDUCTION OF GREENHOUSE GAS [GHG] EMISSIONS, RELATED TO ENERGY GENERATION, TRANSMISSION OR DISTRIBUTION
    • Y02E10/00Energy generation through renewable energy sources
    • Y02E10/10Geothermal energy

Landscapes

  • Engineering & Computer Science (AREA)
  • Life Sciences & Earth Sciences (AREA)
  • Sustainable Development (AREA)
  • Sustainable Energy (AREA)
  • Chemical & Material Sciences (AREA)
  • Combustion & Propulsion (AREA)
  • Mechanical Engineering (AREA)
  • General Engineering & Computer Science (AREA)
  • Heat-Exchange Devices With Radiators And Conduit Assemblies (AREA)

Abstract

【課題】寒冷地などの外気温が低い地域おいて、空調システムの消費動力の低減に貢献できる熱交換器を提供する。
【解決手段】地中又は水中に設置される熱交換器において、地中又は水中に設置され、冷凍サイクルにおける冷媒が内部に導入される外管(51)を設ける。
【選択図】図2

Description

本発明は、地中又は水中に設置される熱交換器、及びそれを利用した空調システムに関するものである。
冷凍サイクルによって暖房を行ういわゆるヒートポンプ式暖房システムには、熱源として地熱や水中の熱を用いて冷媒を蒸発させるようにしたものがある。例えば、地熱を利用したヒートポンプ式暖房システムには、地中から地熱の回収を行う地中熱交換器が用いられる(例えば特許文献1を参照)。特許文献1の地中熱交換器では、熱媒体(2次媒体)を内部に有したパイプ(本明細書では埋設パイプと呼ぶ)を地中に埋設し、埋設パイプ内の熱媒体を地熱によって蒸発させる。そして、その埋設パイプからパイプを分岐させてその分岐パイプに熱交換器を取り付け、その熱交換器で回収した熱をヒートポンプ式暖房システムの熱源として使用している。
国際公開第WO2004/111559号パンフレット
しかしながら、例えば土壌から採熱する地中熱交換器の場合、土壌の伝熱抵抗が大きいため、従来の地中熱交換器の熱交換性能では、小型のもの、例えば、長さが短いあるいは管径が小さいものを用いると、十分な熱量を得るのが困難であった。そのため、例えば垂直方向に地中熱交換器を埋設するいわゆる垂直式地中熱交換器で十分な熱量を得ようとすると、かなりの深さまで地中熱交換器を埋設する必要がある。また、埋設パイプ内部に充填した熱媒体の相変化を利用して間接的に回収した熱をヒートポンプ式暖房システムの熱源として使用するため、どうしても地中熱の回収とその利用率が低下する。さらに、水やエチレングリコール、アルコール水溶液など不凍液を地中熱交換器に循環させて地中熱を回収する方式を用いると、一般家庭用の暖房システムにおける地中熱交換器で、100m程度の埋設深さを要する例もある。このように地中熱交換器の埋設深さを要すると、その設置費用が問題となる。そして、このような深さに埋設したパイプに対しては、パイプ内の熱媒体(2次媒体)を搬送するためにポンプが必要になり、そのポンプの消費電力が暖房システム全体の効率を低下させるという問題が起こりえる。また、これらの問題は、従来の地中熱交換器を冷房用の凝縮器として使用する場合にも、同様に起こりえる。
本発明は前記の問題に着目してなされたものであり、寒冷地などの外気温が低い地域おいて、空調システムの消費動力の低減に貢献できる熱交換器を提供することを目的としている。
上記の課題を解決するため、第1の発明は、
地中又は水中に設置される熱交換器であって、
地中又は水中に設置されて、冷凍サイクルにおける冷媒が内部に導入される外管(51)を備えていることを特徴とする。
これにより、地中又は水中に設置される熱交換器において、冷凍サイクルにおける冷媒(作動流体)が地中又は水中から直接熱を得て蒸発気化する直膨方式で熱交換を行う。
また、第2の発明は、
第1の発明の熱交換器において、
前記外管(51)が蒸発器となる暖房運転時に、前記外管(51)内へ前記冷媒を導入する暖房時用液管(52)と、
前記暖房時用液管(52)に導入された冷媒を前記外管(51)の内面壁に噴霧する噴霧手段(53)と、
を備えていることを特徴とする。
これにより、暖房運転時に、冷媒が外管(51)の内面壁に噴霧される。そして、噴霧された冷媒は、該内面壁で液膜化されて蒸発する。
また、第3の発明は、
第2の発明の熱交換器において、
前記噴霧手段(53)は、前記暖房時用液管(52)に設けられた複数の噴霧穴(53)であることを特徴とする。
これにより、噴霧穴(53)から冷媒が内面壁に噴霧されて、該内面壁で冷媒が液膜化される。
また、第4の発明は、
第2の発明の熱交換器において、
前記噴霧手段(53)は、前記暖房時用液管(52)に設けられた複数のノズル(80)であることを特徴とする。
これにより、ノズル(80)から冷媒が内面壁に噴霧されて、該内面壁で冷媒が液膜化される。
また、第5の発明は、
第2の発明の熱交換器において、
前記暖房時用液管(52)は、前記外管(51)の中心に設けられていることを特徴とする。
これにより、外管(51)の内面壁と暖房時用液管(52)の外面壁との距離が一定に保たれる。
また、第6の発明は、
第1の発明の熱交換器において、
前記外管(51)が凝縮器となる冷房運転時に、前記外管(51)内で凝縮した前記冷媒を導出する冷房時用液管(56)を備え、
前記冷房時用液管(56)は、前記外管(51)の下端まで延在していることを特徴とする。
これにより、冷房運転時に、外管(51)内で冷媒が気液二相に分離されるとともに、外管(51)の底部の液冷媒がガス冷媒の圧力によって導出される。
また、第7の発明は、
第1又は第2の発明の熱交換器において、
前記外管(51)内には、該外管(51)の内面壁に沿ってウイック(81)が設けられていることを特徴とする。
これにより、ウイック(81)が、噴霧された液状冷媒を浸透させて保持するとともに、保持した液冷媒を外管(51)の内面壁に接触させる。
また、第8の発明は、
第1又は第2の発明の熱交換器において、
前記外管(51)の内面壁には、冷媒を保持するグルーブ(82)が形成されていることを特徴とする。
これにより、グルーブ(82)が、噴霧された液状冷媒を保持するとともに、外管(51)の内面壁に液膜化させる。
また、第9の発明は、
第2の発明の熱交換器において、さらに、
前記外管(51)が凝縮器となる冷房運転時に、前記外管(51)内で凝縮した前記冷媒を導出する冷房時用液管(56)を備え、
前記冷房時用液管(56)は、前記外管(51)の下端まで延在していることを特徴とする。なお、前記外管(51)の底は閉じている。
これにより、暖房運転時には、冷媒が外管(51)の内面壁全体に均一に噴霧される。そして、噴霧された冷媒は、該内面壁で液膜化されて蒸発する。また、冷房運転時には、冷媒が外管(51)の内面壁において凝縮する。
また、第10の発明は、
第2の発明の熱交換器において、
前記前記外管(51)は、該外管(51)内の冷媒を圧縮機(30)に導出する圧縮機用配管(55)を備え、
前記圧縮機用配管(55)には、前記外管(51)の底部に溜った潤滑油を前記圧縮機(30)に戻す油戻し機構(90)が形成されていることを特徴とする。
これにより、暖房運転時に潤滑油(冷凍機油)が外管(51)の底部に溜った場合に油戻し機構(90)によって、その潤滑油は圧縮機(30)に戻される。
また、第11の発明は、
第1又は第2の発明の熱交換器を備えて冷凍サイクルを行うことを特徴とする空調システムである。
これにより、直膨方式で地中又は水中において熱交換を行う熱交換器を用いて、空気調和が行われる。
また、第12の発明は、
第9の発明の熱交換器と、
前記冷媒が、前記暖房時用液管(52)及び前記冷房時用液管(56)の何れかに選択的に導入されるように切り替える切り替えバルブ(60)と、
を備えて冷凍サイクルを行う冷媒回路(10)を備えていることを特徴とする空調システムである。
これにより、直膨方式で地中又は水中において熱交換を行う熱交換器を用いて、冷房及び暖房(空気調和)の何れかが選択的に行われる。
第1の発明によれば、2次媒体の搬送用のポンプが不要になり、空調システムの消費動力の低減に貢献できる。
また、第2、第3及び第4の発明によれば、冷媒が外管(51)の内面壁で液膜化され、地熱もしくは水中の熱により直接蒸発するので、熱交換器の熱交換性能が向上する。
また、第5の発明によれば、外管(51)の内面壁と暖房時用液管(52)の外面壁との距離が一定に保たれるので、冷媒が均等に外管(51)の内面壁に噴霧され、熱交換性能がより向上する。
また、第6の発明によれば、外管(51)内で冷媒が気液二相に分離されるとともに、外管(51)の底部の液冷媒がガス冷媒の圧力によって導出されるので、効率よく冷媒を搬送できる。その結果、熱交換性能が向上する。
また、第7の発明によれば、噴霧された冷媒がウイック(81)によって外管(51)の内面壁に保持されるので、外管(51)の内面壁に対し均一な濡れを確保することができ、壁面からの効率よく受熱し気化することで特に暖房運転時における熱交換性能が向上する。
また、第8の発明によれば、噴霧された冷媒がグルーブ(82)によって外管(51)の内面壁に保持されるので、外管(51)の内面壁に対し均一な濡れを確保することができ、壁面からの効率よく受熱し気化することで特に暖房運転時における熱交換性能が向上する。
また、第9の発明によれば、暖房運転時には、外管(51)の内面壁で液膜化されて蒸発するので、熱交換器の熱交換性能が向上する。また、冷房運転時に、効率よく冷媒を搬送できるので、やはり熱交換性能が向上する。
また、第10の発明によれば、暖房運転時に外管(51)の底部に溜った潤滑油が圧縮機(30)に戻されるので、圧縮機(30)を安定に運転させることが可能になる。
また、第11の発明によれば、地中又は水中に設置される熱交換器を用いた空調システムにおいて、システムの消費動力の低減が可能になる。
また、第12の発明によれば、地中又は水中に設置される熱交換器を用いた冷暖房の切り替えが可能な空調システムにおいて、空調システムの消費動力の低減が可能になる。また、熱交換性能が向上する。
本発明の実施形態に係る地中熱交換器(50)を含んだ空調システムのシステム図である。 地中熱交換器(50)の構成を示す縦断面図である。 地中熱交換器(50)を地中に設置した状態を模式的に示す図である。 暖房運転時における地中熱交換器(50)内の状態を説明する図である。 冷房運転時における地中熱交換器(50)内の状態を説明する図である。 本発明の実施形態に係る地中熱交換器(50)を含み、暖房のみを行う空調システム(1)のシステム図である。 地中熱交換器(50)を傾斜して設置した状態を模式的に示す図である。 油戻し機構として、エジェクタ(90)を設けた地中熱交換器(50)を示す縦断面図である。 エジェクタ(90)の構造を説明する縦断面図である。 地中熱交換器(50)を斜めに配置した状態を模式的に示す図である。 油戻し機構を圧縮機用配管(55)で構成した地中熱交換器(50)を示す図である。 地中熱交換器(50)を斜めに配置した状態を模式的に示す図である。 地中熱交換器(50)を水平に設置した状態を模式的に示す図である。 地中熱交換器(50)を水平に設置した状態を模式的に示す図である。 熱交換器(50)を水中に設置した状態を模式的に示す図である。 噴霧手段の他の構成例を示す図である。 外管(51)の他の構成例を示す図であり、(A)が外管(51)の横断面、(B)が外管(51)の一部を切り取った斜視図である。 外管(51)のさらに他の構成例を示す横断面図である。
以下、本発明の実施形態について図面を参照しながら説明する。なお、以下の実施形態は、本質的に好ましい例示であって、本発明、その適用物、あるいはその用途の範囲を制限することを意図するものではない。また、以下の各実施形態や変形例の説明において、一度説明した構成要素と同様の機能を有する構成要素については、同一の符号を付して説明を省略する。
《発明の実施形態1》
実施形態1では、本発明の熱交換器の一例として、地中に設置される熱交換器(地中熱交換器)の例を説明する。本発明の実施形態に係る地中熱交換器は、例えば、冷暖房運転が可能なヒートポンプ式の空調システムに用いられ、暖房運転時には、気化器として機能して土壌を熱源にして暖房用の地熱を集熱し、冷房運転時には、凝縮器として機能して土壌に対して熱を放熱する。なお、ここで土壌とは、土砂のみで形成されたものの他に、土砂と水の両方を含んだいわゆる帯水層や、岩石が連続して分布している岩盤も含まれる。すなわち、この地中熱交換器は、設置される場所や深さによっては、土砂の他にも地中の水、岩盤、或いはそれらの全てに渡って熱交換を行う場合がある。
<空調システムの全体構成>
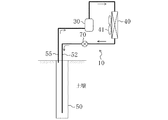
図1は、本発明の実施形態に係る地中熱交換器(50)を含んだ空調システム(1)のシステム図である。本実施形態の空調システム(1)は、図1に示すように、冷媒回路(10)を備えている。この冷媒回路(10)には、四方切換弁(20)、圧縮機(30)、室内熱交換器(40)、地中熱交換器(50)、切り替えバルブ(60)、及び膨張弁(70)が接続されている。そして、この冷媒回路(10)には、冷媒として二酸化炭素が充填されている。
四方切換弁(20)は、第1から第4ポートの4つのポートが設けられている。そして、この四方切換弁(20)は、第1ポートと第3ポートが連通すると同時に第2ポートと第4ポートが連通する第1状態(図1に破線線で示す状態)と、第1ポートと第4ポートが連通すると同時に第2ポートと第3ポートが連通する第2状態(図1に実線で示す状態)とに切り換え可能となっている。図1で実線が暖房運転時、破線が冷房運転時の四方切換弁(20)の状態を示す。
また、圧縮機(30)は、冷媒を吸入ポートから吸入して圧縮し、圧縮した冷媒を吐出ポートから吐出する。具体的には、この圧縮機(30)には、例えばスクロール圧縮機などの種々の圧縮機を採用できる。この冷媒回路(10)では、圧縮機(30)は、吸入ポートが四方切換弁(20)の第2ポートに接続され、吐出ポートが四方切換弁(20)の第1ポートに接続されている。
室内熱交換器(40)は、冷媒を室内空気と熱交換させるための空気熱交換器である。この空調システム(1)では、室内熱交換器(40)は、空気調和を行う室内に配置されたいわゆる室内機に組み込まれる。そして、暖房運転時には圧縮機(30)から送られた高圧冷媒の熱を室内空気へ放熱させ、冷房運転時には膨張弁(70)から送られた低圧冷媒に室内空気の熱を吸熱させる。この冷媒回路(10)においては、室内熱交換器(40)の一端は、膨張弁(70)に接続され、他の一端は四方切換弁(20)の第4ポートに接続されている。そして、暖房運転時には放熱させた冷媒を膨張弁(70)に流出させ、冷房運転時には膨張弁(70)から流入した冷媒に吸熱させる。この室内熱交換器(40)には、例えば、クロスフィン型のフィン・アンド・チューブ熱交換器などを採用することができる。なお、この室内熱交換器(40)の近傍には、室内ファン(41)が設置されている。室内ファン(41)は、調和空気を室内へ送風する。
地中熱交換器(50)は、土壌と熱交換を行う。詳しくは、この地中熱交換器(50)は、暖房運転時には地熱を熱源として暖房用の熱を集熱し、冷房運転時には凝縮器として機能して、土壌に対して放熱する(図1では、地中熱交換器(50)の熱の流れを矢印で示してある斜線矢印が暖房時、白抜き矢印が冷房運転時の状態を示す)。本実施形態の地中熱交換器(50)は、図2に示すように、外管(51)、暖房時用液管(52)、圧縮機用配管(55)、及び冷房時用液管(56)を備えている。
外管(51)は、両端が閉じた管状に形成され、この例では、地中に縦向きに埋設される。例えば、図3は、地中熱交換器(50)を地中に設置した状態を模式的に示す図である。地層には、主に土砂のみで形成された層、土砂と水を含んだ層、主に水を含んだ層、さらには、岩石が連続して分布している岩盤等がある。この地中熱交換器(50)は何れの地層に設置してもよい。また、図3では、これらの各層に渡り地中熱交換器(50)が設置された状態を示しているが、例えば、何れかの地層のみにおいて地中熱交換器(50)が熱交換を行うように設置してもよい。
暖房時用液管(52)は、先端が閉じた管状に形成され、暖房運転時に気液二相の冷媒が導入されて、その冷媒を外管(51)の内面壁に噴霧する。具体的には、暖房時用液管(52)は、外管(51)の上方側(外管(51)を埋設した状態で地表側となる側)から、該外管(51)内に挿入されて、先端側(閉じた側)が外管(51)の底面付近まで延在している。そして、この暖房時用液管(52)の壁面には、暖房時用液管(52)内に導入された冷媒を外管(51)の内面壁に噴霧する手段(噴霧手段)が設けられている。具体的には、本実施形態の噴霧手段は、複数の噴霧穴(53)である。これらの噴霧穴(53)は、暖房時用液管(52)の全長に渡って設けられている。これらの噴霧穴(53)の数や間隔などは、噴霧した冷媒が偏りなく外管(51)の内面壁の周方向や長さ方向に均一に付着するように定めるのが理想である。また、外管(51)内には、複数箇所にスペーサ(54)を設けてあり、暖房時用液管(52)を外管(51)のほぼ中心に保持している。なお、スペーサ(54)は熱伝達率が低いものでできている。また、蒸気の流れを束縛しない形状である。このように、暖房時用液管(52)を外管(51)のほぼ中心に保持することによって、外管(51)の内面壁と暖房時用液管(52)の外面壁との距離が一定に保たれ、暖房時用液管(52)内の冷媒を外管(51)の内面壁に、偏りなく噴霧できる。
圧縮機用配管(55)は、外管(51)と圧縮機(30)とを接続する配管である。この圧縮機用配管(55)の一端は外管(51)のほぼ上端付近で該外管(51)内に開口し、その他端側は四方切換弁(20)の第3ポートに接続されている。つまり、この空調システム(1)では、圧縮機用配管(55)は、暖房運転時には外管(51)内のガス冷媒を、四方切換弁(20)を介して圧縮機(30)に導入し、冷房運転時には、圧縮機(30)が吐出した高圧のガス冷媒を外管(51)内に導入する。
冷房時用液管(56)は、管状に形成されて、冷房運転時に、外管(51)の底部に溜まった液冷媒を、切り替えバルブ(60)を介して膨張弁(70)に導出する。具体的には、冷房時用液管(56)は、外管(51)の上方側から、該外管(51)内に挿入されて、その端部が外管(51)の底面付近まで延在して、該底面の付近で開口している。
以上のように、この外管(51)では、暖房運転時には、冷媒(二相の冷媒)が暖房時用液管(52)によって、該外管(51)の内面壁に噴霧され、外管(51)内で蒸発した冷媒(すなわちガス冷媒)を外管(51)の上方の圧縮機用配管(55)から導出する。また、冷房運転時には、圧縮機用配管(55)からガス冷媒が導入され、外管(51)内壁面で凝縮して該外管(51)の底部に溜まった液冷媒を冷房時用液管(56)から導出する。つまり、地中熱交換器(50)は、直膨方式で土壌と熱交換を行う熱交換器である。
切り替えバルブ(60)は、膨張弁(70)を地中熱交換器(50)の暖房時用液管(52)及び冷房時用液管(56)の何れか一方に選択的に接続する。具体的には、暖房運転時には、膨張弁(70)と暖房時用液管(52)とを接続させ、冷房運転時には、膨張弁(70)と冷房時用液管(56)とを接続させる。すなわち切り替えバルブ(60)は、冷媒が、暖房時用液管(52)及び冷房時用液管(56)の何れかに選択的に導入されるように切り替える。
膨張弁(70)は、既述の通り、一端が切り替えバルブ(60)に接続され、他の一端が室内熱交換器(40)と接続されている。そして、暖房運転時には、室内熱交換器(40)から流入した冷媒を膨張させて、所定の圧力まで減圧させてから、切り替えバルブ(60)を介して暖房時用液管(52)に流出させる。また、冷房運転時には、外管(51)から冷房時用液管(56)等を介して、流入した冷媒を所定の圧力まで減圧させて、室内熱交換器(40)に流出させる。
−運転動作−
次に、空調システム(1)における運転動作について説明する。
(暖房運転)
まず、暖房運転について説明する。暖房運転時には、四方切換弁(20)が第2状態に切り替えられる。これにより、四方切換弁(20)では、第1ポートと第4ポートが連通し、第2ポートと第3ポートが連通する。また、切り替えバルブ(60)は、膨張弁(70)と暖房時用液管(52)とが連通するように切り替えられる。
この状態で、圧縮機(30)が運転状態にされると、圧縮された冷媒(ガス冷媒)が圧縮機(30)の吐出ポートから吐出される。そして、圧縮機(30)から吐出された冷媒は、室内熱交換器(40)へ送られる。室内熱交換器(40)に流入した冷媒は、室内熱交換器(40)で室内空気へ放熱する。室内熱交換器(40)では室内空気が加熱され、加熱された室内空気が室内ファン(41)によって室内へ送り返される。室内熱交換器(40)で放熱した冷媒は、膨張弁(70)へ送られる。膨張弁(70)に流入した冷媒は、膨張弁(70)を通過する際に減圧され、その後に切り替えバルブ(60)を介して暖房時用液管(52)に導入される。暖房時用液管(52)に導入された冷媒は、気液二相の状態であり、外管(51)内において、暖房時用液管(52)に設けられた噴霧穴(53)から、外管(51)の内面壁に噴霧される。これにより、液状の冷媒は、図4に示すように、外管(51)の内面壁に付着して液膜化される。
圧縮機の吸引量を制御し、外管(51)内部の圧力を操作し、冷媒の気化温度と蒸発量が一定に保たれる範囲内になる様に温度差を設ける。土壌の熱抵抗と圧縮機の負荷動力から蒸発温度は設定する。外管(51)の内面壁で液膜化された冷媒は、内面壁から吸熱して蒸発する。これにより、外管(51)内の圧力が上昇するとともに、外管(51)内には圧縮機(30)の吸入圧が作用しているので、外管(51)内のガス冷媒は、圧縮機用配管(55)から導出されて、四方切換弁(20)を介して圧縮機(30)の吸入ポートに導入される。そして、圧縮機(30)は、この冷媒を吸入して圧縮し、四方切換弁(20)を介して室内熱交換器(40)へ吐出する。
この空調システム(1)では、以上の動作が繰り返され、地中熱交換器(50)を蒸発器として圧縮機(30)で冷媒を圧縮する冷凍サイクル(この例では暖房)が行われる。なお、暖房運転時には、冷房時用液管(56)を使用していない。
上記のように、この空調システム(1)では暖房運転時に、暖房時用液管(52)によって冷媒が外管(51)の内面壁に噴霧されて外管(51)の内面壁上で液膜化するので、液状の冷媒を効率よく外管(51)の内面壁に接触させて蒸発させることができる。そのため、地中熱交換器(50)の熱交換性能が向上する。
(冷房運転)
次に冷房運転について説明する。冷房運転時には、まず、四方切換弁(20)が第1状態に切り替えられる。これにより、四方切換弁(20)では、第1ポートと第3ポートが連通し、第2ポートと第4ポートが連通する。また、切り替えバルブ(60)は、膨張弁(70)と冷房時用液管(56)とが連通するように切り替えられる。
この状態で、圧縮機(30)が運転状態にされると、圧縮された冷媒(ガス冷媒)が圧縮機(30)の吐出ポートから吐出される。そして、圧縮機(30)から吐出された冷媒は、四方切換弁(20)と圧縮機用配管(55)とを介して、地中熱交換器(50)の外管(51)内へ送られる。
外管(51)内に導入されたガス冷媒の温度は土壌の温度よりも高くなる様に操作され、外管(51)の内面壁で放熱して凝縮する。この凝縮した冷媒は、外管(51)の内面壁を伝って下方へ流れ、図5に示すように、外管(51)の底部に溜まり、やがて、冷房時用液管(56)の開口端に達する。また、このとき、外管(51)内は、ガス冷媒が導入されたことによって圧力が上昇してゆく。また、室内熱交換器(40)側は、外管(51)の内圧よりも低圧である。これにより、外管(51)内に溜まった液冷媒は冷房時用液管(56)内を押し上げられてゆく。冷房時用液管(56)内を押し上げられた液冷媒は、切り替えバルブ(60)を介して膨張弁(70)に導入され、膨張弁(70)で減圧されてから室内熱交換器(40)に導入される。室内熱交換器(40)に流入した冷媒は、室内空気から吸熱して蒸発する。これにより室内熱交換器(40)では室内空気が冷却され、冷却された室内空気が室内ファン(41)によって室内へ送り返される。室内熱交換器(40)で蒸発した冷媒は、圧縮機(30)の吸入ポートに導入される。そして、圧縮機(30)は、この冷媒を吸入して圧縮し、圧縮機用配管(55)を介して外管(51)へ吐出する。
この空調システム(1)では、以上の動作が繰り返され、地中熱交換器(50)を凝縮器として圧縮機(30)で冷媒を圧縮する冷凍サイクル(この例では冷房)が行われる。なお、冷房運転時には、暖房時用液管(52)を使用していない。
なお、暖房運転時には外管(51)内で冷媒が蒸発するので、該外管(51)の底部に潤滑油(冷凍機油)が溜ることが考えられる。このような場合には、例えば、空調システム(1)において、暖房運転の停止中、或いは暖房運転中に、一時的に冷房運転を行えば、潤滑油を圧縮機(30)に戻すことができる。すなわち、冷房運転時には、地中熱交換器(50)内で冷媒が凝縮して外管(51)の底部に溜るので、その凝縮した冷媒に潤滑油が溶けた状態になり、溶けた潤滑油が冷媒とともに圧縮機(30)に戻ることになるのである。また、地中熱交換器(50)に冷媒を導入する前の段階で、潤滑油を分離しておいてもよい。
《本実施形態における効果》
上記のように、この空調システム(1)では、外管(51)内で冷媒が気液二相に分離されるとともに、液冷媒がガス冷媒の圧力によって導出される。そのため、外管(51)内の液冷媒を効率よく搬送でき、熱交換性能が向上する。
以上のように、本実施形態は、直膨方式であるため、従来の地中熱交換器のように、2次媒体の搬送用ポンプを必要とせず、システムの消費動力の低減が可能になる。
また、本実施形態では、冷房運転時においても、暖房運転時においても、熱交換性能が向上する。そのため、地中熱交換器の小型化が可能になる。この小型化により、空調システムの低コスト化も期待できる。
《発明の実施形態2》
上記の地中熱交換器(50)は、冷房運転のみを行う空調システム、あるいは暖房運転のみを行う空調システムにも利用できる。
図6は、暖房のみを行う空調システムのシステム図である。図6に示すように、暖房のみを行う空調システムでは、切り替えバルブ(60)と四方切換弁(20)とは不要である。すなわち、暖房のみを行う空調システムでは、実施形態1の空調システムで四方切換弁(20)を第2の状態とし、且つ切り替えバルブ(60)を暖房時用液管(52)側に切り替えた場合と等価な冷媒回路である。したがって、暖房のみを行う空調システムの地中熱交換器(50)では冷房時用液管(56)が不要である。
同様に、冷房のみを行う空調システムでも、切り替えバルブ(60)と四方切換弁(20)とは不要であり、実施形態1の空調システムで四方切換弁(20)を第1の状態とし、且つ切り替えバルブ(60)を冷房時用液管(56)側に切り替えた場合と等価な冷媒回路を形成する。冷房のみを行う空調システムの地中熱交換器(50)では暖房時用液管(52)が不要である。なお、地中熱交換器(50)内に溜った潤滑油を圧縮機(30)に戻すには、例えば実施形態1と同様の構成を適用できる。
《実施形態1,2の変形例》
なお、実施形態1及び2の地中熱交換器(50)は、縦方向以外に、傾斜して設置することも可能である。図7は、地中熱交換器(50)を傾斜して設置した状態を模式的に示す図である。このように設置しても、上記の各実施形態と同様にして熱交換が行われる。なお、同図において、「HP」と記載されているのは、空調システム(1)(或いは実施形態2の空調システム)の本体部分(熱交換器以外の部分)を示している(以下同様)。
《発明の実施形態3》
実施形態3では、暖房運転時などに地中熱交換器(50)内に溜った潤滑油を圧縮機(30)に戻す機構(以下、油戻し機構とも呼ぶことにする)を備えた地中熱交換器の例を説明する。図8は、油戻し機構を設けた地中熱交換器を模式的に示す縦断面図である。図8の地中熱交換器は、具体的には実施形態1の地中熱交換器(50)に油戻し機構として、エジェクタ(90)を設けたものである。図9は、エジェクタ(90)の構造を説明する縦断面図である。このエジェクタ(90)は、図9に示すように、エジェクタ本体(91)、油戻し配管(92)、及びフィルタ(93)を備えている。
エジェクタ本体(91)は、図9に示すように、テーパー状流路(91a)と、直状流路(91b)とが内部に連続的に形成され、地中熱交換器(50)の上方で、直状流路(91b)の部分が圧縮機用配管(55)と接続されている。また、テーパー状流路(91a)は、外管(51)の底面側に開口している。
油戻し配管(92)は、管状の部材であり、その一端がエジェクタ本体(91)の直状流路(91b)内で開口している。また、油戻し配管(92)の他の一端には、潤滑油内のダストを除去するフィルタ(93)が取り付けられており、フィルタ(93)が該外管(51)の底部に溜る潤滑油に浸かるように、該油戻し配管(92)は外管(51)の底部まで延びている。
なお、本実施形態において地中熱交換器(50)を斜めに配置する場合には、図10に示すように、液層の最も下方となる部分に、潤滑油の吸入部分(すなわちフィルタ(93))が位置するようにするのが好ましい。
《油戻し機構(エジェクタ(90))による油戻し》
暖房運転中には実施形態1で説明したように、外管(51)内の圧力が上昇するとともに、外管(51)内には圧縮機(30)の吸入圧が作用しているので、外管(51)内のガス冷媒は、エジェクタ本体(91)のテーパー状流路(91a)から導入され、さらに直状流路(91b)部分を通過して、圧縮機用配管(55)から導出される。このとき冷媒は、テーパー状流路(91a)から直状流路(91b)を通過する際に速度が増加し、油戻し配管(92)の直状流路(91b)側の開口部は減圧状態になる。これにより、外管(51)の底部に溜っている潤滑油は、フィルタ(93)を介して油戻し配管(92)内に引き込まれ、直状流路(91b)側の開口から噴出する。噴出した潤滑油は直状流路(91b)内のガス状冷媒とともに、圧縮機(30)に戻ってゆく。このように潤滑油が圧縮機(30)に戻されることにより、圧縮機(30)を安定に運転させることが可能になる。
なお、使用する冷媒、潤滑油の種類によっては、冷媒の方が潤滑油よりも底部側に溜ることもありえるが、その場合には、潤滑油は冷媒とともに地中熱交換器(50)の外に運ばれることになる。
《発明の実施形態4》
実施形態4では、油戻し機構の他の例を説明する。図11は、油戻し機構を圧縮機用配管(55)で構成した地中熱交換器(50)を示す図である。図11では、(A)が地中熱交換器(50)の全体構造を示す縦断面図であり、また、(B)が圧縮機用配管(55)の構成を説明する図である。この例の圧縮機用配管(55)は、図11の(A)、(B)にそれぞれ示すように、U字管で構成され、該U字管の湾曲部分が外管(51)の底部で潤滑油の溜りに浸かるようになっている。
また、この圧縮機用配管(55)には、外管(51)内の上方で開口する上部孔(55a)が設けられている。さらに、U字管の湾曲部分(詳しくは潤滑油の溜りに浸かる部分)に、下部孔(55b)が設けられている。また、この下部孔(55b)には、潤滑油内のダストを除去するフィルタ(55c)が取り付けられている。本実施形態では、圧縮機用配管(55)の内径、上部孔(55a)の直径、及び下部孔(55b)の直径は、以下の関係に設定されている。
圧縮機用配管(55)の内径>上部孔(55a)の直径>下部孔(55b)の直径
なお、本実施形態において地中熱交換器(50)を斜めに配置する場合には、図12に示すように、液層の最も下方となる部分に、潤滑油の吸入部分(すなわちフィルタ(55c))が位置するようにするのが好ましい。
《油戻し機構(圧縮機用配管(55))による油戻し》
空調システム(1)の暖房運転が開始されると、外管51内のガス状冷媒は、外管(51)内におけるU字管(圧縮機用配管(55))端部の開口(以下、単に開口端と呼ぶ)、及び下部孔(55b)から圧縮機用配管(55)に入ってゆく(図11(B)を参照)。すなわち、圧縮機用配管(55)内にガス状冷媒の流れが形成される。ここで例えば、空調システム(1)が運転開始時などの外管(51)内の圧力が比較的低い状態で、外管(51)の底部に潤滑油が溜っていると、圧縮機用配管(55)内の流れは、上部孔(55a)から吸い込まれた冷媒による流れが支配的となる。
また、外管(51)内の圧力がある程度以上になると、圧縮機用配管(55)内の流れは、前記開口端から吸い込まれた冷媒による流れが支配的となる。このように、前記開口端からの冷媒で圧縮機用配管(55)内に流れが形成されると、圧縮機用配管(55)内の下部孔(55b)付近の圧力が下がり、外管(51)の底部に溜っている潤滑油が下部孔(55b)から吸入される。このように潤滑油が圧縮機(30)に戻されることにより、圧縮機(30)を安定に運転させることが可能になる。
《発明の実施形態5》
また、地中熱交換器(50)は、水平方向に設置することも可能である。図13は、地中熱交換器(50)を水平に設置した状態を模式的に示す図である。既述のとおり、地層には、主に土砂のみで形成された層、土砂と水を含んだ層、主に水を含んだ層、さらには、岩石が連続して分布している岩盤等がある。この地中熱交換器(50)は何れの地層に、或いは複数の層にまたがって設置してもよい。図13では、例1が土砂のみで形成された層に設置した例、例2が土砂と水を含んだ層に設置した例、例3が主に水を含んだ層に設置した例、例4が岩盤に設置した例をそれぞれ示している。
例えば、実施形態3の地中熱交換器(50)を水平方向に設置する場合には、図14に示すように、冷房時用液管(56)及び油戻し配管(92)を、設置状態で下側になる側(すなわち、重力で冷媒や潤滑油が溜る側)に、それぞれの先端を曲げておくとよい。こうすることで、外管(51)に溜った液状の冷媒や潤滑油を確実に吸入することが可能になる。
《実施形態5の変形例》
なお、油戻し機構(エジェクタ(90))を有していない地中熱交換器(50)を水平方向に設置することも可能である。実施形態1の地中熱交換器(50)のように外管(51)内にエジェクタ(90)を設けていない場合には、例えば、冷房時用液管(56)を、設置状態で下側になる方にその先端を曲げておいて、暖房運転の停止中、或いは暖房運転中に、一時的に冷房運転を行えば、外管(51)内の潤滑油を圧縮機(30)に戻すことができる。すなわち、冷房運転時には、地中熱交換器(50)内で冷媒が凝縮して外管(51)の底部に溜るので、その凝縮した冷媒に潤滑油が溶けた状態になり、溶けた潤滑油が冷媒とともに圧縮機(30)に戻ることになるのである。また、地中熱交換器(50)に冷媒を導入する前の段階で、潤滑油を分離しておいてもよい。
《発明の実施形態6》
なお、上記の各実施形態や変形例に係る熱交換器は、地中に設置するほかに、水中に設置することも可能である。具体的な設置場所としては、例えば、海、湖、池、プール、貯水槽、河川、下水道などが上げられる。図15は、熱交換器(50)を水中に設置した状態を模式的に示す図である。この図では、熱交換器(50)(水中熱交換器)の設置例として6つの例(例1〜6)を記載している。例1、2は、貯水槽又はプールに熱交換器(50)を設置した例であり、例1では縦向きに配置し、例2では水平方向に配置している。また、例3、4は、海、湖、又は池に熱交換器(50)を設置した例であり、例3では縦向きに配置し、例4では水平方向に配置している。また、例5は下水道に熱交換器(50)を配置した例であり、水平方向に配置している。すなわち、水中に設置する場合にも、熱交換器(50)は、縦向きに配置してもよいし、水平方向に設置してもよい。また、水中に設置する場合においても、熱交換器(50)を傾斜して設置することも可能である(図15の例6を参照)。
このように熱交換器(50)を水中に設置した場合にも、上記の各実施形態や変形例と同様のメカニズムで熱交換が行われる。
《その他の実施形態》
(暖房時用液管(52)のその他の構成例)
冷媒の噴霧手段としては、噴霧穴(53)には限定されない。例えば、図16に示すように、噴霧手段としてノズル(80)を、暖房時用液管(52)の外面壁に設けてもよい。このノズル(80)は、噴霧した冷媒で外管(51)の内面壁がなるべく均一に濡れるように、数、位置、内面壁との距離などを定める。
(外管(51)のその他の構成例)
また、外管(51)の内面壁には、図17の(A)及び(B)に示すように、ウイック(81)を設けてもよい。このウイック(81)は、噴霧穴(53)等の噴霧手段によって噴霧された液状冷媒を浸透させて保持するとともに、保持した液冷媒を外管(51)の内面壁に接触させる。このようなウイック(81)としては、例えば、金属多孔質体、多孔質セラミック、繊維の集合体などが挙げられる。このように、外管(51)の内面壁にウイック(81)を設けることで、外管(51)の内面壁に対し、均一な濡れを確保することができ、特に暖房運転時における熱交換性能が向上する。
また、外管(51)の内面壁には、図18の断面図に示すように、複数のグルーブ(82)を設けてもよい。具体的には、このグルーブ(82)は、噴霧手段によって噴霧された液状冷媒を、表面張力を利用、又は内表面での接触角を低減させて保持するように、幅、深さ、数などを定める。このようなグルーブ(82)を外管(51)の内面壁に設けることで、外管(51)の内面壁に対し、やはり均一な濡れを確保することができ、特に暖房運転時における熱交換性能が向上する。
本発明は、地中又は水中に設置される熱交換器、及びそれを利用した空調システムとして有用である。
1 空調システム
50 地中熱交換器
51 外管
52 暖房時用液管
53 噴霧穴(噴霧手段)
56 冷房時用液管
60 切り替えバルブ
80 ノズル(噴霧手段)
81 ウイック
82 グルーブ
90 エジェクタ(油戻し機構)

Claims (12)

  1. 地中又は水中に設置される熱交換器であって、
    地中又は水中に設置されて、冷凍サイクルにおける冷媒が内部に導入される外管(51)を備えていることを特徴とする熱交換器。
  2. 請求項1の熱交換器において、
    前記外管(51)が蒸発器となる暖房運転時に、前記外管(51)内へ前記冷媒を導入する暖房時用液管(52)と、
    前記暖房時用液管(52)に導入された冷媒を前記外管(51)の内面壁に噴霧する噴霧手段(53)と、
    を備えていることを特徴とする熱交換器。
  3. 請求項2の熱交換器において、
    前記噴霧手段(53)は、前記暖房時用液管(52)に設けられた複数の噴霧穴(53)であることを特徴とする熱交換器。
  4. 請求項2の熱交換器において、
    前記噴霧手段(53)は、前記暖房時用液管(52)に設けられた複数のノズル(80)であることを特徴とする熱交換器。
  5. 請求項2の熱交換器において、
    前記暖房時用液管(52)は、前記外管(51)の中心に設けられていることを特徴とする熱交換器。
  6. 請求項1の熱交換器において、
    前記外管(51)が凝縮器となる冷房運転時に、前記外管(51)内で凝縮した前記冷媒を導出する冷房時用液管(56)を備え、
    前記冷房時用液管(56)は、前記外管(51)の下端まで延在していることを特徴とする熱交換器。
  7. 請求項1又は請求項2の熱交換器において、
    前記外管(51)内には、該外管(51)の内面壁に沿ってウイック(81)が設けられていることを特徴とする熱交換器。
  8. 請求項1又は請求項2の熱交換器において、
    前記外管(51)の内面壁には、冷媒を保持するグルーブ(82)が形成されていることを特徴とする熱交換器。
  9. 請求項2の熱交換器において、さらに、
    前記外管(51)が凝縮器となる冷房運転時に、前記外管(51)内で凝縮した前記冷媒を導出する冷房時用液管(56)を備え、
    前記冷房時用液管(56)は、前記外管(51)の下端まで延在していることを特徴とする熱交換器。
  10. 請求項2の熱交換器において、
    前記前記外管(51)は、該外管(51)内の冷媒を圧縮機(30)に導出する圧縮機用配管(55)を備え、
    前記圧縮機用配管(55)には、前記外管(51)の底部に溜った潤滑油を前記圧縮機(30)に戻す油戻し機構(90)が形成されていることを特徴とする熱交換器。
  11. 請求項1又は請求項2の熱交換器を備えて冷凍サイクルを行うことを特徴とする空調システム。
  12. 請求項9の熱交換器と、
    前記冷媒が、前記暖房時用液管(52)及び前記冷房時用液管(56)の何れかに選択的に導入されるように切り替える切り替えバルブ(60)と、
    を備えて冷凍サイクルを行う冷媒回路(10)を備えていることを特徴とする空調システム。
JP2009124591A 2008-05-23 2009-05-22 熱交換器及び空調システム Expired - Fee Related JP5381325B2 (ja)

Priority Applications (1)

Application Number Priority Date Filing Date Title
JP2009124591A JP5381325B2 (ja) 2008-05-23 2009-05-22 熱交換器及び空調システム

Applications Claiming Priority (3)

Application Number Priority Date Filing Date Title
JP2008135925 2008-05-23
JP2008135925 2008-05-23
JP2009124591A JP5381325B2 (ja) 2008-05-23 2009-05-22 熱交換器及び空調システム

Publications (2)

Publication Number Publication Date
JP2010002174A true JP2010002174A (ja) 2010-01-07
JP5381325B2 JP5381325B2 (ja) 2014-01-08

Family

ID=41584035

Family Applications (1)

Application Number Title Priority Date Filing Date
JP2009124591A Expired - Fee Related JP5381325B2 (ja) 2008-05-23 2009-05-22 熱交換器及び空調システム

Country Status (1)

Country Link
JP (1) JP5381325B2 (ja)

Cited By (6)

* Cited by examiner, † Cited by third party
Publication number Priority date Publication date Assignee Title
JP2012078080A (ja) * 2010-09-07 2012-04-19 Daikin Industries Ltd 地中熱交換器、及びそれを利用したヒートポンプ
JP2012083021A (ja) * 2010-10-12 2012-04-26 National Institute Of Advanced Industrial Science & Technology 地中熱交換器
CN102748901A (zh) * 2012-07-17 2012-10-24 辛钟杰 一种用于空气源热泵、空调器低温制热的喷雾蒸发系统
KR101695191B1 (ko) * 2016-05-25 2017-01-11 한국이미지시스템(주) 히트펌프 시스템용 지중 열교환기 및 이를 이용한 히트펌프 시스템
JP2018091559A (ja) * 2016-12-05 2018-06-14 山野辺 久生 太管横置傾斜式対流型地中熱交換器、太管横置傾斜式対流型地中熱交換装置、及びその設置方法
KR101948120B1 (ko) * 2018-09-03 2019-02-14 한국이미지시스템(주) 스크루 파일형 지열교환기

Citations (5)

* Cited by examiner, † Cited by third party
Publication number Priority date Publication date Assignee Title
JPS5589665A (en) * 1978-12-26 1980-07-07 Clarion Co Ltd Evaporator for air conditioner
JPS5918274Y2 (ja) * 1980-10-03 1984-05-26 日産自動車株式会社 自動車ク−ラ用エバポレ−タ
JPH05118700A (ja) * 1991-10-31 1993-05-14 Hokkaido Electric Power Co Inc:The ヒートポンプ型空調設備
JPH10238898A (ja) * 1997-02-21 1998-09-08 Paloma Ind Ltd 蒸発器
JP2006010141A (ja) * 2004-06-24 2006-01-12 Atomu Kenchiku Kankyo Kogaku Kenkyusho:Kk 二重管式ヒートパイプ

Patent Citations (5)

* Cited by examiner, † Cited by third party
Publication number Priority date Publication date Assignee Title
JPS5589665A (en) * 1978-12-26 1980-07-07 Clarion Co Ltd Evaporator for air conditioner
JPS5918274Y2 (ja) * 1980-10-03 1984-05-26 日産自動車株式会社 自動車ク−ラ用エバポレ−タ
JPH05118700A (ja) * 1991-10-31 1993-05-14 Hokkaido Electric Power Co Inc:The ヒートポンプ型空調設備
JPH10238898A (ja) * 1997-02-21 1998-09-08 Paloma Ind Ltd 蒸発器
JP2006010141A (ja) * 2004-06-24 2006-01-12 Atomu Kenchiku Kankyo Kogaku Kenkyusho:Kk 二重管式ヒートパイプ

Cited By (8)

* Cited by examiner, † Cited by third party
Publication number Priority date Publication date Assignee Title
JP2012078080A (ja) * 2010-09-07 2012-04-19 Daikin Industries Ltd 地中熱交換器、及びそれを利用したヒートポンプ
JP2012083021A (ja) * 2010-10-12 2012-04-26 National Institute Of Advanced Industrial Science & Technology 地中熱交換器
CN102748901A (zh) * 2012-07-17 2012-10-24 辛钟杰 一种用于空气源热泵、空调器低温制热的喷雾蒸发系统
CN102748901B (zh) * 2012-07-17 2014-10-08 辛钟杰 一种用于空气源热泵、空调器低温制热的喷雾蒸发系统
KR101695191B1 (ko) * 2016-05-25 2017-01-11 한국이미지시스템(주) 히트펌프 시스템용 지중 열교환기 및 이를 이용한 히트펌프 시스템
JP2018091559A (ja) * 2016-12-05 2018-06-14 山野辺 久生 太管横置傾斜式対流型地中熱交換器、太管横置傾斜式対流型地中熱交換装置、及びその設置方法
WO2018105629A1 (ja) * 2016-12-05 2018-06-14 久生 山野辺 太管横置傾斜式対流型地中熱交換器、太管横置傾斜式対流型地中熱交換装置、及びその設置方法
KR101948120B1 (ko) * 2018-09-03 2019-02-14 한국이미지시스템(주) 스크루 파일형 지열교환기

Also Published As

Publication number Publication date
JP5381325B2 (ja) 2014-01-08

Similar Documents

Publication Publication Date Title
US20110048049A1 (en) Heat exchanger and air conditioning system
JP5381325B2 (ja) 熱交換器及び空調システム
JP2009287914A (ja) 熱交換器及び空調システム
JP7357324B2 (ja) マルチ熱源ヒートポンプ装置
JP4642579B2 (ja) 地熱採熱システム
CN102245981A (zh) 地下热交换器及包括其的空调系统
CN101344347A (zh) 热管地源热泵系统
JP4182961B2 (ja) 地熱利用ヒートポンプ式空調装置
JP2012057836A (ja) 地中熱交換器、及びそれを利用したヒートポンプ
KR101771647B1 (ko) 열교환 유닛을 구비한 히트펌프 순차제어장치
KR101008519B1 (ko) 하이브리드 히트펌프장치
JP5510316B2 (ja) 熱交換器及び空調システム
JP2013249982A (ja) 地中熱交換器およびヒートポンプ
JP7359361B2 (ja) ヒートポンプ装置
JP2012078080A (ja) 地中熱交換器、及びそれを利用したヒートポンプ
JP2013007550A (ja) ヒートポンプ
KR101771645B1 (ko) 열교환 유닛을 구비한 히트펌프 시스템
WO2009133708A1 (ja) 熱交換器及び空調システム
JP2013249974A (ja) ヒートポンプ
JP2007120781A (ja) 地熱利用水冷ヒートポンプ空調システム
KR100846164B1 (ko) 수온차 지열집열체 및 이를 이용한 냉난방장치
CN101375108A (zh) 空调装置
JP2013249978A (ja) 地中熱交換器およびヒートポンプ
KR20100127013A (ko) 히트펌프를 이용한 냉온장치
KR101309078B1 (ko) 히트펌프를 위한 지하열원공급 장치

Legal Events

Date Code Title Description
A621 Written request for application examination

Free format text: JAPANESE INTERMEDIATE CODE: A621

Effective date: 20120423

RD02 Notification of acceptance of power of attorney

Free format text: JAPANESE INTERMEDIATE CODE: A7422

Effective date: 20120509

A977 Report on retrieval

Free format text: JAPANESE INTERMEDIATE CODE: A971007

Effective date: 20130513

A131 Notification of reasons for refusal

Free format text: JAPANESE INTERMEDIATE CODE: A131

Effective date: 20130521

A521 Written amendment

Free format text: JAPANESE INTERMEDIATE CODE: A523

Effective date: 20130717

TRDD Decision of grant or rejection written
A01 Written decision to grant a patent or to grant a registration (utility model)

Free format text: JAPANESE INTERMEDIATE CODE: A01

Effective date: 20130903

A61 First payment of annual fees (during grant procedure)

Free format text: JAPANESE INTERMEDIATE CODE: A61

Effective date: 20130916

R151 Written notification of patent or utility model registration

Ref document number: 5381325

Country of ref document: JP

Free format text: JAPANESE INTERMEDIATE CODE: R151

LAPS Cancellation because of no payment of annual fees