JP2010001862A - キャニスタ - Google Patents

キャニスタ Download PDF

Info

Publication number
JP2010001862A
JP2010001862A JP2008163204A JP2008163204A JP2010001862A JP 2010001862 A JP2010001862 A JP 2010001862A JP 2008163204 A JP2008163204 A JP 2008163204A JP 2008163204 A JP2008163204 A JP 2008163204A JP 2010001862 A JP2010001862 A JP 2010001862A
Authority
JP
Japan
Prior art keywords
adsorbent
chamber
fuel
sub chamber
chambers
Prior art date
Legal status (The legal status is an assumption and is not a legal conclusion. Google has not performed a legal analysis and makes no representation as to the accuracy of the status listed.)
Granted
Application number
JP2008163204A
Other languages
English (en)
Other versions
JP5179965B2 (ja
Inventor
Takamori Kondo
隆盛 近藤
Takuya Nakagawa
卓也 中川
Current Assignee (The listed assignees may be inaccurate. Google has not performed a legal analysis and makes no representation or warranty as to the accuracy of the list.)
Futaba Industrial Co Ltd
Original Assignee
Futaba Industrial Co Ltd
Priority date (The priority date is an assumption and is not a legal conclusion. Google has not performed a legal analysis and makes no representation as to the accuracy of the date listed.)
Filing date
Publication date
Application filed by Futaba Industrial Co Ltd filed Critical Futaba Industrial Co Ltd
Priority to JP2008163204A priority Critical patent/JP5179965B2/ja
Publication of JP2010001862A publication Critical patent/JP2010001862A/ja
Application granted granted Critical
Publication of JP5179965B2 publication Critical patent/JP5179965B2/ja
Active legal-status Critical Current
Anticipated expiration legal-status Critical

Links

Images

Landscapes

  • Supplying Secondary Fuel Or The Like To Fuel, Air Or Fuel-Air Mixtures (AREA)

Abstract

【課題】吸着材を短時間で回復して燃料の放出を抑制したキャニスタを得る。
【解決手段】容器1内に流入ポート16及び流出ポート18を設けた主室6と、主室6に直列に接続された第1副室8aと、第1副室8aに直列に接続され導入ポート26を設けた第2副室8bとを設ける。導入ポートを設けた第2副室8bに充填する吸着材54は、粒状の活性炭から成形されたペレットで、かつ、ペレットは他の主室6や第1副室8aの吸着材42,50より燃料を脱離したときの単位時間当たりの脱離量が多く、吸着材54を短時間で回復できる。このペレット内に多数の通気路56を形成して燃料を脱離したときの単位時間当たりの脱離量を多くした。また、第2副室8bは、充填した吸着材54層の長さLと第2副室8bの断面積に相当する円面積の直径Dとの比L/Dを1以上とした。更に、第1副室8aに他の室6,8bよりも熱容量が大きい吸着材50を充填した。
【選択図】図1

Description

本発明は、自動車の燃料タンク等で発生する燃料蒸気を吸着材に吸着して処理するキャニスタに関する。
従来より、内燃機関の停止中に、燃料タンクから発生する燃料蒸気を、キャニスタ内に導入して、吸着材に吸着させ、内燃機関の運転時に、吸着した燃料を吸気管負圧により脱離して燃焼室で燃焼させるようにしている。
このようなキャニスタでは、内燃機関の停止中に、燃料タンクから流入する燃料蒸気を吸着しきれずに、空気を導入する導入ポートから大気中に放出してしまう場合がある。これを防止するために、特許文献1にあるように、導入ポート側の吸着材層の吸着材に、流入ポート側の吸着材層の吸着材より蒸発燃料の吸着量が小さく、蒸発燃料の保持力が大きい特性を有する活性炭を充填して、吹き抜けを抑制したものが提案されている。
特開2006−83871号公報
しかしながら、こうした従来のものでは、導入ポート側の吸着材層の吸着材に、流入ポート側の吸着材層の吸着材より蒸発燃料の吸着量が小さく、蒸発燃料の保持力が大きい特性を有する活性炭を充填したので、内燃機関運転中の脱離時に、導入ポート側の吸着材に保持された状態で燃料が残留しやすく、外部温度変化等によって、残留した燃料が導入ポートから外部に放出されてしまう場合があるという問題があった。
本発明の課題は、吸着材を短時間で回復して燃料の放出を抑制したキャニスタを提供することにある。
かかる課題を達成すべく、本発明は課題を解決するため次の手段を取った。即ち、
容器内を複数の室に仕切ると共に、燃料タンクからの燃料蒸気を導入する流入ポート及び脱離した燃料を内燃機関の吸気管に排出させる流出ポートを設けた室と、空気を導入する導入ポートを設けた室との間の前記各室を直列に接続して前記各室に吸着材を充填し、前記流入ポートを介して導入した燃料蒸気を前記吸着材に吸着させると共に、前記導入ポートを介して導入した空気により、前記吸着材に吸着した燃料を脱離させるキャニスタにおいて、
前記導入ポートを設けた室に充填する前記吸着材は、粒状の活性炭から成形されたペレットで、かつ、該ペレットは他の前記室の前記吸着材より燃料を脱離したときの単位時間当たりの脱離量が多いことを特徴とするキャニスタがそれである。
前記導入ポートを設けた室は、前記室に充填した前記吸着材層の長さLと前記室の断面積に相当する円面積の直径Dとの比L/Dが1以上であることが好ましい。また、前記ペレットは、前記ペレット内に多数の通気路を形成して燃料を脱離したときの単位時間当たりの脱離量を多くした構成でもよい。更に、複数の前記室は、前記流入ポート及び前記流出ポートを設けた主室と、該主室に直列に接続された第1副室と、該第1副室に直列に接続され前記導入ポートを設けた第2副室とからなり、前記第1副室に他の前記室よりも熱容量が大きい吸着材を充填した構成でもよい。
本発明のキャニスタは、導入ポートを設けた室に充填する吸着材が、粒状の活性炭から成形されたペレットで、かつ、ペレットは他の室の吸着材より燃料を脱離したときの単位時間当たりの脱離量が多いので、導入ポートを設けた室の吸着材を短時間で回復でき、吸着材に残留する燃料の放出を抑制できるという効果を奏する。
また、導入ポートを設けた室は長さLと直径Dとの比L/Dを1以上としたので、燃料蒸気の吸着が効率よく行われ、吹き抜けを抑制できる。更に、ペレットに多数の通気路を形成することにより、燃料を脱離したときの単位時間当たりの脱離量を多くすることが容易にできる。第1副室に他の室よりも熱容量が大きい吸着材を充填することにより、温度低下が抑制され、吸着材からの燃料の脱離が促進される。
以下本発明を実施するための最良の形態を図面に基づいて詳細に説明する。
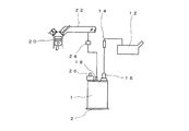
図1に示すように、1はキャニスタの容器で、容器1は合成樹脂により形成されている。容器1の一方は開口されており、蓋部材2により閉塞されている。本実施形態では、容器1は、隔壁4により仕切られて、主室6と副室8とが形成されている。主室6の容積は副室8の容積よりも大きく、副室8は細長い形状に形成されている。主室6と副室8とは、蓋部材2側に形成された連通路10により互いに連通されている。
容器1には、蓋部材2と反対側に、図3に示すように、燃料タンク12にチェック弁14を介して接続される流入ポート16が形成されている。流入ポート16は、主室6に燃料タンク12からの燃料蒸気を導入できるように接続されている。
また、容器1には、流入ポート16に併設して流出ポート18が形成されており、流出ポート18は、内燃機関20の吸気管22にパージ弁24を介して接続されている。流出ポート18は、主室6に接続されており、後述する脱離された燃料をパージ弁24を介して吸気管22に排出できるように構成されている。更に、容器1には、大気側と連通された導入ポート26が形成されており、導入ポート26は副室8に接続されている。導入ポート26は、大気側からの空気を副室8に導入できるように構成されている。
主室6には、流入ポート16及び流出ポート18側の端に、フィルタ28,30が設けられており、また、蓋部材2側の端にもフィルタ32が設けられている。副室8には、導入ポート26側の端に、フィルタ34が設けられており、蓋部材2側の端にもフィルタ36が設けられている。蓋部材2側のそれぞれのフィルタ32,36には、それぞれ多孔板38,40が併設されており、多孔板38,40と蓋部材2との間には、それぞれコイルバネ41a,41bが介装されている。
主室6内には、流入ポート16及び流出ポート18側の両フィルタ28,30と、蓋部材2側のフィルタ32との間に、吸着材42が充填されている。本実施形態では、吸着材42は、粒状の活性炭をバインダと共に混練して、直径が1〜3mm程度で、長さが3〜10mm程度の円柱状に成形したペレットである。尚、ペレットを主室6に充填する場合に限らず、粒状の活性炭をそのまま主室6に充填してもよい。
一方、副室8内には、多孔板44が挿入されて、副室8内が連通路10に接続した第1副室8aと、導入ポート26に接続した第2副室8bとに分割されている。容器1内に、複数の室、本実施形態では、主室6、第1副室8a、第2副室8bが設けられ、主室6と第1副室8aとが連通路10により接続されると共に、第1副室8aと第2副室8bとが連通形成されている。これにより、主室6と第1副室8aと第2副室8bとが直列に接続されて設けられている。
多孔板44の両側には、それぞれフィルタ46,48が設けられており、第1副室8a内の両フィルタ36,46の間には、主室6の吸着材42や第2副室8bの後述する吸着材54よりも熱容量の大きい吸着材50が充填されている。本実施形態では、吸着材50には、直径が1〜3mm程度で、長さが3〜10mm程度に成形したペレットを用いている。第1副室8aに熱容量の大きい吸着材50を充填することにより、燃料の吸着量を多くすることができ、第2副室8bの後述する吸着材54の負担を低減できる。また、ペレットを用いることにより通気抵抗を低減できる。主室6の吸着材42の熱容量を大きくすると、主室6の吸着材42の燃料吸着量が多くなりすぎ、吹き抜け性が悪くなる。尚、熱容量の大きい吸着材50を第1副室8aに充填するのは、必要に応じて行えばよく、主室6と同じペレットのみを第1副室8aに充填してもよい。
第2副室8b内の両フィルタ34,48の間には、吸着材54が充填されている。吸着材54は粒状の活性炭を賦活後、バインダと共に添加剤を混ぜてペレット状に形成し、その後、添加剤を除去して形成したものである。こうして成形したペレット状の吸着材54は、図2に示すように、添加剤が除去された後に多数の通気路56が吸着材54の内部に形成されている。通気路56は直径0.05mm程度の孔で、吸着材54の表面から吸着材54の内部に達して多数形成されて、通気路56同士が吸着材54の内部で互いに連通しているものもある。
この通気路56により、空気が吸着材54の内部にまで浸透しやすく、通気路56を形成していない主室6の吸着材42及び第1副室8aの吸着材50よりも燃料を脱離したときの単位時間当たりの脱離量が多い。例えば、単位重量あたりの燃料量を同じとした燃料を吸着させた各吸着材42,50,54に、同じ空気量を同じ時間だけ供給して燃料量の離脱を比較した場合、通気路56を形成した吸着材54からの単位時間当たりの脱離量が多い。
各吸着材42,50,54には、同じ活性炭を用いてペレット状に成形してもよく、その際、通気路56を形成した吸着材54は、吸着できる燃料量は少なくなるが、燃料の脱離速度は速い。
また、第2副室8bは、その断面積が第1副室8aの断面積よりも小さくなるように形成されている。第2副室8bの両フィルタ34,48間の長さL(充填されている吸着材54層の長さ)と、第2副室8bの断面を円形の断面と同等に換算した際の直径Dとの比L/Dを1以上となるように形成している。L/Dを1以上とすると、第2副室8b内での燃料蒸気の吸着が効率よく行われ、導入ポート26から大気中に放出される燃料蒸気量を低減できる。
次に、前述した本実施形態のキャニスタの作動について説明する。
まず、自動車が内燃機関20を運転することなく停止している状態では、燃料タンク12等で発生した燃料蒸気が流入ポート16を介して、主室6に導入される。導入された燃料蒸気は、フィルタ28を通ってから、主室6内の吸着材42に吸着される。
燃料蒸気が主室6内に導入されると、流入ポート16側の吸着材42に吸着され、蓋部材2側の吸着材42に向かって、順次、燃料蒸気の吸着が行われる。主室6内の吸着材42で吸着できなかった燃料蒸気は、連通路10を通り、第1副室8bに導入される。そして、第1副室8a内の吸着材50により吸着される。その際、第1副室8aに他の室6,8bよりも熱容量の大きい吸着材50を充填しているので、燃料蒸気の液化による熱は、吸着材50の吸熱で、熱が奪われ、温度上昇が抑制される。よって、吸着材50への吸着が促進される。
更に、第1副室8aで吸着されなかった燃料蒸気は、フィルタ46、多孔板44、フィルタ48を通り、第2副室8bに導入される。そして、第2副室8b内の吸着材54により吸着される。燃料が吸着されて分離された空気が導入ポート26から大気中に放出される。第2副室8bは長さLと直径Dとの比L/Dを1以上に形成されているので、燃料蒸気の吸着が効率よく、導入ポート26から大気中に放出される燃料蒸気量を低減できる。
一方、内燃機関20の運転中には、導入ポート26から大気中の空気がフィルタ34を介して第2副室8bに導入される。第2副室8bに導入された空気は、第2副室8b内の吸着材54から燃料を脱離させた後、フィルタ48、多孔板44、フィルタ46を通り、第1副室8aに導かれる。
第2副室8b内の吸着材54には多数の通気路56が形成されているので、燃料を脱離したときの単位時間当たりの脱離量が多く、第2副室8b内の吸着材54からは、吸着されている燃料が速やかに脱離し、燃料蒸気を吸着できる状態になる回復が早い。しかも、通気路56はペレット状の吸着材54の内部にまで形成されているので、吸着材54の内部の燃料をも速やかに脱離する。
燃料蒸気を含んだ空気は、第1副室8aに導入され、第1副室8aの吸着材50からも燃料を脱離させる。その際、気化熱が奪われ、温度が低下するが、第1副室8aには他の室6,8bよりも熱容量の大きい吸着材50を充填しているので、温度低下が抑制され、吸着材50からの燃料の脱離が促進される。よって、キャニスタを小型化でき、しかも、小型化しても、十分に吸着材50の温度変化を抑制できる。
更に、燃料蒸気を含んだ空気は、第1副室8aから連通路10を介して主室6に導かれる。主室6内でも同様に、吸着材42から燃料の脱離が行われる。主室6、流出ポート18、パージ弁24を介して吸気管22に排出され、内燃機関20で燃焼される。
このように、導入ポート26から空気を導入した際に、第2副室8b内の吸着材54から速やかに燃料が脱離され、第2副室8bの吸着が速やかに回復される。よって、内燃機関運転中の脱離時に、吸着材54に保持された状態での燃料の残留は非常に少なく、外部温度変化等によって、内燃機関の停止中等に、残留した燃料が導入ポート26から外部に放出されてしまうのを抑制できる。また、例えば、内燃機関20の運転と停止とが頻繁に繰り返されたような場合でも、第2副室8bの吸着は速やかに回復されて、運転を停止中に燃料蒸気が主室6で吸着されなかった場合でも、第2副室8bで確実に吸着して、大気中への燃料蒸気が排出を防止する。よって、捕集性能を向上させることができる。尚、本実施形態では、第1副室8aを設けたが、第1副室8aを設けることなく、副室8の全体を吸着材54を充填した第2副室8bとしてもよい。
以上本発明はこの様な実施形態に何等限定されるものではなく、本発明の要旨を逸脱しない範囲において種々なる態様で実施し得る。
本発明の一実施形態としてのキャニスタの断面図である。 本実施形態の吸着材の部分拡大図である。 本実施形態のキャニスタと燃料タンク、内燃機関との接続を示す説明図である。
符号の説明
1…容器 2…蓋部材
4…隔壁 6…主室
8…副室 8a…第1副室
8b…副室 10…連通路
12…燃料タンク 16…流入ポート
18…流出ポート 20…内燃機関
22…吸気管 26…導入ポート
28,30,32,34,36,46,48…フィルタ
42,50,54…吸着材
56…通気路

Claims (4)

  1. 容器内を複数の室に仕切ると共に、燃料タンクからの燃料蒸気を導入する流入ポート及び脱離した燃料を内燃機関の吸気管に排出させる流出ポートを設けた室と、空気を導入する導入ポートを設けた室との間の前記各室を直列に接続して前記各室に吸着材を充填し、前記流入ポートを介して導入した燃料蒸気を前記吸着材に吸着させると共に、前記導入ポートを介して導入した空気により、前記吸着材に吸着した燃料を脱離させるキャニスタにおいて、
    前記導入ポートを設けた室に充填する前記吸着材は、粒状の活性炭から成形されたペレットで、かつ、該ペレットは他の前記室の前記吸着材より燃料を脱離したときの単位時間当たりの脱離量が多いことを特徴とするキャニスタ。
  2. 前記導入ポートを設けた室は、前記室に充填した前記吸着材層の長さLと前記室の断面積に相当する円面積の直径Dとの比L/Dが1以上であることを特徴とする請求項1に記載のキャニスタ。
  3. 前記ペレットは、前記ペレット内に多数の通気路を形成して燃料を脱離したときの単位時間当たりの脱離量を多くしたことを特徴とする請求項1又は請求項2に記載のキャニスタ。
  4. 複数の前記室は、前記流入ポート及び前記流出ポートを設けた主室と、該主室に直列に接続された第1副室と、該第1副室に直列に接続され前記導入ポートを設けた第2副室とからなり、前記第1副室に他の前記室よりも熱容量が大きい吸着材を充填したことを特徴とする請求項1ないし請求項3のいずれかに記載のキャニスタ。
JP2008163204A 2008-06-23 2008-06-23 キャニスタ Active JP5179965B2 (ja)

Priority Applications (1)

Application Number Priority Date Filing Date Title
JP2008163204A JP5179965B2 (ja) 2008-06-23 2008-06-23 キャニスタ

Applications Claiming Priority (1)

Application Number Priority Date Filing Date Title
JP2008163204A JP5179965B2 (ja) 2008-06-23 2008-06-23 キャニスタ

Publications (2)

Publication Number Publication Date
JP2010001862A true JP2010001862A (ja) 2010-01-07
JP5179965B2 JP5179965B2 (ja) 2013-04-10

Family

ID=41583766

Family Applications (1)

Application Number Title Priority Date Filing Date
JP2008163204A Active JP5179965B2 (ja) 2008-06-23 2008-06-23 キャニスタ

Country Status (1)

Country Link
JP (1) JP5179965B2 (ja)

Cited By (2)

* Cited by examiner, † Cited by third party
Publication number Priority date Publication date Assignee Title
JP2013011249A (ja) * 2011-06-30 2013-01-17 Aisan Industry Co Ltd 蒸発燃料処理装置
JP2015057551A (ja) * 2014-12-22 2015-03-26 愛三工業株式会社 蒸発燃料処理装置

Citations (3)

* Cited by examiner, † Cited by third party
Publication number Priority date Publication date Assignee Title
JP2003003914A (ja) * 2001-06-26 2003-01-08 Nissan Motor Co Ltd 蒸発燃料処理装置
JP2005282481A (ja) * 2004-03-30 2005-10-13 Mahle Tennex Corp キャニスタ
JP2005325708A (ja) * 2004-05-12 2005-11-24 Futaba Industrial Co Ltd キャニスタ

Patent Citations (3)

* Cited by examiner, † Cited by third party
Publication number Priority date Publication date Assignee Title
JP2003003914A (ja) * 2001-06-26 2003-01-08 Nissan Motor Co Ltd 蒸発燃料処理装置
JP2005282481A (ja) * 2004-03-30 2005-10-13 Mahle Tennex Corp キャニスタ
JP2005325708A (ja) * 2004-05-12 2005-11-24 Futaba Industrial Co Ltd キャニスタ

Cited By (2)

* Cited by examiner, † Cited by third party
Publication number Priority date Publication date Assignee Title
JP2013011249A (ja) * 2011-06-30 2013-01-17 Aisan Industry Co Ltd 蒸発燃料処理装置
JP2015057551A (ja) * 2014-12-22 2015-03-26 愛三工業株式会社 蒸発燃料処理装置

Also Published As

Publication number Publication date
JP5179965B2 (ja) 2013-04-10

Similar Documents

Publication Publication Date Title
JP5583609B2 (ja) キャニスタ
US8992673B2 (en) Evaporated fuel treatment apparatus
JP3995881B2 (ja) 蒸発燃料処理用のキャニスタ
US8617299B2 (en) Fuel vapor processing canister
JP6762689B2 (ja) 蒸発燃料処理装置
US20130186375A1 (en) Trap canister capturing fuel vapor
JP5112255B2 (ja) 蒸発燃料処理装置
US8529676B2 (en) Fuel vapor adsorption canister
US20130037006A1 (en) Evaporated fuel treating apparatus
US9283513B2 (en) Fuel vapor treatment device
JP2013217243A (ja) トラップキャニスタ
JP6376106B2 (ja) キャニスタ
JP2009191688A (ja) キャニスタ
CN116122994A (zh) 过滤罐
US9982636B2 (en) Fuel vapor processing apparatus
JP2002235610A (ja) 自動車用キャニスタ
JP2013011250A (ja) 蒸発燃料処理装置
JP5179965B2 (ja) キャニスタ
US11473535B2 (en) Evaporated fuel treatment device
JP2005325708A (ja) キャニスタ
JP5341022B2 (ja) キャニスタ
JP2005325707A (ja) キャニスタ
JP2017089500A (ja) キャニスタ
JP2017089499A (ja) キャニスタ
JP2025095423A (ja) キャニスタ

Legal Events

Date Code Title Description
A621 Written request for application examination

Free format text: JAPANESE INTERMEDIATE CODE: A621

Effective date: 20110615

A977 Report on retrieval

Free format text: JAPANESE INTERMEDIATE CODE: A971007

Effective date: 20120326

A131 Notification of reasons for refusal

Free format text: JAPANESE INTERMEDIATE CODE: A131

Effective date: 20120403

A521 Request for written amendment filed

Free format text: JAPANESE INTERMEDIATE CODE: A523

Effective date: 20120601

A02 Decision of refusal

Free format text: JAPANESE INTERMEDIATE CODE: A02

Effective date: 20120724

A521 Request for written amendment filed

Free format text: JAPANESE INTERMEDIATE CODE: A523

Effective date: 20121012

A911 Transfer to examiner for re-examination before appeal (zenchi)

Free format text: JAPANESE INTERMEDIATE CODE: A911

Effective date: 20121022

TRDD Decision of grant or rejection written
A01 Written decision to grant a patent or to grant a registration (utility model)

Free format text: JAPANESE INTERMEDIATE CODE: A01

Effective date: 20121218

A61 First payment of annual fees (during grant procedure)

Free format text: JAPANESE INTERMEDIATE CODE: A61

Effective date: 20130110

R150 Certificate of patent or registration of utility model

Ref document number: 5179965

Country of ref document: JP

Free format text: JAPANESE INTERMEDIATE CODE: R150

R250 Receipt of annual fees

Free format text: JAPANESE INTERMEDIATE CODE: R250

R250 Receipt of annual fees

Free format text: JAPANESE INTERMEDIATE CODE: R250

R250 Receipt of annual fees

Free format text: JAPANESE INTERMEDIATE CODE: R250

R250 Receipt of annual fees

Free format text: JAPANESE INTERMEDIATE CODE: R250

R250 Receipt of annual fees

Free format text: JAPANESE INTERMEDIATE CODE: R250

R250 Receipt of annual fees

Free format text: JAPANESE INTERMEDIATE CODE: R250

R250 Receipt of annual fees

Free format text: JAPANESE INTERMEDIATE CODE: R250

R250 Receipt of annual fees

Free format text: JAPANESE INTERMEDIATE CODE: R250

R250 Receipt of annual fees

Free format text: JAPANESE INTERMEDIATE CODE: R250

R250 Receipt of annual fees

Free format text: JAPANESE INTERMEDIATE CODE: R250

R250 Receipt of annual fees

Free format text: JAPANESE INTERMEDIATE CODE: R250