JP2010000336A - 超音波手術装置 - Google Patents

超音波手術装置 Download PDF

Info

Publication number
JP2010000336A
JP2010000336A JP2009018561A JP2009018561A JP2010000336A JP 2010000336 A JP2010000336 A JP 2010000336A JP 2009018561 A JP2009018561 A JP 2009018561A JP 2009018561 A JP2009018561 A JP 2009018561A JP 2010000336 A JP2010000336 A JP 2010000336A
Authority
JP
Japan
Prior art keywords
treatment
ultrasonic
sheath
transmission member
target site
Prior art date
Legal status (The legal status is an assumption and is not a legal conclusion. Google has not performed a legal analysis and makes no representation as to the accuracy of the status listed.)
Granted
Application number
JP2009018561A
Other languages
English (en)
Other versions
JP5430161B2 (ja
Inventor
Kenichi Kimura
健一 木村
Hideto Yoshimine
英人 吉嶺
Susumu Komagata
進 駒形
Manabu Ishikawa
学 石川
Current Assignee (The listed assignees may be inaccurate. Google has not performed a legal analysis and makes no representation or warranty as to the accuracy of the list.)
Olympus Medical Systems Corp
Original Assignee
Olympus Medical Systems Corp
Priority date (The priority date is an assumption and is not a legal conclusion. Google has not performed a legal analysis and makes no representation as to the accuracy of the date listed.)
Filing date
Publication date
Application filed by Olympus Medical Systems Corp filed Critical Olympus Medical Systems Corp
Publication of JP2010000336A publication Critical patent/JP2010000336A/ja
Application granted granted Critical
Publication of JP5430161B2 publication Critical patent/JP5430161B2/ja
Expired - Fee Related legal-status Critical Current
Anticipated expiration legal-status Critical

Links

Images

Classifications

    • AHUMAN NECESSITIES
    • A61MEDICAL OR VETERINARY SCIENCE; HYGIENE
    • A61BDIAGNOSIS; SURGERY; IDENTIFICATION
    • A61B17/00Surgical instruments, devices or methods
    • A61B17/32Surgical cutting instruments
    • A61B17/320068Surgical cutting instruments using mechanical vibrations, e.g. ultrasonic
    • AHUMAN NECESSITIES
    • A61MEDICAL OR VETERINARY SCIENCE; HYGIENE
    • A61BDIAGNOSIS; SURGERY; IDENTIFICATION
    • A61B17/00Surgical instruments, devices or methods
    • A61B17/16Instruments for performing osteoclasis; Drills or chisels for bones; Trepans
    • AHUMAN NECESSITIES
    • A61MEDICAL OR VETERINARY SCIENCE; HYGIENE
    • A61BDIAGNOSIS; SURGERY; IDENTIFICATION
    • A61B17/00Surgical instruments, devices or methods
    • A61B17/16Instruments for performing osteoclasis; Drills or chisels for bones; Trepans
    • A61B17/1662Instruments for performing osteoclasis; Drills or chisels for bones; Trepans for particular parts of the body
    • A61B17/1664Instruments for performing osteoclasis; Drills or chisels for bones; Trepans for particular parts of the body for the hip
    • A61B17/1666Instruments for performing osteoclasis; Drills or chisels for bones; Trepans for particular parts of the body for the hip for the acetabulum
    • AHUMAN NECESSITIES
    • A61MEDICAL OR VETERINARY SCIENCE; HYGIENE
    • A61BDIAGNOSIS; SURGERY; IDENTIFICATION
    • A61B17/00Surgical instruments, devices or methods
    • A61B17/16Instruments for performing osteoclasis; Drills or chisels for bones; Trepans
    • A61B17/1662Instruments for performing osteoclasis; Drills or chisels for bones; Trepans for particular parts of the body
    • A61B17/1675Instruments for performing osteoclasis; Drills or chisels for bones; Trepans for particular parts of the body for the knee
    • AHUMAN NECESSITIES
    • A61MEDICAL OR VETERINARY SCIENCE; HYGIENE
    • A61BDIAGNOSIS; SURGERY; IDENTIFICATION
    • A61B17/00Surgical instruments, devices or methods
    • A61B17/16Instruments for performing osteoclasis; Drills or chisels for bones; Trepans
    • A61B17/1662Instruments for performing osteoclasis; Drills or chisels for bones; Trepans for particular parts of the body
    • A61B17/1684Instruments for performing osteoclasis; Drills or chisels for bones; Trepans for particular parts of the body for the shoulder
    • AHUMAN NECESSITIES
    • A61MEDICAL OR VETERINARY SCIENCE; HYGIENE
    • A61BDIAGNOSIS; SURGERY; IDENTIFICATION
    • A61B18/00Surgical instruments, devices or methods for transferring non-mechanical forms of energy to or from the body
    • A61B18/04Surgical instruments, devices or methods for transferring non-mechanical forms of energy to or from the body by heating
    • A61B18/12Surgical instruments, devices or methods for transferring non-mechanical forms of energy to or from the body by heating by passing a current through the tissue to be heated, e.g. high-frequency current
    • A61B18/14Probes or electrodes therefor
    • AHUMAN NECESSITIES
    • A61MEDICAL OR VETERINARY SCIENCE; HYGIENE
    • A61BDIAGNOSIS; SURGERY; IDENTIFICATION
    • A61B17/00Surgical instruments, devices or methods
    • A61B17/32Surgical cutting instruments
    • A61B2017/320004Surgical cutting instruments abrasive
    • AHUMAN NECESSITIES
    • A61MEDICAL OR VETERINARY SCIENCE; HYGIENE
    • A61BDIAGNOSIS; SURGERY; IDENTIFICATION
    • A61B17/00Surgical instruments, devices or methods
    • A61B17/32Surgical cutting instruments
    • A61B17/320068Surgical cutting instruments using mechanical vibrations, e.g. ultrasonic
    • A61B2017/320072Working tips with special features, e.g. extending parts
    • A61B2017/320074Working tips with special features, e.g. extending parts blade
    • A61B2017/320077Working tips with special features, e.g. extending parts blade double edge blade, e.g. reciprocating
    • AHUMAN NECESSITIES
    • A61MEDICAL OR VETERINARY SCIENCE; HYGIENE
    • A61BDIAGNOSIS; SURGERY; IDENTIFICATION
    • A61B17/00Surgical instruments, devices or methods
    • A61B17/32Surgical cutting instruments
    • A61B17/320068Surgical cutting instruments using mechanical vibrations, e.g. ultrasonic
    • A61B2017/320072Working tips with special features, e.g. extending parts
    • A61B2017/320078Tissue manipulating surface
    • AHUMAN NECESSITIES
    • A61MEDICAL OR VETERINARY SCIENCE; HYGIENE
    • A61BDIAGNOSIS; SURGERY; IDENTIFICATION
    • A61B90/00Instruments, implements or accessories specially adapted for surgery or diagnosis and not covered by any of the groups A61B1/00 - A61B50/00, e.g. for luxation treatment or for protecting wound edges
    • A61B90/08Accessories or related features not otherwise provided for
    • A61B2090/0801Prevention of accidental cutting or pricking

Landscapes

  • Health & Medical Sciences (AREA)
  • Surgery (AREA)
  • Life Sciences & Earth Sciences (AREA)
  • Engineering & Computer Science (AREA)
  • Biomedical Technology (AREA)
  • Molecular Biology (AREA)
  • Veterinary Medicine (AREA)
  • Public Health (AREA)
  • Dentistry (AREA)
  • Heart & Thoracic Surgery (AREA)
  • Medical Informatics (AREA)
  • Nuclear Medicine, Radiotherapy & Molecular Imaging (AREA)
  • Animal Behavior & Ethology (AREA)
  • General Health & Medical Sciences (AREA)
  • Oral & Maxillofacial Surgery (AREA)
  • Orthopedic Medicine & Surgery (AREA)
  • Mechanical Engineering (AREA)
  • Surgical Instruments (AREA)

Abstract

【課題】1つのハンドピースで複数の処置を可能にすることにより、手術操作を簡便にできる超音波手術装置を提供すること。
【解決手段】超音波手術装置は、超音波振動を発生する超音波振動子を有する超音波振動子ユニットと、前記超音波振動子と基端側にて接続し、前記超音波振動子にて発生した超音波振動を基端側から先端側に伝達する伝達部材と、前記伝達部材が挿通され、先端側の側方部に開口部を有するシースと、前記伝達部材の先端に配設され、前記開口部から露出した際に、前記伝達部材から伝達される超音波振動によって処置対象部位を処置する処置部と、を具備する。超音波手術装置は、硬組織を切除または切削する。
【選択図】 図1

Description

本発明は、骨などを処置する整形外科用の超音波手術装置に関する。
一般に整形外科手術における骨や軟骨などの硬組織が切除または切削される場合、機器が用いられる。この機器は、例えばコールドナイフ、手動式のパンチ鉗子、電動モータによって駆動するシェーバー、ドリルである。
例えば特許文献1には、超音波ハンドピースとこれに使用する超音波ホーンが開示されている。超音波ホーンは、超音波ハンドピースの構成部材である。超音波ホーンは、少なくとも1以上の面部からなる作業部と、作業部により微細に破砕された骨組織を掻き取るためのエッジ部とを有している。超音波ハンドピースと超音波ホーンとは、硬組織の切削に使用する超音波ハンドピースにおいて、メス部が被切削部位に過刺に起因する種々の弊害を防止して、広い視野の下にメス部の動きを精妙にコントロールし治療目的に則した正確な骨などの硬組織の切削を実現する。
米国特許第6,497,715 B2号明細書
一般的に、1つの機器(例えば1つのハンドピース)には、1つの処置部形状が提供されているのみである。よって手術時には、複数の種類の機器が用意され、処置に応じて機器を交換する必要が生じる。このように複数の機器を用意しなければならず、手術操作は、煩雑となる。
そのため本発明は、上記課題を鑑みて、1つのハンドピースで複数の処置を可能にすることにより、手術操作を簡便にできる超音波手術装置を提供することを目的とする。
本発明は、超音波振動を発生する超音波振動子を有する超音波振動子ユニットと、前記超音波振動子と基端側にて接続し、前記超音波振動子にて発生した超音波振動を基端側から先端側に伝達する伝達部材と、前記伝達部材が挿通され、先端側の側方部に開口部を有するシースと、前記伝達部材の先端に配設され、前記開口部から露出した際に、前記伝達部材から伝達される超音波振動によって処置対象部位を処置する処置部と、を具備し、硬組織を切除または切削する超音波手術装置を提供する。
本発明によれば、1つのハンドピースで複数の処置を可能にすることにより、手術操作を簡便にできる超音波手術装置を提供することができる。
図1は、本発明に係る第1の実施形態における整形外科用の超音波手術装置の概略斜視図である。 図2は、ハンドピースの断面図である。 図3は、図2に示すA−A線における本体の横断面を示す横断面図である。 図4は、処置部周辺の側面図である。 図5Aは、処置部の側面図である。 図5Bは、図5Aに示す処置部の上面図である。 図5Cは、図5Aに示す処置部の正面図である。 図6は、図4に示すB−B線における処置部の横断面を示す横断面図である。 図7は、図6に示す状態から先端部材が回動した状態における処置部の横断面を示す横断面図である。 図8Aは、第1の実施形態の第1の変形例における処置部の側面図である。 図8Bは、図8Aに示す処置部の上面図である。 図8Cは、図8Aに示す処置部の正面図である。 図9Aは、第1の実施形態の第2の変形例における処置部の側面図である。 図9Bは、図9Aに示す処置部の上面図である。 図9Cは、図9Aに示す処置部の正面図である。 図10は、第1の実施形態の第3の変形例における処置部周辺の概略図である。 図11は、本発明に係る第2の実施形態におけるハンドピースの断面図である。 図12Aは、第2の実施形態における処置部の側面図である。 図12Bは、図12Aに示す処置部の上面図である。 図12Cは、図12Aに示す処置部の下面図である。 図13は、図11に示すC−C線における処置部の横断面を示す横断面図である。 図14は、図13に示す状態から先端部材が回動した状態における処置部の横断面を示す横断面図である。 図15は、第2の実施形態の第1の変形例における処置部周辺の概略図である。 図16は、第2の実施形態の第2の変形例における処置部周辺の概略図である。 図17は、図16に示す状態から先端部材が回動した状態における処置部周辺の概略図である。 図18Aは、第2の実施形態の第3の変形例における処置部の側面図である。 図18Bは、図18Aに示す処置部の上面図である。 図18Cは、図18Aに示す処置部の正面図である。 図19は、第2の実施形態の第3の変形例における処置部周辺の概略図である。 図20は、図19に示す状態から先端部材が回動した状態における処置部周辺の概略図である。 図21は、第2の実施形態の第4の変形例における処置部周辺の横断面を示す横断面図である。 図22は、第2の実施形態の第4の変形例における本体の横断面を示す横断面図である。 図23は、第2の実施形態の第4の変形例における処置部周辺の概略図である。 図24は、第2の実施形態の第4の変形例における処置部周辺の概略図である。 図25は、第2の実施形態の第4の変形例における処置部周辺の概略図である。
以下、図面を参照して本発明の実施形態について詳細に説明する。
図1から図7を参照し、第1の実施形態について説明する。
図1に示すように整形外科用の超音波手術装置1は、例えば整形外科手術における処置対象部位を処置するハンドピース10と、超音波振動駆動装置50と、フットスイッチ70とを有している。処置対象部位とは、例えば骨や軟骨などの硬組織等である。処置とは、例えば切除や切削などである。
ハンドピース10は、出力用接続ケーブル2とSW用接続ケーブル3とによって超音波振動駆動装置50と接続している。超音波振動駆動装置50は、SW用接続ケーブル4によってフットスイッチ70と接続している。
ハンドピース10には、基端側に略円筒形状のケース11が設けられている。ケース11の基端側には、出力用接続ケーブル2とSW用接続ケーブル3とが接続している。
図2に示すようにケース11には、超音波振動を発生する超音波振動子ユニット12がケース11の基端側内部に固定されている。超音波振動子ユニット12は、超音波振動(例えば縦超音波振動)を発生する超音波振動子12bと、ケース11(プローブ30)の長手軸方向5において、超音波振動子12bの前方に配設され、超音波振動子12bから発生する超音波振動を増幅するホーン12cとを有している。
超音波振動子12bは、複数のリング状の圧電素子12aから構成される。圧電素子12aは、電力を超音波振動に変換する部材である。この電力は、超音波振動駆動装置50にて発生し、超音波振動駆動装置50から出力用接続ケーブル2における導線2aを通じて圧電素子12aに供給され、圧電素子12aによって超音波振動に変換される。圧電素子12aは、ケース11の長手軸方向5に沿って密接して複数(本実施形態では4個)配設されている。最も先端側に配設されている圧電素子12aには、ホーン12cが接続している。
超音波振動子12bは、ケース11の基端側内部に固定されている。超音波振動子12bは、例えばボルト締めのランジュバン型振動子(Bolt−clamped Langevin type Transducer(BLT))である。
ホーン12cは、例えばチタンやジュラルミンやステンレス等の金属材料である。
図1と図2に示すようにケース11には、ケース11の外周面上にハンドスイッチ15が取り付けられている。ハンドスイッチ15は、第1のスイッチ16と第2のスイッチ17とを有している。第1のスイッチ16と第2のスイッチ17とには、電気回路基板18が取り付けられている。電気回路基板18には、SW用接続ケーブル3における導線3aが接続している。これにより、第1のスイッチ16と第2のスイッチ17とにおける電気信号が、電気回路基板18と導線3aとを通じて超音波振動駆動装置50に伝えられることとなる。
ケース11には、後述する伝達部材であるプローブ30が挿通されるシース20がケース11の先端側において配設されている。言い換えるとシース20は、プローブ30を覆っていることとなり、ケース11の先端側と連結している。
シース20は、ケース11の長手軸方向5の周方向に回動可能となるようにケース11に取り付けられる本体20aと、本体20aの先端側にて本体20aと一体的に配設されている先端部材20bとを有している。先端部材20bは、本体20aと一体的に配設されているため、本体20aが回動すると、本体20aと共に、本体20aと同じ方向に回動する。先端部材20bは、例えばポリカーボネートやメタクリル樹脂等の透明な樹脂材料によって形成されている。
また本体20aは、中空円筒形状を有している。図2と図3とに示すように本体20aは、本体20aの外周面上に凹部21a,21bを有している。図3に示すように凹部21a,21bは、ケース11の長手軸方向5に対して互いに対称に配設されている。
先端部材20bは、中空円筒形状を有している。先端部材20bは、先端部材20bの先端に半球状の壁部22を有している。壁部22は、先端部材20bの先端外周部である。この壁部22には、例えば切除または切削によって処置対象部位を処置する処置具が一体的に配設されている。この処置具は、例えばコールドナイフ23である。コールドナイフ23は、例えばステンレス等の金属材料によって形成されている。コールドナイフ23の端部には、処置対象部位を例えば切除または切削によって処置するためのエッジ部24が形成されている。
また先端部材20bは、ケース11の長手軸方向5に対して壁部22とは対称に配設されている開口部25を側方(側面)部にて有している。開口部25については後述する。
つまりシース20は、プローブ30を挿通させ、シース20の先端側である先端部材20bの側方部にて開口部25を有することとなる。開口部25は、先端部材20bの側方部に形成される例えば切り欠きであり、先端部材20bの側方に向けて開放されている。また開口部25は、例えば略半円柱形状を有している。つまりシース20は、先端部材20bの側方部に、例えば略半円柱形状の開口部25を有している。またシース20は、切除または切削によって処置対象部位を処置する処置具(コールドナイフ23)を有することとなる。またシース20は、プローブ30に対して、プローブ30が挿通する方向(長手軸方向5)の周方向に回動可能である。
ケース11には、ケース11の先端側において、シース20(本体20a)の回動位置を選択可能に位置決めする回動係止部材26が配設されている。回動係止部材26は、長手軸方向5において、第1のスイッチ16よりも前方に、ケース11と一体的に配設されている。回動係止部材26は、弾性変形可能な腕部26aと、腕部26aの先端に固定されている係合部26bとを有している。係合部26bは、シース20(本体20a)が回動した際に凹部21a,21bの何れかに係合することで、シース20(本体20a)の回動位置を位置決めする。このように凹部21a,21bと腕部26aと係合部26bとは、シース20の回動位置を選択的に位置決めする位置決め機構である。
ホーン12cの先端には、プローブ30がケース11とシース20(中空円筒形状である本体20aと先端部材20b)とを挿通するように取り付けられている。プローブ30は、ホーン12cで増幅された超音波振動をハンドピース10の先端側に伝達する伝達部材である。プローブ30は、ホーン12cに対して例えばネジなどによって着脱自在に締結(固定)されている。つまりプローブ30は、プローブ30の基端側にてホーン12cを介して超音波振動子12bと接続し、超音波振動子12bにて発生した超音波振動をプローブ30の基端側からプローブ30の先端側(ハンドピース10の先端側)に伝達することとなる。
プローブ30は、ホーン12cと同様に例えばチタンやジュラルミンやステンレス等の金属材料である。
シース20とプローブ30との関係をまとめると、シース20は、プローブ30に対して、プローブ30が挿通する方向(長手軸方向5)の周方向に回動可能である。つまりプローブ30は固定されており、プローブ30を覆うシース20が回動することとなる。
なおプローブ30の先端は、壁部22近傍まで延出している。プローブ30の先端には、開口部25から露出した際に、超音波振動子12bにて発生しプローブ30から伝達される超音波振動によって処置対象部位を処置する処置部31が配設されている。処置部31は、略平板形状を有している。処置部31は、処置部31の周囲にエッジが形成されたブレード形状を有している。
処置部31は、凹部21aに対応する第1のエッジ31aと、凹部21bに対応する第2のエッジ31bとを有している。
上述したようにシース20がプローブ30に対して回動すると、図2と図3とに示すように係合部26bが凹部21aに係合する。これにより図4と図6とに示すように第1のエッジ31aは開口部25から露出し、第2のエッジ31bがシース20(先端部材20b)に収納されることとなる。またシース20がプローブ30に対して回動し、係合部26bが凹部21bに係合すると、図7に示すように第1のエッジ31aはシース20(先端部材20b)に収納され、第2のエッジ31bが開口部25から露出することとなる。また処置部31は、回動しても先端部材20bには当接しない。
処置部31は、第1のエッジ31aと第2のエッジ31bとのいずれかが処置対象部位に接触することで、超音波振動によって処置対象部位を処置することとなる。
超音波振動駆動装置50には、超音波振動を出力するための出力条件を設定する設定部51が設けられている。設定部51は、表示パネルなどである。
フットスイッチ70には、第1のスイッチ16と同様の第1のペダルスイッチ71と、第2のスイッチ17と同様の第2のペダルスイッチ72とが設けられている。
本実施形態において、設定部51では、上述したように出力条件を設定することとなる。この出力条件とは、例えば第1のスイッチ16と第1のペダルスイッチ71とのいずれか一方がONにされると、例えば最大出力条件の70%の電流が供給されることを示す。また例えば第2のスイッチ17と第2のペダルスイッチ72のいずれか一方がONにされると、例えば最大出力条件である100%の電流が供給されることを示す。つまり設定部51は、これら出力条件を設定し、その出力条件を表示する。もちろん第1のスイッチ16と第1のペダルスイッチ71とにおける設定条件(70%の電流が供給されること)と、第2のスイッチ17と第2のペダルスイッチ72とにおける設定条件(100%の電流が供給されること)とは、逆でも良いし、またこれら供給される電流の値は所望に調整される。
次に本実施形態における動作方法について説明する。
設定部51が操作され、出力条件が設定される。出力条件は、例えば上述したように第1のスイッチ16と第1のペダルスイッチ71のいずれか一方がONにされると例えば最大出力条件の70%の電流が供給され、例えば第2のスイッチ17と第2のペダルスイッチ72のいずれか一方がONにされると例えば最大出力条件である100%の電流が供給されることを示す。出力条件の設定が完了すると、処置部31が生体組織の処置対象部位に接触する。
第1のスイッチ16、または第1のペダルスイッチ71が操作されると、設定部51で設定された値を有する電力(70%の電流)が超音波振動駆動装置50にて発生する。
また第2のスイッチ17、または第2のペダルスイッチ72が操作されると、設定部51で設定された値を有する電力(最大出力条件である100%の電流)が超音波振動駆動装置50にて発生する。
なお第1のスイッチ16が操作されると、超音波振動駆動装置50が70%の電流を発生させることを示す信号が電気回路基板18と導線3aを通じて超音波振動駆動装置50に出力される。第2のスイッチ17についても同様である。
また第1のペダルスイッチ71が操作されると、超音波振動駆動装置50が70%の電流を発生させることを示す信号がSW用接続ケーブル4を通じて超音波振動駆動装置50に出力される。第2のペダルスイッチ72についても同様である。
これら発生した電力は、超音波振動駆動装置50から導線2aを通じて圧電素子12aに供給され、圧電素子12aによって超音波振動に変換される。超音波振動は、ホーン12cによって増幅され、プローブ30に伝達される。このとき超音波振動は、プローブ30から処置部31を通じて処置対象部位に伝達される。つまり超音波振動は、プローブ30の基端側から先端側に伝達される。これにより処置対象部位は、処置部31にて超音波振動によって処置される。
なお超音波振動子12bは定電流制御により駆動され、処置部31における超音波振動の振幅x(peak to peak値)は一定の値に保たれるようになっている。
この振幅xは、処置部31における振動速度Vと、超音波振動の共振周波数frとを基に、以下の式から算出することができる。
x=V/π/fr
例えば100%の出力条件において、振動速度Vは略7.4m/s〜略22.1m/sの範囲にすることが好ましい。
そのため例えば100%の出力条件における振幅xは、上記式と、上述した振動速度Vと共振周波数frの値とを基に算出すると、共振周波数frが23.5kHzの場合、略100μm〜略300μmの範囲にすることが好ましいこととなる。
なお共振周波数frが47kHzの場合、例えば100%の出力条件における振幅xは、略50μm〜略150μmの範囲にすることが好ましいこととなる。
図2と図3とに示す状態において、係合部26bが凹部21aに係合すると、図6に示すように第1のエッジ31aは開口部25から露出し、第2のエッジ31bが先端部材20bに収納される。この状態において、第1のエッジ31aが処置対象部位に当接し、処置対象部位が超音波振動によって繰り返し処置される。なお超音波振動の大きさは、上述した出力条件と式、つまり第1のスイッチ16と第1のペダルスイッチ71、または第2のスイッチ17と第2のペダルスイッチ72のいずれかを選択することによって異なる。これらスイッチとペダルスイッチは、それぞれ処置する処置対象部位によって所望に選択される。
このとき第1のエッジ31aは、超音波振動による処置を繰り返し行ったり、超音波振動中に他の金属製手術機器と接触することにより、磨耗、損傷する虞が生じる。このような場合、シース20(本体20a)がケース11に対して例えば手動によって回動すると、腕部26aが本体20aの外側に向けて変形し、係合部26bが凹部21aとの係合が外れる。そして図2と図3とに示す状態からシース20(本体20a)がケース11やプローブ30に対して、ケース11の長手軸方向5の周方向に略180度回動することにより、腕部26aの変形が元に戻り、係合部26bが凹部21bと係合する。本体20aが回動すると、先端部材20bも本体20aと同じ方向に回動する。
これにより図7に示すように、第1のエッジ31aは先端部材20bに収納され、第2のエッジ31bが開口部25から露出することとなる。
これにより第1のエッジ31aが損傷しても、処置対象部位が引き続き第2のエッジ31bによって処置されることとなる。
またコールドナイフ23は、処置対象部位に押し付けられることによって、処置対象部位を鋭利に切除、切削することとなる。
このように本実施形態では、シース20(本体20a)をケース11に対して回動させることにより、磨耗、損傷して処置能力が低下した一方のエッジ(例えば第1のエッジ31a)から、ハンドピース10を交換することなく、磨耗、損傷していない処置能力が良好な他方のエッジ(例えば第2のエッジ31b)に切り換えることができる。これにより本実施形態では、一方のエッジが磨耗、損傷しても、他方のエッジに切り替えることで、手術を円滑に進めることができる。
また本実施形態では、超音波振動を用いる処置部31(第1のエッジ31a,第2のエッジ31b)によって精密かつ正確に処置対象部位を処置することができる。
また本実施形態では、コールドナイフ23を処置対象部位に押し付けることによっても、処置対象部位を微細に且つ鋭利に処置(切除、切削)することもできる。
このように本実施形態では、整形外科手術における処置対象部位を処置する際に、1つのハンドピース10において、処置部31とコールドナイフ23とによって複数の処置を可能とすることができる。よって処置に応じて、ハンドピース10を交換する頻度を減らすことができ、手術時の操作を簡便にすることができる。
本実施形態のハンドピース10は、整形外科手術における骨や軟骨等の硬組織の切除、切削、特に変形性股関節症に対する臼蓋縁切除手術に好適である。上述したようにコールドナイフ23は、損傷した処置対象部位(例えば関節唇)を素早く、鋭利に切除、切削することができる。また、超音波振動する処置部31は、損傷した処置対象部位(例えば関節唇)の切除や、臼蓋縁の切削を精密かつ正確に行うことができる。
なお、本実施形態において、縦超音波振動を用いるプローブ30を示したが、これに限らず、プローブ30は、ねじれ超音波振動や、縦超音波振動とねじれ超音波振動とが合成された超音波振動を用いる構成にしても良い。
次に本実施形態における第1の変形例について図8A乃至図8Cを参照して説明する。
本変形例の処置部31の形状は、第1の実施形態の処置部31とは異なる。本変形例の処置部31は、先端の尖った略平板形状を有している。また第1のエッジ31aと第2のエッジ31bは、それぞれエッジに沿って、半円形状の複数の窪み部31cを略等間隔に有している。窪み部31cの半径は略0.2mm〜略0.6mmであり、隣り合う窪み部31c間のピッチは略0.5mm〜略2mmである。
これにより本変形例は、第1の実施形態と同様の動作と効果を得ることができる。
次に本実施形態における第2の変形例について図9A乃至図9Cを参照して説明する。
本変形例の処置部31の形状は、第1の実施形態の処置部31とは同様である。しかしながら本変形例の処置部31には、エッジに沿って、例えばPVDやCVDによる窒化チタンからなる硬質のコーティング層33が形成されている。コーティング層33は、エッジから所望の距離、例えばエッジから処置部31の内側に向かって1mmの範囲に形成されている。
本変形例は、コーティング層33が形成されているため、磨耗、損傷に対する処置部31の耐久性が向上する。また本変形例は、処置部31の磨耗、損傷の程度を、コーティング層33の状態(例えばコーティング層33が処置部31から剥がれたか否か)により、視覚的に確認することが容易である。
また本変形例は、コーティング層33の範囲を目安にすることにより、処置対象部位の切除深さのコントロールが容易になる。よって本変形例は、より正確な処置が可能となる。
次に本実施形態における第3の変形例について図10を参照して説明する。
本変形例における壁部22の先端外周部には、コールドナイフ23ではなく、ナイフ電極35が一体的に設けられている。ナイフ電極35は、ステンレス等の通電可能な金属材料からなる。ナイフ電極35の後端側には、高周波出力用接続ケーブル36の一端が接続されている。ナイフ電極35の後端側と高周波出力用接続ケーブル36の一端との接続部は、絶縁部材37により覆われている。また、高周波出力用接続ケーブル36の他端は、図示しない高周波駆動装置に接続されている。よって、ナイフ電極35は、高周波出力用のモノポーラ電極として機能する。つまりナイフ電極35は、電気メスとして機能する。
このように本変形例は、ナイフ電極35を用い、ナイフ電極35を生体組織の処置対象部位に接触させ、高周波電流を流すことにより、生体組織を凝固した状態で切除することができる。
次に本発明に係る第2の実施形態について図11乃至図14を参照して説明する。なお上述した第1の実施形態とその変形例との同一の構成については第1の実施形態と同一の参照符号を付すことにより説明を省略する。
本実施形態においてシース20には、コールドナイフ23やナイフ電極35が設けられていない。また本実施形態における処置部31は、四角錘形状の複数の突起40aが形成されている第1の処置面41aと、突起40aよりも小さい四角錘形状の複数の突起40bが形成されている第2の処置面41bとを有している。第1の処置面41aは、長手軸方向5を中心に第2の処置面41bと略対称に配設されている。
突起40aは突起40bよりも大きいため、第1の処置面41aは処置対象部位の荒削りのための処置に用いられ、第2の処置面41bは処置対象部位の仕上げ削りのための処置に用いられる。
このように処置部31は、プローブ30が挿通する方向(長手軸方向5)の周方向において、複数の処置面(第1の処置面41a,第2の処置面41b)を有していることとなる。また突起40aと突起40bとの大きさが異なるため、処置部31は、それぞれ異なる形状の複数の処置面を有することとなる。
本変形例において、図11に示すように係合部26bが凹部21aに係合すると、図11と図13に示すように第1の処置面41aが開口部25から露出し、第2の処置面41bが先端部材20bに収納されることとなる。またシース20がプローブ30に対して回動し、係合部26bが凹部21bに係合すると、図14に示すように第1の処置面41aは先端部材20bに収納され、第2の処置面41bが開口部25から露出することとなる。
次に本実施形態における動作方法について簡単に説明する。なお下記にて説明する以外の動作方法は、第1の実施形態と略同様であるため詳細な説明は省略する。
図11と図13に示すように、第1の処置面41aは、開口部25から露出している。この状態で、第1の処置面41aは、生体組織の処置対象部位に接触させられる。そして、プローブ30が超音波振動することにより、第1の処置面41aと接触した処置対象部位が超音波振動により処置される。
第1の処置面41aは、突起40bよりも大きい突起40aを有しているために、関節や軟骨等の表面の荒削りを行う際に、用いられる。
また、第1の実施形態で説明したように、図11と図13に示す状態からシース20(本体20a)がケース11やプローブ30に対して略180度回動すると、図14に示すように第2の処置面41bが開口部25から露出することとなる。この状態で、第2の処置面41bは、生体組織の処置対象部位に接触させられる。そして、プローブ30が超音波振動することにより、第2の処置面41bと接触した処置対象部位が超音波振動により処置される。
第2の処置面41bは、突起40aよりも小さい突起40bを有しているために、関節や軟骨等の表面の仕上げ削りを行う際に、用いられる。
このように本実施形態は、第1の処置面41aで関節や軟骨等の表面の荒削りを行い、その後、シース20を第1の実施形態と同様に略180度回動させ、第2の処置面41bで関節や軟骨等の表面の仕上げ削りを行うことができる。
すなわち本実施形態は、シース20をケース11に対して回動させることにより、第1の処置面41aと第2の処置面41bとによって複数の処置(荒削りと仕上げ削り)を可能とすることができる。よって処置に応じて、ハンドピース10を交換する頻度を減らすことができ、手術時の操作を簡便にすることができる。
このような本実施形態におけるハンドピース10は、整形外科手術における骨や軟骨などの硬組織の切除や切削、特に肩や股関節や膝等の関節軟骨表面の処置対象部位をトリミング(平滑化)する処置に好適である。
次に本実施形態における第1の変形例について図15を参照して説明する。
本変形例の処置部31の形状は、第2の実施形態の処置部31とは異なる。本変形例の処置部31は、第1の実施形態における図4と図5とに示す略平板形状と、第1の実施形態の第1の変形例における図8A乃至図8Cに示す先端の尖った略平板形状と、の組み合わせである。
本変形例において、例えば第1のエッジ31a側は略平板形状であり、また第2のエッジ31b側は、先端の尖った略平板形状を有し、半円形状の複数の窪み部31cを略等間隔に有している。窪み部31cの半径や隣り合う窪み部31c間のピッチは、第1の実施形態の第1の変形例と略同様である。
これにより本変形例は、第2の実施形態と同様の動作と効果を得ることができる。
次に本実施形態における第2の変形例について図16と図17を参照して説明する。
また本実施形態における処置部31は、四角錘形状の複数の突起45aが形成されている第1の処置面46aのみを有している。
本変形例において、係合部26bが凹部21aに係合すると、図16に示すように第1の処置面46aが開口部25から露出し、第1の処置面46a以外の面46bが先端部材20bに収納されることとなる。また係合部26bが凹部21bに係合すると、図17に示すように第1の処置面46aは先端部材20bに収納され、面46bが開口部25から露出することとなる。なお面46bには突起45a等が形成されていないため、面46bが生体組織の処置対象部位に接触しても、超音波振動による処置が行われることはない。
またシース20がプローブ30に対してプローブ30が挿通する方向(長手軸方向5)の周方向に回動することで、処置部31は、プローブ30から伝達される超音波振動によって処置対象部位を処置するために開口部25から露出する露出状態、または処置対象部位を処置せずに待機(スタンバイ)するためにシース20に収納される収納状態に変動することとなる。
次に本実施形態における動作方法について簡単に説明する。なお下記にて説明する以外の動作方法は、第1の実施形態と略同様であるため詳細な説明は省略する。
図16に示すように、第1の処置面46aは、開口部25から露出している。この状態で、第1の処置面46aは、生体組織の処置対象部位に接触させられる。そして、プローブ30が超音波振動することにより、第1の処置面46aと接触した処置対象部位が超音波振動により処置される。
また、第1の実施形態で説明したように、図16に示す状態からシース20が第1の実施形態と同様に略180度回動すると、図17に示すように第1の処置面46aは先端部材20bに収納され、面46bが開口部25から露出することとなる。この状態において誤ってハンドスイッチ15やフットスイッチ70が操作されても、超音波振動による処置対象部位への処置が行われることはない。つまり処置部31は、スタンバイ状態となる。
このように本変形例では、処置部31をスタンバイ状態にすることによって、ハンドスイッチ15やフットスイッチ70の誤操作による術者の意図せぬ処置対象部位以外の生体組織への損傷を防ぐことができる。よって本変形例は、より安全性を向上させることができる。
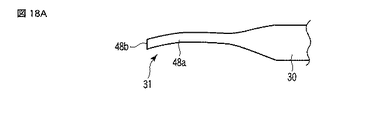
次に本実施形態における第3の変形例について図18A乃至図18Cと図19と図20を参照して説明する。
本変形例の処置部31の形状は、第2の実施形態の処置部31とは異なる。図18A乃至図18Cに示すように、処置部31は、略平板形状を有し、また先端部48aに向かって湾曲した形状を有している。先端部48aには、超音波振動によって処置対象部位を処置する処置面48bが形成されている。
処置部31は、シース20がプローブ30に対して回動することで、プローブ30から伝達される超音波振動によって処置対象部位を処置するために開口部25から露出する露出状態、または処置対象部位を処置せずに待機(スタンバイ)するためにシース20に収納される収納状態に変動することとなる。
図19に示すように、処置面48bは開口部25から露出している。この状態で、処置面48bは、生体組織の処置対象部位に接触させられる。そして、プローブ30が超音波振動することにより、処置面48bと接触した処置対象部位が超音波振動により処置される。
また、第1の実施形態で説明したように、図19に示す状態からシース20が第1の実施形態と同様に略180度回動すると、図20に示すように処置面48bが先端部材20b内に収納される。
この状態において誤ってハンドスイッチ15やフットスイッチ70が操作されても、処置面48bが先端部材20b内に収納されているため、超音波振動は処置面48bを通じて処置対象部位に伝わらない。そのため、処置対象部位は処置部31(処置面48b)によって処置されない。つまり処置部31は、スタンバイ状態となる。
このように本変形例では、処置部31をスタンバイ状態にすることによって、ハンドスイッチ15やフットスイッチ70の誤操作による術者の意図せぬ生体組織の損傷を防ぐことができる。よって本変形例は、より安全性を向上させることができる。
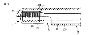
次に本実施形態における第4の変形例について図21乃至図25を参照して説明する。
図22に示すように本変形例の本体20aには、係合部26bと係合可能な凹部81a,81b,81cが設けられている。凹部81a,81b,81cは、長手軸方向5の周方向において略等間隔に配設されている。つまり凹部81a,81b,81cは、長手軸方向5の周方向において略120度離れている。
また図23乃至図25に示すように本変形例の処置部31の形状などは、第2の実施形態の処置部31などとは異なる。
処置部31は、凹部81aに対応する第1の処置面82aと、凹部81bに対応する第2の処置面82bと、凹部81cに対応する第3の処置面82cとを有している。
係合部26bが凹部81aに係合すると、図23に示すように第1の処置面82aは開口部25から露出し、第2の処置面82bと第3の処置面82cが先端部材20bに収納されることとなる。
また係合部26bが凹部81bに係合すると、図24に示すように第2の処置面82bは開口部25から露出し、第1の処置面82aと第3の処置面82cが先端部材20bに収納されることとなる。
また係合部26bが凹部81cに係合すると、図25に示すように第3の処置面82cは開口部25から露出し、第1の処置面82aと第2の処置面82bが先端部材20bに収納されることとなる。
処置部31は、第1の処置面82aと第2の処置面82bと第3の処置面82cとのいずれかが処置対象部位に接触することで、超音波振動によって処置対象部位を処置することとなる。
第1の処置面82aと第2の処置面82bと第3の処置面82cとは、断面が三角形状である複数の突起83a,83b,83cを有している。突起83a,83b,83cは、長手軸方向5に沿って形成されている。
突起83aは、突起83bよりも大きい。
また一般に、超音波振動の振幅は、プローブ30の先端から基端に向かって減少する。ここで、突起83cは、長手軸方向5において、プローブ30の先端側から基端側に向けて突起83cの大きさ(突起83c間のピッチ)が小さくなるように形成されている。つまり突起83cの大きさは、超音波振動の振幅の大きさに略比例するように形成されている。
このように処置部31は、プローブ30が挿通する方向(長手軸方向5)の周方向において、複数の処置面(第1の処置面82a,第2の処置面82b,第3の処置面82c)を有していることとなる。また突起83a,83b,83cの大きさはそれぞれ異なるため、処置部31は、それぞれ異なる形状の複数の処置面を有することとなる。
次に本実施形態における動作方法について簡単に説明する。なお下記にて説明する以外の動作方法は、第1の実施形態と略同様であるため詳細な説明は省略する。
係合部26bが凹部81aに係合すると、図23に示すように、第1の処置面82aが開口部25から露出し、処置対象部位が第1の処置面82aにおいて超音波振動によって処置される。
図23に示す状態からシース20が略120度回動すると、係合部26bが凹部81bと係合し、図24に示すように、第2の処置面82bが開口部25から露出し、処置対象部位が第2の処置面82bにおいて超音波振動によって処置される。
図24に示す状態からシース20がさらに略120度回動すると、係合部26bが凹部81cと係合し、図25に示すように、第3の処置面82cが開口部25から露出し、処置対象部位が第3の処置面82cにおいて超音波振動によって処置される。
なお、突起83cの大きさは、超音波振動の振幅の大きさに略比例するように形成されている。よって、先端側の突起83cにおける処置は荒削りとなり、基端側の突起83cにおける処置は仕上げ削りとなる。
これにより本変形例は、上述した第2の実施形態と同じ効果を得ることができる。
このように本発明は、上記実施形態そのままに限定されるものではなく、実施段階ではその要旨を逸脱しない範囲で構成要素を変形して具体化できる。また、上記実施形態に開示されている複数の構成要素の適宜な組み合せにより種々の発明を形成できる。
1…超音波手術装置、10…ハンドピース、11…ケース、12…超音波振動子ユニット、12a…圧電素子、12b…超音波振動子、12c…ホーン、20…シース、20a…本体、20b…先端部材、21a,21b…凹部、22…壁部、23…コールドナイフ、24…エッジ部、25…開口部、26…回動係止部材、26a…腕部、26b…係合部、30…プローブ、31…処置部、31a…第1のエッジ、31b…第2のエッジ、31c…窪み部、35…ナイフ電極、40a…突起、40b…突起、41a…第1の処置面、41b…第2の処置面、45a…突起、46a…第1の処置面、48a…先端部、48b…処置面、50…超音波振動駆動装置、70…フットスイッチ。

Claims (9)

  1. 超音波振動を発生する超音波振動子を有する超音波振動子ユニットと、
    前記超音波振動子と基端側にて接続し、前記超音波振動子にて発生した超音波振動を基端側から先端側に伝達する伝達部材と、
    前記伝達部材が挿通され、先端側の側方部に開口部を有するシースと、
    前記伝達部材の先端に配設され、前記開口部から露出した際に、前記伝達部材から伝達される超音波振動によって処置対象部位を処置する処置部と、
    を具備し、硬組織を切除または切削することを特徴とする超音波手術装置。
  2. 前記シースは、切除または切削によって前記処置対象部位を処置する処置具をさらに有することを特徴とする請求項1に記載の超音波手術装置。
  3. 前記処置具は、コールドナイフを含むことを特徴とする請求項2に記載の超音波手術装置。
  4. 前記処置具は、電気メスを含むことを特徴とする請求項2に記載の超音波手術装置。
  5. 前記シースは、前記伝達部材に対して、前記伝達部材が挿通する方向の周方向に回動可能であることを特徴とする請求項1に記載の超音波手術装置。
  6. 前記シースの回動位置を選択的に位置決めする位置決め機構をさらに有することを特徴とする請求項5に記載の超音波手術装置。
  7. 前記処置部は、前記伝達部材が挿通する方向の周方向において、複数の処置面を有することを特徴とする請求項5に記載の超音波手術装置。
  8. 前記処置部は、前記伝達部材が挿通する方向の周方向において、それぞれ異なる形状の複数の処置面を有することを特徴とする請求項5に記載の超音波手術装置。
  9. 前記処置部は、前記シースが前記伝達部材に対して、前記伝達部材が挿通する方向の周方向に回動することで、前記伝達部材から伝達される超音波振動によって前記処置対象部位を処置するために前記開口部から露出する露出状態、または前記処置対象部位を処置せずに待機するために前記シースに収納される収納状態に変動することを特徴とする請求項5に記載の超音波手術装置。
JP2009018561A 2008-06-19 2009-01-29 超音波手術装置 Expired - Fee Related JP5430161B2 (ja)

Applications Claiming Priority (2)

Application Number Priority Date Filing Date Title
US7389608P 2008-06-19 2008-06-19
US61/073,896 2008-06-19

Related Child Applications (1)

Application Number Title Priority Date Filing Date
JP2013215875A Division JP5703360B2 (ja) 2008-06-19 2013-10-16 超音波手術装置

Publications (2)

Publication Number Publication Date
JP2010000336A true JP2010000336A (ja) 2010-01-07
JP5430161B2 JP5430161B2 (ja) 2014-02-26

Family

ID=41286942

Family Applications (3)

Application Number Title Priority Date Filing Date
JP2009018561A Expired - Fee Related JP5430161B2 (ja) 2008-06-19 2009-01-29 超音波手術装置
JP2013215875A Expired - Fee Related JP5703360B2 (ja) 2008-06-19 2013-10-16 超音波手術装置
JP2015033140A Expired - Fee Related JP5930247B2 (ja) 2008-06-19 2015-02-23 超音波手術装置

Family Applications After (2)

Application Number Title Priority Date Filing Date
JP2013215875A Expired - Fee Related JP5703360B2 (ja) 2008-06-19 2013-10-16 超音波手術装置
JP2015033140A Expired - Fee Related JP5930247B2 (ja) 2008-06-19 2015-02-23 超音波手術装置

Country Status (3)

Country Link
US (1) US8273087B2 (ja)
EP (1) EP2135569A3 (ja)
JP (3) JP5430161B2 (ja)

Cited By (87)

* Cited by examiner, † Cited by third party
Publication number Priority date Publication date Assignee Title
WO2013027614A1 (ja) 2011-08-19 2013-02-28 オリンパスメディカルシステムズ株式会社 超音波発生装置の製造方法、超音波処置装置の製造方法、超音波発生装置及び超音波処置装置
JP2013519441A (ja) * 2010-02-11 2013-05-30 エシコン・エンド−サージェリィ・インコーポレイテッド 超音波手術器具のための外側シース及びブレード配設
JP2013519437A (ja) * 2010-02-11 2013-05-30 エシコン・エンド−サージェリィ・インコーポレイテッド 回転可能なブレード及び中空のシース構成を有する超音波外科用器具
WO2015046347A1 (ja) 2013-09-27 2015-04-02 オリンパスメディカルシステムズ株式会社 超音波プローブ、超音波処置具及び処置システム
WO2015045199A1 (ja) * 2013-09-27 2015-04-02 オリンパスメディカルシステムズ株式会社 超音波プローブ、超音波処置具及び処置システム
US9226767B2 (en) 2012-06-29 2016-01-05 Ethicon Endo-Surgery, Inc. Closed feedback control for electrosurgical device
US9226766B2 (en) 2012-04-09 2016-01-05 Ethicon Endo-Surgery, Inc. Serial communication protocol for medical device
WO2016002620A1 (ja) * 2014-07-02 2016-01-07 オリンパス株式会社 超音波プローブ及び超音波処置具
US9232979B2 (en) 2012-02-10 2016-01-12 Ethicon Endo-Surgery, Inc. Robotically controlled surgical instrument
US9237921B2 (en) 2012-04-09 2016-01-19 Ethicon Endo-Surgery, Inc. Devices and techniques for cutting and coagulating tissue
US9241731B2 (en) 2012-04-09 2016-01-26 Ethicon Endo-Surgery, Inc. Rotatable electrical connection for ultrasonic surgical instruments
US9241728B2 (en) 2013-03-15 2016-01-26 Ethicon Endo-Surgery, Inc. Surgical instrument with multiple clamping mechanisms
US9283045B2 (en) 2012-06-29 2016-03-15 Ethicon Endo-Surgery, Llc Surgical instruments with fluid management system
US9326788B2 (en) 2012-06-29 2016-05-03 Ethicon Endo-Surgery, Llc Lockout mechanism for use with robotic electrosurgical device
US9339289B2 (en) 2007-11-30 2016-05-17 Ehticon Endo-Surgery, LLC Ultrasonic surgical instrument blades
WO2016111053A1 (ja) * 2015-01-07 2016-07-14 オリンパス株式会社 超音波プローブ
US9393037B2 (en) 2012-06-29 2016-07-19 Ethicon Endo-Surgery, Llc Surgical instruments with articulating shafts
US9408622B2 (en) 2012-06-29 2016-08-09 Ethicon Endo-Surgery, Llc Surgical instruments with articulating shafts
US9414853B2 (en) 2007-07-27 2016-08-16 Ethicon Endo-Surgery, Llc Ultrasonic end effectors with increased active length
US9427249B2 (en) 2010-02-11 2016-08-30 Ethicon Endo-Surgery, Llc Rotatable cutting implements with friction reducing material for ultrasonic surgical instruments
US9439668B2 (en) 2012-04-09 2016-09-13 Ethicon Endo-Surgery, Llc Switch arrangements for ultrasonic surgical instruments
US9504483B2 (en) 2007-03-22 2016-11-29 Ethicon Endo-Surgery, Llc Surgical instruments
US9504855B2 (en) 2008-08-06 2016-11-29 Ethicon Surgery, LLC Devices and techniques for cutting and coagulating tissue
US9623237B2 (en) 2009-10-09 2017-04-18 Ethicon Endo-Surgery, Llc Surgical generator for ultrasonic and electrosurgical devices
US9636135B2 (en) 2007-07-27 2017-05-02 Ethicon Endo-Surgery, Llc Ultrasonic surgical instruments
US9642644B2 (en) 2007-07-27 2017-05-09 Ethicon Endo-Surgery, Llc Surgical instruments
US9649126B2 (en) 2010-02-11 2017-05-16 Ethicon Endo-Surgery, Llc Seal arrangements for ultrasonically powered surgical instruments
JP2017104612A (ja) * 2011-10-17 2017-06-15 サウンド サージカル テクノロジーズ エルエルシー セルライトを処置するための超音波プローブ
US9700339B2 (en) 2009-05-20 2017-07-11 Ethicon Endo-Surgery, Inc. Coupling arrangements and methods for attaching tools to ultrasonic surgical instruments
US9707027B2 (en) 2010-05-21 2017-07-18 Ethicon Endo-Surgery, Llc Medical device
US9724118B2 (en) 2012-04-09 2017-08-08 Ethicon Endo-Surgery, Llc Techniques for cutting and coagulating tissue for ultrasonic surgical instruments
US9737326B2 (en) 2012-06-29 2017-08-22 Ethicon Endo-Surgery, Llc Haptic feedback devices for surgical robot
US9764164B2 (en) 2009-07-15 2017-09-19 Ethicon Llc Ultrasonic surgical instruments
US9795405B2 (en) 2012-10-22 2017-10-24 Ethicon Llc Surgical instrument
US9801648B2 (en) 2007-03-22 2017-10-31 Ethicon Llc Surgical instruments
US9848901B2 (en) 2010-02-11 2017-12-26 Ethicon Llc Dual purpose surgical instrument for cutting and coagulating tissue
US9848902B2 (en) 2007-10-05 2017-12-26 Ethicon Llc Ergonomic surgical instruments
US9883884B2 (en) 2007-03-22 2018-02-06 Ethicon Llc Ultrasonic surgical instruments
US9962182B2 (en) 2010-02-11 2018-05-08 Ethicon Llc Ultrasonic surgical instruments with moving cutting implement
US10010339B2 (en) 2007-11-30 2018-07-03 Ethicon Llc Ultrasonic surgical blades
US10034684B2 (en) 2015-06-15 2018-07-31 Ethicon Llc Apparatus and method for dissecting and coagulating tissue
US10034704B2 (en) 2015-06-30 2018-07-31 Ethicon Llc Surgical instrument with user adaptable algorithms
US10154852B2 (en) 2015-07-01 2018-12-18 Ethicon Llc Ultrasonic surgical blade with improved cutting and coagulation features
US10179022B2 (en) 2015-12-30 2019-01-15 Ethicon Llc Jaw position impedance limiter for electrosurgical instrument
US10194973B2 (en) 2015-09-30 2019-02-05 Ethicon Llc Generator for digitally generating electrical signal waveforms for electrosurgical and ultrasonic surgical instruments
US10201382B2 (en) 2009-10-09 2019-02-12 Ethicon Llc Surgical generator for ultrasonic and electrosurgical devices
US10201365B2 (en) 2012-10-22 2019-02-12 Ethicon Llc Surgeon feedback sensing and display methods
US10226273B2 (en) 2013-03-14 2019-03-12 Ethicon Llc Mechanical fasteners for use with surgical energy devices
US10245064B2 (en) 2016-07-12 2019-04-02 Ethicon Llc Ultrasonic surgical instrument with piezoelectric central lumen transducer
US10251664B2 (en) 2016-01-15 2019-04-09 Ethicon Llc Modular battery powered handheld surgical instrument with multi-function motor via shifting gear assembly
US10278721B2 (en) 2010-07-22 2019-05-07 Ethicon Llc Electrosurgical instrument with separate closure and cutting members
USD847990S1 (en) 2016-08-16 2019-05-07 Ethicon Llc Surgical instrument
US10285724B2 (en) 2014-07-31 2019-05-14 Ethicon Llc Actuation mechanisms and load adjustment assemblies for surgical instruments
US10285723B2 (en) 2016-08-09 2019-05-14 Ethicon Llc Ultrasonic surgical blade with improved heel portion
US10321950B2 (en) 2015-03-17 2019-06-18 Ethicon Llc Managing tissue treatment
US10342602B2 (en) 2015-03-17 2019-07-09 Ethicon Llc Managing tissue treatment
US10349999B2 (en) 2014-03-31 2019-07-16 Ethicon Llc Controlling impedance rise in electrosurgical medical devices
US10357303B2 (en) 2015-06-30 2019-07-23 Ethicon Llc Translatable outer tube for sealing using shielded lap chole dissector
US10376305B2 (en) 2016-08-05 2019-08-13 Ethicon Llc Methods and systems for advanced harmonic energy
US10420580B2 (en) 2016-08-25 2019-09-24 Ethicon Llc Ultrasonic transducer for surgical instrument
US10420579B2 (en) 2007-07-31 2019-09-24 Ethicon Llc Surgical instruments
US10426507B2 (en) 2007-07-31 2019-10-01 Ethicon Llc Ultrasonic surgical instruments
US10433900B2 (en) 2011-07-22 2019-10-08 Ethicon Llc Surgical instruments for tensioning tissue
US10441345B2 (en) 2009-10-09 2019-10-15 Ethicon Llc Surgical generator for ultrasonic and electrosurgical devices
US10456193B2 (en) 2016-05-03 2019-10-29 Ethicon Llc Medical device with a bilateral jaw configuration for nerve stimulation
US10463421B2 (en) 2014-03-27 2019-11-05 Ethicon Llc Two stage trigger, clamp and cut bipolar vessel sealer
US10485607B2 (en) 2016-04-29 2019-11-26 Ethicon Llc Jaw structure with distal closure for electrosurgical instruments
US10524854B2 (en) 2010-07-23 2020-01-07 Ethicon Llc Surgical instrument
US10537352B2 (en) 2004-10-08 2020-01-21 Ethicon Llc Tissue pads for use with surgical instruments
US10543008B2 (en) 2012-06-29 2020-01-28 Ethicon Llc Ultrasonic surgical instruments with distally positioned jaw assemblies
US10555769B2 (en) 2016-02-22 2020-02-11 Ethicon Llc Flexible circuits for electrosurgical instrument
US10575892B2 (en) 2015-12-31 2020-03-03 Ethicon Llc Adapter for electrical surgical instruments
US10595929B2 (en) 2015-03-24 2020-03-24 Ethicon Llc Surgical instruments with firing system overload protection mechanisms
US10595930B2 (en) 2015-10-16 2020-03-24 Ethicon Llc Electrode wiping surgical device
US10639092B2 (en) 2014-12-08 2020-05-05 Ethicon Llc Electrode configurations for surgical instruments
US10646269B2 (en) 2016-04-29 2020-05-12 Ethicon Llc Non-linear jaw gap for electrosurgical instruments
USRE47996E1 (en) 2009-10-09 2020-05-19 Ethicon Llc Surgical generator for ultrasonic and electrosurgical devices
US10702329B2 (en) 2016-04-29 2020-07-07 Ethicon Llc Jaw structure with distal post for electrosurgical instruments
US10842522B2 (en) 2016-07-15 2020-11-24 Ethicon Llc Ultrasonic surgical instruments having offset blades
JP2020534963A (ja) * 2017-09-29 2020-12-03 ベイジン エスエムティーピー テクノロジー カンパニー,リミテッド 超音波骨刀ビット
US10881449B2 (en) 2012-09-28 2021-01-05 Ethicon Llc Multi-function bi-polar forceps
US10893883B2 (en) 2016-07-13 2021-01-19 Ethicon Llc Ultrasonic assembly for use with ultrasonic surgical instruments
US11020140B2 (en) 2015-06-17 2021-06-01 Cilag Gmbh International Ultrasonic surgical blade for use with ultrasonic surgical instruments
US11058447B2 (en) 2007-07-31 2021-07-13 Cilag Gmbh International Temperature controlled ultrasonic surgical instruments
US11266430B2 (en) 2016-11-29 2022-03-08 Cilag Gmbh International End effector control and calibration
US11324527B2 (en) 2012-11-15 2022-05-10 Cilag Gmbh International Ultrasonic and electrosurgical devices
US11576791B1 (en) * 2019-10-28 2023-02-14 Smith & Nephew, Inc. Devices and techniques for hip revision surgery

Families Citing this family (84)

* Cited by examiner, † Cited by third party
Publication number Priority date Publication date Assignee Title
US11229472B2 (en) 2001-06-12 2022-01-25 Cilag Gmbh International Modular battery powered handheld surgical instrument with multiple magnetic position sensors
US8182501B2 (en) 2004-02-27 2012-05-22 Ethicon Endo-Surgery, Inc. Ultrasonic surgical shears and method for sealing a blood vessel using same
US20070191713A1 (en) 2005-10-14 2007-08-16 Eichmann Stephen E Ultrasonic device for cutting and coagulating
US7621930B2 (en) 2006-01-20 2009-11-24 Ethicon Endo-Surgery, Inc. Ultrasound medical instrument having a medical ultrasonic blade
US8058771B2 (en) 2008-08-06 2011-11-15 Ethicon Endo-Surgery, Inc. Ultrasonic device for cutting and coagulating with stepped output
US8334635B2 (en) 2009-06-24 2012-12-18 Ethicon Endo-Surgery, Inc. Transducer arrangements for ultrasonic surgical instruments
US8461744B2 (en) 2009-07-15 2013-06-11 Ethicon Endo-Surgery, Inc. Rotating transducer mount for ultrasonic surgical instruments
US11090104B2 (en) 2009-10-09 2021-08-17 Cilag Gmbh International Surgical generator for ultrasonic and electrosurgical devices
US8531064B2 (en) * 2010-02-11 2013-09-10 Ethicon Endo-Surgery, Inc. Ultrasonically powered surgical instruments with rotating cutting implement
US8409235B2 (en) * 2010-04-30 2013-04-02 Medtronic Xomed, Inc. Rotary cutting tool with improved cutting and reduced clogging on soft tissue and thin bone
US9549753B2 (en) * 2011-04-01 2017-01-24 Christopher Burnside Gordon Fluid jet cell harvester and cellular delivery system
CN102475568B (zh) * 2011-07-13 2014-06-11 北京水木天蓬医疗技术有限公司 一种超声骨刀刀头
US8894673B2 (en) 2011-10-07 2014-11-25 Misonix, Incorporated Ultrasonic osteotome
US20140005705A1 (en) 2012-06-29 2014-01-02 Ethicon Endo-Surgery, Inc. Surgical instruments with articulating shafts
US20140005702A1 (en) 2012-06-29 2014-01-02 Ethicon Endo-Surgery, Inc. Ultrasonic surgical instruments with distally positioned transducers
US9820768B2 (en) 2012-06-29 2017-11-21 Ethicon Llc Ultrasonic surgical instruments with control mechanisms
US10076349B2 (en) 2013-03-15 2018-09-18 Misonix, Inc. Ultrasonic surgical drill and associated surgical method
CN203354613U (zh) * 2013-07-22 2013-12-25 曹群 一种钩形超声骨刀刀头
US9814514B2 (en) 2013-09-13 2017-11-14 Ethicon Llc Electrosurgical (RF) medical instruments for cutting and coagulating tissue
US9265926B2 (en) 2013-11-08 2016-02-23 Ethicon Endo-Surgery, Llc Electrosurgical devices
GB2521229A (en) 2013-12-16 2015-06-17 Ethicon Endo Surgery Inc Medical device
GB2521228A (en) 2013-12-16 2015-06-17 Ethicon Endo Surgery Inc Medical device
US9795436B2 (en) 2014-01-07 2017-10-24 Ethicon Llc Harvesting energy from a surgical generator
WO2015118757A1 (ja) * 2014-02-06 2015-08-13 オリンパス株式会社 超音波プローブ及び超音波処置装置
US9554854B2 (en) 2014-03-18 2017-01-31 Ethicon Endo-Surgery, Llc Detecting short circuits in electrosurgical medical devices
US10092310B2 (en) 2014-03-27 2018-10-09 Ethicon Llc Electrosurgical devices
US9913680B2 (en) 2014-04-15 2018-03-13 Ethicon Llc Software algorithms for electrosurgical instruments
EP3173040B1 (en) * 2014-07-24 2019-09-25 Olympus Corporation Ultrasonic treatment system, and actuation method of energy source unit
CN106102621B (zh) * 2015-01-07 2019-06-07 奥林巴斯株式会社 超声波探头
US10245095B2 (en) 2015-02-06 2019-04-02 Ethicon Llc Electrosurgical instrument with rotation and articulation mechanisms
US11141213B2 (en) 2015-06-30 2021-10-12 Cilag Gmbh International Surgical instrument with user adaptable techniques
US10898256B2 (en) 2015-06-30 2021-01-26 Ethicon Llc Surgical system with user adaptable techniques based on tissue impedance
US11129669B2 (en) 2015-06-30 2021-09-28 Cilag Gmbh International Surgical system with user adaptable techniques based on tissue type
US11051873B2 (en) 2015-06-30 2021-07-06 Cilag Gmbh International Surgical system with user adaptable techniques employing multiple energy modalities based on tissue parameters
WO2017004056A1 (en) 2015-07-01 2017-01-05 Mako Surgical Corp. Robotic systems and methods for controlling a tool removing material from a workpiece
ES2932750T3 (es) 2015-08-12 2023-01-25 Reach Surgical Inc Cuchilla quirúrgica ultrasónica curvada
US10368895B2 (en) * 2015-12-17 2019-08-06 Olympus Corporation Method for replacement arthroplasty
US11129670B2 (en) 2016-01-15 2021-09-28 Cilag Gmbh International Modular battery powered handheld surgical instrument with selective application of energy based on button displacement, intensity, or local tissue characterization
US11229471B2 (en) 2016-01-15 2022-01-25 Cilag Gmbh International Modular battery powered handheld surgical instrument with selective application of energy based on tissue characterization
US10716615B2 (en) 2016-01-15 2020-07-21 Ethicon Llc Modular battery powered handheld surgical instrument with curved end effectors having asymmetric engagement between jaw and blade
US12193698B2 (en) 2016-01-15 2025-01-14 Cilag Gmbh International Method for self-diagnosing operation of a control switch in a surgical instrument system
WO2017149613A1 (ja) * 2016-02-29 2017-09-08 オリンパス株式会社 関節用超音波処置具及び関節用超音波処置システム
WO2017168515A1 (ja) * 2016-03-28 2017-10-05 オリンパス株式会社 関節用超音波処置具、及びその処置方法
US10631882B2 (en) * 2016-04-28 2020-04-28 David K. Boger Oscillating decortication burr assembly
US10952759B2 (en) 2016-08-25 2021-03-23 Ethicon Llc Tissue loading of a surgical instrument
CN106175848A (zh) * 2016-08-31 2016-12-07 南京市鼓楼医院 一种基于实心针的超声乳化机头及超声乳化设备
JP6234641B1 (ja) * 2016-09-30 2017-11-22 オリンパス株式会社 超音波トランスデューサ及び超音波トランスデューサの製造方法
US10292714B2 (en) * 2016-11-08 2019-05-21 Tautog, LLC Powered surgical device
US10603064B2 (en) 2016-11-28 2020-03-31 Ethicon Llc Ultrasonic transducer
CN106725721A (zh) * 2017-03-31 2017-05-31 重庆西山科技股份有限公司 超声骨钻头及超声骨刀系统
WO2019008714A1 (ja) * 2017-07-05 2019-01-10 オリンパス株式会社 超音波プローブ及び超音波処置アッセンブリ
US10820920B2 (en) 2017-07-05 2020-11-03 Ethicon Llc Reusable ultrasonic medical devices and methods of their use
AU2019217566B2 (en) * 2018-02-08 2024-10-10 Woodwelding Ag System of sonotrode and guide shaft
US10881424B2 (en) 2018-02-13 2021-01-05 Covidien Lp Removable fluid reservoir and ultrasonic surgical instrument including the same
US11292135B2 (en) * 2018-05-31 2022-04-05 Mako Surgical Corp. Rotating switch sensor for a robotic system
US12053224B2 (en) 2019-12-30 2024-08-06 Cilag Gmbh International Variation in electrode parameters and deflectable electrode to modify energy density and tissue interaction
US11707318B2 (en) 2019-12-30 2023-07-25 Cilag Gmbh International Surgical instrument with jaw alignment features
US12262937B2 (en) 2019-12-30 2025-04-01 Cilag Gmbh International User interface for surgical instrument with combination energy modality end-effector
US11660089B2 (en) 2019-12-30 2023-05-30 Cilag Gmbh International Surgical instrument comprising a sensing system
US11452525B2 (en) 2019-12-30 2022-09-27 Cilag Gmbh International Surgical instrument comprising an adjustment system
US11950797B2 (en) 2019-12-30 2024-04-09 Cilag Gmbh International Deflectable electrode with higher distal bias relative to proximal bias
US12343063B2 (en) 2019-12-30 2025-07-01 Cilag Gmbh International Multi-layer clamp arm pad for enhanced versatility and performance of a surgical device
US12082808B2 (en) 2019-12-30 2024-09-10 Cilag Gmbh International Surgical instrument comprising a control system responsive to software configurations
US11779387B2 (en) 2019-12-30 2023-10-10 Cilag Gmbh International Clamp arm jaw to minimize tissue sticking and improve tissue control
US11696776B2 (en) 2019-12-30 2023-07-11 Cilag Gmbh International Articulatable surgical instrument
US12336747B2 (en) 2019-12-30 2025-06-24 Cilag Gmbh International Method of operating a combination ultrasonic / bipolar RF surgical device with a combination energy modality end-effector
US12114912B2 (en) 2019-12-30 2024-10-15 Cilag Gmbh International Non-biased deflectable electrode to minimize contact between ultrasonic blade and electrode
US11911063B2 (en) 2019-12-30 2024-02-27 Cilag Gmbh International Techniques for detecting ultrasonic blade to electrode contact and reducing power to ultrasonic blade
US11812957B2 (en) 2019-12-30 2023-11-14 Cilag Gmbh International Surgical instrument comprising a signal interference resolution system
US11786291B2 (en) 2019-12-30 2023-10-17 Cilag Gmbh International Deflectable support of RF energy electrode with respect to opposing ultrasonic blade
US12349961B2 (en) 2019-12-30 2025-07-08 Cilag Gmbh International Electrosurgical instrument with electrodes operable in bipolar and monopolar modes
US11986201B2 (en) 2019-12-30 2024-05-21 Cilag Gmbh International Method for operating a surgical instrument
US11937863B2 (en) 2019-12-30 2024-03-26 Cilag Gmbh International Deflectable electrode with variable compression bias along the length of the deflectable electrode
US12076006B2 (en) 2019-12-30 2024-09-03 Cilag Gmbh International Surgical instrument comprising an orientation detection system
US11779329B2 (en) 2019-12-30 2023-10-10 Cilag Gmbh International Surgical instrument comprising a flex circuit including a sensor system
US11944366B2 (en) 2019-12-30 2024-04-02 Cilag Gmbh International Asymmetric segmented ultrasonic support pad for cooperative engagement with a movable RF electrode
US20210196359A1 (en) 2019-12-30 2021-07-01 Ethicon Llc Electrosurgical instruments with electrodes having energy focusing features
US12064109B2 (en) 2019-12-30 2024-08-20 Cilag Gmbh International Surgical instrument comprising a feedback control circuit
US12023086B2 (en) 2019-12-30 2024-07-02 Cilag Gmbh International Electrosurgical instrument for delivering blended energy modalities to tissue
US11786294B2 (en) 2019-12-30 2023-10-17 Cilag Gmbh International Control program for modular combination energy device
US11723716B2 (en) 2019-12-30 2023-08-15 Cilag Gmbh International Electrosurgical instrument with variable control mechanisms
CN112274212A (zh) * 2020-11-19 2021-01-29 北京权瀚科技有限公司 骨科动力系统
USD974558S1 (en) 2020-12-18 2023-01-03 Stryker European Operations Limited Ultrasonic knife
US20240206934A1 (en) * 2022-12-22 2024-06-27 Medos International Sarl Devices and methods for cutting surgical components

Citations (4)

* Cited by examiner, † Cited by third party
Publication number Priority date Publication date Assignee Title
JPH06114072A (ja) * 1992-10-07 1994-04-26 Sumitomo Bakelite Co Ltd 外科手術用ハンドピース
JPH10225460A (ja) * 1997-02-17 1998-08-25 Olympus Optical Co Ltd 超音波処置具
US20040147945A1 (en) * 2002-09-09 2004-07-29 Gernod Fritzsch Ultrasonic instrument
WO2006048966A1 (ja) * 2004-11-04 2006-05-11 Olympus Medical Systems Corp. 超音波処置装置、内視鏡装置および処置方法

Family Cites Families (18)

* Cited by examiner, † Cited by third party
Publication number Priority date Publication date Assignee Title
US4188952A (en) * 1973-12-28 1980-02-19 Loschilov Vladimir I Surgical instrument for ultrasonic separation of biological tissue
JPH0546428Y2 (ja) * 1990-05-11 1993-12-06
US5387215A (en) * 1992-02-12 1995-02-07 Sierra Surgical Inc. Surgical instrument for cutting hard tissue and method of use
JP2963313B2 (ja) * 1993-09-10 1999-10-18 住友ベークライト株式会社 外科手術用ハンドピース
US6358264B2 (en) * 1996-07-24 2002-03-19 Surgical Design Corporation Surgical instruments with movable member
US5893835A (en) 1997-10-10 1999-04-13 Ethicon Endo-Surgery, Inc. Ultrasonic clamp coagulator apparatus having dual rotational positioning
US5954736A (en) 1997-10-10 1999-09-21 Ethicon Endo-Surgery, Inc. Coagulator apparatus having indexed rotational positioning
US6117152A (en) * 1999-06-18 2000-09-12 Ethicon Endo-Surgery, Inc. Multi-function ultrasonic surgical instrument
JP4422243B2 (ja) * 1999-09-01 2010-02-24 オリンパス株式会社 超音波処置具
JP2001087277A (ja) * 1999-09-20 2001-04-03 Olympus Optical Co Ltd 超音波手術装置
US6511493B1 (en) * 2000-01-10 2003-01-28 Hydrocision, Inc. Liquid jet-powered surgical instruments
US6503263B2 (en) 2000-09-24 2003-01-07 Medtronic, Inc. Surgical micro-shaving instrument with elevator tip
JP2002143177A (ja) * 2000-11-07 2002-05-21 Miwatec:Kk 超音波ハンドピ−スとこれに使用する超音波ホーン
CA2545101A1 (en) * 2003-11-06 2005-05-26 Misonix Incorporated Rf cauterization and ultrasonic ablation instrument with multi-hole collar and electrode mounting sleeve
US8277474B2 (en) * 2004-05-26 2012-10-02 Medtronic, Inc. Surgical cutting instrument
EP1790303B1 (en) * 2004-09-14 2017-05-03 Olympus Corporation Ultrasonic treatment apparatus, and probe,treatment portion and thick portion for ultrasonic treatment apparatus
WO2007025230A2 (en) 2005-08-25 2007-03-01 Fluid Medical, Inc. Tubular compliant mechanisms for ultrasonic imaging systems and intravascular interventional devices
US7714481B2 (en) * 2006-11-30 2010-05-11 Olympus Medical Systems Corp. Ultrasonic treatment apparatus

Patent Citations (4)

* Cited by examiner, † Cited by third party
Publication number Priority date Publication date Assignee Title
JPH06114072A (ja) * 1992-10-07 1994-04-26 Sumitomo Bakelite Co Ltd 外科手術用ハンドピース
JPH10225460A (ja) * 1997-02-17 1998-08-25 Olympus Optical Co Ltd 超音波処置具
US20040147945A1 (en) * 2002-09-09 2004-07-29 Gernod Fritzsch Ultrasonic instrument
WO2006048966A1 (ja) * 2004-11-04 2006-05-11 Olympus Medical Systems Corp. 超音波処置装置、内視鏡装置および処置方法

Cited By (139)

* Cited by examiner, † Cited by third party
Publication number Priority date Publication date Assignee Title
US10537352B2 (en) 2004-10-08 2020-01-21 Ethicon Llc Tissue pads for use with surgical instruments
US9801648B2 (en) 2007-03-22 2017-10-31 Ethicon Llc Surgical instruments
US9504483B2 (en) 2007-03-22 2016-11-29 Ethicon Endo-Surgery, Llc Surgical instruments
US9987033B2 (en) 2007-03-22 2018-06-05 Ethicon Llc Ultrasonic surgical instruments
US9883884B2 (en) 2007-03-22 2018-02-06 Ethicon Llc Ultrasonic surgical instruments
US9707004B2 (en) 2007-07-27 2017-07-18 Ethicon Llc Surgical instruments
US9636135B2 (en) 2007-07-27 2017-05-02 Ethicon Endo-Surgery, Llc Ultrasonic surgical instruments
US9414853B2 (en) 2007-07-27 2016-08-16 Ethicon Endo-Surgery, Llc Ultrasonic end effectors with increased active length
US10398466B2 (en) 2007-07-27 2019-09-03 Ethicon Llc Ultrasonic end effectors with increased active length
US9913656B2 (en) 2007-07-27 2018-03-13 Ethicon Llc Ultrasonic surgical instruments
US9642644B2 (en) 2007-07-27 2017-05-09 Ethicon Endo-Surgery, Llc Surgical instruments
US10426507B2 (en) 2007-07-31 2019-10-01 Ethicon Llc Ultrasonic surgical instruments
US10420579B2 (en) 2007-07-31 2019-09-24 Ethicon Llc Surgical instruments
US12268900B2 (en) 2007-07-31 2025-04-08 Cilag Gmbh International Surgical instruments
US11058447B2 (en) 2007-07-31 2021-07-13 Cilag Gmbh International Temperature controlled ultrasonic surgical instruments
US9848902B2 (en) 2007-10-05 2017-12-26 Ethicon Llc Ergonomic surgical instruments
US9339289B2 (en) 2007-11-30 2016-05-17 Ehticon Endo-Surgery, LLC Ultrasonic surgical instrument blades
US10463887B2 (en) 2007-11-30 2019-11-05 Ethicon Llc Ultrasonic surgical blades
US10433865B2 (en) 2007-11-30 2019-10-08 Ethicon Llc Ultrasonic surgical blades
US10441308B2 (en) 2007-11-30 2019-10-15 Ethicon Llc Ultrasonic surgical instrument blades
US10265094B2 (en) 2007-11-30 2019-04-23 Ethicon Llc Ultrasonic surgical blades
US10245065B2 (en) 2007-11-30 2019-04-02 Ethicon Llc Ultrasonic surgical blades
US10888347B2 (en) 2007-11-30 2021-01-12 Ethicon Llc Ultrasonic surgical blades
US10433866B2 (en) 2007-11-30 2019-10-08 Ethicon Llc Ultrasonic surgical blades
US10045794B2 (en) 2007-11-30 2018-08-14 Ethicon Llc Ultrasonic surgical blades
US10010339B2 (en) 2007-11-30 2018-07-03 Ethicon Llc Ultrasonic surgical blades
US9795808B2 (en) 2008-08-06 2017-10-24 Ethicon Llc Devices and techniques for cutting and coagulating tissue
US9504855B2 (en) 2008-08-06 2016-11-29 Ethicon Surgery, LLC Devices and techniques for cutting and coagulating tissue
US10022568B2 (en) 2008-08-06 2018-07-17 Ethicon Llc Devices and techniques for cutting and coagulating tissue
US10022567B2 (en) 2008-08-06 2018-07-17 Ethicon Llc Devices and techniques for cutting and coagulating tissue
US10335614B2 (en) 2008-08-06 2019-07-02 Ethicon Llc Devices and techniques for cutting and coagulating tissue
US9700339B2 (en) 2009-05-20 2017-07-11 Ethicon Endo-Surgery, Inc. Coupling arrangements and methods for attaching tools to ultrasonic surgical instruments
US9764164B2 (en) 2009-07-15 2017-09-19 Ethicon Llc Ultrasonic surgical instruments
US10263171B2 (en) 2009-10-09 2019-04-16 Ethicon Llc Surgical generator for ultrasonic and electrosurgical devices
US10265117B2 (en) 2009-10-09 2019-04-23 Ethicon Llc Surgical generator method for controlling and ultrasonic transducer waveform for ultrasonic and electrosurgical devices
US9623237B2 (en) 2009-10-09 2017-04-18 Ethicon Endo-Surgery, Llc Surgical generator for ultrasonic and electrosurgical devices
US10441345B2 (en) 2009-10-09 2019-10-15 Ethicon Llc Surgical generator for ultrasonic and electrosurgical devices
USRE47996E1 (en) 2009-10-09 2020-05-19 Ethicon Llc Surgical generator for ultrasonic and electrosurgical devices
US10201382B2 (en) 2009-10-09 2019-02-12 Ethicon Llc Surgical generator for ultrasonic and electrosurgical devices
US10299810B2 (en) 2010-02-11 2019-05-28 Ethicon Llc Rotatable cutting implements with friction reducing material for ultrasonic surgical instruments
US9427249B2 (en) 2010-02-11 2016-08-30 Ethicon Endo-Surgery, Llc Rotatable cutting implements with friction reducing material for ultrasonic surgical instruments
US9259234B2 (en) 2010-02-11 2016-02-16 Ethicon Endo-Surgery, Llc Ultrasonic surgical instruments with rotatable blade and hollow sheath arrangements
US9848901B2 (en) 2010-02-11 2017-12-26 Ethicon Llc Dual purpose surgical instrument for cutting and coagulating tissue
US10117667B2 (en) 2010-02-11 2018-11-06 Ethicon Llc Control systems for ultrasonically powered surgical instruments
JP2013519441A (ja) * 2010-02-11 2013-05-30 エシコン・エンド−サージェリィ・インコーポレイテッド 超音波手術器具のための外側シース及びブレード配設
US9649126B2 (en) 2010-02-11 2017-05-16 Ethicon Endo-Surgery, Llc Seal arrangements for ultrasonically powered surgical instruments
US9962182B2 (en) 2010-02-11 2018-05-08 Ethicon Llc Ultrasonic surgical instruments with moving cutting implement
JP2013519437A (ja) * 2010-02-11 2013-05-30 エシコン・エンド−サージェリィ・インコーポレイテッド 回転可能なブレード及び中空のシース構成を有する超音波外科用器具
US9510850B2 (en) 2010-02-11 2016-12-06 Ethicon Endo-Surgery, Llc Ultrasonic surgical instruments
US9707027B2 (en) 2010-05-21 2017-07-18 Ethicon Endo-Surgery, Llc Medical device
US10278721B2 (en) 2010-07-22 2019-05-07 Ethicon Llc Electrosurgical instrument with separate closure and cutting members
US10524854B2 (en) 2010-07-23 2020-01-07 Ethicon Llc Surgical instrument
US10433900B2 (en) 2011-07-22 2019-10-08 Ethicon Llc Surgical instruments for tensioning tissue
JP5363682B2 (ja) * 2011-08-19 2013-12-11 オリンパスメディカルシステムズ株式会社 超音波発生装置の製造方法、超音波処置装置の製造方法、超音波発生装置及び超音波処置装置
WO2013027614A1 (ja) 2011-08-19 2013-02-28 オリンパスメディカルシステムズ株式会社 超音波発生装置の製造方法、超音波処置装置の製造方法、超音波発生装置及び超音波処置装置
US9184373B2 (en) 2011-08-19 2015-11-10 Olympus Corporation Manufacturing method of an ultrasonic generating device, and manufacturing method of an ultrasonic treatment device
JP2017104612A (ja) * 2011-10-17 2017-06-15 サウンド サージカル テクノロジーズ エルエルシー セルライトを処置するための超音波プローブ
US9925003B2 (en) 2012-02-10 2018-03-27 Ethicon Endo-Surgery, Llc Robotically controlled surgical instrument
US9232979B2 (en) 2012-02-10 2016-01-12 Ethicon Endo-Surgery, Inc. Robotically controlled surgical instrument
US9226766B2 (en) 2012-04-09 2016-01-05 Ethicon Endo-Surgery, Inc. Serial communication protocol for medical device
US9237921B2 (en) 2012-04-09 2016-01-19 Ethicon Endo-Surgery, Inc. Devices and techniques for cutting and coagulating tissue
US9241731B2 (en) 2012-04-09 2016-01-26 Ethicon Endo-Surgery, Inc. Rotatable electrical connection for ultrasonic surgical instruments
US9439668B2 (en) 2012-04-09 2016-09-13 Ethicon Endo-Surgery, Llc Switch arrangements for ultrasonic surgical instruments
US10517627B2 (en) 2012-04-09 2019-12-31 Ethicon Llc Switch arrangements for ultrasonic surgical instruments
US9700343B2 (en) 2012-04-09 2017-07-11 Ethicon Endo-Surgery, Llc Devices and techniques for cutting and coagulating tissue
US9724118B2 (en) 2012-04-09 2017-08-08 Ethicon Endo-Surgery, Llc Techniques for cutting and coagulating tissue for ultrasonic surgical instruments
US10441310B2 (en) 2012-06-29 2019-10-15 Ethicon Llc Surgical instruments with curved section
US9713507B2 (en) 2012-06-29 2017-07-25 Ethicon Endo-Surgery, Llc Closed feedback control for electrosurgical device
US9408622B2 (en) 2012-06-29 2016-08-09 Ethicon Endo-Surgery, Llc Surgical instruments with articulating shafts
US9283045B2 (en) 2012-06-29 2016-03-15 Ethicon Endo-Surgery, Llc Surgical instruments with fluid management system
US10335182B2 (en) 2012-06-29 2019-07-02 Ethicon Llc Surgical instruments with articulating shafts
US10335183B2 (en) 2012-06-29 2019-07-02 Ethicon Llc Feedback devices for surgical control systems
US10524872B2 (en) 2012-06-29 2020-01-07 Ethicon Llc Closed feedback control for electrosurgical device
US10398497B2 (en) 2012-06-29 2019-09-03 Ethicon Llc Lockout mechanism for use with robotic electrosurgical device
US9737326B2 (en) 2012-06-29 2017-08-22 Ethicon Endo-Surgery, Llc Haptic feedback devices for surgical robot
US9393037B2 (en) 2012-06-29 2016-07-19 Ethicon Endo-Surgery, Llc Surgical instruments with articulating shafts
US9226767B2 (en) 2012-06-29 2016-01-05 Ethicon Endo-Surgery, Inc. Closed feedback control for electrosurgical device
US9326788B2 (en) 2012-06-29 2016-05-03 Ethicon Endo-Surgery, Llc Lockout mechanism for use with robotic electrosurgical device
US10543008B2 (en) 2012-06-29 2020-01-28 Ethicon Llc Ultrasonic surgical instruments with distally positioned jaw assemblies
US10881449B2 (en) 2012-09-28 2021-01-05 Ethicon Llc Multi-function bi-polar forceps
US9795405B2 (en) 2012-10-22 2017-10-24 Ethicon Llc Surgical instrument
US10201365B2 (en) 2012-10-22 2019-02-12 Ethicon Llc Surgeon feedback sensing and display methods
US11324527B2 (en) 2012-11-15 2022-05-10 Cilag Gmbh International Ultrasonic and electrosurgical devices
US10226273B2 (en) 2013-03-14 2019-03-12 Ethicon Llc Mechanical fasteners for use with surgical energy devices
US9743947B2 (en) 2013-03-15 2017-08-29 Ethicon Endo-Surgery, Llc End effector with a clamp arm assembly and blade
US9241728B2 (en) 2013-03-15 2016-01-26 Ethicon Endo-Surgery, Inc. Surgical instrument with multiple clamping mechanisms
JP5836540B2 (ja) * 2013-09-27 2015-12-24 オリンパス株式会社 超音波プローブ、超音波処置具及び処置システム
US9662134B2 (en) 2013-09-27 2017-05-30 Olympus Corporation Ultrasonic probe, ultrasonic treatment instrument and treatment system
WO2015045199A1 (ja) * 2013-09-27 2015-04-02 オリンパスメディカルシステムズ株式会社 超音波プローブ、超音波処置具及び処置システム
WO2015046347A1 (ja) 2013-09-27 2015-04-02 オリンパスメディカルシステムズ株式会社 超音波プローブ、超音波処置具及び処置システム
US10463421B2 (en) 2014-03-27 2019-11-05 Ethicon Llc Two stage trigger, clamp and cut bipolar vessel sealer
US10349999B2 (en) 2014-03-31 2019-07-16 Ethicon Llc Controlling impedance rise in electrosurgical medical devices
WO2016002620A1 (ja) * 2014-07-02 2016-01-07 オリンパス株式会社 超音波プローブ及び超音波処置具
US9693793B2 (en) 2014-07-02 2017-07-04 Olympus Corporation Ultrasonic probe and ultrasonic treatment instrument
CN106102623B (zh) * 2014-07-02 2018-09-28 奥林巴斯株式会社 超声波探头及超声波处理器具
CN106102623A (zh) * 2014-07-02 2016-11-09 奥林巴斯株式会社 超声波探头及超声波处理器具
JP5959781B2 (ja) * 2014-07-02 2016-08-02 オリンパス株式会社 超音波プローブ及び超音波処置具
US10285724B2 (en) 2014-07-31 2019-05-14 Ethicon Llc Actuation mechanisms and load adjustment assemblies for surgical instruments
US10639092B2 (en) 2014-12-08 2020-05-05 Ethicon Llc Electrode configurations for surgical instruments
WO2016111053A1 (ja) * 2015-01-07 2016-07-14 オリンパス株式会社 超音波プローブ
JP6001212B1 (ja) * 2015-01-07 2016-10-05 オリンパス株式会社 超音波プローブ
US9730709B2 (en) 2015-01-07 2017-08-15 Olympus Corporation Ultrasonic probe and ultrasonic instrument
US10342602B2 (en) 2015-03-17 2019-07-09 Ethicon Llc Managing tissue treatment
US10321950B2 (en) 2015-03-17 2019-06-18 Ethicon Llc Managing tissue treatment
US10595929B2 (en) 2015-03-24 2020-03-24 Ethicon Llc Surgical instruments with firing system overload protection mechanisms
US10034684B2 (en) 2015-06-15 2018-07-31 Ethicon Llc Apparatus and method for dissecting and coagulating tissue
US11020140B2 (en) 2015-06-17 2021-06-01 Cilag Gmbh International Ultrasonic surgical blade for use with ultrasonic surgical instruments
US10034704B2 (en) 2015-06-30 2018-07-31 Ethicon Llc Surgical instrument with user adaptable algorithms
US10357303B2 (en) 2015-06-30 2019-07-23 Ethicon Llc Translatable outer tube for sealing using shielded lap chole dissector
US10154852B2 (en) 2015-07-01 2018-12-18 Ethicon Llc Ultrasonic surgical blade with improved cutting and coagulation features
US10624691B2 (en) 2015-09-30 2020-04-21 Ethicon Llc Techniques for operating generator for digitally generating electrical signal waveforms and surgical instruments
US10610286B2 (en) 2015-09-30 2020-04-07 Ethicon Llc Techniques for circuit topologies for combined generator
US10687884B2 (en) 2015-09-30 2020-06-23 Ethicon Llc Circuits for supplying isolated direct current (DC) voltage to surgical instruments
US10194973B2 (en) 2015-09-30 2019-02-05 Ethicon Llc Generator for digitally generating electrical signal waveforms for electrosurgical and ultrasonic surgical instruments
US11033322B2 (en) 2015-09-30 2021-06-15 Ethicon Llc Circuit topologies for combined generator
US10595930B2 (en) 2015-10-16 2020-03-24 Ethicon Llc Electrode wiping surgical device
US10179022B2 (en) 2015-12-30 2019-01-15 Ethicon Llc Jaw position impedance limiter for electrosurgical instrument
US10575892B2 (en) 2015-12-31 2020-03-03 Ethicon Llc Adapter for electrical surgical instruments
US10299821B2 (en) 2016-01-15 2019-05-28 Ethicon Llc Modular battery powered handheld surgical instrument with motor control limit profile
US10537351B2 (en) 2016-01-15 2020-01-21 Ethicon Llc Modular battery powered handheld surgical instrument with variable motor control limits
US10251664B2 (en) 2016-01-15 2019-04-09 Ethicon Llc Modular battery powered handheld surgical instrument with multi-function motor via shifting gear assembly
US10555769B2 (en) 2016-02-22 2020-02-11 Ethicon Llc Flexible circuits for electrosurgical instrument
US10485607B2 (en) 2016-04-29 2019-11-26 Ethicon Llc Jaw structure with distal closure for electrosurgical instruments
US10646269B2 (en) 2016-04-29 2020-05-12 Ethicon Llc Non-linear jaw gap for electrosurgical instruments
US10702329B2 (en) 2016-04-29 2020-07-07 Ethicon Llc Jaw structure with distal post for electrosurgical instruments
US10456193B2 (en) 2016-05-03 2019-10-29 Ethicon Llc Medical device with a bilateral jaw configuration for nerve stimulation
US10245064B2 (en) 2016-07-12 2019-04-02 Ethicon Llc Ultrasonic surgical instrument with piezoelectric central lumen transducer
US10893883B2 (en) 2016-07-13 2021-01-19 Ethicon Llc Ultrasonic assembly for use with ultrasonic surgical instruments
US10842522B2 (en) 2016-07-15 2020-11-24 Ethicon Llc Ultrasonic surgical instruments having offset blades
US10376305B2 (en) 2016-08-05 2019-08-13 Ethicon Llc Methods and systems for advanced harmonic energy
US10285723B2 (en) 2016-08-09 2019-05-14 Ethicon Llc Ultrasonic surgical blade with improved heel portion
USD847990S1 (en) 2016-08-16 2019-05-07 Ethicon Llc Surgical instrument
US10420580B2 (en) 2016-08-25 2019-09-24 Ethicon Llc Ultrasonic transducer for surgical instrument
US11266430B2 (en) 2016-11-29 2022-03-08 Cilag Gmbh International End effector control and calibration
JP7197923B2 (ja) 2017-09-29 2022-12-28 ベイジン エスエムティーピー テクノロジー カンパニー,リミテッド 超音波骨刀ビット
JP2020534963A (ja) * 2017-09-29 2020-12-03 ベイジン エスエムティーピー テクノロジー カンパニー,リミテッド 超音波骨刀ビット
US11576791B1 (en) * 2019-10-28 2023-02-14 Smith & Nephew, Inc. Devices and techniques for hip revision surgery
US20230114868A1 (en) * 2019-10-28 2023-04-13 Smith & Nephew, Inc. Devices and techniques for hip revision surgery
US11918485B2 (en) * 2019-10-28 2024-03-05 Smith & Nephew, Inc. Devices and techniques for hip revision surgery

Also Published As

Publication number Publication date
EP2135569A3 (en) 2010-01-06
JP5703360B2 (ja) 2015-04-15
JP5930247B2 (ja) 2016-06-08
JP2014054545A (ja) 2014-03-27
US8273087B2 (en) 2012-09-25
US20090318944A1 (en) 2009-12-24
JP2015128628A (ja) 2015-07-16
JP5430161B2 (ja) 2014-02-26
EP2135569A2 (en) 2009-12-23

Similar Documents

Publication Publication Date Title
JP5430161B2 (ja) 超音波手術装置
US11826069B2 (en) Ultrasonic surgical blade
US10639058B2 (en) Ultrasonic surgical instrument with features for forming bubbles to enhance cavitation
JP5379501B2 (ja) 超音波処置具
US5674235A (en) Ultrasonic surgical cutting instrument
JP5872489B2 (ja) 回転切断用具を備える、超音波駆動の外科用器具
US20150327882A1 (en) Ultrasonic device for cutting and coagulating
EP3524190B1 (en) Ultrasonic bone cutting instrument
JP2005040222A (ja) 超音波処置装置
JP6132993B2 (ja) 処置具、処置システム

Legal Events

Date Code Title Description
A621 Written request for application examination

Free format text: JAPANESE INTERMEDIATE CODE: A621

Effective date: 20111116

A977 Report on retrieval

Free format text: JAPANESE INTERMEDIATE CODE: A971007

Effective date: 20130225

A131 Notification of reasons for refusal

Free format text: JAPANESE INTERMEDIATE CODE: A131

Effective date: 20130312

A521 Request for written amendment filed

Free format text: JAPANESE INTERMEDIATE CODE: A523

Effective date: 20130513

A02 Decision of refusal

Free format text: JAPANESE INTERMEDIATE CODE: A02

Effective date: 20130716

A521 Request for written amendment filed

Free format text: JAPANESE INTERMEDIATE CODE: A523

Effective date: 20131016

A911 Transfer to examiner for re-examination before appeal (zenchi)

Free format text: JAPANESE INTERMEDIATE CODE: A911

Effective date: 20131024

TRDD Decision of grant or rejection written
A01 Written decision to grant a patent or to grant a registration (utility model)

Free format text: JAPANESE INTERMEDIATE CODE: A01

Effective date: 20131119

A61 First payment of annual fees (during grant procedure)

Free format text: JAPANESE INTERMEDIATE CODE: A61

Effective date: 20131203

R151 Written notification of patent or utility model registration

Ref document number: 5430161

Country of ref document: JP

Free format text: JAPANESE INTERMEDIATE CODE: R151

S111 Request for change of ownership or part of ownership

Free format text: JAPANESE INTERMEDIATE CODE: R313111

R350 Written notification of registration of transfer

Free format text: JAPANESE INTERMEDIATE CODE: R350

S531 Written request for registration of change of domicile

Free format text: JAPANESE INTERMEDIATE CODE: R313531

R350 Written notification of registration of transfer

Free format text: JAPANESE INTERMEDIATE CODE: R350

R250 Receipt of annual fees

Free format text: JAPANESE INTERMEDIATE CODE: R250

R250 Receipt of annual fees

Free format text: JAPANESE INTERMEDIATE CODE: R250

R250 Receipt of annual fees

Free format text: JAPANESE INTERMEDIATE CODE: R250

R250 Receipt of annual fees

Free format text: JAPANESE INTERMEDIATE CODE: R250

LAPS Cancellation because of no payment of annual fees