JP2010000115A - ゲームシステム及びゲームプログラム - Google Patents

ゲームシステム及びゲームプログラム Download PDF

Info

Publication number
JP2010000115A
JP2010000115A JP2008158986A JP2008158986A JP2010000115A JP 2010000115 A JP2010000115 A JP 2010000115A JP 2008158986 A JP2008158986 A JP 2008158986A JP 2008158986 A JP2008158986 A JP 2008158986A JP 2010000115 A JP2010000115 A JP 2010000115A
Authority
JP
Japan
Prior art keywords
game
player
genre
battle
level
Prior art date
Legal status (The legal status is an assumption and is not a legal conclusion. Google has not performed a legal analysis and makes no representation as to the accuracy of the status listed.)
Granted
Application number
JP2008158986A
Other languages
English (en)
Other versions
JP5403207B2 (ja
Inventor
Hironori Takeuchi
宏法 竹内
Arata Jumonji
新 十文字
Current Assignee (The listed assignees may be inaccurate. Google has not performed a legal analysis and makes no representation or warranty as to the accuracy of the list.)
Sega Corp
Original Assignee
Sega Corp
Priority date (The priority date is an assumption and is not a legal conclusion. Google has not performed a legal analysis and makes no representation as to the accuracy of the date listed.)
Filing date
Publication date
Application filed by Sega Corp filed Critical Sega Corp
Priority to JP2008158986A priority Critical patent/JP5403207B2/ja
Priority to PCT/JP2009/060924 priority patent/WO2009154189A1/ja
Publication of JP2010000115A publication Critical patent/JP2010000115A/ja
Application granted granted Critical
Publication of JP5403207B2 publication Critical patent/JP5403207B2/ja
Active legal-status Critical Current
Anticipated expiration legal-status Critical

Links

Images

Classifications

    • A63F13/12
    • AHUMAN NECESSITIES
    • A63SPORTS; GAMES; AMUSEMENTS
    • A63FCARD, BOARD, OR ROULETTE GAMES; INDOOR GAMES USING SMALL MOVING PLAYING BODIES; VIDEO GAMES; GAMES NOT OTHERWISE PROVIDED FOR
    • A63F13/00Video games, i.e. games using an electronically generated display having two or more dimensions
    • A63F13/70Game security or game management aspects
    • A63F13/79Game security or game management aspects involving player-related data, e.g. identities, accounts, preferences or play histories
    • A63F13/798Game security or game management aspects involving player-related data, e.g. identities, accounts, preferences or play histories for assessing skills or for ranking players, e.g. for generating a hall of fame
    • AHUMAN NECESSITIES
    • A63SPORTS; GAMES; AMUSEMENTS
    • A63FCARD, BOARD, OR ROULETTE GAMES; INDOOR GAMES USING SMALL MOVING PLAYING BODIES; VIDEO GAMES; GAMES NOT OTHERWISE PROVIDED FOR
    • A63F13/00Video games, i.e. games using an electronically generated display having two or more dimensions
    • A63F13/30Interconnection arrangements between game servers and game devices; Interconnection arrangements between game devices; Interconnection arrangements between game servers
    • AHUMAN NECESSITIES
    • A63SPORTS; GAMES; AMUSEMENTS
    • A63FCARD, BOARD, OR ROULETTE GAMES; INDOOR GAMES USING SMALL MOVING PLAYING BODIES; VIDEO GAMES; GAMES NOT OTHERWISE PROVIDED FOR
    • A63F2300/00Features of games using an electronically generated display having two or more dimensions, e.g. on a television screen, showing representations related to the game
    • A63F2300/50Features of games using an electronically generated display having two or more dimensions, e.g. on a television screen, showing representations related to the game characterized by details of game servers
    • A63F2300/55Details of game data or player data management
    • A63F2300/5546Details of game data or player data management using player registration data, e.g. identification, account, preferences, game history
    • A63F2300/558Details of game data or player data management using player registration data, e.g. identification, account, preferences, game history by assessing the players' skills or ranking
    • AHUMAN NECESSITIES
    • A63SPORTS; GAMES; AMUSEMENTS
    • A63FCARD, BOARD, OR ROULETTE GAMES; INDOOR GAMES USING SMALL MOVING PLAYING BODIES; VIDEO GAMES; GAMES NOT OTHERWISE PROVIDED FOR
    • A63F2300/00Features of games using an electronically generated display having two or more dimensions, e.g. on a television screen, showing representations related to the game
    • A63F2300/60Methods for processing data by generating or executing the game program
    • A63F2300/6036Methods for processing data by generating or executing the game program for offering a minigame in combination with a main game

Landscapes

  • Engineering & Computer Science (AREA)
  • Multimedia (AREA)
  • Theoretical Computer Science (AREA)
  • Business, Economics & Management (AREA)
  • Computer Security & Cryptography (AREA)
  • General Business, Economics & Management (AREA)
  • Management, Administration, Business Operations System, And Electronic Commerce (AREA)

Abstract

【課題】レベルの相違するプレーヤー同士でも緊張感をもってゲームを楽しむことができるゲームシステム及びゲームプログラムを提供する。
【解決手段】予め用意された複数の対戦条件から選択された対戦条件に基づき複数のプレーヤーが対戦する対戦ゲームを実行するゲームシステムである。各プレーヤーの各対戦条件におけるゲーム成績情報を各プレーヤー情報と関連づけて保存するゲーム成績情報保存手段と、対戦条件の選択時において、各プレーヤーの各対戦条件におけるゲーム成績情報と、ゲーム成績表示制御手段が、各プレーヤーの各対戦条件におけるゲーム成績情報を各プレーヤーに対して表示させる際に、一のプレーヤーが所定のゲーム成績偽装条件を満たしているか否かを判定し、満たしている場合には、当該一のプレーヤーのゲーム成績情報表示を他のプレーヤーに対して、本来の成績とは異ならせて表示させるゲーム成績表示偽装手段とを有する。
【選択図】図11

Description

本発明はゲームシステム及びゲームプログラムに関し、特に、プレーヤーがクイズ等により対戦する対戦ゲームを行うゲームシステム及びゲームプログラムに関する。
アミューズメント施設等に設けられたゲーム装置等を用いて、複数のユーザーが対戦するゲームシステムとして、近年は、ゲーム装置をインターネット接続することにより、全国のアミューズメント施設にいるプレーヤーが参加できるゲームシステムが提案されている。
このようなゲームシステムとして、特許文献1のように、全国にいる多数のプレーヤーが参加してクイズの回答を競うものが知られている。このゲームシステムでは、全国オンライン対戦と称して、多数のプレーヤーが同時に同じクイズゲームに参加し、早押し等により解答権を得たプレーヤーが解答し、その解答の正誤により成績を競い合う。
しかしながら、このゲームシステムでは、他のプレーヤーのレベルが高すぎると、解答権を得ることさえもできず、ゲームを楽しむことが難しい。逆に、他のプレーヤーのレベルが低すぎても、ゲームへの緊迫感が薄くなり、充足感を得ることが難しい。
特開2004−261236号公報
本発明の目的は、レベルの相違するプレーヤー同士でも緊張感をもってゲームを楽しむことができるゲームシステム及びゲームプログラムを提供することにある。
本発明の一態様によるゲームシステムは、複数のプレーヤー毎に表示手段を有するゲーム装置において、予め用意された複数の対戦条件から選択された対戦条件に基づき複数のプレーヤーが対戦する対戦ゲームを実行するゲームシステムであって、各プレーヤーの各対戦条件におけるゲーム成績情報を各プレーヤー情報と関連づけて保存するゲーム成績情報保存手段と、前記対戦条件の選択時において、各プレーヤーの各対戦条件におけるゲーム成績情報を、前記表示手段のそれぞれに表示させるゲーム成績表示制御手段と、前記ゲーム成績表示制御手段が、各プレーヤーの各対戦条件におけるゲーム成績情報を各プレーヤーに対して表示させる際に、前記一のプレーヤーが所定のゲーム成績偽装条件を満たしているか否かを判定し、満たしている場合には、当該一のプレーヤーのゲーム成績情報表示を他のプレーヤーに対して、本来の成績とは異ならせて表示させるゲーム成績表示偽装手段とを有することを特徴とする。
上述したゲームシステムにおいて、前記ゲーム成績表示偽装手段は、前記ゲーム成績表示制御手段が、当該一のプレーヤーのゲーム成績を前記一のプレーヤーに対して表示する際には、表示偽装前のゲーム成績と共に、表示の偽装を行った旨の標示、又は、当該ゲーム成績に対する補正量を視覚的に表示させることを特徴とする。
本発明の一態様によるプログラムは、複数のプレーヤー毎に表示手段を有するコンピュータにおいて、予め用意された複数の対戦条件から選択された対戦条件に基づき複数のプレーヤーが対戦する対戦ゲームを実行するゲームシステムとして当該コンピュータを機能させるプログラムであって、当該コンピュータに、各プレーヤーの各対戦条件におけるゲーム成績情報を各プレーヤー情報と関連づけて保存するゲーム成績情報保存処理、前記対戦条件の選択時において、各プレーヤーの各対戦条件におけるゲーム成績情報を、前記表示手段のそれぞれに表示させるゲーム成績表示制御処理、前記ゲーム成績表示制御手段が、各プレーヤーの各対戦条件におけるゲーム成績情報を各プレーヤーに対して表示させる際に、前記一のプレーヤーが所定のゲーム成績偽装条件を満たしているか否かを判定し、満たしている場合には、当該一のプレーヤーのゲーム成績情報表示を他のプレーヤーに対して、本来の成績とは異ならせて表示させるゲーム成績表示偽装処理、を実行させるためのプログラムである。
本発明によれば、複数のプレーヤー毎に表示手段を有するゲーム装置において、予め用意された複数の対戦条件から選択された対戦条件に基づき複数のプレーヤーが対戦する対戦ゲームを実行するゲームシステムであって、各プレーヤーの各対戦条件におけるゲーム成績情報を各プレーヤー情報と関連づけて保存するゲーム成績情報保存手段と、対戦条件の選択時において、各プレーヤーの各対戦条件におけるゲーム成績情報を、表示手段のそれぞれに表示させるゲーム成績表示制御手段と、ゲーム成績表示制御手段が、各プレーヤーの各対戦条件におけるゲーム成績情報を各プレーヤーに対して表示させる際に、一のプレーヤーが所定のゲーム成績偽装条件を満たしているか否かを判定し、満たしている場合には、当該一のプレーヤーのゲーム成績情報表示を他のプレーヤーに対して、本来の成績とは異ならせて表示させるゲーム成績表示偽装手段とを有するので、レベルの相違するプレーヤー同士でも緊張感をもってゲームを楽しむことができる。
[第1実施形態(クイズゲーム)]
本発明の第1実施形態によるゲームシステムについて図面を用いて説明する。
本実施形態のゲームシステムは、全国のアミューズメント施設内に設置されたゲーム装置がインターネットを介して接続されたものである。地域的に離れたプレーヤー同士であってもクイズ等の対戦ゲームを行うことができるように構成されている。
本実施形態のゲームシステムでは、更に、インターネットを介したユーザー間交流を促進するために、複数のユーザーであるプレーヤーによりチームを結成することができるように構成されている。これにより、チームメンバーによるコミュニティを結成して、ユーザー間の交流を図るものである。
具体的には、コミュニティ内のチームメンバー間向けに提供されるメッセージ送信・回覧機能を用いたり、また、チームごとのゲーム内ポイントの総合得点を一定期間毎に競うなどのチーム競技などを行ったりすることで、ゲーム自体の人気を盛り上げ、ひいては製品の人気を長期に渡り維持することができる。
更に、本実施形態のゲームシステムでは、所属するチームのチームメンバーの成績に基づいて、1対1の対戦ゲームにおいて有利な取扱いを受ける等のメリットを受けることができる。この処理の詳細については後述する。
プレーヤーによる新規チームの作成、プレーヤーによる既存チームへの参加等の処理は、ゲーム装置とは別個のPC、携帯電話、PHS等の情報端末を用いて行う。この処理の詳細については後述する。
なお、ゲーム装置を用いて、プレーヤーによる新規チームの作成、プレーヤーによる既存チームへの参加等の上記内容を含む各種の処理を行ってもよい。
(ゲームシステムの概要)
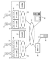
本実施形態によるゲームシステムを図1及び図2を用いて説明する。図1は、本実施形態によるゲームシステムにおけるゲーム装置の外観を示す斜視図である。図2は、本実施形態によるゲームシステムを示すブロック図である。
アミューズメント施設10は、例えば日本全国の各地域に所在している。各アミューズメント施設10には、ゲームを行うために複数台のゲーム装置12が設けられている。アミューズメント施設10には、ゲーム装置12の他に、ゲーム内容の表示等を行う処理装置14が設けられている。アミューズメント施設10に処理装置14が設けられている場合には、観戦者は、処理装置のディスプレイモニタ15を見ることによりゲームを観戦する。
プレーヤーはゲーム装置12にコインを投入してクイズゲームを行う。ゲーム装置12にはICカードであるメンバーズカード16を読み取るためのICカードI/F(インターフェース)18が設けられている。メンバーズカード16には固有のID番号が記載されている。
各ゲーム装置12はアミューズメント施設10内のLAN20に接続されており、アミューズメント施設10内の他のゲーム装置12と相互に通信可能である。また、アミューズメント施設10のLAN20はインターネット22に接続されており、他のアミューズメント施設10内のゲーム装置12とも相互に通信可能である。したがって、設置場所が離れていても、任意のゲーム装置により共通のクイズゲームを行うことができるように構成されている。
アミューズメント施設10を訪れたプレーヤーは、ゲーム装置に着席し、コインを投入し、タッチパネル24、実行ボタン28等の操作を行うことにより、他のプレーヤーとクイズゲームを行う。
サーバ30はインターネット22に接続されている。サーバ30は制御手段(図示せず)と記憶手段(図示せず)を有する。制御手段により、ゲーム装置12を制御すると共に、記憶手段により、ゲーム装置12により実行されたクイズゲーム等のゲームのプレイデータを、インターネット22を介して収集し、そのプレイデータを蓄積し、管理する。
サーバ30の記憶手段には、各プレーヤーのゲームのレベルやゲームの履歴が記憶されている。ゲームのレベルは、対戦結果に応じて付与される。
また、上述したチーム作成、参加等の処理のために、携帯電話、PHS、PDA等の携帯情報端末39を用いて、ゲームシステムのサーバ30にアクセスすることができるように構成されている。
携帯情報端末39は、携帯電話会社等が運営する携帯サーバ38を介して、インターネット22に接続可能であり、更に、インターネット22を介してサーバ30にアクセスすることができる。
(ゲーム装置の構成)
本実施形態によるゲームシステムにおけるゲーム装置の構成について図3を用いて説明する。図3は、本実施形態によるゲーム装置のブロック図である。
図1に示すように、ゲーム装置12の筐体32には、ゲーム内容を表示するディスプレイモニタ34と、ディスプレイモニタ34上に設けられ、プレーヤーがゲームの操作を行うためのタッチパネル24と、コインと投入するためのコイン投入部36と、メンバーズカード16を読み取るためのICカードI/F18と、実行操作を行うための実行ボタン28とが設けられている。ディスプレイモニタ34には、クイズゲームの画面が表示される。
図3に示すように、ゲーム装置12には、ゲームプログラムの実行やシステム全体の制御や画像表示のための座標計算等を行うCPU40と、CPU40が処理を行うのに必要なプログラムやデータを格納するバッファメモリとして利用されるシステムメモリ(RAM)42とがバスラインにより共通接続され、バスアービタ44に接続されている。バスアービタ44は、ゲーム装置12の各ブロックや外部に接続される機器とのプログラムやデータの流れを制御する。
ゲームプログラムやデータ(映像データや音楽データも含む)が格納されたプログラムデータ記憶装置又は記憶媒体(ゲーム用記録媒体であるCD−ROM等を駆動する光ディスクや光ディスクドライブ等も含む)46と、ゲーム装置を起動するためのプログラムやデータが格納されているBOOTROM48とがバスラインを介してバスアービタ44に接続されている。
バスアービタ44を介して、プログラムデータ記憶装置又は記憶媒体46から読み出した映像(MOVIE)データを再生したり、プレーヤーの操作やゲーム進行に応じて画像表示のための画像を生成したりするレンダリングプロセッサ50と、そのレンダリングプロセッサ50が画像生成を行うために必要なグラフィックデータ等を格納しておくグラフィックメモリ52とが接続されている。レンダリングプロセッサ50から出力される画像信号は、ビデオDAC(図示せず)によりデジタル信号からアナログ信号に変換され、ディスプレイモニタ34に表示される。
バスアービタ44を介して、プログラムデータ記憶装置又は記憶媒体46から読み出した音楽データを再生したりプレーヤーによる操作やゲーム進行に応じて効果音や音声を生成するサウンドプロセッサ56と、そのサウンドプロセッサ56により効果音や音声を生成するために必要なサウンドデータ等を格納しておくサウンドメモリ58とが接続されている。サウンドプロセッサ56から出力される音声信号は、オーディオDAC(図示せず)によりデジタル信号からアナログ信号に変換され、スピーカ60から出力される。
バスアービタ44には通信インターフェース62が接続されている。通信インタフェース62はモデム64を介して電話回線等の外部ネットワークに接続される。ゲーム装置12はモデム64により電話回線を介してインターネットに接続され、他のゲーム装置12やネットワークサーバ30等との通信が可能となる。なお、通信インターフェース62及びモデム64は電話回線を使用するものであるが、電話回線を使用するターミナルアダプタ(TA)やルータ、ケーブルテレビ回線を使用するケーブルモデム、携帯電話やPHSを利用して無線通信手段、光ファイバを用いた光ファイバ通信手段等の他の通信方法を利用してもよい。
バスアービタ44には、ペリフェラルI/F(インターフェース)66を介して実行ボタン28が接続されている。実行ボタン28は、各種操作の実行の指示を入力するためのものである。ペリフェラルI/F66は、プレーヤーによる操作にしたがって、ゲーム装置12や外部に接続された機器を制御するための信号を出力する。
バスアービタ44には、ペリフェラルI/F68を介してタッチパネル24が接続されている。タッチパネル24は、プレーヤーが指を触れることにより各種操作を入力するためのものである。ペリフェラルI/F68は、プレーヤーによる操作にしたがって、ゲーム装置12や外部に接続された機器を制御するための信号を出力する。タッチパネル24は、指が接触した位置の座標値を取得して位置座標情報を生成する位置座標取得手段として機能する。
バスアービタ44には、メンバーズカード16を読み取るためのICカードI/F18が接続されている。
バスアービタ44にはバックアップメモリ(図示せず)が接続され、これにゲームの成績などの記録を行う。バックアップメモリは、システムメモリ(RAM)で代用してもよい。
なお、ゲーム装置12は、アミューズメント施設やゲームカフェ等の店舗に設置されるゲーム装置に限定されるものではなく、家庭用のゲーム装置やパーソナルコンピュータ、携帯型電子ゲーム機、携帯電話やPDA等の電子装置、ゲーム情報処理装置でもよい。
(データテーブル)
本実施形態によるゲームシステムにおける各種ゲームデータについて図4乃至図7を用いて説明する。
本実施形態のゲームシステムでは、プレーヤーはゲーム装置12にコインを投入し、ICカードであるメンバーズカード16を読み取らせて、クイズゲームに参加する。
サーバ30の記憶手段には、登録されている全てのプレーヤーに関するゲームデータと、相手プレーヤー不在時等のためにシステム側で用意するCPUプレーヤーのゲームデータとが格納され、管理されている。対戦時にはゲーム装置12から読み出される。
ゲーム装置12の記憶手段には、対戦時には、サーバ30から読み出した、ゲーム装置12を使用するプレーヤーのゲームデータと、対戦する相手側のプレーヤーのゲームデータとが記憶される。
本実施形態のゲームシステムで使用する問題は、問題データベースとして構成され、サーバ30の記憶手段に格納されていると共に、各ゲーム装置12の記憶手段に格納されている。これにより、サーバ30がダウンしたときでもゲーム装置12単体でゲームを行うことができる。
(メンバーズカードのデータテーブル)
本実施形態によるゲームシステムにおけるメンバーズカードのデータテーブルについて、図4を用いて説明する。
本実施形態のゲームシステムでは、プレーヤーはメンバーズカード16を読み取らせて、クイズゲームに参加する。メンバーズカード16であるICカードには、図4に示すデータテーブル105が格納されている。
メンバーズカードのデータテーブル105は、次の各欄により構成されている。
1.メンバーズカードを発行した店舗情報を示す「店舗ID」欄
2.プレーヤーに割当てられたユーザーID情報を示す「UID」欄
3.プレーヤーの名前を示す「名前」欄
4.プレーヤーのニックネームを示す「ニックネーム」欄
5.プレーヤーが選択したキャラクタを示す「選択キャラクタ」欄
6.プレーヤーが参加しているチーム情報を示す「チームID」欄
7.ゲームの各ジャンルのレベルを示す「レベル」欄
8.プレーヤーの得意ジャンルを示す「得意ジャンルID」欄
9.プレーヤーの苦手ジャンルを示す「苦手ジャンルID」欄
10.チームプレイにおいて補正される候補のジャンルを示す「補正候補ジャンルID」欄
11.チームプレイにおいて補正されたジャンルを示す「補正ジャンルID」欄
7.「レベル」欄は、ジャンル別の次の各「レベル」欄により構成されている。
71.プレーヤーの自然科学ジャンルのクイズに対する能力を示す「自然科学ジャンルのジャンルポイント」欄
72.プレーヤーの言語・文学ジャンルのクイズに対する能力を示す「言語・文学ジャンルのジャンルポイント」欄
73.プレーヤーの歴史・地理・社会ジャンルのクイズに対する能力を示す「自然科学ジャンルのジャンルポイント」欄
74.プレーヤーのエンターテイメントのクイズに対する能力を示す「エンターテイメントジャンルのジャンルポイント」欄
75.プレーヤーの漫画・アニメ・ゲームジャンルのクイズに対する能力を示す「漫画・アニメ・ゲームジャンルのジャンルポイント」欄
76.プレーヤーのスポーツジャンルのクイズに対する能力を示す「スポーツジャンルのジャンルポイント」欄
77.プレーヤーのファッション・グルメジャンルのクイズに対する能力を示す「ファッション・グルメジャンルのジャンルポイント」欄
78.プレーヤーの趣味・雑学ジャンルのクイズに対する能力を示す「趣味・雑学ジャンルのジャンルポイント」欄
なお、8.「得意ジャンルID」欄、9.「苦手ジャンルID」欄、10.「補正候補ジャンルID」欄、11.「補正ジャンルID」欄の詳細については後述する。
(チームデータテーブル)
本実施形態によるゲームシステムにおけるチームのデータを示すチームデータテーブルについて、図5を用いて説明する。
本実施形態のゲームシステムでは、複数のユーザーであるプレーヤーによりチームを結成することができるように構成されている。
サーバ30の記憶手段には、チームについてのデータを示すチームデータテーブル160が格納され、管理されている。
チームデータテーブル160には、図5に示すように、各チームについて、チームを特定するためのチームIDと、チーム名とが格納され、各チームのメンバーのユーザIDが格納されている。本実施形態では、ひとつのチームには、例えば、最大20名のユーザを登録することができる。
(サーバのプレーヤーデータテーブル)
本実施形態によるゲームシステムにおけるサーバ30に格納されているプレーヤーデータテーブルについて、図6(a)を用いて説明する。
サーバ30の記憶手段には、登録されているプレーヤーに関するプレーヤーデータテーブル135が格納され、管理されている。
なお、システム側で用意するCPUプレーヤーに関するCPUプレーヤーデータテーブル(図示せず)も格納され、管理されているが、ここでは説明を省略する。
プレーヤーデータテーブル135を図6(a)に示す。プレーヤーデータテーブル135は、次の各欄により構成されている。
プレーヤーデータテーブル135は、次の各欄により構成されている。
1.メンバーズカードを発行した店舗情報を示す「店舗ID」欄
2.プレーヤーに割当てられたユーザーID情報を示す「UID」欄
3.プレーヤーの名前を示す「名前」欄
4.プレーヤーのニックネームを示す「ニックネーム」欄
5.プレーヤーが選択したキャラクタを示す「選択キャラクタ」欄
6.プレーヤーが参加しているチーム情報を示す「チームID」欄
7.ゲームの各ジャンルのレベルを示す「レベル」欄
8.プレーヤーの得意ジャンルを示す「得意ジャンルID」欄
9.プレーヤーの苦手ジャンルを示す「苦手ジャンルID」欄
10.チームプレイにおいて補正される候補のジャンルを示す「補正候補ジャンルID」欄
11.チームプレイにおいて補正されたジャンルを示す「補正ジャンルID」欄
12.プレーヤーの戦績を示す「プレー履歴」蘭
7.「レベル」欄は、ジャンル別の次の各「レベル」欄により構成されている。
71.プレーヤーの自然科学ジャンルのクイズに対する能力を示す「自然科学ジャンルのジャンルポイント」欄
72.プレーヤーの言語・文学ジャンルのクイズに対する能力を示す「言語・文学ジャンルのジャンルポイント」欄
73.プレーヤーの歴史・地理・社会ジャンルのクイズに対する能力を示す「自然科学ジャンルのジャンルポイント」欄
74.プレーヤーのエンターテイメントのクイズに対する能力を示す「エンターテイメントジャンルのジャンルポイント」欄
75.プレーヤーの漫画・アニメ・ゲームジャンルのクイズに対する能力を示す「漫画・アニメ・ゲームジャンルのジャンルポイント」欄
76.プレーヤーのスポーツジャンルのクイズに対する能力を示す「スポーツジャンルのジャンルポイント」欄
77.プレーヤーのファッション・グルメジャンルのクイズに対する能力を示す「ファッション・グルメジャンルのジャンルポイント」欄
78.プレーヤーの趣味・雑学ジャンルのクイズに対する能力を示す「趣味・雑学ジャンルのジャンルポイント」欄
(ゲーム装置のプレーヤーデータテーブル)
本実施形態によるゲームシステムにおけるゲーム装置12に格納されているプレーヤーデータテーブルについて、図6を用いて説明する。
ゲーム装置12の記憶手段には、ゲーム装置12を使用するプレーヤーのプレーヤーゲームデータテーブル135(図6(a))と、対戦する相手側のプレーヤーの対戦プレーヤーゲームデータテーブル145(図6(b))とが記憶される。
プレーヤーデータテーブル135は、対戦時に、サーバ30から読み出され、ゲーム装置12の記憶手段に記憶される。プレーヤーデータテーブル135の構成は、サーバ30の記憶手段に登録されている図6(a)に示すプレーヤーデータテーブル135と同様であるので説明を省略する。
対戦する相手側の対戦プレーヤーデータテーブル145を図6(b)に示す。対戦プレーヤーデータテーブル145は、対戦時に、サーバ30から読み出され、ゲーム装置12の記憶手段に記憶される。対戦プレーヤーデータテーブル145の構成は、図6(a)に示すプレーヤーデータテーブル135と同様であるので説明を省略する。
(問題データベース)
本実施形態によるゲームシステムで使用する問題データベースについて、図7を用いて説明する。
サーバ30の記憶手段や各ゲーム装置12の記憶手段には、ゲームシステムで使用する問題の集合である問題データベース150が記憶されている。
問題データベース150を図7に示す。問題データベース150は、ジャンル別の問題により構成されている。
自然科学ジャンルのクイズの問題、言語・文学ジャンルのクイズの問題、歴史・地理・社会ジャンルのクイズの問題、エンターテイメントジャンルのクイズの問題、漫画・アニメ・ゲームジャンルのクイズの問題、スポーツジャンルのクイズの問題、ファッション・グルメジャンルのクイズの問題、趣味・雑学ジャンルのクイズの問題から構成されている。
ノンジャンルのクイズの問題が必要な場合には、ランダムに選択されたジャンルの問題からひとつの問題をランダムに選択する。
なお、図7の問題データベースでは、問題のジャンルを、自然科学、言語・文学、歴史・地理・社会等のように問題の内容に基づいて分類したジャンルとしたが、パネルクイズ、タイピングクイズ、四択クイズ等の出題形式に基づいて分類したジャンルとしてもよい。ノンジャンルの場合には様々な出題形式のジャンルからランダムに選択された出題形式の問題が出題される。
(得意ジャンル・苦手ジャンルの決定方法)
本実施形態によるゲームシステムにおける各プレーヤーの得意ジャンルと苦手ジャンルの決定方法について説明する。
本実施形態のゲームシステムでは、出題する問題を格納した問題データベース150が用意されている。問題データベース150には、ジャンル毎のクイズの問題、すなわち、自然科学ジャンルのクイズの問題、言語・文学ジャンルのクイズの問題、歴史・地理・社会ジャンルのクイズの問題、エンターテイメントジャンルのクイズの問題、漫画・アニメ・ゲームジャンルのクイズの問題、スポーツジャンルのクイズの問題、ファッション・グルメジャンルのクイズの問題、趣味・雑学ジャンルのクイズの問題が用意されている。
各プレーヤーがクイズの対戦ゲームを行っていくと、各クイズの正解、不正解に基づいて、クイズのジャンル毎にジャンルポイントを獲得する。例えば、あるジャンルのクイズに正答すると、ジャンルポイントとして例えば1ポイントを獲得し、不正解であると、ジャンルポイントから例えば1ポイントが減算される。クイズの難易度により獲得又は減算されるポイントが異なる。
クイズのジャンル毎のジャンルポイントに基づいて、ジャンル毎のジャンルレベルが決定される。
クイズの対戦ゲームの終了後、各プレーヤーのジャンル毎のジャンルポイントに基づいて、次のようにして、そのプレーヤーの得意ジャンルと苦手ジャンルが決定される。
得意ジャンルは次のようにして決定される。
(1)プレイ終了時に、8ジャンル中最もジャンルポイントが高いジャンルが得意ジャンルとなる。ただし、最低1ポイント以上を必要とする。
(2)得意ジャンルが決定していない場合であって、プレイ終了時に、複数のジャンルが同じジャンルポイントだった場合には、その中でランダム抽選により得意ジャンルを決定する。
(3)得意ジャンルが既に決定している場合には、プレイ終了時に2番目以降のジャンルのジャンルポイントが、得意ジャンルのジャンルポイントと同数になっても得意ジャンルは変更されない。
(4)得意ジャンルが既に決定している場合であって、プレイ終了時に2番目以降の複数のジャンルのジャンルポイントが、得意ジャンルのジャンルポイントより多く、かつ、同数であった場合には、その中でランダム抽選により得意ジャンルを決定する。
苦手ジャンルは次のようにして決定される。
(1)出題数が100問を超えないと、苦手ジャンルは決定されない。
(2)プレイ終了時に、8ジャンル中最もジャンルポイントが低いジャンルが苦手ジャンルとなる。
(3)苦手ジャンルが決定していない場合であって、プレイ終了時に複数のジャンルが同じジャンルポイントだった場合は、その中でランダム抽選により苦手ジャンルを決定する。
(4)苦手ジャンルが既に決定している場合には、プレイ終了時に苦手ジャンルのジャンルポイントが、7番目のジャンルのジャンルポイントと同数になっても苦手ジャンルは変更されない。
(5)苦手ジャンルが既に決定している場合であって、プレイ終了時に苦手ジャンルのジャンルポイントが、6番目以上となり、それより下の複数のジャンルのジャンルポイントが同数であった場合には、その中でランダム抽選により苦手ジャンルを決定する。
図8は、具体例として、あるチームに所属するメンバーA、メンバーB、メンバーCについて各ジャンルのジャンルポイントを示す表である。
メンバーA、メンバーB、メンバーCの得意ジャンル、苦手ジャンルは次のようになる。
メンバーAは、スポーツのジャンルポイントが「76」で最も高いので、「スポーツ」が得意ジャンルとなる。一方、自然科学のジャンルポイントが「24」で最も低いので、「自然科学」が苦手ジャンルとなる。
メンバーBは、スポーツから趣味雑学の全てのジャンルのジャンルポイントが「200」と同数であるので、ランダム抽選により決定された「自然科学」が得意ジャンルとなる。一方、2位以下のジャンルが存在しないため、苦手ジャンルは存在しない。
メンバーCは、スポーツのジャンルポイントが「580」の最大値であるので、「スポーツ」が得意ジャンルとなる。一方、趣味雑学のジャンルポイントが「301」で最も低いので、「趣味雑学」が苦手ジャンルとなる。
このように決定された各プレーヤーの得意ジャンルと苦手ジャンルは、図4に示すメンバーズカードデータテーブル105や、図6に示すプレーヤーデータテーブル135、145に、得意ジャンルID、苦手ジャンルIDとして格納される。
なお、上述した決定方法は一例であって、これとは異なる方法により、得意ジャンル、苦手ジャンルを決定するようにしてもよい。
(チームによるジャンル補正)
本実施形態によるゲームシステムは、前述したように、複数のユーザーであるプレーヤーによりチームを結成することができるように構成されている。
本実施形態によるゲームシステムでは、チームに参加していることでのチーム内の連動感とメリットを演出するため、チームに参加している他のメンバーからの補助という形で、特定ジャンルのジャンルレベルを補正するようにする。
チームに参加することで、他のチームメンバーの成績如何により、苦手ジャンル又は得意ジャンルを補正することができる。
他のチームメンバーのいずれかのプレーヤーのジャンルレベルが高いと、その高いジャンルレベルに応じて、あるプレーヤーのジャンルレベルが補正される。ジャンルレベルの高いプレーヤーがひとりでもチームに参加していると、他のプレーヤーのレベルが補正される。
また、他のチームメンバー全員について各ジャンルレベルの平均値をとり、その平均値に基づいて、あるプレーヤーのジャンルレベルが補正される。ジャンルレベルの高いプレーヤーが多いチームに参加すると、ジャンルレベルの低いプレーヤーのレベルが補正される。
例えば、苦手ジャンルのレベルを1レベルアップして補正表示することにより、ジャンル選択時に苦手ジャンルのレベルをカモフラージュして、対戦相手から苦手ジャンルを選択されることを抑制することができる。
また、得意ジャンルのレベルを1レベルアップして補正表示することにより、自分より上段者とも対戦することが可能となる。
なお、上述した補正方法は一例であって、これとは異なる方法により、自分のジャンルのレベルを他のチームメンバーの成績に基づいて補正するようにしてもよい。
例えば、上述した補正方法では、補正されるジャンルは得意ジャンル又は苦手ジャンルに限定されているが、得意ジャンル、苦手ジャンルに限らず、全てのジャンルについて、他のチームメンバーの成績を参照し、補正が可能なジャンルがあれば全て又は選択的に1レベルアップする等の補正を行ってもよい。
また、上述した補正方法では、ジャンル補正は1レベルアップしたが、他のチームメンバーの成績によっては、1レベルよりも多く、例えば、2レベルアップするようにしてもよい。
また、上述した補正方法では、ジャンル補正はレベルアップする方向の補正であったが、他のチームメンバーの成績によっては、レベルダウンする方向の補正であってもよい。
(補正対象ジャンルの決定方法)
本実施形態のゲームシステムにおける補正対象ジャンルの決定方法について説明する。
補正対象ジャンルとは、他のチームメンバーの成績により補正される可能性のあるジャンルのことである。例えば、プレーヤーの「得意ジャンル」と「苦手ジャンル」のいずれか一方が補正対象ジャンルとして決定される。
補正候補ジャンルとは、補正対象ジャンルとなりうるジャンルのことである。補正対象ジャンルの決定処理中に決定され、最終的には、補正候補ジャンルのいずれかが補正対象ジャンルとなる。
あるプレーヤーの補正対象ジャンルは、そのプレーヤーの「得意ジャンル」「苦手ジャンル」の決定状態と、所属するチームの他プレーヤーのジャンルポイントを参照し、次のようにして決定される。
(1)あるプレーヤーの補正対象ジャンルとなるためには、「得意ジャンル」であっても「苦手ジャンル」であっても、そのプレーヤーよりもジャンルポイントが高いチームメンバーがチーム内に存在する必要がある。
(2)あるプレーヤーの得意ジャンルのレベルが最大の場合には、「得意ジャンル」は補正対象ジャンルとはならず、「苦手ジャンル」が補正対象ジャンルとなる。
(3)あるプレーヤーの「苦手ジャンル」と「得意ジャンル」のジャンルレベルが同じ場合には、「得意ジャンル」が補正対象ジャンルとなる。「苦手ジャンル」が補正されて「得意ジャンル」よりもレベルが上になることを防止するためである。
(4)あるプレーヤーの「苦手ジャンル」が決定されていない場合は、ジャンルポイントが最小のジャンルを補正対象ジャンルとする。
同じ最小値のジャンルポイントのジャンルが複数ある場合には、チームメンバーのジャンルポイントを比較して、最も高いジャンルポイントのチームメンバーが存在するジャンルを補正対象ジャンルとする。その場合でも、同じジャンルポイントのジャンルが複数ある場合には、ジャンルIDの若いジャンルを優先する。
なお、ジャンルIDは、自然科学ジャンル、言語・文学ジャンル、歴史・地理・社会ジャンル、エンターテイメントジャンル、漫画・アニメ・ゲームジャンル、ファッション・グルメジャンル、趣味・雑学ジャンルの順番でIDが定められている。
(5)あるプレーヤーの「得意ジャンル」が決定されていない場合は、ジャンルポイントが最大のジャンルを補正対象ジャンルとする。
同じ最大値のジャンルポイントのジャンルが複数ある場合には、チームメンバーのジャンルポイントを比較して、最も高いジャンルポイントのチームメンバーが存在するジャンルを補正対象ジャンルとする。その場合でも、同じジャンルポイントのジャンルが複数ある場合には、ジャンルIDの若いジャンルを優先する。
(6)あるプレーヤーの「苦手ジャンル」のレベルが最大の場合には、「苦手ジャンル」は補正対象ジャンルとはならない。
(7)上述した条件を満たすジャンルが存在しない場合は、補正対象ジャンルを定めない。
図8に示す具体例の場合には、あるチームに所属するメンバーA、メンバーB、メンバーCについての補正対象ジャンルは次のようになる。
メンバーAは、「スポーツ」が得意ジャンルで、「自然科学」が苦手ジャンルであるが、どちらのジャンルにも、メンバーAよりもジャンルポイントが高いチームメンバー(メンバーB、メンバーC)が存在するため、得意ジャンルの「スポーツ」も、苦手ジャンルの「自然科学」も補正候補ジャンルとなる。補正候補ジャンルのうち、ジャンルIDの若い「自然科学」が補正対象ジャンルとなる。
メンバーBは、全てのジャンルポイントが200(レベル7)であるため、得意ジャンルが補正対象ジャンルとなる。ジャンルIDの若い「自然科学」が補正対象ジャンルとなる。
メンバーCは、得意ジャンルの「スポーツ」のレベルが最大であるため、苦手ジャンルが補正対象ジャンルとなるが、苦手ジャンルである「趣味・雑学」のジャンルポイントについて、メンバーCよりも高いチームメンバーが存在しないため、補正対象ジャンルは決定されないことになる。
このように決定された各プレーヤーの補正対象ジャンルは、図4に示すメンバーズカードデータテーブル105や、図6に示すプレーヤーデータテーブル135、145に、補正対象ジャンルIDとして格納される。
なお、上述した決定方法は一例であって、これとは異なる方法により、補正対象ジャンルを決定するようにしてもよい。
(補正対象ジャンルの決定処理)
本実施形態のゲームシステムにおける補正対象ジャンルの決定処理の具体例について、図9及び図10のフローチャートを用いて説明する。
この補正対象ジャンルの決定処理は、例えば、毎日午前4時等の定時に、サーバ30において、プレーヤーデータテーブル135、チームデータテーブル160を参照して、全てのプレーヤーに対して実行され、データを更新する。
また、対戦ゲームがマッチングされたときに、その都度、対戦するプレーヤーに対して、サーバ30により、この補正対象ジャンルの決定処理を実行し、データを更新するようにしてもよい。
まず、図9に示すように、補正対象ジャンルの決定処理を行うプレーヤーについて、得意ジャンルが決定済みかどうか判断する(ステップS01)。
得意ジャンルが決定済みであると判断されると、その得意ジャンルのレベルがMAX(最大)であるかどうか判断する(ステップS02)。
得意ジャンルのレベルがMAX(最大)でないと判断されると、チーム内のメンバーに、その得意ジャンルのジャンルポイントが自分より高い人がいるかどうか判断する(ステップS03)。
得意ジャンルのジャンルポイントが自分より高いチームメンバーがいると判断されると、その得意ジャンルを補正候補ジャンルに追加する(ステップS04)。
次に、得意ジャンルと苦手ジャンルのレベルが同じであるか否か判断し(ステップS05)、同じであれば、補正候補ジャンルの選択は終了し、ステップS12に処理を移動する。
上述したステップS02で、得意ジャンルのレベルがMAXであると判断されると、苦手ジャンルが決定済か否か判断する(ステップS06)。
苦手ジャンルが決定済みであると判断されると、その苦手ジャンルのレベルがMAXであるか否か判断する(ステップS07)。
苦手ジャンルのレベルがMAXであると判断されると、補正候補ジャンルなしとして処理される(ステップS08)。
ステップS01において、得意ジャンルが決定済でないと判断されると、苦手ジャンルが未決定時の絞り込み処理(ステップS09)に処理を移動する。
また、ステップS06において、苦手ジャンルが決定済でないと判断されると、苦手ジャンルが未決定時の絞り込み処理(ステップS09)に処理を移動する。
次に、苦手ジャンルが未決定時の絞り込み処理(ステップS09)について、図10を用いて説明する。
まず、自分の8ジャンルのジャンルポイントを比較する(ステップS21)。
次に、最低ジャンルポイントが複数ジャンル存在する否か判断する(ステップS22)。
最低ジャンルポイントが複数ジャンル存在しないと判断されると、その最低ジャンルポイントのジャンルを選択する(ステップS23)。
最低ジャンルポイントが複数ジャンル存在すると判断されると、その最低ジャンルポイントの複数のジャンルを残す(ステップS25)。
続いて、残った複数のジャンル中、自分以外のチームメンバーで自分よりジャンルポイントの高いメンバーが存在するジャンルだけを残す(ステップS26)。補正候補ジャンルとなり得ない苦手ジャンルを削除するためである。
次に、残った複数のジャンルにおいてランダム抽選して、ひとつのジャンルを選択する(ステップS27)。
ステップS23において選択されたひとつのジャンル、又は、ステップS24においてランダム抽選により選択されたひとつのジャンルを、苦手ジャンルとして確定する(ステップS24)。
このようにして、苦手ジャンルが未決定時の絞り込み処理(ステップS09)を終了して、図9のフローチャートに戻る。
ステップS09において、苦手ジャンルの絞り込み処理が終了すると、ステップS10に処理を移動する。
また、ステップS07において、苦手ジャンルのレベルがMAXでないと判断されると、ステップS10に処理を移動する。
また、ステップS05において、得意ジャンルと苦手ジャンルのレベルが同じでないと判断されると、ステップS10に処理を移動する。
次に、ステップS10において、チーム内のメンバーに、選択された苦手ジャンルのジャンルポイントが自分より高い人がいるかどうか判断する。
苦手ジャンルのジャンルポイントが自分より高いチームメンバーがいると判断されると、その苦手ジャンルを補正候補ジャンルに追加し(ステップS11)、ステップS12に処理を移動する。
また、ステップS05において、得意ジャンルと苦手ジャンルのレベルが同じであると判断されると、ステップS12に処理を移動する。
次に、ステップS12において、補正候補ジャンルが存在するか否か判断する(ステップS12)。補正候補ジャンルが存在しないと判断されると、補正候補ジャンルなしとして処理される(ステップS13)。
補正候補ジャンルが存在すると判断されると、補正候補ジャンルが2つ存在するか否か判断する(ステップS14)。
補正候補ジャンルが2つ存在する場合には、2つのジャンルのうち、予め定めた優先順位、例えば、ジャンルIDの若い方のジャンルを補正対象ジャンルとして出力する(ステップS15)。
補正候補ジャンルがひとつしか存在しない場合には、そのジャンルを補正対象ジャンルとして出力する(ステップS16)。
以上のようにして、補正対象ジャンルを決定する。
なお、上述した補正対象ジャンルの決定処理は一例であって、これとは異なる補正対象ジャンルの決定処理であってもよい。
(チームによるジャンル補正時の画面表示)
本実施形態のゲームシステムにおけるチームによるジャンル補正時の画面表示について、図11を用いて説明する。
対戦する2人のプレーヤーによるログイン処理及びマッチング処理が完了すると、マスター側ゲーム装置12のディスプレイモニタ34に、ジャンル選択画面を表示するが、本実施形態では、チームによるジャンル補正に伴い、特徴的なジャンル選択画面となる。
図11は本実施形態のゲームシステムにおける、○○○さんと△△△さんが対戦する対戦ゲームのジャンル選択画面の一例である。図11(a)、(b)は、○○○さん側のジャンル選択画面であり、図11(c)は△△△さん側のジャンル選択画面である。
図11(a)は、チームによるジャンル補正がない状態での○○○さん側のジャンル選択画面である。
図11(a)のジャンル選択画面には、中央に、クイズのジャンル(自然科学ジャンル、言語・文学ジャンル、歴史・地理・社会ジャンル、エンターテイメントジャンル、漫画・アニメ・ゲームジャンル、スポーツジャンル、ファッション・グルメジャンル、趣味・雑学ジャンル)と、各ジャンルの自分のレベルと、レベルの比較結果と、対戦相手のレベルと、セレクト問題数とが表示されている。
レベルの比較結果は、「優勢」「互角」「劣勢」なる文字と、「>」「=」「<」なる記号で表される。セレクト問題数は、「優勢」の場合は4問、「互角」の場合は3問、「劣勢」の場合は2問となる。
図11(a)の、チームによるジャンル補正がない状態での○○○さん側のジャンル選択画面では次のように表示されている。
自然科学ジャンルでは、自己の「レベル3」に対して対戦相手も「レベル3」であるから、比較結果は「互角」「=」となり、セレクト問題数は「3問」となる。
言語・文学ジャンルでは、自己の「レベル3」に対して対戦相手は「レベル4」であるから、比較結果は「劣勢」「<」となり、セレクト問題数は「2問」となる。
歴史・地理・社会ジャンルでは、自己の「レベル2」に対して対戦相手は「レベル3」であるから、比較結果は「劣勢」「<」となり、セレクト問題数は「2問」となる。
エンターテイメントジャンルでは、自己の「レベル2」に対して対戦相手は「レベル3」であるから、比較結果は「劣勢」「<」となり、セレクト問題数は「2問」となる。
漫画・アニメ・ゲームジャンルでは、自己の「レベル3」に対して対戦相手は「レベル3」であるから、比較結果は「互角」「=」となり、セレクト問題数は「3問」となる。
スポーツジャンルでは、自己の「レベル3」に対して対戦相手は「レベル2」であるから、比較結果は「優勢」「>」となり、セレクト問題数は「4問」となる。
ファッション・グルメジャンルでは、自己の「レベル3」に対して対戦相手は「レベル2」であるから、比較結果は「優勢」「>」となり、セレクト問題数は「4問」となる。
趣味・雑学ジャンルでは、自己の「レベル2」に対して対戦相手は「レベル3」であるから、比較結果は「劣勢」「<」となり、セレクト問題数は「2問」となる。
ジャンル選択画面の左側には、○○○さん側の情報が表示される。図11(a)では、所属チーム名(○○チーム)、プレーヤー名(○○○)、段位(アンサー8級)、登録店舗名(○○○ショールーム1)、得意ジャンル(自然科学)が表示される。
ジャンル選択画面の右側には、対戦相手の△△△さん側の情報が表示される。図11(b)では、プレーヤー名(△△△)、段位(アンサー9級)、登録店舗名(○○○ショールーム2)、得意ジャンル(語学・文学)が表示される。チームに所属していないので、所属チーム名は表示されない。
ここで、「苦手ジャンル」である趣味・雑学ジャンルが、他のチームメンバーの成績によりジャンル補正され、本来「レベル2」であったものが1レベルアップして「レベル3」に補正されたとする。
ジャンル補正されたときは、図11(a)のジャンル選択画面の領域Aが、図11(b)のように表示される。図11(b)は、チームによるジャンル補正された状態での○○○さん側のジャンル選択画面の領域Aである。
趣味・雑学ジャンルでは、自己のレベルが「レベル2+1」と1レベルアップされたことがわかるように表示される。対戦相手のレベルは「レベル3」であるから、比較結果は「対等」「=」となり、セレクト問題数は「3問」となる。
図11(c)は、チームにより○○○さんがジャンル補正された状態での対戦相手である△△△さん側のジャンル選択画面の領域Aである。
△△△さん側のジャンル選択画面であるので、図11(c)に示すように、ジャンル選択画面の左側に△△△さん側の情報が表示され、ジャンル選択画面の右側に○○○さん側の情報が表示される。
図11(c)に示すように、ジャンル選択画面の領域Aの左側に、△△△さんの得意ジャンル(語学・文学)が表示され、右側に、○○○さんの得意ジャンル(自然科学)が表示される。
そして、ジャンル選択画面の領域A中央の趣味・雑学ジャンルでは、自己(△△△さん)のレベルが「レベル3」と表示され、対戦相手(○○○さん)のレベルも「レベル3」と表示され、比較結果は「対等」「=」と、セレクト問題数は「3問」と表示される。
対戦相手(○○○さん)の「レベル3」は、本来「レベル2」であったものが1レベルアップして「レベル3」に補正されたものであるが、△△△さん側のジャンル選択画面にはレベルアップされたことがわからないように表示される。
これにより、○○○さんの対戦相手の△△△さんは、○○○さんの趣味・雑学のレベルが高いと誤解し、対戦相手から苦手ジャンルを選択されることを抑制することができる。
[第2の実施形態(他の対戦ゲーム)]
本発明の第2の実施形態によるゲームシステムについて説明する。
本実施形態のゲームシステムは、第1の実施形態と同様に、全国のアミューズメント施設内に設置されたゲーム装置がインターネットを介して接続され、地域的に離れたプレーヤー同士であっても対戦ゲームを行うことができるように構成されている。
本実施形態のゲームシステムの基本構成は、第1の実施形態のゲームシステムと同様であるが、第1実施形態では対戦ゲームがクイズゲームであるのに対し、本実施形態では対戦ゲームのカテゴリーが異なる。
第1実施形態のように、対戦ゲームのカテゴリーがクイズゲームの場合には、対戦条件は、複数あるクイズのジャンルからどのジャンルを選択するかにより決定される。苦手/得意は、クイズのジャンル毎の成績により決定される。
本実施形態における対戦ゲームのカテゴリーは、クイズゲーム以外の対戦ゲーム、すなわち、レースゲーム、格闘ゲーム、ミニゲーム、麻雀ゲーム、テトリスゲーム等である。
(第1具体例:レースゲーム)
本実施形態の第1具体例として、対戦ゲームのカテゴリーがレースゲームの場合について、図12乃至図16を用いて説明する。図12は本具体例のメンバーズカードのデータテーブルを示し、図13は本具体例の対戦ゲーム処理を示すフローチャートであり、図14乃至図16は本具体例の対戦ゲーム処理のゲーム画面を示すである。
本具体例のレースゲームは、遊戯者が自動車等を操縦して他の遊戯者と順位を競い合うゲームである。
レースゲームでは、そのレースを実行する様々なコースを設定する。コースを選択することが対戦条件を選択することになる。
本具体例において、選択できるコースは、例えば、秋名湖コース、妙義コース、秋名コース、いろは坂コース、筑波コース、八方ヶ原コースである。
レースを実行するコースは、コース距離が長いか短いか中位か、カーブが多いか少ないか中位か、コースの道幅が広いか狭いか中位か、上り坂が多いか少ないか中位か、下り坂が多いか少ないか中位か、等々の対戦条件が異なる。
遊戯者には、例えば、距離が長いコースが得意な者や、カーブが多いコースが得意な者等がいる。このように、遊戯者は、レースを実行するコースの対戦条件により得手不得手がある。ゲーム成績の低いコースは「苦手コース」であり、ゲーム成績の良いコースは「得意コース」である。
レースゲームの対戦時に、互いに自分の「苦手コース」「得意コース」を表示する。本実施形態では、そのような「苦手コース」「得意コース」の表示を、例えば、チームメンバーの成績等に基づいて補正し、自己の「苦手コース」又は「得意コース」の表示を隠蔽する。
(メンバーズカードのデータテーブル)
本具体例のメンバーズカードのデータテーブルを図12に示す。なお、ゲームシステムのサーバ又はゲーム装置に格納されるプレーヤーデータテーブルも同様である。
本実施形態のゲームシステムでは、プレーヤーはメンバーズカード16を読み取らせて、クイズゲームに参加する。メンバーズカード16であるICカードには、図12に示すデータテーブルが格納されている。
メンバーズカードのデータテーブルは、次の各欄により構成されている。
1.メンバーズカードを発行した店舗情報を示す「店舗ID」欄
2.プレーヤーに割当てられたユーザーID情報を示す「UID」欄
3.プレーヤーの名前を示す「名前」欄
4.プレーヤーのニックネームを示す「ニックネーム」欄
5.プレーヤーが選択したキャラクタを示す「選択キャラクタ」欄
6.プレーヤーが参加しているチーム情報を示す「チームID」欄
7.ゲームの各コースのレベルを示す「レベル」欄
8.プレーヤーのプレー履歴を示す「プレー履歴」欄
9.プレーヤーが所有する苦手隠しアイテムを示す「苦手隠しアイテム」欄
7.「レベル」欄は、コース別の次の各「レベル」欄により構成されている。
71.プレーヤーの秋名湖コースに対する能力を示す「秋名湖コースのレベル」欄
72.プレーヤーの妙義コースに対する能力を示す「妙義コースのレベル」欄
73.プレーヤーの赤城コースに対する能力を示す「赤城コースのレベル」欄
74.プレーヤーの秋名コースに対する能力を示す「秋名コースのレベル」欄
75.プレーヤーのいろは坂コースに対する能力を示す「いろは坂コースのレベル」欄
76.プレーヤーの筑波コースに対する能力を示す「筑波コースのレベル」欄
77.プレーヤーの八方ヶ原コースに対する能力を示す「八方ヶ原コースのレベル」欄
例えば、対戦するプレーヤーのプレーヤーデータテーブルにおける「レベル」欄を比較して「苦手コース」「得意コース」と判断する。
(対戦ゲーム処理)
本具体例によるゲームシステムにおける対戦ゲーム処理について図13のフローチャートを用いて説明する。
図13のフローチャートでは、マスター側プレーヤーの動作、マスター側ゲーム装置12の処理、サーバ30の処理、スレーブ側ゲーム装置12の処理、スレーブ側プレーヤーの動作と共に、それらの処理間の関係も示している。
本実施形態による対戦ゲーム処理の概要について説明する。2人のプレーヤーにより対戦形式でレースゲームを行う。対戦する2台のゲーム装置12の一方をマスター、他方をスレーブと定めている。
まず、マスター側プレーヤーは、マスター側ゲーム装置12のICカードI/F(インターフェース)18にメンバーズカード16を挿入する(ステップA01)。マスター側ゲーム装置12は、挿入されたメンバーズカード16の識別情報に基づいて、サーバ30に対戦リクエストを送信する(ステップB01)。
一方、スレーブ側プレーヤーは、スレーブ側ゲーム装置12のICカードI/F(インターフェース)18にメンバーズカード16を挿入する(ステップE01)。スレーブ側ゲーム装置12は、挿入されたメンバーズカード16の識別情報に基づいて、サーバ30に対戦リクエストを送信する(ステップD01)。
サーバ30は、マスター側プレーヤーとスレーブ側プレーヤーからの対戦リクエストに基づいて、両者をマッチングして、対戦を決定する(ステップC01)。
サーバ30は、所定のルールに基づいて、対戦する両プレーヤーの一方にコース選択権を与える決定をする(ステップC02)。所定のルールとしては、例えば、ゲームシステムへのログオン時刻の早いプレーヤーにコース選択権を与える、ランダムなくじ引きにより選ばれたプレーヤーにコース選択権を与える、等がある。
サーバ30のコース選択権決定に基づいて、マスター側ゲーム装置12のディスプレイモニタ34に、図14に示すような、コース選択用画面の原画面を表示する(ステップB02)。同様に、スレーブ側ゲーム装置12のディスプレイモニタ34にもコース選択用画面の原画面(図示せず)を表示する(ステップD02)。
コース選択用画面の原画面とは、後述する苦手隠蔽処理、すなわち、苦手な成績を偽装して表示する成績偽装処理が行われる前のコース選択用のゲーム画面である。
図14に示すように、ゲーム画面右側には、レースコース選択用の「秋名湖コース選択ボタン」「妙義コース選択ボタン」「赤城コース選択ボタン」「秋名コース選択ボタン」「いろは坂コース選択ボタン」「筑波コース選択ボタン」「八方ヶ原コース選択ボタン」が設けられている。
ゲーム画面中央には、選択されたレースコースの詳細が示され、ゲーム画面下部には、選択されてレースコースでの対戦プレーヤーのレベルが星印により示されている。図14では、選択された秋名湖コースの詳細と、秋名湖コースでの自分のレベル(☆☆)と、対戦プレーヤーのレベル(☆☆☆)が示されている。秋名湖コースは苦手コースであることがわかる。
図13のフローチャートでは、スレーブ側プレーヤーにコース選択権が与えられる。本具体例では、コース選択権が与えられなかったマスター側プレーヤーが苦手隠し処理を行うことができる。
マスター側ゲーム装置12は、サーバ30に記録されたチーム情報(ステップC03)や、ICカードに記録された苦手隠しアイテム(ステップA02)等に基づいて、マスター側プレーヤーが苦手隠し条件を満足しているかどうか判定する(ステップB03)。
苦手隠し条件の判定には、例えば、第1実施形態のようにサーバ30に格納されたチーム情報に基づいて判定する方式や、マスター側プレーヤーが苦手隠しアイテムを保持しているかに基づいて判定する方式等がある。苦手隠しアイテムは、例えば、ゲーム実行中に獲得又は購入できる特殊なアイテムである。獲得又は購入された苦手隠しアイテムは、メンバーズカード16に記録される(図12参照)。
ステップB03の苦手隠し条件の判定結果にもとづいて、マスター側ゲーム装置12において苦手隠蔽有りの処理又は苦手隠蔽無しの処理を行い(ステップB04)、処理済みのコース選択画面をディスプレイモニタ34に表示する(ステップB05)。
また、スレーブ側ゲーム装置12においても苦手隠蔽有りの処理又は苦手隠蔽無しの処理を行い(ステップD04)、処理済みのコース選択画面をディスプレイモニタ34に表示する(ステップD05)。
図15及び図16のゲーム画面は、マスター側プレーヤーが苦手隠し条件を満足していると判断され、苦手隠蔽処理が行われたコース選択画面である。図15のゲーム画面は、成績偽装により苦手隠蔽したマスター側プレーヤーに対するコース選択画面であり、図16のゲーム画面は、成績偽装により苦手隠蔽されたスレーブ側プレーヤーに対するコース選択画面である。
図14に示すマスター側プレーヤーに対するコース選択の原画面では、プレーヤーのレベルが「☆☆」、対戦プレーヤーのレベルが「☆☆☆」と表示されていたが、図15に示すマスター側プレーヤーに対する苦手隠蔽処理後のコース選択画面では、プレーヤーのレベルは「☆☆+☆☆☆」、対戦プレーヤーのレベルが「☆☆☆」と表示され、プレーヤーのレベルに3つの☆☆☆が加えられ、自らが偽装表示して本当の成績を隠蔽したレベルであることがわかるように表示されている。
スレーブ側プレーヤーに対する苦手隠蔽処理後のコース選択画面では、図16に示すように、プレーヤーのレベルは「☆☆☆」、対戦プレーヤーのレベルが「☆☆☆☆☆」と表示される。本当は「☆☆」である対戦プレーヤーのレベルが「☆☆☆☆☆」と変更され、対戦プレーヤーの成績が偽装され、苦手であることが隠蔽されている。
次に、スレーブ側プレーヤーによるコース選択操作(ステップE02)に基づいて、マスター側ゲーム装置12、サーバ30、スレーブ側ゲーム装置12において、選択コースを決定する(ステップB06、ステップC04、ステップD05)。
次に、マスター側プレーヤーによるレースゲーム操作(ステップA03)及びスレーブ側プレーヤーによるレースゲーム操作(ステップE03)に基づいて、マスター側ゲーム装置12、サーバ30、スレーブ側ゲーム装置12において、レースゲームが実行され(ステップB07、ステップC05、ステップD07)、レース結果が保存される(ステップB08、ステップC06、ステップD08)。
(第2具体例:格闘ゲーム)
本実施形態の第2具体例として、対戦ゲームのカテゴリーが格闘ゲームの場合について、図17乃至図21を用いて説明する。図17は本具体例のメンバーズカードのデータテーブルを示し、図18は本具体例の対戦ゲーム処理を示すフローチャートであり、図19乃至図21は本具体例の対戦ゲーム処理のゲーム画面を示すである。
本具体例の格闘ゲームは、遊戯者がコントローラを操作してキャラクタ同士を戦わせるゲームである。
格闘ゲームでは、そのファイトを行う様々なステージを設定する。ステージを選択することが対戦条件を選択することになる。
本具体例において、選択できるステージは、例えば、ARENEステージ、GREAT WALLステージ、CASTLEステージ、CAVEステージ、GYMNASIUMステージ、GARDENステージ、HARBORステージ、SHRINEステージ、CITYステージ、COLOSSEUMステージ、AQUARIUMステージ、ISLANDステージ、TEMPLEステージ、HANGERステージである。
ファイトを行うステージは、ステージが広いか普通か狭いか、ステージを囲う壁があるかないか、その壁が高いか普通か低いか、その壁が破壊可能か破壊不可能か、ステージの形状が正方形か長方形か円形か、ステージが平坦か傾斜しているか、等々の対戦条件が異なる。
例えば、破壊不可能な壁に囲われたステージの場合には、ファイト中にリングアウトとなることはない。破壊可能な壁に囲われたステージの場合には、壁がある間はファイト中にリングアウトとなることはないが、壁が破壊されるとリングアウトとなることがある。壁で囲われていないステージの場合には、常にリングアウトがありうる。このように、壁の有無や、壁が破壊可能か不可能かにより、勝利条件や対戦環境が異なる。
また、高い壁に囲われたステージの場合には、空中リングアウトが起こりにくい、壁を登れるキャラクタであれば高い壁を利用した必殺技を使いことができる、等の勝利条件や対戦環境が異なる。
一方、低い壁に囲われたステージの場合には、空中リングアウトが起こりやすい、特定の技で相手キャラクタに低い壁を乗り越えさせてリングアウト勝ちできる、等の勝利条件や対戦環境が異なる。
また、傾斜したステージの場合には、高い方から低い方に攻撃することにより攻撃力が上がる技を使える、等の勝利条件や対戦環境が異なる。
遊戯者には、例えば、広いステージが得意な者や、破壊可能な壁で囲われたステージが得意な者、円形ステージが得意な者等がいる。このように、遊戯者は、ファイトを行うステージにより得手不得手がある。ゲーム成績の低いステージは「苦手ステージ」であり、ゲーム成績の良いステージは「得意ステージ」である。
格闘ゲームの対戦時に、互いに自分の「苦手ステージ」「得意ステージ」を表示する。本実施形態では、そのような「苦手ステージ」「得意ステージ」の表示を、例えば、チームメンバーの成績等に基づいて補正し、自己の「苦手ステージ」又は「得意ステージ」の表示を隠蔽する。
なお、上述した格闘ゲームでは、ステージの選択により対戦条件を選択したが、キャラクタにより技の種類や性能が異なるので、対戦キャラクタの相違が対戦条件の相違となる場合もあり、その場合にはキャラクタの選択が対戦条件の選択となりうる。
(メンバーズカードのデータテーブル)
本具体例のメンバーズカードのデータテーブルを図17に示す。なお、ゲームシステムのサーバ又はゲーム装置に格納されるプレーヤーデータテーブルも同様である。
本実施形態のゲームシステムでは、プレーヤーはメンバーズカード16を読み取らせて、クイズゲームに参加する。メンバーズカード16であるICカードには、図17に示すデータテーブルが格納されている。
メンバーズカードのデータテーブルは、次の各欄により構成されている。
1.メンバーズカードを発行した店舗情報を示す「店舗ID」欄
2.プレーヤーに割当てられたユーザーID情報を示す「UID」欄
3.プレーヤーの名前を示す「名前」欄
4.プレーヤーのニックネームを示す「ニックネーム」欄
5.プレーヤーが選択したキャラクタを示す「選択キャラクタ」欄
6.プレーヤーが参加しているチーム情報を示す「チームID」欄
7.ゲームの各ステージのレベルを示す「レベル」欄
8.プレーヤーのプレー履歴を示す「プレー履歴」欄
9.プレーヤーが所有する苦手隠しアイテムを示す「苦手隠しアイテム」欄
7.「レベル」欄は、ステージ別の次の各「レベル」欄により構成されている。
71.プレーヤーのARENAステージに対する能力を示す「ARENAステージのレベル」欄
72.プレーヤーのGREAT WALLステージに対する能力を示す「GREAT WALLステージのレベル」欄
73.プレーヤーのCASTLEステージに対する能力を示す「CASTLEステージのレベル」欄

714.プレーヤーのHANGERステージに対する能力を示す「HANGERステージのレベル」欄
例えば、対戦するプレーヤーのプレーヤーデータテーブルにおける「レベル」欄を比較して「苦手ステージ」「得意ステージ」と判断する。
(対戦ゲーム処理)
本具体例によるゲームシステムにおける対戦ゲーム処理について図18のフローチャートを用いて説明する。
図18のフローチャートでは、マスター側プレーヤーの動作、マスター側ゲーム装置12の処理、サーバ30の処理、スレーブ側ゲーム装置12の処理、スレーブ側プレーヤーの動作と共に、それらの処理間の関係も示している。
本実施形態による対戦ゲーム処理の概要について説明する。2人のプレーヤーにより対戦形式で格闘ゲームを行う。対戦する2台のゲーム装置12の一方をマスター、他方をスレーブと定めている。
まず、スレーブ側プレーヤーがスレーブ側ゲーム装置12のICカードI/F(インターフェース)18にメンバーズカード16を挿入する(ステップE11)。スレーブ側ゲーム装置12は、挿入されたメンバーズカード16の識別情報に基づいて、サーバ30に対戦リクエストを送信し、相手プレーヤー待ち状態となる(ステップD11)。
次に、マスター側プレーヤーがマスター側ゲーム装置12のICカードI/F(インターフェース)18にメンバーズカード16を挿入する(ステップA11)。マスター側ゲーム装置12は、挿入されたメンバーズカード16の識別情報に基づいて、サーバ30に対戦リクエストを送信し、格闘ステージに乱入する(ステップB11)。この格闘ゲームでは、乱入した側がステージ選択権を有する。
サーバ30は、対戦する両プレーヤーの各ステージのレベルを比較し、ステージ得意度を演算する(ステップC12)。
サーバ30のステージ得意度の演算に基づいて、マスター側ゲーム装置12のディスプレイモニタ34に、図19に示すような、ステージ選択用画面の原画面を表示する(ステップB12)。同様に、スレーブ側ゲーム装置12のディスプレイモニタ34にも、ステージ選択用画面の原画面(図示せず)を表示する(ステップD12)。
ステージ選択用画面の原画面とは、後述する苦手隠蔽処理が行われる前のステージ選択用のゲーム画面である。
図19に示すように、ゲーム画面左側には、格闘ステージ選択用の「ARENEステージ選択ボタン」「GREAT WALLステージ選択ボタン」「CASTLEステージ選択ボタン」「CAVEステージ選択ボタン」「GYMNASIUMステージ選択ボタン」「GARDENステージ選択ボタン」「HARBORステージ選択ボタン」「SHRINEステージ選択ボタン」「CITYステージ選択ボタン」「COLOSSEUMステージ選択ボタン」「AQUARIUMステージ選択ボタン」「ISLANDステージ選択ボタン」「TEMPLEステージ選択ボタン」「HANGERステージ選択ボタン」が表示されている。
各選択ボタンの上側にはそのステージでの自分のレベルが表示され、下側にはそのステージでの対戦プレーヤーのレベルが表示されている。
例えば、「ARENAステージ」では、自分のレベルとして1個の星「☆」が示され、対戦プレーヤーのレベルとして4個の星「☆☆☆☆」が示されている。「ARENAステージ」は苦手ステージであることがわかる。
ゲーム画面右側には、図19に示すように、選択ボタンで選択されたステージの詳細が示される。
次に、マスター側プレーヤーとスレーブ側プレーヤーの両者に対して、苦手隠し条件の判定が行われる。
マスター側ゲーム装置12は、サーバ30に記録されたチーム情報(ステップC13)や、ICカードに記録された苦手隠しアイテム(ステップA12)等に基づいて、マスター側プレーヤーが苦手隠し条件を満足しているかどうか判定する(ステップB13)。
スレーブ側ゲーム装置12は、サーバ30に記録されたチーム情報(ステップC13)や、ICカードに記録された苦手隠しアイテム(ステップE12)等に基づいて、スレーブ側プレーヤーが苦手隠し条件を満足しているかどうか判定する(ステップD13)。
苦手隠し条件の判定には、例えば、第1実施形態のようにサーバ30に格納されたチーム情報に基づいて判定する方式や、マスター側プレーヤーが苦手隠しアイテムを保持しているかに基づいて判定する方式等がある。苦手隠しアイテムは、例えば、ゲーム実行中に獲得又は購入できる特殊なアイテムである。獲得又は購入された苦手隠しアイテムは、メンバーズカード16に記録される(図17参照)。
マスター側ゲーム装置12は、ステップB13の苦手隠し条件の判定結果にもとづいて、苦手隠しステージを選択し(ステップB14),苦手隠蔽有りの処理又は苦手隠蔽無しの処理を行い(ステップB15)、処理済みのステージ選択画面をディスプレイモニタ34に表示する(ステップB16)。
同様に、スレーブ側ゲーム装置12は、ステップD13の苦手隠し条件の判定結果にもとづいて、苦手隠しステージを選択し(ステップD14),苦手隠蔽有りの処理又は苦手隠蔽無しの処理を行い(ステップD15)、処理済みのステージ選択画面をディスプレイモニタ34に表示する(ステップD16)。
図20及び図21のゲーム画面は、マスター側プレーヤーが苦手隠し条件を満足していると判断され、苦手隠蔽処理が行われたステージ選択画面である。図20のゲーム画面は、苦手隠蔽したマスター側プレーヤーに対するステージ選択画面であり、図21のゲーム画面は、苦手隠蔽されたスレーブ側プレーヤーに対するステージ選択画面である。
図19に示すマスター側プレーヤーに対するステージ選択の原画面では、選択ボタン「ARENAステージ」の上側に表示されたプレーヤーのレベルが「☆」、下側に表示された対戦プレーヤーのレベルが「☆☆☆☆」と表示されていたが、図20に示すマスター側プレーヤーに対する苦手隠蔽処理後のステージ選択画面では、選択ボタン「ARENAステージ」の上側に表示されたプレーヤーのレベルは「☆+☆☆☆」、下側に表示された対戦プレーヤーのレベルが「☆☆☆☆」と表示され、プレーヤーのレベルに3つの☆☆☆が加えられ、自らが隠蔽したレベルであることがわかるように表示されている。
スレーブ側プレーヤーに対する苦手隠蔽処理後のステージ選択画面では、図21に示すように、選択ボタン「ARENAステージ」の上側に表示されたスレーブ側プレーヤーのレベルは「☆☆☆☆」、下側に表示された対戦プレーヤー(マスター側プレーヤー)のレベルが「☆☆☆☆」と表示される。本当は「☆」である対戦プレーヤーのレベルが「☆☆☆☆」と変更され、マスター側プレーヤーである対戦プレーヤーの苦手が隠蔽されている。
次に、マスター側プレーヤーによるステージ選択操作(ステップA13)に基づいて、マスター側ゲーム装置12、サーバ30、スレーブ側ゲーム装置12において、選択ステージを決定する(ステップB17、ステップC14、ステップD17)。
次に、マスター側プレーヤーによる格闘ゲーム操作(ステップA14)及びスレーブ側プレーヤーによる格闘ゲーム操作(ステップE14)に基づいて、マスター側ゲーム装置12、サーバ30、スレーブ側ゲーム装置12において、格闘ゲームが実行され(ステップB18、ステップC15、ステップD18)、レース結果が保存される(ステップB19、ステップC16、ステップD19)。
(第3具体例:ミニゲーム)
本実施形態の第3具体例として、対戦ゲームのカテゴリーがミニゲーム集の場合について、図22乃至図26を用いて説明する。図22は本具体例のメンバーズカードのデータテーブルを示し、図23は本具体例の対戦ゲーム処理を示すフローチャートであり、図24乃至図26は本具体例の対戦ゲーム処理のゲーム画面を示すである。
本実施形態のミニゲーム集は、遊戯者がコントローラを操作して様々なミニゲームで戦うゲームである。
ミニゲーム集では、実行するミニゲームを決定する。どのミニゲームを選択するかが対戦条件を選択することになる。
本具体例において、選択できるミニゲームは、例えば、図形認識ミニゲーム、数字並べ替えミニゲーム、ボタン操作速度ミニゲーム、ボタン操作正確度ミニゲームである。
ミニゲームは、どのような種類のミニゲームか、ボタン操作速度が重視されるミニゲームか否か、ボタン操作正確度が重視されるミニゲームか否か、等々の対戦条件が異なる。
遊戯者には、例えば、ボタンを高速で操作することが得意な者や、ボタンを正確に操作することが得意な者等がいる。このように、遊戯者は、ミニゲームの種類により得手不得手がある。ゲーム成績の低いミニゲームは「苦手ミニゲーム」であり、ゲーム成績の良いミニゲームは「得意ミニゲーム」である。
ゲーム対戦時に、互いに自分の「苦手ミニゲーム」「得意ミニゲーム」を表示する。本実施形態では、そのような「苦手ミニゲーム」「得意ミニゲーム」の表示を、例えば、チームメンバーの成績等に基づいて補正し、自己の「苦手ミニゲーム」又は「得意ミニゲーム」の表示を隠蔽する。
(メンバーズカードのデータテーブル)
本具体例のメンバーズカードのデータテーブルを図22に示す。なお、ゲームシステムのサーバ又はゲーム装置に格納されるプレーヤーデータテーブルも同様である。
本実施形態のゲームシステムでは、プレーヤーはメンバーズカード16を読み取らせて、クイズゲームに参加する。メンバーズカード16であるICカードには、図22に示すデータテーブルが格納されている。
メンバーズカードのデータテーブルは、次の各欄により構成されている。
1.メンバーズカードを発行した店舗情報を示す「店舗ID」欄
2.プレーヤーに割当てられたユーザーID情報を示す「UID」欄
3.プレーヤーの名前を示す「名前」欄
4.プレーヤーのニックネームを示す「ニックネーム」欄
5.プレーヤーが選択したキャラクタを示す「選択キャラクタ」欄
6.プレーヤーが参加しているチーム情報を示す「チームID」欄
7.ゲームの各ミニゲームのレベルを示す「レベル」欄
8.プレーヤーのプレー履歴を示す「プレー履歴」欄
9.プレーヤーが所有する苦手隠しアイテムを示す「苦手隠しアイテム」欄
7.「レベル」欄は、ミニゲーム別の次の各「レベル」欄により構成されている。
71.プレーヤーの図形認識ミニゲームに対する能力を示す「図形認識ミニゲームのレベル」欄
72.プレーヤーの数字並べ替えミニゲームに対する能力を示す「数字並べ替えミニゲームのレベル」欄
73.プレーヤーのボタン操作速度ミニゲームに対する能力を示す「ボタン操作速度ミニゲームのレベル」欄
74.プレーヤーのボラン操作正確度ミニゲームに対する能力を示す「ボタン操作正確度ミニゲームのレベル」欄
例えば、対戦するプレーヤーのプレーヤーデータテーブルにおける「レベル」欄を比較して「苦手ミニゲーム」「得意ミニゲーム」と判断する。
(対戦ゲーム処理)
本具体例によるゲームシステムにおける対戦ゲーム処理について図23のフローチャートを用いて説明する。
図23のフローチャートでは、マスター側プレーヤーの動作、マスター側ゲーム装置12の処理、サーバ30の処理、スレーブ側ゲーム装置12の処理、スレーブ側プレーヤーの動作と共に、それらの処理間の関係も示している。
本実施形態による対戦ゲーム処理の概要について説明する。2人のプレーヤーにより対戦形式で格闘ゲームを行う。対戦する2台のゲーム装置12の一方をマスター、他方をスレーブと定めている。
まず、マスター側プレーヤーがマスター側ゲーム装置12のICカードI/F(インターフェース)18にメンバーズカード16を挿入する(ステップA21)。マスター側ゲーム装置12は、挿入されたメンバーズカード16の識別情報に基づいて、サーバ30に対戦リクエストを送信する(ステップB21)。
一方、スレーブ側プレーヤーがスレーブ側ゲーム装置12のICカードI/F(インターフェース)18にメンバーズカード16を挿入する(ステップE21)。スレーブ側ゲーム装置12は、挿入されたメンバーズカード16の識別情報に基づいて、サーバ30に対戦リクエストを送信する(ステップD21)。
サーバ30は、マスター側プレーヤーとスレーブ側プレーヤーからの対戦リクエストに基づいて、両者をマッチングして、対戦を決定する(ステップC21)。ミニゲームの選択権は、マッチングされたマスター側プレーヤーとスレーブ側プレーヤーに交互に与えられる。
サーバ30は、対戦する両プレーヤーの各ミニゲームのレベルを比較し、ミニゲーム得意度を演算する(ステップC22)。
サーバ30のミニゲーム得意度の演算に基づいて、マスター側ゲーム装置12のディスプレイモニタ34に、図19に示すような、ミニゲーム選択用画面の原画面を表示する(ステップB22)。また、スレーブ側ゲーム装置12のディスプレイモニタ34にも、ミニゲーム選択用画面の原画面(図示せず)を表示する(ステップD22)。
ミニゲーム選択用画面の原画面とは、後述する苦手隠蔽処理が行われる前のミニゲーム選択用のゲーム画面である。
図24に示すように、ゲーム画面には、選択可能なミニゲーム選択用の4つの「選択ボタン」が2行2列で配置されている。
各選択ボタンの上側にはそのミニゲームでの自分のレベルが表示され、下側にはそのミニゲームでの対戦プレーヤーのレベルが表示されている。例えば、右上の「選択ボタン」では、自分のレベルとして1個の星「☆」が示され、対戦プレーヤーのレベルとして4個の星「☆☆☆☆」が示されている。右上の「選択ボタン」のミニゲームは苦手ミニゲームであることがわかる。
次に、マスター側プレーヤーとスレーブ側プレーヤーの両者に対して、苦手隠し条件の判定が行われる。
マスター側ゲーム装置12は、サーバ30に記録されたチーム情報(ステップC23)や、ICカードに記録された苦手隠しアイテム(ステップA22)等に基づいて、マスター側プレーヤーが苦手隠し条件を満足しているかどうか判定する(ステップB23)。
スレーブ側ゲーム装置12は、サーバ30に記録されたチーム情報(ステップC23)や、ICカードに記録された苦手隠しアイテム(ステップE22)等に基づいて、スレーブ側プレーヤーが苦手隠し条件を満足しているかどうか判定する(ステップD23)。
苦手隠し条件の判定には、例えば、第1実施形態のようにサーバ30に格納されたチーム情報に基づいて判定する方式や、マスター側プレーヤーが苦手隠しアイテムを保持しているかに基づいて判定する方式等がある。苦手隠しアイテムは、例えば、ゲーム実行中に獲得又は購入できる特殊なアイテムである。獲得又は購入された苦手隠しアイテムは、メンバーズカード16に記録される(図22参照)。
マスター側ゲーム装置12は、ステップB23の苦手隠し条件の判定結果にもとづいて、苦手隠しミニゲームを選択し(ステップB24),苦手隠蔽有りの処理又は苦手隠蔽無しの処理を行い(ステップB25)、処理済みのミニゲーム選択画面をディスプレイモニタ34に表示する(ステップB26)。
同様に、スレーブ側ゲーム装置12は、ステップD23の苦手隠し条件の判定結果にもとづいて、苦手隠しミニゲームを選択し(ステップD24),苦手隠蔽有りの処理又は苦手隠蔽無しの処理を行い(ステップD25)、処理済みのミニゲーム選択画面をディスプレイモニタ34に表示する(ステップD26)。
図25及び図26のゲーム画面は、マスター側プレーヤーが苦手隠し条件を満足していると判断され、苦手隠蔽処理が行われたミニゲーム選択画面である。図25のゲーム画面は、苦手隠蔽したマスター側プレーヤーに対するミニゲーム選択画面であり、図26のゲーム画面は、苦手隠蔽されたスレーブ側プレーヤーに対するミニゲーム選択画面である。
図24に示すマスター側プレーヤーに対するミニゲーム選択の原画面では、右上の「選択ボタン」の上側に表示されたマスター側プレーヤーのレベルが「☆」、下側に表示されたスレーブ側プレーヤーのレベルが「☆☆☆☆」と表示されていたが、図25に示すマスター側プレーヤーに対する苦手隠蔽処理後のミニゲーム選択画面では、右上の「選択ボタン」の上側に表示されたマスター側プレーヤーのレベルは「☆+☆☆☆」、下側に表示されたスレーブ側プレーヤーのレベルが「☆☆☆☆」と表示され、マスター側プレーヤーのレベルに3つの☆☆☆が加えられ、自らが隠蔽したレベルであることがわかるように表示されている。
スレーブ側プレーヤーに対する苦手隠蔽処理後のミニゲーム選択画面では、図26に示すように、右上の「選択ボタン」の上側に表示されたスレーブ側プレーヤーのレベルは「☆☆☆☆」、下側に表示されたマスター側プレーヤー(対戦プレーヤー)のレベルが「☆☆☆☆」と表示される。本当は「☆」であるマスター側プレーヤー(対戦プレーヤー)のレベルが「☆☆☆☆」と変更され、マスター側プレーヤー(対戦プレーヤー)の苦手が隠蔽されている。
次に、マスター側プレーヤーによる第1回ミニゲーム選択操作(ステップA23)に基づいて、マスター側ゲーム装置12、サーバ30、スレーブ側ゲーム装置12において、選択ミニゲームを決定する(ステップB27、ステップC24、ステップD27)。
次に、マスター側プレーヤーによるミニゲーム操作(ステップA24)及びスレーブ側プレーヤーによるミニゲーム操作(ステップE23)に基づいて、マスター側ゲーム装置12、サーバ30、スレーブ側ゲーム装置12において、ミニゲームが実行され(ステップB28、ステップC25、ステップD28)、ミニゲーム結果が保存される(ステップB29、ステップC26、ステップD29)。
次に、マスター側ゲーム装置12のディスプレイモニタ34に、図25に示す、処理済みのミニゲーム選択画面を表示し(ステップB30)、スレーブ側ゲーム装置12のディスプレイモニタ34に、図26に示す、処理済みのミニゲーム選択画面を表示する(ステップD30)。
次に、スレーブ側プレーヤーによる第2回ミニゲーム選択操作(ステップE24)に基づいて、マスター側ゲーム装置12、サーバ30、スレーブ側ゲーム装置12において、選択ミニゲームを決定する(ステップB31、ステップC27、ステップD31)。
次に、マスター側プレーヤーによるミニゲーム操作(ステップA25)及びスレーブ側プレーヤーによるミニゲーム操作(ステップE25)に基づいて、マスター側ゲーム装置12、サーバ30、スレーブ側ゲーム装置12において、ミニゲームが実行され(ステップB32、ステップC28、ステップD32)、ミニゲーム結果が保存される(ステップB33、ステップC29、ステップD33)。
以降、マスター側プレーヤーとスレーブ側プレーヤーが交互にミニゲームを選択して、ミニゲーム集の対戦ゲームを行う。
(第4具体例:麻雀ゲーム)
本実施形態の第4具体例として、対戦ゲームのカテゴリーが麻雀ゲームの場合について説明する。麻雀ゲームは、遊戯者がコントローラを操作して行う麻雀ゲームである。
麻雀ゲームではローカルルールの種類が多く、そのローカルルールの有無により勝率が左右される。したがって、例えば、特定のローカルルールの有無が対戦条件となる。
例えば、ローカル役(ダブル、トリプル役満等)を認めるか否か、イカサマ技やアイテムの使用可か不可か、四人打ちか三人打ちか、等のようなルールである。
遊戯者は、麻雀ゲームの対戦条件(ローカルルールの有無)により得手不得手がある。ゲーム成績の低いルールは「苦手ルール」であり、ゲーム成績の良いルールは「得意ルール」である。
麻雀ゲームの対戦時に、互いに自分の「苦手ルール」「得意ルール」を表示する。本実施形態では、そのような「苦手ルール」「得意ルール」の表示を、例えば、チームメンバーの成績等に基づいて表示しないようにし、自己の「苦手ルール」又は「得意ルール」の表示を隠蔽する。
[変形実施形態]
本発明は上記実施形態に限らず種々の変形が可能である。
例えば、上記実施形態では、アミューズメント施設内に設けられたゲーム装置がネットワークにより通信可能に接続されたゲームシステムを例として説明したが、本発明の原理は、ゲーム装置の代わりに、ネットワークを介してサーバと通信する手段を備えた家庭用ゲーム装置や、パーソナルコンピュータ、或いは、携帯電話、PHS、PDA等の携帯電話機等を用いてもよい。
また、上記実施形態では、プレーヤーが別々のゲーム装置を操作して対戦するゲームシステムを例として説明したが、2人のプレーヤーが同じゲーム装置を操作して対戦する場合のゲーム装置の制御について本発明を適用してもよい。すなわち、サーバを用いることなく、単体のゲーム装置に複数の入力部を設けて対戦する場合や、複数のゲーム装置を直接接続して対戦する場合に本発明を適用してもよい。
また、上記実施形態では、プレーヤーの識別のためにICカードを用いたが、磁気カード、定期券、Suicaカード、Edyカード、携帯電話等を用いてもよい。更に、プレーヤーを識別するものであれば、指紋や虹彩等の個人を識別する手段を用いてもよい。
また、上記実施形態では、2人のプレーヤーが1対1で対戦する対戦形式のゲームであったが、複数のプレーヤーがチームを組んで、チーム対チームで対戦する対戦形式のゲームであってもよい。
また、上記実施形態では、プレーヤーのジャンル毎のレベルをICカードやプレーヤーデータテーブルに格納し、そこから読み出したレベルに基づいて出題する問題を決定したが、ICカードやプレーヤーデータテーブルには、ジャンルポイントや正答率、正当誤答の生データ等を記録しておき、ICカード読み込み時や、プレーヤー同士の対戦時等、ゲーム進行にレベル情報が必要なときに、その都度所定の演算式により演算してレベルを決定してもよい。
また、本願発明における、各プレーヤーの各対戦条件におけるゲーム成績情報を各プレーヤー情報と関連づけて保存するゲーム成績情報保存手段や、対戦条件の選択時において各プレーヤーの各対戦条件におけるゲーム成績情報を表示手段のそれぞれに表示させるゲーム成績表示制御手段、ゲーム成績表示制御手段が各プレーヤーの各対戦条件におけるゲーム成績情報を各プレーヤーに対して表示させる際に一のプレーヤーが所定のゲーム成績偽装条件を満たしているか否かを判定し満たしている場合には当該一のプレーヤーのゲーム成績情報表示を他のプレーヤーに対して本来の成績とは異ならせて表示させるゲーム成績表示偽装手段は、それぞれ、マスター側ゲーム装置やスレーブ側ゲーム装置等のクライアント装置が有していてもよいし、サーバー装置が有していてもよい。
本発明の第1実施形態によるゲームシステムの外観を示す図である。 本発明の第1実施形態によるゲームシステムのブロック図である。 本発明の第1実施形態のゲームシステムにおけるゲーム装置のブロック図である。 本発明の第1実施形態のゲームシステムにおけるメンバーズカードデータテーブルを示す図である。 本発明の第1実施形態のゲームシステムにおけるチームデータテーブルを示す図である。 本発明の第1実施形態のゲームシステムのサーバ又はゲーム装置に格納されるプレーヤーデータテーブルを示す図である。 本発明の第1実施形態のゲームシステムのゲーム装置に格納される問題データベースを示す図である。 本発明の第1実施形態のゲームシステムにおけるチームによるジャンル補正を説明するための図である。 本発明の第1実施形態による補正対象ジャンルの決定処理を示すフローチャート(その1)である。 本発明の第1実施形態による補正対象ジャンルの決定処理を示すフローチャート(その2)である。 本発明の第1実施形態による対戦ゲーム処理でのゲーム画面を示す図である。 本発明の第2の実施形態によるゲームシステムの第1具体例のメンバーズカードのデータテーブルを示す図である。 本発明の第2の実施形態によるゲームシステムの第1具体例の対戦ゲーム処理のフローチャートを示す図である。 本発明の第2の実施形態によるゲームシステムの第1具体例の対戦ゲーム処理のゲーム画面(原画面)を示す図である。 本発明の第2の実施形態によるゲームシステムの第1具体例の対戦ゲーム処理のゲーム画面を示す図(その1)である。 本発明の第2の実施形態によるゲームシステムの第1具体例の対戦ゲーム処理のゲーム画面を示す図(その2)である。 本発明の第2の実施形態によるゲームシステムの第2具体例のメンバーズカードのデータテーブルを示す図である。 本発明の第2の実施形態によるゲームシステムの第2具体例の対戦ゲーム処理のフローチャートを示す図である。 本発明の第2の実施形態によるゲームシステムの第2具体例の対戦ゲーム処理のゲーム画面(原画面)を示す図である。 本発明の第2の実施形態によるゲームシステムの第2具体例の対戦ゲーム処理のゲーム画面を示す図(その1)である。 本発明の第2の実施形態によるゲームシステムの第2具体例の対戦ゲーム処理のゲーム画面を示す図(その2)である。 本発明の第2の実施形態によるゲームシステムの第3具体例のメンバーズカードのデータテーブルを示す図である。 本発明の第2の実施形態によるゲームシステムの第3具体例の対戦ゲーム処理のフローチャートを示す図である。 本発明の第2の実施形態によるゲームシステムの第3具体例の対戦ゲーム処理のゲーム画面(原画面)を示す図である。 本発明の第2の実施形態によるゲームシステムの第3具体例の対戦ゲーム処理のゲーム画面を示す図(その1)である。 本発明の第2の実施形態によるゲームシステムの第3具体例の対戦ゲーム処理のゲーム画面を示す図(その2)である。
符号の説明
10…アミューズメント施設
12…ゲーム装置
14…処理装置
15…ディスプレイモニタ
16…メンバーズカード
18…ICカードI/F
20…LAN
22…インターネット
24…タッチパネル
26…選択ボタン
28…実行ボタン
30…サーバ
32…筐体
34…ディスプレイモニタ
36…コイン投入部
38…携帯サーバ
39…携帯電話
40…CPU
42…システムメモリ
44…バスアービタ
46…プログラムデータ記憶装置又は記憶媒体
48…BOOTROM
50…レンダリングプロセッサ
52…グラフィックメモリ
56…サウンドプロセッサ
58…サウンドメモリ
60…スピーカ
62…通信インターフェース
64…モデム
66…ペリフェラルI/F
68…ペリフェラルI/F

Claims (3)

  1. 複数のプレーヤー毎に表示手段を有するゲーム装置において、予め用意された複数の対戦条件から選択された対戦条件に基づき複数のプレーヤーが対戦する対戦ゲームを実行するゲームシステムであって、
    各プレーヤーの各対戦条件におけるゲーム成績情報を各プレーヤー情報と関連づけて保存するゲーム成績情報保存手段と、
    前記対戦条件の選択時において、各プレーヤーの各対戦条件におけるゲーム成績情報を、前記表示手段のそれぞれに表示させるゲーム成績表示制御手段と、
    前記ゲーム成績表示制御手段が、各プレーヤーの各対戦条件におけるゲーム成績情報を各プレーヤーに対して表示させる際に、前記一のプレーヤーが所定のゲーム成績偽装条件を満たしているか否かを判定し、満たしている場合には、当該一のプレーヤーのゲーム成績情報表示を他のプレーヤーに対して、本来の成績とは異ならせて表示させるゲーム成績表示偽装手段と
    を有することを特徴とするゲームシステム。
  2. 請求項1記載のゲームシステムにおいて、
    前記ゲーム成績表示偽装手段は、
    前記ゲーム成績表示制御手段が、当該一のプレーヤーのゲーム成績を前記一のプレーヤーに対して表示する際には、表示偽装前のゲーム成績と共に、表示の偽装を行った旨の標示、又は、当該ゲーム成績に対する補正量を視覚的に表示させる
    ことを特徴とするゲームシステム。
  3. 複数のプレーヤー毎に表示手段を有するコンピュータにおいて、予め用意された複数の対戦条件から選択された対戦条件に基づき複数のプレーヤーが対戦する対戦ゲームを実行するゲームシステムとして当該コンピュータを機能させるプログラムであって、
    当該コンピュータに、
    各プレーヤーの各対戦条件におけるゲーム成績情報を各プレーヤー情報と関連づけて保存するゲーム成績情報保存処理、
    前記対戦条件の選択時において、各プレーヤーの各対戦条件におけるゲーム成績情報を、前記表示手段のそれぞれに表示させるゲーム成績表示制御処理、
    前記ゲーム成績表示制御手段が、各プレーヤーの各対戦条件におけるゲーム成績情報を各プレーヤーに対して表示させる際に、前記一のプレーヤーが所定のゲーム成績偽装条件を満たしているか否かを判定し、満たしている場合には、当該一のプレーヤーのゲーム成績情報表示を他のプレーヤーに対して、本来の成績とは異ならせて表示させるゲーム成績表示偽装処理、
    を実行させるためのプログラム。
JP2008158986A 2008-06-18 2008-06-18 ゲームシステム及びゲームプログラム、記録媒体 Active JP5403207B2 (ja)

Priority Applications (2)

Application Number Priority Date Filing Date Title
JP2008158986A JP5403207B2 (ja) 2008-06-18 2008-06-18 ゲームシステム及びゲームプログラム、記録媒体
PCT/JP2009/060924 WO2009154189A1 (ja) 2008-06-18 2009-06-16 ゲームシステム及びゲームプログラム

Applications Claiming Priority (1)

Application Number Priority Date Filing Date Title
JP2008158986A JP5403207B2 (ja) 2008-06-18 2008-06-18 ゲームシステム及びゲームプログラム、記録媒体

Publications (2)

Publication Number Publication Date
JP2010000115A true JP2010000115A (ja) 2010-01-07
JP5403207B2 JP5403207B2 (ja) 2014-01-29

Family

ID=41434105

Family Applications (1)

Application Number Title Priority Date Filing Date
JP2008158986A Active JP5403207B2 (ja) 2008-06-18 2008-06-18 ゲームシステム及びゲームプログラム、記録媒体

Country Status (2)

Country Link
JP (1) JP5403207B2 (ja)
WO (1) WO2009154189A1 (ja)

Cited By (4)

* Cited by examiner, † Cited by third party
Publication number Priority date Publication date Assignee Title
JP5671128B1 (ja) * 2013-12-18 2015-02-18 マツオカジャパン株式会社 管理システム及びタイマー
WO2016006654A1 (ja) * 2014-07-11 2016-01-14 株式会社コナミデジタルエンタテインメント ゲームシステム、及びコンピュータプログラム
JP2021106662A (ja) * 2019-12-27 2021-07-29 株式会社ポケモン 情報処理装置、方法、プログラム
JP2025012902A (ja) * 2023-07-14 2025-01-24 株式会社コナミアミューズメント ゲームシステム、ゲーム制御方法およびプログラム

Families Citing this family (1)

* Cited by examiner, † Cited by third party
Publication number Priority date Publication date Assignee Title
CN112843673B (zh) * 2020-12-28 2022-07-12 深圳前海有一网络科技有限公司 一种智能联网手游设备

Citations (4)

* Cited by examiner, † Cited by third party
Publication number Priority date Publication date Assignee Title
JP2000157719A (ja) * 1998-11-26 2000-06-13 Namco Ltd 情報記憶媒体及びゲーム装置
JP2002099867A (ja) * 2000-09-21 2002-04-05 Masayoshi Mase 役割別マルチシナリオ配信システム
JP2004261236A (ja) * 2003-02-20 2004-09-24 Konami Co Ltd ゲームシステム
JP2006239450A (ja) * 2006-05-11 2006-09-14 Konami Digital Entertainment:Kk ゲーム装置

Family Cites Families (2)

* Cited by examiner, † Cited by third party
Publication number Priority date Publication date Assignee Title
JP4683615B2 (ja) * 2005-01-14 2011-05-18 株式会社バンダイナムコゲームス ネットワークランキングシステム及びプログラム
JP5273900B2 (ja) * 2005-10-04 2013-08-28 任天堂株式会社 ゲームプログラム

Patent Citations (4)

* Cited by examiner, † Cited by third party
Publication number Priority date Publication date Assignee Title
JP2000157719A (ja) * 1998-11-26 2000-06-13 Namco Ltd 情報記憶媒体及びゲーム装置
JP2002099867A (ja) * 2000-09-21 2002-04-05 Masayoshi Mase 役割別マルチシナリオ配信システム
JP2004261236A (ja) * 2003-02-20 2004-09-24 Konami Co Ltd ゲームシステム
JP2006239450A (ja) * 2006-05-11 2006-09-14 Konami Digital Entertainment:Kk ゲーム装置

Non-Patent Citations (2)

* Cited by examiner, † Cited by third party
Title
"機動戦士ガンダム0083 カードビルダー", 月刊アルカディア, vol. 第8巻第6号, JPN6012064375, 1 June 2007 (2007-06-01), pages 46 - 55, ISSN: 0002405941 *
ポピュラス ザ・ビギニング 公式ガイド, vol. 初版, JPN6012064373, 7 July 1999 (1999-07-07), pages 228 - 230, ISSN: 0002405940 *

Cited By (8)

* Cited by examiner, † Cited by third party
Publication number Priority date Publication date Assignee Title
JP5671128B1 (ja) * 2013-12-18 2015-02-18 マツオカジャパン株式会社 管理システム及びタイマー
WO2016006654A1 (ja) * 2014-07-11 2016-01-14 株式会社コナミデジタルエンタテインメント ゲームシステム、及びコンピュータプログラム
JP2016016287A (ja) * 2014-07-11 2016-02-01 株式会社コナミデジタルエンタテインメント ゲームシステム、それに用いられる制御方法及びコンピュータプログラム
US10532280B2 (en) 2014-07-11 2020-01-14 Konami Digital Entertainment Co., Ltd Game system, and storage medium
JP2021106662A (ja) * 2019-12-27 2021-07-29 株式会社ポケモン 情報処理装置、方法、プログラム
JP7184745B2 (ja) 2019-12-27 2022-12-06 株式会社ポケモン 情報処理装置、方法、プログラム
JP2025012902A (ja) * 2023-07-14 2025-01-24 株式会社コナミアミューズメント ゲームシステム、ゲーム制御方法およびプログラム
JP7655577B2 (ja) 2023-07-14 2025-04-02 株式会社コナミアミューズメント ゲームシステム、ゲーム制御方法およびプログラム

Also Published As

Publication number Publication date
WO2009154189A1 (ja) 2009-12-23
JP5403207B2 (ja) 2014-01-29

Similar Documents

Publication Publication Date Title
JP5288094B2 (ja) ゲームシステム及びゲーム制御方法
JP2010239991A (ja) ゲームシステム、ゲーム装置、ゲームサーバ
JP6853861B2 (ja) プログラム、ゲームシステム及びゲーム管理サーバ
JP2010239990A (ja) ゲームシステム、ゲーム装置、ゲームサーバ
JP7633718B2 (ja) ゲーム管理装置、ゲームシステム、ゲーム管理方法及びプログラム
JP6737558B1 (ja) プログラム、端末、ゲームシステム及びゲーム管理装置
JP2013202317A (ja) ゲームシステム、サーバ装置、サーバ装置の制御方法、及びプログラム
JP2010104695A (ja) ゲームシステム及びゲームの制御方法
JP2021137444A (ja) プログラム、端末、ゲームシステム及びゲーム管理装置
JP5403207B2 (ja) ゲームシステム及びゲームプログラム、記録媒体
JP2021145761A (ja) プログラム、端末、ゲーム管理装置
JP6820644B1 (ja) プログラム、端末、サーバ、及びゲームシステム
JP7450382B2 (ja) ゲームプログラム、サーバ装置及びゲームシステム
JP2021122727A (ja) プログラム、端末、ゲーム管理装置、ゲームシステム及びゲーム方法
JP6145944B2 (ja) ゲームシステム、サーバ装置、及びプログラム
JP6676808B1 (ja) プログラム、端末、ゲームシステム及びゲーム管理装置
JP2019217215A (ja) ゲームプログラム、方法、および情報処理装置
JP5365946B2 (ja) ゲームシステム及びゲーム制御方法
JP7381898B2 (ja) ゲームシステムおよびゲーム制御方法
JP7675877B2 (ja) プログラム、システム
JP7208552B2 (ja) 応援支援システムおよび応援支援方法
JP2024173557A (ja) ゲームのライブ配信サーバ及びプログラム
JP2014133153A (ja) ゲームシステム、サーバ装置、サーバ装置の制御方法、及びプログラム
WO2021187309A1 (ja) ゲームシステム、プログラム、端末及びゲーム管理装置
JP7208551B2 (ja) 応援支援システム、応援支援方法、鑑賞支援システムおよび鑑賞支援方法

Legal Events

Date Code Title Description
A621 Written request for application examination

Free format text: JAPANESE INTERMEDIATE CODE: A621

Effective date: 20110608

A131 Notification of reasons for refusal

Free format text: JAPANESE INTERMEDIATE CODE: A131

Effective date: 20121211

A521 Request for written amendment filed

Free format text: JAPANESE INTERMEDIATE CODE: A523

Effective date: 20130208

RD03 Notification of appointment of power of attorney

Free format text: JAPANESE INTERMEDIATE CODE: A7423

Effective date: 20130318

RD04 Notification of resignation of power of attorney

Free format text: JAPANESE INTERMEDIATE CODE: A7424

Effective date: 20130329

A131 Notification of reasons for refusal

Free format text: JAPANESE INTERMEDIATE CODE: A131

Effective date: 20130514

A521 Request for written amendment filed

Free format text: JAPANESE INTERMEDIATE CODE: A523

Effective date: 20130705

TRDD Decision of grant or rejection written
A01 Written decision to grant a patent or to grant a registration (utility model)

Free format text: JAPANESE INTERMEDIATE CODE: A01

Effective date: 20131002

A61 First payment of annual fees (during grant procedure)

Free format text: JAPANESE INTERMEDIATE CODE: A61

Effective date: 20131015

R150 Certificate of patent or registration of utility model

Ref document number: 5403207

Country of ref document: JP

Free format text: JAPANESE INTERMEDIATE CODE: R150

R250 Receipt of annual fees

Free format text: JAPANESE INTERMEDIATE CODE: R250

R250 Receipt of annual fees

Free format text: JAPANESE INTERMEDIATE CODE: R250

R250 Receipt of annual fees

Free format text: JAPANESE INTERMEDIATE CODE: R250

S531 Written request for registration of change of domicile

Free format text: JAPANESE INTERMEDIATE CODE: R313531

S533 Written request for registration of change of name

Free format text: JAPANESE INTERMEDIATE CODE: R313533

R350 Written notification of registration of transfer

Free format text: JAPANESE INTERMEDIATE CODE: R350

R250 Receipt of annual fees

Free format text: JAPANESE INTERMEDIATE CODE: R250

R250 Receipt of annual fees

Free format text: JAPANESE INTERMEDIATE CODE: R250

R250 Receipt of annual fees

Free format text: JAPANESE INTERMEDIATE CODE: R250

R250 Receipt of annual fees

Free format text: JAPANESE INTERMEDIATE CODE: R250

R250 Receipt of annual fees

Free format text: JAPANESE INTERMEDIATE CODE: R250

R250 Receipt of annual fees

Free format text: JAPANESE INTERMEDIATE CODE: R250

R250 Receipt of annual fees

Free format text: JAPANESE INTERMEDIATE CODE: R250