JP2009262003A - 粉砕機及びトナー製造装置 - Google Patents

粉砕機及びトナー製造装置 Download PDF

Info

Publication number
JP2009262003A
JP2009262003A JP2008111363A JP2008111363A JP2009262003A JP 2009262003 A JP2009262003 A JP 2009262003A JP 2008111363 A JP2008111363 A JP 2008111363A JP 2008111363 A JP2008111363 A JP 2008111363A JP 2009262003 A JP2009262003 A JP 2009262003A
Authority
JP
Japan
Prior art keywords
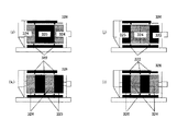
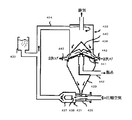
rotor
stator
toner
pulverized
convex portions
Prior art date
Legal status (The legal status is an assumption and is not a legal conclusion. Google has not performed a legal analysis and makes no representation as to the accuracy of the status listed.)
Pending
Application number
JP2008111363A
Other languages
English (en)
Japanese (ja)
Other versions
JP2009262003A5 (enExample
Inventor
Takeshi Naka
毅 中
Yuichi Mizoo
祐一 溝尾
Takeshi Otsu
剛 大津
Shinichi Iwata
信一 岩田
Takashi Kagawa
敬志 香川
Kazuyuki Tsuneoka
和幸 恒岡
Current Assignee (The listed assignees may be inaccurate. Google has not performed a legal analysis and makes no representation or warranty as to the accuracy of the list.)
Canon Inc
Original Assignee
Canon Inc
Priority date (The priority date is an assumption and is not a legal conclusion. Google has not performed a legal analysis and makes no representation as to the accuracy of the date listed.)
Filing date
Publication date
Application filed by Canon Inc filed Critical Canon Inc
Priority to JP2008111363A priority Critical patent/JP2009262003A/ja
Publication of JP2009262003A publication Critical patent/JP2009262003A/ja
Publication of JP2009262003A5 publication Critical patent/JP2009262003A5/ja
Pending legal-status Critical Current

Links

Images

Landscapes

  • Developing Agents For Electrophotography (AREA)
  • Crushing And Grinding (AREA)
  • Crushing And Pulverization Processes (AREA)
JP2008111363A 2008-04-22 2008-04-22 粉砕機及びトナー製造装置 Pending JP2009262003A (ja)

Priority Applications (1)

Application Number Priority Date Filing Date Title
JP2008111363A JP2009262003A (ja) 2008-04-22 2008-04-22 粉砕機及びトナー製造装置

Applications Claiming Priority (1)

Application Number Priority Date Filing Date Title
JP2008111363A JP2009262003A (ja) 2008-04-22 2008-04-22 粉砕機及びトナー製造装置

Publications (2)

Publication Number Publication Date
JP2009262003A true JP2009262003A (ja) 2009-11-12
JP2009262003A5 JP2009262003A5 (enExample) 2011-05-26

Family

ID=41388537

Family Applications (1)

Application Number Title Priority Date Filing Date
JP2008111363A Pending JP2009262003A (ja) 2008-04-22 2008-04-22 粉砕機及びトナー製造装置

Country Status (1)

Country Link
JP (1) JP2009262003A (enExample)

Cited By (5)

* Cited by examiner, † Cited by third party
Publication number Priority date Publication date Assignee Title
US20140263768A1 (en) * 2013-03-15 2014-09-18 Ricoh Company, Ltd. Mechanical grinding mill, toner manufacturing device and toner manufacturing method
CN108970757A (zh) * 2018-07-09 2018-12-11 河南金土商贸有限公司 一种食品生产原料加工用水冷式打粉机
CN113368966A (zh) * 2021-06-04 2021-09-10 潘凉贵 一种可以减小震动和自动除尘的高效率锤式破碎机
JP7618396B2 (ja) 2020-06-11 2025-01-21 キヤノン株式会社 トナーの製造方法
JP7654358B2 (ja) 2020-06-11 2025-04-01 キヤノン株式会社 トナー製造方法および製造装置

Citations (4)

* Cited by examiner, † Cited by third party
Publication number Priority date Publication date Assignee Title
JPH06277545A (ja) * 1993-03-25 1994-10-04 Mitsubishi Kasei Corp 静電荷像現像用トナーの製造方法および衝撃式粉砕機
JP2000005614A (ja) * 1998-06-19 2000-01-11 Kawasaki Heavy Ind Ltd 微粉砕機
JP2004042029A (ja) * 2002-05-17 2004-02-12 Nisshin Seifun Group Inc 機械式粉砕装置
JP2007167757A (ja) * 2005-12-21 2007-07-05 Turbo Kogyo Co Ltd 微粉砕機

Patent Citations (4)

* Cited by examiner, † Cited by third party
Publication number Priority date Publication date Assignee Title
JPH06277545A (ja) * 1993-03-25 1994-10-04 Mitsubishi Kasei Corp 静電荷像現像用トナーの製造方法および衝撃式粉砕機
JP2000005614A (ja) * 1998-06-19 2000-01-11 Kawasaki Heavy Ind Ltd 微粉砕機
JP2004042029A (ja) * 2002-05-17 2004-02-12 Nisshin Seifun Group Inc 機械式粉砕装置
JP2007167757A (ja) * 2005-12-21 2007-07-05 Turbo Kogyo Co Ltd 微粉砕機

Cited By (7)

* Cited by examiner, † Cited by third party
Publication number Priority date Publication date Assignee Title
US20140263768A1 (en) * 2013-03-15 2014-09-18 Ricoh Company, Ltd. Mechanical grinding mill, toner manufacturing device and toner manufacturing method
CN108970757A (zh) * 2018-07-09 2018-12-11 河南金土商贸有限公司 一种食品生产原料加工用水冷式打粉机
CN108970757B (zh) * 2018-07-09 2020-09-29 河南金土商贸有限公司 一种食品生产原料加工用水冷式打粉机
JP7618396B2 (ja) 2020-06-11 2025-01-21 キヤノン株式会社 トナーの製造方法
JP7654358B2 (ja) 2020-06-11 2025-04-01 キヤノン株式会社 トナー製造方法および製造装置
CN113368966A (zh) * 2021-06-04 2021-09-10 潘凉贵 一种可以减小震动和自动除尘的高效率锤式破碎机
CN113368966B (zh) * 2021-06-04 2022-11-08 泰山石膏(陕西)有限公司 一种可以减小震动和自动除尘的高效率锤式破碎机

Similar Documents

Publication Publication Date Title
JP5925060B2 (ja) 粉体粒子の熱処理装置及びトナーの製造方法
US20140137428A1 (en) Heat treatment apparatus and method of obtaining toner
JP2009262003A (ja) 粉砕機及びトナー製造装置
JP5527942B2 (ja) 粉砕機及びトナー製造装置
JP2012171160A (ja) 粉体粒子の熱処理装置及び粉体粒子の製造方法
JP5264109B2 (ja) 粉砕機及びトナーの製造方法
JP5053739B2 (ja) トナー製造装置及びトナー製造方法
JP5489400B2 (ja) 粉砕装置、トナーの製造装置及び製造方法
JP5094088B2 (ja) 粉砕機及びトナーの製造方法
JP5374171B2 (ja) 非磁性一成分負帯電性トナーの製造方法および非磁性一成分負帯電性トナー
JP5235442B2 (ja) トナーの製造方法
JP5371597B2 (ja) トナーの製造方法
JP4777063B2 (ja) トナーの製造方法
JP5611410B2 (ja) トナーの製造方法
JP6671137B2 (ja) トナー用処理装置及びトナーの製造方法
JP2010091647A (ja) トナー製造装置及びトナー製造方法
JP5409176B2 (ja) トナー粒子の製造方法
JP2009223011A (ja) トナーの製造方法
JP4891009B2 (ja) トナー表面改質システム
JP6497863B2 (ja) トナーの製造方法
JP4194486B2 (ja) トナーの製造方法及び装置
JP6108922B2 (ja) トナー処理装置及びトナーの製造方法
JP2006308640A (ja) トナーの製造方法
JP2012254455A (ja) 粉砕機及びトナーの製造方法
JP2017215519A (ja) トナー用外添剤の解砕方法及びトナーの製造方法

Legal Events

Date Code Title Description
A521 Written amendment

Free format text: JAPANESE INTERMEDIATE CODE: A523

Effective date: 20110411

A621 Written request for application examination

Free format text: JAPANESE INTERMEDIATE CODE: A621

Effective date: 20110411

A977 Report on retrieval

Free format text: JAPANESE INTERMEDIATE CODE: A971007

Effective date: 20130108

A131 Notification of reasons for refusal

Free format text: JAPANESE INTERMEDIATE CODE: A131

Effective date: 20130122

A521 Written amendment

Free format text: JAPANESE INTERMEDIATE CODE: A523

Effective date: 20130325

A131 Notification of reasons for refusal

Free format text: JAPANESE INTERMEDIATE CODE: A131

Effective date: 20130903

A02 Decision of refusal

Free format text: JAPANESE INTERMEDIATE CODE: A02

Effective date: 20140603