JP2008188720A - ガンドリル - Google Patents
ガンドリル Download PDFInfo
- Publication number
- JP2008188720A JP2008188720A JP2007026671A JP2007026671A JP2008188720A JP 2008188720 A JP2008188720 A JP 2008188720A JP 2007026671 A JP2007026671 A JP 2007026671A JP 2007026671 A JP2007026671 A JP 2007026671A JP 2008188720 A JP2008188720 A JP 2008188720A
- Authority
- JP
- Japan
- Prior art keywords
- hollow shank
- shaped groove
- shank
- hollow
- gun drill
- Prior art date
- Legal status (The legal status is an assumption and is not a legal conclusion. Google has not performed a legal analysis and makes no representation as to the accuracy of the status listed.)
- Pending
Links
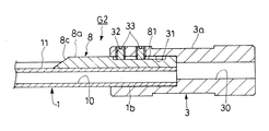
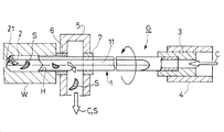
- 238000005520 cutting process Methods 0.000 claims abstract description 58
- 239000002826 coolant Substances 0.000 claims abstract description 38
- 230000002093 peripheral effect Effects 0.000 claims abstract description 13
- 239000000463 material Substances 0.000 claims description 32
- 238000003780 insertion Methods 0.000 claims description 28
- 230000037431 insertion Effects 0.000 claims description 28
- 238000001125 extrusion Methods 0.000 claims description 6
- 238000007599 discharging Methods 0.000 claims description 5
- 238000003825 pressing Methods 0.000 claims description 3
- 239000002994 raw material Substances 0.000 abstract description 11
- 230000000903 blocking effect Effects 0.000 abstract 2
- 238000004519 manufacturing process Methods 0.000 description 12
- 238000000034 method Methods 0.000 description 12
- 238000012545 processing Methods 0.000 description 10
- 238000003754 machining Methods 0.000 description 6
- 239000002699 waste material Substances 0.000 description 3
- 238000005219 brazing Methods 0.000 description 2
- 241001492658 Cyanea koolauensis Species 0.000 description 1
- 238000005553 drilling Methods 0.000 description 1
- 230000000694 effects Effects 0.000 description 1
- 238000012805 post-processing Methods 0.000 description 1
- 239000003566 sealing material Substances 0.000 description 1
Images
Classifications
-
- B—PERFORMING OPERATIONS; TRANSPORTING
- B23—MACHINE TOOLS; METAL-WORKING NOT OTHERWISE PROVIDED FOR
- B23B—TURNING; BORING
- B23B51/00—Tools for drilling machines
- B23B51/04—Drills for trepanning
- B23B51/0486—Drills for trepanning with lubricating or cooling equipment
-
- B—PERFORMING OPERATIONS; TRANSPORTING
- B23—MACHINE TOOLS; METAL-WORKING NOT OTHERWISE PROVIDED FOR
- B23B—TURNING; BORING
- B23B51/00—Tools for drilling machines
- B23B51/06—Drills with lubricating or cooling equipment
- B23B51/063—Deep hole drills, e.g. ejector drills
- B23B51/066—Gun drills
Landscapes
- Engineering & Computer Science (AREA)
- Mechanical Engineering (AREA)
- Drilling Tools (AREA)
Priority Applications (3)
| Application Number | Priority Date | Filing Date | Title |
|---|---|---|---|
| JP2007026671A JP2008188720A (ja) | 2007-02-06 | 2007-02-06 | ガンドリル |
| PCT/JP2008/050905 WO2008096603A1 (ja) | 2007-02-06 | 2008-01-23 | ガンドリル |
| TW097103395A TW200914173A (en) | 2007-02-06 | 2008-01-30 | Gun drill |
Applications Claiming Priority (1)
| Application Number | Priority Date | Filing Date | Title |
|---|---|---|---|
| JP2007026671A JP2008188720A (ja) | 2007-02-06 | 2007-02-06 | ガンドリル |
Publications (2)
| Publication Number | Publication Date |
|---|---|
| JP2008188720A true JP2008188720A (ja) | 2008-08-21 |
| JP2008188720A5 JP2008188720A5 (enExample) | 2008-10-02 |
Family
ID=39681514
Family Applications (1)
| Application Number | Title | Priority Date | Filing Date |
|---|---|---|---|
| JP2007026671A Pending JP2008188720A (ja) | 2007-02-06 | 2007-02-06 | ガンドリル |
Country Status (3)
| Country | Link |
|---|---|
| JP (1) | JP2008188720A (enExample) |
| TW (1) | TW200914173A (enExample) |
| WO (1) | WO2008096603A1 (enExample) |
Families Citing this family (3)
| Publication number | Priority date | Publication date | Assignee | Title |
|---|---|---|---|---|
| DE102010050351A1 (de) * | 2010-11-05 | 2012-05-10 | Botek Präzisionsbohrtechnik Gmbh | Einlippenbohrer |
| CN111822748B (zh) * | 2020-05-29 | 2021-11-26 | 武汉船用机械有限责任公司 | 深孔加工系统 |
| JP7515534B2 (ja) * | 2022-05-02 | 2024-07-12 | 株式会社タンガロイ | ガンドリル用のボディ |
Citations (1)
| Publication number | Priority date | Publication date | Assignee | Title |
|---|---|---|---|---|
| JPS56114610A (en) * | 1980-02-15 | 1981-09-09 | Nachi Fujikoshi Corp | Drilling tool |
Family Cites Families (1)
| Publication number | Priority date | Publication date | Assignee | Title |
|---|---|---|---|---|
| JPH0512020U (ja) * | 1991-04-03 | 1993-02-19 | 三菱マテリアル株式会社 | ガンドリル |
-
2007
- 2007-02-06 JP JP2007026671A patent/JP2008188720A/ja active Pending
-
2008
- 2008-01-23 WO PCT/JP2008/050905 patent/WO2008096603A1/ja not_active Ceased
- 2008-01-30 TW TW097103395A patent/TW200914173A/zh unknown
Patent Citations (1)
| Publication number | Priority date | Publication date | Assignee | Title |
|---|---|---|---|---|
| JPS56114610A (en) * | 1980-02-15 | 1981-09-09 | Nachi Fujikoshi Corp | Drilling tool |
Also Published As
| Publication number | Publication date |
|---|---|
| WO2008096603A1 (ja) | 2008-08-14 |
| TW200914173A (en) | 2009-04-01 |
Similar Documents
| Publication | Publication Date | Title |
|---|---|---|
| US20090297285A1 (en) | Deep hole drilling machine | |
| US8091452B2 (en) | Method for manufacturing drill head | |
| KR20130004432A (ko) | 드릴링/리밍 공구 | |
| US20080089753A1 (en) | Drill | |
| US9421621B2 (en) | Single-lip drill | |
| US20070172325A1 (en) | Forstner drill bit | |
| US20100040425A1 (en) | Deep Hole Cutting Apparatus | |
| US20110123282A1 (en) | Tool for machining a workpiece | |
| US20090123243A1 (en) | Method for forming through-hole | |
| US20110008116A1 (en) | Gun Drill | |
| EP2070617B2 (en) | A basic body for tools for chip removing machining | |
| KR20040095735A (ko) | 공구 | |
| US20080170920A1 (en) | Cutting tool | |
| GB0222901D0 (en) | Masonry drilling tool | |
| US20110067927A1 (en) | Drill Head for Deep-Hole Drilling | |
| JP2008188720A (ja) | ガンドリル | |
| US11185933B2 (en) | Drill body and drill | |
| US20160023290A1 (en) | Boring tool, particularly a reamer | |
| WO2010062850A1 (en) | Coolant delivery system in rotating cutting tool | |
| JP4142930B2 (ja) | 深穴切削具 | |
| JP4644552B2 (ja) | 深穴切削装置 | |
| JP2010082812A (ja) | コアビット | |
| JP2007136643A (ja) | コアドリル | |
| JP2009291858A (ja) | 穴加工工具 | |
| KR100881056B1 (ko) | 회전 절삭공구용 콜릿척 |
Legal Events
| Date | Code | Title | Description |
|---|---|---|---|
| A521 | Written amendment |
Free format text: JAPANESE INTERMEDIATE CODE: A523 Effective date: 20080704 |
|
| A621 | Written request for application examination |
Free format text: JAPANESE INTERMEDIATE CODE: A621 Effective date: 20100129 |
|
| A131 | Notification of reasons for refusal |
Free format text: JAPANESE INTERMEDIATE CODE: A131 Effective date: 20111021 |
|
| A02 | Decision of refusal |
Free format text: JAPANESE INTERMEDIATE CODE: A02 Effective date: 20120229 |