JP2008166321A - 基板処理装置および半導体装置の製造方法 - Google Patents
基板処理装置および半導体装置の製造方法 Download PDFInfo
- Publication number
- JP2008166321A JP2008166321A JP2006350882A JP2006350882A JP2008166321A JP 2008166321 A JP2008166321 A JP 2008166321A JP 2006350882 A JP2006350882 A JP 2006350882A JP 2006350882 A JP2006350882 A JP 2006350882A JP 2008166321 A JP2008166321 A JP 2008166321A
- Authority
- JP
- Japan
- Prior art keywords
- gas
- processing
- substrate
- reaction tube
- boat
- Prior art date
- Legal status (The legal status is an assumption and is not a legal conclusion. Google has not performed a legal analysis and makes no representation as to the accuracy of the status listed.)
- Pending
Links
- 239000000758 substrate Substances 0.000 title claims abstract description 143
- 238000004519 manufacturing process Methods 0.000 title claims description 31
- 239000004065 semiconductor Substances 0.000 title claims description 27
- 238000005192 partition Methods 0.000 claims abstract description 173
- 238000010438 heat treatment Methods 0.000 claims abstract description 30
- 235000012431 wafers Nutrition 0.000 abstract description 137
- 238000012423 maintenance Methods 0.000 abstract description 7
- 239000007789 gas Substances 0.000 description 296
- 239000010408 film Substances 0.000 description 48
- 239000011261 inert gas Substances 0.000 description 21
- 238000000034 method Methods 0.000 description 19
- 238000000151 deposition Methods 0.000 description 16
- 230000008021 deposition Effects 0.000 description 16
- 230000015572 biosynthetic process Effects 0.000 description 12
- 230000000694 effects Effects 0.000 description 12
- 230000002093 peripheral effect Effects 0.000 description 9
- 239000007795 chemical reaction product Substances 0.000 description 6
- 239000000047 product Substances 0.000 description 6
- 239000011810 insulating material Substances 0.000 description 5
- 238000011144 upstream manufacturing Methods 0.000 description 4
- 230000000052 comparative effect Effects 0.000 description 3
- 239000010409 thin film Substances 0.000 description 3
- VYPSYNLAJGMNEJ-UHFFFAOYSA-N Silicium dioxide Chemical compound O=[Si]=O VYPSYNLAJGMNEJ-UHFFFAOYSA-N 0.000 description 2
- 238000010586 diagram Methods 0.000 description 2
- 239000003779 heat-resistant material Substances 0.000 description 2
- 239000012212 insulator Substances 0.000 description 2
- 238000010030 laminating Methods 0.000 description 2
- 239000000463 material Substances 0.000 description 2
- 239000002184 metal Substances 0.000 description 2
- HBMJWWWQQXIZIP-UHFFFAOYSA-N silicon carbide Chemical compound [Si+]#[C-] HBMJWWWQQXIZIP-UHFFFAOYSA-N 0.000 description 2
- QGZKDVFQNNGYKY-UHFFFAOYSA-N Ammonia Chemical compound N QGZKDVFQNNGYKY-UHFFFAOYSA-N 0.000 description 1
- 230000037237 body shape Effects 0.000 description 1
- 238000005229 chemical vapour deposition Methods 0.000 description 1
- 230000003247 decreasing effect Effects 0.000 description 1
- 238000005137 deposition process Methods 0.000 description 1
- MROCJMGDEKINLD-UHFFFAOYSA-N dichlorosilane Chemical compound Cl[SiH2]Cl MROCJMGDEKINLD-UHFFFAOYSA-N 0.000 description 1
- 238000009826 distribution Methods 0.000 description 1
- 230000003028 elevating effect Effects 0.000 description 1
- 230000008676 import Effects 0.000 description 1
- 230000002452 interceptive effect Effects 0.000 description 1
- 238000002360 preparation method Methods 0.000 description 1
- 238000010926 purge Methods 0.000 description 1
- 238000011084 recovery Methods 0.000 description 1
- 238000000638 solvent extraction Methods 0.000 description 1
- 230000006641 stabilisation Effects 0.000 description 1
- 238000011105 stabilization Methods 0.000 description 1
- 238000002230 thermal chemical vapour deposition Methods 0.000 description 1
- 239000002699 waste material Substances 0.000 description 1
- 238000003466 welding Methods 0.000 description 1
Images
Landscapes
- Formation Of Insulating Films (AREA)
- Chemical Vapour Deposition (AREA)
Abstract
【課題】 ガス導入管について所望のメンテナンスや交換を行うだけで、一度に成膜する複数のウエハの面内・面間の膜厚均一性の向上を可能にする。
【解決手段】基板処理装置は、基板の処理面に対して垂直方向に複数枚配置するよう基板保持具で基板を支持しつつ処理可能な処理室201を内部に有する略筒状の反応管203と、該反応管203の外周を囲うように設けられる略筒状の加熱装置とを備える。前記反応管203の側面にはガス導入管230が設けられており、前記基板保持具は、該基板保持具を前記基板の処理面に対して垂直方向に複数に区画するように設けられる区画壁と、該区画壁により複数に区画される前記基板保持具それぞれに複数の基板を支持可能なように設けられる複数の基板支持部とを有している。
【選択図】 図1
【解決手段】基板処理装置は、基板の処理面に対して垂直方向に複数枚配置するよう基板保持具で基板を支持しつつ処理可能な処理室201を内部に有する略筒状の反応管203と、該反応管203の外周を囲うように設けられる略筒状の加熱装置とを備える。前記反応管203の側面にはガス導入管230が設けられており、前記基板保持具は、該基板保持具を前記基板の処理面に対して垂直方向に複数に区画するように設けられる区画壁と、該区画壁により複数に区画される前記基板保持具それぞれに複数の基板を支持可能なように設けられる複数の基板支持部とを有している。
【選択図】 図1
Description
本発明は、基板処理装置および半導体装置の製造方法に係り、特に、半導体装置の製造工程において、熱化学反応を利用して半導体ウエハ(以下、ウエハという。)などの基板に、酸化膜や金属膜の形成など所望の処理を施す基板処理技術に利用して有効なものに関する。
半導体装置の製造工程において、Siウエハに酸化膜や金属膜を形成する基板処理装置として縦型半導体製造装置が使用される場合がある。
従来のこの種の縦型半導体製造装置は、反応容器とヒータとから構成された処理炉を備え、加熱される反応容器内にガスを導入しつつ排気して、ウエハに成膜するようになっている。
一般に、反応容器はマニホールドと反応管とから成り、反応管の外周を囲うようヒータが設けられる。特に二重管構造の反応管の場合には、反応管は、ヒータの内側に設けられる外部反応管と、外部反応管の内部に同心状に配設される内部反応管とを有する。内部反応管は上端が開放されてウエハを処理することが可能な処理室を構成する。外部反応管と内部反応管は上記マニホールド上に立設される。マニホールドの下端はシールキャップにより気密に閉塞され、シールキャップ上にボートが立設されて内部反応管内に挿入される。ボートには処理されるウエハがウエハ処理面に対して垂直方向に複数枚支持される。マニホールドの内部反応管下方の位置にガス導入口が設けられ、また外部反応管と内部反応管との間に形成される円筒状の空間下端に連通するよう、排気口がマニホールドに設けられている。
成膜中は、マニホールドに設けたガス導入口より、所定の圧力に保たれた反応管の下方から反応管内に成膜ガスが導入され、ウエハが配置されるウエハ処理空間を通って反応管の上方へ排気される。この際、反応管内を成膜温度に加熱してウエハ上に成膜する。反応管の上方へ排気されたガスは、外部反応管と内部反応管との間に形成される円筒状の空間を通って、マニホールドに設けた排気口より排出される。このようにウエハ処理空間の下方から成膜ガスを導入して上方から排気している。
しかしながら、上述した縦型半導体製造装置では、つぎのような種々の問題がある。例えば、下方から成膜ガスを導入し、上方へと排気をするため、ウエハの中心まで成膜ガスが流れにくく、ウエハ中心と外周部に膜厚差が発生し、ウエハ面内の膜厚均―性に影響を及ぼすという問題がある。さらには、ウエハ処理空間内の下部(ガス上流側)と上部(ガス下流側)とのそれぞれに位置するウエハを比較すると、成膜ガスが下部で消費されてしまうため、下部と上部とに位置するウエハでは、下部のウエハの方が膜厚が厚くなるという膜厚差が発生し、ウエハ面間の膜厚均一性に影響を及ぼすという問題(ローディングエフェクト)がある。
そこで、ガス導入口をウエハ処理空間まで延在させるために、長さの異なる複数本のガスノズルをマニホールドから反応管内に立ち上げて、ウエハの側方に位置する各ガスノズルの上部から成膜ガスをウエハ処理空間に導入して、下方の排気口から排気するようした多系統ノズル方式が考えられている(例えば、特許文献1参照)。
しかし、この多系統ノズル方式では、ウエハ面内・面間の膜厚均一性は一応満足するものの、異なる長さの複数本のガスノズルが必要となるためメンテナンス性が悪い。また、ガスノズルはウェハ処理空間内に設けられているため、反応生成物の付着・堆積が起こる。例えばSi3N4成膜等では、反応生成物の付着・堆積が顕著に起こる。また、成膜条件を変更した場合、ガスノズルの長さや本数を変更しなければ成膜条件の変更に対応できない場合も多々あり、ガスノズルの種類を変更しないままだと、成膜可能な条件は制限されてしまうという問題がある。
特開2000−68214号公報
上述したように反応管の下方位置にガス導入口を設けて反応管の下方からガスを導入し上方へと排気する従来の基板処理装置では、基板間にガスが通りずらく、基板面内・面間の膜厚均一性を向上することができないという問題があった。また、多系統のガス導入管を反応管内に設けて基板の側方からガスを導入し上方から排気する従来の基板処理装置では、ガス導入管のメンテナンスや交換を何度も行わなければ、ウエハ面内・面間の膜厚均一性を向上することができないという問題があった。
本発明の目的は、上述した従来技術の問題点に鑑みてなされたものであって、ガス導入管について所望のメンテナンスや交換を行うだけで、一度に成膜する複数のウエハの面内・面間の膜厚均一性の向上を可能にする基板処理装置及び半導体装置の製造方法を提供することにある。
第1の態様によれば、
基板の処理面に対して垂直方向に複数枚配置するよう基板保持具で基板を支持しつつ処理可能な処理室を内部に有する略筒状の反応管と、該反応管の外周を囲うように設けられる略筒状の加熱装置とを備え、前記反応管の側面にはガス導入管が設けられており、前記基板保持具は、該基板保持具を前記基板の処理面に対して垂直方向に複数に区画するように設けられる区画壁と、該区画壁により複数に区画される前記基板保持具それぞれに複数の基板を支持可能なように設けられる複数の基板支持部とを有している基板処理装置が提供される。
基板の処理面に対して垂直方向に複数枚配置するよう基板保持具で基板を支持しつつ処理可能な処理室を内部に有する略筒状の反応管と、該反応管の外周を囲うように設けられる略筒状の加熱装置とを備え、前記反応管の側面にはガス導入管が設けられており、前記基板保持具は、該基板保持具を前記基板の処理面に対して垂直方向に複数に区画するように設けられる区画壁と、該区画壁により複数に区画される前記基板保持具それぞれに複数の基板を支持可能なように設けられる複数の基板支持部とを有している基板処理装置が提供される。
第2の態様によれば、基板の処理面に対して垂直方向に複数枚配置するよう基板保持具で基板を支持しつつ処理可能な処理室を内部に有する略筒状の反応管と、該反応管の外周を囲うように設けられる略筒状の加熱装置とを備え、前記反応管の側面にはガス導入管が設けられており、前記基板保持具は、該基板保持具を前記基板の処理面に対して垂直方向に複数に区画するように設けられる区画壁と、該区画壁により複数に区画される前記基板保持具それぞれに複数の基板を支持可能なように設けられる複数の基板支持部とを有している基板処理装置を用いて処理する半導体装置の製造方法であって、前記反応管内に基板を搬入する工程と、前記ガス導入管からガスを前記反応管内に導入する工程と、前記区画壁により区画された基板保持具をガスが通過する工程と、前記反応管内を前記加熱装置により加熱し基板を処理する工程と、前記反応管内のガスを排気する工程と、前記反応管内から基板を搬出する工程とを有する半導体装置の製造方法が提供される。
本発明によれば、ガス導入管について所望のメンテナンスや交換を行うだけで、一度に処理する複数枚の基板の面内・面間の処理均一性を向上できる。
以下に本発明の実施の形態を図面に基づいて説明する。
《処理炉》
図1は本発明の第1の実施の形態で好適に用いられる基板処理装置としての縦型半導体製造装置の処理炉202の概略構成図であり、縦断面図として示されている。図2はその処理炉202の要部の拡大図である。図3はその処理炉202の横断面図である。
図1は本発明の第1の実施の形態で好適に用いられる基板処理装置としての縦型半導体製造装置の処理炉202の概略構成図であり、縦断面図として示されている。図2はその処理炉202の要部の拡大図である。図3はその処理炉202の横断面図である。
《処理炉の概略》
縦型半導体装置は、略筒状の反応管203と、略筒状の加熱装置としてのヒータ206とから構成される処理炉202を備える。
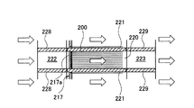
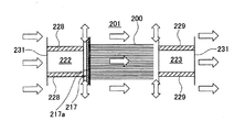
略筒状の反応管203は、複数枚のウエハ200を処理可能とする処理室201を内部に有する。処理室201には、基板保持具としてのボート217が搬入される。ボート217は、複数枚のウエハ200をウエハ200の処理面(主面)に対して垂直方向に支持する。処理室201は、ボート217により、ウエハ処理面に対して垂直方向に複数枚配置するようウエハ200を支持しつつ処理可能とする。ヒータ206は、反応管203の外周を囲うように設けられる。反応管203の側面にはガス導入管230が設けられている。ボート217には、ウエハ200の処理面に対して垂直方向にボート217を複数に区画する処理区画壁221が設けられている。ガス導入管230は、ウエハ200の処理面に対して垂直方向に複数に区画されている。また、反応管203の側面にはガス排気管231も設けられている。ガス排気管231も、ウエハ200の処理面に対して垂直方向に複数に区画されている。
縦型半導体装置は、略筒状の反応管203と、略筒状の加熱装置としてのヒータ206とから構成される処理炉202を備える。
略筒状の反応管203は、複数枚のウエハ200を処理可能とする処理室201を内部に有する。処理室201には、基板保持具としてのボート217が搬入される。ボート217は、複数枚のウエハ200をウエハ200の処理面(主面)に対して垂直方向に支持する。処理室201は、ボート217により、ウエハ処理面に対して垂直方向に複数枚配置するようウエハ200を支持しつつ処理可能とする。ヒータ206は、反応管203の外周を囲うように設けられる。反応管203の側面にはガス導入管230が設けられている。ボート217には、ウエハ200の処理面に対して垂直方向にボート217を複数に区画する処理区画壁221が設けられている。ガス導入管230は、ウエハ200の処理面に対して垂直方向に複数に区画されている。また、反応管203の側面にはガス排気管231も設けられている。ガス排気管231も、ウエハ200の処理面に対して垂直方向に複数に区画されている。
《反応管》
処理炉は反応管を備える。ここでは図1に示すように、処理炉202は一重構造の反応管203を備える。反応管203は垂直に据え付けられている。反応管203は、例えば石英(SiO2)または炭化シリコン(SiC)等の耐熱性材料からなり、上端が閉塞し下端が開口した略円筒形状に形成されている。反応管203の内部には処理室201が形成されている。反応管203は、ウエハ200をウエハ処理空間204において、ボート217によって垂直方向に多段にした状態で、ウエハ200を処理可能に構成されている。ここでウエハ処理空間204とは、処理室201内においてウエハ200を実際に処理することが可能な空間をいう。
処理炉は反応管を備える。ここでは図1に示すように、処理炉202は一重構造の反応管203を備える。反応管203は垂直に据え付けられている。反応管203は、例えば石英(SiO2)または炭化シリコン(SiC)等の耐熱性材料からなり、上端が閉塞し下端が開口した略円筒形状に形成されている。反応管203の内部には処理室201が形成されている。反応管203は、ウエハ200をウエハ処理空間204において、ボート217によって垂直方向に多段にした状態で、ウエハ200を処理可能に構成されている。ここでウエハ処理空間204とは、処理室201内においてウエハ200を実際に処理することが可能な空間をいう。
《ボート》
基板保持具としてのボート217は、例えば石英(SiO2)または炭化シリコン(SiC)等の耐熱性材料からなる。ボート217は、複数枚のウエハ200を水平姿勢でかつ互いに中心を揃えた状態で整列させて垂直方向に多段に保持するように構成されている。具体的には、ボート217は、ウエハ200の外周部を支持するよう略円筒状に並べられた複数本の支柱217aと、複数本の支柱217a間上部を閉じる略円板状の天板217bと、複数本の支柱217a間下部を閉じる略円板状の底板217cとを有する。なお、ボート217の下部には、複数の断熱板216が配置されており、ヒータ206からの熱が反応管203の下方に伝わりにくくなるよう構成されている。
基板保持具としてのボート217は、例えば石英(SiO2)または炭化シリコン(SiC)等の耐熱性材料からなる。ボート217は、複数枚のウエハ200を水平姿勢でかつ互いに中心を揃えた状態で整列させて垂直方向に多段に保持するように構成されている。具体的には、ボート217は、ウエハ200の外周部を支持するよう略円筒状に並べられた複数本の支柱217aと、複数本の支柱217a間上部を閉じる略円板状の天板217bと、複数本の支柱217a間下部を閉じる略円板状の底板217cとを有する。なお、ボート217の下部には、複数の断熱板216が配置されており、ヒータ206からの熱が反応管203の下方に伝わりにくくなるよう構成されている。
《ヒータ》
処理炉202は加熱装置としてのヒータ206を有する。このヒータ206は、略円筒形状をしており、反応管203の外周を囲うように設けられる。ヒータ206は、保持板としてのヒータベース251に支持されることにより垂直に据え付けられている。反応管203は、このヒータベース251に支持されることにより垂直に据え付けられた状態となっている。
処理炉202は加熱装置としてのヒータ206を有する。このヒータ206は、略円筒形状をしており、反応管203の外周を囲うように設けられる。ヒータ206は、保持板としてのヒータベース251に支持されることにより垂直に据え付けられている。反応管203は、このヒータベース251に支持されることにより垂直に据え付けられた状態となっている。
《ガス導入管・排気管》
反応管203の側面には、反応管203内にガスを導入するガス導入管230、及び反応管203内を排気するガス排気管231が設けられている。ガス導入管230およびガス排気管231は、反応管203内に配置されるウエハ200の中心を通る直線上に配置される。これらのガス導入管230及びガス排気管231は、ガス導入・排気をウエハ処理空間204へ水平方向から導入・排気するために、ヒータ206の外側までストレート形状(直線状)のまま達するように設けられる。特に、ガス導入管230の場合は、ガス導入管230をヒータ206の外側まで達するように設けるということは、ガスが反応管203内部に到達する前のガス助走領域を、ウエハ200の処理面と平行に設けるためでもある。
反応管203の側面には、反応管203内にガスを導入するガス導入管230、及び反応管203内を排気するガス排気管231が設けられている。ガス導入管230およびガス排気管231は、反応管203内に配置されるウエハ200の中心を通る直線上に配置される。これらのガス導入管230及びガス排気管231は、ガス導入・排気をウエハ処理空間204へ水平方向から導入・排気するために、ヒータ206の外側までストレート形状(直線状)のまま達するように設けられる。特に、ガス導入管230の場合は、ガス導入管230をヒータ206の外側まで達するように設けるということは、ガスが反応管203内部に到達する前のガス助走領域を、ウエハ200の処理面と平行に設けるためでもある。
ガス導入管230及びガス排気管231は、略扁平体形状をしている。例えば、図1及び図3に示すように、反応管203の管軸方向に添った縦長の楕円形状をしている。ガス導入管230及びガス排気管231が設けられる反応管203の側面位置は、ウエハ処理空間204に対向する位置である。ガス導入管230及びガス排気管231は、反応管203の側面に水平に接続される。ガス導入管230及びガス排気管231は、両方の管軸が直線上に並ぶように反応管203に一体接続される。この一体接続は、例えばガス導入管230及びガス排気管231を反応管203と同材料で形成して材料同士を溶着する溶着接続である。このように反応管203の側面にガス導入管230及びガス排気管231を設けることにより、処理室201内のガスの流れをサイドフローにしている。
《区画壁》
前記ボート217には、ウエハ200の処理面に対して垂直方向にボート217を複数に区画する処理区画壁221が設けられている。ボート217の各処理区画壁221は、例えばウエハ200の処理面に対して垂直方向に均等に配置される。各処理区画壁221は、例えばボート217の底板217c及び天板217bと略同じ径をもつ円板状に形成されている。
具体的には、図2に示すように、各処理区画壁221は、略円筒形状の反応管203の内壁に向かうように、略円筒状に配列される複数本の支柱217aよりも径方向外方に突き出している。これらの処理区画壁221によりボート217、換言すればウエハ処理空間204は、垂直方向に複数の処理区画部220に区画化され、処理区画部220毎にガスが流れるようになっている。図示例では、ウエハ処理空間204は、処理区画壁221によって8つに区画化された処理区画部220a〜220hを有し、これにより一の処理区画部220から他の処理区画部220への、もしくは他の処理区画部220から当該一の処理区画部220への成膜ガスの導入を抑制することができるようになっている。
前記ボート217には、ウエハ200の処理面に対して垂直方向にボート217を複数に区画する処理区画壁221が設けられている。ボート217の各処理区画壁221は、例えばウエハ200の処理面に対して垂直方向に均等に配置される。各処理区画壁221は、例えばボート217の底板217c及び天板217bと略同じ径をもつ円板状に形成されている。
具体的には、図2に示すように、各処理区画壁221は、略円筒形状の反応管203の内壁に向かうように、略円筒状に配列される複数本の支柱217aよりも径方向外方に突き出している。これらの処理区画壁221によりボート217、換言すればウエハ処理空間204は、垂直方向に複数の処理区画部220に区画化され、処理区画部220毎にガスが流れるようになっている。図示例では、ウエハ処理空間204は、処理区画壁221によって8つに区画化された処理区画部220a〜220hを有し、これにより一の処理区画部220から他の処理区画部220への、もしくは他の処理区画部220から当該一の処理区画部220への成膜ガスの導入を抑制することができるようになっている。
複数のウエハ200は、ボート217の複数の支柱217aにそれぞれに形成された複数の基板支持部としての溝217dによってそれぞれ水平状態で支持される。
例えば、図4に示すように、上下に隣り合う処理区画部220それぞれに複数のウエハ200を支持可能なように、複数の支柱217aそれぞれに複数の溝217dを形成している。上下に隣り合う処理区画部220の複数の支柱217aそれぞれに設けられる複数の溝217dの間隔は、複数のウエハ200の間隔が均等になるように、均等に形成されていることが好ましい。
またウエハ200の処理面に対して垂直方向(図4では上下方向)に隣り合う処理区画壁221間に複数のウエハ200を支持可能なように、複数の支柱217aそれぞれに複数の溝217dを形成している。ウエハ200の処理面に対して垂直方向(図4では上下方向)に隣り合う処理区画壁221間の複数の支柱217aそれぞれに設けられる複数の溝217dの間隔は、ウエハ200の処理面に対して垂直方向(図4では上下方向)に隣り合う処理区画壁221間に支持される複数のウエハ200の間隔が均等になるように、均等に形成されていることが好ましい。
なお、基板支持部としては支柱217aの表面から内部に落ちこんで形成される溝に限らず、支柱217aの表面から突き出て形成される突出部ないし凸部としても良い。
例えば、図4に示すように、上下に隣り合う処理区画部220それぞれに複数のウエハ200を支持可能なように、複数の支柱217aそれぞれに複数の溝217dを形成している。上下に隣り合う処理区画部220の複数の支柱217aそれぞれに設けられる複数の溝217dの間隔は、複数のウエハ200の間隔が均等になるように、均等に形成されていることが好ましい。
またウエハ200の処理面に対して垂直方向(図4では上下方向)に隣り合う処理区画壁221間に複数のウエハ200を支持可能なように、複数の支柱217aそれぞれに複数の溝217dを形成している。ウエハ200の処理面に対して垂直方向(図4では上下方向)に隣り合う処理区画壁221間の複数の支柱217aそれぞれに設けられる複数の溝217dの間隔は、ウエハ200の処理面に対して垂直方向(図4では上下方向)に隣り合う処理区画壁221間に支持される複数のウエハ200の間隔が均等になるように、均等に形成されていることが好ましい。
なお、基板支持部としては支柱217aの表面から内部に落ちこんで形成される溝に限らず、支柱217aの表面から突き出て形成される突出部ないし凸部としても良い。
図1及び図2に示すように、前記ガス導入管230は、ウエハ200の処理面に対して垂直方向に複数に区画化されたガス導入区画部222を有し、ガス導入管230に導入されたガスがガス導入区画部222毎に流れるようになっている。ガス導入管230のガス導入管区画壁228は、ガスが反応管203内に入っても区画毎に流れるように、ボート217の処理区画壁221と同数設けるようにする。図示例では、ガス導入管230は、導入管区画壁228によって8つに区画化されたガス導入区画部230a〜230hを有する。
また、ボート217の各処理区画壁221と、各処理区画壁221に対応する各導入管区画壁228とは、区画毎にガスを導入できるように、それぞれ略同じ高さに配置されている。また、さらにボート217の処理区画壁221と導入管区画壁228との厚さは、区画毎にできるだけ漏れなくガスを導入できるように、それぞれ略同じ厚さに形成されている。
また、ガス導入管230の複数のガス導入区画部230a〜230hのそれぞれの上流側のガス供給部に処理ガス供給部249a〜249h、および不活性ガス供給部250a〜250hが選択的に接続されている。この選択的接続はガス制御部としてのガス流量制御部235が行うようになっている。このガス流量制御部235により、反応管203内でウエハ200を処理する際に、ガス導入区画部230a〜230hに対向する処理区画部220a〜220hのいずれかにウエハ200が配置される場合には、当該処理ガス供給部249a〜249hから処理ガスを供給し、ガス導入区画部230a〜230hに対向する処理区画部220a〜220hのいずれかにウエハ200が配置されない場合には、当該不活性ガス供給部250a〜250hから不活性ガス、例えばN2ガス等を供給するようになっている。
なお、処理ガス供給部249a〜249hおよび不活性ガス供給部250a〜250hを、各ガス導入区画部230a〜230hのそれぞれの中心部分、すなわち、導入管区画壁228間の略真ん中に配置することにより、より均等に処理区画壁221間の複数のウエハ200それぞれにガスを供給することができる。
なお、処理ガス供給部249a〜249hおよび不活性ガス供給部250a〜250hを、各ガス導入区画部230a〜230hのそれぞれの中心部分、すなわち、導入管区画壁228間の略真ん中に配置することにより、より均等に処理区画壁221間の複数のウエハ200それぞれにガスを供給することができる。
また、ガス排気管231は、ウエハ200の処理面に対して垂直方向に複数に区画化されたガス排気区画部を有し、各ガス排気区画部からウエハ処理空間204を排気するようになっている。ガス排気管231の排気管区画壁229は、区画毎に排気されるように、ボート217の処理区画壁221とは同数設けるようにする。図示例では、ガス排気管231は、排気管区画壁229によって8つに区画化された排気区画部231a〜231hを有する。
また、ボート217の各処理区画壁221と、各処理区画壁221に対応する各ガス排気管区画壁229とは、区画毎にガスを排気できるように、それぞれ略同じ高さに配置されている。また、さらにボート217の処理区画壁221とガス排気管区画壁229との厚さは、区画毎にできるだけ漏れなくガスを排気できるように、それぞれ略同じ厚さに形成されている。
反応管203内でウエハ200を処理する際に、各ガス排気区画部231a〜231hに対向する処理区画部220のいずれかの位置にウエハ200が配置される場合には、当該ガス排気区画部231a〜231hから処理ガスを排気し、各ガス排気区画部231a〜231hに対向する処理区画部220のいずれかの位置にウエハ200が配置されない場合には、当該ガス排気区画部231a〜231hから不活性ガスを排気するようになっている。
ヒータ206は、上部が閉じ下部が開口した略筒状の断熱体260と、ガス導入管230を反応管203の側面からヒータ206の外側に水平に取り出せるよう形成されたガス導入管用の導入口261と、ガス排気管231を反応管203の側面からヒータ206の外側に水平に取り出せるよう形成されたガス排気管用の導出口262とを有する。これらの導入口261及び導出口262は、例えば、断熱体260の下端から上方に向かう溝形状の切欠部として形成される。
これにより、反応管203の上方からヒータ206を反応管203に被せる際に、反応管203の側面に設けられたガス導入管230及びガス排気管231がヒータ206に干渉するのを避けて、反応管203の外周に被せることが可能になる。ヒータ206を反応管203の外周に被せた結果、ヒータ206の外側まで達するガス導入管230、ガス排気管231の反応管接続部と反対側の端部が、ヒータ206の両外側に突き出すことになる。
これにより、反応管203の上方からヒータ206を反応管203に被せる際に、反応管203の側面に設けられたガス導入管230及びガス排気管231がヒータ206に干渉するのを避けて、反応管203の外周に被せることが可能になる。ヒータ206を反応管203の外周に被せた結果、ヒータ206の外側まで達するガス導入管230、ガス排気管231の反応管接続部と反対側の端部が、ヒータ206の両外側に突き出すことになる。
《機構》
反応管203の下方には、反応管203の下端開口を気密に閉塞可能な炉口蓋体としてのシールキャップ219が設けられている。シールキャップ219の処理室201と反対側には、後述する基板保持具としてのボート217を回転させる回転機構254が設置されている。回転機構254の回転軸255はシールキャップ219を貫通して、ボート217に接続されており、ボート217を回転させることでウエハ200を回転させるように構成されている。なお、図1には示されていないが、昇降機構としてのボートエレベータによってボート217を処理室201に対し搬入出することが可能となっている。
以上のようにして本実施の形態による処理炉202が構成される。
反応管203の下方には、反応管203の下端開口を気密に閉塞可能な炉口蓋体としてのシールキャップ219が設けられている。シールキャップ219の処理室201と反対側には、後述する基板保持具としてのボート217を回転させる回転機構254が設置されている。回転機構254の回転軸255はシールキャップ219を貫通して、ボート217に接続されており、ボート217を回転させることでウエハ200を回転させるように構成されている。なお、図1には示されていないが、昇降機構としてのボートエレベータによってボート217を処理室201に対し搬入出することが可能となっている。
以上のようにして本実施の形態による処理炉202が構成される。
《薄膜形成方法》
次に、上記構成に係る処理炉202を用いて、半導体デバイスの製造工程の一工程として、CVD法により減圧下でウエハ200上に薄膜を形成する方法について説明する。
次に、上記構成に係る処理炉202を用いて、半導体デバイスの製造工程の一工程として、CVD法により減圧下でウエハ200上に薄膜を形成する方法について説明する。
《搬入工程》
複数枚のウエハ200がボート217に装填(ウエハチャージ)され、図1に示すように、複数枚のウエハ200を保持したボート217は、ボートエレベータにより持ち上げられて処理室201に搬入(ボートローディング)される。この状態で、シールキャップ219は反応管203の下端をシールした状態となる。また、ボートローディングにより、各ガス導入管区画壁228に対向するウエハ処理空間204の各所定位置に、ボート217の各処理区画壁221が配置されることになる。したがって、ガス導入管230の各導入区画部230a〜230h、ボート217の各処理区画部220a〜220h、及びガス排気管231の各排気区画部231a〜231hが、それぞれ対応する番号の添字が共通する区画部毎に水平方向に整列することになる。その結果、ガス導入からガス排気までの全工程でサイドフローを実現することができる。
複数枚のウエハ200がボート217に装填(ウエハチャージ)され、図1に示すように、複数枚のウエハ200を保持したボート217は、ボートエレベータにより持ち上げられて処理室201に搬入(ボートローディング)される。この状態で、シールキャップ219は反応管203の下端をシールした状態となる。また、ボートローディングにより、各ガス導入管区画壁228に対向するウエハ処理空間204の各所定位置に、ボート217の各処理区画壁221が配置されることになる。したがって、ガス導入管230の各導入区画部230a〜230h、ボート217の各処理区画部220a〜220h、及びガス排気管231の各排気区画部231a〜231hが、それぞれ対応する番号の添字が共通する区画部毎に水平方向に整列することになる。その結果、ガス導入からガス排気までの全工程でサイドフローを実現することができる。
《圧力、温度安定化工程》
排気管231を通して処理室201内が所望の圧力(真空度)となるように真空排気される。また、処理室201内が所望の温度となるようにヒータ206によって加熱される。続いて、回転機構254により、ボート217が回転されることで、ウエハ200が回転される。
排気管231を通して処理室201内が所望の圧力(真空度)となるように真空排気される。また、処理室201内が所望の温度となるようにヒータ206によって加熱される。続いて、回転機構254により、ボート217が回転されることで、ウエハ200が回転される。
《ガス導入工程、ガス通過工程、基板処理工程、排気工程》
次いで、処理ガス供給部249a〜249hから処理ガスが供給され、ガス導入管230のガス導入区画部230a〜230hを通り、処理区画壁221に区画された処理区画部220a〜220hに導入される。この場合において、各ガス導入区画部230a〜230hに対向する各処理区画部220a〜220hにウエハ200が配置される場合には処理ガス供給部249a〜249hから処理ガスが導入される。ガス導入区画部230a〜230hに対向する各処理区画部220a〜220hのいずれかにウエハ200が配置されない場合には、ウエハ200の配置されていない当該処理区画部220に不活性ガス供給部250a〜250hから不活性ガスが導入される。
導入されたガスは処理区画壁221に垂直方向に複数に区画されたボート217を水平方向に通過し、さらにガス排気管231のガス排気区画部231a〜231hから排気される。ガスは処理室201内を通過する際にウエハ200の処理面と平行に接触し、この際に熱CVD反応によってウエハ200の表面上に薄膜が堆積(デポジション)される。
次いで、処理ガス供給部249a〜249hから処理ガスが供給され、ガス導入管230のガス導入区画部230a〜230hを通り、処理区画壁221に区画された処理区画部220a〜220hに導入される。この場合において、各ガス導入区画部230a〜230hに対向する各処理区画部220a〜220hにウエハ200が配置される場合には処理ガス供給部249a〜249hから処理ガスが導入される。ガス導入区画部230a〜230hに対向する各処理区画部220a〜220hのいずれかにウエハ200が配置されない場合には、ウエハ200の配置されていない当該処理区画部220に不活性ガス供給部250a〜250hから不活性ガスが導入される。
導入されたガスは処理区画壁221に垂直方向に複数に区画されたボート217を水平方向に通過し、さらにガス排気管231のガス排気区画部231a〜231hから排気される。ガスは処理室201内を通過する際にウエハ200の処理面と平行に接触し、この際に熱CVD反応によってウエハ200の表面上に薄膜が堆積(デポジション)される。
《常圧復帰工程》
予め設定された処理時間が経過すると、不活性ガス供給部250a〜250hから不活性ガスが供給され、処理室201内が不活性ガスに置換されるとともに、処理室201内の圧力が常圧に復帰される。
予め設定された処理時間が経過すると、不活性ガス供給部250a〜250hから不活性ガスが供給され、処理室201内が不活性ガスに置換されるとともに、処理室201内の圧力が常圧に復帰される。
《搬出工程》
その後、シールキャップ219が下降されて、反応管203の下端が開口されるとともに、処理済のウエハ200がボート217に保持された状態で反応管203の下端から外部に搬出(ボートアンローディング)される。その後、処理済のウエハ200はボート217より取り出される(ウエハディスチャージ)。
その後、シールキャップ219が下降されて、反応管203の下端が開口されるとともに、処理済のウエハ200がボート217に保持された状態で反応管203の下端から外部に搬出(ボートアンローディング)される。その後、処理済のウエハ200はボート217より取り出される(ウエハディスチャージ)。
《実施の形態の効果》
上述したように本実施の形態によれば、次のような効果を発揮する。
上述したように本実施の形態によれば、次のような効果を発揮する。
《膜厚の面内・面間均一性向上》
ボート217に、ウエハ200の処理面に対して垂直方向にボート217を複数に区画する処理区画壁221を設けたので、処理区画壁221により区画された処理区画部220毎に成膜ガスを流すことができる。また、処理区画壁221により一の処理区画部220と他の処理区画部220とが区画されていることにより、処理区画部220内外への不要なガス流れが抑制されるので、成膜に適正な使用ガス流量を得ることができる。したがって、ローディングエフェクトを防止し、一度に処理する複数枚のウエハ200の面内・面間の処理均一性をより向上できる。
また、ガス導入管230及びガス排気管231にも、ウエハ200の処理面に対して垂直方向にガス導入管230及びガス排気管231を複数に区画する導入管区画壁228及び排気管区画壁229をそれぞれ設けたので、各処理区画部220へ水平方向から導入、排気(サイドフローとすることが)できる。
すなわち、ガス導入管230及びガス排気管231が、ウエハ200の処理面に対して垂直方向に複数に区画化されており、区画化されたガス導入区画部230a〜230hに成膜ガスが流れることになる。また、ガス導入管230の複数のガス導入区画部230a〜230hからそれぞれ導入された処理ガスが、ガス排気管231の複数のガス排気区画部231a〜231hからそれぞれ排気されることにより、矢印で示すように、ウエハ処理空間204の垂直方向の複数箇所に成膜ガスが平行に流れるようになる。これにより、ウエハ200に対して水平方向から処理ガスを供給して水平方向から排気できるので、ウエハ200間に処理ガスがスムーズに供給されるようになる。したがって、ローディングエフェクトを防止し、一度に処理する複数枚のウエハ200の面内・面間の処理均一性をより向上できる。
すなわち、ガス導入管230及びガス排気管231が、ウエハ200の処理面に対して垂直方向に複数に区画化されており、区画化されたガス導入区画部230a〜230hに成膜ガスが流れることになる。また、ガス導入管230の複数のガス導入区画部230a〜230hからそれぞれ導入された処理ガスが、ガス排気管231の複数のガス排気区画部231a〜231hからそれぞれ排気されることにより、矢印で示すように、ウエハ処理空間204の垂直方向の複数箇所に成膜ガスが平行に流れるようになる。これにより、ウエハ200に対して水平方向から処理ガスを供給して水平方向から排気できるので、ウエハ200間に処理ガスがスムーズに供給されるようになる。したがって、ローディングエフェクトを防止し、一度に処理する複数枚のウエハ200の面内・面間の処理均一性をより向上できる。
また、各区画壁はウエハ200の処理面に対して垂直方向に設けたので、ガス導入管230から導入されたガスは、ウエハ200の処理面と平行方向に導入されることになり、ガスがウエハ200間に流れ込みやすくなる。さらに、ガス導入管230およびガス排気管231を、反応管203内に配置されるウエハ200の直径を通る直線上に配置して、ガスが反応管203内部に到達する前のガス助走領域となるガス導入区画部230a〜230hをウエハ200の処理面と平行方向になるようにしたので、ガスがウエハ200間に一層流れ込みやすくすることができる。したがって、ローディングエフェクトを防止し、一度に処理する複数枚のウエハ200の面内・面間の処理均一性をより向上できる。
また、ボート217の処理区画壁221、ガス導入管区画壁228及びガス排気管区画壁229を、それぞれ同数かつ略同じ高さにして対向させているので、処理区画部間に成膜ガスを均等に流すことができる。また、ボート217に形成された各処理区画部220に、ウエハ200が均等に配置されているので、処理区画部内の各ウエハ200間に成膜ガスを均等に流すことができる。したがって、ローディングエフェクトを防止し、一度に処理する複数枚のウエハ200の面内・面間の処理均一性をより向上できる。
このように本実施の形態によれば、ボート217にも処理区画壁221を設けているので、一度に処理する複数枚のウエハの面内・面間の処理均一性を向上できる。しかし、例えば図9に示すように、ボート217に処理区画壁221が設けられていない場合には、図11に示すように、反応管203とボート217との間にウエハ処理面に対して垂直方向の流路227が形成される。このため図10に示すように、処理室210内には、水平方向のガスの流れに加え、流路227を通る垂直方向の流れも形成されることになる。すなわち、ボート217に処理区画壁221が設けられていない場合には、処理室201内において、一の処理区画部220から他の処理区画部220への成膜ガスの流出、若しくは他の処理区画部220から一の処理区画部220への成膜ガス導入をそれぞれ抑制することができない。このため成膜ガスの流量が処理区画部220間で異なり、処理区画部内のウエハ面間と、処理区画部間のウエハ面間の膜厚均一性に影響を及ぼすことになる。上述した実施の形態では、このような問題を解消できる。
また、本実施の形態によれば、ガスの流れをサイドフローとするために、反応管の側面にガス導入管を設けているので、ガスノズルを設けた場合と比べて、メンテナンス性が大幅に改善される。また、ガス導入管は、ウエハ処理空間の外に設けられているため、ウエハ処理空間内に設けられている場合と比べて、反応生成物の付着・堆積が起こらない。また、本実施の形態によれば、ガス導入管の各区画部から処理ガス又は不活性ガスを選択的に導入できるようにしたので、ガス導入管を変更することなく、成膜条件の変更に対応でき、成膜可能な条件が制限されることがない。したがって、ガス導入管について所望のメンテナンスや交換を行うだけで、一度に処理する複数枚の基板の面内・面間の処理均一性を向上できる。
《ダミーレス》
また、ローディングエフェクトフリーにより、ダミーレス化を実現できる。このダミーレス化について説明する。
近年、ICの製造方法においては、生産の形態が小品種大量生産から多品種少量生産への変遷してきているため、製品の仕込みから完成までの時間を短縮することが要望されている。例えば、DRAMのような同一製品を大量に製造する場合におけるCVD装置においては、ボート217へのウエハ200の装填枚数はボートの最大装填枚数ということになる。しかし、システムLSI等の多品種少量生産の場合には、ボートへのウエハ200の装填枚数をボートの最大装填枚数に維持することが困難になり、ボートの最大装填枚数の50〜70%の装填率をもって処理したり、甚だしき場合には2枚や3枚のウエハを処理したりする必要が発生する。
このような場合においては、一回の処理作業(以下、バッチという。)相互間の成膜のばらつきを抑制するために、各バッチ間の処理条件を同一に制御することが、一般的に実施されている。例えば、一回のバッチで処理すべきウエハ(以下、製品ウエハという。)の枚数が減少した場合には、製品とならないウエハ(以下、ダミーウエハという。)を減少した枚数分の製品ウエハの代わりに補充することにより、枚数が減少したバッチの処理条件を枚数が減少しない時のバッチの処理条件と同一に制御することが、実施されている。
また、ローディングエフェクトフリーにより、ダミーレス化を実現できる。このダミーレス化について説明する。
近年、ICの製造方法においては、生産の形態が小品種大量生産から多品種少量生産への変遷してきているため、製品の仕込みから完成までの時間を短縮することが要望されている。例えば、DRAMのような同一製品を大量に製造する場合におけるCVD装置においては、ボート217へのウエハ200の装填枚数はボートの最大装填枚数ということになる。しかし、システムLSI等の多品種少量生産の場合には、ボートへのウエハ200の装填枚数をボートの最大装填枚数に維持することが困難になり、ボートの最大装填枚数の50〜70%の装填率をもって処理したり、甚だしき場合には2枚や3枚のウエハを処理したりする必要が発生する。
このような場合においては、一回の処理作業(以下、バッチという。)相互間の成膜のばらつきを抑制するために、各バッチ間の処理条件を同一に制御することが、一般的に実施されている。例えば、一回のバッチで処理すべきウエハ(以下、製品ウエハという。)の枚数が減少した場合には、製品とならないウエハ(以下、ダミーウエハという。)を減少した枚数分の製品ウエハの代わりに補充することにより、枚数が減少したバッチの処理条件を枚数が減少しない時のバッチの処理条件と同一に制御することが、実施されている。
本実施の形態によれば、成膜ガス供給量が全てのウエハに対して均等になるので、成膜処理する際、成膜不要なダミーウエハを処理室201に充填する目的で入れる必要が無く(ダミーレス化)、成膜処理する製品ウエハが存在するガス導入区画部のみに成膜ガスを流し、それ以外のガス導入区画部にはダミーウエハは充填せずにパージガスをガス導入区画部から流し、全体のガス流量を調整し成膜することが可能となる。また、ガス導入区画部ごとにガス導入を行い、それぞれに流量制御手段を設け、ガス導入流量を制御することにより、より区画ごとでの成膜を管理することができる。
これにより、成膜ガス使用量を低く抑え、充填目的のダミーウエハが不要となるため、運用コスト(ランニングコスト)を大幅に下げる事が出来る。また、ガス排気区画部ごとに排気を行い、それぞれに自動圧力制御手段を設け自動圧力制御(APC)することにより、より区画ごとでの成膜を管理することができる。
これにより、成膜ガス使用量を低く抑え、充填目的のダミーウエハが不要となるため、運用コスト(ランニングコスト)を大幅に下げる事が出来る。また、ガス排気区画部ごとに排気を行い、それぞれに自動圧力制御手段を設け自動圧力制御(APC)することにより、より区画ごとでの成膜を管理することができる。
また、ボートへのウエハ200の装填率が低い場合、ガス導入区画部230a〜230hに対向するウエハ処理空間位置にウエハ200が配置される場合には処理ガス供給部249a〜249hから処理ガスを導入し、ガス導入区画部230a〜230hに対向するウエハ処理空間位置にウエハ200が配置されない場合には不活性ガス供給部250a〜250hから不活性ガスを導入することができるので、処理ガスの使用量を低減できる。すなわち、ウエハが配置されない位置のガス導入管の区画部からは、処理ガスではなく、不活性ガスを供給するので、当該区画部の反応管内の反応生成物の付着・堆積を抑制できる。したがって、例えば反応生成物の付着・堆積が顕著に起こるSi3N4成膜等を行う場合であっても本実施の形態は有効である。
《本発明の別な実施の形態》
本発明は上述した実施の形態に限定されず、別な実施の形態が種々考えられる。
本発明は上述した実施の形態に限定されず、別な実施の形態が種々考えられる。
《処理区画壁の形状、配置や個数》
上述した実施の形態では、ボートに設けた処理区画壁を円板状とし、ボートにおける配置や個数を例示したが、そのような処理区画壁の形状、配置や個数に限定されない。
上述した実施の形態では、ボートに設けた処理区画壁を円板状とし、ボートにおける配置や個数を例示したが、そのような処理区画壁の形状、配置や個数に限定されない。
《組立てボート》
また、上述した実施の形態では、ボート21を一体物としたが、処理区画部単位で分解可能な組立体としてもよい。例えば、ボート217をボート構成要素の積層体とする。一つのボート構成要素の上に他のボート構成要素を順次載せていくように、複数のボート構成要素を配置してボートを組立てる。
また、上述した実施の形態では、ボート21を一体物としたが、処理区画部単位で分解可能な組立体としてもよい。例えば、ボート217をボート構成要素の積層体とする。一つのボート構成要素の上に他のボート構成要素を順次載せていくように、複数のボート構成要素を配置してボートを組立てる。
例えば、図5に示す第2の実施の形態のように、ボート217は、その基本構成は既述したものと同じである。ボート217は、ボート217を高さ方向に複数分割した同一形状のボート構成要素290からなる。ボート構成要素は、ウエハ200の外周部を支持するよう略円筒状に並べられた複数本の短柱290aと、複数本の短柱290a間上部を閉じる略円板状の天板290bと、複数本の短柱290a間下部を閉じる略円板状の底板290cとを有する。なお、複数本の短柱290aの側面には、ウエハ200の外周部を支持するための複数の基板支持部としての溝が切ってある。
一つのボート構成要素290の上に他のボート構成要素を載せたとき、一つのボート構成要素290の天板290bと他のボート構成要素の底板290cとが係合するように、天板290bに凸状の係合部291を設け、底板290cに凹状の被係合部292とを設ける。なお、天板290bに被係合部292を設け、底板290cに係合部291を設けるようにしてもよい。また、ボート構成要素290の短柱290aを順次繋いで行くために、一つのボート構成要素の短柱290aの上部と、他のボート構成要素の短柱290aの下部とがはめ込み式となるように、短柱290a上部にくり貫き孔を設け、短柱290a下部には底板290cの下面よりも突出してくり貫き孔にはめ込まれる突出部を設ける。なお、短柱290a上部に突出部を設け、短柱290a下部にくり貫き孔を設けるようにしてもよい。
上述した天板290b及び底板290cが処理区画壁を構成する。一つのボート構成要素290の上に他のボート構成要素290を順次載せていくと、積層体構造のボートが組立てられる。組立てられたボートの底板290cと天板290bとを除いたボート中間部の処理区画壁は、一つのボート構成要素290の天板290bと、その上に乗る他のボート構成要素290の底板290cとの2枚構造となる。
このようにボートを複数のボート構成要素290から構成し、ボート構成要素290の積層により、ボート構成要素290間の境界となる天板290b及び底板290cによって、ボートを区画化することも可能である。この実施の形態によれば、ウエハ処理枚数に応してボート構成要素の積層数を容易に変更することができる。
《ガス排気管》
また、上記実施の形態では、反応管の側面にガス導入管のみならずガス排気管も設けるようにしたが、本発明はこれに限定されない。例えば、図6に示す第3の実施の形態のように、反応容器が反応管203とマニホールド209とから構成されているような場合、ガス導入管230は反応管203の側面に設け、ガス排気管231はマニホールド209に設けるようにしてもよい。この場合において、反応管203の側面に設けられたガス導入管230にウエハ200の処理面に対して垂直方向に複数に区画されるよう導入管区画壁228を備えることが好ましい。
また、上記実施の形態では、反応管の側面にガス導入管のみならずガス排気管も設けるようにしたが、本発明はこれに限定されない。例えば、図6に示す第3の実施の形態のように、反応容器が反応管203とマニホールド209とから構成されているような場合、ガス導入管230は反応管203の側面に設け、ガス排気管231はマニホールド209に設けるようにしてもよい。この場合において、反応管203の側面に設けられたガス導入管230にウエハ200の処理面に対して垂直方向に複数に区画されるよう導入管区画壁228を備えることが好ましい。
《処理区画壁》
また、上述した実施の形態では、ボート217に設けた各処理区画壁221は、ボート217の底板217c及び天板217bと略同じ径をもつ円板状に形成しているが、本発明は、これに限定されない。処理区画壁は、少なくともウエハのサイズより大きくし、また好ましくは、ボートの支柱を囲むように支柱の外周側より大きくなればよい。この場合、ボートの処理区画壁の径を大きくする代りに、ガス導入管230および/ないしガス排気管231の区画壁を突出させてもよい。
また、上述した実施の形態では、ボート217に設けた各処理区画壁221は、ボート217の底板217c及び天板217bと略同じ径をもつ円板状に形成しているが、本発明は、これに限定されない。処理区画壁は、少なくともウエハのサイズより大きくし、また好ましくは、ボートの支柱を囲むように支柱の外周側より大きくなればよい。この場合、ボートの処理区画壁の径を大きくする代りに、ガス導入管230および/ないしガス排気管231の区画壁を突出させてもよい。
図7は、そのようなガス導入管230および/ないしガス排気管231の区画壁を突出させるようにした第4の実施の形態を示している。
ボートの処理区画壁221と導入管区画壁228とを略同じ高さに配置した上で、導入管区画壁228は反応管203の内壁面より内側に突き出す突出部228aを有する。また、ボート217の処理区画壁221と排気管区画壁229とを略同じ高さに配置した上で、排気管区画壁229は反応管203の内壁面より径方向内方に突き出す突出部229aを有する。
ボート217に設けた処理区画壁221を複数の支柱217aの外周側より外側にまで延在し形成してもよいが、導入管区画壁228又は/及び排気管区画壁229を反応管203の内壁面より径方向内方に突き出す突出部228a、229aを有するようにすれば、反応管の構造が容易になる。
ボートの処理区画壁221と導入管区画壁228とを略同じ高さに配置した上で、導入管区画壁228は反応管203の内壁面より内側に突き出す突出部228aを有する。また、ボート217の処理区画壁221と排気管区画壁229とを略同じ高さに配置した上で、排気管区画壁229は反応管203の内壁面より径方向内方に突き出す突出部229aを有する。
ボート217に設けた処理区画壁221を複数の支柱217aの外周側より外側にまで延在し形成してもよいが、導入管区画壁228又は/及び排気管区画壁229を反応管203の内壁面より径方向内方に突き出す突出部228a、229aを有するようにすれば、反応管の構造が容易になる。
本発明の好ましい態様を付記する。
第1の態様の基板処理装置によれば、基板の処理面に対して垂直方向に複数枚配置するよう基板保持具で基板を支持しつつ処理可能な処理室を内部に有する略筒状の反応管と、該反応管の外周を囲うように設けられる略筒状の加熱装置とを備え、前記反応管の側面にはガス導入管が設けられており、前記基板保持具は、該基板保持具を前記基板の処理面に対して垂直方向に複数に区画するように設けられる区画壁と、該区画壁により複数に区画される前記基板保持具それぞれに複数の基板を支持可能なように設けられる複数の基板支持部とを有している基板処理装置が提供される。
第1の態様の基板処理装置によれば、基板の処理面に対して垂直方向に複数枚配置するよう基板保持具で基板を支持しつつ処理可能な処理室を内部に有する略筒状の反応管と、該反応管の外周を囲うように設けられる略筒状の加熱装置とを備え、前記反応管の側面にはガス導入管が設けられており、前記基板保持具は、該基板保持具を前記基板の処理面に対して垂直方向に複数に区画するように設けられる区画壁と、該区画壁により複数に区画される前記基板保持具それぞれに複数の基板を支持可能なように設けられる複数の基板支持部とを有している基板処理装置が提供される。
これによれば、基板保持具に基板の処理面に対して垂直方向に複数に区画する区画壁を設けたので、基板間にガスを均等に流すことができ、ローディングエフェクトを防止することができる。また区画内外への不要なガス流れが抑制されるので、処理に適正な使用ガス流量を得ることができる。したがって、一度に成膜する多数の基板の面内・面間の膜厚均一性を向上することができる。
また、第2の態様によれば、基板の処理面に対して垂直方向に複数枚配置するよう基板保持具で基板を支持しつつ処理可能な処理室を内部に有する略筒状の反応管と、該反応管の外周を囲うように設けられる略筒状の加熱装置とを備え、前記反応管の側面にはガス導入管が設けられており、前記基板保持具は、該基板保持具を前記基板の処理面に対して垂直方向に複数に区画するように設けられる区画壁と、該区画壁により複数に区画される前記基板保持具それぞれに複数の基板を支持可能なように設けられる複数の基板支持部とを有している基板処理装置を用いて処理する半導体装置の製造方法であって、前記反応管内に基板を搬入する工程と、前記ガス導入管からガスを前記反応管内に導入する工程と、前記区画壁に区画された基板保持具をガスが通過する工程と、前記反応管内を前記加熱装置により加熱し基板を処理する工程と、前記反応管内のガスを排気する工程と、前記反応管内から基板を搬出する工程とを有する半導体装置の製造方法が提供される。
これによれば、区画間のローディングエフェクトを防止し、基板間にガスを均等に流し、一度に成膜する多数の基板の面内・面間の膜厚均一性を向上することができる。
これによれば、区画間のローディングエフェクトを防止し、基板間にガスを均等に流し、一度に成膜する多数の基板の面内・面間の膜厚均一性を向上することができる。
第1の態様において、好ましくは、前記ガス導入管には、前記基板の処理面に対して垂直方向に複数に区画されるよう導入管区画壁をさらに備えており、前記基板保持具の区画壁と前記導入管区画壁とは同数設けられているとよい。
導入管区画壁を備え、基板保持具区画壁と導入管区画壁とが同数設けられているので、ローディングエフェクトを一層防止し、基板間にガスをより均等に流し、一度に成膜する多数の基板の面内・面間の膜厚均一性を一層向上することができる。
導入管区画壁を備え、基板保持具区画壁と導入管区画壁とが同数設けられているので、ローディングエフェクトを一層防止し、基板間にガスをより均等に流し、一度に成膜する多数の基板の面内・面間の膜厚均一性を一層向上することができる。
この場合において、好ましくは、前記基板保持具の区画壁と前記導入管区画壁とが略同じ高さに配置されているとよい。
基板保持具の区画壁と前記導入管区画壁とが略同じ高さに配置されているので、一度に成膜する多数の基板の面内・面間の膜厚均一性を一層向上することができる。
さらに好ましくは、前記基板保持具の区画壁と前記導入管区画壁との厚さが略同じ厚さに形成されているとよい。一度に成膜する多数の基板の面内・面間の膜厚均一性を一層向上することができる。
基板保持具の区画壁と前記導入管区画壁とが略同じ高さに配置されているので、一度に成膜する多数の基板の面内・面間の膜厚均一性を一層向上することができる。
さらに好ましくは、前記基板保持具の区画壁と前記導入管区画壁との厚さが略同じ厚さに形成されているとよい。一度に成膜する多数の基板の面内・面間の膜厚均一性を一層向上することができる。
また第1の態様において、好ましくは前記反応管の側面にはさらにガス排気管が設けられており、前記ガス排気管には、前記基板の処理面に対して垂直方向に複数に区画されるよう排気管区画壁をさらに備えており、前記基板保持具の区面壁と前記排気管区画壁とは同数設けられているとよい。
一度に成膜する多数の基板の面内・面間の膜厚均一性を一層向上することができる。
より好ましくは、前記基板保持具の区画壁と前記排気管区画壁とが略同じ高さに配置されているとよい。一度に成膜する多数の基板の面内・面間の膜厚均一性を一層向上することができる。
さらに好ましくは、前記基板保持具の区画壁と前記排気管区画壁との厚さが略同じ厚さに形成されているとよい。一度に成膜する多数の基板の面内・面間の膜厚均一性を一層向上することができる。
一度に成膜する多数の基板の面内・面間の膜厚均一性を一層向上することができる。
より好ましくは、前記基板保持具の区画壁と前記排気管区画壁とが略同じ高さに配置されているとよい。一度に成膜する多数の基板の面内・面間の膜厚均一性を一層向上することができる。
さらに好ましくは、前記基板保持具の区画壁と前記排気管区画壁との厚さが略同じ厚さに形成されているとよい。一度に成膜する多数の基板の面内・面間の膜厚均一性を一層向上することができる。
また、第1の態様において、好ましくは、前記基板保持具は、基板を支持するよう基板を処理面に対して垂直方向に複数本設けられる支柱と、前記基板保持具の区画壁は前記複数の支柱の外周側より外側にまで延在し形成されているとよい。
一度に成膜する多数の基板の面内・面間の膜厚均一性を一層向上することができる。少なくともウエハのサイズより大きくし、また好ましくは、ボートの支柱を囲むように支柱の外周側より大きくする。この場合において、基板保持具の区画部を大きくしてもよい。例えば、基板保持具底板および天板と同じ径の板が区画化していてもよい。または、ガス導入部および/ないしガス排気部の区画壁を突出させてもよい。
一度に成膜する多数の基板の面内・面間の膜厚均一性を一層向上することができる。少なくともウエハのサイズより大きくし、また好ましくは、ボートの支柱を囲むように支柱の外周側より大きくする。この場合において、基板保持具の区画部を大きくしてもよい。例えば、基板保持具底板および天板と同じ径の板が区画化していてもよい。または、ガス導入部および/ないしガス排気部の区画壁を突出させてもよい。
また、基板保持具の区画壁を前記複数の支柱の外周側より外側にまで延在し形成する代りに、前記導入管区画壁は前記反応管の内壁面より内側に突き出す突出部を有するようにしてもよい。
基板保持具の区画壁を複数の支柱の外周側より外側にまで延在し形成してもよいが、導入管区画壁は前記反応管の内壁面より内側に突き出す突出部を有するようにすれば、構造が容易になる。
また、この場合において、前記排気管区画壁は前記反応管の内壁面より内側に突き出す突出部を有するとよい。基板保持具の区画壁を複数の支柱の外周側より外側にまで延在し形成してもよいが、導入管区画壁は前記反応管の内壁面より内側に突き出す突出部を有するようにすれば、構造が容易になる。
基板保持具の区画壁を複数の支柱の外周側より外側にまで延在し形成してもよいが、導入管区画壁は前記反応管の内壁面より内側に突き出す突出部を有するようにすれば、構造が容易になる。
また、この場合において、前記排気管区画壁は前記反応管の内壁面より内側に突き出す突出部を有するとよい。基板保持具の区画壁を複数の支柱の外周側より外側にまで延在し形成してもよいが、導入管区画壁は前記反応管の内壁面より内側に突き出す突出部を有するようにすれば、構造が容易になる。
また、第1の態様において、前記ガス導入管の複数の区画部それそれの上流側に処理ガス供給部および不活性ガス供給部が接続されており、前記反応管内で基板を処理する際に、該区画部に対向する位置に基板が配置される場合には前記処理ガス供給部から処理ガスを供給し、該区画部に対向する位置に基板が配置されない場合には前記不活性ガス供給部から不活性ガスを供給するガス制御部をさらに備えているとよい。
基板が配置されない位置のガス導入管の対向区画部からは、処理ガスではなく、不活性ガスをガス制御部により供給するので、反応管内の反応生成物付着・堆積を抑制できる。成膜に必要な使用ガス流量の無駄を低減させる。
基板が配置されない位置のガス導入管の対向区画部からは、処理ガスではなく、不活性ガスをガス制御部により供給するので、反応管内の反応生成物付着・堆積を抑制できる。成膜に必要な使用ガス流量の無駄を低減させる。
《実施の形態の処理炉が適用される実施例の説明》
図8は本発明の実施の形態で好適に用いられる一実施例の基板処理装置の処理炉202の概略構成図である。処理炉の基本的構成要素は、図1を用いて説明した第1の実施の形態の処理炉の対応する構成要素と同じであり、したがって、ここでは繰り返し述べることは避け、主に、ガス導入系・ガス排気系、ヒータ系、制御系について述べる。
図8は本発明の実施の形態で好適に用いられる一実施例の基板処理装置の処理炉202の概略構成図である。処理炉の基本的構成要素は、図1を用いて説明した第1の実施の形態の処理炉の対応する構成要素と同じであり、したがって、ここでは繰り返し述べることは避け、主に、ガス導入系・ガス排気系、ヒータ系、制御系について述べる。
《ガス導入系》
ガス導入管230の複数のガス導入区画部230a〜230hのそれぞれの上流側には、ガス流量制御器としてのMFC(マスフローコントローラ)241a〜241hを介して、処理ガス、例えば成膜ガスを供給する処理ガス供給部249a〜249h、および不活性ガス、例えばN2ガスを供給する不活性ガス供給部250a〜250hが接続されている。MFC241a〜241hには、ガス流量制御部235が電気的に接続されており、供給するガスの流量が所望の量となるよう所望のタイミングにて制御するように構成されている。
上述したMFC241a〜241hにより、反応管203内でウエハ200を処理する際に、ガス導入区画部230a〜230hに対向する位置にウエハ200が配置される場合には、処理ガス供給部249a〜249hから処理ガスを供給し、ガス導入区画部230a〜230hに対向する位置にウエハ200が配置されない場合には、不活性ガス供給部250a〜250hから不活性ガスを供給するようになっている。MFC241a〜241hが、既述したガス制御部を構成する。
ガス導入管230の複数のガス導入区画部230a〜230hのそれぞれの上流側には、ガス流量制御器としてのMFC(マスフローコントローラ)241a〜241hを介して、処理ガス、例えば成膜ガスを供給する処理ガス供給部249a〜249h、および不活性ガス、例えばN2ガスを供給する不活性ガス供給部250a〜250hが接続されている。MFC241a〜241hには、ガス流量制御部235が電気的に接続されており、供給するガスの流量が所望の量となるよう所望のタイミングにて制御するように構成されている。
上述したMFC241a〜241hにより、反応管203内でウエハ200を処理する際に、ガス導入区画部230a〜230hに対向する位置にウエハ200が配置される場合には、処理ガス供給部249a〜249hから処理ガスを供給し、ガス導入区画部230a〜230hに対向する位置にウエハ200が配置されない場合には、不活性ガス供給部250a〜250hから不活性ガスを供給するようになっている。MFC241a〜241hが、既述したガス制御部を構成する。
《ガス排気系》
ガス排気管231の複数のガス排気区画部231a〜231hのそれぞれの下流側には、圧力検出器としての圧力センサ245a〜245h、および圧力調整装置242a〜242hを介して真空ポンプ等の真空排気装置246a〜246hが接続され、処理室201内の圧力が所定の圧力(真空度)となるよう真空排気し得るように構成されている。圧力調整装置242a〜242hおよび圧力センサ245a〜245hには、圧力制御部236が電気的に接続されており、圧力制御部236は圧力センサ245a〜245hにより検出された圧力に基づいて圧力調整装置242a〜242hにより処理室201内の圧力が所望の圧力となるよう所望のタイミングにて制御するように構成されている。
ガス排気管231の複数のガス排気区画部231a〜231hのそれぞれの下流側には、圧力検出器としての圧力センサ245a〜245h、および圧力調整装置242a〜242hを介して真空ポンプ等の真空排気装置246a〜246hが接続され、処理室201内の圧力が所定の圧力(真空度)となるよう真空排気し得るように構成されている。圧力調整装置242a〜242hおよび圧力センサ245a〜245hには、圧力制御部236が電気的に接続されており、圧力制御部236は圧力センサ245a〜245hにより検出された圧力に基づいて圧力調整装置242a〜242hにより処理室201内の圧力が所望の圧力となるよう所望のタイミングにて制御するように構成されている。
《ヒータ系》
ヒータ206の断熱体260は、略筒状の側壁断熱材264と、側壁断熱材264の上部を閉じる円形の天井断熱材265とから構成される。
第一の発熱体266としてのヒータ素線266aは、側壁断熱材264と反応管203との間に設けられる。ヒータ素線266aはジグザグ状に形成してあり、従来と同様に、縦方向にゾーン分割された各ゾーンの側壁断熱材264の内壁に添ってリング状に設けられる。
第二の発熱体267としてのガス導入管用側壁加熱体267aは、ガス導入管用切欠部261aとガス導入管230との間に設けられる。ガス導入管用側壁加熱体267aはガス導入管用切欠部261aの内側壁に添って設けられる。
第三の発熱体268としてのガス排気管用側壁加熱体268aは、ガス排気管用切欠部262aとガス排気管231との間に設けられる。ガス排気管用側壁加熱体268aはガス排気管用切欠部262aの内側壁に添って設けられる。
ガス導入管用側壁加熱体267aおよびガス排気管用側壁加熱体268aは、少なくともガス導入管230またはガス排気管231の近傍の切欠部内壁に敷き詰められるように設けられる。ガス導入管用切欠部261aまたはガス排気管用切欠部262aの一方の側壁に設けるだけでなく、対向する両内側壁に設けるのが好ましく、ガス導入管用切欠部261aまたはガス排気管用切欠部262aの内上壁にも設けるのがより好ましい。
ガス導入管用側壁加熱体267aおよびガス排気管用側壁加熱体268aは、ヒータ素線266aのゾーン分割された各ゾーンにまたがって設けられることになる。そのため、ガス導入管用側壁加熱体267aおよびガス排気管用側壁加熱体268aに電力を供給する電源は、ヒータ素線266aに電力を供給する電源とは別の電源としてある。
ヒータ206の断熱体260は、略筒状の側壁断熱材264と、側壁断熱材264の上部を閉じる円形の天井断熱材265とから構成される。
第一の発熱体266としてのヒータ素線266aは、側壁断熱材264と反応管203との間に設けられる。ヒータ素線266aはジグザグ状に形成してあり、従来と同様に、縦方向にゾーン分割された各ゾーンの側壁断熱材264の内壁に添ってリング状に設けられる。
第二の発熱体267としてのガス導入管用側壁加熱体267aは、ガス導入管用切欠部261aとガス導入管230との間に設けられる。ガス導入管用側壁加熱体267aはガス導入管用切欠部261aの内側壁に添って設けられる。
第三の発熱体268としてのガス排気管用側壁加熱体268aは、ガス排気管用切欠部262aとガス排気管231との間に設けられる。ガス排気管用側壁加熱体268aはガス排気管用切欠部262aの内側壁に添って設けられる。
ガス導入管用側壁加熱体267aおよびガス排気管用側壁加熱体268aは、少なくともガス導入管230またはガス排気管231の近傍の切欠部内壁に敷き詰められるように設けられる。ガス導入管用切欠部261aまたはガス排気管用切欠部262aの一方の側壁に設けるだけでなく、対向する両内側壁に設けるのが好ましく、ガス導入管用切欠部261aまたはガス排気管用切欠部262aの内上壁にも設けるのがより好ましい。
ガス導入管用側壁加熱体267aおよびガス排気管用側壁加熱体268aは、ヒータ素線266aのゾーン分割された各ゾーンにまたがって設けられることになる。そのため、ガス導入管用側壁加熱体267aおよびガス排気管用側壁加熱体268aに電力を供給する電源は、ヒータ素線266aに電力を供給する電源とは別の電源としてある。
《制御系》
処理炉の制御系には、次に説明するように、温度制御とその他の制御がある。
《温度制御》
反応管203の外側近傍には、温度検出器としての温度センサ263が設置されている。ヒータ206と温度センサ263には、電気的に温度制御部238が接続されており、温度センサ263により検出された温度情報に基づきヒータ206への通電具合を調整することにより処理室201内の温度が所望の温度分布となるよう所望のタイミングにて制御するように構成されている。
また、ガス導入管用切欠部261aには、温度検出器としての温度センサ269が設置されている。ガス導入管用側壁加熱体267aと温度センサ269には、温度制御部238が電気的に接続されており、温度センサ269により検出された温度情報に基づきガス導入管用側壁加熱体267aへの通電具合を調整することによりガス導入管230内の温度が所望の温度となるよう所望のタイミングにて制御するように構成されている。
処理炉の制御系には、次に説明するように、温度制御とその他の制御がある。
《温度制御》
反応管203の外側近傍には、温度検出器としての温度センサ263が設置されている。ヒータ206と温度センサ263には、電気的に温度制御部238が接続されており、温度センサ263により検出された温度情報に基づきヒータ206への通電具合を調整することにより処理室201内の温度が所望の温度分布となるよう所望のタイミングにて制御するように構成されている。
また、ガス導入管用切欠部261aには、温度検出器としての温度センサ269が設置されている。ガス導入管用側壁加熱体267aと温度センサ269には、温度制御部238が電気的に接続されており、温度センサ269により検出された温度情報に基づきガス導入管用側壁加熱体267aへの通電具合を調整することによりガス導入管230内の温度が所望の温度となるよう所望のタイミングにて制御するように構成されている。
さらに、ガス排気管用切欠部262aには、温度検出器としての温度センサ270が設置されている。ガス排気管用側壁加熱体268aと温度センサ270には、温度制御部238が電気的に接続されており、温度センサ270により検出された温度情報に基づきガス排気管用側壁加熱体268aへの通電具合を調整することによりガス排気管231内の温度が所望の温度となるよう所望のタイミングにて制御するように構成されている。
温度制御部238は、上述したヒータ素線266a、ガス導入管用側壁加熱体267a、及びガス排気管用側壁加熱体268aをそれぞれ別系統で制御するように構成されている。
回転機構254及びボートエレベータには、駆動制御部237が電気的に接続されており、所望の動作をするよう所望のタイミングにて制御するように構成されている。
温度制御部238は、上述したヒータ素線266a、ガス導入管用側壁加熱体267a、及びガス排気管用側壁加熱体268aをそれぞれ別系統で制御するように構成されている。
回転機構254及びボートエレベータには、駆動制御部237が電気的に接続されており、所望の動作をするよう所望のタイミングにて制御するように構成されている。
《その他の制御》
ガス流量制御部235、圧力制御部236、駆動制御部237、温度制御部238は、操作部、入出力部をも構成し、基板処理装置全体を制御する主制御部239に電気的に接続されている。これら、ガス流量制御部235、圧力制御部236、駆動制御部237、温度制御部238、主制御部239はコントローラ240として構成されている。
以上のようにして実施例による処理炉202が構成される。
ガス流量制御部235、圧力制御部236、駆動制御部237、温度制御部238は、操作部、入出力部をも構成し、基板処理装置全体を制御する主制御部239に電気的に接続されている。これら、ガス流量制御部235、圧力制御部236、駆動制御部237、温度制御部238、主制御部239はコントローラ240として構成されている。
以上のようにして実施例による処理炉202が構成される。
《処理条件の一例》
なお、一例まで、実施例の処理炉にてウエハを処理する際の処理条件としては、例えば、Si3N4膜の成膜においては、処理圧力30Pa〜100Pa、ガス種ジクロルシランガス(SiH2Cl2)、アンモニアガス(NH3)、各区画部のガス供給流量SiH2Cl20.1sccm、NH30.5sccmが例示される。また、ヒータ素線266aによって加熱される反応管203内の処理温度760℃、ガス導入管用側壁加熱体267aによって加熱されるガス導入管230内の温度300℃、また、ガス排気管用側壁加熱体268aによって加熱されるガス排気管231の温度300℃が例示される。
それぞれの処理条件を、それぞれの範囲内のある値で一定に維持することでウエハに処理がなされる。
なお、一例まで、実施例の処理炉にてウエハを処理する際の処理条件としては、例えば、Si3N4膜の成膜においては、処理圧力30Pa〜100Pa、ガス種ジクロルシランガス(SiH2Cl2)、アンモニアガス(NH3)、各区画部のガス供給流量SiH2Cl20.1sccm、NH30.5sccmが例示される。また、ヒータ素線266aによって加熱される反応管203内の処理温度760℃、ガス導入管用側壁加熱体267aによって加熱されるガス導入管230内の温度300℃、また、ガス排気管用側壁加熱体268aによって加熱されるガス排気管231の温度300℃が例示される。
それぞれの処理条件を、それぞれの範囲内のある値で一定に維持することでウエハに処理がなされる。
200 ウエハ(基板)
217 ボート(基板保持具)
201 処理室
203 反応管
206 ヒータ(加熱装置)
230 ガス導入管
231 ガス排気管
228 ガス導入管区画壁
229 ガス排気管区画壁
221 処理区画壁
217 ボート(基板保持具)
201 処理室
203 反応管
206 ヒータ(加熱装置)
230 ガス導入管
231 ガス排気管
228 ガス導入管区画壁
229 ガス排気管区画壁
221 処理区画壁
Claims (2)
- 基板の処理面に対して垂直方向に複数枚配置するよう基板保持具で基板を支持しつつ処理可能な処理室を内部に有する略筒状の反応管と、
該反応管の外周を囲うように設けられる略筒状の加熱装置とを備え、
前記反応管の側面にはガス導入管が設けられており、
前記基板保持具は、該基板保持具を前記基板の処理面に対して垂直方向に複数に区画するように設けられる区画壁と、該区画壁により複数に区画される前記基板保持具それぞれに複数の基板を支持可能なように設けられる複数の基板支持部とを有している基板処理装置。 - 基板の処理面に対して垂直方向に複数枚配置するよう基板保持具で基板を支持しつつ処理可能な処理室を内部に有する略筒状の反応管と、
該反応管の外周を囲うように設けられる略筒状の加熱装置とを備え、
前記反応管の側面にはガス導入管が設けられており、
前記基板保持具は、該基板保持具を前記基板の処理面に対して垂直方向に複数に区画するように設けられる区画壁と、該区画壁により複数に区画される前記基板保持具それぞれに複数の基板を支持可能なように設けられる複数の基板支持部とを有している基板処理装置を用いて処理する半導体装置の製造方法であって、
前記反応管内に前記基板を搬入する工程と、
前記ガス導入管からガスを前記反応管内に導入する工程と、
前記区画壁により区画された基板保持具を前記ガスが通過する工程と、
前記反応管内を前記加熱装置により加熱して前記基板を処理する工程と、
前記反応管内の前記ガスを排気する工程と、
前記反応管内から前記基板を搬出する工程とを有する半導体装置の製造方法。
Priority Applications (4)
| Application Number | Priority Date | Filing Date | Title |
|---|---|---|---|
| JP2006350882A JP2008166321A (ja) | 2006-12-27 | 2006-12-27 | 基板処理装置および半導体装置の製造方法 |
| US11/987,891 US20080173238A1 (en) | 2006-12-12 | 2007-12-05 | Substrate processing apparatus, method of manufacturing semiconductor device, and reaction vessel |
| KR1020070127857A KR100932964B1 (ko) | 2006-12-12 | 2007-12-10 | 기판 처리 장치, 반도체 장치의 제조 방법 및 반응 용기 |
| US12/382,618 US8420167B2 (en) | 2006-12-12 | 2009-03-19 | Method of manufacturing a semiconductor device |
Applications Claiming Priority (1)
| Application Number | Priority Date | Filing Date | Title |
|---|---|---|---|
| JP2006350882A JP2008166321A (ja) | 2006-12-27 | 2006-12-27 | 基板処理装置および半導体装置の製造方法 |
Publications (1)
| Publication Number | Publication Date |
|---|---|
| JP2008166321A true JP2008166321A (ja) | 2008-07-17 |
Family
ID=39695457
Family Applications (1)
| Application Number | Title | Priority Date | Filing Date |
|---|---|---|---|
| JP2006350882A Pending JP2008166321A (ja) | 2006-12-12 | 2006-12-27 | 基板処理装置および半導体装置の製造方法 |
Country Status (1)
| Country | Link |
|---|---|
| JP (1) | JP2008166321A (ja) |
Cited By (7)
| Publication number | Priority date | Publication date | Assignee | Title |
|---|---|---|---|---|
| US20100326358A1 (en) * | 2008-02-12 | 2010-12-30 | Kyu-Jeong Choi | Batch type atomic layer deposition apparatus |
| JP2014207435A (ja) * | 2013-03-21 | 2014-10-30 | 東京エレクトロン株式会社 | バッチ式縦型基板処理装置および基板保持具 |
| CN106920761A (zh) * | 2015-12-28 | 2017-07-04 | 株式会社Eugene科技 | 衬底处理装置 |
| CN108352294A (zh) * | 2015-10-27 | 2018-07-31 | 株式会社Eugene科技 | 衬底处理装置 |
| JP2018536985A (ja) * | 2015-10-27 | 2018-12-13 | ユ−ジーン テクノロジー カンパニー.リミテッド | 基板処理装置及びチューブ組立体の組立方法 |
| WO2021033461A1 (ja) * | 2019-08-20 | 2021-02-25 | 株式会社Kokusai Electric | 基板処理装置、半導体装置の製造方法、プログラムおよび記録媒体 |
| US12540399B2 (en) | 2019-08-20 | 2026-02-03 | Kokusai Electric Corporation | Substrate processing apparatus, method of manufacturing semiconductor device and non-transitory computer-readable recording medium |
Citations (2)
| Publication number | Priority date | Publication date | Assignee | Title |
|---|---|---|---|---|
| JP2000068214A (ja) * | 1998-08-26 | 2000-03-03 | Kokusai Electric Co Ltd | 基板処理装置 |
| JP2004140320A (ja) * | 2002-08-23 | 2004-05-13 | Fuji Electric Holdings Co Ltd | 化学的気相成長装置 |
-
2006
- 2006-12-27 JP JP2006350882A patent/JP2008166321A/ja active Pending
Patent Citations (2)
| Publication number | Priority date | Publication date | Assignee | Title |
|---|---|---|---|---|
| JP2000068214A (ja) * | 1998-08-26 | 2000-03-03 | Kokusai Electric Co Ltd | 基板処理装置 |
| JP2004140320A (ja) * | 2002-08-23 | 2004-05-13 | Fuji Electric Holdings Co Ltd | 化学的気相成長装置 |
Cited By (18)
| Publication number | Priority date | Publication date | Assignee | Title |
|---|---|---|---|---|
| US20100326358A1 (en) * | 2008-02-12 | 2010-12-30 | Kyu-Jeong Choi | Batch type atomic layer deposition apparatus |
| JP2014207435A (ja) * | 2013-03-21 | 2014-10-30 | 東京エレクトロン株式会社 | バッチ式縦型基板処理装置および基板保持具 |
| US10840118B2 (en) | 2015-10-27 | 2020-11-17 | Eugene Technology Co., Ltd. | Substrate processing apparatus and method for assembling tube assembly |
| CN108352294B (zh) * | 2015-10-27 | 2022-06-14 | 株式会社Eugene科技 | 衬底处理装置 |
| CN108352294A (zh) * | 2015-10-27 | 2018-07-31 | 株式会社Eugene科技 | 衬底处理装置 |
| JP2018533213A (ja) * | 2015-10-27 | 2018-11-08 | ユ−ジーン テクノロジー カンパニー.リミテッド | 基板処理装置 |
| JP2018536985A (ja) * | 2015-10-27 | 2018-12-13 | ユ−ジーン テクノロジー カンパニー.リミテッド | 基板処理装置及びチューブ組立体の組立方法 |
| US11488845B2 (en) | 2015-10-27 | 2022-11-01 | Eugene Technology Co., Ltd. | Substrate processing apparatus |
| US10364494B2 (en) | 2015-12-28 | 2019-07-30 | Eugene Technology Co., Ltd. | Substrate processing apparatus |
| CN106920761A (zh) * | 2015-12-28 | 2017-07-04 | 株式会社Eugene科技 | 衬底处理装置 |
| JP2017120883A (ja) * | 2015-12-28 | 2017-07-06 | ユ−ジーン テクノロジー カンパニー.リミテッド | 基板処理装置 |
| WO2021033461A1 (ja) * | 2019-08-20 | 2021-02-25 | 株式会社Kokusai Electric | 基板処理装置、半導体装置の製造方法、プログラムおよび記録媒体 |
| CN114207183A (zh) * | 2019-08-20 | 2022-03-18 | 株式会社国际电气 | 基板处理装置、半导体器件的制造方法、程序以及记录介质 |
| KR20220027267A (ko) * | 2019-08-20 | 2022-03-07 | 가부시키가이샤 코쿠사이 엘렉트릭 | 기판 처리 장치, 반도체 장치의 제조 방법 및 기록 매체 |
| JPWO2021033461A1 (ja) * | 2019-08-20 | 2021-02-25 | ||
| JP7212790B2 (ja) | 2019-08-20 | 2023-01-25 | 株式会社Kokusai Electric | 基板処理装置、半導体装置の製造方法、プログラムおよび記録媒体 |
| KR102881120B1 (ko) * | 2019-08-20 | 2025-11-04 | 가부시키가이샤 코쿠사이 엘렉트릭 | 기판 처리 장치, 반도체 장치의 제조 방법 및 기록 매체 |
| US12540399B2 (en) | 2019-08-20 | 2026-02-03 | Kokusai Electric Corporation | Substrate processing apparatus, method of manufacturing semiconductor device and non-transitory computer-readable recording medium |
Similar Documents
| Publication | Publication Date | Title |
|---|---|---|
| JP5389202B2 (ja) | 基板処理装置、半導体装置の製造方法、および反応管 | |
| US10570508B2 (en) | Film forming apparatus, film forming method and heat insulating member | |
| US10961625B2 (en) | Substrate processing apparatus, reaction tube and method of manufacturing semiconductor device | |
| TWI764225B (zh) | 基板處理裝置、半導體裝置之製造方法、基板保持器具及程式 | |
| US11015248B2 (en) | Substrate processing apparatus and method of manufacturing semiconductor device | |
| US10453735B2 (en) | Substrate processing apparatus, reaction tube, semiconductor device manufacturing method, and recording medium | |
| US11685992B2 (en) | Substrate processing apparatus, quartz reaction tube and method of manufacturing semiconductor device | |
| KR102237780B1 (ko) | 기판 처리 장치 및 반도체 장치의 제조 방법 | |
| JP2009044023A (ja) | 半導体装置の製造方法および基板処理装置 | |
| US10340151B2 (en) | Substrate processing apparatus, heating apparatus, ceiling heat insulator, and method of manufacturing semiconductor device | |
| US20090017638A1 (en) | Substrate processing apparatus and method for manufacturing semiconductor device | |
| CN109494172A (zh) | 冷却单元、绝热结构体、基板处理装置、以及半导体装置的制造方法 | |
| JP2011029441A (ja) | 基板処理装置及び基板処理方法 | |
| KR100932964B1 (ko) | 기판 처리 장치, 반도체 장치의 제조 방법 및 반응 용기 | |
| JP4971954B2 (ja) | 基板処理装置、半導体装置の製造方法、および加熱装置 | |
| JP6447338B2 (ja) | 縦型熱処理装置 | |
| JP2008166321A (ja) | 基板処理装置および半導体装置の製造方法 | |
| US20230116953A1 (en) | Substrate retainer, substrate processing apparatus and method of manufacturing semiconductor device | |
| JP7048690B2 (ja) | 基板処理装置、半導体装置の製造方法及び基板保持具 | |
| US20220301865A1 (en) | Substrate processing apparatus, reaction tube, method of manufacturing semiconductor device, and recording medium | |
| KR20060081524A (ko) | 보트 어셈블리 | |
| JP2007207974A (ja) | 半導体装置の製造方法 |
Legal Events
| Date | Code | Title | Description |
|---|---|---|---|
| A621 | Written request for application examination |
Free format text: JAPANESE INTERMEDIATE CODE: A621 Effective date: 20090928 |
|
| A977 | Report on retrieval |
Free format text: JAPANESE INTERMEDIATE CODE: A971007 Effective date: 20100208 |
|
| A131 | Notification of reasons for refusal |
Free format text: JAPANESE INTERMEDIATE CODE: A131 Effective date: 20120214 |
|
| A02 | Decision of refusal |
Free format text: JAPANESE INTERMEDIATE CODE: A02 Effective date: 20120612 |