JP2007282985A - 歯刷子 - Google Patents

歯刷子 Download PDF

Info

Publication number
JP2007282985A
JP2007282985A JP2006115676A JP2006115676A JP2007282985A JP 2007282985 A JP2007282985 A JP 2007282985A JP 2006115676 A JP2006115676 A JP 2006115676A JP 2006115676 A JP2006115676 A JP 2006115676A JP 2007282985 A JP2007282985 A JP 2007282985A
Authority
JP
Japan
Prior art keywords
brush
toothbrush
handle
convex curved
curved surface
Prior art date
Legal status (The legal status is an assumption and is not a legal conclusion. Google has not performed a legal analysis and makes no representation as to the accuracy of the status listed.)
Granted
Application number
JP2006115676A
Other languages
English (en)
Other versions
JP4749922B2 (ja
Inventor
Kazuyoshi Tomiyama
和敬 富山
Current Assignee (The listed assignees may be inaccurate. Google has not performed a legal analysis and makes no representation or warranty as to the accuracy of the list.)
Individual
Original Assignee
Individual
Priority date (The priority date is an assumption and is not a legal conclusion. Google has not performed a legal analysis and makes no representation as to the accuracy of the date listed.)
Filing date
Publication date
Application filed by Individual filed Critical Individual
Priority to JP2006115676A priority Critical patent/JP4749922B2/ja
Publication of JP2007282985A publication Critical patent/JP2007282985A/ja
Application granted granted Critical
Publication of JP4749922B2 publication Critical patent/JP4749922B2/ja
Anticipated expiration legal-status Critical
Expired - Fee Related legal-status Critical Current

Links

Images

Landscapes

  • Brushes (AREA)

Abstract

【課題】 歯の歯頚部5や咬合面凹溝6内まで効率よく良好に磨く。
【解決手段】 歯刷子の柄の先端部分12の前面を前方へU字形に膨出した凸曲面13に形成し、この凸曲面13に刷子毛1をほぼ180°の方向へ拡がって植立し、その毛先を稜線2を持った三角柱形に切り揃え、歯頚部分5や、咬合面の凹溝6のような、通常の歯刷子では清掃を十分に行い難い箇所でも、刷子毛1の稜線部分によって良好に磨くことが可能にした歯刷子である。
【選択図】 図3

Description

本発明は歯刷子にかかり、更に詳しく述べれば、植毛を稜線を持った三角柱形に切り揃えてなる歯刷子に関するものである。
従来の歯刷子は、植毛の先端を平面になるように切り揃え、或いは波うたせて切り揃えていた。しかし、このような歯刷子では、歯の根元、即ち歯と歯茎との境界の歯頚部分や、歯の咬合面の凹溝等の清掃を完全に行うのが困難で、これらの部分に食物の残滓などが付着した状態になり易かった。そしてこれらの付着物は乳酸発酵を起こして歯を浸食して虫歯を作り、一旦浸食が起きると一層残滓などの除去が困難になっていた。
従って、本発明は歯の歯頚部分や咬合面の凹溝や、虫歯の浸食部分などの清掃を容易に行いうる歯刷子を実現するものである。
本発明による歯刷子は、柄の先端部分の前面に毛先が三角柱形に切り揃えられた刷子毛が植立されている。このために柄の刷子毛を植立した先端部分前面はU字形に前方へ膨出した凸曲面をなし、刷子毛はこの凸曲面にほぼ180°の方向へ拡がって植立されている。上記三角柱の稜線は、上記凸曲面の中心線に平行してその前方に位置する。
上記柄の基部は、望ましくは円筒状をなし、その内腔に歯間刷子を収容している。この円筒状部分は適所で分断され、この分断箇所は着脱可能に結合されている。上記歯間刷子の刷子毛に対応する箇所の筒壁には、内腔より外界へ通ずる複数の小径の通気孔が穿孔されている。
本発明による歯刷子は、上述のように刷子毛1の毛先が三角柱形に切り揃えられているので、その稜線部分2を利用すれば、歯3と歯茎4との境界に位置する歯頚部分5や、咬合面の凹溝6のような、通常の歯刷子では清掃を十分に行い難い箇所でも良好に清掃することが可能で、これにより虫歯の発生を防止することができる。
そして、一旦虫歯が発生すると、通常の歯刷子ではその浸食孔内の清掃が一層困難になるが、本発明による歯刷子を用いれば、このような浸食孔内も清掃して、虫歯の進行を抑制することができる。
また、歯刷子は、一般的に歯間の清掃が難しいが、柄の内部に歯間刷子を収納しておくことにより、歯刷子を取出して歯間を清掃することができ、従って歯をより清潔に保つことができる。
柄の先端の刷子毛を植える部分は、前面がU字形に膨出した凸曲面に形成し、この凸曲面のほぼ全域に刷子毛が約180°の方向へ拡がって植立される。刷子毛としては、従来から使用されている豚毛や合成繊維を使用することができる。刷子毛は前方に稜線を有するほぼ正三角柱状に先端が切り揃えられる。柄の基部は中空円筒形に作られ、その内腔に歯間刷子を収容する。その筒壁は適所を開閉可能にするために切り離し、その切断端をねじ結合する。筒壁の歯間刷子の刷子毛に対応する箇所には複数の小径の通気孔を設ける。
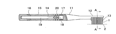
図1及び図2において、柄11の先端部分12は、その前面が前方へ向ってU字形に膨出した凸曲面13をなし、この凸曲面13上に刷子毛1が植立され、これら刷子毛1は凸曲面13に植立した関係上180°の方向に拡がっている。この拡がった刷子毛1の毛先は、稜線2を有する三角柱形に切り揃えられる。
柄11の基部は内腔14を有する円筒状に形成され、その円筒壁15は部分16、17で分断され、これら分断部分では分断端がねじ結合によって着脱可能に結合している。内腔14内には刷子毛18を有する歯間刷子19が収容されている。円筒壁15の歯間刷子19の刷子毛18に対応する箇所には、複数の小径の通気孔20が穿孔されている。
上述の三角柱形の歯刷子は、その刷子毛の先端が作る面の大きさが通常の歯刷子に較べて大きいために、短時間で歯の広範囲を磨くことができ、かつ刷子毛1の稜線2の部分が歯頚部分5や咬合面の凹溝6の奥部まで到達して完全な清掃を行うことができる。特に、歯頚部分5や咬合面凹溝6は歯垢が溜り易く、虫歯による浸食が起こり易いが、上述の三角柱形の歯刷子を用いれば、このような浸食孔内の清掃も可能であるために、虫歯の進行を抑制することができる。
また、歯垢が溜まり易い歯間は、歯間刷子を用いないと清掃し難く、正常な歯刷子とは別の歯間刷子を使用するのが煩雑であったが、上記実施例では、正常な歯刷子の柄の内部に歯間刷子を収納しているので手軽に正常な歯刷子と歯間刷子の両方を用いた歯の清掃を実行することができる。
上記実施例から明らかなように、本発明による歯刷子は、これを常用することにより歯垢を十分除去し、虫歯の予防に貢献することができるほか、従来の歯刷子の使用によって
虫歯が出来かかった患者の治療の一環として、本発明による歯刷子を使用させることにより、虫歯の浸食孔内を清掃して虫歯の進行を抑制することも可能である。
本発明の実施例の一部切断側面図である。 図1におけるA−A線に沿う断面図である。 上記実施例の歯刷子の使用状態を示す見取図である。
符号の説明
1 刷子毛
2 稜線
3 歯
4 歯茎
5 歯頚
6 凹溝
11 柄
12 先端部分
13 凸曲面
14 内腔
15 円筒壁
16 分断部
17 分断部
18 刷子毛
19 歯間刷子

Claims (4)

  1. 柄の先端部分の前面にほぼ180°の方向へ拡がって刷子毛が植立され、上記柄の先端部分前面の中心線に平行にこれから離れてその前方に位置する稜線の両側に形成される三角柱面に沿って、上記刷子毛を切り揃えてなる歯刷子。
  2. 請求項1において、上記柄の先端部分の前面は、前方へ向ってU字形に膨出した凸曲面をなし、この凸曲面に上記刷子毛が植立されていることを特徴とする歯刷子。
  3. 請求項1または2において、上記柄は基部が中空円筒状をなし、その内腔に歯間刷子を収容していることを特徴とする歯刷子。
  4. 請求項3において、上記基部の上記歯間刷子の刷子毛に対応する箇所に、その内腔より外界に通ずる複数の通気孔が穿孔されていることを特徴とする歯刷子。
JP2006115676A 2006-04-19 2006-04-19 歯刷子 Expired - Fee Related JP4749922B2 (ja)

Priority Applications (1)

Application Number Priority Date Filing Date Title
JP2006115676A JP4749922B2 (ja) 2006-04-19 2006-04-19 歯刷子

Applications Claiming Priority (1)

Application Number Priority Date Filing Date Title
JP2006115676A JP4749922B2 (ja) 2006-04-19 2006-04-19 歯刷子

Publications (2)

Publication Number Publication Date
JP2007282985A true JP2007282985A (ja) 2007-11-01
JP4749922B2 JP4749922B2 (ja) 2011-08-17

Family

ID=38755281

Family Applications (1)

Application Number Title Priority Date Filing Date
JP2006115676A Expired - Fee Related JP4749922B2 (ja) 2006-04-19 2006-04-19 歯刷子

Country Status (1)

Country Link
JP (1) JP4749922B2 (ja)

Cited By (1)

* Cited by examiner, † Cited by third party
Publication number Priority date Publication date Assignee Title
JP2023101300A (ja) * 2022-01-07 2023-07-20 由季子 岩瀬 犬用歯ブラシ及び犬用歯ブラシシステム

Citations (7)

* Cited by examiner, † Cited by third party
Publication number Priority date Publication date Assignee Title
JPS535157U (ja) * 1976-06-25 1978-01-18
JPS63161531U (ja) * 1987-04-13 1988-10-21
JPH0268727U (ja) * 1988-11-15 1990-05-24
JPH02105733U (ja) * 1989-02-10 1990-08-22
JPH0664523U (ja) * 1993-02-10 1994-09-13 剛三 松木 組立て歯ブラシ並びに携帯用歯ブラシ
JPH09191935A (ja) * 1996-01-23 1997-07-29 Reizou Shiyouji 歯ブラシ
JP2003511128A (ja) * 1999-10-14 2003-03-25 コロネット−ベルケ・ゲゼルシャフト・ミット・ベシュレンクテル・ハフツング ブラシ、特に歯ブラシ

Patent Citations (7)

* Cited by examiner, † Cited by third party
Publication number Priority date Publication date Assignee Title
JPS535157U (ja) * 1976-06-25 1978-01-18
JPS63161531U (ja) * 1987-04-13 1988-10-21
JPH0268727U (ja) * 1988-11-15 1990-05-24
JPH02105733U (ja) * 1989-02-10 1990-08-22
JPH0664523U (ja) * 1993-02-10 1994-09-13 剛三 松木 組立て歯ブラシ並びに携帯用歯ブラシ
JPH09191935A (ja) * 1996-01-23 1997-07-29 Reizou Shiyouji 歯ブラシ
JP2003511128A (ja) * 1999-10-14 2003-03-25 コロネット−ベルケ・ゲゼルシャフト・ミット・ベシュレンクテル・ハフツング ブラシ、特に歯ブラシ

Cited By (2)

* Cited by examiner, † Cited by third party
Publication number Priority date Publication date Assignee Title
JP2023101300A (ja) * 2022-01-07 2023-07-20 由季子 岩瀬 犬用歯ブラシ及び犬用歯ブラシシステム
JP7780958B2 (ja) 2022-01-07 2025-12-05 由季子 岩瀬 犬用歯ブラシ

Also Published As

Publication number Publication date
JP4749922B2 (ja) 2011-08-17

Similar Documents

Publication Publication Date Title
US5980542A (en) Tongue cleaner
US6202241B1 (en) Brushhead for use in an acoustic toothbrush
US6625834B2 (en) Manual toothbrush for gingival tissue stimulation
US20210068526A1 (en) Toothbrush
KR20180027257A (ko) 치은열구 칫솔
ES2953628T3 (es) Cabezal para un utensilio de cuidado bucal y un kit que comprende dicho cabezal
JP6978752B2 (ja) 歯ブラシ
KR101570934B1 (ko) 치간 칫솔
JP2001178543A (ja) 歯ブラシ
JP2007282985A (ja) 歯刷子
US10993791B2 (en) Floss feeder
KR200466471Y1 (ko) 치석 및 치태 제거 기능을 갖는 칫솔
KR20200000359U (ko) 헤드부 교체 구조를 갖는 칫솔
JP2011104318A (ja) T型ミニ歯ブラシ
JPH1142116A (ja) 歯ブラシ
KR200201750Y1 (ko) 설태 제거용 칫솔
KR102107528B1 (ko) 교정용 칫솔
KR200432274Y1 (ko) 치석제거기가 부설된 칫솔
KR200302942Y1 (ko) 앞니 안쪽의 이물질을 용이하게 제거할 수 있도록 고안된경사모 칫솔
JP3113431U (ja) 口腔洗浄具
KR200246705Y1 (ko) 혀 청소구
KR20120080329A (ko) 치아의 내/외부 양치가 용이한 이중모를 갖는 칫솔
JP2006115875A (ja) 三連式歯ブラシ
KR200275808Y1 (ko) 칫솔의 손잡이 끝에 혀 클리너(Cleaner)가 결합된 칫솔
KR20250119891A (ko) 좁은 치간 청소도구

Legal Events

Date Code Title Description
A977 Report on retrieval

Free format text: JAPANESE INTERMEDIATE CODE: A971007

Effective date: 20090601

A131 Notification of reasons for refusal

Free format text: JAPANESE INTERMEDIATE CODE: A131

Effective date: 20100713

A02 Decision of refusal

Free format text: JAPANESE INTERMEDIATE CODE: A02

Effective date: 20101207

A521 Written amendment

Free format text: JAPANESE INTERMEDIATE CODE: A523

Effective date: 20110210

RD02 Notification of acceptance of power of attorney

Free format text: JAPANESE INTERMEDIATE CODE: A7422

Effective date: 20110210

RD05 Notification of revocation of power of attorney

Free format text: JAPANESE INTERMEDIATE CODE: A7425

Effective date: 20110209

A911 Transfer of reconsideration by examiner before appeal (zenchi)

Free format text: JAPANESE INTERMEDIATE CODE: A911

Effective date: 20110317

A01 Written decision to grant a patent or to grant a registration (utility model)

Free format text: JAPANESE INTERMEDIATE CODE: A01

Effective date: 20110517

A01 Written decision to grant a patent or to grant a registration (utility model)

Free format text: JAPANESE INTERMEDIATE CODE: A01

A61 First payment of annual fees (during grant procedure)

Free format text: JAPANESE INTERMEDIATE CODE: A61

Effective date: 20110518

R150 Certificate of patent (=grant) or registration of utility model

Free format text: JAPANESE INTERMEDIATE CODE: R150

FPAY Renewal fee payment (prs date is renewal date of database)

Free format text: PAYMENT UNTIL: 20140527

Year of fee payment: 3

LAPS Cancellation because of no payment of annual fees