JP2007160333A - カップ状部品の成形方法及び成形装置 - Google Patents

カップ状部品の成形方法及び成形装置 Download PDF

Info

Publication number
JP2007160333A
JP2007160333A JP2005358019A JP2005358019A JP2007160333A JP 2007160333 A JP2007160333 A JP 2007160333A JP 2005358019 A JP2005358019 A JP 2005358019A JP 2005358019 A JP2005358019 A JP 2005358019A JP 2007160333 A JP2007160333 A JP 2007160333A
Authority
JP
Japan
Prior art keywords
punch
forming
side wall
die
outer peripheral
Prior art date
Legal status (The legal status is an assumption and is not a legal conclusion. Google has not performed a legal analysis and makes no representation as to the accuracy of the status listed.)
Granted
Application number
JP2005358019A
Other languages
English (en)
Other versions
JP4379414B2 (ja
Inventor
Takuya Oura
卓也 大浦
Yoichi Fukui
陽一 福井
Daisuke Iwata
大助 岩田
Current Assignee (The listed assignees may be inaccurate. Google has not performed a legal analysis and makes no representation or warranty as to the accuracy of the list.)
Aisin AW Co Ltd
Original Assignee
Aisin AW Co Ltd
Priority date (The priority date is an assumption and is not a legal conclusion. Google has not performed a legal analysis and makes no representation as to the accuracy of the date listed.)
Filing date
Publication date
Application filed by Aisin AW Co Ltd filed Critical Aisin AW Co Ltd
Priority to JP2005358019A priority Critical patent/JP4379414B2/ja
Publication of JP2007160333A publication Critical patent/JP2007160333A/ja
Application granted granted Critical
Publication of JP4379414B2 publication Critical patent/JP4379414B2/ja
Anticipated expiration legal-status Critical
Expired - Fee Related legal-status Critical Current

Links

Images

Landscapes

  • Shaping Metal By Deep-Drawing, Or The Like (AREA)

Abstract

【課題】底面部の平面精度の低下を防止して、小さな荷重によって側壁部に歯面を備えたカップ状部品を成形することができ、設備の小型化を図ることができるカップ状部品の成形方法及び成形装置を提供すること。
【解決手段】カップ状部品8を成形するに当たっては、ダイス2、パンチ3及びノックアウト6を用いる。パンチ3とノックアウト6との間に素材片80を挟持し、パンチ3及びノックアウト6をダイス2に対して前進させ、絞り成形面211とパンチ側歯型成形面52とによって素材片80に絞り成形を行って、底面部及び側壁部を形成する。パンチ3及びノックアウト6をダイス2に対してさらに前進させ、ダイス側歯型成形面221とパンチ側歯型成形面52とによって側壁部にしごき成形を行って、側壁部に歯面を形成し、カップ状部品を得る。上記絞り成形及びしごき成形は、パンチ3の1ストローク動作によって行う。
【選択図】図1

Description

本発明は、底面部と、底面部の外周端部から軸方向へ立設した環状の側壁部とを有し、この側壁部に歯面を形成してなるカップ状部品の成形方法及び成形装置に関する。
クラッチドラム等のカップ状部品を成形するに当たっては、第1の工程において、ワークとしての平板状の素材片に絞り成形を行って、底面部と、この底面部の外周端部から立設した環状の側壁部とを形成する。次いで、底面部及び側壁部を形成した素材片を第2の工程に搬送し、この素材片に別の加工を行うと同時に、底面部及び側壁部に生じた変形を矯正する。その後、矯正後の素材片を第3の工程に搬送し、この素材片にしごき成形を行って、側壁部に歯面を形成している。
また、特許文献1のクラッチドラムの成形方法においては、第1工程において、ワークとしての円板状の板金を、端板部(底面部)と、その外周から立設する側壁部とを有するカップ状に絞り成形し、第2工程において、側壁部を、第1筒部と、この第1筒部よりも大径の第2筒部とを有する段付形状のカップ状に絞り成形する。次いで、第3工程において、第1筒部を軸方向に圧縮し、第4工程において、第1筒部をさらに圧縮すると共に、第2筒部の開口端を矯正して第2筒部を全長に亘って円筒に成形する。その後、第5工程において、第2筒部をしごき成形して、スプライン部を形成している。
ところで、上記従来の成形方法においては、上記各工程を行う際には、複数の成形プレス装置を備えるトランスファープレス装置を準備し、各工程は、トランスファーによって各成形プレス装置へワークを順次搬送して行っている。そして、各工程においては、ワークの成形基準を例えば成形部品の底面部相当位置等に設定して、各成形を行っている。
しかしながら、上記トランスファープレス装置においては、各工程毎にワークを載置し直しており、成形部品の底面部相当位置のずれを防ぐ必要がある。また、各工程における成形を行う際には、上記底面部相当位置に変形を生じることがあり、次の工程へ成形部品を移載する前に予め上記変形を大きな荷重で矯正する成形が必要である。
これにより、上記トランスファープレス装置においては、大荷重に耐え得る大型の成形プレス装置が必要となり、設備全体が大型化してしまう問題があった。なお、この問題は、単独で稼動する単動プレス装置を複数並べて、素材片の成形と単動プレス装置間の移載を順次行う場合でも同様に生じる。
特開平10−216875号公報
本発明は、かかる従来の問題点に鑑みてなされたもので、底面部の平面精度の低下を防止して、小さな荷重によって側壁部に歯面を備えたカップ状部品を成形することができ、設備の小型化を図ることができるカップ状部品の成形方法及び成形装置を提供しようとするものである。
第1の発明は、底面部と、該底面部の外周端部から立設した環状の側壁部とを有し、該側壁部に歯面を形成してなるカップ状部品を成形する方法において、
上記カップ状部品を成形するに当たっては、成形穴を備えたダイスと、該ダイスの上記成形穴内をスライドするよう互いに対向配設されたパンチ及びノックアウトとを用い、上記パンチを、パンチ外周部とその中心側に位置するパンチコア部とに分割形成しておき、
かつ上記成形穴の内壁面には、上記側壁部を絞り成形するための絞り成形面と、上記側壁部に上記歯面を成形するためのダイス側歯型成形面とを形成しておくと共に、上記パンチの外周面には、上記ダイス側歯型成形面と共に上記側壁部に上記歯面を成形するためのパンチ側歯型成形面を形成しておき、
上記パンチ外周部と上記ノックアウトとの間に、素材片を挟持する素材片挟持工程と、
上記素材片を挟持した状態の上記パンチ外周部及び上記ノックアウトを上記ダイスに対して前進させ、上記絞り成形面と上記パンチ側歯型成形面とによって上記素材片に絞り成形を行って、上記側壁部を形成する側壁部形成工程と、
上記素材片を挟持した状態の上記パンチ外周部及び上記ノックアウトを上記ダイスに対してさらに前進させ、上記ダイス側歯型成形面と上記パンチ側歯型成形面とによって上記側壁部にしごき成形を行って、上記歯面を形成する歯面形成工程とを含み、
上記素材片挟持工程、上記側壁部形成工程及び上記歯面形成工程を、上記パンチ外周部の1ストローク動作によって行うことを特徴とするカップ状部品の成形方法にある(請求項1)。
本発明のカップ状部品の成形方法においては、上記素材片挟持工程として、上記パンチ外周部と上記ノックアウトとの間に素材片を挟持する。次いで、上記側壁部形成工程として、素材片を挟持した状態のパンチ外周部及びノックアウトをダイスに対して前進させる。このとき、ダイスにおける成形穴の開口角部及び成形穴の絞り成形面によって、素材片に絞り成形が行われる。そして、素材片においては、パンチ外周部とノックアウトとの間に挟持された部分に底面部が形成されると共に、この底面部の周辺に側壁部が形成される。また、側壁部は、成形穴の開口角部によって傾斜状に絞られた後、成形穴の絞り成形面によって平面部に対して垂直に立設形成される。
次いで、上記歯面形成工程として、素材片を挟持した状態のパンチ外周部及びノックアウトをダイスに対してさらに前進させる。このとき、ダイスにおけるダイス側歯型成形面と、パンチ外周部におけるパンチ側歯型成形面とによって、素材片の側壁部にしごき成形が行われる。そして、素材片においては、側壁部がダイス側歯型成形面とパンチ側歯型成形面との間に挟まれて、内周側と外周側に交互に折れ曲がって歯面が形成される。
こうして、歯面を備えた側壁部を形成してなるカップ状部品を成形することができる。
本発明においては、パンチ外周部とノックアウトとの間に常に素材片を挟持したまま、上記絞り成形及びしごき成形を行うことができる。そのため、素材片においてパンチ外周部とノックアウトとの間に挟持された部分の平面精度を常に維持して、絞り成形及びしごき成形を行うことができ、上記挟持された部分に形成される底面部の平面精度が低下してしまうことを防止することができる。
また、上記絞り成形及びしごき成形は、パンチ外周部がダイスに向けて前進する1ストローク動作によって行うことができる。そのため、各形成工程において、素材片を複数の成形型間において移載する必要がなく、素材片の成形基準面(本発明においては、パンチ外周部とノックアウトとの間に挟持された部分が素材片の成形基準面となる。)を成形し直す必要がなくなった。さらに、本発明においては、カップ状部品を成形する際に生じた素材片の不要な変形を矯正する加工を必要としない。
それ故、本発明のカップ状部品の成形方法によれば、底面部の平面精度の低下を防止して、小さな荷重によって側壁部に歯面を備えたカップ状部品を成形することができ、設備の小型化を図ることができる。
第2の発明は、底面部と、該底面部の外周端部から立設した環状の側壁部とを有し、該側壁部に歯面を形成してなるカップ状部品を成形する装置において、
該成形装置は、成形穴を備えたダイスと、該ダイスの上記成形穴内をスライドするよう互いに対向配設されたパンチ及びノックアウトとを有しており、
上記パンチは、パンチ外周部とその中心側に位置するパンチコア部とに分割形成されており、
上記ダイスにおける上記成形穴の内壁面には、上記側壁部を絞り成形するための絞り成形面と、上記側壁部に上記歯面を成形するためのダイス側歯型成形面とが形成されており、
上記パンチにおける上記パンチ外周部の外周面には、上記ダイス側歯型成形面と共に上記側壁部に上記歯面を成形するためのパンチ側歯型成形面が形成されており、
上記成形装置は、上記パンチ外周部の1ストローク動作によって、当該パンチ外周部と上記ノックアウトとの間に素材片を挟持し、当該パンチ外周部及び上記ノックアウトを上記ダイスに対して前進させるよう構成されていることを特徴とするカップ状部品の成形装置にある(請求項3)。
本発明のカップ状部品の成形装置においては、パンチ外周部とノックアウトとの間に、常に素材片を挟持したまま、カップ状部品の成形を行うことができる。そのため、素材片においてパンチ外周部とノックアウトとの間に挟持された部分の平面精度を常に維持して、成形を行うことができ、上記挟持された部分に形成される底面部の平面精度が低下してしまうことを防止することができる。
また、上記カップ状部品の成形は、パンチ外周部がダイスに向けて前進する1ストローク動作によって行うことができる。そのため、素材片を複数の成形型間において移載する必要がなく、素材片の成形基準面(本発明においては、パンチ外周部とノックアウトとの間に挟持された部分が素材片の成形基準面となる。)を成形し直す必要がなくなった。さらに、本発明においては、カップ状部品を成形する際に生じた素材片の不要な変形を矯正する加工を必要としない。
それ故、本発明のカップ状部品の成形装置によれば、底面部の平面精度の低下を防止して、小さな荷重によって側壁部に歯面を備えたカップ状部品を成形することができ、設備の小型化を図ることができる。
上述した第1、第2の発明における好ましい実施の形態につき説明する。
上記第1、第2の発明において、上記カップ状部品はクラッチハブであることが好ましい(請求項2)。
この場合には、クラッチハブにおける底面部の平面精度の低下を防止して、小さな荷重によって側壁部に歯面を備えたクラッチハブを成形することができる。
なお、クラッチハブは、例えば、トランスミッション等の動力伝達用の部品とすることができる。
上記第1、第2の発明において成形するカップ状部品は、上記底面部の外周端部に、上記側壁部の立設方向とは反対側に向けて環状に突出した突出部を形成してなることが好ましい。
この場合には、突出部形成したカップ状部品において、底面部から側壁部の先端部(カップ状部品の開口先端部)までの軸方向長さを短くすることができる。これにより、カップ状部品の側壁部における歯面と噛合する他の部品を、カップ状部品の軸方向において、より底面部寄りに配置することができる。そのため、カップ状部品及びこれに噛合する他の部品を含めた組立体全体をコンパクトにすることができる。
以下に、本発明のカップ状部品の成形方法及び成形装置にかかる実施例につき、図面と共に説明する。
(実施例1)
図1〜図7に示すごとく、本例のカップ状部品8の成形装置1(以下、単に成形装置1という。)は、底面部81と、この底面部81の外周端部から立設した環状の側壁部82とを有し、側壁部82に歯面821を形成してなるカップ状部品8を成形するものである。
図1に示すごとく、上記成形装置1は、ダイス穴(成形穴)20を備えたダイス2と、このダイス2のダイス穴20内をスライドするよう互いに対向配設されたパンチ3及びノックアウト6とを有している。パンチ3は、パンチ外周部5とその中心側に位置するパンチコア部4とに分割形成されている。
また、ダイス2におけるダイス穴20の内壁面には、側壁部82を絞り成形するための絞り成形面211と、側壁部82に歯面821を成形するためのダイス側歯型成形面221が形成されている。また、パンチ外周部5の外周面には、ダイス側歯型成形面221と共に側壁部82に歯面821を成形するためのパンチ側歯型成形面52が形成されている。
そして、上記成形装置1は、図1〜図6に示すごとく、パンチ3の1ストローク動作によって、パンチ3とノックアウト6との間に素材片80を挟持し、パンチ3及びノックアウト6をダイス2に対して前進させるよう構成されている。
以下に、本例のカップ状部品8の成形装置1及び成形方法につき、図1〜図7と共に詳説する。
本例の成形装置1は、油圧によってカップ状部品8の成形を行う油圧式の成形装置1である。そして、上記パンチ外周部5は、油圧による加圧力を受けて動作するよう構成されている。また、本例の成形装置1は、図1〜図6に示すごとく、パンチ3及びノックアウト6がダイス2のダイス穴20内を下方に向けて移動して成形を行うよう構成されている。また、パンチ3は、ノックアウト6の上方に位置しており、パンチコア部4、パンチ外周部5又はノックアウト6の前進とは、これらが下降することをいう。
図1に示すごとく、上記ダイス2は、上記絞り成形面211を形成してなる絞りダイス部21と、上記ダイス側歯型成形面221を形成してなる歯型ダイス部22とを備えている。また、パンチ3に近い側から順に(本例では上側から順に)、絞りダイス部21と歯型ダイス部22とが配設されている。また、絞り成形面211とダイス側歯型成形面221とは、同一の軸線を中心にして、連通形成されている。
また、ダイス2におけるダイス穴20の開口角部201、すなわち絞り成形面211の開口角部201は、曲線状又はテーパ状に形成されている。
図1、図2に示すごとく、上記パンチコア部4は、パンチ外周部5に形成されたコア配置凹部53内に収納可能になっている。
また、パンチコア部4は、パンチ外周部5の前進に従動して前進するよう構成されている。すなわち、図1に示すごとく、パンチコア部4は、成形前の初期位置において、パンチ外周部5の先端部よりも突出した状態でパンチ外周部5に配設されている。また、パンチコア部4は、ガスクッション(図示略)を介してパンチ外周部5に配設されている。
そして、図2に示すごとく、パンチコア部4は、パンチ外周部5と共に前進し、ノックアウト6によってその前進が止められたときには、ガスクッションの付勢力に抗してパンチ外周部5内に収納されるよう構成されている。
また、ノックアウト6は、その移動が固定された固定状態と、パンチ外周部5の前進に従動して前進する従動状態とを形成するよう構成されている。
上記素材片80は、円板形状を有しており、その中心部に貫通穴800を有している(実施例2の図8参照)。
また、図1に示すごとく、パンチコア部4とノックアウト6とは、これらの位置決めを行うために、いずれか一方に位置決め突起41を有しており、他方に位置決め突起41を挿入可能な位置決め凹部62を有している。本例では、パンチコア部4に位置決め突起41が形成されており、ノックアウト6に位置決め凹部62が形成されている。そして、位置決め突起41は、貫通穴800内を通って位置決め凹部62内に挿入される。
また、図7に示すごとく、本例において成形するカップ状部品8は、その側壁部82に
歯面821を有しており、トランスミッションに使用するクラッチハブである。この側壁部82における歯面821は、素材部分が所定の幅を有して、側壁部82の内周側と外周側とに交互に凹凸を形成してなるものである。
本例においては、上記構成の成形装置1を1台用いて、以下の各形成工程を行い、側壁部82に歯面821を形成してなるカップ状部品8を成形する。
カップ状部品8を成形するに当たっては、まず、図1に示すごとく、素材配置工程として、ノックアウト6の上に素材片80を載置する。次いで、図2に示すごとく、素材片挟持工程として、パンチコア部4の先端面40及びパンチ外周部5の加圧先端面51と、ノックアウト6の対向先端面60との間に素材片80を挟持する。
次いで、図3に示すごとく、側壁部形成工程として、素材片80を挟持した状態のパンチ外周部5及びノックアウト6をダイス2に対して前進させる。このとき、ダイス2におけるダイス穴20の開口角部201及びダイス穴20の絞り成形面によって、素材片80に絞り成形が行われる。
そして、図4に示すごとく、素材片80においては、パンチ3とノックアウト6との間に挟持された部分に底面部81が形成されると共に、この底面部81の周辺に側壁部82が形成される。また、側壁部82は、ダイス穴20の開口角部201によって傾斜状に絞られた後、ダイス穴20の絞り成形面211によって底面部81に対して垂直に立設形成される。
次いで、図5に示すごとく、歯面形成工程として、素材片80を挟持した状態のパンチ外周部5及びノックアウト6をダイス2に対してさらに前進させる。このとき、ダイス2におけるダイス側歯型成形面221と、パンチ3におけるパンチ側歯型成形面52とによって、素材片80の側壁部82にしごき成形が行われる。そして、素材片80においては、側壁部82がダイス側歯型成形面221とパンチ側歯型成形面52との間に挟まれて、内周側と外周側に交互に折れ曲がって歯面821が形成される。
こうして、歯面821を備えた側壁部82を形成してなるカップ状部品8を成形することができる。
なお、図6に示すごとく、成形後のカップ状部品8をダイス2から取り出すときには、取出工程として、パンチ外周部5をパンチコア部4に対して後退(上昇)させ、次いで、パンチ外周部5及びパンチコア部4とノックアウト6とを後退させる。
本例においては、パンチ外周部5とノックアウト6との間に常に素材片80を挟持したまま、上記絞り成形及びしごき成形を行うことができる。そのため、素材片80においてパンチ外周部5とノックアウト6との間に挟持された部分の平面精度を常に維持して、絞り成形及びしごき成形を行うことができ、上記挟持された部分に形成される底面部81の平面精度が低下してしまうことを防止することができる。
また、上記絞り成形及びしごき成形は、パンチ外周部5がダイス2に向けて前進する1ストローク動作によって行うことができる。そのため、上記各形成工程において、素材片80を複数の成形型間において移載する必要がなく、素材片80の成形基準面(本例においては、パンチ外周部5とノックアウト6との間に挟持された部分が素材片80の成形基準面となる。)を成形し直す必要がなくなった。さらに、本例においては、カップ状部品8を成形する際に生じた素材片80の不要な変形を矯正する加工を必要としない。
また、上記絞り成形及びしごき成形を上記パンチ外周部5の1ストローク動作によって行うことにより、各形成工程を行う成形装置1の設備能力は、各形成工程において最も大きな荷重を伴う形成工程の所要荷重とすることができ、設備の小型化を図ることができる。
また、成形装置1における各形成工程は、同時に行われず、順次行われるため、各形成工程においてピーク荷重が発生するタイミングをずらすことができ、成形装置1の電力許容値を小さくすることができる。
それ故、本例のカップ状部品8の成形装置1及び成形方法によれば、底面部81の平面精度の低下を防止して、小さな荷重によって側壁部82に歯面821を備えたカップ状部品8を成形することができ、設備の小型化を図ることができる。
(実施例2)
本例のカップ状部品8の成形装置10(以下、単に成形装置10という。)は、図8〜図19に示すごとく、底面部81の外周端部に、側壁部82の立設方向とは反対側に向けて環状に突出した突出部811を形成してなる段差底面形状のカップ状部品8を成形するものである。そして、底面部81に突出部811を形成することにより、側壁部82における歯面821の軸方向長さを長くすることができる。
図14、図19に示すごとく、本例のパンチ外周部5における加圧先端面51は、突出部811を成形するための凸形状を有しており、パンチコア部4は、パンチ外周部5の加圧先端面51よりも突出可能に構成されている。また、本例のノックアウト6は、加圧先端面51と対向する部分に、この加圧先端面51の突出形状に沿った陥没形状を有する陥没対向面61を備えている。
また、パンチ外周部5は、ノックアウト6に対して前進したときに、その加圧先端面51が、パンチコア部4の先端面40よりも突出して素材片80を加圧するよう構成されている。
そして、本例の成形装置10は、パンチ外周部5の1ストローク動作によって、図10、図15に示すごとく、パンチコア部4とノックアウト6との間に素材片80を挟持し、次いで、図11、図16に示すごとく、パンチ外周部5をノックアウト6に対して前進させ、その後、図12、図13、図17、図18に示すごとく、パンチ外周部5及びノックアウト6をダイス2に対して前進させるよう構成されている。
以下に、本例のカップ状部品の成形装置及び成形方法につき、図8〜図19と共に詳説する。
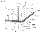
図19に示すごとく、上記パンチ外周部5の先端部に環状に形成された加圧先端面51は、外周側に傾斜形成された外周傾斜面部512と、この外周傾斜面部512の内周側の先端部に平坦状に形成された内周平坦面部511とを備えている。
また、上記ノックアウト6の陥没対向面61は、ノックアウト6の対向先端面60から環状に陥没形成されており、上記加圧先端面51における外周傾斜面部512に対向する外周対向面部612と、上記加圧先端面51における内周平坦面部511に対向する内周対向面部611とを備えている。
その他、本例の成形装置10における各部の構成は、上記実施例1と同様である。
本例においては、上記構成の成形装置10を1台用いて、以下の各形成工程を行い、段差底面形状を有するカップ状部品8を成形する。
上記カップ状部品8を成形するに当たっては、まず、図14に示すごとく、素材配置工程として、ノックアウト6の上に素材片80(図8(a)参照)を載置する。
次いで、図10、図15に示すごとく、素材片挟持工程として、パンチコア部4をパンチ外周部5の先端部よりも突出させた状態でパンチ外周部5を前進(下降)させる。このとき、パンチコア部4が素材片80に当接し、素材片80がパンチコア部4とノックアウト6との間に挟持される。また、素材片80は、パンチコア部4におけるガスクッションの付勢力を受けた状態で挟持される。
次いで、図11、図16に示すごとく、突出部形成工程として、パンチ外周部5をさらに前進させると、パンチコア部4の前進はノックアウト6によって止められ、パンチ外周部5がノックアウト6に向けて前進する。このとき、ノックアウト6は、移動しないように固定しておく。
そして、図19に示すごとく、パンチコア部4とノックアウト6との間に素材片80を挟持した状態で、素材片80の一部が、パンチ外周部5の加圧先端面51によってノックアウト6の陥没対向面61に向けて加圧され、加圧先端面51と陥没対向面61との間に上記突出部811(図8(b)参照)が形成される。また、この突出部811の形成と同時に底面部81も形成される。
また、上記突出部811を形成したときには、この形成に伴って、素材片80の一部が、加圧先端面51における外周傾斜面部512と陥没対向面61における外周対向面部612とによって挟持加圧されたことにより、突出部811の外周端部から環状に傾斜立設する予備傾斜側壁部83(図8(b)参照)が形成される。
次いで、図12、図17に示すごとく、側壁部形成工程として、上記突出部811及び予備傾斜側壁部83が形成された素材片80を、パンチコア部4及びパンチ外周部5とノックアウト6との間に挟持した状態を維持して、上記ダイス2に対してパンチ外周部5を前進させる。このとき、ノックアウト6は、パンチ外周部5による加圧力を受けて移動できる状態になっており、パンチ外周部5の前進と共に前進する。そして、絞りダイス部21のダイス穴20における絞り成形面211によって予備傾斜側壁部83の外周側部分に絞り成形が行われ、底面部81に対して立設した側壁部82(図8(c)参照)が形成される。
その後、図13、図18に示すごとく、歯面形成工程として、素材片80を挟持した状態のパンチ外周部5及びノックアウト6をダイス2に対してさらに前進させる。このとき、ダイス2におけるダイス側歯型成形面221と、パンチ外周部5におけるパンチ側歯型成形面52とによって、素材片80の側壁部82にしごき成形が行われる。
こうして、側壁部82に歯面821を備えると共に底面部に突出部を備えたカップ状部品を成形することができる(図8(d)参照)。
本例においては、パンチ外周部5とノックアウト6との間に、常に突出部811を挟持したまま、上記絞り成形及びしごき成形を行うことができる。そのため、突出部811を備えた底面部81の平面精度が低下してしまうことを防止することができる。また、本例におけるその他の作用効果については、上記実施例1と同様である。
それ故、本例のカップ状部品8の成形装置10及び成形方法によっても、底面部81の平面精度の低下を防止して、小さな荷重によって側壁部82に歯面821を備えたカップ状部品8を成形することができ、設備の小型化を図ることができる。
実施例1における、素材配置工程を行った状態のカップ状部品の成形装置を示す断面説明図。 実施例1における、素材片挟持工程を行った状態のカップ状部品の成形装置を示す断面説明図。 実施例1における、側壁部形成工程を行っている状態のカップ状部品の成形装置を示す断面説明図。 実施例1における、側壁部形成工程を行った状態のカップ状部品の成形装置を示す断面説明図。 実施例1における、歯面形成工程を行った状態のカップ状部品の成形装置を示す断面説明図。 実施例1における、取出工程を行っている状態のカップ状部品の成形装置を示す断面説明図。 実施例1における、カップ状部品を示す断面説明図。 実施例2における、カップ状部品の成形の流れを示す図で、(a)素材片、(b)突出部、底面部及び予備傾斜側壁部を形成した状態、(c)側壁部を形成した状態、(d)カップ状部品を示す説明図。 実施例2における、カップ状部品を示す断面説明図。 実施例2における、素材片挟持工程を行った状態のカップ状部品の成形装置を示す斜視説明図。 実施例2における、突出部形成工程を行った状態のカップ状部品の成形装置を示す斜視説明図。 実施例2における、側壁部形成工程を行った状態のカップ状部品の成形装置を示す斜視説明図。 実施例2における、歯面形成工程を行った状態のカップ状部品の成形装置を示す斜視説明図。 実施例2における、素材配置工程を行った状態のカップ状部品の成形装置を示す断面説明図。 実施例2における、素材片挟持工程を行った状態のカップ状部品の成形装置を示す断面説明図。 実施例2における、突出部形成工程を行った状態のカップ状部品の成形装置を示す断面説明図。 実施例2における、側壁部形成工程を行った状態のカップ状部品の成形装置を示す断面説明図。 実施例2における、歯面形成工程を行った状態のカップ状部品の成形装置を示す断面説明図。 実施例2における、突出部形成工程を行った状態のカップ状部品の成形装置を拡大して示す断面説明図。
符号の説明
1、10 カップ状部品の成形装置
2 ダイス
20 ダイス穴(成形穴)
211 絞り成形面
221 ダイス側歯型成形面
3 パンチ
4 パンチコア部
5 パンチ外周部
51 加圧先端面
52 パンチ側歯型成形面
6 ノックアウト
61 陥没対向面
8 カップ状部品
80 素材片
81 底面部
811 突出部
82 側壁部
821 歯面
83 予備傾斜側壁部

Claims (3)

  1. 底面部と、該底面部の外周端部から立設した環状の側壁部とを有し、該側壁部に歯面を形成してなるカップ状部品を成形する方法において、
    上記カップ状部品を成形するに当たっては、成形穴を備えたダイスと、該ダイスの上記成形穴内をスライドするよう互いに対向配設されたパンチ及びノックアウトとを用い、上記パンチを、パンチ外周部とその中心側に位置するパンチコア部とに分割形成しておき、
    かつ上記成形穴の内壁面には、上記側壁部を絞り成形するための絞り成形面と、上記側壁部に上記歯面を成形するためのダイス側歯型成形面とを形成しておくと共に、上記パンチの外周面には、上記ダイス側歯型成形面と共に上記側壁部に上記歯面を成形するためのパンチ側歯型成形面を形成しておき、
    上記パンチ外周部と上記ノックアウトとの間に、素材片を挟持する素材片挟持工程と、
    上記素材片を挟持した状態の上記パンチ外周部及び上記ノックアウトを上記ダイスに対して前進させ、上記絞り成形面と上記パンチ側歯型成形面とによって上記素材片に絞り成形を行って、上記側壁部を形成する側壁部形成工程と、
    上記素材片を挟持した状態の上記パンチ外周部及び上記ノックアウトを上記ダイスに対してさらに前進させ、上記ダイス側歯型成形面と上記パンチ側歯型成形面とによって上記側壁部にしごき成形を行って、上記歯面を形成する歯面形成工程とを含み、
    上記素材片挟持工程、上記側壁部形成工程及び上記歯面形成工程を、上記パンチ外周部の1ストローク動作によって行うことを特徴とするカップ状部品の成形方法。
  2. 請求項1において、上記カップ状部品はクラッチハブであることを特徴とするカップ状部品の成形方法。
  3. 底面部と、該底面部の外周端部から立設した環状の側壁部とを有し、該側壁部に歯面を形成してなるカップ状部品を成形する装置において、
    該成形装置は、成形穴を備えたダイスと、該ダイスの上記成形穴内をスライドするよう互いに対向配設されたパンチ及びノックアウトとを有しており、
    上記パンチは、パンチ外周部とその中心側に位置するパンチコア部とに分割形成されており、
    上記ダイスにおける上記成形穴の内壁面には、上記側壁部を絞り成形するための絞り成形面と、上記側壁部に上記歯面を成形するためのダイス側歯型成形面とが形成されており、
    上記パンチにおける上記パンチ外周部の外周面には、上記ダイス側歯型成形面と共に上記側壁部に上記歯面を成形するためのパンチ側歯型成形面が形成されており、
    上記成形装置は、上記パンチ外周部の1ストローク動作によって、当該パンチ外周部と上記ノックアウトとの間に素材片を挟持し、当該パンチ外周部及び上記ノックアウトを上記ダイスに対して前進させるよう構成されていることを特徴とするカップ状部品の成形装置。
JP2005358019A 2005-12-12 2005-12-12 カップ状部品の成形方法及び成形装置 Expired - Fee Related JP4379414B2 (ja)

Priority Applications (1)

Application Number Priority Date Filing Date Title
JP2005358019A JP4379414B2 (ja) 2005-12-12 2005-12-12 カップ状部品の成形方法及び成形装置

Applications Claiming Priority (1)

Application Number Priority Date Filing Date Title
JP2005358019A JP4379414B2 (ja) 2005-12-12 2005-12-12 カップ状部品の成形方法及び成形装置

Publications (2)

Publication Number Publication Date
JP2007160333A true JP2007160333A (ja) 2007-06-28
JP4379414B2 JP4379414B2 (ja) 2009-12-09

Family

ID=38243823

Family Applications (1)

Application Number Title Priority Date Filing Date
JP2005358019A Expired - Fee Related JP4379414B2 (ja) 2005-12-12 2005-12-12 カップ状部品の成形方法及び成形装置

Country Status (1)

Country Link
JP (1) JP4379414B2 (ja)

Cited By (11)

* Cited by examiner, † Cited by third party
Publication number Priority date Publication date Assignee Title
JP2008212983A (ja) * 2007-03-05 2008-09-18 Mazda Motor Corp 板金製歯車形状部品、そのプレス成形型及び成形方法
CN102626741A (zh) * 2012-04-10 2012-08-08 上海交通大学 用于侧壁带齿形壳体的拉深复合成形模具
CN103111513A (zh) * 2012-11-14 2013-05-22 无锡爱博金属制品有限公司 行李箱盖锁加强板拉伸模具
US20130199044A1 (en) * 2012-02-02 2013-08-08 Yahya Hodjat Method of Forming a Sprocket
CN103459062A (zh) * 2011-03-24 2013-12-18 爱信艾达株式会社 齿形部件的制造方法以及齿形部件的制造装置
CN110405063A (zh) * 2019-07-22 2019-11-05 广州屹丰模具制造有限公司 微调模具闭合高度装置
CN112222272A (zh) * 2020-09-24 2021-01-15 中国航发贵州黎阳航空动力有限公司 一种头部外环的加工方法
CN112439839A (zh) * 2020-10-28 2021-03-05 中国航发成都发动机有限公司 一种叉形不等直径套管成型模具
CN112517756A (zh) * 2020-10-28 2021-03-19 中国航发成都发动机有限公司 一种叉形不等直径套管成型模具及成型工艺
WO2021163792A1 (en) * 2020-02-18 2021-08-26 Magna Powertrain Inc. Method of forming a splined component
CN120480013A (zh) * 2025-07-15 2025-08-15 曼弗雷智能装备科技(南通)有限公司 一种零配件冲压成型用房车模具

Families Citing this family (1)

* Cited by examiner, † Cited by third party
Publication number Priority date Publication date Assignee Title
CN110834046B (zh) * 2018-08-15 2021-03-30 浙江申吉钛业股份有限公司 钛合金板材用单行程拉深高方形盒形件制造装置及工艺

Cited By (16)

* Cited by examiner, † Cited by third party
Publication number Priority date Publication date Assignee Title
JP2008212983A (ja) * 2007-03-05 2008-09-18 Mazda Motor Corp 板金製歯車形状部品、そのプレス成形型及び成形方法
CN103459062B (zh) * 2011-03-24 2016-06-08 爱信艾达株式会社 齿形部件的制造方法以及齿形部件的制造装置
KR101533518B1 (ko) * 2011-03-24 2015-07-02 아이신에이더블류 가부시키가이샤 치형 부품의 제조 방법 및 치형 부품의 제조 장치
CN103459062A (zh) * 2011-03-24 2013-12-18 爱信艾达株式会社 齿形部件的制造方法以及齿形部件的制造装置
EP2666561A4 (en) * 2011-03-24 2014-08-13 Aisin Aw Co METHOD FOR PRODUCING DENTAL PROFILE COMPONENT, AND DEVICE FOR PRODUCING DENTAL PROFILE COMPONENT
US8875396B2 (en) 2011-03-24 2014-11-04 Aisin Aw Co., Ltd. Manufacturing method for toothed part and manufacturing device for toothed part
US20130199044A1 (en) * 2012-02-02 2013-08-08 Yahya Hodjat Method of Forming a Sprocket
CN102626741A (zh) * 2012-04-10 2012-08-08 上海交通大学 用于侧壁带齿形壳体的拉深复合成形模具
CN103111513A (zh) * 2012-11-14 2013-05-22 无锡爱博金属制品有限公司 行李箱盖锁加强板拉伸模具
CN110405063A (zh) * 2019-07-22 2019-11-05 广州屹丰模具制造有限公司 微调模具闭合高度装置
WO2021163792A1 (en) * 2020-02-18 2021-08-26 Magna Powertrain Inc. Method of forming a splined component
US12214400B2 (en) 2020-02-18 2025-02-04 Magna Powertrain Inc. Method of forming a splined component
CN112222272A (zh) * 2020-09-24 2021-01-15 中国航发贵州黎阳航空动力有限公司 一种头部外环的加工方法
CN112439839A (zh) * 2020-10-28 2021-03-05 中国航发成都发动机有限公司 一种叉形不等直径套管成型模具
CN112517756A (zh) * 2020-10-28 2021-03-19 中国航发成都发动机有限公司 一种叉形不等直径套管成型模具及成型工艺
CN120480013A (zh) * 2025-07-15 2025-08-15 曼弗雷智能装备科技(南通)有限公司 一种零配件冲压成型用房车模具

Also Published As

Publication number Publication date
JP4379414B2 (ja) 2009-12-09

Similar Documents

Publication Publication Date Title
KR101931790B1 (ko) 순차 이송 금형 장치용 배압 장치 및 이를 구비한 순차 이송 금형 장치
JP6621762B2 (ja) 順送り金型装置およびこれを用いた積層鉄心の製造方法
JP4379414B2 (ja) カップ状部品の成形方法及び成形装置
CN104114296B (zh) 冲压成型方法
US6718813B2 (en) Pipe rack forming method and apparatus
JP5632671B2 (ja) 鍛造用金型装置
CN105081068B (zh) 圆管双头冲翻孔模具
JP5969234B2 (ja) 自動変速機のシリンダ部材製造方法
JP2020075275A (ja) プレス成形品の製造方法および製造装置
JP4492296B2 (ja) カップ状部品の成形方法及び成形装置
JP5641702B2 (ja) 鋼管の拡管成形方法および拡管成形装置
JP4433649B2 (ja) フランジを備えた製品の成形方法
US7131311B1 (en) Method of and apparatus for forming forging blank
JP5182426B2 (ja) ハイドロフォーム成形方法及びハイドロフォーム成形装置
JP2017121644A (ja) プレス成形装置、及びプレス成形方法
JP2006068781A (ja) カップ状部品の成形方法及び成形装置
JP4924539B2 (ja) プレス加工装置、およびプレス加工方法
JP5404208B2 (ja) 熱交フィンのフィンカラー成形装置
JPH0751896A (ja) プレス成形機
JP2005028427A (ja) プレス装置用多段階式プレス型
CN107252841A (zh) 一种加工高精度凸部的加热冲压方法
JP5999982B2 (ja) 鍛造部品の製造方法および鍛造部品の製造装置
JP2023015529A (ja) プレス製品の製造方法、及びバーリング加工装置
JP2007118017A (ja) ダブルアクションプレス装置とプレス方法
JP2006346703A (ja) プレス加工方法

Legal Events

Date Code Title Description
A621 Written request for application examination

Free format text: JAPANESE INTERMEDIATE CODE: A621

Effective date: 20080123

A977 Report on retrieval

Free format text: JAPANESE INTERMEDIATE CODE: A971007

Effective date: 20090513

A131 Notification of reasons for refusal

Free format text: JAPANESE INTERMEDIATE CODE: A131

Effective date: 20090519

A521 Request for written amendment filed

Free format text: JAPANESE INTERMEDIATE CODE: A523

Effective date: 20090715

TRDD Decision of grant or rejection written
A01 Written decision to grant a patent or to grant a registration (utility model)

Free format text: JAPANESE INTERMEDIATE CODE: A01

Effective date: 20090825

A01 Written decision to grant a patent or to grant a registration (utility model)

Free format text: JAPANESE INTERMEDIATE CODE: A01

A61 First payment of annual fees (during grant procedure)

Free format text: JAPANESE INTERMEDIATE CODE: A61

Effective date: 20090907

FPAY Renewal fee payment (event date is renewal date of database)

Free format text: PAYMENT UNTIL: 20121002

Year of fee payment: 3

R150 Certificate of patent or registration of utility model

Ref document number: 4379414

Country of ref document: JP

Free format text: JAPANESE INTERMEDIATE CODE: R150

Free format text: JAPANESE INTERMEDIATE CODE: R150

FPAY Renewal fee payment (event date is renewal date of database)

Free format text: PAYMENT UNTIL: 20131002

Year of fee payment: 4

LAPS Cancellation because of no payment of annual fees