JP2007123722A - シールド構造 - Google Patents

シールド構造 Download PDF

Info

Publication number
JP2007123722A
JP2007123722A JP2005316797A JP2005316797A JP2007123722A JP 2007123722 A JP2007123722 A JP 2007123722A JP 2005316797 A JP2005316797 A JP 2005316797A JP 2005316797 A JP2005316797 A JP 2005316797A JP 2007123722 A JP2007123722 A JP 2007123722A
Authority
JP
Japan
Prior art keywords
circuit board
shield case
cut
housing
shield
Prior art date
Legal status (The legal status is an assumption and is not a legal conclusion. Google has not performed a legal analysis and makes no representation as to the accuracy of the status listed.)
Granted
Application number
JP2005316797A
Other languages
English (en)
Other versions
JP4674527B2 (ja
Inventor
Masahiko Fukuhara
将彦 福原
Atsushi Yuasa
敦之 湯浅
Current Assignee (The listed assignees may be inaccurate. Google has not performed a legal analysis and makes no representation or warranty as to the accuracy of the list.)
Murata Manufacturing Co Ltd
Original Assignee
Murata Manufacturing Co Ltd
Priority date (The priority date is an assumption and is not a legal conclusion. Google has not performed a legal analysis and makes no representation as to the accuracy of the date listed.)
Filing date
Publication date
Application filed by Murata Manufacturing Co Ltd filed Critical Murata Manufacturing Co Ltd
Priority to JP2005316797A priority Critical patent/JP4674527B2/ja
Publication of JP2007123722A publication Critical patent/JP2007123722A/ja
Application granted granted Critical
Publication of JP4674527B2 publication Critical patent/JP4674527B2/ja
Anticipated expiration legal-status Critical
Expired - Fee Related legal-status Critical Current

Links

Images

Landscapes

  • Shielding Devices Or Components To Electric Or Magnetic Fields (AREA)

Abstract

【課題】シールドケース5から漏れ出るノイズを抑制する。
【解決手段】電気回路が形成されている回路基板2には、その基板面の一部を覆い回路基板2のグランドに接地されて電気回路の一部をシールドするシールドケース5を設ける。回路基板2を収容する筐体3は、少なくともシールドケース5が配設されている回路基板2の基板面に面している筐体部分3aの内壁面が導体により形成されている構成を有する。シールドケース5の天面部には、複数の切り起こし片6を、共通の開口部7を囲んで起立配置される態様でもって切り起こし形成する。全ての切り起こし片6は、それぞれ、導体から成る筐体部分3aの内壁面に押圧接触している。筐体部分3aの内壁面は、切り起こし片6との押圧接触部と、シールドケース5とを介して回路基板2のグランドに接地されて回路基板をシールドしている。
【選択図】図1

Description

本発明は、電気回路が形成されている回路基板をシールドするシールド構造に関するものである。
例えば図4(a)に示すように、回路基板31には、コイル部品やコンデンサ部品やIC部品等の電気部品32が搭載され、また、電気部品32間を電気的に接続する配線パターン(図示せず)等が設けられて電気回路が構成されている。例えば、その電気回路の一部が高周波回路(RF回路)と成している場合には、回路基板31には、シールドケース33がその高周波回路を覆う態様でもって配設される。そのシールドケース33は、回路基板31に形成されているグランドに接地されて、高周波回路をシールドする。
図4(a)の例では、シールドケース33の天面部には、その一部を切り起こして形成された切り起こし片34が設けられている。この切り起こし片34は、図4(b)の模式的な断面図に示されるように、回路基板31が筐体35の内部に収容されたときに、シールドケース33の上方側に位置する筐体35の内壁面部分に押圧接触するように形成されている。筐体35は、少なくともシールドケース33が配設されている回路基板31の基板面に面する部分35aが、導体により構成されている。その導体から成る筐体部分35aにシールドケース33の切り起こし片34が押圧接触することによって、筐体部分35aは、切り起こし片34との押圧接触部と、シールドケース33とを介して回路基板31のグランドに接地される。これにより、筐体部分35aは、回路基板31のシールド機能を持つ。この筐体部分35aによる回路基板31のシールドによって、回路基板31に形成されている電気回路が筐体35の外部のノイズ等の悪影響を受け難くなって、回路動作の安定化を図ることができる。また、回路基板31の電気回路から発せられたノイズが外部に放射されることを抑制でき、周辺の機器にノイズによる悪影響を与えてしまうことを防止することができる。
特開2001−135971号公報
図4(a)、(b)に示される例では、シールドケース33の一部を切り起こして形成された切り起こし片34を筐体35に押圧接触させるだけで、筐体35をシールドケース33を介して回路基板31のグランドに接地させることができる構成である。このため、筐体35を回路基板31のグランドに接地させるための図4(b)の点線に示されるような専用の部品36を設けなくても済むこととなり、その部品36を設けなくてよい分、部品点数の削減を図ることができる。また、部品36の配置スペースを省略できるので、回路基板31における電気回路形成可能面積の拡大を図ることができる。
また、シールドケース33を筐体35に電気的に接続させるために、シールドケース33の一部を切り起こして切り起こし片34を設けただけの構成であるので、シールドケース33の構造の複雑化を防止することができる。
しかしながら、シールドケース33の一部を切り起こして切り起こし片34を形成しているために、シールドケース33の一部が開口することとなり、その開口部37からシールドケース33内のノイズが漏れ出てシールドケース33の周囲の電気回路の回路動作に悪影響を及ぼす虞があるという問題がある。
本発明は上記課題を解決するために成されたものであり、その目的は、シールドケースの構造の複雑化やシールド性能の低下を抑制できる構成を持つシールドケースを利用して筐体を回路基板のグランドに接地させ、筐体により回路基板をシールドするシールド構造を提供することにある。
上記目的を達成するために、この発明は次に示す構成をもって前記課題を解決するための手段としている。すなわち、この発明は、
電気回路が形成されている回路基板と、
回路基板の基板面の一部を覆う態様で回路基板に配設され回路基板に設けられているグランドに接地されて電気回路の一部をシールドするシールドケースと、
前記回路基板を収容する筐体と、
を有し、
筐体は、少なくともシールドケースが配設されている回路基板の基板面に面している筐体内壁面部分が導体により構成されており、
シールドケースの天面部には、複数の切り起こし片が共通の開口部を囲んで起立配置される態様でもって切り起こし形成され、全ての切り起こし片は、それぞれ、前記導体から成る筐体内壁面部分に押圧接触しており、
前記導体から成る筐体内壁面部分は、切り起こし片との押圧接触部と、シールドケースとを介して回路基板のグランドに接地されて回路基板をシールドしていることを特徴としている。
この発明によれば、回路基板の基板面に配設され回路基板のグランドに接地されているシールドケースの天面部には切り起こし片が切り起こし形成され、その切り起こし片が、導体から成る筐体内壁面部分に押圧接触して、当該導体から成る筐体内壁面部分がシールドケースを介して回路基板のグランドに接地されている構成を有している。この構成によって、筐体を回路基板のグランドに接地させるための専用の部品を設けることなく、筐体を回路基板のグランドに接地させることができる。これにより、部品点数の削減や、回路基板における電気回路形成可能面積の拡大等の効果を得ることができるし、また、シールドケースに切り起こし片を切り起こし形成するだけの簡単な構造であるので、シールドケースの構造の複雑化を回避できる。
その上、この発明におけるシールドケースでは、複数の切り起こし片が共通の開口部を囲んで起立配置される態様でもって切り起こし形成され、全ての切り起こし片が導体から成る筐体内壁面部分に押圧接触している構成とした。切り起こし片を形成するためにシールドケースには切り起こし片の切り起こしによる開口部が形成されるが、その開口部は複数の切り起こし片により囲まれているので、シールドケースの内側から開口部を介してシールドケースの外側に漏れ出るノイズを大幅に低減することができる。また、シールドケースの外側の電気回路から放射されたノイズがシールドケースの開口部を介してシールドケースの内側に入り込むことを抑制することができる。これにより、シールドケースの内側の電気回路と、シールドケースの外側の電気回路とは、互いのノイズによる悪影響を殆ど受けることなく、回路動作を行うことができる。
シールドケースの開口部の形成領域に面する回路基板面部分には、その開口部から複数の切り起こし片により囲まれている空間部に突き出る背高な部品が配置されている構成を備えることにより、次に示すような効果を得ることができる。例えば、シールドケースの内側に配置される部品の中で最も背高な部品をシールドケースの開口部に面する回路基板面部分に配置して、その最背高な部品の頂部側がシールドケースの開口部から複数の切り起こし片により囲まれている空間部に突き出る態様でもって配設されている構成とすることによって、シールドケースの高さを、シールドケースの内側の最背高な部品よりも低くすることができる。つまり、シールドケースの薄型化を図ることができる。このシールドケースの薄型化によって、シールドケースを収容する筐体の薄型化を図ることができる。また、換言すれば、シールドケースの高さを高くすることなく、より背高な部品をシールドケースの内側に配設することが可能となり、筐体の大型化を回避することができる。
以下に、この発明に係る実施形態例を図面に基づいて説明する。
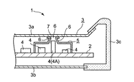
図1(a)には、第1実施形態例のシールド構造を持つカード型装置の一外観例が模式的に示され、図1(b)には図1(a)のA−A部分の模式的な断面図が示されている。
図1(a)に示されているカード型装置1は例えばPCカードやSDカード等のカード型装置であり、当該カード型装置1は、回路基板2が扁平な形状の筐体3の内部に収容配置されている構成を有する。回路基板2は例えば多層構造を有し、当該回路基板2の内層あるいは表層にはグランドが形成されている。回路基板2には、IC部品やコイル部品や抵抗部品等の電気部品4が設けられ、また、電気部品4間を電気的に接続させるための配線パターンやスルーホール等の接続手段(図示せず)が形成されて電気回路が構成されている。また、当該回路基板2には、当該回路基板2の基板面の一部を覆う態様でシールドケース5が配設されている。シールドケース5は回路基板2のグランドに接地されており、当該シールドケース5の内部に配置されている電気回路(例えば、回路基板2の電気回路を構成する高周波回路)をシールドするものである。
シールドケース5の天面部には、図1(b)の断面図や、図1(c)の模式的な斜視図に示されるように、複数(図1の例では4つ)の切り起こし片6が共通の開口部7を囲んで起立配置されている。これら各切り起こし片6は、それぞれ、例えば台形状と成し、全ての切り起こし片6は、その高さ等の寸法が揃えられており、例えば次に示すように作製される。例えば、図2(a)の模式図に示されるように、シールドケース5を構成する板部材の切り起こし片形成領域に孔部8を形成し、また、孔部8から複数(図2の例では4本)の切り込み9を形成する。そして、各切り込み9間の領域がそれぞれ起立する方向に図2(a)の鎖線10に示される板部材部分を折り曲げて図2(b)に示されるように各切り込み9間の部分を切り起こして複数の切り起こし片6を形成する。このようにして、共通の開口部7を囲んで立設配設されている態様の複数の切り起こし片6を作製することができる。
この第1実施形態例では、筐体3は、回路基板2の表面側の基板面に対向配置されている部分3a(図1(b)参照)と、回路基板2の裏面側の基板面に対向配置されている部分3bとは、導体板により構成され、それ以外の部分3cは樹脂材料等の絶縁材により構成されている。
シールドケース5の全ての切り起こし片6は、回路基板2が筐体3の内部に収容配置されている状態で、筐体3の表面側の導体部分3aの内壁面に当接し、かつ、各切り起こし片6がそれぞれ筐体3の導体部分3aの内壁面を押圧する方向の付勢力を発生させることができるように、その大きさ等が設計されている。なお、この第1実施形態例では、各切り起こし片6がそれぞれ筐体3の導体部分3aの内壁面に押圧接触し易くなるために、全ての切り起こし片6の先端部には、それぞれ、外向きあるいは内向きに先端部を丸める折り曲げ加工が施されている。
この第1実施形態例では、シールドケース5の切り起こし片6が弾性変形し弾性力でもって筐体3の内壁面に押圧接触する構成としたことにより、次に示すような効果を得ることができる。例えば、シールドケース5の天面部と、筐体3の導体部分3aとの間の間隔が加工精度のばらつき等によって多少ばらついても、シールドケース天面部と筐体導体部分3aとの間の間隔に応じて切り起こし片6が弾性変形して傾きを可変できるので、全ての切り起こし片6が筐体3の導体部分3aに押圧接触できるという効果を得ることができる。
この第1実施形態例では上記のようにシールドケース5の切り起こし片6が筐体3の導体部分3aに押圧接触しているので、筐体3の導体部分3aは、切り起こし片6との押圧接触部分と、シールドケース5とを介して回路基板2のグランドに接地される。なお、この第1実施形態例では、筐体3の裏面側の導体部分3bも回路基板2のグランドに接地されている。その導体部分3bと、回路基板2とを電気的に接続させるための手段は、接地用の専用の部品を用いてもよいし、また、回路基板2の裏面にシールドケースが設けられる場合には、その回路基板2の裏面側のシールドケースを上述したようなシールドケース5と同様の構成とし当該シールドケースを介して筐体3の裏面側の導体部分3bを回路基板2のグランドに接地させてもよい。
この第1実施形態例では上記のような構成を備えているので、筐体3の導体部分3a,3bによって、回路基板2の電気回路全体をシールドすることができる。
以下に、第2実施形態例を説明する。なお、この第2実施形態例の説明では、第1実施形態例と同一構成部分には同一符号を付し、その共通部分の重複説明は省略する。
この第2実施形態例では、図3の模式的な断面図に示されるように、シールドケース5の開口部7に面する回路基板2の基板面部分には、開口部7から複数の切り起こし片6により囲まれている空間部に突き出る背高な部品(例えばIC部品やコイル部品等)4Aが配置されている。それ以外の構成は第1実施形態例と同様である。
なお、この発明は第1や第2の各実施形態例の形態に限定されるものではなく、様々な実施の形態を採り得る。例えば、第1や第2の各実施形態例では、共通の開口部7を囲む切り起こし片6の数は4片であったが、共通の開口部7を囲む切り起こし片6は複数であればよく、その数が限定されるものではない。ただ、切り起こし片6の数を多くすることによって、各切り起こし片6間の隙間間隔を狭くすることが容易となる。
また、第1や第2の各実施形態例では、全ての切り起こし片6は、台形状と成し、また、開口部形成領域に対し内向きに傾いた姿勢でもって筐体3の導体部分3aに押圧接触していたが、切り起こし片6の形状は、台形状以外の三角形状等の他の形状でもよい。また、全ての切り起こし片6が同じ形状でなくとも構わない。さらに、切り起こし片6は、外向きに傾いた姿勢でもって筐体3の導体部分3aに押圧接触する構成としてもよい。
さらに、第1や第2の各実施形態例の構成に加えて、各切り起こし片6間の隙間を、例えばはんだ等の導体材料によって塞ぐ構成を設けてもよい。この場合には、シールドケース5の開口部7からのノイズ漏洩をより一層確実に抑制することができる。
さらに、第1や第2の各実施形態例では、筐体3は、樹脂材料等の絶縁材から成る部位3cを有していたが、例えば、筐体3は全体が導体板により構成されていてもよい。また、回路基板2の表面側の基板面(つまり、シールドケース5が配設されている基板面)に向き合う筐体部分3aは導体板により構成されていたが、その筐体部分3aは、回路基板2の表面側に面している内壁面部分が導体により構成されていればよく、例えば、筐体部分3aは樹脂材料により構成され、その樹脂材料から成る筐体部分3aの内壁面に例えば導体膜が形成されている(コーティングされている)構成としてもよい。また、筐体3の裏面側部分3bに関しても上記同様に樹脂材料により構成し、その内壁面に例えば導体膜が形成されている構成としてもよい。
さらに、第1や第2の各実施形態例では、筐体3の表裏両面の導体部分3a,3bが回路基板2のグランドに接地されている構成であったが、例えば、回路基板2の裏面側に電気部品4や配線パターン等が形成されておらず、回路基板2の裏面側をシールドしなくとも回路基板2の電気回路の回路動作の安定化を図ることができる場合には、筐体3の裏面側の導体部分3bをグランドに接地さなくともよい。また、筐体3の裏面側部位3bは絶縁材料だけで構成されている構成としてもよい。さらに、回路基板2の裏面側にシールドケースが配置され、回路基板2の表面側はシールドしなくともよい場合には、回路基板2の裏面側に配設されているシールドケースを上述したような複数の切り起こし片6を備えた構成とし、筐体3の裏面側の導体部分3bをシールドケースを介して回路基板2のグランドに接地させ、また、筐体3の表面側部位はグランドに接地しない構成としてもよい。この場合には、筐体3の表面側部位3aは絶縁材料だけで構成されている構成としてもよい。
さらに、第1や第2の各実施形態例では、カード型装置を例にして本発明に係るシールド構造の実施形態例を説明したが、シールドケースを備えた回路基板が筐体内に収容配置されている構成を有しているものであれば、本発明のシールド構造を適用することができる。
第1実施形態例のシールド構造を説明するための図である。 図1に示されているシールドケースにおいて特徴的な切り起こし片の一形態例を説明するための図である。 第2実施形態例のシールド構造を説明するための図である。 シールド構造の一従来例を説明するための図である。
符号の説明
2 回路基板
3 筐体
4 電気部品
5 シールドケース
6 切り起こし片
7 開口部

Claims (2)

  1. 電気回路が形成されている回路基板と、
    回路基板の基板面の一部を覆う態様で回路基板に配設され回路基板に設けられているグランドに接地されて電気回路の一部をシールドするシールドケースと、
    前記回路基板を収容する筐体と、
    を有し、
    筐体は、少なくともシールドケースが配設されている回路基板の基板面に面している筐体内壁面部分が導体により構成されており、
    シールドケースの天面部には、複数の切り起こし片が共通の開口部を囲んで起立配置される態様でもって切り起こし形成され、全ての切り起こし片は、それぞれ、前記導体から成る筐体内壁面部分に押圧接触しており、
    前記導体から成る筐体内壁面部分は、切り起こし片との押圧接触部と、シールドケースとを介して回路基板のグランドに接地されて回路基板をシールドしていることを特徴とするシールド構造。
  2. シールドケースの開口部の形成領域に面する回路基板面部分には、前記開口部から複数の切り起こし片により囲まれている空間部に突き出る背高な部品が配置されていることを特徴とする請求項1記載のシールド構造。
JP2005316797A 2005-10-31 2005-10-31 シールド構造 Expired - Fee Related JP4674527B2 (ja)

Priority Applications (1)

Application Number Priority Date Filing Date Title
JP2005316797A JP4674527B2 (ja) 2005-10-31 2005-10-31 シールド構造

Applications Claiming Priority (1)

Application Number Priority Date Filing Date Title
JP2005316797A JP4674527B2 (ja) 2005-10-31 2005-10-31 シールド構造

Publications (2)

Publication Number Publication Date
JP2007123722A true JP2007123722A (ja) 2007-05-17
JP4674527B2 JP4674527B2 (ja) 2011-04-20

Family

ID=38147206

Family Applications (1)

Application Number Title Priority Date Filing Date
JP2005316797A Expired - Fee Related JP4674527B2 (ja) 2005-10-31 2005-10-31 シールド構造

Country Status (1)

Country Link
JP (1) JP4674527B2 (ja)

Cited By (5)

* Cited by examiner, † Cited by third party
Publication number Priority date Publication date Assignee Title
JP2011077446A (ja) * 2009-10-01 2011-04-14 Sanyo Electric Co Ltd シールドケース及び画像表示装置
JP2011209683A (ja) * 2010-03-12 2011-10-20 Sumitomo Electric Device Innovations Inc 光トランシーバ
JP5233677B2 (ja) * 2007-01-29 2013-07-10 日本電気株式会社 電子機器のシールド構造、シールド部材及びこれを備える電子機器
JP2015005751A (ja) * 2013-06-19 2015-01-08 ケースレー・インスツルメンツ・インコーポレイテッドKeithley Instruments,Inc. 印刷回路基板アイランド及びその設置方法
US20230301045A1 (en) * 2022-03-15 2023-09-21 Chukwubuikem Marcel Okoli Eyewear with rf shielding having grounding springs

Citations (8)

* Cited by examiner, † Cited by third party
Publication number Priority date Publication date Assignee Title
JPS63153599U (ja) * 1987-03-30 1988-10-07
JPH0325295U (ja) * 1989-07-21 1991-03-15
JPH0338698U (ja) * 1989-08-26 1991-04-15
JPH03101593U (ja) * 1990-02-05 1991-10-23
JP2000286584A (ja) * 1999-03-30 2000-10-13 Kokusai Electric Co Ltd 携帯型通信機のシールド構造
JP2001223526A (ja) * 2000-02-07 2001-08-17 Alps Electric Co Ltd 電圧制御発振器
JP2001284875A (ja) * 2000-03-31 2001-10-12 Matsushita Electric Ind Co Ltd 筺体の不要輻射電磁波遮蔽構造および導電性筺体構成要素
JP2002190690A (ja) * 2000-12-22 2002-07-05 Murata Mfg Co Ltd 電子部品モジュール

Patent Citations (8)

* Cited by examiner, † Cited by third party
Publication number Priority date Publication date Assignee Title
JPS63153599U (ja) * 1987-03-30 1988-10-07
JPH0325295U (ja) * 1989-07-21 1991-03-15
JPH0338698U (ja) * 1989-08-26 1991-04-15
JPH03101593U (ja) * 1990-02-05 1991-10-23
JP2000286584A (ja) * 1999-03-30 2000-10-13 Kokusai Electric Co Ltd 携帯型通信機のシールド構造
JP2001223526A (ja) * 2000-02-07 2001-08-17 Alps Electric Co Ltd 電圧制御発振器
JP2001284875A (ja) * 2000-03-31 2001-10-12 Matsushita Electric Ind Co Ltd 筺体の不要輻射電磁波遮蔽構造および導電性筺体構成要素
JP2002190690A (ja) * 2000-12-22 2002-07-05 Murata Mfg Co Ltd 電子部品モジュール

Cited By (7)

* Cited by examiner, † Cited by third party
Publication number Priority date Publication date Assignee Title
JP5233677B2 (ja) * 2007-01-29 2013-07-10 日本電気株式会社 電子機器のシールド構造、シールド部材及びこれを備える電子機器
JP2011077446A (ja) * 2009-10-01 2011-04-14 Sanyo Electric Co Ltd シールドケース及び画像表示装置
JP2011209683A (ja) * 2010-03-12 2011-10-20 Sumitomo Electric Device Innovations Inc 光トランシーバ
JP2015005751A (ja) * 2013-06-19 2015-01-08 ケースレー・インスツルメンツ・インコーポレイテッドKeithley Instruments,Inc. 印刷回路基板アイランド及びその設置方法
US20230301045A1 (en) * 2022-03-15 2023-09-21 Chukwubuikem Marcel Okoli Eyewear with rf shielding having grounding springs
US12010825B2 (en) * 2022-03-15 2024-06-11 Snap Inc. Eyewear with RF shielding having grounding springs
US12342516B2 (en) 2022-03-15 2025-06-24 Snap Inc. Eyewear with RF shielding having grounding springs

Also Published As

Publication number Publication date
JP4674527B2 (ja) 2011-04-20

Similar Documents

Publication Publication Date Title
US8558121B2 (en) Electronic device having an electromagnetic shield
KR100708056B1 (ko) 전자기 차폐판, 전자기 차폐 구조체 및 엔터테인먼트 장치
JP5233677B2 (ja) 電子機器のシールド構造、シールド部材及びこれを備える電子機器
JP4304118B2 (ja) マイクロホンの出力コネクタ
US7663895B2 (en) Electromagnetic shielding device for printed circuit board
JP2008060358A (ja) 電子機器
US20060189183A1 (en) Camera module connector
US20090268420A1 (en) Shielding assembly
JP4348725B2 (ja) 電子部品取付用ソケット
JP2005094575A (ja) マイクロホンの出力コネクタ
US9190779B2 (en) Electrical connector having better electrical performance
US6469912B1 (en) Electrical apparatus having a cover member adapted to provide electromagnetic interference shielding to an electronic component
JP2006165201A (ja) 回路モジュール装置
JP4674527B2 (ja) シールド構造
JP2009141057A (ja) 電子機器及びスロット
TW200922439A (en) Electronic circuit mould
CN107018645A (zh) 屏蔽结构、屏蔽结构制作方法、电路模组与移动电子终端
JP2013149411A (ja) 電気コネクタ
JP5206097B2 (ja) 電子機器および接地機構
JP3892189B2 (ja) 電子回路基板の電磁波遮蔽構造
JP2011228697A (ja) シールドケース及びこのシールドケースを有する電子装置
CN206923232U (zh) 屏蔽结构、电路模组与移动电子终端
JP2001267775A (ja) 電子機器用プラスチック製筐体
JP2012064737A (ja) 電子部品のシールド構造、シールド部材及びこれを備える電子機器
JPH098487A (ja) シールド構造

Legal Events

Date Code Title Description
A621 Written request for application examination

Free format text: JAPANESE INTERMEDIATE CODE: A621

Effective date: 20080909

A977 Report on retrieval

Free format text: JAPANESE INTERMEDIATE CODE: A971007

Effective date: 20101022

A131 Notification of reasons for refusal

Free format text: JAPANESE INTERMEDIATE CODE: A131

Effective date: 20101102

A521 Written amendment

Free format text: JAPANESE INTERMEDIATE CODE: A523

Effective date: 20101201

TRDD Decision of grant or rejection written
A01 Written decision to grant a patent or to grant a registration (utility model)

Free format text: JAPANESE INTERMEDIATE CODE: A01

Effective date: 20101228

A01 Written decision to grant a patent or to grant a registration (utility model)

Free format text: JAPANESE INTERMEDIATE CODE: A01

A61 First payment of annual fees (during grant procedure)

Free format text: JAPANESE INTERMEDIATE CODE: A61

Effective date: 20110110

FPAY Renewal fee payment (event date is renewal date of database)

Free format text: PAYMENT UNTIL: 20140204

Year of fee payment: 3

R150 Certificate of patent or registration of utility model

Ref document number: 4674527

Country of ref document: JP

Free format text: JAPANESE INTERMEDIATE CODE: R150

Free format text: JAPANESE INTERMEDIATE CODE: R150

LAPS Cancellation because of no payment of annual fees