JP2006094013A - PoEシステム - Google Patents
PoEシステム Download PDFInfo
- Publication number
- JP2006094013A JP2006094013A JP2004275704A JP2004275704A JP2006094013A JP 2006094013 A JP2006094013 A JP 2006094013A JP 2004275704 A JP2004275704 A JP 2004275704A JP 2004275704 A JP2004275704 A JP 2004275704A JP 2006094013 A JP2006094013 A JP 2006094013A
- Authority
- JP
- Japan
- Prior art keywords
- input terminal
- output terminal
- power supply
- signal
- power
- Prior art date
- Legal status (The legal status is an assumption and is not a legal conclusion. Google has not performed a legal analysis and makes no representation as to the accuracy of the status listed.)
- Pending
Links
- 230000005540 biological transmission Effects 0.000 claims description 4
- 238000001514 detection method Methods 0.000 abstract description 11
- 238000010586 diagram Methods 0.000 description 6
- 238000012790 confirmation Methods 0.000 description 2
- 238000012423 maintenance Methods 0.000 description 2
- 238000006243 chemical reaction Methods 0.000 description 1
- 230000001052 transient effect Effects 0.000 description 1
- 230000007704 transition Effects 0.000 description 1
Images
Landscapes
- Small-Scale Networks (AREA)
Abstract
【課題】PoEの接続検知にネゴシエーションを用いることにより誤検知を無くし、信頼性を向上させる。
【解決手段】情報を入出力するとともに電力を供給する出力端末1と、情報を入出力するとともに電力を受電される入力端末2とをイーサネットケーブル3によって接続してなるPoEシステムにおいて、出力端末1から特定の応答要求信号を送信した後に入力端末2からの応答信号があることを確認するネゴシエーションによって、入力端末2が受電可能であることを確認してから電力供給を開始する。電力供給開始後は、一定時間毎に出力端末1から応答要求信号を送信し、入力端末2からの応答信号により検出された入力端末2の受電状態に応じて出力端末1からの電力の供給状態を制御し、入力端末2からの応答信号が無くなると出力端末1からの電力供給を中断させる。
【選択図】図1
【解決手段】情報を入出力するとともに電力を供給する出力端末1と、情報を入出力するとともに電力を受電される入力端末2とをイーサネットケーブル3によって接続してなるPoEシステムにおいて、出力端末1から特定の応答要求信号を送信した後に入力端末2からの応答信号があることを確認するネゴシエーションによって、入力端末2が受電可能であることを確認してから電力供給を開始する。電力供給開始後は、一定時間毎に出力端末1から応答要求信号を送信し、入力端末2からの応答信号により検出された入力端末2の受電状態に応じて出力端末1からの電力の供給状態を制御し、入力端末2からの応答信号が無くなると出力端末1からの電力供給を中断させる。
【選択図】図1
Description
本発明は、イーサネット(登録商標)ネットワークにおいて、イーサネットケーブルの空き線を利用して直流電力を供給するPoE(Power over Ethernet)システムに関するものである。
PoEシステムは、イーサネットケーブルの通信に使っていないペア線を利用して直流電力を端末に供給するものであり、図7に示すように、情報を入出力するとともに電力を供給する出力端末1と、情報を入出力するとともに電力を受電される入力端末2をイーサネットケーブル3で接続して構成される。出力端末1はもちろん、入力端末2も従来のイーサネット端末(PoE未対応)にはない、検知用回路等の特殊な電気回路が必要である。
出力端末1と入力端末2を接続してからのシーケンスは、図8のようになる。ここで、接続検出では、接続された端末が入力端末(給電可能=PoE対応)であるかの検出処理を行う。クラス分けでは、あらかじめ規定された5段階(クラス)の供給電力の上限値があり、接続された入力端末のクラスの検知処理を行う。このクラス分けはオプションであり、実装しなくてもよい。電力供給では、接続検出およびクラス分けが終了した後、入力端末に向けて電力供給を開始する。メンテナンスモードでは、端末の接続が継続しているかの検知を行う。接続の終了つまり非接続が検出された場合は、電力供給を中断し、アイドル状態に戻る。接続が継続していることが検知された場合は、引き続き電力供給を継続する。
なお、特許文献1にはイーサネットケーブルを用いた給電装置が開示されており、情報を入出力するとともに電力を供給する出力端末と、情報を入出力するとともに電力を受電される入力端末とをイーサネットケーブルによって接続してなる構成が開示されている。
特開2000−134228号公報
従来のPoEシステムにおいては、入力端末検知やメンテナンスモードで端末接続状態の確認の処理をするために、出力端末から入力端末の当該回路に一方的にアナログ信号を送出する。入力端末の当該回路は受動部品で構成されており、固有の抵抗値や時定数を持つ。出力端末から送出されたアナログ信号は、この回路を通ることで波形が変形し、入力端末から出力端末に戻る。出力端末では、戻ってきた信号をサンプリングし、その電圧・電流値を基に処理を行う。これらの入力端末の当該回路は受動的なもので、自身の情報を積極的に通知するものではない。
従来のPoEシステムにおいては、アナログ処理のため、検知処理や端末接続状態確認の処理において誤検知が発生しやすい。例えば、従来のイーサネット端末(PoE未対応)を接続した場合、端末の回路構成によっては、入力端末であると誤検知して直流電力を供給し、端末の回路を破損する場合がある。また、端末接続状態の確認において、接続が終了したにもかかわらず、接続が継続されていると誤検知して直流電力の供給を継続する場合がある。
本発明は、このような点に鑑みてなされたものであり、PoEの接続検知にネゴシエーションを用いることにより誤検知を無くし、信頼性を向上させたPoEシステムを提供することを課題とする。
本発明のPoEシステムによれば、上記の課題を解決するために、図1に示すように、情報を入出力するとともに電力を供給する出力端末1と、情報を入出力するとともに電力を受電される入力端末2とをイーサネットケーブル3によって接続してなるPoEシステムにおいて、出力端末1から特定の応答要求信号を送信した後に入力端末2からの応答信号があることを確認するネゴシエーションによって、入力端末2が受電可能であることを確認してから電力供給を開始することを特徴とするものである。また、電力供給開始後は、図2に示すように、一定時間毎に出力端末1から応答要求信号を送信し、入力端末2からの応答信号により検出された入力端末2の受電状態に応じて出力端末1からの電力の供給状態を制御することを特徴とするものである。また、電力供給開始後の応答要求信号に対して、入力端末2からの応答信号が無くなると出力端末1からの電力供給を中断させることを特徴とするものである。
請求項1の発明によれば、出力端末と入力端末間でネゴシエーションを行うことにより、接続された端末が受電可能な端末であるかの検出が正確に行われるため、受電できない端末に電力を供給するおそれがなくなる。
請求項2の発明によれば、電力供給開始後においても、入力端末が接続中であるかの検出が正確に行われるため、接続が終了したにもかかわらず電力供給が継続するおそれがなくなる。また、電力供給開始後においても、給電状態を確認できるために、常に適正な給電状態を維持できる。
請求項3の発明によれば、入力端末が一時的に応答信号の送出ができなくなった場合においても、出力端末から応答要求信号を再送することにより、入力端末とのネゴシエーションができ、信頼性の向上を図ることができる。
請求項2の発明によれば、電力供給開始後においても、入力端末が接続中であるかの検出が正確に行われるため、接続が終了したにもかかわらず電力供給が継続するおそれがなくなる。また、電力供給開始後においても、給電状態を確認できるために、常に適正な給電状態を維持できる。
請求項3の発明によれば、入力端末が一時的に応答信号の送出ができなくなった場合においても、出力端末から応答要求信号を再送することにより、入力端末とのネゴシエーションができ、信頼性の向上を図ることができる。
請求項4の発明によれば、パルス間隔情報を用いることにより、簡易なハードウェア構成でネゴシエーションを実現できる。
請求項5の発明によれば、ネゴシエーション用の信号にイーサネット信号のFLPを用いることにより、応答要求信号が追加されても全体としての通信効率は下がらない。また、簡易なハードウェア構成でネゴシエーションを実現できる。
請求項5の発明によれば、ネゴシエーション用の信号にイーサネット信号のFLPを用いることにより、応答要求信号が追加されても全体としての通信効率は下がらない。また、簡易なハードウェア構成でネゴシエーションを実現できる。
(実施形態1)
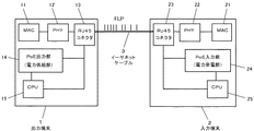
図1は本発明の実施形態1に係るPoEシステムの構成を示すブロック図である。このPoEシステムは、情報を入出力するとともに電力を供給する出力端末1と、情報を入出力するとともに電力を受電される入力端末2を、イーサネットケーブル3で接続して構成される。図中、MACはイーサネット情報信号の処理部、PHYはイーサネット情報信号の信号変換部、RJ45コネクタはイーサネットケーブル3を接続するコネクタであり、これらは情報入出力部を構成している。
図1は本発明の実施形態1に係るPoEシステムの構成を示すブロック図である。このPoEシステムは、情報を入出力するとともに電力を供給する出力端末1と、情報を入出力するとともに電力を受電される入力端末2を、イーサネットケーブル3で接続して構成される。図中、MACはイーサネット情報信号の処理部、PHYはイーサネット情報信号の信号変換部、RJ45コネクタはイーサネットケーブル3を接続するコネクタであり、これらは情報入出力部を構成している。
出力端末1は、上述の情報入出力部(MAC11、PHY12、RJ45コネクタ13)のほかに、電力供給部であるPoE出力部14、電力供給の制御部であるCPU15、ネゴシエーションに用いるRS−232Cドライバ16を備えている。入力端末2は、情報入出力部(MAC21、PHY22、RJ45コネクタ23)のほかに、電力受電部であるPoE入力部24、電力受電の制御部であるCPU25、ネゴシエーションに用いるRS−232Cドライバ26を備えている。
本実施形態のPoEシステムでは、接続時に出力端末1と入力端末2間でネゴシエーションを行う。出力端末1から、接続された入力端末2は受電可能であるかということを問い合わせる特定の信号(応答要求信号)を送出する。入力端末2では、出力端末1からの応答要求信号を受信すると、自己は受電可能であるとの応答信号を送出する。応答信号を受けた出力端末1はクラス分け(オプション)を行った後、給電を開始する。
本実施形態において、接続検出のネゴシエーションはRS−232Cプロトコルにて行われる。出力端末1側では、CPU15からRS−232Cドライバ16を通してRS−232Cプロトコルに基づいた応答要求信号を送信し、接続された端末が入力端末(PoE対応)であるか問い合わせる。入力端末2側では、RS−232Cドライバ26を通してRS−232Cプロトコルに基づいた応答要求信号がCPU25に入力される。応答要求信号による問い合わせを受けたCPU25は、自身はPoE対応であるとの応答信号を送信する。この応答信号もまた、RS−232Cドライバ26を通してRS−232Cプロトコルに基づいて送信される。入力端末2からの応答信号を受けた出力端末1のCPU15は、クラス分け(オプション)を行った後、PoE出力部14に対し、電力供給を開始するよう命令を出し、PoE出力部14から電力が供給される。
(実施形態2)
図2は本発明の実施形態2に係るPoEシステムの動作を示すフローチャートである。システムの構成及び接続検出・給電開始までの動作は実施形態1と同様である。本実施形態2のPoEシステムでは、給電開始後にも一定時間毎にネゴシエーションを行うことによって、端末接続状態の検出を行う。出力端末1から、入力端末2は接続中であるかということを問い合わせる特定の信号(応答要求信号)を送信する。入力端末2側では、出力端末1からの応答要求信号を受けて、自身は接続中であるとの情報および給電電圧・給電電力の情報を含む応答信号を送信する。応答信号を受けた出力端末1のCPU15は、給電電圧・給電電力の情報を基に適正な値に修正制御された給電を継続する。応答信号を受信できない場合は、出力端末1は入力端末2が接続されていないと判断し、給電を中断する。
図2は本発明の実施形態2に係るPoEシステムの動作を示すフローチャートである。システムの構成及び接続検出・給電開始までの動作は実施形態1と同様である。本実施形態2のPoEシステムでは、給電開始後にも一定時間毎にネゴシエーションを行うことによって、端末接続状態の検出を行う。出力端末1から、入力端末2は接続中であるかということを問い合わせる特定の信号(応答要求信号)を送信する。入力端末2側では、出力端末1からの応答要求信号を受けて、自身は接続中であるとの情報および給電電圧・給電電力の情報を含む応答信号を送信する。応答信号を受けた出力端末1のCPU15は、給電電圧・給電電力の情報を基に適正な値に修正制御された給電を継続する。応答信号を受信できない場合は、出力端末1は入力端末2が接続されていないと判断し、給電を中断する。
給電開始後の動作を図2のフローチャートにより説明する。図中の左側のフローは出力端末1側のCPU15の動作を示しており、右側のフローは入力端末2側のCPU25の動作を示している。給電開始後に、CPU15のタイマー機能などを用いて、一定時間毎に入力端末2が接続中かを問い合わせる応答要求信号を送信する。この応答要求信号は、CPU15からRS−232Cドライバ16を通してRS−232Cプロトコルに基づいて送信される。その後、CPU15はRS−232Cドライバ16を受信状態とし、入力端末2側から応答信号が返信されてくるのを待つ。入力端末2側から出力端末1に対して、自身は接続中であることを知らせる応答信号が返信されれば、応答信号に含まれている給電電圧・給電電力の情報を基に、PoE出力部14に対して制御を行い、適正な値に修正された給電電圧・給電電力の供給を継続する。所定時間内に応答信号を受信できない場合は、出力端末1は入力端末2が接続されていないと判断し、PoE出力部14に対して給電を中断するよう命令を出し、給電は中断される。
入力端末2側では、CPU25によりRS−232Cドライバ26を常時は受信状態としておいて、応答要求信号を受信すると、RS−232Cドライバ26を送信状態に切り替えて、自身は接続中であるとの情報と給電電圧・給電電力の情報を含む応答信号を送信する。その後、CPU25は再びRS−232Cドライバ26を受信状態とし、次の応答要求信号が受信されるまで待機する。
(実施形態3)
本発明の実施形態3を図3により説明する。図3に示すように、一過性の外来ノイズ等により、入力端末2が応答信号を送信できない場合がある。例えば、応答要求信号が到来したタイミングにイーサネットケーブル3またはRS−232Cドライバ26に外来ノイズが混入した場合には、CPU25が応答要求信号を認識できないので、応答信号を返信できない。そこで、出力端末1のCPU15では、接続時に応答要求信号を送信した後、入力端末2からの応答信号が返信されない場合であっても、即時にPoE未対応端末とは判断せずに、問い合わせの応答要求信号を再送する。出力端末1からの応答要求信号の送信回数があらかじめ設定した回数に達しても入力端末2からの応答が無い場合は、入力端末2は接続されていないものと判断し、電力の供給は行わない。
本発明の実施形態3を図3により説明する。図3に示すように、一過性の外来ノイズ等により、入力端末2が応答信号を送信できない場合がある。例えば、応答要求信号が到来したタイミングにイーサネットケーブル3またはRS−232Cドライバ26に外来ノイズが混入した場合には、CPU25が応答要求信号を認識できないので、応答信号を返信できない。そこで、出力端末1のCPU15では、接続時に応答要求信号を送信した後、入力端末2からの応答信号が返信されない場合であっても、即時にPoE未対応端末とは判断せずに、問い合わせの応答要求信号を再送する。出力端末1からの応答要求信号の送信回数があらかじめ設定した回数に達しても入力端末2からの応答が無い場合は、入力端末2は接続されていないものと判断し、電力の供給は行わない。
また、給電開始後にも一定時間毎に、端末接続状態の検出を行うべく、出力端末1から入力端末2に対して応答要求信号を送信する。入力端末2側では、出力端末1からの応答要求信号を受けて、自身は接続中であるとの情報および給電電圧・給電電力の情報を含む応答信号を送信する。応答信号を受けた出力端末1のCPU15は、給電電圧・給電電力の情報を基に適正な値に修正制御された給電を継続する。応答信号を受信できない場合は、応答要求信号を再送する。出力端末1からの応答要求信号の送信回数があらかじめ設定した回数に達しても入力端末2からの応答が無い場合は、入力端末2は接続されていないものと判断し、給電を中断する。その他の構成及び動作については実施形態1,2と同様である。
(実施形態4)
本発明の実施形態4を図4により説明する。上述の実施形態1〜3では、ネゴシエーションにRS−232Cドライバ16,26を用いているが、この実施形態4では、ネゴシエーションの応答要求信号と応答信号の送受信にパルス間隔情報を用いる。これは、イーサネットケーブル3上を伝送される信号パルスの間隔を利用して応答要求信号と応答信号の情報を伝達するものである。
本発明の実施形態4を図4により説明する。上述の実施形態1〜3では、ネゴシエーションにRS−232Cドライバ16,26を用いているが、この実施形態4では、ネゴシエーションの応答要求信号と応答信号の送受信にパルス間隔情報を用いる。これは、イーサネットケーブル3上を伝送される信号パルスの間隔を利用して応答要求信号と応答信号の情報を伝達するものである。
出力端末1と入力端末2は共に、自己が送信する情報に応じて信号パルス列のパルス間隔を変化させる。また、信号パルス列を受け取った側では、パルス間隔を読み取り、情報を認識する。その他の構成及び動作については、実施形態1〜3と同様である。
(実施形態5)
本発明の実施形態5を図5及び図6により説明する。上述の実施形態1,2では、ネゴシエーションにRS−232Cドライバ16,26を用いているが、この実施形態5では、イーサネット信号のFLP(Fast Link Pulse)の拡張用リザーブドビットを利用することで、ネゴシエーションを行うことを特徴とする。例えば、出力端末1は、図6に示すFLPの拡張用リザーブドビットのA5ビットに情報を入れ、入力端末2はA6ビットに情報を入れる。その他の構成及び動作については、実施形態1〜3と同様である。
本発明の実施形態5を図5及び図6により説明する。上述の実施形態1,2では、ネゴシエーションにRS−232Cドライバ16,26を用いているが、この実施形態5では、イーサネット信号のFLP(Fast Link Pulse)の拡張用リザーブドビットを利用することで、ネゴシエーションを行うことを特徴とする。例えば、出力端末1は、図6に示すFLPの拡張用リザーブドビットのA5ビットに情報を入れ、入力端末2はA6ビットに情報を入れる。その他の構成及び動作については、実施形態1〜3と同様である。
1 出力端末
2 入力端末
3 イーサネットケーブル
14 PoE出力部(電力供給部)
24 PoE入力部(電力受電部)
2 入力端末
3 イーサネットケーブル
14 PoE出力部(電力供給部)
24 PoE入力部(電力受電部)
Claims (5)
- 情報を入出力するとともに電力を供給する出力端末と、情報を入出力するとともに電力を受電される入力端末とをイーサネットケーブルによって接続してなるPoEシステムにおいて、出力端末から特定の応答要求信号を送信した後に入力端末からの応答信号があることを確認するネゴシエーションによって、入力端末が受電可能であることを確認してから電力供給を開始することを特徴とするPoEシステム。
- 請求項1において、電力供給開始後は、一定時間毎に出力端末から応答要求信号を送信し、入力端末からの応答信号により検出された入力端末の受電状態に応じて出力端末からの電力の供給状態を制御するとともに、入力端末からの応答信号が無くなると出力端末からの電力供給を中断させることを特徴とするPoEシステム。
- 前記ネゴシエーションにおいて、入力端末からの応答信号が無い場合に、所定回数だけ出力端末から応答要求信号を再送することを特徴とする請求項1又は請求項2記載のPoEシステム。
- 前記ネゴシエーションの応答要求信号または応答信号の送信にパルス間隔情報を用いることを特徴とする請求項1〜3のいずれかに記載のPoEシステム。
- 前記ネゴシエーションの応答要求信号または応答信号の送信にイーサネット信号のFLPを用いることを特徴とする請求項1〜3のいずれかに記載のPoEシステム。
Priority Applications (1)
| Application Number | Priority Date | Filing Date | Title |
|---|---|---|---|
| JP2004275704A JP2006094013A (ja) | 2004-09-22 | 2004-09-22 | PoEシステム |
Applications Claiming Priority (1)
| Application Number | Priority Date | Filing Date | Title |
|---|---|---|---|
| JP2004275704A JP2006094013A (ja) | 2004-09-22 | 2004-09-22 | PoEシステム |
Publications (1)
| Publication Number | Publication Date |
|---|---|
| JP2006094013A true JP2006094013A (ja) | 2006-04-06 |
Family
ID=36234573
Family Applications (1)
| Application Number | Title | Priority Date | Filing Date |
|---|---|---|---|
| JP2004275704A Pending JP2006094013A (ja) | 2004-09-22 | 2004-09-22 | PoEシステム |
Country Status (1)
| Country | Link |
|---|---|
| JP (1) | JP2006094013A (ja) |
Cited By (9)
| Publication number | Priority date | Publication date | Assignee | Title |
|---|---|---|---|---|
| JP2008515258A (ja) * | 2004-09-24 | 2008-05-08 | シーメンス アクチエンゲゼルシヤフト | 通信システム、分配素子およびネットワーク装置 |
| JP2008123051A (ja) * | 2006-11-08 | 2008-05-29 | Sony Corp | 電力供給システム、電力供給方法及び電力供給プログラム |
| JP2008294951A (ja) * | 2007-05-28 | 2008-12-04 | Nec Access Technica Ltd | 受電装置および給電装置 |
| JP2009535985A (ja) * | 2006-04-29 | 2009-10-01 | エイ・ティ・アンド・ティ・コーポレーション | 直接拡散スペクトル方式信号送信を使用してwlanでアクセス・ポイントを同期する装置 |
| JP2010079450A (ja) * | 2008-09-24 | 2010-04-08 | Toyo Electric Corp | 空間光伝送装置 |
| JP2011100491A (ja) * | 2011-02-07 | 2011-05-19 | Sony Corp | 情報処理装置、情報処理方法およびコンピュータプログラム |
| JP2014531728A (ja) * | 2011-10-06 | 2014-11-27 | コーニンクレッカ フィリップス エヌ ヴェ | 電気照明システムの電力制御 |
| US9049028B2 (en) | 2007-10-31 | 2015-06-02 | Sony Corporation | Power supplying system, monitoring apparatus, monitoring method and computer program |
| JP2017532931A (ja) * | 2014-08-08 | 2017-11-02 | フィリップス ライティング ホールディング ビー ヴィ | 受電デバイスを介した電力転送 |
-
2004
- 2004-09-22 JP JP2004275704A patent/JP2006094013A/ja active Pending
Cited By (15)
| Publication number | Priority date | Publication date | Assignee | Title |
|---|---|---|---|---|
| US7898107B2 (en) | 2004-09-24 | 2011-03-01 | Siemens Aktiengesellschaft | Communication system, distribution element and network device |
| JP2008515258A (ja) * | 2004-09-24 | 2008-05-08 | シーメンス アクチエンゲゼルシヤフト | 通信システム、分配素子およびネットワーク装置 |
| US9408169B2 (en) | 2006-04-29 | 2016-08-02 | At&T Intellectual Property I, L.P. | Arrangement for synchronizing access points in WLAN using direct-sequence spread spectrum signaling |
| JP2009535985A (ja) * | 2006-04-29 | 2009-10-01 | エイ・ティ・アンド・ティ・コーポレーション | 直接拡散スペクトル方式信号送信を使用してwlanでアクセス・ポイントを同期する装置 |
| US10050768B2 (en) | 2006-04-29 | 2018-08-14 | At&T Intellectual Property Ii, L.P. | Arrangement for synchronizing access points in WLAN using direct-sequence spread spectrum signaling |
| JP2008123051A (ja) * | 2006-11-08 | 2008-05-29 | Sony Corp | 電力供給システム、電力供給方法及び電力供給プログラム |
| JP2008294951A (ja) * | 2007-05-28 | 2008-12-04 | Nec Access Technica Ltd | 受電装置および給電装置 |
| US9049028B2 (en) | 2007-10-31 | 2015-06-02 | Sony Corporation | Power supplying system, monitoring apparatus, monitoring method and computer program |
| JP2010079450A (ja) * | 2008-09-24 | 2010-04-08 | Toyo Electric Corp | 空間光伝送装置 |
| JP2011100491A (ja) * | 2011-02-07 | 2011-05-19 | Sony Corp | 情報処理装置、情報処理方法およびコンピュータプログラム |
| JP2014531728A (ja) * | 2011-10-06 | 2014-11-27 | コーニンクレッカ フィリップス エヌ ヴェ | 電気照明システムの電力制御 |
| US10034340B2 (en) | 2011-10-06 | 2018-07-24 | Philips Lighting Holding B.V. | Electrical lighting system power control |
| JP2017532931A (ja) * | 2014-08-08 | 2017-11-02 | フィリップス ライティング ホールディング ビー ヴィ | 受電デバイスを介した電力転送 |
| US10122545B2 (en) | 2014-08-08 | 2018-11-06 | Philips Lighting Holding B.V. | Power forwarding via a powered device |
| RU2691218C2 (ru) * | 2014-08-08 | 2019-06-11 | Филипс Лайтинг Холдинг Б.В. | Передача питания через питаемое устройство |
Similar Documents
| Publication | Publication Date | Title |
|---|---|---|
| JP6974686B2 (ja) | Usb電力搬送ソーシングデバイスのための省電力モード | |
| US9690732B2 (en) | Power-over-ethernet (POE)-enabled network device and USB device power negotiation using USB to POE protocol conversion | |
| US8694710B2 (en) | Conversion of a two-wire bus into a single-wire bus | |
| CN101946418B (zh) | 电力线通信装置、电力线通信系统以及注册处理方法 | |
| CN101217436B (zh) | 以太网端口及其速率设置方法 | |
| JP2006094013A (ja) | PoEシステム | |
| CN105183687B (zh) | 一种分时串口通信方法及系统 | |
| CN101645752B (zh) | 通信协议自动侦测系统及方法 | |
| CN103391386B (zh) | 能够以自动协商模式工作的通信装置及其控制方法 | |
| JP2009244991A (ja) | データ通信方法、データ通信システム、電子制御ユニット、及び回路基板 | |
| CN114930775B (zh) | 用于串行总线系统的用户站的发送/接收装置和通信控制装置以及用于在串行总线系统中进行通信的方法 | |
| CN114930774B (zh) | 用于串行总线系统的用户站的发送/接收装置和通信控制装置及用于在串行总线系统中通信的方法 | |
| JP2007036424A (ja) | シリアル通信を行う電子デバイスを備えた電子装置及びシリアル通信方法 | |
| CN114928512B (zh) | 一种基于钻井设备的信号传输方法、装置、设备及介质 | |
| JP4977943B2 (ja) | 通信システム | |
| JP7021649B2 (ja) | カメラ制御装置およびカメラシステム | |
| JPH11177538A (ja) | データ伝送方式 | |
| CN114064533A (zh) | 一种rs-485信号极性的识别方法 | |
| JP2001177508A (ja) | 無線通信装置 | |
| JP2003141673A (ja) | サーボシステム | |
| CN102326435B (zh) | 通信设备和方法、包含这种设备的网关、装置和系统 | |
| JP2009088891A (ja) | 半導体装置、通信システム及び送受信振幅最適化方法、 | |
| JPH0818605A (ja) | 回線接続極性自動修正装置 | |
| CN120151132A (zh) | 用于串行总线系统的参与站以及用于利用差分信号在串行总线系统中通信的方法 | |
| JP3903298B2 (ja) | 火災報知システム |