JP2005299925A - チェーンガイド取付システム - Google Patents
チェーンガイド取付システム Download PDFInfo
- Publication number
- JP2005299925A JP2005299925A JP2005094939A JP2005094939A JP2005299925A JP 2005299925 A JP2005299925 A JP 2005299925A JP 2005094939 A JP2005094939 A JP 2005094939A JP 2005094939 A JP2005094939 A JP 2005094939A JP 2005299925 A JP2005299925 A JP 2005299925A
- Authority
- JP
- Japan
- Prior art keywords
- bolt
- chain guide
- distance
- chain
- mounting system
- Prior art date
- Legal status (The legal status is an assumption and is not a legal conclusion. Google has not performed a legal analysis and makes no representation as to the accuracy of the status listed.)
- Pending
Links
- 230000000295 complement effect Effects 0.000 claims description 2
- 230000035882 stress Effects 0.000 description 42
- 239000000463 material Substances 0.000 description 13
- 238000009826 distribution Methods 0.000 description 7
- 239000013598 vector Substances 0.000 description 7
- 238000002485 combustion reaction Methods 0.000 description 4
- 238000004519 manufacturing process Methods 0.000 description 3
- 238000004458 analytical method Methods 0.000 description 2
- 239000002131 composite material Substances 0.000 description 2
- 230000006835 compression Effects 0.000 description 2
- 238000007906 compression Methods 0.000 description 2
- 238000000034 method Methods 0.000 description 2
- 239000011295 pitch Substances 0.000 description 2
- 230000008646 thermal stress Effects 0.000 description 2
- 238000005299 abrasion Methods 0.000 description 1
- 238000007792 addition Methods 0.000 description 1
- 230000015572 biosynthetic process Effects 0.000 description 1
- 238000004364 calculation method Methods 0.000 description 1
- 238000010586 diagram Methods 0.000 description 1
- 230000000694 effects Effects 0.000 description 1
- 238000011156 evaluation Methods 0.000 description 1
- 239000011521 glass Substances 0.000 description 1
- 239000002184 metal Substances 0.000 description 1
- 229910052751 metal Inorganic materials 0.000 description 1
- 239000007769 metal material Substances 0.000 description 1
- 150000002739 metals Chemical class 0.000 description 1
- 229920000642 polymer Polymers 0.000 description 1
- 238000003825 pressing Methods 0.000 description 1
- 230000000750 progressive effect Effects 0.000 description 1
Images
Classifications
-
- B—PERFORMING OPERATIONS; TRANSPORTING
- B66—HOISTING; LIFTING; HAULING
- B66F—HOISTING, LIFTING, HAULING OR PUSHING, NOT OTHERWISE PROVIDED FOR, e.g. DEVICES WHICH APPLY A LIFTING OR PUSHING FORCE DIRECTLY TO THE SURFACE OF A LOAD
- B66F7/00—Lifting frames, e.g. for lifting vehicles; Platform lifts
- B66F7/28—Constructional details, e.g. end stops, pivoting supporting members, sliding runners adjustable to load dimensions
-
- F—MECHANICAL ENGINEERING; LIGHTING; HEATING; WEAPONS; BLASTING
- F01—MACHINES OR ENGINES IN GENERAL; ENGINE PLANTS IN GENERAL; STEAM ENGINES
- F01L—CYCLICALLY OPERATING VALVES FOR MACHINES OR ENGINES
- F01L1/00—Valve-gear or valve arrangements, e.g. lift-valve gear
- F01L1/02—Valve drive
-
- F—MECHANICAL ENGINEERING; LIGHTING; HEATING; WEAPONS; BLASTING
- F16—ENGINEERING ELEMENTS AND UNITS; GENERAL MEASURES FOR PRODUCING AND MAINTAINING EFFECTIVE FUNCTIONING OF MACHINES OR INSTALLATIONS; THERMAL INSULATION IN GENERAL
- F16H—GEARING
- F16H7/00—Gearings for conveying rotary motion by endless flexible members
- F16H7/18—Means for guiding or supporting belts, ropes, or chains
Landscapes
- Engineering & Computer Science (AREA)
- General Engineering & Computer Science (AREA)
- Mechanical Engineering (AREA)
- Life Sciences & Earth Sciences (AREA)
- Geology (AREA)
- Structural Engineering (AREA)
- Devices For Conveying Motion By Means Of Endless Flexible Members (AREA)
Abstract
【課題】 チェーンガイドの強度を向上できるチェーンガイド取付システムを提供する。
【解決手段】 チェーンガイド取付システムにおいて、ボルト穴44,45を有する取付面と、ボルト穴に対して相補的なボルトネジ部およびこれから延びるボルト軸部を各々有し、ボルト穴に取付可能に設けられるとともに、ボルト穴に取り付けられたときに各ボルト軸部の最も接近した縁部が第1の距離48だけ隔てられている複数のボルトと、ボルトを受け入れるためのボルト溝42’,43’を有し、ボルト溝を挿通するボルトを介して取付面に取り付けられるとともに、取付面に取り付けられたときに各ボルト溝の最も接近した縁部が第2の距離49だけ隔てられており、ボルト軸部がボルト溝の最も接近した縁部と接触するよう、第1の距離48が第2の距離49と等しいかまたは第2の距離33よりもわずかに小さくなっている。
【選択図】 図8A
【解決手段】 チェーンガイド取付システムにおいて、ボルト穴44,45を有する取付面と、ボルト穴に対して相補的なボルトネジ部およびこれから延びるボルト軸部を各々有し、ボルト穴に取付可能に設けられるとともに、ボルト穴に取り付けられたときに各ボルト軸部の最も接近した縁部が第1の距離48だけ隔てられている複数のボルトと、ボルトを受け入れるためのボルト溝42’,43’を有し、ボルト溝を挿通するボルトを介して取付面に取り付けられるとともに、取付面に取り付けられたときに各ボルト溝の最も接近した縁部が第2の距離49だけ隔てられており、ボルト軸部がボルト溝の最も接近した縁部と接触するよう、第1の距離48が第2の距離49と等しいかまたは第2の距離33よりもわずかに小さくなっている。
【選択図】 図8A
Description
本発明は、チェーンガイドの分野に関する。より詳細には、本発明は、エンジンタイミングシステムのためのチェーンガイドにおいて、アーチ式載荷状態のガイドブラケットの設計に関する。
エンジンタイミングシステムのための典型的なチェーンガイドは、ガラス強化ポリマーのような複合材料および金属から製作されている。これらのシステムのためのチェーンガイドのエンジンへの一般的な取付けは、典型的には、2本ボルト、3本ボルト、またはそれ以上の本数のボルトでエンジンに固定されていた。
チェーンガイドは、エンジンタイミングシステム内でクランクシャフトスプロケットからカムシャフトスプロケットにトルクを伝達するのに使用されるチェーンを支持する。スプロケット間のチェーンスパンにおいて制御損失を避けるために、チェーン張力を維持することが必要である。
チェーンガイドは、プラスチックから作られることがますます多くなってきている。プラスチックは、載荷時には平坦状になって拡がるとともに、周囲温度から80〜150℃の典型的な運転状態まで加熱されたときに膨張する。
このようなチェーンガイドは、一般に、チェーン接触面と平行な方向に延びる少なくとも一つの横長のボルト穴を有している。横長のボルト穴は、チェーンガイドの変形および熱膨張が取付ボルトとの接触によって規制されないように十分な長さに設計されている。
典型的には、エンジンタイミングシステムが配置されるエンジン内のスペースは制限されており、このため、チェーンガイドが占めることができる許容領域が制限されている。このようなスペースの制限は、チェーンガイドの設計を、チェーンガイドが使用中に高い応力を受ける梁状の部材となるようなものにしている。
従来の設計においては、チェーンガイドは、エンジンハウジングを挿通する取付ボルトのための穴を有する曲がり梁として支持されている。このため、チェーンガイドからの分布荷重が梁状のブラケットに作用すると、中間スパンにおける応力は、単純2点支持の梁におけるようなものとなる。
梁への応力を減少させるのに重要な梁長さを短くするために、チェーンガイドの設計において、梁のほぼ中間に第3のボルト穴を追加する変更がなされた。第3のボルト穴は、チェーン荷重が梁の変形を生じさせるとき、梁の中間位置でチェーンガイドを支持する。
梁の中間位置での十分な支持により、追加のボルトは、さらなる載荷を支持し、梁中間位置におけるさらなる変形を防止する。このような載荷状態により、第3のボルトを有するガイドは、梁の長さを2つの短い半分の梁に効果的に分割している。
ここで、これまで特許されたチェーンガイドには以下のものがある。
1989年5月23日に発行された「ドライブチェーンのためのガイドレール」という名称の米国特許第 4,832,664号は、内燃機関におけるチェーンのためのガイドレールについて開示している。
1989年5月23日に発行された「ドライブチェーンのためのガイドレール」という名称の米国特許第 4,832,664号は、内燃機関におけるチェーンのためのガイドレールについて開示している。
ガイドレールは、プラスチック材料からなり、スライドウェイライニングボディおよびキャリアから構成されている。キャリアもスライドウェイライニングボディもいずれも前進的な製造サイクルで製作されており、一つまたはいくつかの蟻溝係合によって相互に連結されている。
2000年5月14日に発行された「チェーンに対してガイドおよび(または)張力付与を行うガイドレール」という名称の米国特許第 6,036,613号は、耐摩耗性を有しかつ高応力を作用し得るプラスチック材料からなるスライドライニングボディおよびキャリアを含むスライドレールについて記述している。
スライドレールは、ハウジングのブシュに受け入れられたボルトによって第1の位置で支持されており、スライドレールには、離間された第2の位置において支持装置が設けられている。第2のボルトおよびブシュの必要性を排除する支持装置は、ハウジングの支持部およびスライドレールの支持領域によって構成されている。支持領域はまた、耐摩耗性プラスチック材料から形成されている。
2001年11月6日に発行された「チェーンガイド」という名称の米国特許第 6,312,353号は、チェーンをガイドするチェーンガイドについて開示している。このチェーンガイドは、一端に固定支持部材が枢支可能に連結されかつ他端に開孔が形成された細長いチェーンガイドボディと、チェーンガイドボディの枢支運動の方向と整列する側においてチェーンガイドとの間にクリアランスが形成されるように開孔に遊嵌されたカラーとを有している。
カラーは、チェーンガイドボディがクリアランスの範囲内で枢支運動するように、固定支持部材に強固に固定されている。このようなクリアランスが設けられることにより、チェーンは、チェーンガイドが固定支持部材に取り付けられている場合に発生する過剰な張りまたは弛みに対して保護されることになる。
2002年7月2日に発行された「内燃機関の制御軸駆動のためのチェーンガイドおよびチェーンガイドの製造方法」という名称の米国特許第 6,412,464号は、自動二輪車の内燃機関のためのチェーンガイドレールについて記述している。
チェーンガイドレールは、いずれも第1の材料から構成されたボディ部およびピンと、第2の材料からなり、ピンおよびボディ部を覆うオーバーモールディングと、ガイドレールの長さ方向に沿う長手方向の軸とを有している。
内燃機関のハウジング凹部に挿入されたピンは、第1の長手方向軸と直交する方向に移動するのを規制されているが、該軸に平行な方向には自由に移動するようになっている。この発明の好ましい実施例は、ガイドレールをハウジングに保持させるための締付具を用いている。
2003年7月1日に発行された「チェーン駆動装置のためのガイド」という名称の米国特許第 6,585,614号は、或るピッチのネジ穴を内部に有するエンジン本体に設置されたチェーン駆動装置のためのガイドについて開示している。
この場合には、ガイドは、エンジン本体のネジ穴に螺合するネジによってエンジン本体に取り付けられるように設けられた少なくとも2つの取付部を有している。取付部の少なくとも一つは、ガイドがピッチの異なるネジ穴を内部に有する少なくとも一つの類似したエンジン本体にも取り付けられるように、ガイドの長手方向に隔てられた少なくとも2つの環状取付穴を有している。
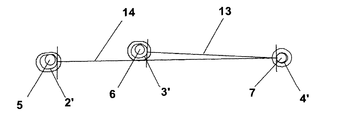
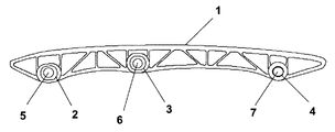
図1は、チェーンからの荷重が載荷されていない従来のチェーンガイドの取付けを示す側面図である。チェーンガイド1は、周囲温度下でボルト溝2,3,4を用いて取付ボルトによりボルト穴5,6,7に取り付けられる。図示の便宜上、取付ボルトの軸は、対応するボルト穴と同じ径を有している。
図2Aに示すように、チェーンガイド1’が、載荷時および運転温度の上昇時に平坦化され、長尺化され、拡張化されて変形するとき、横長のボルト溝2’,3’,4’が変形する。ボルト溝間の間隔は変形によってわずかに増加するが、ボルト穴5,6,7および軸は同じ位置に留まる。
ボルト溝2’,3’は、ボルト穴および軸5,6よりも細長くて長いので、運転温度下では、ボルト軸はボルト溝に対して左右方向にクリアランスを有している。3つのボルトに対する接触ベクトル8,9,10は、チェーンからの鉛直方向の荷重の作用下において主に鉛直方向である。このような取付けは、梁に載荷される状態を生じさせる。
従来においては、ボルト穴の最も接近した縁部間の距離は、対応するボルト溝の最も接近した縁部間の距離よりも常時長くなっている。図2Bおよび図2Cは、運転下における図2Aのボルト溝およびボルト穴を示している。ここでは、チェーンガイドの本体部が示されていないので、関連する距離をより容易に見ることができる。
図2Bはボルト軸間の距離を、図2Cは従来のボルト溝間の距離をそれぞれ示している。ボルト軸距離11は、従来のボルト溝距離13よりも常時大きくなっており、ボルト軸距離12は、ボルト溝距離14よりも常時大きくなっている。
図3は、図2Aのチェーンガイドのような梁に載荷された場合の応力分布15を示している。増加する引張応力は、零応力ライン16の左側に示されており、増加する圧縮応力は、零応力ライン16の右側に示されている。鉛直方向は、頂上部のチェーン接触面から底部のチェーンガイド背面に至るチェーンガイド鉛直方向を示している。
梁への載荷時には、図3に示すように、ガイドの上半分は圧縮応力を受け、下半分は引張応力を受ける。最大圧縮応力17(Cmax)はチェーン接触面18に現れ、最大引張応力19(Tmax)は、チェーンガイドのチェーン接触面と逆側の面20に沿って現れる。
材料コストは、チェーンガイドを製造する際の最終コストの大きな部分を占める。このため、より少ない材料で所望の強度のチェーンガイドを作製する必要性が存在している。
チェーンガイドのボルト溝は、従来においては、チェーンガイドの熱変形および載荷時の変形のためのスペースを許容するだけのために、細長かった。荷重は、ボルト溝の頂上部において梁のようにして支持されている。このようなガイドが破損する場合には、通常、高い引張応力により生じる過度の変形による。
したがって、当該分野において、過度の引張応力や変形が生じることなく、より大きな荷重を支持することができる、あるいは、より少ない材料を用いて従来のチェーンガイドと同等の荷重を支持することができるチェーンガイドの必要性が存在している。
米国特許第4,832,664号明細書
米国特許第6,036,613号明細書
米国特許第6,312,353号明細書
米国特許第6,412,464号明細書
米国特許第6,585,614号明細書
本発明は、このような従来の実情に鑑みてなされたもので、チェーンガイドがより大きな荷重を支持できる、または、より少ない材料を用いて従来のチェーンガイドと同等の荷重を支持できるチェーンガイド取付システムを提供することを目的とする。あるいは、別の言い方をすれば、本発明は、チェーンガイドへの載荷時に引張応力の発生を抑制でき、チェーンガイドの強度を向上できるチェーンガイド取付システムを提供しようとしている。
請求項1の発明に係るチェーンガイド取付システムは、少なくとも2つのボルト穴を有する取付面と、ボルト穴に対して相補的なボルトネジ部およびこれから延びるボルト軸部を各々有し、取付面のボルト穴に取付可能に設けられるとともに、ボルト穴に取り付けられたときに各ボルト軸部の最も接近した縁部が第1の距離だけ隔てられている複数のボルトと、ボルトを受け入れるための少なくとも2つのボルト溝を有し、ボルト溝を挿通するボルトを介して取付面に取付可能に設けられるとともに、取付面に取り付けられたときに各ボルト溝の最も接近した縁部が第2の距離だけ隔てられており、少なくとも1対のボルト軸部および少なくとも1対のボルト溝において、ボルト軸部がボルト溝の最も接近した縁部と接触するように、第1の距離が第2の距離と等しいかまたは第2の距離よりもわずかに小さくなっているチェーンガイドとを備えている。
請求項2の発明では、請求項1の発明において、チェーンガイドに荷重が作用していない。
請求項3の発明では、請求項1の発明において、チェーンガイドに荷重が作用している。
請求項4の発明では、請求項1の発明において、取付面がエンジンハウジングである。
請求項5の発明では、請求項1の発明において、当該システムが周囲温度よりも高い温度で運転されている。
請求項6の発明では、少なくとも一つのボルト軸部がボルト溝の最も接近した縁部と接触しないように、少なくとも一つの第1の距離が第2の距離よりも長くなっている。
請求項7の発明に係るチェーンガイド取付システムは、最も接近した縁部間の第1の距離だけ隔てられた少なくとも2つのボルト穴を有する取付面と、取付面の各ボルト穴に取付可能な取付ボルトと、各ボルト穴に対応して設けられるとともに、最も接近した縁部間の第2の距離だけ隔てられかつ当該チェーンガイドが取付ボルトで取付面に取り付けられるように設けられたボルト溝を有し、ボルトがボルト溝の最も接近した縁部と接触するように、第1の距離が第2の距離と等しいかまたは第2の距離よりもわずかに小さくなっているチェーンガイドとを備えている。
請求項8の発明では、請求項7の発明において、チェーンガイドに荷重が作用していない。
請求項9の発明では、請求項7の発明において、チェーンガイドに荷重が作用している。
請求項10の発明では、請求項7の発明において、取付面がエンジンハウジングである。
請求項11の発明では、請求項7の発明において、当該システムが周囲温度よりも高い温度で運転されている。
請求項12の発明では、請求項7の発明において、少なくとも一つのボルト軸部がボルト溝の最も接近した縁部と接触しないように、少なくとも一つの第1の距離が第2の距離よりも長くなっている。
本発明においては、チェーンガイドおよびその取付方法が記述されている。チェーンガイドは、好ましくは、アーチ式載荷状態が得られるようになっており、通常の運転条件下で従来のチェーンガイドよりも高い強度を有している。
取付ボルト穴の位置は、与えられたチェーンガイドのボルト溝の形状に対して設計されており、逆に、ボルト溝の位置は、与えられたチェーンガイドの取付ボルト穴の形状に対して設計されている。または、ボルト軸が拡径されている。
ボルト穴およびボルト溝間の位置関係は、取り付けられたチェーンガイドが通常の運転温度下におかれているときに、ボルトがボルト溝の側面と面一になるような関係である。このため、運転中においてチェーンからの押付荷重のチェーンガイドへの作用時には、アーチ型の構造物に見られるように、長手方向の中心線方向に圧縮荷重が作用する。これにより、運転中のチェーンから受ける力のいくつかはチェーンガイドの内部で圧縮応力に変化し、これにより、最大引張応力を減少させ、チェーンガイドの強度を向上させる。
チェーンガイド取付システムは、少なくとも2つのボルト穴を有する取付面を有している。複数のボルトの各々は、ボルトネジ部と、ボルトネジ部から延びかつ取付面のボルト穴にボルトネジ部を介して取付可能なボルト軸部とを有している。各取付ボルト対のボルト軸部の最も接近した各縁部は第1の距離だけ隔てられている。チェーンガイドは、取付ボルトに対応する少なくとも2つのボルト溝を有している。
この構成により、チェーンガイドは、ボルトを介して取付面に取り付けられるとともに、取り付けられるチェーンガイドの各ボルト溝対が、運転温度下で載荷時または非載荷時にボルト溝の最も接近した縁部間において第2の距離だけ隔てられている。
少なくとも一対のボルト軸部に対して、ボルト軸部がボルト溝の最も接近した溝と接触するように、第1の距離が第2の距離と等しいかまたはこれよりもわずかに小さくなっている。取付面は、好ましくはエンジンハウジングであり、運転温度は、好ましくは周囲温度よりも高くなっている。
本発明の第1の実施例においては、チェーンガイドは、ボルト溝がボルト穴のパターン設計に取り付けるために配置されるように、設計されている。他の実施例では、ボルト穴は、チェーンガイドおよびボルト溝の設計のために配置されている。さらに他の実施例では、取付ボルトの軸の大きさが、チェーンガイドの設計およびボルト穴のパターン設計とともに用いられるように変更されている。
別の実施例では、チェーンガイドは、アーチ式の載荷条件下で少なくとも2つのボルト溝を有しており、また、非アーチ式の載荷条件下で少なくとも一つのボルト溝を有している。本発明によるチェーンガイドは、好ましくは、エンジンタイミングシステムにおいて用いられる。
本発明に係るチェーンガイド取付システムによれば、取付ボルトのボルト軸部がチェーンガイドのボルト溝の最も接近した縁部と接触するように、ボルト軸部間の第1の距離がボルト溝間の第2の距離と等しいかまたは第2の距離よりもわずかに小さくなるようにしたので、チェーンガイドへの載荷時に引張応力の発生を抑制できるようになる。また、これにより、チェーンガイドがより大きな荷重を支持でき、あるいは、より少ない材料を用いて従来のチェーンガイドと同等の荷重を支持できるようになる。
以下、本発明の実施例を添付図面に基づいて説明する。
本発明は、アーチ式載荷状態を用いることによって引張応力を減少させて、チェーンガイドの強度を増加させる。一般に、梁の構造は、疲労や過大な張力により破損する。梁に載荷されると、荷重から離れた梁の部分は、橋の下側部分のように、張力による応力を生じる。
本発明は、アーチ式載荷状態を用いることによって引張応力を減少させて、チェーンガイドの強度を増加させる。一般に、梁の構造は、疲労や過大な張力により破損する。梁に載荷されると、荷重から離れた梁の部分は、橋の下側部分のように、張力による応力を生じる。
本発明を用いることによって、チェーンガイドの設計者は、最初の梁の変形時に梁が平坦状になって拡がるにつれてボルト溝がガイドを水平方向にさらに拡げるのを抑制するように、ボルト穴および(または)ボルト溝を意図的に配置する。
ボルト溝による水平方向移動の規制は、エンジン運転温度下でチェーンガイドの熱膨張の影響を許容するように設計されている。本発明のすべての実施例において、一対またはそれ以上のボルト軸の最も接近した縁部間の距離は、運転条件下で、一対またはそれ以上のボルト溝の最も接近した縁部間の距離と等しいかまたはこれよりも小さくなっている。
増加したガイド強度は、与えられたチェーンガイドに対して、より大きな最大許容鉛直荷重を可能にし、または、与えられた鉛直荷重を支持するのに軽量のチェーンガイドの使用を可能にする。
このような新規な特徴部分は、異なるいくつかの手法で取り入れることが可能である。エンジンのボルト穴を互いに接近して配置することができ、チェーンガイドのボルト溝を離れる側に移動させることができ、または、ボルト穴またはボルト溝を変化させることなく、ボルト軸部を大径にすることができる。
以下の事項は、本発明に関連する用語および概念である。
梁載荷状態とは、外力が引張応力および圧縮応力を均等に生じさせるような構造を意味している。アーチ式載荷状態とは、外力が主に圧縮応力を生じさせるような構造を意味している。
梁載荷状態とは、外力が引張応力および圧縮応力を均等に生じさせるような構造を意味している。アーチ式載荷状態とは、外力が主に圧縮応力を生じさせるような構造を意味している。
ボルトまたは取付ボルトは、本明細書中では互換可能に用いられているが、好ましくは、ボルトネジ部、ボルト軸部、およびボルト頭部からなり、チェーンガイドを取付面に取り付ける部分である。
ボルトネジ部とは、ボルトにおいてネジが形成された部分であり、チェーンガイドの取付時にボルト穴に螺合する部分である。ボルト軸部は、ボルトの部分であり、チェーンガイドがボルトによって取付面に取り付けられているときに、取付面から延びかつボルト溝と横方向に接触する部分である。ボルト穴は、典型的にはエンジンハウジングに穴あけ加工されるが、取付ボルトが螺合するネジ穴である。その一方、ボルト溝は、取付ボルトが配置されるチェーンガイドの穴である。
接触ベクトルは、ボルト溝の面と直交する方向にボルト溝が取付ボルト軸と接触する点において定義されている。
運転温度は、エンジン運転時のチェーンガイドの温度である。運転条件は、チェーンガイドが取り付けられ、載荷され、運転温度下に置かれている条件のことである。
図示の便宜上、図4、図5、図7および図8に示す本発明の最初の2つの実施例において、取付ボルトの軸部は、対応するネジ部およびボルト穴と同じ径を有している。このため、ボルト穴の距離およびボルト軸部の距離は、これらの実施例において等しくなっている。ボルト軸部は、本発明の精神から逸脱することなく、ボルトネジ部またはボルト穴より小さいか、または大きいか、あるいはこれに等しくなっている。
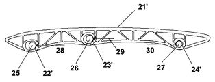
本発明の一実施例においては、従来よりも互いに接近配置されたボルト穴25,26,27を用いてチェーンガイドをボルト溝22,23,24を介して取り付けているが、図4では、周囲温度下において非載荷状態が示されている。
この例では、取付面が3つのボルト穴を有し、チェーンガイドが3つのボルト溝を有しているが、本発明は、2つまたは3つ以上のボルト穴およびボルト溝を有する取付面およびチェーンガイドにも同様に適用可能である。図5Aに示すように、チェーンガイド21’が荷重を受けて、運転温度まで加熱されると、ボルト溝22’,23’,24’は互いに離れる側に移動する。
ボルト軸部25,26,27は、運転条件下でボルト溝22’,23’,24’の側面と面一になる。3つのボルト溝22’,23’,24’に対する接触ベクトル28,29,30は、接触するチェーンからの鉛直荷重の作用下で主に水平方向である。このことは、チェーンガイドが主に圧縮応力を受けるアーチ式載荷状態を生じさせる。
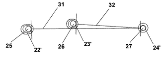
本発明では、ボルト軸部の最も接近した縁部間の距離は、運転条件下においてボルト溝の最も接近した縁部間の距離と常時等しいかまたはこれよりも小さくなっている。図5Bおよび図5Cは、運転条件下における図5Aのボルト溝およびボルト穴を示しており、ここでは、チェーンガイドの本体部は示されていない。このため、関連する距離をより容易に見ることができるようになっている。
図5Bはボルト軸部間の距離を示しており、図5Cはボルト溝間の距離を示している。運転条件下においては、ボルト穴25,27間の最も接近した縁部間の距離31は、ボルト溝22’,24’間の最も接近した縁部間の距離33と等しいかまたはこれよりもわずかに小さくなっており、ボルト穴26,27間の最も接近した縁部間の距離32は、ボルト溝23’,24’間の最も接近した縁部間の距離34と等しいかまたはこれよりもわずかに小さくなっている。
図3および図6を比較することにより、チェーンガイドの応力分布状態が梁載荷状態の取付状態から本発明によるアーチ式載荷状態の取付状態に移行しているということが分かる。与えられた鉛直荷重に対して、チェーンガイドの全応力(図3および図6の網掛部分)は、梁載荷状態のチェーンガイドおよびアーチ載荷状態のチェーンガイドのいずれにおいても等しくなっている。
アーチ式載荷状態の場合、応力分布線図35は、図6に示すように、圧縮応力の方向に均等に移行している。最大圧縮応力36(Cmax)は、依然としてチェーン接触面37に位置しており、最大引張応力38(Tmax)は、チェーンガイドのチェーン接触面と逆側の面に沿って位置している。
しかしながら、最大引張応力38は著しく減少しており、最大圧縮応力36は、載荷される梁全体にわたって均等に増加している。多くの材料は引張りよりも圧縮に対してはるかに強いので、アーチ式載荷状態の設計は、従来の梁載荷状態の設計よりも、チェーンガイドが強固となり、大きな荷重に耐えることができる。
運転条件下でボルト軸部およびボルト溝間の水平方向接触ベクトルをもって取り付けられたチェーンガイドの熱応力分析は、穴および溝がこのように配置されるときにアーチ式の載荷状態が存在していることを示唆している。
チェーンガイドのアーチ式載荷状態は、梁載荷状態の計算によって予想されるよりも小さな引張応力を生じさせる。このような挙動は、アーチ型構造物におけるアーチ式載荷状態によって説明される。すなわち、アーチ型構造物に見られるアーチ式載荷状態では、長手方向の中心線方向に圧縮荷重が作用するため、アーチ型構造物に載荷される鉛直荷重のいくつかは構造物の内部で圧縮応力に変化し、これにより、構造物内部での最大引張応力が減少して、構造物の強度が向上する。次に、続いて起こる熱応力分析は、荷重ベクトルがアーチ形載荷状態と一致していることが確認される。
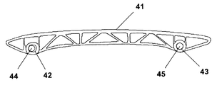
図7に示す本発明の他の実施例においては、ボルト溝42,43を有するチェーンガイド41が、周囲温度において、与えられた配列のボルト穴44,45に取り付けられるように設計されている。
この例では、取付面は2つのボルト穴を有しており、チェーンガイドは2つのボルト溝を有しているが、本発明は、3つまたはそれ以上のボルト穴およびボルト溝を有する取付面およびチェーンガイドにも適用可能である。チェーンガイドは、載荷されて、運転温度まで加熱される。
これにより、チェーンガイドを拡張させ、平坦化させて、ボルト溝を互いに離れる側に移動させる。ボルト溝間の距離は、これらの条件下で決定される。ボルト溝の形状は、周囲温度下でボルトがボルト溝42,43を挿通した状態でチェーンガイドがボルト穴形状に取り付けられるという条件に適合するように、必要に応じて変更される。
図8Aに示すように、載荷されたチェーンガイド41’のボルト溝42’,43’は、運転条件下で、頂上部よりも側面でボルト軸部44,45と面一になっている。ボルト軸部およびボルト溝は、与えられたボルト穴44,45に対して、水平方向の接触ベクトル46,47を生じさせる。このようなアーチ式載荷状態の設計は、図6に示す前記実施例と同様の応力分布を生じさせる。
図8Bおよび図8Cは、図8Aのボルト溝およびボルト穴を示しているが、ここでは、チェーンガイドの本体が示されていない。このため、関連する距離をより容易に見ることができるようになっている。
図8Bはボルト軸部間の距離を示しており、図8Cはボルト溝間の距離を示している。運転条件下では、ボルト穴44,45の最も接近した縁部間の距離48は、ボルト溝42’,43’の最も接近した縁部間の距離49と等しいか、またはこれよりも若干小さくなっている。
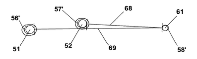
図9に示す本発明のさらに他の実施例では、ボルト溝56,57,58を有するチェーンガイド55を周囲温度下でボルト穴59,60,61に取り付けるために、ボルト軸部51,52が拡径されている。
この例では、取付面は3つのボルト穴を有しており、チェーンガイドは3つのボルト溝を有しているが、本発明は、2つまたは3つ以上のボルト穴およびボルト溝を有する取付面およびチェーンガイドにも適用可能である。3つの取付ボルトのうちの2つに対して、ボルト軸部51,52は、ボルトネジ部59,60よりも大きな径を有している。
この図示においては、ボルト穴61およびボルト軸部61は同じ径を有している。ボルト穴と同じ直径のボルト軸部を有する従来のボルトを用いることは、図2に示したように、運転条件下で梁載荷状態のチェーンガイドを与える。この実施例においては、横長のボルト溝内において2本のボルトのボルト軸部を拡径することは、ボルト穴を互いに接近する側に移動させるのと同じ効果を発揮する。
図10Aに示すように、チェーンガイド55’が載荷されて、運転温度まで加熱されるとき、ボルト軸部51,52,61は、アーチ式載荷状態を得るように、ボルト溝56’,57’,58’と側面で接触する。
取り付けられたチェーンガイド55’のボルト溝56’,57’,58’は、ボルト軸部51,52,61と横方向に面一になっており、水平方向の接触ベクトル62,63,64を生成している。このようなアーチ式載荷状態の設計は、チェーンガイドまたはボルト穴を変更することなく達成され、図6に示す前記実施例と同様の応力分布をもたらす。
図10Bおよび図10Cは、運転条件下での図10Aのボルト溝およびボルト穴を示しているが、ここでは、チェーンガイドの本体が示されていない。このため、関連する距離66,67,68,69をより容易に見ることができるようになっている。図10Bはボルト軸部間の距離を示しており、図10Cはボルト溝間の距離を示している。
運転条件下では、ボルト軸部52,61の最も接近した縁部間の距離66は、ボルト溝57’,58’の最も接近した縁部間の距離68と等しいか、またはこれよりも若干小さくなっており、ボルト軸部51,61間の距離67は、ボルト溝56’,58’間の距離69と等しいか、またはこれよりも若干小さくなっている。
本発明の他の実施例においては、図5A、図8Aおよび図10Aに示されるような形状および位置関係が、チェーンからの荷重が作用していない非載荷時の運転温度下で実現されている。このことは、チェーンからの荷重の作用下で減少した変形を受けることになる圧縮予荷重状態のチェーンガイドを生じさせる。
図5A、図8Aおよび図10Aに示す取付けは2つまたは3つのボルト穴またはボルト溝のいずれかを有しているが、本発明は、4つまたはそれ以上のボルト穴およびボルト溝にも同様に適用可能である。
ガイドがボルト溝において水平方向のそれ以上の移動を一旦規制されると、チェーンガイドへの載荷は、チェーンガイド構造の曲率に沿って導かれる増加した圧縮荷重成分に帰着することになる。
圧縮応力の形成は、設計者によって古代より建造物に用いられてきたアーチ式載荷状態における確立された力学に従っている。構造物の下側部分に沿った圧縮荷重成分は、ガイド下側領域に典型的な引張応力をオフセットさせる。
これにより、潜在的に部品の破損につながる最大引張応力を最小限に抑える。引張応力を最小限に抑えることは、チェーンガイドの疲労寿命および全体性能を向上させる。アーチ式載荷構造はまた、梁載荷構造よりも変形が小さい。剛性の高いチェーンガイドは、チェーン制御およびNVH(振動、騒音、ハーシネス)のための性能向上を提供する。
本発明のさらに他の実施例においては、運転条件下で少なくとも一対のボルトが少なくとも一対のボルト溝に対してアーチ式載荷状態を提供しつつ、少なくとも一つの内部ボルト溝がアーチ式載荷状態でないように、少なくとも3つのボルト溝を有するチェーンガイドが取り付けられている。
このことは、運転条件下でボルトがボルト溝23の右側縁部と接触しないように、たとえば図4のボルト穴26をわずかに左側に移動させるかまたはボルト溝23をわずかに右側に移動させることによって、図4の取付けにおいて達成されている。
したがって、追加の材料または材料追加分を用いることなく、より強固なチェーンガイドの設計が材料費を追加することなく達成されるように、チェーンガイドの効果的な強度が向上している。自動車のシステムが市場において成功していると見なされる場合には、コストも質量もいずれも重要な評価要素である。
本発明は単に幾何学的形状を扱っているので、本発明は、金属材料のみならず複合材料からなるチェーンガイドの設計にも適用され得る。本発明はまた、現存する設計にすぐに組み込むことが可能である。というのは、本発明は、本発明による利益を享受するために、ボルト穴の大きさまたはボルト溝の配置のような小さな調整を必要とするだけだからである。
このような小さな調整は、システムの現行の容積に対する変更をほとんど必要としない。したがって、本発明は、システム全体への影響を最小にしつつ、現行および将来の設計のいずれにも容易に適用可能である。
本明細書中で記述された本発明の実施例は、本発明の原理を採用した単なる例示にすぎないということが理解されるべきである。図示された実施例の詳細に本明細書中で言及することは、特許請求の範囲を限定する意図ではない。
22,23,24: ボルト溝
25,26,27: ボルト穴
25,26,27: ボルト穴
Claims (12)
- チェーンガイド取付システムであって、
a)少なくとも2つのボルト穴を有する取付面と、
b)ボルト穴に対して相補的なボルトネジ部と、ボルトネジ部から延びるボルト軸部とを各々有し、ボルト穴に取付可能に設けられるとともに、ボルト穴に取り付けられたときに各ボルト軸部の最も接近した縁部が第1の距離だけ隔てられている複数のボルトと、
c)ボルトを受け入れるための少なくとも2つのボルト溝を有し、ボルト溝を挿通するボルトを介して取付面に取付可能に設けられるとともに、取付面に取り付けられたときに各ボルト溝の最も接近した縁部が第2の距離だけ隔てられており、少なくとも1対のボルト軸部および少なくとも1対のボルト溝において、ボルト軸部がボルト溝の最も接近した縁部と接触するよう、第1の距離が第2の距離と等しいかまたは第2の距離よりもわずかに小さくなっているチェーンガイドと、
を備えたチェーンガイド取付システム。 - 請求項1において、
チェーンガイドに荷重が作用していない、
ことを特徴とするチェーンガイド取付システム。 - 請求項1において、
チェーンガイドに荷重が作用している、
ことを特徴とするチェーンガイド取付システム。 - 請求項1において、
取付面がエンジンハウジングである、
ことを特徴とするチェーンガイド取付システム。 - 請求項1において、
当該システムが周囲温度よりも高い温度で運転されている、
ことを特徴とするチェーンガイド取付システム。 - 請求項1において、
少なくとも一つのボルト軸部がボルト溝の最も接近した縁部と接触しないように、少なくとも一つの第1の距離が第2の距離よりも長くなっている、
ことを特徴とするチェーンガイド取付システム。 - チェーンガイド取付システムであって、
a)最も接近した縁部間の第1の距離だけ隔てられた少なくとも2つのボルト穴を有する取付面と、
b)取付面の各ボルト穴に取付可能な取付ボルトと、
c)各ボルト穴に対応して設けられるとともに最も接近した縁部間の第2の距離だけ隔てられかつ当該チェーンガイドが取付ボルトで取付面に取り付けられるように設けられたボルト溝を有し、ボルトがボルト溝の最も接近した縁部と接触するように第1の距離が第2の距離と等しいかまたは第2の距離よりもわずかに小さくなっているチェーンガイドと、
を備えたチェーンガイド取付システム。 - 請求項7において、
チェーンガイドに荷重が作用していない、
ことを特徴とするチェーンガイド取付システム。 - 請求項7において、
チェーンガイドに荷重が作用している、
ことを特徴とするチェーンガイド取付システム。 - 請求項7において、
取付面がエンジンハウジングである、
ことを特徴とするチェーンガイド取付システム。 - 請求項7において、
当該システムが周囲温度よりも高い温度で運転されている、
ことを特徴とするチェーンガイド取付システム。 - 請求項7において、
少なくとも一つのボルト軸部がボルト溝の最も接近した縁部と接触しないように、少なくとも一つの第1の距離が第2の距離よりも長くなっている、
ことを特徴とするチェーンガイド取付システム。
Applications Claiming Priority (1)
| Application Number | Priority Date | Filing Date | Title |
|---|---|---|---|
| US10/821,327 US20050227800A1 (en) | 2004-04-09 | 2004-04-09 | Arch-loaded guide bracket design |
Publications (1)
| Publication Number | Publication Date |
|---|---|
| JP2005299925A true JP2005299925A (ja) | 2005-10-27 |
Family
ID=34912730
Family Applications (1)
| Application Number | Title | Priority Date | Filing Date |
|---|---|---|---|
| JP2005094939A Pending JP2005299925A (ja) | 2004-04-09 | 2005-03-29 | チェーンガイド取付システム |
Country Status (5)
| Country | Link |
|---|---|
| US (1) | US20050227800A1 (ja) |
| EP (1) | EP1584799A2 (ja) |
| JP (1) | JP2005299925A (ja) |
| KR (1) | KR20060046648A (ja) |
| CN (1) | CN1680735A (ja) |
Families Citing this family (6)
| Publication number | Priority date | Publication date | Assignee | Title |
|---|---|---|---|---|
| WO2008119615A1 (de) * | 2007-04-02 | 2008-10-09 | Schaeffler Kg | Führungs- oder spannschiene in einem zugmitteltrieb |
| JP2009144861A (ja) * | 2007-12-17 | 2009-07-02 | Tsubakimoto Chain Co | 伝動装置用チェーンガイド |
| JP5848277B2 (ja) * | 2013-03-12 | 2016-01-27 | 株式会社椿本チエイン | チェーンガイド |
| DE102014206716A1 (de) * | 2014-04-08 | 2015-10-08 | Muhr Und Bender Kg | Riemenspannvorrichtung |
| JP6324359B2 (ja) * | 2015-10-21 | 2018-05-16 | 株式会社椿本チエイン | チェーンガイド |
| JP6408974B2 (ja) * | 2015-10-21 | 2018-10-17 | 株式会社椿本チエイン | チェーンガイド |
Family Cites Families (11)
| Publication number | Priority date | Publication date | Assignee | Title |
|---|---|---|---|---|
| DE3706136C1 (de) * | 1987-02-26 | 1988-09-15 | Porsche Ag | Verfahren zur Herstellung eines Kettenspanners |
| JPH0736201Y2 (ja) * | 1989-05-31 | 1995-08-16 | 株式会社椿本チエイン | 合成樹脂製シューを具えたチェーンガイドレール |
| DE4033728C2 (de) * | 1990-10-24 | 1994-03-24 | Halbach & Braun Ind Anlagen | Vorrichtung zum Führen einer Schrämmaschine o. dgl. Gewinnungsmaschine an der Förderrinne eines Kettenkratzförderers |
| EP0856686B2 (de) * | 1997-02-01 | 2007-05-02 | Dr.Ing.h.c. F. Porsche Aktiengesellschaft | Gleitschiene zum Führen und/oder Spannen einer Kette |
| JP3269011B2 (ja) * | 1997-07-28 | 2002-03-25 | 株式会社椿本チエイン | 伝動チェーンの走行案内シュー |
| JP3286259B2 (ja) * | 1999-03-03 | 2002-05-27 | 株式会社椿本チエイン | チェーンガイド |
| JP3469846B2 (ja) * | 1999-07-13 | 2003-11-25 | 株式会社メイドー | 案内ボス部溝付ボルト |
| JP2001041299A (ja) * | 1999-07-30 | 2001-02-13 | Tsubakimoto Chain Co | チェーンドライブ用ガイド |
| DE19954481A1 (de) * | 1999-11-12 | 2001-05-23 | Porsche Ag | Kettenführung für einen Steuerwellenantrieb einer Brennkraftmaschine sowie Verfahren zur Herstellung einer Kettenführung |
| US6375587B1 (en) * | 1999-11-12 | 2002-04-23 | Borgwarner Inc. | Timing chain having multiple blade tensioners contacting the same section of chain |
| DE10031610A1 (de) * | 2000-06-29 | 2002-02-07 | Schaeffler Waelzlager Ohg | Kettenspanner |
-
2004
- 2004-04-09 US US10/821,327 patent/US20050227800A1/en not_active Abandoned
-
2005
- 2005-03-24 EP EP05006564A patent/EP1584799A2/en not_active Withdrawn
- 2005-03-29 JP JP2005094939A patent/JP2005299925A/ja active Pending
- 2005-04-08 CN CNA2005100650000A patent/CN1680735A/zh active Pending
- 2005-04-08 KR KR1020050029427A patent/KR20060046648A/ko not_active Withdrawn
Also Published As
| Publication number | Publication date |
|---|---|
| CN1680735A (zh) | 2005-10-12 |
| US20050227800A1 (en) | 2005-10-13 |
| EP1584799A2 (en) | 2005-10-12 |
| KR20060046648A (ko) | 2006-05-17 |
Similar Documents
| Publication | Publication Date | Title |
|---|---|---|
| US6645102B2 (en) | Pivotally movable plastic guide for power transmission device | |
| US5083424A (en) | Heat shield configuration with low coolant consumption | |
| US6939259B2 (en) | Two-shot unified chain tensioner arm or guide | |
| CN1316144C (zh) | 涡轮增压器固定用装置 | |
| EP2005027B1 (en) | Series spring blade tensioner | |
| US20130210566A1 (en) | Chain guide for transmission device | |
| US20150232108A1 (en) | Wheel brake disc | |
| US20110013862A1 (en) | Bearing structure for crankshaft | |
| EP1096174B1 (en) | Blade tensioner with retaining pin and bracket | |
| CN108458069A (zh) | 一种变刚度大阻尼自动张紧器 | |
| KR101239553B1 (ko) | 타이밍 체인용 인장 장치 | |
| TW588141B (en) | Damped accessory drive system including a motor/generator | |
| JP3962060B2 (ja) | 伝動装置用ガイド | |
| KR20160128397A (ko) | 벨트 인장기 | |
| US7137373B2 (en) | Valve lifter guide | |
| JP2005299925A (ja) | チェーンガイド取付システム | |
| JP2010525249A (ja) | クランク駆動装置 | |
| US7537533B2 (en) | Chain tensioning device linking two strands of a chain drive | |
| JP5920530B2 (ja) | 内燃機関 | |
| JP2008190601A (ja) | 内燃機関のクランクシャフト支持構造 | |
| US6585614B1 (en) | Guide for chain drive | |
| CN108351001B (zh) | 带有组合轨道的链传动装置 | |
| US20090156339A1 (en) | Chain guide for transmission device | |
| CN115244288A (zh) | 自动张紧器的安装构造 | |
| JP2012512999A (ja) | ピストン支持装置 |