JP2005297957A - タイヤ取り付け/取り外し機のための自動検出装置 - Google Patents

タイヤ取り付け/取り外し機のための自動検出装置 Download PDF

Info

Publication number
JP2005297957A
JP2005297957A JP2005112294A JP2005112294A JP2005297957A JP 2005297957 A JP2005297957 A JP 2005297957A JP 2005112294 A JP2005112294 A JP 2005112294A JP 2005112294 A JP2005112294 A JP 2005112294A JP 2005297957 A JP2005297957 A JP 2005297957A
Authority
JP
Japan
Prior art keywords
detection device
tire
bead
wheel
sensor
Prior art date
Legal status (The legal status is an assumption and is not a legal conclusion. Google has not performed a legal analysis and makes no representation as to the accuracy of the status listed.)
Granted
Application number
JP2005112294A
Other languages
English (en)
Other versions
JP2005297957A5 (ja
JP4784970B2 (ja
Inventor
Tullio Gonzaga
トゥッリオ・ゴンザーガ
Current Assignee (The listed assignees may be inaccurate. Google has not performed a legal analysis and makes no representation or warranty as to the accuracy of the list.)
Butler Engineering and Marketing SpA
Original Assignee
Butler Engineering and Marketing SpA
Priority date (The priority date is an assumption and is not a legal conclusion. Google has not performed a legal analysis and makes no representation as to the accuracy of the date listed.)
Filing date
Publication date
Application filed by Butler Engineering and Marketing SpA filed Critical Butler Engineering and Marketing SpA
Publication of JP2005297957A publication Critical patent/JP2005297957A/ja
Publication of JP2005297957A5 publication Critical patent/JP2005297957A5/ja
Application granted granted Critical
Publication of JP4784970B2 publication Critical patent/JP4784970B2/ja
Anticipated expiration legal-status Critical
Expired - Lifetime legal-status Critical Current

Links

Images

Classifications

    • BPERFORMING OPERATIONS; TRANSPORTING
    • B60VEHICLES IN GENERAL
    • B60CVEHICLE TYRES; TYRE INFLATION; TYRE CHANGING; CONNECTING VALVES TO INFLATABLE ELASTIC BODIES IN GENERAL; DEVICES OR ARRANGEMENTS RELATED TO TYRES
    • B60C25/00Apparatus or tools adapted for mounting, removing or inspecting tyres
    • B60C25/01Apparatus or tools adapted for mounting, removing or inspecting tyres for removing tyres from or mounting tyres on wheels
    • B60C25/05Machines
    • B60C25/132Machines for removing and mounting tyres
    • B60C25/135Machines for removing and mounting tyres having a tyre support or a tool, movable along wheel axis
    • B60C25/138Machines for removing and mounting tyres having a tyre support or a tool, movable along wheel axis with rotary motion of tool or tyre support
    • BPERFORMING OPERATIONS; TRANSPORTING
    • B60VEHICLES IN GENERAL
    • B60CVEHICLE TYRES; TYRE INFLATION; TYRE CHANGING; CONNECTING VALVES TO INFLATABLE ELASTIC BODIES IN GENERAL; DEVICES OR ARRANGEMENTS RELATED TO TYRES
    • B60C25/00Apparatus or tools adapted for mounting, removing or inspecting tyres
    • B60C25/01Apparatus or tools adapted for mounting, removing or inspecting tyres for removing tyres from or mounting tyres on wheels
    • B60C25/05Machines
    • B60C25/0548Machines equipped with sensing means, e.g. for positioning, measuring or controlling
    • B60C25/0551Machines equipped with sensing means, e.g. for positioning, measuring or controlling mechanical

Landscapes

  • Engineering & Computer Science (AREA)
  • Mechanical Engineering (AREA)
  • Tires In General (AREA)
  • Automatic Assembly (AREA)
  • Measuring Fluid Pressure (AREA)
  • Moulds For Moulding Plastics Or The Like (AREA)
  • Automobile Manufacture Line, Endless Track Vehicle, Trailer (AREA)

Abstract

【課題】 本発明は、そのビードが解除されるべきタイヤ付き車輪9の回転軸の周りの回転のために取り付けられた車輪支持体Gと、各ビード解除ロールR,Rを支持するとともに、使用時において、タイヤ付き車輪9の両側に位置するように構成された一対のビード解除ロール付き伸縮アームT,Tを有するタイヤ取り付け/取り外し機において、タイヤビードを適切かつ迅速に取り外すことが可能な自動検出装置を提供することにある。
【解決手段】 該検出装置は、各ビード解除ロールR,Rに移動可能に支持される少なくとも1つのセンサ部材3と、各センサ部材を収縮静止位置と延出作業位置との間で移動可能に駆動するための駆動手段5と、作業位置にあるセンサ部材3によって発生される制御信号に応答して作用するように構成された電子制御ユニット34を有する。
【選択図】 図6

Description

本発明は、タイヤ取り付け/取り外し機のための自動検出装置、詳しくは、それぞれタイヤビード解除ロールを備える一対のアームを使用するタイヤ取り付け/取り外し機用に適した自動検出装置に関する。
各テレスコピック支持アームの自由端部に取り付けられ、分解されるタイヤ付き車輪に対して両側に配置され、車輪タイヤに押し付けられて、このタイヤ付き車輪をその回転軸心周りで回転を許容しながら、その車輪の両側においてタイヤビードを同時に解除するように構成された単数又は複数のビード解除ロールを備えたタイヤ取り付け/取り外し機が既に提案されている。
一対のビード解除ロールでビード解除作業を行うために、作業者は、車輪リムのサイズを考慮に入れながら、これら一対のビード解除ロールを、そのそれぞれのテレスコピック支持アームを延出又は伸張させることによって、これらロールを、車輪リムの各エッジに対して接近させるようにコントロールする。各ビード解除ロールがそのそれぞれのリムエッジに対する当接位置に達すると、作業者は、そのタイヤビードが解除されるべき車輪を同時に回転させながら、前記二つのテレスコピックアーム、したがって、それらに取り付けられたビード解除ロールの相互接近又はクランプ動作もコントロールする。勿論、これらすべての操作が作業者によって正しく行われた場合には、二つのビード解除ロールのエッジが、タイヤ付き車輪のリムエッジに当接した状態で、その各タイヤの側方に対して静止保持されているはずである。
従来のタイヤ取り付け/取り外し機においては、その後、前記両テレスコピックアームに動力を供給し、それによって、タイヤ付き車輪を回転させて所謂ビード解除作業を完了させながら、両ビード解除ロールを互いに接近するように強制移動させる。現在使用されているタイヤ付き車輪においては、作業者がビード解除ロールのセッティングを誤ると、それによって、重大な損傷、特に、比較的低い輪郭を有し軽量合金製車輪リムに取り付けられたタイヤに対しての重大な損傷が発生しうることから、そのようなビード解除作業は困難である。
より最近のタイヤ取り付け/取り外し機においては、そのような欠点を除去するために、タイヤ付き車輪を回転させながらタイヤを取り外しする時に、所謂「ダイナミックビード解除方式(dynamic bead-releasing)」が採用されており、そこでは、各ビード解除ロールを車輪の回転軸心に向けて、かつ、他方のロールに向けて移動させ、それによって、各ビード解除ロールが、好ましくは、車輪リムの内側カラーの形状に倣ったジグザグ経路に沿って、タイヤビード上をスライドしながら、タイヤビードと車輪リムエッジとの間に侵入し、これにより、各ビード解除ロールが、このタイヤビードから比較的離間したタイヤ側方ではなく、該タイヤビードを押し付ける。
従って、各ビード解除ロールの車輪リムの各エッジの近傍における位置決め後においてそのロールが移動する経路は、主として、車輪の回転軸心に対して平行な第1長さ部分と、同じ軸心に向けて傾斜した第2の非常に短い長さ部分と、タイヤ付き車輪の軸心に対して同様に平行な第3長さ部分とを有する破線状になる。
各ビード解除ロールが上述した破線状経路に沿って移動することを許容するために、当業者に知られているように、タイヤ組み付け/取り外し機のために複数の解決構造が提案されている。
第1の解決構造は、ビード解除ロールを所定の破線状経路に沿って制御するように構成されたカムを備えるタイヤ組み付け/取り外し機であった。しかし、この解決構造は、前記経路が所定のものとして固定されていることにより、現在市販されているすべてのタイヤ付き車輪用に適合することは出来ない。
第2のより単純な解決構造は、ビード解除ロールを、リムエッジから車輪の回転軸心に向かう、その各テレスコピックアームとタイヤ付き車輪の回転軸心との両方を含む各配設平面において湾曲線に沿った接近経路に沿って移動させる構造である。しかし、この構造では、ビード解除ロールは、ビードに対してではなくタイヤの長手側に対して押し付け始める可能性があり、これは、知られているように、タイヤのなかで最も抵抗が高い部分であり、従って、タイヤを破損させ恒久的に損傷させるリスクがある。
更に別の提案されている解決構造は、そのような破線状経路を作業者によって手動で実行させるものであるが、これはビード解除作業の成功を作業者の技量及び能力に任せるものであって、作業者は高度に訓練されている必要がある。
最後の解決構造は、ビード解除ロールが、タイヤとの接触後、バネを押し付けて、前記破線状経路を開始するように適当な検出器を制御する構成である。この解決構造には、検出器の変形較正に関する限り重大な欠点がある。事実、やわらかく変形しやすいタイヤを取り扱う時、ビード解除ロールがタイヤの側部に接触している時に、前記検出器を制御できず、その結果、前記破線状経路が開始されない可能性がある。その後、二つのロールがそれらの接近移動を続け、その間にそのタイヤ側部に対して更に圧力が加えられると、これによってタイヤが損傷したり、場合によっては破断する可能性もある。
これに対して硬い、又はあまりにもリジッドなタイヤを扱う場合には、タイヤ側部の変形が始まる前においてさえ、ビード解除ロールが検出器を起動させ、それによって前記破線状経路が早期に開始されてしまう可能性がある。この場合、各ビード解除ロールは、それが車輪リムエッジに当接してこれを押し付ける前に、タイヤ側で強制的にスライドされることになり、これによって、タイヤと車輪リムとの両方が、そしてリムが軽合金製である場合には特に、損傷を受ける可能性がある。
最後に、上述した全てのタイヤ取り付け/取り外し機において、二つのビード解除ロールの一方は、標準的なタイヤビード解除作業中、作業者の視野からタイヤ付き車輪によって隠されるので、作業者には見ることが出来ず、このことによって更に不確実性と間違いの可能性が増すということを銘記しなければならない。
本発明の主たる課題は、上述した欠点を解決又は大幅に軽減する、タイヤ取り付け/取り外し機のための自動検出装置を提供することにある。
本発明の別の課題は、ビード解除ロールが、各タイプのタイヤ付き車輪に対して、単純かつ迅速に最適なビード解除経路を採ることによって、高度な技量を有する作業者でなくても車輪リムエッジからタイヤビードを取り外すことが可能な自動検出装置を提供することにある。
本発明の更に別の課題は、一対のビード解除ロールを備えるアームを有するいずれのタイプのタイヤ取り付け/取り外し機にも取り付けることが可能な自動検出装置を提供することにある。
これら及び以下の記載から明らかになるその他の課題を達成するために、本発明によれば、そのタイヤビードをその車輪リムエッジから解除するべきタイヤ付き車輪のための少なくとも1つの回転可能支持体と、そのそれぞれが少なくとも1つの各ビード解除ロールを支持するとともに使用時において前記タイヤ付き車輪に面して位置するように構成された少なくとも1つの延出及び収縮可能なビード解除ロール付きアームとを有するタイヤ取り付け/取り外し機用の自動検出装置は、各ビード解除ロールに移動可能に支持される少なくとも1つのセンサ部材と、各センサ部材を、静止位置と、延出作業位置との間で移動可能に駆動するための駆動手段と、前記作業位置にある前記センサ部材によって発生される制御信号に応答して作用するように構成された制御手段とを有する。
本発明による前記自動検出装置のその他の特徴構成及び利点は、本発明を実施する非限定的具体例としてのいくつかの現時点において好適な実施例に関する下記の詳細説明を、添付の図面を参照して読むことから明らかになるであろう。
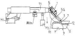
これら図面において、図1は、実質的に垂直な回転軸心周りで回転可能な車輪支持体と、上方アームと下方アームとから成る一対のテレスコピックビード解除ロール付きアームとを備えるタイヤ取り付け/取り外し機の略斜視図である。
図2は、それぞれ駆動アセンブリを備える、図1のタイヤ取り付け/取り外し機の前記一対のビード解除ロールの側方立面図である。
図3は、そのセンサ部材が、取り外されるタイヤ付き車輪の車輪リムエッジに当接する延出位置にある状態の、本発明による自動検出装置を備える部分を断面で示す上方ロール付きアームを示す図である。
図3aは、図3のテレスコピックアームを拡大して詳細に示す図である。
図4は、そのセンサ部材が後方の休止位置にある状態の図3のロール付きアームを示す図である。
図4aは、別の作業状態にある図3aの詳細を示す図である。
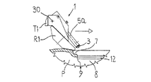
図5は、本発明による自動検出装置を備えるビード解除ロールの作業経路を示す図である。
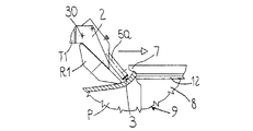
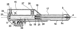
図6は、ビード解除ロールが、取り外されるタイヤの車輪リムに当接するように正しく位置決めされ、センサ部材が車輪リムエッジの外側に当接するその延出作業位置にある状態の本発明による自動検出装置を拡大して示す側面図である。
図7は、図6に類似しているが、ビード解除ロールが車輪リムエッジの外側に当接する誤った位置にあり、センサ部材がその延出位置にあり、まだ車輪リムエッジに当接していない状態を示す図である。
図8は、図6に類似の図であるが、ビード解除ロールとセンサ部材との両方がタイヤ付き車輪のタイヤ側に誤って当接している状態を示す図である。
図9は、そのトリム(trim)が延出作業位置にある第1工程における本発明による自動検出装置の長手方向断面図である。
図10は、図9に類似の図であるが、そのトリムが前記自動検出装置の延出作業位置にある第2工程を示す図である。
図11は、図9及び図10の自動検出装置の後方休止位置にある状態の長手方向断面図である。
図12は、ビーム解除ロールが、取り外されるタイヤ付き車輪の車輪リムエッジに当接し、センサ部材が機械式ではない、本発明の自動検出装置の別実施例を側面図である。
図13は、リニアアクチュエータの延出位置が引っ込められている図12の自動検出装置の側面図である。
図14は、本発明による自動検出装置を備える、図1の車輪取り付け/取り外し機の作業工程を示すブロック図である。
図15は、本発明による自動検出装置が各ビード解除ロール内に取り付けられた一対の側方ロール付きアームに対する実質的に水平な回転軸心を有する車輪支持体を備える車輪取り付け/取り外し機の僅かに上方からの斜視図である。
そして、図16は、本発明による図15のリニア検出装置の詳細を拡大して示す断面図である。
図1〜図11を参照すると、車輪取り付け/取り外し機は、ベースBを備える支持フレームAを有し、前記ベースBから後方直立部材Cが立設されている。前記ベースB上には、車輪リム又はタイヤ付き車輪を支持するように構成された回転可能アセンブリ、例えば、実質的に垂直な回転軸心周りで回転可能で、かつ、車輪リムに係合するためのジョーを備えたテーブル、又は、同様に実質的に垂直な軸心周りで回転するように取り付けられた多数の延出アームを有する把持ヘッドGが設けられている。
前記後方直立部材Cは、一対のオーバーハング状態に延出し収縮するアーム、例えば、把持ヘッドGに対して接近又は離間するべく伸張及び収縮可能で、そのそれぞれがその自由端部に各ビード解除ロールR及びRを取り付けた、上方及び下方テレスコピックアームT及びTのためのアセンブリを支持制御する。前記両アームT及びTは、各空気ジャッキM,Mによって、延長及び収縮可能であり、更に、空気ジャッキMによって、単数又は複数の縦ガイドHに沿って互いに対して接近及び離間移動可能に構成されている。
各テレスコピックアームT及びTは、後に詳述するように電子制御ユニット34によって制御される任意の適当なタイプの制動又はブロック装置10を備える。
各ビード解除ロールR及びRは、通常、切頭円錐形状であり、その大径のベースに丸みを帯びた(radiused)エッジを備え、その各ロール取り付けアームT及びTの自由前端部に遊転可能に取り付けられ、その回転軸心は、その各ロール取り付けアームの長手軸心に対して、例えば約45度の角度で傾斜し、これにより、その丸みを帯びた(radiused)エッジは、使用時において、その大径ベース全体に渡って、前記回転可能テーブル又は把持グリップG上に取り付けられた取り外されるべきタイヤ付き車輪9の車輪リム8のエッジ7に当接し、他方、その側面は、公知の状態で、タイヤビードに対して当接保持される。
本発明によれば、その全体を図中の参照番号1で示す自動検出装置は、各ビード解除ロールR及びRに備えられる。
詳細には図示されていないが、一般に、その上に、ジャッキMのための制御ボタンを設けることが可能な制御レバーLとして構成される適当な制御装置を操作することによって、作業者は、タイヤ付き車輪9の径に応じて、前記二つのロール付きアームT及びTを伸張又は収縮させる。その位置において、これらアームT及びTは、その両側においてタイヤ付き車輪9の回転軸心の方向に沿って配置され、それらのビード解除ロールR及びRは、それぞれ、タイヤ付き車輪9の車輪リム8の各エッジ7に近接して位置する。
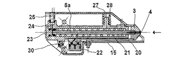
各ビード解除ロールR及びRに、そのそれぞれの解除ロールR又はRの切頭円錐表面に対して反対側に位置する状態で自動検出装置1が設けられている。各ロール付きアームT及びTのオーバハングする端部は、通常、ブラケット2、例えば断面U形状のブラケットを取り付け、それに、各自動検出装置1が固定されている。この自動検出装置1は、好ましくはリニア流体作動式アクチュエータ5のピストンロッドとすることが可能なロッド形状部材又はフィンガ部材5aの遠端部に支持、例えばネジ4によって固定されているセンサヘッド3を有する。前記リニアアクチュエータ5も、シリンダ19を有し、その中に、ピストンロッド5aを制御するためのピストン部材16がスライド可能に取り付けられている。前記シリンダ19内には、更に、コイル戻りバネ21も設けられ、その一端部はピストン部材16に当接し、その他端部はシリンダ19の底部20に当接している(図9〜11)。
好ましくは、前記ロッド形状部材5aの周りには、筒状部材14が設けられ、これは、前記センサ3をそのヘッド部において支持することを補助するものであり、シリンダ19の外部突出部18とスライド係合するように構成された長手スリット17を有し、これにより、前記筒状部材14は、前記ロッド形状部材又はステム5aの延長及び収縮中に案内されて、その長手軸心に沿った回転移動に対してロックされる。
前記ステム5aがそれから延出する前記端部の反対側の端部において、前記シリンダ19は、底部23によって封止され、横ボア24と導管25とを介して、電子ボードなどの電子制御ユニット34によって制御することが可能な遮断電子バルブ32によって、適当な加圧流体(空気)源33と流体連通している。
好ましくは、前記シリンダ19は、支持ケース又は箱状体15内に収納される。前記底部23によって閉じられている端部の近傍において、前記シリンダ19は、好ましくは、ブラケット2に取り付けられ、当該シリンダの長手軸心に対して横方向に延出する長手軸心を有するピン30によって前記箱状体15に枢支され、他方、前記ピン30から離間するその他端部において、それは、前記シリンダ19と箱状体15の内壁との間に作用し、好ましくは、前記シリンダ19又は箱状体15の一方から突出するラグ27によって位置保持される弾性戻り手段、例えば、コイルバネ28を備えている。
この構造により、前記シリンダ19は、前記横ピン30周りで、静止位置、例えば、前記戻りバネ28が弛緩状態にある位置(図9及び図11)と、前記戻りバネ28の作用に抗する作業位置(図10)との間で回転移動可能に構成されている。このシリンダ19の回転移動の大きさは図10において、角度αによって示されている。
前記箱状体15内には、更に、前記シリンダ19、したがってステム5aによって支持されるセンサ3の回転移動に応答して作用するように構成された検出手段22も設けられている。この検出手段22は、例えば、その本体が箱状体15の内壁に固定されるとともにその底部26がシリンダ19に面する適当なボタンスイッチ又はマイクロスイッチから構成することができ、これにより、このスイッチが、シリンダ19が角度α回転移動する時に、好ましくは、前記電子バルブ32の制御ユニット34に電気接続された、電子制御回路を開放する。
より詳しくは、前記ロール付きアームT又はTがタイヤ付き車輪9に近づいてセンサ3がリム8のエッジ7に接触すると、車輪リム8に対してアームによって自動検出装置1に与えられる速度に応じて、このセンサ3に対して接押圧力(tangential thrust)が作用する。この押圧力は、センサ3に接続された前記リニアアクチュエータ5に伝えられ、これによって、リニアアクチュエータ5は、これに対応する前記揺動ピン30周りで角度αの回転移動を行う。これによってマイクロスイッチ22が作動することによって、制御ユニット34が電子バルブ32に作用し、このバルブが導管25と連通し、従って、シリンダ19が環境と連通し、その結果、シリンダ19内の流体圧が減少し、ピストン16が戻りバネ21によって後方に移動する。 図示されているように、ステム5aは、シリンダ19内に戻ることになる(図11)。
同時に、そのシリンダ19内への戻り移動が開始され、したがって、その車輪リムのエッジ7からの係合解除が始まると、ステム5aは、もはやそれを角度α回転させたところの押圧力を受けなくなる。戻りバネ28によって、シリンダ19は、ピン30周りで揺動し、それによって、図11に図示されているようにその静止位置に戻る。
上述した自動検出装置1の作動はかなり単純である。作業者が前記レバーLを操作すると、各ロール付きアームT及びTに取り付けられたビード解除ロールR及びRは、先ず、センサ3が車輪リム8のエッジ7に当接し、それによってその存在を検出するまで、車輪リム8のエッジ7に向かって接近移動される。
これにより、単数又は複数の適当な制御信号が前記制御ユニット34に送られ、制御ユニット34は以下の一連の作動を開始する。
前記リニアアクチュエータ5のステムをシリンダ19内部のその静止保護位置へと戻し移動する、
ロール付きアームT及びTの接近移動を互いに減速し、これによって、タイヤ12の損傷を避けるために、空気ジャッキMによってタイヤ付き車輪9に対してクランプ作用が提供される、
空気ジャッキM及びMを起動して、そのそれぞれのロール付きアームT及びTを伸張させ、これによって、アームをタイヤ付き車輪9の回転軸心の方向に前進移動させる。これにより、二つの斜め方向の移動、即ち、ロール付きアームT及びTの伸張と相互接近移動の組み合わせ動作によって、その各ビード解除ロールR,Rが、その丸いエッジが、各エッジ7よりも小径の車輪リム8の中間バンド12(図4)に達するまで、車輪リムのエッジ7とタイヤPのビードとの間に挿入される、
前記両ジャッキM及びMを停止する、そして、
各ブレーキ10の作用開始により、両ロール付きアームT及びTを同時にロックし、それによって、各ロール付きアームを、その各ビード解除ロールがタイヤ付き車輪9の車輪リム8の前記バンド12に到達する前に、前記到達された延出位置にロックする。
この時点において、作業者は、適当なペダルSを操作して、モータを起動し、これによって、従来の車輪取り付け/取り外し機と同様に、タイヤ全部に沿って完全なビード解除作業を行うべく、前記把持ヘッドGを回転させる。
図6において、ビード解除ロールRに収納された自動検出装置1が図示され、これは、その使用時において本体15から突出し上方に延出するとともに、ビード解除ロールRの後部において、長さXにだけオフセットされているが、タイヤ付き車輪9の回転軸心に対して平行な方向において異なるレベルYにあるステム5aを有する。
この構成の場合、ロール付きアームTがタイヤ付き車輪9に接近している時、センサ3はその各ビード解除ロールR全体の外方に位置し、それによって、車輪リム8のエッジ7の位置を検出し、その後、上述した一連の作動を開始する。
同時に、長さXだけ後方の位置にあり、従って、センサ3よりも距離YだけタイヤP側に近い位置にあるビード解除ロールRが車輪リム8のエッジ7上に当接し、それによって、上述した一連の作動を開始する準備完了となる。
図7及び図8において、例えば、タイヤ付き車輪9の直径に対するそのビード解除ロールの取り付けのミスによって、タイヤ取り付け/取り外し機のビード解除ロールRが、車輪リム8のエッジ7に対して誤った位置にあり、これによって、ロール付きアームTおよびTの配置が変化している状態のタイヤ取り付け/取り外し機のビード解除ロールRが図示されている。
図7から理解されるように、ロール付きアームTは、その各ビード解除ロールRがタイヤ付き車輪9に接近しながら、エッジ7の近傍においてタイヤP側に当接する代わりに、車輪リム8側に停止するように配置されている。
この配置によれば、センサ3は、車輪リム8のエッジ7の存在を検出することは出来ず、従って、制御ユニット34に対してビード解除工程を開始させるための信号は送られない。
図8において、ロール付きアームTは、その各ビード解除ロールRがタイヤ付き車輪9に接近しながら、タイヤP側に停止するが、車輪リム8のエッジ7には接触しない。これにより、センサ3は、車輪リム8のエッジ7の存在を検出することは出来ず、従って、制御ユニット34に対してビード解除工程を開始させるための信号は送られない。
図12及び図13は、リニアアクチュエータ5のステム5aの遠端部に収納されてはいるが、非機械式であるセンサ3、例えば、光学式又は誘導又は容量型センサを含む自動検出装置1の実施例を図示している。
この実施例において、例えばレーザ又は磁界における差を通じて車輪リム8のエッジ7の存在が検出された後、センサ3は、制御ユニット34に信号を送り、これにより制御ユニットが電子バルブ32を制御し、その結果、リニアアクチュエータ5のステム5aは、枢支ピン30周りでの回転移動無く、シリンダ19内に退避し、タイヤ付き車輪9のビード解除工程が車輪取り付け/取り外し機によって始められる。
図14は、それぞれがビード解除タイヤPのための本発明による自動検出装置1を備えるロール付きアームT及びTを使用するタイヤ取り付け/取り外し機の作業サイクルにおける一連の作業を示すブロック図である。最初、ロール付きアームT及びTが、作業者がレバーLを操作することによって、タイヤ付き車輪9の両側に配置され、これによって、リニアアクチュエータ5のステム5aがそれらの作業位置へと伸張される。
次に、作業者は、常にレバーLによって、二つのロール付きアームT及びTを制御して、タイヤPの両側に接触させ、これにより、ステム5aの端部に位置するセンサ3が、例えば、それに当接することによって、車輪リム8のエッジ7の存在を検出するまで、ロール付きアームT及びTの「クランプ」移動を開始する。この段階において、センサ3は、例えば、電気、機械的、電気機械的又は上述したような光式信号とすることができる信号を、制御ユニット34に送り、制御ユニットは、タイヤ取り付け/取り外し機によるタイヤPのビード解除が行われるまで、上述したように一連の作業を順次開始させる。
その後、作業者は、手動制御で二つのロール付きアームT及びTをそれらの静止位置に戻すとともに、各リニアアクチュエータ5をそれらの作業位置にリセットする。
上述したそれぞれの作業は、作業者に、タイヤ取り付け/取り外し機によって行われる作業に対するより厳格な、または厳格でない制御を提供するべく、前記制御ユニット34に格納された適当なプログラムによって自動的に、或いは、完全に手動で行うことができる。
前記リニアアクチュエータ5のステム5aのリセット、又は、リセット忘れ、ロール付きアームT及びTの静止位置への戻り、ロール付きアームT及びTのクランプ移動、及び、ジャッキMの起動等を制御することが好ましい。
図15及び図16は、タイヤ取り付け/取り外し機の別実施例を図示し、ここでは、自動検出装置1は、各ビード解除ロールR及びRの軸方向凹部26に配置され、これにより、その静止位置、即ち、ステム5aがシリンダ19内に退避された状態では、自動検出装置1は、そのそれぞれのビード解除ロールR,R全体内に完全に含まれる。
上述した自動検出装置は、クレームによって定義される範囲内において様々な改変及び改造が可能である。
例えば、センサ3は、所定の応力レベルに応答する機械式検出器、光学式検出器、容量式検出器等とすることができる。
リニアアクチュエータ5は、流体作動式とする代わりに、例えば、逆転可能モータによって作動されるエンドレスネジ又はラックとして構成することができる。
更に、電気モータを備えるリニアアクチュエータ5が使用される場合、前記電子バルブ32をスイッチ等によって置き換えることができる。
尚、特許請求の範囲の項に図面との対照を便利にするために符号を記すが、該記入により本発明は添付図面の構造に限定されるものではない。
タイヤ取り付け/取り外し機の略斜視図 図1のタイヤ取り付け/取り外し機の一対のビード解除ロールの側方立面図 センサ部材が延出位置にある状態の上方ロール付きアーム 図3のテレスコピックアームの拡大図 センサ部材が休止位置にある状態の上方ロール付きアーム 別の作業状態にある図3aの図 ビード解除ロールの作業経路図 ビード解除ロールが正しい位置にあるときの自動検出装置の拡大側面図 ビード解除ロールが誤った位置にあるときの自動検出装置の側面図 ビード解除ロールが誤った位置にあるときの自動検出装置の側面図 自動検出装置の長手方向断面図 自動検出装置の長手方向断面図 自動検出装置の長手方向断面図 自動検出装置の別実施例の側面図 自動検出装置の別実施例の側面図 タイヤ取り付け/取り外し機の作業工程図 タイヤ取り付け/取り外し機の別実施例の略斜視図 図15のリニア検出装置の拡大断面図
符号の説明
G 把持ヘッド
,R ビード解除ロール
,T テレスコピックアーム
,M,M 空気ジャッキ
P タイヤ
1 自動検出装置
3 センサヘッド
5 アクチュエータ
5a ロッド状部材
7 エッジ
8 車輪リム
9 タイヤ付き車輪
12 中間バンド
15 箱状体
22 マイクロスイッチ
28 コイルバネ
30 ピン
32 電子バルブ
33 流体源
34 電子制御ユニット

Claims (14)

  1. そのタイヤビードをその車輪リムエッジから解除するべきタイヤ付き車輪(9)のための少なくとも1つの回転可能支持体(G)と、そのそれぞれが少なくとも1つの各ビード解除ロール(R,R)を支持するとともに使用時において前記タイヤ付き車輪(9)に面して位置するように構成された少なくとも1つの延出及び収縮可能なビード解除ロール付きアーム(T,T)とを有するタイヤ取り付け/取り外し機用の自動検出装置であって、各ビード解除ロール(R,R)に移動可能に支持される少なくとも1つのセンサ部材(3)と、各センサ部材(3)を、静止位置と、延出作業位置との間で移動可能に駆動するための駆動手段(5)と、前記作業位置にある前記センサ部材(3)によって発生される制御信号に応答して作用するように構成された電子制御ユニット(34)とを有することを特徴とする検出装置。
  2. 前記駆動手段(5)は、各センサ部材(3)を支持するように構成されるとともに、各リニアアクチュエータによって制御されて、前記延出作業位置と前記後方静止位置との間で移動される、ロッド状部材(5a)を備える少なくとも1つのリニアアクチュエータを含むことを特徴とする請求項1に記載の検出装置。
  3. 前記駆動手段(5)のための支持部材又はケース(15)を有することを特徴とする請求項1又は2に記載の検出装置。
  4. 前記支持部材(15)は、各ビード解除ロール(R,R)に配置されていることを特徴とする請求項3に記載の検出装置。
  5. 前記センサ部材(3)は機械式センサであることを特徴とする請求項1〜4のいずれか一項に記載の検出装置。
  6. 前記支持部材又はケース(15)とその各駆動手段(5)との間に、連接手段(articulation means)(30)と弾性戻り手段(28)とを有することを特徴とする請求項5に記載の検出装置。
  7. 前記支持部材(15)と前記駆動手段(5)との間の回転移動に応答して前記電子制御ユニット(34)に信号を送るように構成されたスイッチ手段(22)を有することを特徴とする請求項5又は6に記載の検出装置。
  8. 前記センサ部材(3)は光センサであることを特徴とする請求項1〜4のいずれか一項に記載の検出装置。
  9. 前記センサ部材(3)は、容量型又は誘導型センサであることを特徴とする請求項1〜4のいずれか一項に記載の検出装置。
  10. 前記電子制御ユニット(34)は、前記センサ部材(3)が前記タイヤ付き車輪(9)の車輪リムのエッジ(7)に当接する時、該センサ部材(3)から少なくとも一つの制御信号を受けるように構成されていることを特徴とする請求項1〜9のいずれか一項に記載の検出装置。
  11. 前記電子制御ユニット(34)は、下記の工程を含む作業を開始するように構成されていることを特徴とする請求項1〜10のいずれか一項に記載の検出装置:
    前記ロッド状部材(5a)をその静止位置に戻す、
    前記ロール付きアーム(T,T)の相互接近移動と、回転軸心に向かう移動との合成移動を制御する、そして、
    前記回転支持体(G)を回転させて前記ロール付きアーム(T,T)をロックする。
  12. 前記リニアアクチュエータ(5)の前記ロッド状部材(5a)は、制御部材(32)によって前記延出作業位置に保持されることを特徴とする請求項1〜11のいずれか一項に記載の検出装置。
  13. 前記制御部材(32)は電子バルブであることを特徴とする請求項12に記載の検出装置。
  14. 前記制御部材(32)はスイッチであることを特徴とする請求項12に記載の検出装置。
JP2005112294A 2004-04-09 2005-04-08 タイヤ取り付け/取り外し機のための自動検出装置 Expired - Lifetime JP4784970B2 (ja)

Applications Claiming Priority (2)

Application Number Priority Date Filing Date Title
ITVR2004A-000055 2004-04-09
IT000055A ITVR20040055A1 (it) 2004-04-09 2004-04-09 Tastatore automatico per macchine monta-smontagomme

Publications (3)

Publication Number Publication Date
JP2005297957A true JP2005297957A (ja) 2005-10-27
JP2005297957A5 JP2005297957A5 (ja) 2008-05-22
JP4784970B2 JP4784970B2 (ja) 2011-10-05

Family

ID=34897836

Family Applications (1)

Application Number Title Priority Date Filing Date
JP2005112294A Expired - Lifetime JP4784970B2 (ja) 2004-04-09 2005-04-08 タイヤ取り付け/取り外し機のための自動検出装置

Country Status (8)

Country Link
US (1) US7188656B2 (ja)
EP (1) EP1584495B1 (ja)
JP (1) JP4784970B2 (ja)
CN (1) CN100586745C (ja)
AT (1) ATE396069T1 (ja)
DE (1) DE602005006874D1 (ja)
ES (1) ES2305933T3 (ja)
IT (1) ITVR20040055A1 (ja)

Cited By (5)

* Cited by examiner, † Cited by third party
Publication number Priority date Publication date Assignee Title
JP2009190168A (ja) * 2008-02-13 2009-08-27 Butler Engineering & Marketing Spa 荷重物取扱装置
JP2009262929A (ja) * 2008-04-28 2009-11-12 Butler Engineering & Marketing Spa タイヤ取付け/取外し機用のビードブレーカーグループ
JP2010105658A (ja) * 2008-10-31 2010-05-13 Sicam Srl 乗物の車輪にタイヤを装着および除去するためのタイヤ交換機
CN102653217A (zh) * 2011-03-02 2012-09-05 小野谷机工株式会社 轮胎装卸装置、轮胎安装方法及轮胎脱离方法
JP2015101338A (ja) * 2013-11-22 2015-06-04 バトラー エンジニアリング アンド マーケティング エス ピー エーButler Engineering & Marketing S.P.A. タイヤ付き車輪を取外すための装置、タイヤ取付け取外し機械、タイヤの第1のビードを取外すための方法、およびタイヤを取外すための方法

Families Citing this family (30)

* Cited by examiner, † Cited by third party
Publication number Priority date Publication date Assignee Title
US8284390B1 (en) 2003-02-20 2012-10-09 Hunter Engineering Company Vehicle tire changing system with tool positioning sensor
DE102004040866A1 (de) * 2004-08-23 2006-03-02 Schenck Rotec Gmbh Vorrichtung und Verfahren zum Montieren eines Reifens
US8365794B2 (en) * 2005-01-18 2013-02-05 Android Industries Llc Inflation work station
USD614679S1 (en) * 2006-04-26 2010-04-27 Corghi S.P.A. Tire dismounter
ES2369002T3 (es) * 2007-05-23 2011-11-24 Snap-On Equipment Srl A Unico Socio Procedimiento y aparato para determinar la dimensión geométrica de una rueda de vehículo que comprende sensores ópticos.
EP2020594B1 (en) * 2007-07-30 2014-05-07 Snap-on Equipment Srl a unico socio Method of and apparatus for determining geometrical dimensions of a vehicle wheel
ITVR20070130A1 (it) * 2007-09-19 2009-03-20 Butler Eng & Marketing Testa a rullo stallonatore per una macchina monta-smontagomme
US8770254B1 (en) * 2008-07-17 2014-07-08 Hunter Engineering Company Tire changer with rotational position and tracking control
US8613303B1 (en) * 2008-07-17 2013-12-24 Hunter Engineering Company Tire changing machine with force detection and control methods
US8387675B1 (en) * 2009-09-09 2013-03-05 Hunter Engineering Company Tire changing machine with automated tire bead pressing devices, controls and methods
US9073394B1 (en) 2008-07-17 2015-07-07 Hunter Engineering Company Tire changing machine with force detection and control methods
US8322007B2 (en) 2009-03-12 2012-12-04 Butler Engineering & Marketing S.P.A. Load handling device
IT1394417B1 (it) * 2009-05-18 2012-06-15 Teco Srl Utensile per macchine smontagomme
US8783326B1 (en) * 2009-09-09 2014-07-22 Hunter Engineering Company Tire changing machine with automated tire bead pressing devices, controls and methods
IT1396147B1 (it) 2009-11-05 2012-11-16 Corghi Spa Apparecchiatura e metodo per il montaggio e lo smontaggio di pneumatici su e da rispettivi cerchioni
USD636003S1 (en) * 2010-08-16 2011-04-12 Hunter Engineering Company Vehicle wheel target mount assembly
US9950580B2 (en) * 2012-01-31 2018-04-24 Android Industries Llc Bead seater apparatus and method for using the same
ES2927058T3 (es) * 2014-05-30 2022-11-02 Snap On Equip Srl Unico Socio Procedimiento para el montaje y desmontaje de un neumático en y desde una llanta de rueda
US9517667B2 (en) * 2014-05-30 2016-12-13 Snap-On Equipment Srl A Unico Socio Tire mounting tool assembly
EP2995476B1 (en) * 2014-09-12 2017-11-08 Giuliano Group S.p.A. Operating head for removing and fitting wheel tyres for vehicles
IT201900005728A1 (it) 2019-04-12 2020-10-12 Nexion Spa Apparato smontagomme
IT202100001238A1 (it) 2021-01-25 2022-07-25 Snap On Equip Srl Unico Socio Apparato smontagomme
IT202100001235A1 (it) 2021-01-25 2022-07-25 Snap On Equip Srl Unico Socio Apparato smontagomme con utensile a basculamento automatico
IT202100005828A1 (it) 2021-03-12 2022-09-12 Butler Eng And Marketing S P A Abbreviabile In Butler S P A Apparecchiatura smontagomme e procedimento per il montaggio e smontaggio di pneumatici
CN113183691B (zh) * 2021-04-25 2022-06-03 长春汽车工业高等专科学校 一种便携式汽车轮胎快速装卸设备
IT202100013760A1 (it) * 2021-05-26 2022-11-26 M & B Eng S R L Dispositivo per il montaggio/smontaggio di pneumatici
CN113442664A (zh) * 2021-05-31 2021-09-28 胡瑞 一种利用磁极板实现矫正螺丝方位的轮胎安装设备
IT202100018722A1 (it) 2021-07-16 2023-01-16 Snap On Equip Srl Unico Socio Apparato smontagomme
CN114801604B (zh) * 2022-04-15 2023-08-01 伺轮智能机器人(南京)有限公司 用于检测轮胎与轮辋分离状态的方法及装置
IT202200009740A1 (it) * 2022-05-11 2023-11-11 Sicam Srl Gruppo per il trattamento di ruote gommate

Citations (5)

* Cited by examiner, † Cited by third party
Publication number Priority date Publication date Assignee Title
DE2529343A1 (de) * 1975-07-01 1977-01-13 Hofmann Maschf Geb Verfahren und vorrichtung zum montieren und demontieren von kraftfahrzeugreifen, insbesondere kraftfahrzeugreifen fuer lastkraftwagen
JPH06270619A (ja) * 1993-03-17 1994-09-27 Banzai:Kk タイヤ装着装置
JP2003182329A (ja) * 2001-11-22 2003-07-03 Butler Engineering & Marketing Srl タイヤ着脱装置のビード取りはずし用ヘッド
JP2004330860A (ja) * 2003-05-07 2004-11-25 Onodani Kiko Kk タイヤ着脱装置及びタイヤ取外し方法
JP2004345630A (ja) * 2003-05-19 2004-12-09 Butler Engineering & Marketing Srl タイヤホイール保守装置及びタイヤホイール保守方法

Family Cites Families (1)

* Cited by examiner, † Cited by third party
Publication number Priority date Publication date Assignee Title
US7355687B2 (en) * 2003-02-20 2008-04-08 Hunter Engineering Company Method and apparatus for vehicle service system with imaging components

Patent Citations (5)

* Cited by examiner, † Cited by third party
Publication number Priority date Publication date Assignee Title
DE2529343A1 (de) * 1975-07-01 1977-01-13 Hofmann Maschf Geb Verfahren und vorrichtung zum montieren und demontieren von kraftfahrzeugreifen, insbesondere kraftfahrzeugreifen fuer lastkraftwagen
JPH06270619A (ja) * 1993-03-17 1994-09-27 Banzai:Kk タイヤ装着装置
JP2003182329A (ja) * 2001-11-22 2003-07-03 Butler Engineering & Marketing Srl タイヤ着脱装置のビード取りはずし用ヘッド
JP2004330860A (ja) * 2003-05-07 2004-11-25 Onodani Kiko Kk タイヤ着脱装置及びタイヤ取外し方法
JP2004345630A (ja) * 2003-05-19 2004-12-09 Butler Engineering & Marketing Srl タイヤホイール保守装置及びタイヤホイール保守方法

Cited By (5)

* Cited by examiner, † Cited by third party
Publication number Priority date Publication date Assignee Title
JP2009190168A (ja) * 2008-02-13 2009-08-27 Butler Engineering & Marketing Spa 荷重物取扱装置
JP2009262929A (ja) * 2008-04-28 2009-11-12 Butler Engineering & Marketing Spa タイヤ取付け/取外し機用のビードブレーカーグループ
JP2010105658A (ja) * 2008-10-31 2010-05-13 Sicam Srl 乗物の車輪にタイヤを装着および除去するためのタイヤ交換機
CN102653217A (zh) * 2011-03-02 2012-09-05 小野谷机工株式会社 轮胎装卸装置、轮胎安装方法及轮胎脱离方法
JP2015101338A (ja) * 2013-11-22 2015-06-04 バトラー エンジニアリング アンド マーケティング エス ピー エーButler Engineering & Marketing S.P.A. タイヤ付き車輪を取外すための装置、タイヤ取付け取外し機械、タイヤの第1のビードを取外すための方法、およびタイヤを取外すための方法

Also Published As

Publication number Publication date
EP1584495A3 (en) 2006-12-06
EP1584495B1 (en) 2008-05-21
US7188656B2 (en) 2007-03-13
ATE396069T1 (de) 2008-06-15
ES2305933T3 (es) 2008-11-01
JP4784970B2 (ja) 2011-10-05
US20050241776A1 (en) 2005-11-03
ITVR20040055A1 (it) 2004-07-09
EP1584495A2 (en) 2005-10-12
CN1680124A (zh) 2005-10-12
CN100586745C (zh) 2010-02-03
DE602005006874D1 (de) 2008-07-03

Similar Documents

Publication Publication Date Title
JP4784970B2 (ja) タイヤ取り付け/取り外し機のための自動検出装置
JP4073299B2 (ja) タイヤ着脱装置のビード取りはずし用ヘッド
US8905112B2 (en) Device for demounting the second bead of a tire from a rim and respective demounting method
US8973640B1 (en) Demount tool assembly and methods for automated tire changer machine
JP4836247B2 (ja) タイヤ取り外し機
JP5940886B2 (ja) リムからのタイヤの自動取り外し用デバイス、およびこのようなデバイスを備えた機器
CN105235455B (zh) 用于装配和移除轮胎的机器和方法
JP2009073483A (ja) タイヤ取り付け・取り外し装置のためのビードブレーカーローラヘッド
CN105235456B (zh) 用于装配和移除轮胎的机器和方法
US10189322B2 (en) Device for disassembling a tire from a wheel rim and a method of disassembling a tired wheel
ITRE20000078A1 (it) Dispositivo automatico per lo smontaggio ed il montaggio dei pneumatici, e macchine smontagomme cosi' attrezzate
CN102529615A (zh) 一种用于从轮圈拆卸轮胎的装置以及装配有这种装置的轮胎拆卸机
JP2012131477A5 (ja)
JP2005297957A5 (ja)
JP2012240676A5 (ja)
JP3188333B2 (ja) タイヤ取外し機用ビード外し装置
ITBO20120189A1 (it) Utensile di smontaggio per una macchina smontagomme e macchina smontagomme
EP2875969B1 (en) A device for demounting a tired wheel as well as a machine including such device
JP2009262929A (ja) タイヤ取付け/取外し機用のビードブレーカーグループ
JP2004284580A (ja) ホイールにタイヤを着脱する装置
US20200114708A1 (en) Machine for mounting and/or removing vehicle wheels, in particular truck wheels
KR102094120B1 (ko) 소화기 격발장치
JPH09123717A (ja) タイヤ着脱装置
ITMC20070101A1 (it) Macchina smontagomme dotata di memoria autoprogrammabile.
JPH03204128A (ja) マフラー巻締装置の工具自動交換機構

Legal Events

Date Code Title Description
A521 Request for written amendment filed

Free format text: JAPANESE INTERMEDIATE CODE: A523

Effective date: 20050707

A521 Request for written amendment filed

Free format text: JAPANESE INTERMEDIATE CODE: A523

Effective date: 20080408

A621 Written request for application examination

Free format text: JAPANESE INTERMEDIATE CODE: A621

Effective date: 20080408

A131 Notification of reasons for refusal

Free format text: JAPANESE INTERMEDIATE CODE: A131

Effective date: 20101007

A521 Request for written amendment filed

Free format text: JAPANESE INTERMEDIATE CODE: A523

Effective date: 20110106

TRDD Decision of grant or rejection written
A01 Written decision to grant a patent or to grant a registration (utility model)

Free format text: JAPANESE INTERMEDIATE CODE: A01

Effective date: 20110609

A01 Written decision to grant a patent or to grant a registration (utility model)

Free format text: JAPANESE INTERMEDIATE CODE: A01

A61 First payment of annual fees (during grant procedure)

Free format text: JAPANESE INTERMEDIATE CODE: A61

Effective date: 20110706

Free format text: JAPANESE INTERMEDIATE CODE: A61

Effective date: 20110711

R150 Certificate of patent or registration of utility model

Ref document number: 4784970

Country of ref document: JP

Free format text: JAPANESE INTERMEDIATE CODE: R150

FPAY Renewal fee payment (event date is renewal date of database)

Free format text: PAYMENT UNTIL: 20140722

Year of fee payment: 3

FPAY Renewal fee payment (event date is renewal date of database)

Free format text: PAYMENT UNTIL: 20140722

Year of fee payment: 3

FPAY Renewal fee payment (event date is renewal date of database)

Free format text: PAYMENT UNTIL: 20140722

Year of fee payment: 3

FPAY Renewal fee payment (event date is renewal date of database)

Free format text: PAYMENT UNTIL: 20140722

Year of fee payment: 3

R250 Receipt of annual fees

Free format text: JAPANESE INTERMEDIATE CODE: R250

R250 Receipt of annual fees

Free format text: JAPANESE INTERMEDIATE CODE: R250

R250 Receipt of annual fees

Free format text: JAPANESE INTERMEDIATE CODE: R250

R250 Receipt of annual fees

Free format text: JAPANESE INTERMEDIATE CODE: R250

R250 Receipt of annual fees

Free format text: JAPANESE INTERMEDIATE CODE: R250

R250 Receipt of annual fees

Free format text: JAPANESE INTERMEDIATE CODE: R250

R250 Receipt of annual fees

Free format text: JAPANESE INTERMEDIATE CODE: R250

R250 Receipt of annual fees

Free format text: JAPANESE INTERMEDIATE CODE: R250

R250 Receipt of annual fees

Free format text: JAPANESE INTERMEDIATE CODE: R250

R250 Receipt of annual fees

Free format text: JAPANESE INTERMEDIATE CODE: R250

R250 Receipt of annual fees

Free format text: JAPANESE INTERMEDIATE CODE: R250

EXPY Cancellation because of completion of term