JP2005297036A - 金属製屈曲溝状部材の製造方法 - Google Patents

金属製屈曲溝状部材の製造方法 Download PDF

Info

Publication number
JP2005297036A
JP2005297036A JP2004119414A JP2004119414A JP2005297036A JP 2005297036 A JP2005297036 A JP 2005297036A JP 2004119414 A JP2004119414 A JP 2004119414A JP 2004119414 A JP2004119414 A JP 2004119414A JP 2005297036 A JP2005297036 A JP 2005297036A
Authority
JP
Japan
Prior art keywords
bent
bending
plate portion
joining
groove
Prior art date
Legal status (The legal status is an assumption and is not a legal conclusion. Google has not performed a legal analysis and makes no representation as to the accuracy of the status listed.)
Granted
Application number
JP2004119414A
Other languages
English (en)
Other versions
JP3983230B2 (ja
Inventor
Takashi Kamatani
隆 鎌谷
Takanao Onishi
孝尚 大西
Current Assignee (The listed assignees may be inaccurate. Google has not performed a legal analysis and makes no representation or warranty as to the accuracy of the list.)
Yodogawa Steel Works Ltd
Original Assignee
Yodogawa Steel Works Ltd
Priority date (The priority date is an assumption and is not a legal conclusion. Google has not performed a legal analysis and makes no representation as to the accuracy of the date listed.)
Filing date
Publication date
Application filed by Yodogawa Steel Works Ltd filed Critical Yodogawa Steel Works Ltd
Priority to JP2004119414A priority Critical patent/JP3983230B2/ja
Publication of JP2005297036A publication Critical patent/JP2005297036A/ja
Application granted granted Critical
Publication of JP3983230B2 publication Critical patent/JP3983230B2/ja
Anticipated expiration legal-status Critical
Expired - Lifetime legal-status Critical Current

Links

Images

Landscapes

  • Bending Of Plates, Rods, And Pipes (AREA)

Abstract

【課題】 外観的に綺麗に仕上げることができ、材料金属板としてカラー鋼板を使用することも可能な金属製屈曲溝状部材の製造方法を提供する。
【解決手段】 一定幅の底板部5と、底板部の両側縁から同方向へ折れ曲がった左右一対の側板部6と、両側板部の先端から溝7の内側又は外側へ底板部と平行に折れ曲がった折曲板部8とを備え、且つ、溝の開口と反対側へ屈曲した形状の金属製屈曲溝状部材1Aを製造するにあたり、帯状平板9に所定の折り曲げ線a,a、b,b、を形成し、一方の側板部6と折曲板部8との折り曲げ線aから他方の側板部6と折曲板部8との折り曲げ線aに至る板部に、一部を切り残して接合用舌片10a,10bとした屈曲用切欠き部11を打抜き形成し、帯状平板を夫々の折り曲げ線から折り曲げると共に、接合用舌片10a,10bを屈曲用切欠き部11の反対側に位置する板部と重ね合わせ、この重ね合わせ部分を接合して、金属製屈曲溝状部材を製造する。
【選択図】 図5

Description

本発明は、一定幅の底板部と、底板部の両側縁から同方向へ折れ曲がった左右一対の側板部と、両側板部の先端から溝の内側又は外側へ底板部と平行に折れ曲がった折曲板部とを備え、且つ、溝の開口と反対側へ屈曲した形状の金属製屈曲溝状部材を製造する方法に関する。
従来、図25、図26に示すように、一定幅の底板部5と、底板部5の両側縁から同方向へ折れ曲がった左右一対の側板部6と、両側板部6の先端から溝7の内側へ平行に折れ曲がった折曲板部8とを備え、且つ、溝7の開口と反対側へ屈曲した形状の金属製屈曲溝状部材を製造するにあたっては、図25に仮想線で示すように、端部が斜めにカットされた二つの直線的な溝状部材1a,1bを別個に製作し、これらの二部材1a,1bを端部が突き合わされた状態に溶接していた。
しかしながら、この従来技術による場合は、溶接部が変色し且つ盛り上がった状態となるため、見栄えがせず、溶接後に塗装を施しても、綺麗に仕上げることができないという問題点がある。また、肉盛り部分をサンダーで落とし、溶接箇所を平滑にして塗装する場合は、作業手間がかかり、溶接強度が落ちるという欠点がある。しかも、溝状部材1a,1bの材料として、溶接が可能な金属板を用いる必要があるため、外観が美麗で、錆にも強いカラー鋼板を用いて、意匠性に優れた屈曲溝状部材を製造することができなかった。
尚、特許文献1には、屈曲加工の対象とする角パイプを側面視においてV字状に切除し、切断縁同士を突合せた状態に折り曲げて、溶接する角パイプの屈曲加工技術が記載されているが、これを金属製屈曲溝状部材の製造方法に応用しても、溶接部が外観を阻害する点や溶接可能な金属板を用いる必要がある点では、図25、図26の従来技術と大同小異である。
特公平3−54014号公報
本発明は、上記の問題点を踏まえてなされたもので、その目的とするところは、外観的に綺麗に仕上げることができ、材料金属板としてカラー鋼板を使用することも可能な金属製屈曲溝状部材の製造方法を提供することにある。
上記の目的を達成するために、本発明が講じた技術的手段は、次の通りである。即ち、請求項1に記載の発明は、一定幅の底板部と、底板部の両側縁から同方向へ折れ曲がった左右一対の側板部と、両側板部の先端から溝の内側又は外側へ底板部と平行に折れ曲がった折曲板部とを備え、且つ、溝の開口と反対側へ屈曲した形状の金属製屈曲溝状部材を製造するにあたり、帯状平板に所定の折り曲げ線を形成し、一方の側板部と折曲板部との折り曲げ線から他方の側板部と折曲板部との折り曲げ線に至る板部に、一部を切り残して接合用舌片とした屈曲用切欠き部を打抜き形成し、帯状平板を夫々の折り曲げ線から折り曲げると共に、接合用舌片を屈曲用切欠き部の反対側に位置する板部と重ね合わせ、この重ね合わせ部分を接合して、金属製屈曲溝状部材を製造することを特徴としている。
尚、前記接合用舌片は、底板部に連設してもよく(請求項2)、側板部に連設してもよく(請求項3)、底板部と側板部の各々に連設してもよい(請求項4)。接合用舌片と屈曲用切欠き部の反対側に位置する板部との重ね合わせ部分を接合する手段としては、材料金属板として溶接が可能な金属板を用いる場合、スポット溶接でもよいが、リベット、ボルト・ナット、接着剤などによる接合が、材料金属板としてカラー鋼板を使用できる点で、望ましい。
請求項1に記載の発明によれば、接合用舌片と屈曲用切欠き部の反対側に位置する板部との重ね合わせ部分を接合するようにしたので、接合手段として、リベット、ボルト・ナット、接着剤など溶接以外の接合手段を採用して、外観的に綺麗に仕上げることができ、材料金属板として、外観が美麗で、錆に強いカラー鋼板を使用することも可能である。
しかも、所定の折り曲げ線を形成する帯状平板に屈曲用切欠き部を打抜き形成する際、一部を切り残して接合用舌片とするため、屈曲用切欠き部の打抜き形成による材料金属板のロスが少なくて済み、経済的である。
請求項2に記載の発明によれば、接合用舌片を底板部に連設したため、接合用舌片を屈曲用切欠き部の反対側に位置する底板部に重ね合わせて接合することになり、金属製屈曲溝状部材の屈曲方向に対する直角方向への曲げに強く、請求項3に記載の発明によれば、接合用舌片を側板部に連設したため、接合用舌片を屈曲用切欠き部の反対側に位置する側板部に重ね合わせて接合することになり、金属製屈曲溝状部材の屈曲方向への曲げに強いという効果がある。
請求項4に記載の発明によれば、接合用舌片を底板部と側板部の各々に連設したため、底板部に連設された接合用舌片を屈曲用切欠き部の反対側に位置する底板部に重ね合わせて接合し、さらに、側板部に連設された接合用舌片を屈曲用切欠き部の反対側に位置する側板部に重ね合わせて接合することになり、両方向への曲げ(金属製屈曲溝状部材の屈曲方向に対する直角方向への曲げと、金属製屈曲溝状部材の屈曲方向への曲げ)に強いという効果がある。
図1、図2は、本発明の方法によって製造された金属製屈曲溝状部材1Aを用いて構成したサイクルラックの一例を示す。このサイクルラックは、駐輪場に設置されるもので、所定の間隔を隔てて配置された前後一対の連結用フレーム2の上に、自転車の前,後輪3a,3bを支持する金属製の直線的な溝状部材1Bと金属製屈曲溝状部材1Aとを交互に取り付けることによって、隣り合う自転車のハンドル4が互いに干渉しないように構成されている。溝状部材1A,1Bの前端側の溝底面には開口が形成されている。2aは、直径の異なる前輪3aでも支持できるように、水平軸周りで揺動自在に構成された前輪受けである。
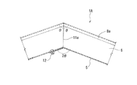
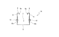
次に、本発明に係る金属製屈曲溝状部材1Aの製造方法を、図3〜図7に基づいて説明する。前記金属製屈曲溝状部材1Aは、図5の(C)に示すように、一定幅の底板部5と、底板部5の両側縁から同方向へ直角に折れ曲がった左右一対の側板部6と、両側板部6の先端から溝7の内側へ底板部5と平行に折れ曲がり、先端縁8aが下方へ直角に折れ曲がった折曲板部8とを備え、且つ、溝7の開口と反対側へ屈曲した形状とされており、図3、図5の(A)に示すように、帯状平板9に所定の折り曲げ線a,a、b,b、c,cを形成し、一方の側板部6と折曲板部8との折り曲げ線aから他方の側板部6と折曲板部8との折り曲げ線aに至る板部に、底板部5の一部を切り残して接合用舌片10aとした屈曲用切欠き部11を打抜き形成し、図4、図5の(B)に示すように、帯状平板9を夫々の折り曲げ線a,a、b,b、c,cから折り曲げると共に、図5の(C)、図6、図7に示すように、接合用舌片10aを屈曲用切欠き部11の反対側に位置する底板部5と重ね合わせ、この重ね合わせ部分を接合することによって製造される。帯状平板9としては、溶接可能な金属板でもよいが、この実施形態ではカラー鋼板が使用されている。
より詳しく説明すると、前記屈曲用切欠き部11は、側板部6においては、前記折り曲げ線aに対して金属製屈曲溝状部材1Aの屈曲角度2θの1/2の角度θで傾斜した切断縁11aを備えるようにV字状にカットし、底板部5においては、両側板部6との折り曲げ線bに対して直角な切断縁11bを備え、当該切断縁11bと対向する位置に底板部5の一部を切り残して、この切り残された底板部が前記切断縁11bと平行な折り曲げ線dから折り曲げ可能な接合用舌片10aとなるように、カットしたものである。
そして、帯状平板9を夫々の折り曲げ線a,a、b,b、c,cから折り曲げて、図4、図5の(B)に示すように、直線的な溝状部材を形成すると共に、屈曲用切欠き部11の両側に位置する溝状部材を、図5の(C)に示すように、前記切断縁11a同士が突き合わされた状態に屈曲すると共に、接合用舌片10aを折り曲げ線dから折り曲げて、前記接合用舌片10aを屈曲用切欠き部11の反対側に位置する底板部5の下面(又は上面)に重ね合わせ、この重ね合わせ部分をボルト・ナット(又はリベット)12で接合してある。
尚、図示の例では、重ね合わせ部分をボルト・ナット(又はリベット)12で接合するため、屈曲用切欠き部11を打抜き形成する際、ボルト又はリベットを挿入するための小孔13を形成してあるが、接合手段として、接着剤やスポット溶接を採用する場合には、小孔13は不要である。また、図示の例では、折曲板部8の先端縁8aを下方に折り曲げてあるので、折り曲げ線c,cから外側の板部をVカット14してあるが、後述する他の実施形態における図24の(B),(C)に示すように、折曲板部8が下方へ折れ曲がった先端縁を有しない断面形状や先端縁を折曲板部8の裏面まで折り返した断面形状では、このVカット14は不要である。
上記の構成によれば、接合用舌片10aと屈曲用切欠き部11の反対側に位置する底板部5との重ね合わせ部分をボルト・ナット(又はリベット)12接合するようにしたので、外観的に綺麗に仕上げることができ、外観が美麗で、錆にも強いカラー鋼板を用いて、意匠性に優れた屈曲溝状部材1Aを製造することができるのである。
しかも、所定の折り曲げ線を形成する帯状平板9に屈曲用切欠き部11を打抜き形成する際、一部を切り残して接合用舌片10aとするため、屈曲用切欠き部11の打抜き形成による材料金属板のロスが少なくて済み、経済的である。
また、接合用舌片10aを底板部5に連設したため、接合用舌片10aを屈曲用切欠き部11の反対側に位置する底板部5に重ね合わせて接合した状態において、接合用舌片10aが金属製屈曲溝状部材1Aの屈曲方向に対する直角方向への曲げに対する補強部材として機能することになる。
図8〜図10は、他の実施形態を示し、屈曲用切欠き部11の打抜き形成時に、接合用舌片10aと重ね合わせる底板部5を、板厚分、段押し5aして、接合用舌片10aと嵌合するように構成した点に特徴がある。図示の例では、溝7の底面が面一になるように、下方へ段押し5aし、その上面に接合用舌片10aを重ね合わせるように構成したが、これとは逆に、上方へ段押し5aし、その下面に接合用舌片10aを重ね合わせるように構成してもよい。その他の構成は、図3〜図7の実施形態と同じであるため、説明を省略する。
図11〜図15は、他の実施形態を示し、側板部6に接合用舌片10bを連設した点に特徴がある。即ち、この実施形態における金属製屈曲溝状部材1Aは、帯状平板9に所定の折り曲げ線a,a、b,b、c,cを形成し、一方の側板部6と折曲板部8との折り曲げ線aから他方の側板部6と折曲板部8との折り曲げ線aに至る板部に、側板部6の一部を切り残して接合用舌片10bとした屈曲用切欠き部11を打抜き形成し、図12、図13の(B)に示すように、帯状平板9を夫々の折り曲げ線a,a、b,b、c,cから折り曲げると共に、図13の(C)、図14、図15に示すように、接合用舌片10bを屈曲用切欠き部11の反対側に位置する側板部6と重ね合わせ、この重ね合わせ部分を接合することによって製造される。
より詳しく説明すると、前記屈曲用切欠き部11は、側板部6においては、折り曲げ線aに対して金属製屈曲溝状部材1Aの屈曲角度2θの1/2の角度θで傾斜した切断縁11aを備え、当該切断縁11aと対向する位置に側板部6の一部を切り残して、この切り残された側板部が三角形の接合用舌片10bとなるように、スリット状にカットし、底板部5においては、前記切断縁11aと前記接合用舌片10bの付け根に連なる位置に、両側板部6との折り曲げ線bに対して直角な切断縁11bを備えるように、平行にカットしたものである。
そして、帯状平板9を夫々の折り曲げ線a,a、b,b、c,cから折り曲げて、図12、図13の(B)に示すように、直線的な溝状部材を形成すると共に、屈曲用切欠き部11の両側に位置する溝状部材を、図13の(C)に示すように、前記切断縁11b同士が突き合わされた状態に屈曲すると共に、前記接合用舌片10bを屈曲用切欠き部11の反対側に位置する側板部6の外面に重ね合わせ、この重ね合わせ部分をボルト・ナット(又はリベット)12で接合してある。
尚、接合用舌片10bと重ね合わせる側板部6は、接合用舌片10bを付け根から折り曲げなくても屈曲用切欠き部11の反対側に位置する側板部6に重ね合わせることができるように、帯状平板9に屈曲用切欠き部11を打抜き形成する際、板厚分、三角形状に段押し6aされ、接合用舌片10bと嵌合するように構成されている。図示の例では、接合用舌片10bを段押し6aされた側板部6の外側に重ね合わせるように構成したが、これとは逆に、接合用舌片10bを側板部6の内側に重ね合わせるように段押し6aしてもよい。図示しないが、段押し6aを省略し、接合用舌片10bを付け根から溝7の内側又は外側に折り曲げて、屈曲用切欠き部11の反対側に位置する側板部6と重ね合わせるように構成してもよい。その他の構成は、図8〜図10の実施形態と同じであるため、説明を省略する。
上記の構成によれば、接合用舌片10bを側板部6に連設したため、接合用舌片10bを屈曲用切欠き部11の反対側に位置する側板部6に重ね合わせて接合することになり、金属製屈曲溝状部材1Aの屈曲方向への曲げに強いという効果がある。
図16〜図20は、他の実施形態を示し、底板部5と側板部6の各々に接合用舌片10a,10bを連設した点に特徴がある。即ち、この実施形態における金属製屈曲溝状部材1Aは、帯状平板9に所定の折り曲げ線a,a、b,b、c,cを形成し、一方の側板部6と折曲板部8との折り曲げ線aから他方の側板部6と折曲板部8との折り曲げ線aに至る板部に、底板部5の一部を切り残して接合用舌片10aとし、側板部6の一部を切り残して接合用舌片10bとした屈曲用切欠き部11を打抜き形成し、図17、図18の(B)に示すように、帯状平板9を夫々の折り曲げ線a,a、b,b、c,cから折り曲げると共に、図18の(C)、図19、図20に示すように、接合用舌片10aを屈曲用切欠き部11の反対側に位置する底板部5と、接合用舌片10bを屈曲用切欠き部11の反対側に位置する側板部6と夫々重ね合わせ、これらの重ね合わせ部分を接合することによって製造される。
より詳しく説明すると、前記屈曲用切欠き部11は、側板部6においては、折り曲げ線aに対して金属製屈曲溝状部材1Aの屈曲角度2θの1/2の角度θで傾斜した切断縁11aを備え、当該切断縁11aと対向する位置に側板部6の一部を切り残して、この切り残された板部が三角形の接合用舌片10bとなるように、切断縁11aに沿った部位と、底板部5との折り曲げ線bに沿った部位とを夫々スリット状にカットし、底板部5においては、前記切断縁11aに連なる位置に、両側板部6との折り曲げ線bに対して直角な切断縁11bを備え、当該切断縁11bと対向する位置に底板部5の一部を切り残して、この切り残された底板部が前記切断縁11bと平行な折り曲げ線dから折り曲げ可能な接合用舌片10aとなるように、カットしたものである。
そして、帯状平板9を夫々の折り曲げ線a,a、b,b、c,cから折り曲げて、図17、図18の(B)に示すように、直線的な溝状部材を形成すると共に、屈曲用切欠き部11の両側に位置する溝状部材を、図18の(C)に示すように、前記接合用舌片10aが屈曲用切欠き部11の反対側に位置する底板部5と、前記接合用舌片10bが屈曲用切欠き部11の反対側に位置する側板部6と夫々重ね合わされた状態に屈曲すると共に、これらの重ね合わせ部分をボルト・ナット(又はリベット)12で接合してある。
尚、接合用舌片10bと重ね合わせる側板部6は、接合用舌片10bを付け根から折り曲げなくても屈曲用切欠き部11の反対側に位置する側板部6に重ね合わせることができるように、帯状平板9に屈曲用切欠き部11を打抜き形成する際、板厚分、三角形状に段押し6aされ、接合用舌片10bと嵌合するように構成されている。図示の例では、接合用舌片10bを段押し6aされた側板部6の外側に重ね合わせるように構成したが、これとは逆に、接合用舌片10bを側板部6の内側に重ね合わせるように段押し6aしてもよい。図示しないが、段押し6aを省略し、接合用舌片10bを付け根から溝7の内側又は外側に折り曲げて、屈曲用切欠き部11の反対側に位置する側板部6と重ね合わせるように構成してもよい。その他の構成は、図11〜図15の実施形態と同じであるため、説明を省略する。
上記の構成によれば、底板部5と側板部6の各々に接合用舌片10a,10bを連設するため、底板部5に連設された接合用舌片10aを屈曲用切欠き部11の反対側に位置する底板部5に重ね合わせて接合し、さらに、側板部6に連設された接合用舌片10bを屈曲用切欠き部11の反対側に位置する側板部6に重ね合わせて接合することになり、両方向への曲げ(金属製屈曲溝状部材1Aの屈曲方向に対する直角方向への曲げと、金属製屈曲溝状部材1Aの屈曲方向への曲げ)に強いという効果がある。
図21〜図23は、他の実施形態を示し、底板部5に連設する接合用舌片10aと、側板部6に連設する接合用舌片10bとを、屈曲用切欠き部11を挟んで互いに反対側に設けた点に特徴がある。その他の構成は、図16〜図20の実施形態と同じであるため、説明を省略する。
尚、上述した実施形態では、何れも、金属製屈曲溝状部材1Aが、両側板部6の先端から溝7の内側へ底板部5と平行に折れ曲がり、先端縁8aが下方へ直角に折れ曲がった折曲板部8を備えた断面形状とされているが、金属製屈曲溝状部材1Aの断面形状としては、図24の(A)に示すように、両側板部6の先端から溝7の外側へ底板部5と平行に折れ曲がり、先端縁8aが下方へ直角に折れ曲がった折曲板部8を備えたものであってもよい。何れの場合も、金属製屈曲溝状部材1Aとしては、図24の(B)に示すように、折曲板部8が下方へ折れ曲がった先端縁を有しない断面形状でもよく、図24の(C)に示すように、先端縁8aを折曲板部8の裏面まで折り返した断面形状でもよい。
本発明に係る金属製屈曲溝状部材を用いたサイクルラックの概略斜視図である。 サイクルラックの概略側面図である。 本発明に係る金属製屈曲溝状部材の製造方法を説明する帯状平板の展開図である。 製造途中における要部の側面図である。 製造工程を説明する斜視図である。 金属製屈曲溝状部材の要部の縦断側面図である。 金属製屈曲溝状部材の要部の縦断正面図である。 他の実施形態における製造工程を説明する斜視図である。 金属製屈曲溝状部材の要部の縦断側面図である。 金属製屈曲溝状部材の要部の縦断正面図である。 他の実施形態における帯状平板の展開図である。 製造途中における要部の側面図である。 製造工程を説明する斜視図である。 金属製屈曲溝状部材の要部の縦断側面図である。 金属製屈曲溝状部材の要部の縦断正面図である。 他の実施形態における帯状平板の展開図である。 製造途中における要部の側面図である。 製造工程を説明する斜視図である。 金属製屈曲溝状部材の要部の縦断側面図である。 金属製屈曲溝状部材の要部の縦断正面図である。 他の実施形態における製造工程を説明する斜視図である。 金属製屈曲溝状部材の要部の縦断側面図である。 金属製屈曲溝状部材の要部の縦断正面図である。 他の実施形態を示す金属製屈曲溝状部材の縦断正面図である。 従来例を説明する側面図である。 従来例を説明する縦断正面図である。
符号の説明
1A 金属製屈曲溝状部材
5 底板部
6 側板部
7 溝
8 折曲板部
9 帯状平板
10a,10b 接合用舌片
11 屈曲用切欠き部
a,b,c 折り曲げ線

Claims (4)

  1. 一定幅の底板部と、底板部の両側縁から同方向へ折れ曲がった左右一対の側板部と、両側板部の先端から溝の内側又は外側へ底板部と平行に折れ曲がった折曲板部とを備え、且つ、溝の開口と反対側へ屈曲した形状の金属製屈曲溝状部材を製造するにあたり、帯状平板に所定の折り曲げ線を形成し、一方の側板部と折曲板部との折り曲げ線から他方の側板部と折曲板部との折り曲げ線に至る板部に、一部を切り残して接合用舌片とした屈曲用切欠き部を打抜き形成し、帯状平板を夫々の折り曲げ線から折り曲げると共に、接合用舌片を屈曲用切欠き部の反対側に位置する板部と重ね合わせ、この重ね合わせ部分を接合して、金属製屈曲溝状部材を製造することを特徴とする金属製屈曲溝状部材の製造方法。
  2. 接合用舌片が底板部に連設されていることを特徴とする請求項1に記載の金属製屈曲溝状部材の製造方法。
  3. 接合用舌片が側板部に連設されていることを特徴とする請求項1に記載の金属製屈曲溝状部材の製造方法。
  4. 接合用舌片が底板部と側板部の各々に連設されていることを特徴とする請求項1に記載の金属製屈曲溝状部材の製造方法。
JP2004119414A 2004-04-14 2004-04-14 金属製屈曲溝状部材の製造方法 Expired - Lifetime JP3983230B2 (ja)

Priority Applications (1)

Application Number Priority Date Filing Date Title
JP2004119414A JP3983230B2 (ja) 2004-04-14 2004-04-14 金属製屈曲溝状部材の製造方法

Applications Claiming Priority (1)

Application Number Priority Date Filing Date Title
JP2004119414A JP3983230B2 (ja) 2004-04-14 2004-04-14 金属製屈曲溝状部材の製造方法

Publications (2)

Publication Number Publication Date
JP2005297036A true JP2005297036A (ja) 2005-10-27
JP3983230B2 JP3983230B2 (ja) 2007-09-26

Family

ID=35329213

Family Applications (1)

Application Number Title Priority Date Filing Date
JP2004119414A Expired - Lifetime JP3983230B2 (ja) 2004-04-14 2004-04-14 金属製屈曲溝状部材の製造方法

Country Status (1)

Country Link
JP (1) JP3983230B2 (ja)

Cited By (3)

* Cited by examiner, † Cited by third party
Publication number Priority date Publication date Assignee Title
KR101036292B1 (ko) * 2008-07-22 2011-05-25 오경호 접이식 프레임 제조방법
KR101308647B1 (ko) 2012-08-07 2013-09-23 주식회사 월드퍼니처 가구용 프레임 다리구조
JP2014054669A (ja) * 2012-09-12 2014-03-27 Rah Seong Industrial Co Ltd ラウンド状のコーナーを形成する方法(methodformingaroundedcorner)

Cited By (3)

* Cited by examiner, † Cited by third party
Publication number Priority date Publication date Assignee Title
KR101036292B1 (ko) * 2008-07-22 2011-05-25 오경호 접이식 프레임 제조방법
KR101308647B1 (ko) 2012-08-07 2013-09-23 주식회사 월드퍼니처 가구용 프레임 다리구조
JP2014054669A (ja) * 2012-09-12 2014-03-27 Rah Seong Industrial Co Ltd ラウンド状のコーナーを形成する方法(methodformingaroundedcorner)

Also Published As

Publication number Publication date
JP3983230B2 (ja) 2007-09-26

Similar Documents

Publication Publication Date Title
US20200032574A1 (en) Welded steel door
JPH11152061A (ja) 商用車の支持フレームのための、好ましくは、u字状の、異形支持部材、特に、フレームの縦方向支持部材およびその製造法
US6351882B1 (en) Method of constructing a door
AU2007330603B2 (en) Process for producing a die
WO2021262070A1 (en) Mesh container and method for producing a mesh container
JPS5838244B2 (ja) ハニカム状の金属製芯構造体を製造するのに用いられる金属製芯部材
JP3983230B2 (ja) 金属製屈曲溝状部材の製造方法
JP3857267B2 (ja) 自動車の自動変速機用オイルクーラ構造
CA2496803A1 (en) Method of forming a joist assembly and a chord used in such joist assembly
CA2501202A1 (en) Method for joining two metal sheets respectively consisting of an aluminium material and an iron or titanium material by means of a braze welding joint
CN107598405B (zh) 焊接构件、变截面箱型构件和焊接方法
JP2013123958A (ja) パネルの接合構造
JP4545228B1 (ja) 復層軽量h形鋼
JP2003118734A (ja) 金属製パレット及び金属製パレットの組立方法
JP2019005771A (ja) 金属部材及びその製造方法
JP5871586B2 (ja) 接合体及び接合体からなる車両、接合体の製造方法
JP3929816B2 (ja) ヘアライン加工方法
HU219106B (hu) Acéllemez ajtó
JPH09187875A (ja) 剛性シートの折構造体
JP5027518B2 (ja) 車体パネルの結合部の構造
JP2703857B2 (ja) 集合ブランク部材
JP2010221235A (ja) 作業機械のアタッチメント及びその溶接方法
JPH0780580A (ja) 箱状製品及び同製品の製造方法
CN110359647B (zh) 一种双曲面旋转楼梯的暗装固定卡件
JP2008184024A (ja) 車体パネルの結合部の構造

Legal Events

Date Code Title Description
A977 Report on retrieval

Free format text: JAPANESE INTERMEDIATE CODE: A971007

Effective date: 20070406

TRDD Decision of grant or rejection written
A01 Written decision to grant a patent or to grant a registration (utility model)

Free format text: JAPANESE INTERMEDIATE CODE: A01

Effective date: 20070605

A61 First payment of annual fees (during grant procedure)

Free format text: JAPANESE INTERMEDIATE CODE: A61

Effective date: 20070703

FPAY Renewal fee payment (event date is renewal date of database)

Free format text: PAYMENT UNTIL: 20100713

Year of fee payment: 3

R150 Certificate of patent or registration of utility model

Ref document number: 3983230

Country of ref document: JP

Free format text: JAPANESE INTERMEDIATE CODE: R150

Free format text: JAPANESE INTERMEDIATE CODE: R150

FPAY Renewal fee payment (event date is renewal date of database)

Free format text: PAYMENT UNTIL: 20100713

Year of fee payment: 3

FPAY Renewal fee payment (event date is renewal date of database)

Free format text: PAYMENT UNTIL: 20110713

Year of fee payment: 4

R250 Receipt of annual fees

Free format text: JAPANESE INTERMEDIATE CODE: R250

FPAY Renewal fee payment (event date is renewal date of database)

Free format text: PAYMENT UNTIL: 20120713

Year of fee payment: 5

R250 Receipt of annual fees

Free format text: JAPANESE INTERMEDIATE CODE: R250

FPAY Renewal fee payment (event date is renewal date of database)

Free format text: PAYMENT UNTIL: 20130713

Year of fee payment: 6

R250 Receipt of annual fees

Free format text: JAPANESE INTERMEDIATE CODE: R250

R250 Receipt of annual fees

Free format text: JAPANESE INTERMEDIATE CODE: R250

R250 Receipt of annual fees

Free format text: JAPANESE INTERMEDIATE CODE: R250

R250 Receipt of annual fees

Free format text: JAPANESE INTERMEDIATE CODE: R250

R250 Receipt of annual fees

Free format text: JAPANESE INTERMEDIATE CODE: R250

R250 Receipt of annual fees

Free format text: JAPANESE INTERMEDIATE CODE: R250

R250 Receipt of annual fees

Free format text: JAPANESE INTERMEDIATE CODE: R250

R250 Receipt of annual fees

Free format text: JAPANESE INTERMEDIATE CODE: R250

R250 Receipt of annual fees

Free format text: JAPANESE INTERMEDIATE CODE: R250

R250 Receipt of annual fees

Free format text: JAPANESE INTERMEDIATE CODE: R250

R250 Receipt of annual fees

Free format text: JAPANESE INTERMEDIATE CODE: R250

R250 Receipt of annual fees

Free format text: JAPANESE INTERMEDIATE CODE: R250

EXPY Cancellation because of completion of term