JP2005296678A - コンタクトレンズ収納容器 - Google Patents

コンタクトレンズ収納容器 Download PDF

Info

Publication number
JP2005296678A
JP2005296678A JP2005190905A JP2005190905A JP2005296678A JP 2005296678 A JP2005296678 A JP 2005296678A JP 2005190905 A JP2005190905 A JP 2005190905A JP 2005190905 A JP2005190905 A JP 2005190905A JP 2005296678 A JP2005296678 A JP 2005296678A
Authority
JP
Japan
Prior art keywords
storage
container
lid
contact lens
handle
Prior art date
Legal status (The legal status is an assumption and is not a legal conclusion. Google has not performed a legal analysis and makes no representation as to the accuracy of the status listed.)
Pending
Application number
JP2005190905A
Other languages
English (en)
Inventor
Hideharu Kataoka
秀春 片岡
Takashi Nagamura
隆司 長村
Sachiko Teraoka
祥子 寺岡
Current Assignee (The listed assignees may be inaccurate. Google has not performed a legal analysis and makes no representation or warranty as to the accuracy of the list.)
NIPPON OPTICAL KK
Original Assignee
NIPPON OPTICAL KK
Priority date (The priority date is an assumption and is not a legal conclusion. Google has not performed a legal analysis and makes no representation as to the accuracy of the date listed.)
Filing date
Publication date
Application filed by NIPPON OPTICAL KK filed Critical NIPPON OPTICAL KK
Priority to JP2005190905A priority Critical patent/JP2005296678A/ja
Publication of JP2005296678A publication Critical patent/JP2005296678A/ja
Pending legal-status Critical Current

Links

Images

Landscapes

  • Eyeglasses (AREA)
  • Purses, Travelling Bags, Baskets, Or Suitcases (AREA)

Abstract


【課題】 コンタクトレンズを収納する部分の再封止が不能な使い捨てタイプの収納容器を扱い易い構造で実現する。
【解決手段】 コンタクトレンズ容器10の容器本体10Bにおいて、蓋体20Bと一体化された取手12が時計方向に回転されると、取手12と一体化された端部27G,27Hが、係合部材40G,40Hの位置が固定された状態で、取手12に近い方から徐々に捲り上がる。これにより、端部27G,27Hに接続された第一ブリッジ29G,29Hは、上部41G,41Hとの接続を保ちながら取手12の回転方向に強く引っ張られる。これにより、第一ブリッジ29G,29Hが端部27G,27Hから剪断され、蓋体20Bから係合部材40G,40Hが脱離する。
【選択図】 図9

Description

本発明は、コンタクトレンズ収納容器に関し、詳しくは、収納されたコンタクトレンズが取り出された後に廃棄される、いわゆる使い捨てタイプの収納容器に関する。
近年、コンタクトレンズを収納する容器として、いわゆる使い捨てタイプの収納容器が提案されている。この使い捨てタイプの収納容器は、新品の状態において容器内部が無菌状態に保持されており、一度コンタクトレンズの保存や洗浄等に使用された後に廃棄されるものである。このような収納容器を用いれば、コンタクトレンズは常に無菌状態の容器内部に収納されるので、コンタクトレンズの保存や洗浄等を行なう度に収納容器をいちいち洗浄しなくても、コンタクトレンズを清潔な環境下で保存,洗浄等することができる。
このような使い捨てタイプの収納容器では、使用者によって繰り返し使用される事態を確実に排除するために、一度容器を開封してコンタクトレンズを取り出した後における再度の密封を不能にする必要がある。そこで、従来、容器内のレンズ収納部をフィルムで覆い、このフィルムを容器本体に接着剤を用いて貼付する手法が提案されていた。この手法では、フィルムを剥がした後には、接着剤が大気に触れることによって接着剤の接着力が弱まることを利用し、フィルムを用いたレンズ収納部の再密封を防止していた(例えば、特許文献1参照。)。
特開2002−142838号公報
しかしながら、接着剤を用いて密封する従来の手法では、コンタクトレンズを取り出そうとする際に手指に接着剤が付着してしまう場合があり、取り扱い上不便であった。
また、使い捨てタイプの収納容器は、1日装用のコンタクトレンズを保存液と共に予め収納した状態で、製品(いわゆる「使い捨てコンタクトレンズ」)として販売される場合がある。このような場合には、製品の製造段階において容器本体にフィルムを接着する工程が必須となり、しかも、この接着工程において、コンタクトレンズの密封状態を確保するために、フィルムの接着の程度(例えば、容器本体に接着されていない部分がないかどうか)を厳密に管理しなければならず、製造上不便であった。
加えて、従来の使い捨てタイプの収納容器では、レンズ収納部の再密封を接着以外の手法で確実に防止する工夫については何ら提案されていなかった。
そこで、本発明は、上記の課題を解決し、レンズ収納部の再封止が不能な使い捨てタイプの収納容器を、扱い易い構造で実現することを目的として、以下の構成を取った。
本発明のコンタクトレンズ収納容器は、
コンタクトレンズを収納する収納部が形成された収納体と、該収納体に装着されることにより前記収納部を封止する蓋体とを含む容器本体を備え、前記収納部の封止状態が解除されて該収納部からコンタクトレンズが取り出された後に廃棄されるコンタクトレンズ収納容器であって、
前記収納部の封止状態が解除された後に該収納部が前記蓋体によって再び封止されることを防止する再封止防止手段を備え、
該再封止防止手段は、前記封止状態の解除に伴って前記容器本体の形状に不可逆的な変化を生じさせることにより、前記蓋体による収納部の再封止を防止する手段であること
を要旨としている。
ここで、「不可逆的な変化」とは、ある状態を元に戻すことを不可能とする変化を意味する。
上記のコンタクトレンズ収納容器によれば、収納部の封止状態の解除に伴って容器本体の形状に不可逆的な変化が生じる。こうした形状変化によって蓋体による収納部の再封止が防止される。従って、繰り返し使用が不能な使い捨てタイプの収納容器をより扱い易い構造で実現することが可能となり、収納容器の清潔性を確保しつつ、収納容器の利便性を高めることができる。
容器本体の形状に生じる不可逆的な変化の一例として、容器本体を構成する部材のうちの一部の部材を該蓋体および/または該収納体から脱離することや、容器本体を構成する部材のうちの一部の部材が変形することを考えることができる。前者の例の場合において、蓋体から脱離した一部の部材が該蓋体以外の容器本体に残留する構成や、収納体から脱離した一部の部材が該収納体以外の容器本体に残留する構成を採ることも好適である。こうすれば、脱離後の部材の散逸を防止することができる。
収納体が、収納部として、左目用のコンタクトレンズを収納する第一収納部と、右目用のコンタクトレンズを収納する第ニ収納部とを備えることも望ましい。こうすれば、一の容器に左右ペアのコンタクトレンズを収納することが可能となり、収納容器の取り扱いをより一層容易にすることができる。
また、第一収納部および第ニ収納部の双方を封止する一の蓋体を設けることも、蓋体の取り扱いが容易となる点で好ましい。
蓋体を、収納体に嵌合することにより収納部を封止するものとし、再封止防止手段を、該蓋体と該収納体との嵌合状態の解除に伴って該蓋体および該収納体の少なくとも一方の形状に不可逆的な変化を生じさせることにより、蓋体による収納部の再封止を防止する手段としてもよい。
収納部の封止状態を確保する部材として、収納体と該収納体に装着された蓋体とを挟持する挟持体を備え、再封止防止手段を、該挟持体による挟持の解除に伴って該挟持体および前記蓋体または前記収納体の少なくとも一方の形状に不可逆的な変化を生じさせることにより、収納部の再封止を防止する手段とすることも可能である。こうすれば、扱い易い収納容器を簡単な構造で実現することができる。
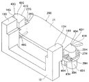
以上説明した本発明の構成および作用を一層明らかにするために、以下本発明の実施の形態を実施例に基づき説明する。図1は本発明の第1実施例であるコンタクトレンズ容器10の上面を示す説明図であり、図2はコンタクトレンズ容器10の側面を示す説明図である。このコンタクトレンズ容器10は、閉止状態の蓋体20A,20Bを一度開いた後に蓋体20A,20Bの再閉止を不能とする、いわゆる使い捨てタイプの収納容器である。
図1に示すように、コンタクトレンズ容器10は、左目用コンタクトレンズの収納用の容器本体10Aと右目用のコンタクトレンズの収納用の容器本体10Bとを備える。容器本体10A,容器本体10Bは、互いに共通する一の収納体50を備える。これにより、容器本体10Aは容器本体10Bと一体化されている。
図1および図2に示すように、収納体50には、半球状に凹んだ形状の収納凹所54A,54Bが並列に形成されている。この収納凹所54A,54Bに、それぞれ、左目用のコンタクトレンズ,右目用のコンタクトレンズが、保存液または洗浄液と共に収納される。
収納体50には、2つの蓋体20A,20Bが折代90A,90Bを介して装着されている。これらの蓋体20A,蓋体20Bには、それぞれ、左目用を意味する「L」という文字,右目用を意味する「R」という文字が付されている。こうした折代90Aおよび蓋体20A,折代90Bおよび蓋体20Bは、収納体50と一体として形成されている。
蓋体20A,蓋体20Bは、図1に示す線v−vで折り曲げられて図2(A)に示す矢印D1方向に約180°回転されたときに、それぞれ収納凹所54A,収納凹所54Bを覆う形状で形成されている。なお、折代90A,90Bの折り曲げ部分は、蓋体20A,20Bや収納体50よりも薄肉に形成されている。
このように回転した蓋体20A,20Bは、後述する係止機構SJによって閉止される。これにより、収納凹所54A,54Bは蓋体20A,20Bによって封止された状態(以下、封止状態という)となる。図2(B)は封止状態の容器本体10Bを表わしている。
収納凹所54A,54Bの封止状態は、蓋体20A,20Bを開くことにより、後述する解除機構TJによって解除される。封止状態が解除されたコンタクトレンズ容器10は、繰り返し使用による容器の汚染を防止すべく、再封止ができないように構成されており、収納凹所54A,収納凹所54Bから左右のコンタクトレンズが取り出された後に廃棄される。
なお、図1では、未だ一度も使用されていない状態(以下、未使用状態という)の容器本体10Bと、封止状態の容器本体10Aとが表わされている。一方、容器本体10A,容器本体10Bは、これらの双方が未使用状態である場合には、図1に示す線t−tに対して対称となる形状で形成されている。このため、容器本体10Aは容器本体10Bとほぼ共通の各部を備える。よって、以下の容器本体10A,10Bの各部に関する説明においては、原則として容器本体10Bを代表例として説明するものとする。なお、図1および図2では、容器本体10Aと容器本体10Bに共通する各部については、共通する一の符号を用いて表わしている。
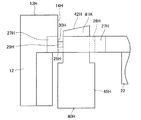
図1に示すように、容器本体10Bの収納体50には、収納凹所54Bの内周壁から上方向(収納体50から見て閉じた蓋体20Bが位置する方向 以下、「上方向」または「上方」という)に突出する突部53が形成されている(図2を参照)。この突部53と収納体50の表面51との間には周溝52が形成されている。一方、容器本体10Bの蓋体20Bには、蓋体20Bを閉じたときに収納凹所54Bに対向する蓋部25と、蓋部25の外周部から下方向(蓋体20Bを閉じたときに蓋体20Bから見て収納体50が位置する方向 「下方向」または「下方」という)に突設された突部24が形成されている。この突部24から蓋体20Bの表面21までの間には、周溝23,突部22が、この順に形成されている。
図2(A)に示す未使用状態の容器本体10Bにおいて、蓋体20Bを矢印D1方向に閉じていき収納凹所54Bに被せると、蓋体20B側の突部24が収納凹所54Bの内周壁に沿って収納凹所54B内に入り込む。これにより、収納凹所54Bが蓋部25によって覆われる。この後、蓋体20Bを完全に閉止すると、突部24の外周域に設けられた周溝23に収納体50側の突部53が密接に嵌合すると共に、この突部53の外周域に設けられた周溝52に蓋体20B側の突部22が密接に嵌合する。こうした嵌合によって収納凹所54Bの気密性が確保される。この後、係合部材40G,40Hや凹部55G,55H等の係止機構SJを用いて蓋体20A,20Bが閉止されると、収納凹所54Bは図2(B)に示すような封止状態となる。
図1および図2に示すように、容器本体10Bは、蓋体20Bの端部27G,27Hと一体的に形成された取手12を備える。この取手12および端部27G,27Hの周辺領域(図1に示す領域G1,領域H1)と、閉じた蓋体20Bの端部27G,27Hと対向する収納体50側の領域(図1に示す領域G2,領域H2)に、蓋体20Bを閉止状態に保持する係止機構SJおよび蓋体20Bの閉止状態を解除する解除機構TJが設けられる。
一の容器本体10Bにおいて、係止機構SJおよび解除機構TJは、内側(他方の容器本体10Aに近い側 図1に示す領域G1,G2)と外側(他方の容器本体10Aから遠い側 図1に示す領域H1,H2)の2箇所に設けられている。本実施例では、前者の側(内側)に設けられた係止機構SJおよび解除機構TJの構成部分を符号の末尾に「G」という記号を用いて表わし、後者の側(外側)に設けられた係止機構SJおよび解除機構TJの構成部分を符号の末尾に「H」という記号を用いて表わしている。なお、この2箇所に設けられた係止機構SJおよび解除機構TJは、ほぼ同様の構造ないし機能を有している。よって、以下の説明においては、原則として、容器本体10Bの外側に設けられた係止機構SJおよび解除機構TJを代表例として説明するものとする。
係止機構SJおよび解除機構TJを構成する各部位について図3および図4を参照しつつ説明する。図3は取手12が一体的に形成された蓋体20Bの端部27G,27Hの周辺部位を斜視形状で示す説明図であり、図4は蓋体20Bが収納体50に係止される部位を斜視形状で示す説明図である。この図4では、係止部分の構造をわかり易くするために、蓋体20Bを取手12が切除された状態で表わしている。
図3に示すように、蓋体20Bの端部27G,27Hには開口26G,26Hが形成されており、この開口26G,26H内には係合部材40G,40Hが配設されている。この係合部材40G,40Hは、上部41G,41Hと下部45G,45Hとから構成されている。
上部41G,41Hは、その頂面42G,42Hが端部27G,27Hよりも上方向に突出している。頂面42G,42Hには、取手12方向に向かう下り傾斜が付与されている。
上部41G,41Hは、第一ブリッジ29G,29Hを介して開口26G,26Hを形成する端部27G,27Hの内周壁に固定されている。
下部45G,45Hは、上部41G,41Hよりも若干大きな外形を有し、上部41G,41Hの底面から下方向に延出されている。下部45G,45Hは、その中央部に形成されたスリット47G,47Hによって内側(蓋体20Bの表面21に近い側)と外側(蓋体20Bの表面21から遠い側)の二つの部材に分けられており、内側の部材には係合片46G,46Hが形成されている。
図3および図4に示すように、係合部材40Hと取手12との間に位置する端部27Hには、その上面の一部を切り欠くことにより外溝30H,内溝31Hが設けられている。この2つの溝30H,31Hは、取手12の回転軸と平行な軸線上に形成されている。なお、係合部材40Gと取手12との間に位置する端部27Gにも、同様の形状の外溝30G,内溝31Gが設けられている。
図4に示すように、収納体50には、蓋体20Bを閉じたときに下部45G,45Hと対向する位置に、凹部55G,55Hが設けられている。この凹部55G,55Hは下部45G,45Hを収納可能な大きさで形成されている。また、凹部55G,55Hの内側(他方の凹部55H,55Gに近い側)の内側壁56G,56Hには、係合片46G,46Hが係合可能な大きさを有する貫通孔57G,57Hが形成されている。凹部55G,55Hの上端には、蓋体20Bを閉じたときに係合片46G,46Hと対向する位置に、傾斜部59G,59Hが形成されている。
続いて、取手12の構造について図3および図5を参照しつつ説明する。図5は、図2(A)における要部Y1を、上下反転させて、拡大した状態で表わす説明図である。これらの図に示すように、取手12が端部27G,27Hに装着された状態において、取手12の頂面13G,13Hは、係合部材40G,40Hの頂面42G,42Hよりも高い位置に配置されている。この頂面13G,13Hの高さは、取手12が端部27G,27Hの外溝30G,内溝31G,内溝31H,外溝30Hを結ぶ軸線を中心として係合部材40G,40H方向に回転したときに、係合部材40G,40Hに対向する対向壁14G,14Hが頂面42G,42Hに当接するような高さとされている。
以上のように構成されたコンタクトレンズ容器10では、蓋体20B側に設けられた係合部材40G,40Hと、収納体50側に設けられた貫通孔57G,57H付きの凹部55G,55Hによって係止機構SJが構成される。即ち、蓋体20Bを閉じると、蓋体20B側の係合部材40G,40Hの下部45G,45Hが、収納体50側の凹部55G,55Hに入り込む。この際、傾斜部59G,59Hに当接した係合片46G,46Hは、傾斜部59G,59Hの傾斜に案内されて凹部55G,55Hに入り込むので、スムーズかつ確実に凹部55G,55H内に導かれる。更に蓋体20Bを閉じていくと、係合片46G,46Hは、内側壁56G,56Hとの当接によってスリット47G,47H側に反りながら凹部55G,55Hの底面方向に進み、貫通孔57G,57Hが形成された位置まで進んだときに弾性力によって貫通孔57G,57Hに入り込む。これにより、蓋体20B側の係合部材40G,40Hが収納体50側の凹部55G,55Hに係合し、蓋体20Bが閉止状態に保持される。このように係合したときの様子を図6に示した。この図6は、図2(B)における要部Y2を拡大した状態で表わしたものである。なお、蓋体20Bを閉止した状態において、係合後の下部45G,45Hの底部と凹部55G,55Hの内底面との間には若干のクリアランスが確保されている。
一方、解除機構TJは、凹部55G,55Hに係合された係合部材40G,40Hと、この係合部材40G,40Hと第一ブリッジ29G,29Hを介して接続された端部27G,27Hないし取手12によって構成される。これらの各部の働きについて、図6ないし図9を参照しつつ説明する。
図6に示す状態(係合部材40G,40Hが凹部55G,55Hに係合された状態)において、取手12が時計方向に持ち上げられると、図7に示すように、取手12は端部27G,27Hの外溝30G,内溝31G,内溝31H,外溝30Hを結ぶ軸線を中心として矢印P1方向に回転する。このような取手12の回転により、端部27G,27Hと係合部材40G,40Hの上部41G,41Hとを繋ぐ第一ブリッジ29G,29Hが取手12の回転方向に引き上げられ、取手12の対向壁14G,14Hが係合部材40G,40Hの頂面42G,42Hの裾部(下り傾斜の最下端部)に当接する。
なお、図6ないし図9では、外溝30G,内溝31G,内溝31Hは、外溝30Hの後方に外溝30Hと重なって配置されているため、外溝30G,内溝31G,内溝31Hの図示を省略している。また、図6ないし図8では、外溝30H内に形成された空間領域を斜線ハッチングで表わしている。
図7に示す状態(対向壁14G,14Hに頂面42G,42Hが当接した状態)において、更に取手12が時計方向に持ち上げられると、取手12は、その対向壁14G,14Hによって係合部材40G,40Hの上部41G,41Hを取手12とは反対側の斜め下方向(図7に示す矢印Q1方向)に押圧しながら、矢印P1方向に回転する。
このように取手12が上部41G,41Hを押圧しながら回転する様子を図8に示した。図8に示すように、上部41G,41Hが斜め下方向に押圧されることにより、係合部材40G,40Hが凹部55G,55H内を下方向(図8に示す矢印R1方向)に移動し、係合部材40G,40Hの下部45G,45Hの底部が凹部55G,55Hの内底面に当接する。これにより、係合部材40G,40Hは、もうこれ以上、凹部55G,55H内を矢印R1方向に移動できない状態となる。
加えて、上部41G,41Hが斜め下方向に押圧されることにより、係合部材40G,40Hは、端部27G,27Hの開口26G,26H内を、取手12とは反対側の水平方向(図8に示す矢印S1方向)に移動し、係合部材40G,40Hの上部41G,41Hが、第一ブリッジ29G,29Hが形成されていない側の端部27G,27Hに当接する。これにより、係合部材40G,40Hは、もうこれ以上、開口26G,26H内を矢印S1方向に移動できない状態となる。
このような係合部材40G,40Hの移動を伴った取手12の回転により、図8に示すように、第一ブリッジ29G,29Hは取手12の回転方向に更に引き上げられる。
図8に示す状態(係合部材40G,40Hの矢印R1,S1方向への移動が不能な状態)において、取手12が時計方向に強く持ち上げられると、取手12は、対向壁14G,14Hと頂面42G,42Hとの当接地点fuを支点として矢印P2方向に回転する。このような取手12の矢印P2方向への回転により、係合部材40G,40Hの位置が固定された状態で、取手12と一体化された端部27G,27Hが、取手12に近い方から徐々に捲り上がる。これにより、取手12に近い方の端部27G,27Hに接続された第一ブリッジ29G,29Hは、上部41G,41Hとの接続を保ちながら矢印P2方向に強く引っ張られ、第一ブリッジ29G,29Hに対する剪断力が生じる。この剪断力は取手12の矢印P2方向への回転を進めるほど強くなっていき、やがて第一ブリッジ29G,29Hが端部27G,27Hから剪断される。
こうした第一ブリッジ29G,29Hの剪断により、蓋体20Bから係合部材40G,40Hが脱離する。これにより、取手12を更に矢印P2方向に回転させて蓋体20Bを開くことが可能となり、収納凹所54A,54Bからコンタクトレンズを取り出すことができる。
蓋体20Bから係合部材40Hが脱離したときの様子を図9に示した。図9に示すように、蓋体20Bの端部27Hに接続されていた第一ブリッジ29Hは、領域Xにおいて剪断されている。この剪断によって蓋体20Bから脱離した係合部材40Hは、凹部55Hに係合されたまま収納体50側に残留している。この残留した係合部材40Hの表面には、剪断後の第一ブリッジ29Hが残っている。このような第一ブリッジ29Hの剪断により、蓋体20Bをもとの形状(端部27Hに係合部材40Hが接続されていたときの形状)に戻すことができなくなる。
図9に示す状態(蓋体20Bの端部27Hから係合部材40Hが脱離した状態)から蓋体20Bを閉じても、蓋体20Bには収納体50への係止を確保する部材(係合部材40H)がないため、蓋体20Bを閉止状態に保てない。この結果、蓋体20Bによって収納凹所54Bを再封止することができなくなる。
以上説明した第1実施例のコンタクトレンズ容器10によれば、蓋体20Bの閉止によって実現された収納凹所54Bの封止状態を蓋体20Bを開いて解除した場合に、この封止状態の解除に伴って蓋体20Bから係合部材40G,40Hが脱離する。こうした係合部材40G,40Hの脱離によって蓋体20Bによる収納凹所54Bの再封止が防止される。従って、繰り返し使用が不能な使い捨てタイプの収納容器をより扱い易い構造で実現することが可能となり、収納容器の清潔性を確保しつつ、収納容器の利便性を高めることができる。また、蓋体20Bから脱離した係合部材40G,40Hは、収納体50の凹部55G,55H内に残留するので、脱離後の係合部材40G,40Hの散逸を防止することができる。
加えて、上記のコンタクトレンズ容器10によれば、人の目に装着されるコンタクトレンズをより安全な状態で保存しておくことができる。即ち、第一に、上記のコンタクトレンズ容器10では、閉止状態の蓋体20Bを開くことにより容器本体10Bに設けられていた係止機構SJが失われる。このため、使用者は、容器本体10Bの繰り返し使用ができなくなったことを、蓋体20Bを開いた後の容器本体10Bの状態(具体的には、蓋体20Bを再び閉じても、閉止状態に保持できない状態)から明確に把握することができる。従って、容器が、誤って再利用され、コンタクトレンズが細菌等で汚染されてしまうといった事態を確実に防止することができる。
第二に、上記のコンタクトレンズ容器10では、閉止状態の蓋体20Bが開かれた事実を、容器本体10Bの外観から明確に特定することができる。閉止状態の蓋体20Bを開くことにより、蓋体20Bは係合部材40G,40Hが脱離した形状に変化し、もはや容器本体10Bを蓋体20Bが開かれる前の状態に戻すことができなくなるからである。従って、コンタクトレンズが収納される容器本体10B内に故意に異物が混入されるといった事態を抑止することができる。
上記のような清潔性,利便性および安全性を併有する他の容器構成を、以下、第2実施例として説明する。図10は本発明の第2実施例であるコンタクトレンズ容器110の側面を示す説明図である。図10に示すコンタクトレンズ容器110は、前述した第1実施例のコンタクトレンズ容器10とほぼ共通の各部を備える。図10では、この共通の各部につき、符号の十の位以下を上記第1実施例で用いた符号と同じ数字ないし英字を用いて表わしている。
図10(A)は、図2(B)に対応する側面図であり、折代190A,折代190Bにて折り曲げられた蓋体120A,120Bにより収納凹所154A,154Bが封止された状態の容器本体110A,110Bを表わしている。なお、折代190A,蓋体120A,収納凹所154A,容器本体110Aについては、折代190B,蓋体120B,収納凹所154B,容器本体110Bの背後に位置するため、図示を省略している。図10(B)は、図10(A)の容器本体110Bの折代190Bを矢印W方向から見たときの側面図である。
第2実施例のコンタクトレンズ容器110は、第1実施例と同様に、蓋体120B側に設けられた係合部材140G,140Hを収納体50側の凹部155G,155H内に係止して、蓋体120Bを閉止状態に保持する係止機構SJを備える。他方、コンタクトレンズ容器110は、蓋体120A,120Bの閉止状態を解除する解除機構TJが折代190A,190Bに設けられている点で、第1実施例のコンタクトレンズ容器10と異なる。即ち、図10(B)に示すように、容器本体110Bの折代190Bには、切り取り線状の切り込みに囲まれた切取部191と、この切取部191に連続し、容器本体110Bの外側に露出する引手部192とが形成されている。
また、係合部材140G,140Hの近傍には、蓋体120Bの表面をV字形に切り欠いてなる切欠部195Bが設けられている。この切欠部195Bは、係合部材140Gと係合部材140Hを結ぶ線分と平行に鈍角で切り欠かれており、蓋体120Bの表面全体に亘って形成されている。なお、容器本体110Aの折代190A,蓋体120Aにも、容器本体110Bと同様の切取部や引手部,切欠部が形成されている。
このように構成されたコンタクトレンズ容器110では、蓋体120A,120Bは、係止機構SJ側からではなく、折代190A,190B側から開かれる。即ち、切取部191の切り込みに沿って引手部192を引っ張ることにより、切取部191が折代190Bから切り取られ、引手部192および切取部191が折代190Bから脱離する。これにより、蓋体120Bを、切欠部195Bを回転中心として、図10に示す矢印K1方向に開くことが可能となり、収納凹所154Bからコンタクトレンズを取り出すことができる。
加えて、引手部192および切取部191の脱離により、折代190Bをもとの形状に戻すことができなくなる。従って、引手部192および切取部191の脱離後に蓋体120Bを閉じても、蓋体120Bを閉止状態に保つことができず、この結果、蓋体120Bによって収納凹所154Bを再封止することができなくなる。
このような第2実施例のコンタクトレンズ容器110によれば、蓋体120Bの閉止によって実現された収納凹所154Bの封止状態を解除した場合に、この封止状態の解除に伴って折代190Bから引手部192および切取部191が脱離する。こうした切取部191の脱離によって蓋体120Bによる収納凹所154Bの再封止が防止される。従って、繰り返し使用が不能な使い捨てタイプの収納容器をより扱い易い構造で実現することが可能となり、収納容器の清潔性を確保しつつ、収納容器の利便性を高めることができる。加えて、上記の第1実施例のコンタクトレンズ容器10と同様に、人の目に装着されるコンタクトレンズをより安全な状態で保存しておくことができる。
なお、上記の第2実施例において、取手112を設けない構成としてもよく、また、係止機構SJの構造として他の構造を採用しても差し支えない。
以上本発明の実施例について説明したが、本発明は、こうした実施例に限定されるものではなく、発明の要旨を逸脱しない範囲内において、種々なる態様で実施可能である。例えば、上記第1実施例では、脱離後の係合部材40G,40Hが凹部55G,55Hに残留する構成としたが、脱離後の係合部材40G,40Hが容器本体10A,10Bに残留しない構成としても差し支えない。
上記実施例では、係合部材40G,40Hを、第一ブリッジ29G,29Hを介して蓋体20A,20Bの端部27G,27Hの一箇所に固定したが、二箇所以上において固定するものとしてもよい。係合部材40Hを、第一ブリッジ29H,第二ブリッジ28Hという二つのブリッジを介して端部27Hの二箇所に固定した場合の一例を図11に示した。
また、上記実施例では、蓋体20A,20B側に係合部材40G,40Hを設け、収納体50側に凹部55G,55Hを設ける構成としたが、収納体50側に係合部材40G,40Hを設け、蓋体20A,20B側に収納凹所54A,54Bを設ける構成としてもよい。
上記実施例では、収納凹所54Aを備えた容器本体10Aと収納凹所54Bを備えた容器本体10Bとを一体的に形成し、左目用のコンタクトレンズと右目用のコンタクトレンズをペアでコンタクトレンズ容器10に収納する構成としたが、容器本体10Aと容器本体10Bを別体とし、左目用のコンタクトレンズ収納用の容器と右目用のコンタクトレンズ収納用の容器とを別々に設ける構成としても差し支えない。
上記実施例では、収納凹所54Aを覆う蓋体20A,収納凹所54Bを覆う蓋体20Bという2枚の蓋体を設けたが、1枚の蓋体で収納凹所54A,54Bの双方を覆う構成としても差し支えない。
また、上記実施例では、蓋体20A,20Bを収納体50と一体として設けたが、蓋体20A,20Bと収納体50とを別体とし、互いに嵌め込む構成としてもよい。
上記実施例では、収納体50に対する蓋体20A,20Bの係止を解除する手段として取手12を設けたが、このような取手12を設けることなく、手の指や爪の力を利用して蓋体20A,20Bの係止を解除する構成としてもよい。例えば、上記第1実施例の場合には、封止状態のコンタクトレンズ容器10における蓋体20A,20Bと収納体50との間に指をかけて蓋体20A,20Bの端部27G,27Hを捲り上げれば、蓋体20A,20Bから係合部材40G,40Hを脱離させて蓋体20A,20Bを開けることができる。
上記実施例では、係合部材40G,40Hや切取部191の脱離を利用して再封止不能なコンタクトレンズ容器10,110を実現したが、脱離以外の不可逆的な変化を利用することも可能である。例えば、封止状態の容器本体10A,10Bにおいて蓋体20A,20Bを開くことにより、容器本体10A,10Bの一部が再封止不能な形状に変形する構成としてもよい。
また、上記実施例では、蓋体20A,20Bや折代190A,190Bの形状の不可逆的な変化を利用して再封止不能なコンタクトレンズ容器10,110を実現したが、蓋体20A,20Bや折代190A,190B以外の容器本体10A,10Bの形状に不可逆的な変化を生じさせることによって、再封止不能なコンタクトレンズ容器を実現することも可能である。
例えば、第1実施例において、係合部材40G,40Hおよび凹部55G,55Hに替えて、取手12の係止部が収納体50に嵌まり込んで蓋体20A,20Bを閉止する構造を係止機構SJとして設け、この取手12の係止部が蓋体20A,20Bを開くことにより取手12から脱離する構成としてもよい。
また、係合部材40G,40Hおよび凹部55G,55Hに替えて、収納体50と蓋体20A,20Bとを挟持する挟持体を用いて蓋体20A,20Bを閉止する構造を係止機構SJとして設け、該挟持体による挟持の解除に伴って、この挟持体の形状や挟持体によって挟持されていた収納体50または蓋体20A,20Bの形状を、部分的な脱離や変形等によって、挟持体による再挟持ができない形状に変化させる構成としてもよい。
本発明の第1実施例であるコンタクトレンズ容器10の上面を示す説明図示す説明図である。 コンタクトレンズ容器10の側面を示す説明図である。 取手12が一体的に形成された蓋体20Bの端部27G,27Hの周辺部位を斜視形状で示す説明図である。 蓋体20Bが収納体50に係止される部位を斜視形状で示す説明図である。 図2(A)における要部Y1を、上下反転させて、拡大した状態で表わす説明図である。 図2(B)における要部Y2を拡大した状態で表わす説明図である。 封止状態の容器本体10Bの取手12を矢印P1方向に回転させたときの様子を示す説明図である。 取手12が上部41G,41Hを押圧しながら回転する様子を示す説明図である。 蓋体20Bの端部27Hから係合部材40Hが脱離した状態を示す説明図である。 本発明の第2実施例であるコンタクトレンズ容器110の側面を示す説明図である。 係合部材40Hを、第一ブリッジ29H,第二ブリッジ28Hという二つのブリッジを介して端部27Hの二箇所に固定した場合の一例を示す説明図である。
符号の説明
10,110…コンタクトレンズ容器
10A,10B,110A,110B…容器本体
12,112…取手
13G,13H…頂面
14G,14H…対向壁
20A,20B,120A,120B…蓋体
21…表面
22…突部
23…周溝
24…突部
25…蓋部
26G,26H…開口
27G,27H…端部
28H…第二ブリッジ
29G,29H…第一ブリッジ
30G,30H…外溝
31G,31H…内溝
40G,40H,140G,140H…係合部材
41G,41H…上部
42G,42H…頂面
45G,45H…下部
46G,46H…係合片
47G,47H…スリット
50…収納体
51…表面
52…周溝
53…突部
54A,54B,154A,154B…収納凹所
55G,55H,155G,155H…凹部
56G,56H…内側壁
57G,57H…貫通孔
59G,59H…傾斜部
90A,90B,190A,190B…折代
191…切取部
192…引手部
195B…切欠部

Claims (8)

  1. コンタクトレンズを収納する収納部が形成された収納体と、該収納体に装着されることにより前記収納部を封止する蓋体とを含む容器本体を備え、前記収納部の封止状態が解除されて該収納部からコンタクトレンズが取り出された後に廃棄されるコンタクトレンズ収納容器であって、
    前記収納部の封止状態が解除された後に該収納部が前記蓋体によって再び封止されることを防止する再封止防止手段を備え、
    該再封止防止手段は、前記封止状態の解除に伴って前記容器本体の形状に不可逆的な変化を生じさせることにより、前記蓋体による収納部の再封止を防止する手段である
    コンタクトレンズ収納容器。
  2. 前記容器本体の形状に生じる不可逆的な変化は、前記容器本体を構成する部材のうちの一部の部材を該蓋体および/または該収納体から脱離することである請求項1に記載のコンタクトレンズ収納容器。
  3. 前記蓋体から脱離した一部の部材が該蓋体以外の容器本体に残留する請求項1または2に記載のコンタクトレンズ収納容器。
  4. 前記収納体から脱離した一部の部材が該収納体以外の容器本体に残留する請求項1または2に記載のコンタクトレンズ収納容器。
  5. 前記収納体は、前記収納部として、左目用のコンタクトレンズを収納する第一収納部と、右目用のコンタクトレンズを収納する第ニ収納部とを備えた請求項1ないし4のいずれかに記載のコンタクトレンズ収納容器。
  6. 前記第一収納部および前記第ニ収納部の双方を封止する一の前記蓋体を設けた請求項5に記載のコンタクトレンズ収納容器。
  7. 請求項1ないし6のいずれかに記載のコンタクトレンズ収納容器であって、
    前記蓋体は、前記収納体に嵌合することにより前記収納部を封止するものであり、
    前記再封止防止手段は、該蓋体と該収納体との嵌合状態の解除に伴って該蓋体および該収納体の少なくとも一方の形状に不可逆的な変化を生じさせることにより、前記蓋体による収納部の再封止を防止する手段である
    コンタクトレンズ収納容器。
  8. 請求項1ないし6のいずれかに記載のコンタクトレンズ収納容器であって、
    前記収納部の封止状態を確保する部材として、前記収納体と該収納体に装着された前記蓋体とを挟持する挟持体を備え、
    前記再封止防止手段は、該挟持体による挟持の解除に伴って該挟持体および前記蓋体または前記収納体の少なくとも一方の形状に不可逆的な変化を生じさせることにより、前記収納部の再封止を防止する手段である
    コンタクトレンズ収納容器。
JP2005190905A 2005-06-30 2005-06-30 コンタクトレンズ収納容器 Pending JP2005296678A (ja)

Priority Applications (1)

Application Number Priority Date Filing Date Title
JP2005190905A JP2005296678A (ja) 2005-06-30 2005-06-30 コンタクトレンズ収納容器

Applications Claiming Priority (1)

Application Number Priority Date Filing Date Title
JP2005190905A JP2005296678A (ja) 2005-06-30 2005-06-30 コンタクトレンズ収納容器

Related Parent Applications (1)

Application Number Title Priority Date Filing Date
JP2002292407A Division JP3717118B2 (ja) 2002-10-04 2002-10-04 コンタクトレンズ収納容器

Publications (1)

Publication Number Publication Date
JP2005296678A true JP2005296678A (ja) 2005-10-27

Family

ID=35328880

Family Applications (1)

Application Number Title Priority Date Filing Date
JP2005190905A Pending JP2005296678A (ja) 2005-06-30 2005-06-30 コンタクトレンズ収納容器

Country Status (1)

Country Link
JP (1) JP2005296678A (ja)

Cited By (1)

* Cited by examiner, † Cited by third party
Publication number Priority date Publication date Assignee Title
US10244287B2 (en) 2010-08-30 2019-03-26 Saturn Licensing Llc Transmission apparatus and method, reception apparatus and method, and transmission and reception system

Cited By (1)

* Cited by examiner, † Cited by third party
Publication number Priority date Publication date Assignee Title
US10244287B2 (en) 2010-08-30 2019-03-26 Saturn Licensing Llc Transmission apparatus and method, reception apparatus and method, and transmission and reception system

Similar Documents

Publication Publication Date Title
JP2543571Y2 (ja) 合成樹脂製蓋
US11376371B2 (en) Pen needle packaging
EP2493780B1 (en) Container structure having reclosable cap that is heat-sealed on lid film
EP1306317B1 (en) Packaging body
WO2007119827A1 (ja) 蓋体の係止構造および容器
WO2020105280A1 (ja) パッケージ
JP3717118B2 (ja) コンタクトレンズ収納容器
EP1457434A2 (en) Container
JP2005296678A (ja) コンタクトレンズ収納容器
JP4195234B2 (ja) 気密容器
US20250345510A1 (en) Packaged needle assembly
JP2003165529A (ja) 組み立て包装箱
JPH07237682A (ja) コンタクトレンズ用コンテナ
JP3502631B1 (ja) 粉体用カートン
JP2556960Y2 (ja) 薬用瓶の蓋
JP4596419B2 (ja) 封緘式キャップ
TWI684558B (zh) 用於隱形眼鏡的包裝
JP2019006486A (ja) ワンプッシュ開封・開蓋機能付き包装用箱
JP6998007B2 (ja) 蓋部構造及びこれを用いた包装容器
JP2000203623A (ja) バ―ジンシ―ル付キャップ装置
JP3100806U (ja) 消毒綿収納ケースおよび消毒綿収納袋
JP4778806B2 (ja) 樹脂製キャップおよびそれを用いた樹脂製キャップ付容器
JP2002104403A (ja) 印籠形式の包装箱における封止機構
JP2018002212A (ja) 包装箱
JP2005121907A (ja) レンズ洗浄液入り容器、コンタクトレンズ収納用品及びコンタクトレンズ洗浄セット

Legal Events

Date Code Title Description
A621 Written request for application examination

Free format text: JAPANESE INTERMEDIATE CODE: A621

Effective date: 20051004

A131 Notification of reasons for refusal

Free format text: JAPANESE INTERMEDIATE CODE: A131

Effective date: 20070522

A02 Decision of refusal

Free format text: JAPANESE INTERMEDIATE CODE: A02

Effective date: 20071016