JP2005296370A - バックルアジャスタ - Google Patents

バックルアジャスタ Download PDF

Info

Publication number
JP2005296370A
JP2005296370A JP2004117466A JP2004117466A JP2005296370A JP 2005296370 A JP2005296370 A JP 2005296370A JP 2004117466 A JP2004117466 A JP 2004117466A JP 2004117466 A JP2004117466 A JP 2004117466A JP 2005296370 A JP2005296370 A JP 2005296370A
Authority
JP
Japan
Prior art keywords
belt
buckle
adjuster
locking
back side
Prior art date
Legal status (The legal status is an assumption and is not a legal conclusion. Google has not performed a legal analysis and makes no representation as to the accuracy of the status listed.)
Pending
Application number
JP2004117466A
Other languages
English (en)
Inventor
Akimasa Nishira
晃正 西羅
Current Assignee (The listed assignees may be inaccurate. Google has not performed a legal analysis and makes no representation or warranty as to the accuracy of the list.)
NAKAMURA SHOTEN KK
Original Assignee
NAKAMURA SHOTEN KK
Priority date (The priority date is an assumption and is not a legal conclusion. Google has not performed a legal analysis and makes no representation as to the accuracy of the date listed.)
Filing date
Publication date
Application filed by NAKAMURA SHOTEN KK filed Critical NAKAMURA SHOTEN KK
Priority to JP2004117466A priority Critical patent/JP2005296370A/ja
Publication of JP2005296370A publication Critical patent/JP2005296370A/ja
Pending legal-status Critical Current

Links

Images

Landscapes

  • Buckles (AREA)

Abstract

【課題】ベルトに孔を設けずに、バックルの係止金具でベルトの裏側を係止するようにしたバックルアジャスタであって、バックルに大きな引張力が作用する場合でも、強大な係止力を発揮することにより、ベルトの緩みを防止することができるバックルアジャスタを提供する。
【解決手段】バックルアジャスタ25は合成樹脂からなり、ベルト3の自由端側の裏側に設けられた帯形状を有すると共に、該帯形状の短幅方向に形成された凹溝26を長手方向に所定間隔で複数形成してなり、バックル1の係止金具7に形成された係止部7bをバックルアジャスタ25の任意の凹溝26に係止したり、該凹溝26から解除することによって、ベルト3を所定長さに固定するようにしたものである。
【選択図】図7

Description

本発明は、バックルに大きな引張力が作用する場合でも、強大な係止力を発揮することによって、ベルトの緩みを防止するようにしたバックルアジャスタに関するものである。
従来、ベルトに設けられたバックルの一形態として、ベルトの端部に設けられたピンをベルトの自由端側に形成された多数の孔の1つに差し込むことにより、ベルトを所定長さで固定するようにしたものがある。ところが、このタイプのベルトは、ベルト本体に多数の孔を形成する必要があり、その孔からベルトが劣化しやすいという欠点があった。また、このタイプのベルトは、ベルト本体に設けた孔の間隔によってしか長さを調整できないという欠点があり、無段階或いは微小間隔で長さを調整し得るものではなかった。
また、ベルトに孔を形成することなく、無段階で長さを調整することができるように、バックルの挿通部にベルトを通して所望の長さで係止する構造のものが周知であるが、このベルトは、長手方向に引張力を加えると、バックルの係止部においてベルトに滑りが生じ、緩み易いという欠点があった。
そこで、バックルの係止力を増大させるようにした従来の技術として、特許文献1を挙げる。このベルトは、図9(a)〜(c)に示すように、バックル本体30の一端側に、歯31を有する回動部材32を軸34で軸支してベルト33の端部を歯31で止着し、バックル本体30の他端側には係止部材35を軸36で回動自在に取り付け、バックル本体30の他端側と係止部材35とはベルト33の自由端37を挿通する挿入隙間38を形成してある。また、係止部材35におけるバックル本体30の他端側に対向する部位には複数の歯形を直に傾斜状に有するベルト当接部39が形成されると共に、係止部材35の一端側には回動作用板40を傾斜状に設けたことによって、ベルト33の自由端37を挿通若しくは抜脱するようにしてある。
特開2002−159308号公報
上記の特許文献1のバックル30によれば、係止部材35のベルト当接部39の歯形でベルト33(自由端37)の裏側を押圧することによってベルト33を係止するものであるが、ベルト33の裏側材を直かにベルト当接部39の突出歯で押圧するため、ベルト33の裏側材に傷又は変形が生じ、経年的にベルト33の裏側が劣化しやすいため、引張力に対する強度が衰退するという問題があった。
さらに、特許文献1のように、バックルの係止部材でベルトの裏側を係止する構造のベルトを電気工事、警備員或いは警察官等の職務、その他の用途に使用し、そのような作業や職務に必要な物品をベルトに吊り下げた場合、ベルトに作用する荷重がバックルに対して引張力として作用するため、ベルトが緩み易いという問題が生じる。
本発明は、このような事情に鑑みてなされたもので、ベルトに孔を設けずに、バックルの係止金具でベルトの裏側を係止するようにしたバックルアジャスタであって、バックルに大きな引張力が作用する場合でも、強大な係止力を発揮することにより、ベルトの緩みを防止することができるバックルアジャスタを提供することを目的とする。
上記の目的を達成するために、本発明の請求項1のバックルアジャスタは、バックル本体の裏側の一端にベルトの端部が接続されると共に、前記バックル本体の裏側の他端に前記ベルトを挿通し得る幅で設けられた一対の起立片に係止金具が回動自在に設けられてなるバックルに挿着するようにしたベルトを所定長さで固定するためのバックルアジャスタにおいて、該バックルアジャスタは合成樹脂からなり、前記ベルトの自由端側の裏側に設けられた帯形状を有すると共に、該帯形状の短幅方向に形成された凹溝を長手方向に所定間隔で複数形成してなり、前記係止金具に形成された係止部を前記バックルアジャスタの任意の凹溝に係止したり該凹溝から解除することによって、前記ベルトを所定長さに固定するようにしたことを特徴とする。
また、本発明の請求項2のバックルアジャスタは、請求項1において、前記ベルトの裏側材に形成された開口から前記バックルアジャスタの凹溝側を露出して該バックルアジャスタの外周付近を前記ベルトの裏側材の開口の周縁付近に縫合することによって取り付けたことを特徴とする。
以上のように構成された本発明は、バックルの係止金具でベルトの裏側を係止する構造のベルトに適用されるバックルアジャスタであり、バックルに設けられた係止金具の係止部がベルトの裏側に設けられたバックルアジャスタに所定間隔で形成された任意の凹溝に係止される構造としてあるため、ベルトを所望長さに調整することができる。また、従来のようにベルトに形成された孔のためにベルトが劣化したり、ベルトの裏側材に傷又は変形が生じることがない。
また、バックルに回動自在に設けられた係止金具の回動作用片の回動操作によって係止金具の係止部をバックルアジャスタの任意の凹溝に係止したり、該凹溝から解除することができ、この係止金具の係止部がバックルアジャスタの凹溝に係止された状態においては、ベルトに作用する引張力に抵抗する大なる負荷が生じ、バックルのずれを阻止して、ベルトの緩みを効果的に防止することができる。
従って、本発明のバックルアジャスタを適用したベルトを電気工事、警備員或いは警察官等の職務、その他の用途に使用する場合のように、ベルトに重い物品を吊り下げることでバックルに大きな引張力が作用する場合でも、強大な係止力を発揮することによって、ベルトの緩みを防止することが可能となる。
以下、本発明の実施例について図面を参照しながら説明する。
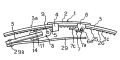
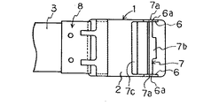
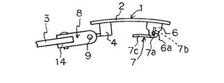
本実施例のバックル1は、図1、図2または図3に示すように、方形板状のバックル本体2の裏側の一端にベルト3を挿通する起立枠4を有すると共に、起立枠4の上辺の離間位置には2個のフック5、5が形成され、バックル本体2の裏側の他端にはベルト3を挿通し得る幅で設けられた一対の起立片6、6が形成され、これらの起立片6、6間に係止金具7が回動自在に形成されている。
上記の構成において、図4(図4のホルダ8側は表側を図示し、ベルト3の自由端側は裏側を図示してある)に示すように、ベルト3は少なくとも2枚の皮製帯又は合成樹脂製帯等を重ね合わせて接着すると共に周縁付近を糸で縫合してなり、ベルト3の端部をホルダ8に設けられた挿着溝14(図1参照)に挿着して中空リベット11で固定することにより接続している。
また、図1に示すように、ホルダ8の端部にはバックル1に設けられた2個のフック5、5を挿入する幅で係止溝15、15が形成されると共に、ホルダ8の端部の幅方向には夫々の係止溝15、15を貫く挿通孔に係止軸9が挿入され、夫々の係止溝15、15においてバックル1の各フック5、5を係止軸9に係止することにより、ベルト3をホルダ8に接続し、また各フック5、5を係止軸9から解除することにより、ベルト3をホルダ8から取り外すことができる。
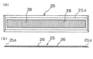
また、図4に示すように、ベルト3の挿入側の適当位置にはバックルアジャスタ25が設けられている。図6(a)又は(b)において、バックルアジャスタ25はナイロン6等の合成樹脂からなり、ベルト3よりも細幅の帯形状を有し、周囲に平板部25aが形成されると共に、その平板部25a内にて短幅方向に形成された凹溝26を長手方向に複数形成している。
このバックルアジャスタ25はベルト3の表側材3bと裏側材3cとの間に挿着され、図4又は図5に示すようにベルト3の裏側材3cに形成した開口27からバックルアジャスタ25の凹溝26の形成部を露呈すると共に、バックルアジャスタ25の平板部25aを開口27の周縁近傍にて糸28で縫合したことによって固定している。
また、図1に示すように、バックル本体1の一対の起立片6、6に回動自在に設けられた係止金具7は、夫々の起立片6、6に形成された係止穴6a、6aに係止される係止突起7a、7aを両側に有すると共に、一端側に突出した係止部7bがベルト3のバックルアジャスタ25の凹溝26に係止される幅を有する一方、両側の係止突起7a、7aを境に折曲して反対側に延長した回動作用片7cが先端付近を傾斜状に起立してあり、該回動作用片7cを起立する際の操作を容易にしている。
このような構成により、係止金具7は、回動作用片7cの起立操作によってバックルアジャスタ25の凹溝26に対する係止部7bの係止を解除し、また回動作用片7cの倒伏操作によって係止部7cを凹溝26に係止するようにしている。
即ち、上記のように構成されたバックル1に、図7に示すようにベルト3を挿通して所定長さで固定するには、図8(a)に示すように、係止金具7を起立方向へ回動することによってベルト挿入通路23を開放した状態にしておき、このベルト挿入通路23にベルト3の自由端3aを挿入する。次いで、図8(b)に示すように、係止金具7の回動作用片7cを倒伏方向に回動操作して係止部7bの端部をベルト3のバックルアジャスタ25に形成された所望の凹溝26に係止して、図8(c)に示すように、係止金具7の回動作用片7cをバックルアジャスタ25に接触する付近まで倒伏する。
このような状態において、図8(c)に示すように、係止金具7の係止部7bは起立片6の係止穴6aを垂下した部位を越す位置にあって、ベルト3を身体に挿着した状態で矢印方向に引張力が作用すると、バックルアジャスタ25の凹溝26に係止された係止金具7の係止部7bは起立片6の係止穴6aに係合された係止突起7a(図6参照)によって回動を阻止する負荷が生じ、上記の引張力に対する大なる抵抗を発揮することとなる。
ちなみに、バックルアジャスタ25をマジックテープ(商標名)で形成してベルト3の裏側に縫合したものと、本実施によるバックルアジャスタ25との引張力に対する耐力を比較した実験の結果、本実施例の場合、113kgfの引張力で係止金具7の係止部7bがバックルアジャスタ25の凹溝26から脱落したが、バックルアジャスタとして上記のマジックテープを使用した場合、36.5kgfの引張力で脱落したことから判断すると、本実施例のほうが、約3倍の引張力に耐える構造を有していることが明らかである。
なお、図7に示すように、ベルト3におけるバックル1を接続した側の端部にバックル受片29の一端をリベット29a等で固定し、このバックル受片29がバックル1の裏側を覆うようにした保護構造とするのが好ましい。
本発明は、電気工事、警備員或いは警察官の職務等に使用する場合のように、ベルトに重い物品を吊り下げることでバックルに大きな引張力が作用する場合でも、強大な係止力を発揮することによって、ベルトの緩みを防止するバックルアジャスタとして利用することができる。
本発明に適用するバックルの裏側を示す斜視図である。 本発明に適用するバックルの裏側平面図である。 本発明に適用するバックルの側面図である。 本発明のバックルアジャスタを取り付けたベルトの一部とバックルの破断状態における平面図である。 図4のA−A矢視線断面図である。 (a)は本発明のバックルアジャスタの平面図、(b)は側面図である。 本発明に適用するバックルにベルトを挿着した状態を示す側面図である。 (a)〜(c)は、本発明に適用するバックルにベルトを挿着する手順を示す断面図である。 (a)は特許文献1のバックルを示す斜視図であり、(b)は断面図、(c)は係止部材の斜視図である。
符号の説明
1…バックル
2…バックル本体
3…ベルト
3b…表側材
3c…裏側材
4…起立枠
5…フック
6…起立片
6a…係止穴
7…係止金具
7a…係止突起
7b…係止部
7c…回動作用片
8…ホルダ
9…係止軸
11…中空リベット
14…挿着溝
15…係止溝
23…ベルト挿入通路
25…バックルアジャスタ
26…凹溝
27…開口
28…糸
29…バックル受片
29a…リベット

Claims (2)

  1. バックル本体の裏側の一端にベルトの端部が接続されると共に、前記バックル本体の裏側の他端に前記ベルトを挿通し得る幅で設けられた一対の起立片に係止金具が回動自在に設けられてなるバックルに挿着するようにしたベルトを所定長さで固定するためのバックルアジャスタにおいて、
    該バックルアジャスタは合成樹脂からなり、前記ベルトの自由端側の裏側に設けられた帯形状を有すると共に、該帯形状の短幅方向に形成された凹溝を長手方向に所定間隔で複数形成してなり、前記係止金具に形成された係止部を前記バックルアジャスタの任意の凹溝に係止したり該凹溝から解除することによって、前記ベルトを所定長さに固定するようにしたことを特徴とするバックルアジャスタ。
  2. 前記ベルトの裏側材に形成された開口から前記バックルアジャスタの凹溝側を露出して該バックルアジャスタの外周付近を前記ベルトの裏側材の開口の周縁付近に縫合することによって取り付けたことを特徴とする請求項1記載のバックルアジャスタ。
JP2004117466A 2004-04-13 2004-04-13 バックルアジャスタ Pending JP2005296370A (ja)

Priority Applications (1)

Application Number Priority Date Filing Date Title
JP2004117466A JP2005296370A (ja) 2004-04-13 2004-04-13 バックルアジャスタ

Applications Claiming Priority (1)

Application Number Priority Date Filing Date Title
JP2004117466A JP2005296370A (ja) 2004-04-13 2004-04-13 バックルアジャスタ

Publications (1)

Publication Number Publication Date
JP2005296370A true JP2005296370A (ja) 2005-10-27

Family

ID=35328630

Family Applications (1)

Application Number Title Priority Date Filing Date
JP2004117466A Pending JP2005296370A (ja) 2004-04-13 2004-04-13 バックルアジャスタ

Country Status (1)

Country Link
JP (1) JP2005296370A (ja)

Cited By (2)

* Cited by examiner, † Cited by third party
Publication number Priority date Publication date Assignee Title
JP2010270413A (ja) * 2009-05-21 2010-12-02 Yamamoto Sealing Kogyo Kk 腰ベルト
CN111904106A (zh) * 2020-09-08 2020-11-10 广东豪顿服饰有限公司 警用新款防滑内腰带

Cited By (2)

* Cited by examiner, † Cited by third party
Publication number Priority date Publication date Assignee Title
JP2010270413A (ja) * 2009-05-21 2010-12-02 Yamamoto Sealing Kogyo Kk 腰ベルト
CN111904106A (zh) * 2020-09-08 2020-11-10 广东豪顿服饰有限公司 警用新款防滑内腰带

Similar Documents

Publication Publication Date Title
US5490309A (en) Fastener assembly
US10178899B2 (en) Slider for slide fastener
US4862563A (en) Securing strap and fastener
JP6573898B2 (ja) コネクタ
US6622355B2 (en) Mounting structure
TWI296192B (en) Shoelace buckle
TW201223476A (en) Cam lock buckle
JPH11113611A (ja) 締め具
US4917337A (en) Article support for pegboards of alternate thickness
US3696471A (en) Releasable buckle
US1763100A (en) Belt buckle
JP2005296370A (ja) バックルアジャスタ
TWI461159B (zh) 卡扣具
US20070261212A1 (en) Helmet holder
US20030131451A1 (en) Dual action locking buckle device
JP2019201994A (ja) 衣服ベルト用バックル
US4901408A (en) Means for fastening suspenders to a garment or other article of clothing
JP3895318B2 (ja) バックル
US312679A (en) Harness-loop clamp
JP4780280B2 (ja) 留め具
JP2010270413A (ja) 腰ベルト
EP2517589A1 (en) Buckle
CN103281927B (zh) 带固定件
JP3250702U (ja) 紐留め具
US2965943A (en) Buckle assembly

Legal Events

Date Code Title Description
A977 Report on retrieval

Free format text: JAPANESE INTERMEDIATE CODE: A971007

Effective date: 20060405

A131 Notification of reasons for refusal

Effective date: 20060410

Free format text: JAPANESE INTERMEDIATE CODE: A131

A521 Written amendment

Free format text: JAPANESE INTERMEDIATE CODE: A523

Effective date: 20060530

A131 Notification of reasons for refusal

Effective date: 20070703

Free format text: JAPANESE INTERMEDIATE CODE: A131

A02 Decision of refusal

Effective date: 20071102

Free format text: JAPANESE INTERMEDIATE CODE: A02