JP2005295056A - カメラ、撮像装置、レンズ鏡筒及びカメラ本体 - Google Patents

カメラ、撮像装置、レンズ鏡筒及びカメラ本体 Download PDF

Info

Publication number
JP2005295056A
JP2005295056A JP2004105050A JP2004105050A JP2005295056A JP 2005295056 A JP2005295056 A JP 2005295056A JP 2004105050 A JP2004105050 A JP 2004105050A JP 2004105050 A JP2004105050 A JP 2004105050A JP 2005295056 A JP2005295056 A JP 2005295056A
Authority
JP
Japan
Prior art keywords
image
image signal
rotation angle
electrical image
focus
Prior art date
Legal status (The legal status is an assumption and is not a legal conclusion. Google has not performed a legal analysis and makes no representation as to the accuracy of the status listed.)
Pending
Application number
JP2004105050A
Other languages
English (en)
Other versions
JP2005295056A5 (ja
Inventor
Naoto Yugi
直人 弓木
Current Assignee (The listed assignees may be inaccurate. Google has not performed a legal analysis and makes no representation or warranty as to the accuracy of the list.)
Panasonic Holdings Corp
Original Assignee
Matsushita Electric Industrial Co Ltd
Priority date (The priority date is an assumption and is not a legal conclusion. Google has not performed a legal analysis and makes no representation as to the accuracy of the date listed.)
Filing date
Publication date
Application filed by Matsushita Electric Industrial Co Ltd filed Critical Matsushita Electric Industrial Co Ltd
Priority to JP2004105050A priority Critical patent/JP2005295056A/ja
Publication of JP2005295056A publication Critical patent/JP2005295056A/ja
Publication of JP2005295056A5 publication Critical patent/JP2005295056A5/ja
Pending legal-status Critical Current

Links

Images

Landscapes

  • Lens Barrels (AREA)
  • Studio Devices (AREA)

Abstract

【課題】 予め生成された電気的な画像信号を可視画像として再生する際に、操作性がよく、配置のために新たなスペースや部品を必要としない操作部材を備えるカメラを提供する。
【解決手段】 撮影光学系を保持するレンズ鏡筒46を含む撮像装置と、予め生成された電気的な画像信号を格納する画像記憶部57と、記憶手段に格納された電気的な画像信号を可視画像として表示する液晶モニタLCDと、マイクロコンピュータ49とを備える。レンズ鏡筒46は、撮影光学系の光軸に同軸の円筒状であり、ユーザにより手動で回転操作が可能であるフォーカスリング32と、フォーカスリング32の回転角度に応じた信号を出力するフォーカスリニアセンサ35とを含む。マイクロコンピュータ49は、フォーカスリニアセンサ35から出力される信号に基づいて、画像記憶部57に格納された電気的な画像信号から液晶モニタLCDに表示すべき電気的な画像信号を特定する。
【選択図】 図10

Description

本発明は、カメラに関し、特定的には、予め生成された電気的な画像信号を可視画像として再生可能なカメラに関する。また、本発明は、制御装置に接続される撮像装置に関し、特定的には、予め生成された電気的な画像信号を可視画像として再生可能な制御装置に接続される撮像装置に関する。さらに、本発明は、カメラ本体及びそのカメラ本体に接続されるレンズ鏡筒に関し、特定的には、予め生成された電気的な画像信号を可視画像として再生可能なカメラ本体と、そのカメラ本体に接続されるレンズ鏡筒に関する。
近年、被写体の光学的な像を電気的な画像信号に変換して出力可能なデジタルスチルカメラやデジタルビデオカメラ(以下、単にデジタルカメラという)が、急速に普及している。デジタルカメラについては、オートフォーカスのハイスピード化や本体の小型軽量化等を主眼としたフルオートモデルと、フォーカシングのマニュアル操作を行うフォーカスリングや露出設定のマニュアル操作を行う絞りリング等を備えたハイエンドモデルとに大別される。最近では、デジタルカメラにより撮影される画像の品質が向上してきたため、自分で操作できる喜びを享受できるハイエンドモデルの人気も高まりつつある。
デジタルカメラは、表示装置として液晶モニタLCDを持つ。また、デジタルカメラは、一般的に、電気的な画像信号の取得を行う撮影モードと、予め生成された電気的な画像信号を可視画像として再生するための再生モードとを持つ。このような、デジタルカメラは、本体に設けられた操作部材により、再生すべき画像を特定して液晶モニタLCDに表示させる。
例えば、特許文献1には、十字操作キーを持つデジタルカメラが開示されている。特許文献1に開示されたデジタルカメラは、ユーザが十字操作キーを操作することにより、予め生成された静止画像、あるいは動画像を読み出して、液晶モニタに表示することにより再生ができる。
特開平11−284884号公報
特許文献1に開示されたデジタルカメラは、ユーザが十字操作キーを操作して、再生すべき画像を特定している。そして、特許文献1に開示されたデジタルカメラは、予め生成され記憶メディアに格納されている静止画像から、ユーザが十字操作キーにより所望の画像を1個ずつスクロールする必要があった。
このため、特許文献1に開示されたデジタルカメラは、静止画像が多数ある場合、ユーザが所望の静止画像を表示させるために、十字操作キーを頻繁に操作しなければならなかった。特に、近年では大容量の記憶メディアも安価に入手できるようになっているため、記録画素数が大きいハイエンドモデルであっても大量の画像を格納することができるようになってきている。したがって、ユーザが所望の画像を表示したい場合、時間及び手間がかかり、操作性が悪いという課題を有していた。
また、所定の画像をダイレクトに表示するように、デジタルカメラに専用の操作部材を配置することも考えられる。しかしながら、専用の操作部材を配置するために、デジタルカメラにスペースを設けなければならなかった。また、専用の操作部材は、部品点数を増加させるという課題もあった。
本発明の第1の目的は、予め生成された電気的な画像信号を可視画像として再生する際に、操作性がよく、配置のために新たなスペースや部品を必要としない操作部材を備えるカメラを提供することである。
また、本発明の第2の目的は、操作性がよく、配置のために新たなスペースや部品を必要としない操作部材を備え、当該操作部材を操作することにより予め生成された電気的な画像信号を可視画像として再生する撮像装置を提供することである。
また、本発明の第3の目的は、操作性がよく、配置のために新たなスペースや部品を必要としない操作部材を備え、当該操作部材を操作することにより予め生成された電気的な画像信号を可視画像として再生することができるレンズ鏡筒、及びそのレンズ鏡筒に接続されるカメラ本体を提供することである。
上記第1の目的は、以下のカメラにより達成される。
予め生成された電気的な画像信号を可視画像として再生可能なカメラであって、被写体の光学的な像を形成する撮影光学系を保持するレンズ鏡筒を含む撮像装置と、予め生成された電気的な画像信号を格納する記憶手段と、記憶手段に格納された電気的な画像信号を可視画像として表示する表示手段と、制御手段とを備え、レンズ鏡筒は、撮影光学系の光軸に同軸の円筒状であり、ユーザにより手動で回転操作が可能である第1の操作部材と、第1の操作部材の回転角度に応じた信号を出力する回転角度検知手段とを含み、制御手段は、回転角度検知手段から出力される信号に基づいて、記憶手段に格納された電気的な画像信号から表示手段に表示すべき電気的な画像信号を特定する。
本発明は、以上の構成を備えているので、ユーザが手動で第1の操作部材を回転操作することにより、表示すべき画像を特定することができる。したがって、カメラに配置のために新たなスペースや部品を必要とすることがない。また、本発明は、第1の操作部材がレンズ鏡筒に設けられているので、ユーザの操作性がよい。
好ましくは、記憶手段は、回転角度検知手段から出力される信号に対応する所定の番地を割り付けられた複数の静止画像に対応する電気的な画像信号を格納しており、制御手段は、回転角度検知手段から出力される信号に対応する番地に基づいて、記憶手段に格納されている電気的な画像信号から表示すべき静止画像に対応する電気的な画像信号を特定する。
本発明は、以上の構成を備えているので、ユーザが手動で第1の操作部材を回転操作することにより、所望の静止画像を特定することができる。
一例として、記憶手段は、電気的な画像信号を格納する際に、静止画像が撮影された順に所定の番地を割り付けて格納する。
本発明は、以上の構成を備えているので、ユーザが手動で第1の操作部材を回転操作することにより、時系列で画像がスクロールされ、ユーザが容易に所望の静止画像を特定することができる。
他の例として、記憶手段は、電気的な画像信号を格納する際に、静止画像に付された所定の属性に基づいて所定の番地を割り付けて格納する。
本発明は、以上の構成を備えているので、ユーザが手動で第1の操作部材を回転操作することにより、属性ごとに画像がスクロールされ、ユーザが容易に所望の静止画像を特定することができる。
好ましくは、記憶手段は、回転角度検知手段から出力される信号に対応する所定のタイムコードを割り付けられた動画像に対応する電気的な画像信号を格納しており、制御手段は、回転角度検知手段から出力される信号に対応するタイムコードに基づいて、記憶手段に格納されている電気的な画像信号から表示すべき動画像のタイミングを特定する。
本発明は、以上の構成を備えているので、ユーザが手動で第1の操作部材を回転操作することにより、時系列で動画像がスクロールされ、ユーザが容易に所望の動画像のキャプチャー画像を特定して、その位置から再生を開始することができる。
好ましくは、制御手段は、新たな画像の撮影に際し、第1の操作部材の操作により、撮影光学系の焦点距離と、撮影光学系の絞り値と、撮影光学系の物体距離との内のいずれか一つを変更する。
本発明は、以上の構成を備えているので、ユーザは、第1の操作部材を、いわゆるズームリング、絞りリング、フォーカスリングのいずれかとして機能させることができる。
上記第2の目的は、以下の撮像装置により達成される。
予め生成された電気的な画像信号を可視画像として再生可能な制御装置に接続される撮像装置であって、被写体の光学的な像を形成する撮影光学系と、撮影光学系の光軸に同軸の円筒状であり、ユーザにより手動で回転操作が可能である第1の操作部材と、第1の操作部材の回転角度に応じた信号を出力する回転角度検知手段とを備え、前記制御装置は、予め生成された電気的な画像信号を格納する記憶手段と、記憶手段に格納された電気的な画像信号を可視画像として表示する表示手段と、回転角度検知手段から出力される信号に基づいて、記憶手段に格納された電気的な画像信号から表示手段に表示すべき電気的な画像信号を特定する制御手段とを備える。
本発明は、以上の構成を備えているので、ユーザが手動で第1の操作部材を回転操作することにより、表示すべき画像を特定することができる。したがって、制御装置側に配置のために新たなスペースや部品を必要とすることがない。また、本発明は、第1の操作部材がレンズ鏡筒に設けられているので、ユーザの操作性がよい。
上記第3の目的は、以下のレンズ鏡筒により達成される。
予め生成された電気的な画像信号を可視画像として再生するための再生可能なカメラ本体に接続されるレンズ鏡筒であって、被写体の光学的な像を形成する撮影光学系と、撮影光学系の光軸に同軸の円筒状であり、ユーザにより手動で回転操作が可能である第1の操作部材と、第1の操作部材の回転角度に応じた信号を出力する回転角度検知手段とを備え、カメラ本体は、予め生成された電気的な画像信号を格納する記憶手段と、記憶手段に格納された電気的な画像信号を可視画像として表示する表示手段と、外部から入力される信号に基づいて制御される制御手段とを備え、回転角度検知手段からの出力を、制御手段に入力させることにより、記憶手段に格納された電気的な画像信号から表示手段に表示すべき電気的な画像信号を特定させる。
本発明は、以上の構成を備えているので、ユーザが手動で第1の操作部材を回転操作することにより、表示すべき画像を特定することができる。したがって、カメラ本体に配置のために新たなスペースや部品を必要とすることがない。また、本発明は、第1の操作部材がレンズ鏡筒に設けられているので、ユーザの操作性がよい。
上記第3の目的は、以下のカメラ本体により達成される。
レンズ鏡筒に接続して用いられ、予め生成された電気的な画像信号を可視画像として再生するための再生可能なカメラ本体であって、予め生成された電気的な画像信号を格納する記憶手段と、記憶手段に格納された電気的な画像信号を可視画像として表示する表示手段と、制御手段とを備え、レンズ鏡筒は、被写体の光学的な像を形成する撮影光学系と、撮影光学系の光軸に同軸の円筒状であり、ユーザにより手動で回転操作が可能である第1の操作部材と、第1の操作部材の回転角度に応じた信号を出力する回転角度検知手段とを備え、制御手段は、回転角度検知手段から出力される信号に基づいて、記憶手段に格納された電気的な画像信号から表示手段に表示すべき電気的な画像信号を特定する。
本発明は、以上の構成を備えているので、ユーザが手動で第1の操作部材を回転操作することにより、表示すべき画像を特定することができる。したがって、カメラ本体に配置のために新たなスペースや部品を必要とすることがない。また、本発明は、第1の操作部材がレンズ鏡筒に設けられているので、ユーザの操作性がよい。
本発明によって、予め生成された電気的な画像信号を可視画像として再生する際に、操作性がよく、配置のために新たなスペースや部品を必要としない操作部材を備えるカメラを提供することができる。
本発明により、操作性がよく、配置のために新たなスペースや部品を必要としない操作部材を備え、当該操作部材を操作することにより予め生成された電気的な画像信号を可視画像として再生する撮像装置を提供することができる。
本発明により、操作性がよく、配置のために新たなスペースや部品を必要としない操作部材を備え、当該操作部材を操作することにより予め生成された電気的な画像信号を可視画像として再生することができるレンズ鏡筒、及びそのレンズ鏡筒に接続されるカメラ本体を提供することができる。
(実施の形態1)
図1は、本発明の実施の形態1に係るデジタルカメラ1の上面図である。デジタルカメラ1は、概略、撮像装置TLと、本体BDとを備える。なお、実施の形態のすべての説明において、撮影光学系Lの光軸AXを基準に座標系を定める。すなわち、撮影光学系Lの光軸AXに平行な方向をz方向とし、このz方向に垂直で図1の上面図に平行な面に含まれる方向をx方向とする。また、z方向及びx方向の両方向に垂直な方向をy方向とする。このxyz座標系は、3次元直交座標系である。
本体BDは、被写体を撮影する際に撮影者により支持される筐体である。本体BDは、シャッターボタン63と、シャッタースピード設定ダイヤル64とを含む。シャッターボタン63と、シャッタースピード設定ダイヤル64とは、本体BDの上面の右側に設けられている。
シャッタースピード設定ダイヤル64は、回転操作することにより、シャッタースピードの設定を行う操作部材である。また、シャッタースピード設定ダイヤル64は、シャッタースピードが自動設定されるオートの位置を有する。
また、本体BDは、液晶モニタLCDと、スピーカSPとを含む。液晶モニタLCDと、スピーカSPとは、本体BDの撮影者側の面に設けられている。液晶モニタLCD及びスピーカSPの作用については後述する。
撮像装置TLは、レンズ鏡筒46と、撮像センサ16とを含む。レンズ鏡筒46は、内部に後述する撮影光学系Lを保持する。撮像センサ16は、CCDである。撮像センサ16は、撮影光学系Lが形成する光学的な像を電気的な画像信号に変換する。
レンズ鏡筒46は、最も被写体側に、フィルタマウント29を持つ。レンズ鏡筒46は、フィルタマウント29から本体BD側へ(z軸の負の方向)向けて順に、ズームリング26と、フォーカスリング32と、絞りリング40とを有する。ズームリング26と、フォーカスリング32と、絞りリング40とは、いずれも円筒状の回転操作部材であり、レンズ鏡筒46の外周面において回転可能に配置されている。
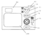
図2は、本発明の実施の形態1に係るデジタルカメラ1の背面図である。本体BDは、電源ボタン70、撮影/再生モード切り替えレバー71、MENUボタン72、十字操作キー73、およびSETボタン74と、画像操作キー75とを含む。
電源ボタン70は、デジタルカメラ1の電源のON/OFFを行う操作部材である。撮影/再生モード切り替えレバー71は、レバーの切り替えを行うことにより、撮影モードと再生モードとの切り替えを行う操作部材である。ここで、撮影モードとは、デジタルカメラ1において、被写体を新たに撮影して画像信号にするために設定されるモードである。また、再生モードとは、デジタルカメラ1において、既に撮影して格納されている画像信号を表示するために設定されるモードである。
MENUボタン72は、液晶モニタLCDに、各種操作メニューを表示させるための操作部材である。十字操作キー73は、上下、左右の矢印キーを有し、各種操作メニューの表示項目を選択するための操作部材である。SETボタン74は、各種操作メニューの表示項目を確定するための操作部材である。画像操作キー75は、上下の矢印キーを有し、画像を再生する際に画像の検索を行うための操作部材である。
フォーカスリング32は、円筒形状である。図3(a)は、本発明の実施の形態に係るフォーカスリングの外周面の展開図、図3(b)は、本発明の実施の形態に係るフォーカスリングの内周面の展開図である。
図1、図3(a)において、フォーカスリング32は、外周面に物点距離を表示する。物点距離の表示領域は4つの領域に分かれている。図3(a)中、[0.3]から[0.6]の表示部分が手動によりフォーカスリング32の操作が許容されるマクロ撮影領域に対応する。また、[0.6]から[∞]の表示部分が手動によりフォーカスリング32の操作が許容される通常撮影領域に対応する。また、[AF]の表示部分が手動によりフォーカスリング32の操作が禁止される通常撮影領域に対応する。また、[AF−Macro]の表示部分が手動によりフォーカスリング32の操作が禁止されるマクロ撮影領域に対応する。図3(b)において、フォーカスリング32は、内周面に直線のカム溝34を持つ。カム溝34は、後述するフォーカスリニアセンサ35の摺動子35aと結合する。
図4は、本発明の実施の形態1に係るレンズ鏡筒の断面図である。レンズ鏡筒46は、外周側に、絞りリング40と、フォーカスリング32と、ズームリング26とを、回転操作可能に保持する。絞りリング40と、フォーカスリング32とは、円筒形状を有するリング固定枠36に保持される。フォーカスリング32の内周面は、リング固定枠36の摺動面36cと嵌め合い保持される。フォーカスリング32は、光軸AXに平行な方向において、リング固定枠38の端面38cと、リング固定枠36の端面36dとにより規制される。リング固定枠38は、リング固定枠36に固定される。この構成により、フォーカスリング32は、光軸AXまわりに回転可能に保持される。また、リング固定枠36は、フォーカスリニアセンサ35を固定する。
また、レンズ鏡筒は、内部にフォーカスモータ15を有する。フォーカスモータ15は、後述する制御により、フォーカスリング32の回転角度に応じてフォーカスレンズ群を光軸方向に駆動する。フォーカスレンズ群が駆動されることにより、撮影光学系Lの物体距離が変更される。
図5は、本発明の実施の形態に係るフォーカスリングとフォーカスリニアセンサの結合を示す断面図である。図5において、フォーカスリング32に形成されたカム溝34は、フォーカスリニアセンサ35の摺動子35aと結合する。フォーカスリング32の内周面は、第3のリング固定枠36の摺動面36cと嵌め合い保持される。
図7は、本発明の実施の形態に係るフォーカスリングの回転角度とフォーカスリニアセンサの出力値の関係を示すグラフである。図3及び図7において、フォーカスリング32上に表示された文字[0.3]が、指標33と一致する角度に位置する場合、フォーカスリニアセンサ35の摺動子35aは、カム溝34上のAの位置にある。その場合、フォーカスリニアセンサ35の出力値は、A‘となる。
フォーカスリング32上に表示された文字[0.6]が、指標33と一致する角度に位置する場合、フォーカスリニアセンサ35の摺動子35aは、カム溝34上のBの位置にある。その場合、フォーカスリニアセンサ35の出力値は、B‘となる。
フォーカスリング32上に表示された文字[∞]が、指標33と一致する角度に位置する場合、フォーカスリニアセンサ35の摺動子35aは、カム溝34上のCの位置にある。その場合、フォーカスリニアセンサ35の出力値は、C‘となる。
フォーカスリング32上に表示された文字[AF]が、指標33と一致する角度に位置する場合、フォーカスリニアセンサ35の摺動子35aは、カム溝34上のDの位置にある。その場合、フォーカスリニアセンサ35の出力値は、D‘となる。
フォーカスリング32上に表示された文字[AF−Macro]が、指標33と一致する角度に位置する場合、フォーカスリニアセンサ35の摺動子35aは、カム溝34上のEの位置にある。その場合、フォーカスリニアセンサ35の出力値は、E‘となる。
このように、フォーカスリニアセンサ35は、フォーカスリング32の回転角度と一対一で対応する出力を示す。したがって、フォーカスリング32の回転角度を検出することができる。フォーカスリニアセンサ35は、回転角度に応じたフォーカス位置信号を電圧変化として出力する。
フォーカスリング32は、外周面にフォーカスモード切り替えボタン37を持つ。図8(a)は、本発明の実施の形態に係るフォーカスリングが第1の停止位置にある場合の略断面図である。また、図8(b)は、本発明の実施の形態に係るフォーカスリングが第1の停止位置と第2の停止位置との間にある場合の略断面図である。また、図8(c)は、本発明の実施の形態に係るフォーカスリングが第2の停止位置にある場合の略断面図である。なお、図中かっこで記した符号は、絞りリング40の構造を説明する場合に相当するため、フォーカスリング32の構造に関連する説明では無視してよい。また、図8(a)〜(c)の(1)は、フォーカスモード切り替えボタン37の中心を通り光軸AXを含む平面でカットした略断面図である。また、図8(a)〜(c)の(1)は、フォーカスモード切り替えボタン37の中心を通り光軸AXに垂直な面(xy面)でカットした略断面図である。
図中に矢印Kで示した方向は、光軸AX回りの回転方向を示す。フォーカスリング32において、第1の停止位置は、図3(a)に示す文字[∞]の位置に相当する。また、フォーカスリング32において、第2の停止位置は、図3(a)に示す文字[AF]の位置に相当する。
フォーカスモード切り替えボタン37は、フォーカスリング32の横穴32aに位置する。フォーカスモード切り替えボタン37は、フォーカスリング32との間に圧縮バネ39が設けられている。フォーカスモード切り替えボタン37は、圧縮バネの作用により、フォーカスリング32の外周方向に付勢されながら図の矢印J方向に移動可能である。フォーカスモード切り替えボタン37は、フォーカスリング32の内側に隠れる部分に、光軸AX方向に突き出た係止部37aを有する。
図8(a)において、フォーカスリング32が第1の停止位置に到達すると、フォーカスモード切り替えボタン37の係止部37aが、第2のリング固定枠38に設けられた係止部38aに当接する。したがって、フォーカスモード切り替えボタン37が操作されない限り、フォーカスリング32のK方向の回転は禁止される。
フォーカスリング32が第1の停止位置にある場合、フォーカスモード切り替えボタン37を押し込んでさらにK方向に回転すると、フォーカスモード切り替えボタン37の係止部37aが内部に押し込まれる。
第2のリング固定枠38に形成された係止部38aは、内部にフォーカスモード切り替えボタン37の係止部37aが通過可能な空間が形成されている。したがって、フォーカスモード切り替えボタン37は、押し込んでさらにK方向に回転するとK方向の回転が許容され、図8(b)に示される第1の停止位置と第2の停止位置との間に進入する。
フォーカスモード切り替えボタン37を押し込んだままさらにK方向に回転すると、フォーカスモード切り替えボタン37の係止部37aは、K方向の回転が許容され、図8(c)に示される第2の停止位置に到達する。第2の停止位置において、フォーカスモード切り替えボタン37を押し込むことをやめると、フォーカスモード切り替えボタン37は圧縮バネにより復元される。
フォーカスモード切り替えボタン37がもとの状態に戻ると、フォーカスモード切り替えボタン37の係止部37aが、第2のリング固定枠38に設けられた係止部38aに当接する。したがって、フォーカスモード切り替えボタン37が操作されない限り、フォーカスリング32の逆方向の回転は禁止される。K方向の逆方向に回転する場合、第2の停止位置でフォーカスモード切り替えボタン37を押し込みながら第1の停止位置までK方向の逆方向に回転して、第1の停止位置で押し込みをやめればよい。
絞りリング40は、円筒形状である。図9は、本発明の実施の形態に係る絞りリングの外周面の展開図である。絞りリング40は、絞りモード切り換えボタン43を有する。絞りモード切り換えボタン43は、絞りリング40に一体的に設けられた押しボタンスイッチである。
図4及び図9において、絞りリング40は、外周面に絞り値を表示する。絞り値の表示領域は2つの領域に分かれている。図10中、[2]から[11]までの表示部分がマニュアル領域に対応し、[A]の表示部分がオート領域に対応する。なお、絞りリング40の回転角度の検出方法、ならびに絞りモード切り替えボタン40の操作方法については、先に説明した絞りリング40と概略同一であるので、その説明は省略する。
また、レンズ鏡筒は、内部に絞りユニット22を有する。絞りユニット22は、内部に絞り羽根を駆動するための絞り駆動モータ22bを含む。絞り駆動モータ22bは、後述する制御により、絞りリング40の回転角度に応じて絞り羽根を駆動する。絞り羽根が駆動されることにより、撮影光学系Lの絞り値が変更される。
図10は、本発明の実施の形態1に係るデジタルカメラの制御システムを示すブロック図である。図10において、全体のブロックは、デジタルカメラ1の制御を示す。なお、図10において、点線で囲まれた範囲が撮像装置TLを示す。デジタルカメラ1には、マイクロコンピュータ49が搭載されており、各種制御部全体を制御する。
マイクロコンピュータ49は、ズーム制御部60と、シャッターボタン63と、シャッタースピード設定ダイヤル64と、撮影/再生モード切り替えレバー71と、MENUボタン72と、十字操作キー73と、SETボタン74とから信号を受信可能である。マイクロコンピュータ49は、シャッター制御部65と、画像記録制御部55と、画像表示制御部58と、音声制御部59とへ信号を送信可能である。マイクロコンピュータ49は、フォーカス制御部61と、絞り制御部62と、デジタル信号処理部53との間で信号を相互に交信可能である。また、マイクロコンピュータ49は、信号を格納するメモリ66を持つ。
ズーム制御部60は、ズームリニアセンサ21から信号を受信する。ズーム制御部60は、ズームリニアセンサ21により検出されたズームリング26の回転量を撮影光学系Lの焦点距離情報に変換する。ズーム制御部60は、焦点距離情報をマイクロコンピュータ49へ送信する。
フォーカス制御部61は、フォーカスリニアセンサ35から信号を受信可能であり、A/D変換部35Aを介して、フォーカス駆動モータ15へ信号を送信可能である。フォーカス制御部61は、フォーカスリニアセンサ35により検出され、A/D変換部35Aによりデジタル化されたフォーカスリング32の回転角度より、フォーカスモードを判断する。フォーカス制御部61は、判断した結果をマイクロコンピュータ49へ送信する。フォーカス制御部61は、マイクロコンピュータ49からの指令に基づいてフォーカスリング32の回転角度より検出した物点距離情報を、マイクロコンピュータ49へ送信する。フォーカス制御部61は、マイクロコンピュータ49からの制御信号に基づいてフォーカスモータ15を駆動する。
絞り制御部62は、絞りリニアセンサ41から信号を受信可能であり、A/D変換部41Aを介して、絞り駆動モータ22bへ信号を送信可能である。絞り制御部62は、絞りリニアセンサ41により検出され、A/D変換部41Aによりデジタル化された絞りリング40の回転角度により、絞りモードを判断する。絞り制御部62は、判断した結果をマイクロコンピュータ49へ送信する。絞り制御部62は、マイクロコンピュータ49からの指令に基づいて絞りリング40の回転角度より検出した絞り値情報を、マイクロコンピュータ49に送信する。絞り制御部62は、マイクロコンピュータ49からの制御信号に基づいて絞り駆動モータ22bを駆動する。
シャッター制御部65は、マイクロコンピュータ49からの制御信号に基づいて絞り駆動モータ22aを駆動する。シャッターボタン63は、マイクロコンピュータ49へシャッタータイミングを送信する。シャッタースピード設定ダイヤル64は、設定されたシャッタースピード情報及びシャッターモード情報を送信する。
撮像センサ16は、CCD(Charge Coupled Device)である。撮像センサ16は、レンズユニット2の撮影光学系TLにより形成される光学的な像を電気的な画像信号に変換する。撮像センサ16は、CCD駆動制御部50により駆動・制御される。撮像センサ16から出力される画像信号は、アナログ信号処理部51と、A/D変換部52と、デジタル信号処理部53と、バッファメモリ54と、画像圧縮部56との順に処理される。
画像信号は、撮像センサ16から、アナログ信号処理部51へ送信される。アナログ信号処理部51は、撮像センサ16が出力する画像信号に、ガンマ処理等のアナログ信号処理を施す。画像信号は、アナログ信号処理部51から、A/D変換部52へ送信される。A/D変換部52は、アナログ信号処理部51から出力されたアナログ画像信号をデジタル信号に変換する。
画像信号は、A/D変換部52から、デジタル信号処理部53へ送信される。デジタル信号処理部53は、A/D変換部52によりデジタル信号に変換された画像信号のノイズ除去や輪郭強調等のデジタル信号処理を施す。画像信号は、デジタル信号処理部53から、バッファメモリ54へ送信される。バッファメモリ54は、デジタル信号処理部53により処理された画像信号を一旦記憶する。バッファメモリ54は、RAM(Random Access Memory)である。
画像信号は、画像記憶制御部55からの指令に従って、バッファメモリ54から、画像圧縮部56に送信される。画像圧縮部56は、画像記録制御部55の指令に従って画像信号のデータを所定の大きさに圧縮する。画像信号は、所定の比率でデータの圧縮を受け、元のデータより小さなデータサイズになる。例えばこの圧縮方式として、JPEG(Joint Photographic Experts Group)方式が用いられる。
圧縮された画像信号は、画像圧縮部56から画像記録部57及び液晶モニタLCDへ送信される。一方、マイクロコンピュータ49は、画像記録制御部55及び画像表示制御部58へ制御信号を送信する。画像記録制御部55は、マイクロコンピュータ49からの制御信号に基づいて画像記録部57を制御する。画像表示制御部は、マイクロコンピュータ49からの制御信号に基づいて液晶モニタLCDを制御する。
画像記録部57は、画像記録制御部55の指令に基づいて、画像信号を内部メモリ及び/又はリムーバブルメモリに記録する。画像記録部57は、画像記録制御部55の指令に基づいて、画像信号とともに記憶すべき情報を、内部メモリ及び/又はリムーバブルメモリに記録する。画像信号とともに記憶すべき情報は、画像を撮影した際の日時,焦点距離情報,シャッタースピード情報,絞り値情報,撮影モード情報を含む。
液晶モニタLCDは、画像表示制御部58の指令に基づいて、画像信号を可視画像として表示する。液晶モニタLCDは、画像表示制御部58の指令に基づいて、画像信号とともに表示すべき情報を、表示する。画像信号とともに表示すべき情報は、焦点距離情報,シャッタースピード情報,絞り値情報,撮影モード情報,合焦状態情報の表示を含む。また、マイクロコンピュータ49は、音声制御部59へ制御信号を送信する。音声制御部59は、マイクロコンピュータ49からの制御信号に基づいてスピーカSPを駆動・制御する。スピーカSPは、外部へ所定のアラーム音を発する。
以下、画像を検索して液晶モニタに表示を行う操作について説明する。このデジタルカメラ1において、ユーザは、2通りの、画像を検索して液晶モニタに表示を行う操作を行うことができる。
はじめに、画像操作キー75及び十字操作キー73を用いた画像の検索について説明する。図11(a)、(b)及び(c)は、いずれも本発明の実施の形態1に係るデジタルカメラの画像記録部に含まれるリムーバブルメディアに格納された静止画像信号を液晶モニタLCD上にサムネイル表示した画面である。図11(a)、(b)及び(c)は、それぞれ、リムーバブルメディアに格納された1枚目から9枚目までの画像信号、37枚目から45枚目の画像信号、82枚目から90枚目までの画像信号に対応するサムネイルを液晶モニタLCD上に表示した画面である。
再生モードにおいて、ユーザが画像操作キー75の上矢印キーを押すと、マイクロコンピュータ49は、画像表示制御部58を制御して、図11(a)に示すように、液晶モニタLCD上に9個の画像信号に対応する9個のサムネイルを表示させる。このとき、液晶モニタLCDは、1枚目の画像信号に対応するサムネイルに付された番号1をハイライト表示する。
ここで、ユーザが画像操作キー75の下矢印キーを押すと、マイクロコンピュータ49は、画像表示制御部58を制御して、液晶モニタLCD上に番号1のサムネイルに対応する画像を1枚だけ表示させる。ユーザがさらに画像操作キー75の下矢印キーを押すと、マイクロコンピュータ49は、画像表示制御部58を制御して、液晶モニタLCD上に番号1の画像を拡大して表示させる。
また、9画面のサムネイルが表示された状態において、ユーザが十字操作キー73の右矢印キーを押すと、マイクロコンピュータ49は、選択する画像を順送りする。また、マイクロコンピュータ49は、併せて画像表示制御部58を制御して、各サムネイルに付されたハイライト表示される番号を順送りさせる。
選択する画像を順送りして9枚目の画像信号に対応するサムネイルに至り、9枚目の画像の番号9がハイライト表示された状態において、ユーザが十字操作キー73の右矢印キーを押すと、マイクロコンピュータ49は、画像表示制御部58を制御して、液晶モニタLCD上に新たな9個のサムネイルを表示させる。ユーザが十字操作キー73の右矢印キーを押し続けると、マイクロコンピュータ49は、選択される画像を順送りする。マイクロコンピュータ49は、併せて画像表示制御部58を制御して、液晶モニタLCD上にサムネイルに付されたハイライト表示する番号を変更させる。図11(b)は、このようなユーザの操作により、37枚目の画像が選択された状態を示している。図11(c)は、ユーザのさらなる操作により、90枚目の画像が選択された状態を示している。
このように、ユーザが十字操作キー73の右矢印キーを押すことにより、マイクロコンピュータ49は、液晶モニタLCD上にサムネイル表示の表示を伴って所望の画像を選択する。また、ユーザが十字操作キー73の左矢印キーを押すと、マイクロコンピュータ49は、液晶モニタLCD上にサムネイル表示の表示を伴って逆送りに画像を選択する。
次に、フォーカスリング32を用いた画像の検索について説明する。リムーバブルメディアに格納された画像は、予めフォーカスリング32の回転角度に応じた番地が付されている。フォーカスリング32は、図7を用いて説明したように、回転角度に応じてリニアの出力を得ることが可能である。したがって、A/D変換部35aを10BitのA/D変換器とすることにより、フォーカスリング32の回転角度に応じた番地を定義することができる。
すなわち、フォーカスリング32のマニュアル撮影領域の文字[0.3]を示す位置を[1]番地とし、オートマクロ領域の文字[AF−Macro]を示す位置を[1024]番地とする。このフォーカスリング32のうち、マニュアルフォーカス領域を示す文字[0.3]から[∞]の位置までを、撮影画像の選択に用いるようにし、その回転角度に応じて、[1]番地から[900]番地と定義する。
図12は、本発明の実施の形態1に係るデジタルカメラの画像に付された番地を示すテーブルである。例えば、デジタルカメラ1のリムーバブルメディアに撮影画像が90枚保存されている場合、マイクロコンピュータ49は、それぞれの撮影画像に対応する番地をメモリ66に関連付けて記憶する。つまり、1枚目の画像には[1〜10]番地、2番目の画像には[11〜20]番地を、90番目の画像には[890〜900]番地を割り当てる。
以上のように番地を付された状態で、フォーカスリング32上の文字[0.3]が指標33と一致した場合、マイクロコンピュータ49は、フォーカスリニアセンサ35からの出力をA/D変換部35aにより変換した値として[1〜10]番地を読みとる。マイクロコンピュータ49は、メモリ66に格納されたテーブルを参照して1枚目の画像に対応することを判断して、1枚目の画像を選択する。マイクロコンピュータは、併せて画像表示制御部58を制御して、液晶モニタLCD上に図11(a)に示す9個のサムネイルを表示させ、1枚目の画像の番号1をハイライト表示させる。
この状態で、ユーザがフォーカスリング32を左方向に回転すると、マイクロコンピュータ49は、フォーカスリニアセンサ35からの出力をA/D変換部35aにより変換した値に基づいて、選択される画像を順送りする。また、マイクロコンピュータ49は、併せて画像表示制御部58を制御して、各サムネイルに付されたハイライト表示される番号を順送りさせる。
選択する画像を順送りして9枚目の画像信号に対応するサムネイルに至り、9枚目の画像の番号9がハイライト表示された状態において、ユーザがフォーカスリング32を左方向に回転すると、マイクロコンピュータ49は、画像表示制御部58を制御して、液晶モニタLCD上に新たな9個のサムネイルを表示させる。ユーザがフォーカスリング32を左方向に回転し続けると、マイクロコンピュータ49は、選択される画像を順送りする。マイクロコンピュータ49は、併せて画像表示制御部58を制御して、液晶モニタLCD上にサムネイルに付されたハイライト表示する番号を変更させる。
また、ユーザがフォーカスリング32を左方向に大きく回転させ、フォーカスリング32上の文字[0.6]が指標33と一致した場合、マイクロコンピュータ49は、フォーカスリニアセンサ35からの出力をA/D変換部35aにより変換した値に基づいて、37枚目の画像を選択する。マイクロコンピュータ49は、併せて画像表示制御部58を制御して、液晶モニタLCD上に、図11(b)に示す9個のサムネイルを表示させ、サムネイルに付された番号37をハイライト表示させる。
さらに、ユーザがフォーカスリング32を左方向に大きく回転させ、フォーカスリング32上の文字[∞]が指標33と一致した場合、マイクロコンピュータ49は、フォーカスリニアセンサ35からの出力をA/D変換部35aにより変換した値に基づいて、90枚目の画像を選択する。マイクロコンピュータ49は、併せて画像表示制御部58を制御して、液晶モニタLCD上に図11(c)に示す9個のサムネイルを表示させ、最後の90枚目の画像の番号90をハイライト表示させる。
このように、ユーザがフォーカスリング32を左方向に回転することにより、マイクロコンピュータ49は、液晶モニタLCD上にサムネイル表示の表示を伴って所望の画像を選択する。また、ユーザがフォーカスリング32を左方向に回転することにより、マイクロコンピュータ49は、液晶モニタLCD上にサムネイル表示の表示を伴って逆送りに画像を選択する。
以上説明した実施の形態1に係るデジタルカメラは、フォーカスリング32の回転角度に対応して画像1枚ごとに番地を割り当てる例を示したが、これに限られない。図13は、本発明の実施の形態1の変形例に係るデジタルカメラの画像に付された番地を示すテーブルである。
実施の形態1の変形例に係るデジタルカメラは、実施の形態1とは異なり、画像に付す番地を階層ディレクトリのごとく多段に構成している。図13に示すように、予め最上層を画像フォルダとし、画像フォルダ[1]であるA/D変換値[1〜10]番地に、1枚目〜90枚目までの画像を対応させ、画像フォルダ[2]であるA/D変換値[11〜20]番地に、91枚目〜180枚目までの画像を対応させ、以下順次画像フォルダ[90]であるA/D変換値[890〜900]まで、フォルダごとに画像を格納する。また、各画像フォルダ内の画像は、実施の形態1と同様にA/D変換値を割り当て格納しておく。
この状態において、フォーカスリング32上の文字[0.3]が指標33と一致した場合、マイクロコンピュータ49は、フォーカスリニアセンサ35からの出力をA/D変換部35aにより変換した値に基づいて、A/D変換値[1〜10]を特定して画像フォルダ[1]を選択する。マイクロコンピュータ49は、併せて画像表示制御部58を制御して、画像フォルダ[1]から[9]に含まれる9個の各先頭画像のサムネイルを、表示する。
この状態において、ユーザがSETキー74を押すと、マイクロコンピュータ49は、図11(a)に示す1枚目の画像を含む9個のサムネイルを表示する。以下、ユーザが実施の形態1と同様の操作を行うことにより、所望の画像を選択することができる。
以上説明した、実施の形態1の変形例に係るデジタルカメラによれば、格納された枚数が多量になっても、フォーカスリング32のA/D変換値が細かくなって操作性が低下することがない。したがって、ユーザの操作性を更に向上させることができる。
なお、上記説明において画像が90枚の場合について説明したが、画像の枚数は任意であり限られない。画像の枚数が増加した場合、画像1枚あたりのA/D変換値の番地の範囲を小さくすればよい。また、A/D変換器のbit数については、10bitに限るものではない。
なお、実施の形態1に係るデジタルカメラは、フォーカスリング32の回転角度に対応して画像に割り当る番地を撮影順の時系列で付す例を示したが、これに限られない。例えば、フォーカスリング32の回転角度に対応して画像に割り当る番地を画像に付された属性に基づいて付してもよい。画像に付された属性には、GPS等を用いて特定される画像の撮影場所の情報、画像を撮影した撮影者、撮影された期間、撮影対象等が含まれる。実施の形態1の変形例で説明した画像フォルダを、画像の属性に対応させてもよい。
以上説明したように、実施の形態1に係るデジタルカメラは、ユーザがフォーカスリング32を回転させるだけで、ダイレクトに所定の撮影画像を表示させることが可能となる。特に、実施の形態1に係るデジタルカメラは、ユーザが直径の大きなフォーカスリング32を回転させるため、従来の小さな十字操作キー73を順番に押す操作に比べ、操作性に優れ、所望の画像を短時間で検索することが可能となる。また、フォーカスリング32は、レンズ鏡筒に配置された構成であるから、操作部材の配置のために新たなスペースや部品を必要とすることがない。
また、実施の形態1に係るデジタルカメラは、画像を検索する際、画像の順番とフォーカスリング32の回転角度とが一対一で対応するため、容易に所望の画像検索をすることができる。
また、実施の形態1に係るデジタルカメラは、静止画像が撮影された順に所定の番地を割り付けて格納ので、ユーザがフォーカスリング32を回転操作することにより、時系列で画像がスクロールされ、容易に所望の静止画像を特定することができる。
また、実施の形態1の変形例に係るデジタルカメラは、静止画像に付された所定の属性に基づいて所定の番地を割り付けて格納するので、ユーザがフォーカスリング32を回転操作することにより、属性ごとに画像がスクロールされ、容易に所望の静止画像を特定することができる。
(実施の形態2)
次に、本発明の実施の形態2に係るデジタルカメラを説明する。実施の形態2に係るデジタルカメラは、概略構成を実施の形態1に係るデジタルカメラと同じくするので、相違する部分のみを説明する。
実施の形態2に係るデジタルカメラは、動画像の再生にフォーカスリング32を用いる点に特徴を有する。以下、実施の形態2に係るデジタルカメラにおいて、画像を検索して液晶モニタに表示を行う操作について説明する。このデジタルカメラにおいて、ユーザは、2通りの、画像を検索して液晶モニタに表示を行う操作を行うことができる。
はじめに、画像操作キー75及び十字操作キー73を用いた画像の検索について説明する。図14は、本発明の実施の形態2に係るデジタルカメラの画像記録部に含まれるリムーバブルメディアに格納された動画像信号の先頭のキャプチャー画像を液晶モニタLCD上にサムネイル表示した画面である。再生モードにおいて、ユーザが画像操作キー75の上矢印キーを押すと、マイクロコンピュータ49は、画像表示制御部58を制御して、図14に示すように、液晶モニタLCD上に9個の動画像信号の先頭のキャプチャー画像に対応する9個のサムネイルを表示させる。このとき、液晶モニタLCDは、1枚目の動画像信号に対応するサムネイルに付された番号1をハイライト表示する。
この状態で、ユーザがSETボタン74を押すと、マイクロコンピュータ49は、動画像の再生を認識する。図15(a)及び(b)は、本発明の実施の形態2に係るデジタルカメラの画像記録部に含まれるリムーバブルメディアに格納された動画像信号の再生の状態を示す画面である。リムーバブルメディアに格納された動画像信号は、所定のタイミングごとにキャプチャー画像が生成される。実施の形態2の場合、90秒間撮影された動画像を9分割して、動画像のタイムコードを番号(1〜9)に対応させている。したがって、タイムコード1に対して、動画像の先頭のキャプチャー画像が生成される。また、タイムコード9に対して、開始から81秒経過後の動画像のキャプチャー画像が生成される。
図15(a)は、動画像のタイムコード1である先頭のキャプチャー画像に対応する。図15(b)は、動画像のタイムコード9である開始から81秒経過後のキャプチャー画像に対応する。なお、図15(a)及び(b)の画面下方に表示される矢印を含むルーラは、動画像のタイミングを示し、左側から右側にかけて時系列に対応している。動画像の再生を認識すると、マイクロコンピュータ49は、画像表示制御部を制御して、液晶モニタLCD上に図15(a)から(b)に示すように動画像を再生させる。
次に、フォーカスリング32を用いた動画像の検索について説明する。図16は、本発明の実施の形態2に係るデジタルカメラの画像に付された番地を示すテーブルである。動画像については、フォーカスリング32の回転角度に応じて、番地が付されている。
例えば、デジタルカメラ1に90秒間撮影された動画像が保存されている状態において、マイクロコンピュータ49は、動画像のタイムコード(1〜90)に対応する番地をメモリ66に関連付けて保存する。すなわち、動画像のタイムコード1には、[1〜10]番地、タイムコード2には[11〜29]番地を、タイムコード90には[890〜900]番地を割り当てる。
以上の構成において、フォーカスリング32上の文字[0.3]が指標33と一致した場合、マイクロコンピュータ49は、画像表示制御部58を制御して、図15(a)に示す動画像のキャプチャー画像を液晶モニタLCD上に表示させる。さらに、マイクロコンピュータ49は、画像表示制御部58を制御して、図15(a)に示す先頭のキャプチャー画像の位置から動画像の再生を行う。
ユーザがフォーカスリング32を左方向に大きく回転させ、フォーカスリング32の文字[0.6]が指標33と一致した場合、マイクロコンピュータは、画像表示制御部58を制御して、90秒間の動画像の中で、45秒経過後のキャプチャー画像を液晶モニタLCD上に表示させ、その位置から動画像の再生を開始させる。
さらに、ユーザが、フォーカスリング32を左方向に大きく回転させ、フォーカスリング32上の文字[∞]が指標33と一致したとき場合は、マイクロコンピュータ49は、画像表示制御部58を制御して、図15(b)に示す動画像のキャプチャー画像を液晶モニタLCD上に表示させる。さらに、マイクロコンピュータ49は、画像表示制御部58を制御して、図15(b)に示す開始から72秒経過後のキャプチャー画像の位置から動画像の再生を行う。
以上説明したように、実施の形態2に係るデジタルカメラは、フォーカスリング32を回転させるだけで、ダイレクトに所定の場面の動画像を再生させることが可能となる。特に、実施の形態2に係るデジタルカメラは、ユーザが直径の大きなフォーカスリング32を回転させるため、従来の小さな十字操作キー73を順番に押す操作に比べ、操作性に優れている。また、フォーカスリング32は、レンズ鏡筒に配置された構成であるから、操作部材の配置のために新たなスペースや部品を必要とすることがない。
また、実施の形態2に係るデジタルカメラは、画像を検索する際、動画像のタイミングとフォーカスリング32の回転角度とが一対一で対応するため、容易に所望の動画像の検索をすることができる。
(実施の形態3)
以上説明した各実施の形態は、含まれる構成要素がすべて一体的に配置されるカメラに適用した例であったが、本発明はこれらに限定されるものではない。例えば、本発明は、監視カメラシステムやWebカメラのように、撮影光学系を保持するレンズ鏡筒と撮像センサとを含む撮像装置と、この撮像装置を制御する制御装置とが別々に構成されるシステムに対しても適用することができる。
上記のシステムに適用する場合、各実施の形態で説明したマイクロコンピュータに対応する制御部、画像記憶部、液晶モニタ等は、制御装置側に含まれる。したがって、上記のシステムにおいて、レンズ鏡筒に設けられたフォーカスリングの回転角度を検出するフォーカスリニアセンサからの出力を制御装置側の制御部へ入力させ、制御装置側で画像の選択を行う構成にすればよい。この場合も同様の効果を奏することができる。
また別の例として、一眼レフレックスカメラシステムのように、撮影光学系を保持するレンズ鏡筒と、撮像センサを含むカメラ本体とが別々に構成されるシステムに対しても適用することができる。
上記のシステムに適用する場合、各実施の形態で説明したマイクロコンピュータに対応する制御部、画像記憶部、液晶モニタ等は、カメラ本体に含まれる。したがって、上記のシステムにおいて、レンズ鏡筒に設けられた絞りリングの回転角度を検出する絞りリニアセンサからの出力をカメラ本体のマイクロコンピュータ等の制御部へ入力させ、カメラ本体側で画像の選択を行う構成にとすればよい。この場合も同様の効果を奏することができる。
(その他の実施の形態)
なお、以上説明した各発明の実施の形態は、その内容に具体的な態様に限られず、適宜変更することが可能である。
例えば、各実施の形態においては、フォーカスリングの絶対角度検出をする際に、摺動子を持つリニアセンサを用いたが、接点ブラシと導電パターンを用いたリニアセンサとしてもよい。また、リニアセンサの代わりに、回転量を検出するロータリエンコーダを用いてもよい。
また、各実施の形態においては、フォーカスリングにより操作について説明したが、絞りリングに、その機能を割り当てもよい。
また、各実施の形態においては、ズームリングは手動による回転操作する例を示したが、ズームリングに、実施の形態のフォーカスリングと同様の構成を用いて、モータにより駆動されるパワーズームとしてもよい。
また、各実施の形態においては、フォーカスリング32の絶対的な回転角度に応じて画像に番地を付していたが、これに限られない。例えば、レンズ鏡筒をフォーカスリング32の無限回転を許容する構成にし、ユーザによるレンズ鏡筒の操作のたびに信号をリセットして、常にリセット位置からの相対的な回転角度を検出するようにしてもよい。
本発明は、撮影/再生モードの設定メニューの操作性に優れたカメラを提供することができる。また、本発明のレンズ鏡筒および撮像装置を、携帯電話端末やPDA(Personal Digital Assist)などのモバイル機器に適用することにより、これらの機器に、操作性がよいデジタルカメラを提供することができる。
本発明の実施の形態1に係るデジタルカメラの上面図 本発明の実施の形態1に係るデジタルカメラの背面図 (a)は、本発明の実施の形態1に係るフォーカスリングの外周面の展開図、(b)は、本発明の実施の形態1に係るフォーカスリングの内周面の展開図 本発明の実施の形態1に係るレンズ鏡筒の断面図 本発明の実施の形態1に係るフォーカスリングとフォーカスリニアセンサの結合を示す断面図 (a)は、本発明の実施の形態1のレンズ鏡筒のフォーカスリニアセンサの回路図、(b)は、本発明の実施の形態1のレンズ鏡筒のフォーカスリニアセンサの出力を表すグラフ 本発明の実施の形態1に係るフォーカスリングの回転角度と絞りリニアセンサの出力値の関係を示すグラフ (a)は、本発明の実施の形態1に係るフォーカスリングが第1の停止位置にある場合の略断面図、(b)は、本発明の実施の形態1に係るフォーカスリングが第1の停止位置と第2の停止位置との間にある場合の略断面図、(c)は、本発明の実施の形態1に係るフォーカスリングが第2の停止位置にある場合の略断面図 本発明の実施の形態1に係る絞りリングの外周面の展開図 本発明の実施の形態1に係るデジタルカメラの制御システムを示すブロック図 本発明の実施の形態1に係るデジタルカメラの画像記録部に含まれるリムーバブルメディアに格納された静止画像信号を液晶モニタLCD上にサムネイル表示した画面 本発明の実施の形態1に係るデジタルカメラの画像に付された番地を示すテーブル 本発明の実施の形態1の変形例に係るデジタルカメラの画像に付された番地を示すテーブル 本発明の実施の形態2に係るデジタルカメラの画像記録部に含まれるリムーバブルメディアに格納された動画像信号の先頭のキャプチャー画像を液晶モニタLCD上にサムネイル表示した画面 本発明の実施の形態2に係るデジタルカメラの画像記録部に含まれるリムーバブルメディアに格納された動画像信号の再生の状態を示す画面 本発明の実施の形態2に係るデジタルカメラの画像に付された番地を示すテーブル
符号の説明
BD 本体
TL 撮像装置
L 撮影光学系
1 デジタルカメラ
2 レンズユニット
22 絞りユニット
26 ズームリング
29 フィルタマウント
32 フォーカスリング
33 指標
36 リング固定枠
40 絞りリング
41 絞りリニアセンサ
42 絞りリングのカム溝
43 絞りモード切り替えボタン
46 レンズ鏡筒
49 マイクロコンピュータ
60 ズーム制御部
61 フォーカス制御部
62 絞り制御部
63 シャッターボタン
64 シャッタースピード設定ダイヤル
65 シャッター制御部
70 電源ボタン
71 撮影/再生モード切り替えレバー
72 MENUボタン
73 十字操作キー
74 SETボタン
75 画面操作キー

Claims (9)

  1. 予め生成された電気的な画像信号を可視画像として再生可能なカメラであって、
    被写体の光学的な像を形成する撮影光学系を保持するレンズ鏡筒を含む撮像装置と、
    予め生成された前記電気的な画像信号を格納する記憶手段と、
    前記記憶手段に格納された前記電気的な画像信号を可視画像として表示する表示手段と、
    制御手段とを備え、
    前記レンズ鏡筒は、
    前記撮影光学系の光軸に同軸の円筒状であり、ユーザにより手動で回転操作が可能である第1の操作部材と、
    前記第1の操作部材の回転角度に応じた信号を出力する回転角度検知手段とを含み、
    前記制御手段は、前記回転角度検知手段から出力される信号に基づいて、前記記憶手段に格納された前記電気的な画像信号から前記表示手段に表示すべき前記電気的な画像信号を特定する、カメラ。
  2. 前記記憶手段は、前記回転角度検知手段から出力される信号に対応する所定の番地を割り付けられた複数の静止画像に対応する前記電気的な画像信号を格納しており、
    前記制御手段は、前記回転角度検知手段から出力される信号に対応する前記番地に基づいて、前記記憶手段に格納されている前記電気的な画像信号から表示すべき静止画像に対応する前記電気的な画像信号を特定する、請求項1に記載のカメラ。
  3. 前記記憶手段は、前記電気的な画像信号を格納する際に、前記静止画像が撮影された順に所定の番地を割り付けて格納する、請求項2に記載のカメラ。
  4. 前記記憶手段は、前記電気的な画像信号を格納する際に、前記静止画像に付された所定の属性に基づいて所定の番地を割り付けて格納する、請求項2に記載のカメラ。
  5. 前記記憶手段は、前記回転角度検知手段から出力される信号に対応する所定のタイムコードを割り付けられた動画像に対応する前記電気的な画像信号を格納しており、
    前記制御手段は、前記回転角度検知手段から出力される信号に対応する前記タイムコードに基づいて、前記記憶手段に格納されている前記電気的な画像信号から表示すべき動画像のタイミングを特定する、請求項1に記載のカメラ。
  6. 前記制御手段は、新たな画像の撮影に際し、前記第1の操作部材の操作により、前記撮影光学系の焦点距離と、前記撮影光学系の絞り値と、前記撮影光学系の物体距離との内のいずれか一つを変更する、請求項1に記載のカメラ。
  7. 予め生成された電気的な画像信号を可視画像として再生可能な制御装置に接続して用いられる撮像装置であって、
    前記被写体の光学的な像を形成する撮影光学系と、
    前記撮影光学系の光軸に同軸の円筒状であり、ユーザにより手動で回転操作が可能である第1の操作部材と、
    前記第1の操作部材の回転角度に応じた信号を出力する回転角度検知手段とを含み、
    前記制御装置は、
    予め生成された前記電気的な画像信号を格納する記憶手段と、
    前記記憶手段に格納された前記電気的な画像信号を可視画像として表示する表示手段と、
    前記回転角度検知手段から出力される信号に基づいて、前記記憶手段に格納された前記電気的な画像信号から前記表示手段に表示すべき前記電気的な画像信号を特定する制御手段とを備える、撮像装置。
  8. 予め生成された電気的な画像信号を可視画像として再生するための再生可能なカメラ本体に接続されるレンズ鏡筒であって、
    被写体の光学的な像を形成する撮影光学系と、
    前記撮影光学系の光軸に同軸の円筒状であり、ユーザにより手動で回転操作が可能である第1の操作部材と、
    前記第1の操作部材の回転角度に応じた信号を出力する回転角度検知手段とを備え、
    前記カメラ本体は、
    予め生成された前記電気的な画像信号を格納する記憶手段と、
    前記記憶手段に格納された前記電気的な画像信号を可視画像として表示する表示手段と、
    外部から入力される信号に基づいて制御される制御手段とを備え、
    前記回転角度検知手段からの出力を、前記制御手段に入力させることにより、前記記憶手段に格納された前記電気的な画像信号から前記表示手段に表示すべき前記電気的な画像信号を特定させる、レンズ鏡筒。
  9. レンズ鏡筒に接続して用いられ、予め生成された電気的な画像信号を可視画像として再生するための再生可能なカメラ本体であって、
    予め生成された前記電気的な画像信号を格納する記憶手段と、
    前記記憶手段に格納された前記電気的な画像信号を可視画像として表示する表示手段と、
    制御手段とを備え、
    前記レンズ鏡筒は、
    被写体の光学的な像を形成する撮影光学系と、
    前記撮影光学系の光軸に同軸の円筒状であり、ユーザにより手動で回転操作が可能である第1の操作部材と、
    前記第1の操作部材の回転角度に応じた信号を出力する回転角度検知手段とを備え、
    前記制御手段は、前記回転角度検知手段から出力される信号に基づいて、前記記憶手段に格納された前記電気的な画像信号から前記表示手段に表示すべき前記電気的な画像信号を特定する、カメラ本体。
JP2004105050A 2004-03-31 2004-03-31 カメラ、撮像装置、レンズ鏡筒及びカメラ本体 Pending JP2005295056A (ja)

Priority Applications (1)

Application Number Priority Date Filing Date Title
JP2004105050A JP2005295056A (ja) 2004-03-31 2004-03-31 カメラ、撮像装置、レンズ鏡筒及びカメラ本体

Applications Claiming Priority (1)

Application Number Priority Date Filing Date Title
JP2004105050A JP2005295056A (ja) 2004-03-31 2004-03-31 カメラ、撮像装置、レンズ鏡筒及びカメラ本体

Related Child Applications (2)

Application Number Title Priority Date Filing Date
JP2007074903A Division JP4339370B2 (ja) 2007-03-22 2007-03-22 カメラ、撮像装置、レンズ鏡筒及びカメラ本体
JP2009112896A Division JP5049313B2 (ja) 2009-05-07 2009-05-07 カメラ

Publications (2)

Publication Number Publication Date
JP2005295056A true JP2005295056A (ja) 2005-10-20
JP2005295056A5 JP2005295056A5 (ja) 2007-05-17

Family

ID=35327532

Family Applications (1)

Application Number Title Priority Date Filing Date
JP2004105050A Pending JP2005295056A (ja) 2004-03-31 2004-03-31 カメラ、撮像装置、レンズ鏡筒及びカメラ本体

Country Status (1)

Country Link
JP (1) JP2005295056A (ja)

Cited By (1)

* Cited by examiner, † Cited by third party
Publication number Priority date Publication date Assignee Title
JP2014039125A (ja) * 2012-08-14 2014-02-27 Canon Inc 画像処理装置、画像処理装置を具備する撮像装置、画像処理方法、及びプログラム

Cited By (1)

* Cited by examiner, † Cited by third party
Publication number Priority date Publication date Assignee Title
JP2014039125A (ja) * 2012-08-14 2014-02-27 Canon Inc 画像処理装置、画像処理装置を具備する撮像装置、画像処理方法、及びプログラム

Similar Documents

Publication Publication Date Title
JP6302564B2 (ja) 動画編集装置、動画編集方法及び動画編集プログラム
US20090083668A1 (en) Imaging apparatus and method for controlling the same
JP2001346075A (ja) 画質選択方法及びデジタルカメラ
US7526195B2 (en) Digital photographing apparatus having two display panels, and method of controlling the same
KR101086409B1 (ko) 사용자 설정 연사모드 촬영을 위한 디지털 영상 처리장치제어방법 및 그 장치
KR101058025B1 (ko) 이중 썸네일 모드를 이용한 이미지 디스플레이 장치 및 방법
CN101317449B (zh) 成像装置,显示控制装置,显示装置,以及图像显示系统
JP4277592B2 (ja) 情報処理装置、撮像装置およびコンテンツ選択方法
JP2005229291A (ja) 画像記録装置及び撮像装置並びに画像ファイル保存方法
JP2005292325A (ja) カメラ、撮像装置、レンズ鏡筒及びカメラ本体
JP4339370B2 (ja) カメラ、撮像装置、レンズ鏡筒及びカメラ本体
JP5049313B2 (ja) カメラ
CN100417194C (zh) 拍摄装置的模式选择开关
JP4656240B2 (ja) 情報処理装置およびコンテンツ選択方法
KR101080404B1 (ko) 동영상을 정지 영상화하여 트리밍 하는 방법
JP2005295056A (ja) カメラ、撮像装置、レンズ鏡筒及びカメラ本体
JP3913046B2 (ja) 撮像装置
JP2002344802A (ja) カメラ及びそのモード切換方法
JP2009088688A (ja) 撮像装置及びその撮像方法並びにその設定切替方法
JP4751715B2 (ja) 撮像装置
KR101156683B1 (ko) 디지털 이미지 처리장치의 분할촬영 방법
JP5034969B2 (ja) 撮像装置、撮像方法、及びプログラム
JP2006260086A (ja) 電子ファイル表示装置、電子ファイル表示方法、およびその方法をコンピュータに実行させるプログラム
JP2006191232A (ja) 撮像装置
JP2012029119A (ja) 表示制御装置、カメラ、および、表示装置

Legal Events

Date Code Title Description
A521 Request for written amendment filed

Free format text: JAPANESE INTERMEDIATE CODE: A523

Effective date: 20070326

A621 Written request for application examination

Free format text: JAPANESE INTERMEDIATE CODE: A621

Effective date: 20070326

A131 Notification of reasons for refusal

Free format text: JAPANESE INTERMEDIATE CODE: A131

Effective date: 20090312

A521 Request for written amendment filed

Free format text: JAPANESE INTERMEDIATE CODE: A523

Effective date: 20090508

A02 Decision of refusal

Free format text: JAPANESE INTERMEDIATE CODE: A02

Effective date: 20090609