JP2005295002A - アンテナ装置および移動通信端末装置 - Google Patents

アンテナ装置および移動通信端末装置 Download PDF

Info

Publication number
JP2005295002A
JP2005295002A JP2004104118A JP2004104118A JP2005295002A JP 2005295002 A JP2005295002 A JP 2005295002A JP 2004104118 A JP2004104118 A JP 2004104118A JP 2004104118 A JP2004104118 A JP 2004104118A JP 2005295002 A JP2005295002 A JP 2005295002A
Authority
JP
Japan
Prior art keywords
antenna
power
feeding
antenna device
phase shifter
Prior art date
Legal status (The legal status is an assumption and is not a legal conclusion. Google has not performed a legal analysis and makes no representation as to the accuracy of the status listed.)
Pending
Application number
JP2004104118A
Other languages
English (en)
Inventor
Kunio Sawatani
邦男 澤谷
Tsutomu Chin
強 陳
Yasufumi Komukai
康文 小向
Current Assignee (The listed assignees may be inaccurate. Google has not performed a legal analysis and makes no representation or warranty as to the accuracy of the list.)
Intelligent Cosmos Research Institute
Panasonic Holdings Corp
Original Assignee
Intelligent Cosmos Research Institute
Matsushita Electric Industrial Co Ltd
Priority date (The priority date is an assumption and is not a legal conclusion. Google has not performed a legal analysis and makes no representation as to the accuracy of the date listed.)
Filing date
Publication date
Application filed by Intelligent Cosmos Research Institute, Matsushita Electric Industrial Co Ltd filed Critical Intelligent Cosmos Research Institute
Priority to JP2004104118A priority Critical patent/JP2005295002A/ja
Publication of JP2005295002A publication Critical patent/JP2005295002A/ja
Pending legal-status Critical Current

Links

Images

Landscapes

  • Variable-Direction Aerials And Aerial Arrays (AREA)

Abstract

【課題】 送信時において電力分配器および位相器を使用せずに人体近傍の電磁界分布を変化させ、SARを低減する。
【解決手段】 アンテナ装置は、給電素子2および無給電素子4を備え、給電素子2は給電装置3に接続され、この給電装置3を介して携帯端末用有限地板1に接続されている。また、無給電素子4は給電素子2と一定の間隔を置いて両側に2つ配置され、この無給電素子4をそれぞれ携帯端末用有限地板1に接地された可変リアクタンス素子5に接続するように構成されている。可変リアクタンス素子5におけるリアクタンスの定数により、給電素子2と無給電素子4との相互インピーダンスが変化し、これに伴い近傍の電磁界も変化する。
【選択図】 図1

Description

本発明は、移動通信端末装置などに用いるアンテナ装置に関する。
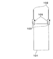
従来、移動体通信端末に使用するアンテナ装置として、図6に示すように、2つのアンテナ素子102を設けて位相器109を介して給電装置103に接続することでこれらのアンテナ素子102にそれぞれ逆相に給電し、この給電装置103を介して有限地板101に接地した構成したものが知られている(例えば、特許文献1、2参照)。このアンテナ装置によれば、2素子のアンテナ間の位相差を任意に調整することができ、アンテナの指向性を人体に向けないようにして、人体頭部近傍電磁界を減少させ、比吸収率(SAR:Specific Absorption Rate)を低減することができる。
特開2002−152115公報(図1、図2) 特開2002−152116公報(図1、図2)
しかしながら、特許文献1、2に記載のアンテナ装置は、2素子のアンテナに同時に給電する際に電力分配器および位相器を使用しており、特に高周波数帯域において電力分配器および位相器の損失が大きく送信電力レベルが劣化するという問題があった。
本発明は、このような従来の問題を解決するためになされたものであり、送信時において電力分配器および位相器を使用することなくSARを低減することができるアンテナ装置および移動通信端末装置を提供することを目的とするものである。
本発明のアンテナ装置は、給電装置およびこの給電装置を介して携帯端末用有限地板に接続した給電素子と、前記給電素子と所定の間隔を有して配置した無給電素子と、前記携帯端末用有限地板と前記無給電素子とを可変リアクタンス素子によって接続する構成を有する。
この構成により、電力分配器および位相器を使用することなく可変リアクタンスによって人体近傍等の電磁界分布を変化させることができる。
また、本発明のアンテナ装置は、給電装置と、前記給電装置からの電力を分配する電力分配器と、前記電力分配器の複数の出力にそれぞれ接続された電力制御装置と、前記電力制御装置の出力にそれぞれ接続された位相器と、前記位相器の一つに接続され前記給電装置を介して携帯端末用有限地板に接続された給電素子と、前記給電素子と所定の間隔を有して配置されたアンテナ素子と、前記携帯端末用有限地板に接続されたリアクタンス素子と、前記アンテナ素子を前記位相器または前記リアクタンス素子に切り替えて接続するスイッチとを有し、前記スイッチは送信時には前記アンテナ素子を前記リアクタンス素子に接続し、受信時には前記アンテナ素子を前記位相器に接続する構成を有する。
この構成により、送信時には電力分配器および位相器を使用せずに人体近傍等の電磁界分布を変化させることができ、受信時には給電電力と位相の制御により、任意の方向にアンテナ装置の指向性を向け、干渉波を除去することが可能になり、受信感度を改善できる。
また、本発明のアンテナ装置は、上記いずれかのアンテナ装置を複数有し、これらのアンテナ装置はそれぞれ独立した任意の偏波を送受信するものであることを特徴とする。
この構成により、例えば垂直偏波と水平偏波など、複数の偏波が送受信可能になる。
また、本発明のアンテナ装置は、前記複数のアンテナ装置を切り替えるスイッチを有し、前記スイッチを切り替えることによりダイバーシティ送受信を行うことを特徴とする。
この構成により、偏波ダイバーシティ送受信が可能となり、受信感度を改善することができる。
また。本発明の移動通信端末装置は、上記いずれかのアンテナ装置が搭載されている構成を有する。
この構成により、SARが低く、受信感度の良い移動通信端末を提供することができる。
本発明によれば、送信時において電力分配器および位相器を使用することなくSARを低減することができる。
以下、本発明の実施の形態について図面を用いて説明する。
(第1の実施の形態)
図1は、本発明の第1の実施の形態におけるアンテナ装置の概略図である。
本発明の第1の実施の形態におけるアンテナ装置は、図1に示すように、給電素子2および無給電素子4を備え、給電素子2は給電装置3に接続され、この給電装置3を介して携帯端末用有限地板1に接続されている。また、無給電素子4は給電素子2と一定の間隔を置いて両側に2つ配置され、この無給電素子4をそれぞれ携帯端末用有限地板1に接地された可変リアクタンス素子5に接続するように構成されている。
上記構成において、可変リアクタンス素子5における可変リアクタンスの定数により、給電素子2と無給電素子4との相互インピーダンスが変化し、これに伴い近傍の電磁界も変化する。このアンテナ装置の近傍に人体が位置する場合、人体近傍において、あるリアクタンス定数を決定することにより人体方向に影響の少ない近傍電磁界を形成することができる。図2(a),(b)にリアクタンス定数を変化させたときのアンテナ装置の代表的な指向性パターンを示す。x方向を人体方向とした場合、図2(a)に示すリアクタンス定数αの場合は人体方向に大きく放射しているのに対し、図2(b)に示すリアクタンス定数βの場合は人体方向に極めて弱い放射(null)が得られている。
このように、本実施の形態におけるアンテナ装置によれば、人体近傍の電磁界分布を可変リアクタンスにより変えることができ、人体近傍のSARを低減することができる。
また、分配器および位相器が不要であるため、分配器および位相器の損失を無くすることができ、分配器および位相器を使用した同時給電の場合と比較して送信電力レベルを改善することができる。
なお、本実施の形態では、無給電素子を2素子としているが、無給電素子を1素子または3素子以上としても良く、このようにすれば、より多くの状況に対応してSARを低減することができる。
(第2の実施の形態)
図3は、本発明の第2の実施の形態におけるアンテナ装置の概略図である。
本発明の第2の実施の形態におけるアンテナ装置は、図3に示すように、給電素子2とアンテナ素子6が一定の間隔を置いて配置され、これらの給電素子2およびアンテナ素子6を給電回路7に接続されている。また、給電素子2は給電回路7を介して給電装置3に接続され、さらに給電装置3を介して携帯端末用有限地板1に接続されている。また、アンテナ素子6は給電回路7を介して携帯端末用有限地板1に接続されている。
図4に給電回路7の内部構造を示す。給電回路7は、給電素子2およびアンテナ素子6にそれぞれ接続される位相器9と、これらの位相器9にそれぞれ接続される振幅制御装置10と、これらの振幅制御装置10に給電装置3からの電力を分配する電力分配/合成器11と、携帯端末用有限地板1に接続されるリアクタンス素子12と、アンテナ素子6を位相器9またはリアクタンス素子12に切り替えて接続するスイッチ素子8とを有している。
この給電回路7において、受信の場合は、スイッチ素子8を位相器9側に切り替えて、位相器9と振幅制御装置10により給電素子2とアンテナ素子6に任意の重みを持たせる。なお、給電装置3から給電回路7への入出力は電力分配/合成器11によって行う。また、送信の場合はスイッチ素子8をリアクタンス素子12側に切り替えて、リアクタンス素子12の他端は携帯端末用有限地板1に接続する。リアクタンス素子12は、第1の実施の形態と同様に、あらかじめ人体近傍電磁界および人体方向の指向性が弱くなるような定数としておく。
このように、本実施の形態におけるアンテナ装置によれば、送信時はリアクタンス素子により人体近傍の電磁界分布を弱くすることでSARを低減させることができ、受信時は振幅制御装置と位相器により指向性を任意に変更することにより干渉波成分を除去し、所望波方向に強い指向性を向けることにより、受信感度の良いアンテナ装置を提供することができる。
なお、本実施の形態では、給電素子を1本、アンテナ素子を2本としているが、それぞれの素子の本数はそれ以上で良く、このようにすれば、干渉波除去能力がさらに高まり、受信感度を改善することができる。
(第3の実施の形態)
図5は、本発明の第3の実施の形態におけるアンテナ装置の概略図である。
本発明の第3の実施の形態におけるアンテナ装置は、図5に示すように、垂直偏波が送受信可能なアンテナ装置13と、水平偏波が送受信可能なアンテナ装置14とを備え、これらのアンテナ装置13、14がスイッチ素子8を介して給電装置3、携帯端末用有限地板1に接続されている。アンテナ装置13、14は、上記第1および第2の実施の形態にて説明したいずれかの構成を有している。スイッチ素子8は、アンテナ装置13とアンテナ装置14のいずれかを給電装置3に接続するように接続を切り替えることにより、ダイバーシティ送受信を行うものである。
このように、本実施の形態におけるアンテナ装置によれば、垂直および水平両偏波を送受信することができ、偏波ダイバーシティ効果により、より高い受信感度を得ることができる。
なお、本実施の形態におけるアンテナ装置では、垂直偏波および水平偏波を受信できるアンテナ装置としているが、その他の偏波を受信できるアンテナ装置を使用しても良く、このようにすれば、様々な環境において受信感度の高いアンテナ装置を提供することができる。
なお、本実施の形態におけるアンテナ装置では、アンテナ装置を2つとしているが、3つ以上でも良く、このようにすればより高感度な偏波ダイバーシティ受信が可能となり、受信感度が向上する。
本発明は、送信時において電力分配器および位相器を使用することなくSARを低減することができ、高周波数帯域を使用するアンテナ装置およびこれを備えた移動通信端末装置などに有用である。
本発明の第1の実施の形態におけるアンテナ装置の概略図 本発明の第1の実施の形態におけるアンテナ装置の指向性パターンを示す図 本発明の第2の実施の形態におけるアンテナ装置の概略図 本発明の第2の実施の形態における給電回路の概略図 本発明の第3の実施の形態におけるアンテナ装置の概略図 従来のアンテナ装置の構成例の概略図
符号の説明
1 携帯端末用有限地板
2 給電素子
3 給電装置
4 無給電素子
5 可変リアクタンス素子
6 アンテナ素子
7 給電回路
8 スイッチ素子
9 位相器
10 振幅制御装置
11 電力分配/合成器
12 リアクタンス素子
13 垂直偏波を受信するアンテナ装置
14 水平偏波を受信するアンテナ装置

Claims (5)

  1. 給電装置およびこの給電装置を介して携帯端末用有限地板に接続した給電素子と、前記給電素子と所定の間隔を有して配置した無給電素子と、前記携帯端末用有限地板と前記無給電素子とを可変リアクタンス素子によって接続する構成を有するアンテナ装置。
  2. 給電装置と、前記給電装置からの電力を分配する電力分配器と、前記電力分配器の複数の出力にそれぞれ接続された電力制御装置と、前記電力制御装置の出力にそれぞれ接続された位相器と、前記位相器の一つに接続され前記給電装置を介して携帯端末用有限地板に接続された給電素子と、前記給電素子と所定の間隔を有して配置されたアンテナ素子と、前記携帯端末用有限地板に接続されたリアクタンス素子と、前記アンテナ素子を前記位相器または前記リアクタンス素子に切り替えて接続するスイッチとを有し、前記スイッチは送信時には前記アンテナ素子を前記リアクタンス素子に接続し、受信時には前記アンテナ素子を前記位相器に接続することを特徴としたアンテナ装置。
  3. 請求項1または2に記載のアンテナ装置を複数有し、これらのアンテナ装置はそれぞれ独立した任意の偏波を送受信するものであることを特徴としたアンテナ装置。
  4. 請求項3記載のアンテナ装置であって、前記複数のアンテナ装置を切り替えるスイッチを有し、前記スイッチを切り替えることによりダイバーシティ送受信を行うことを特徴としたアンテナ装置。
  5. 請求項1〜4のいずれかに記載のアンテナ装置が搭載されていることを特徴とする移動通信端末装置。
JP2004104118A 2004-03-31 2004-03-31 アンテナ装置および移動通信端末装置 Pending JP2005295002A (ja)

Priority Applications (1)

Application Number Priority Date Filing Date Title
JP2004104118A JP2005295002A (ja) 2004-03-31 2004-03-31 アンテナ装置および移動通信端末装置

Applications Claiming Priority (1)

Application Number Priority Date Filing Date Title
JP2004104118A JP2005295002A (ja) 2004-03-31 2004-03-31 アンテナ装置および移動通信端末装置

Publications (1)

Publication Number Publication Date
JP2005295002A true JP2005295002A (ja) 2005-10-20

Family

ID=35327488

Family Applications (1)

Application Number Title Priority Date Filing Date
JP2004104118A Pending JP2005295002A (ja) 2004-03-31 2004-03-31 アンテナ装置および移動通信端末装置

Country Status (1)

Country Link
JP (1) JP2005295002A (ja)

Cited By (5)

* Cited by examiner, † Cited by third party
Publication number Priority date Publication date Assignee Title
US7528783B2 (en) 2007-01-15 2009-05-05 Panasonic Corporation Antenna
CN102157778A (zh) * 2011-01-24 2011-08-17 中兴通讯股份有限公司 实现sar控制的方法和装置
JP2012169814A (ja) * 2011-02-14 2012-09-06 Sony Corp アンテナ装置並びに通信装置
WO2018123345A1 (ja) * 2016-12-27 2018-07-05 株式会社村田製作所 アンテナ装置
CN110875516A (zh) * 2018-08-30 2020-03-10 联想(新加坡)私人有限公司 天线装置以及电子设备

Cited By (10)

* Cited by examiner, † Cited by third party
Publication number Priority date Publication date Assignee Title
US7528783B2 (en) 2007-01-15 2009-05-05 Panasonic Corporation Antenna
CN102157778A (zh) * 2011-01-24 2011-08-17 中兴通讯股份有限公司 实现sar控制的方法和装置
CN102157778B (zh) * 2011-01-24 2015-04-01 中兴通讯股份有限公司 实现sar控制的方法和装置
US9559415B2 (en) 2011-01-24 2017-01-31 Zte Corporation Method and device for realizing specific absorption rate (SAR) control
JP2012169814A (ja) * 2011-02-14 2012-09-06 Sony Corp アンテナ装置並びに通信装置
WO2018123345A1 (ja) * 2016-12-27 2018-07-05 株式会社村田製作所 アンテナ装置
JPWO2018123345A1 (ja) * 2016-12-27 2019-07-11 株式会社村田製作所 アンテナ装置
CN110121815A (zh) * 2016-12-27 2019-08-13 株式会社村田制作所 天线装置
CN110875516A (zh) * 2018-08-30 2020-03-10 联想(新加坡)私人有限公司 天线装置以及电子设备
US11081779B2 (en) 2018-08-30 2021-08-03 Lenovo (Singapore) Pte Ltd Electronic device having an antenna

Similar Documents

Publication Publication Date Title
US11239572B2 (en) Beam-steering reconfigurable antenna arrays
JP6384550B2 (ja) 無線通信モジュール
US20100007573A1 (en) Multibeam antenna
US9799954B2 (en) Apparatus with multi-directional radiation capability using multiple antenna elements
MXPA04005899A (es) Sistema de antenas.
US11196160B2 (en) Dual-polarized retrodirective array and multi-frequency antenna element
KR101988382B1 (ko) 안테나 장치 및 그를 구비하는 전자 기기
WO2012118619A2 (en) Tracking system with orthogonal polarizations and a retro-directive array
US20150333408A1 (en) Antenna device and wireless transmission device
EP1657831A1 (en) Antenna and receiver apparatus using the same
JP2015179950A (ja) アンテナ装置
JP2005295002A (ja) アンテナ装置および移動通信端末装置
JP2009118494A (ja) 無線中継装置
JP6100075B2 (ja) アレイアンテナおよび無線通信装置
US11158945B2 (en) Phased array antenna apparatus and control method therefor
US20230344129A1 (en) Antenna system and electronic device
US20190237880A1 (en) Antenna system and antenna module
JPH03254207A (ja) アンテナ装置
KR20180090715A (ko) 상호 커플링 기반의 편파 안테나를 이용한 전이중 방식 송수신 장치 및 동작 방법 그리고 안테나
KR101974156B1 (ko) 송신 배열 안테나 장치, 이를 구비하는 무선 전력 전송 시스템 및 그의 역지향성 빔포밍 방법
JP2008017384A (ja) アンテナ装置
JP2017085513A (ja) アンテナ装置
JP2000138528A (ja) アンテナ装置
JP2005045346A (ja) 平面アンテナ及びこれを用いた無線装置
JP4685879B2 (ja) 携帯電話網における無線基地局の改善されたアンテナ

Legal Events

Date Code Title Description
RD04 Notification of resignation of power of attorney

Free format text: JAPANESE INTERMEDIATE CODE: A7424

Effective date: 20060424