JP2005292693A - ボイスレコーダ - Google Patents
ボイスレコーダ Download PDFInfo
- Publication number
- JP2005292693A JP2005292693A JP2004110935A JP2004110935A JP2005292693A JP 2005292693 A JP2005292693 A JP 2005292693A JP 2004110935 A JP2004110935 A JP 2004110935A JP 2004110935 A JP2004110935 A JP 2004110935A JP 2005292693 A JP2005292693 A JP 2005292693A
- Authority
- JP
- Japan
- Prior art keywords
- voice
- voice recognition
- remote control
- instruction content
- code
- Prior art date
- Legal status (The legal status is an assumption and is not a legal conclusion. Google has not performed a legal analysis and makes no representation as to the accuracy of the status listed.)
- Pending
Links
- 230000005540 biological transmission Effects 0.000 claims abstract description 50
- 238000006243 chemical reaction Methods 0.000 claims abstract description 26
- 230000005236 sound signal Effects 0.000 claims description 46
- 238000003860 storage Methods 0.000 claims description 18
- 230000001939 inductive effect Effects 0.000 abstract 1
- 230000006870 function Effects 0.000 description 11
- 238000004458 analytical method Methods 0.000 description 9
- 238000000034 method Methods 0.000 description 9
- 238000005516 engineering process Methods 0.000 description 4
- 238000007796 conventional method Methods 0.000 description 3
- 230000010365 information processing Effects 0.000 description 3
- 230000003321 amplification Effects 0.000 description 2
- 238000010586 diagram Methods 0.000 description 2
- 238000003199 nucleic acid amplification method Methods 0.000 description 2
- 230000004397 blinking Effects 0.000 description 1
- 239000000284 extract Substances 0.000 description 1
- 238000004519 manufacturing process Methods 0.000 description 1
- 238000003825 pressing Methods 0.000 description 1
- 230000008929 regeneration Effects 0.000 description 1
- 238000011069 regeneration method Methods 0.000 description 1
- 230000008054 signal transmission Effects 0.000 description 1
Images
Abstract
【課題】ハードウエアの大幅な増加を招くことなく、音声入力によってリモートコントロールを行う。
【解決手段】マイク1に入力された音声を音声信号記録メモリ3に記録するとともに、音声信号記録メモリ3に記録した音声を再生する構成に適用しており、音声信号記録メモリ3に記録されたデジタル音声信号の音声認識を行うことにより、マイク1に入力された音声により示される指示内容を音声認識する音声認識手段11と、音声認識された指示内容を制御コードに変換するコード変換手段22と、コード変換手段22において変換された制御コードをリモコン信号として送信する送信手段15とを備えている。
【選択図】 図1
【解決手段】マイク1に入力された音声を音声信号記録メモリ3に記録するとともに、音声信号記録メモリ3に記録した音声を再生する構成に適用しており、音声信号記録メモリ3に記録されたデジタル音声信号の音声認識を行うことにより、マイク1に入力された音声により示される指示内容を音声認識する音声認識手段11と、音声認識された指示内容を制御コードに変換するコード変換手段22と、コード変換手段22において変換された制御コードをリモコン信号として送信する送信手段15とを備えている。
【選択図】 図1
Description
本発明は、マイクに入力された音声を音声信号記録メモリに記録するとともに、音声信号記録メモリに記録した音声を再生するボイスレコーダに係り、より詳細には、マイクに入力された音声を音声認識して得られた指示内容に対応したリモコン信号の送信機能を備えたボイスレコーダに関するものである。
リモートコントローラを用いて、テレビ受像機等のAV機器の動作を制御する場合には、リモートコントローラに設けられたキースイッチを操作することになるが、AV機器の機能の高度化に伴い、キースイッチの操作が複雑化している。このため、老人や幼い子供にとっては、これらのキースイッチの操作が難しく、使い慣れるのに苦労する。このような問題を解決するため、音声によって指示を入力する技術が提案されている(第1の従来技術とする)。すなわち、この技術においては、リモートコントローラに入力された音声は、アナログ音声信号として、テレビ受像機の傍らに設けられた受信装置の側に送信される。そして、受信装置の側において音声認識され、リモートコントロール信号用の制御コードに変換される。そして後、変換された制御コードを示す信号は、ケーブル等を介してテレビ受像機の側に送出され、テレビ受像機の側において、動作の指示内容に変換されるようになっている。このため、リモートコントローラに音声を用いて動作の指示を入力すると、テレビ受像機の側では、入力された音声により指示された動作が実行される(例えば、特許文献1参照)。
また、以下に示す技術が提案されている(第2の従来技術とする)。すなわち、この技術では、サーバが提供する情報の閲覧機能を有するテレビと、テレビの閲覧機能により得られた閲覧内容に対して所定の処理を行う情報処理手段と、音声認識によりテレビに対して遠隔操作を行うリモコン手段とを備えている。そして、閲覧内容には、テレビを操作する機能コードと音声認識対象語とを対応付けた機能セットを含むようにしている。そして、リモコン手段は、情報処理手段から送信された機能セットに含まれている音声認識対象語に対応する読みをユーザに発声させて音声認識を行ない、認識結果に対応する機能信号によってテレビを遠隔操作するようになっている。従って、音声対象認識語の入れ換えが自由となり、制御を自由に拡大することができるようになっている(例えば、特許文献2参照)。
また、以下に示す技術が提案されている(第3の従来技術とする)。すなわち、この技術においては、認識対象語を、『スイッチ・オン』や『スイッチ・オフ』といったように、複数種の機器に共通となる認識対象語と、『早送り』や『巻き戻し』といったように、特定の機器にのみ使用される認識対象語とに分けて記憶するようになっている。このため、『スイッチ・オン』や『スイッチ・オフ』といったように、複数種の機器に共通となる認識対象語は1組のみを記憶すればよいことになる。その結果、操作対象のそれぞれについて、『スイッチ・オン』や『スイッチ・オフ』といったような、複数種の機器に共通となる認識対象語を記憶するとともに、『早送り』や『巻き戻し』といったような、特定の機器にのみ使用される認識対象語とを併せて記憶する構成と比較した場合、記憶しなければならない認識対象語の数を減らすことができるようになっている。また、例えば『テレビ』という音声を発すると、以下に発せられる音声は、テレビの動作を指示する音声であるとして、音声認識を行うようになっている。このため、入力された音声が、テレビ以外の機器の動作を指示する音声として認識されるという誤った認識動作が防止され、誤認識率を低下させることができるようになっている(例えば、特許文献3参照)。
特開2003−219201号公報(第0045−0049段落、第 図)
特開2002−101315号公報(第0016−0039段落)
特開2002−232973号公報(第0008,0024−0025段落)
しかしながら第1の従来技術を用いる場合には、以下に示す問題を生じていた。すなわち、リモートコントローラに入力された音声は、アナログ音声信号として、テレビ受像機の傍らに設けられた受信装置の側に送信されるようになっている。このため、リモートコントローラの側には、アナログ音声信号を送信する送信手段が必要となる。また、受信装置の側には、リモートコントローラから送信されたアナログ音声信号を受信する受信手段が不可欠となる。このため、ハードウエアの規模が増大する。さらに、受信装置の側では、受信手段により得られたアナログ音声信号をデジタル音声信号に変換するためのA/D変換回路、および、音声認識の認識対象となるデジタル音声信号を一時的に記憶するメモリが不可欠となるので、メモリに記憶されたデジタル音声信号を音声認識するための音声認識手段を除いて考慮する場合であっても、音声による遠隔操作を可能とするためには、多くのハードウエアの追加が必要となって、部品点数の大幅な増加を招き、家電製品に適用する場合には、大幅なコストアップのため、商品化が困難な技術となっている。
また第2の従来技術においては、リモコン手段は、情報処理手段から送信された機能セットに含まれている音声認識対象語に対応する読みをユーザに発声させて音声認識を行なうようになっているので、ユーザが発声した音声を入力するためのマイク、マイクから出力されるアナログ音声信号をデジタル音声信号に変換するためのA/D変換器、音声認識の認識対象となるデジタル音声信号を記憶するためのメモリが必要となる。つまり、メモリに記憶されたデジタル音声信号を音声認識するための音声認識手段を除いて考慮する場合であっても、音声による遠隔操作を可能とするためには、マイク、A/D変換回路、および、デジタル音声信号を記憶するためのメモリが必要となる。その結果、部品点数の増加を招き、家電製品に適用する場合には、大幅なコストアップのため、商品化が困難な技術となっている。
また第3の従来技術においては、例えば『テレビ』という音声を発すると、以後に発せられる音声は、テレビの動作を指示する音声であるとして、音声認識を行うようになっている。このため、ユーザが発声した音声を入力するためのマイク、マイクから出力されるアナログ音声信号をデジタル音声信号に変換するためのA/D変換器、音声認識の認識対象となるデジタル音声信号を記憶するためのメモリが必要となる。つまり、メモリに記憶されたデジタル音声信号を音声認識するための音声認識手段を除いて考慮する場合であっても、音声による遠隔操作を可能とするためには、マイク、A/D変換回路、および、デジタル音声信号を記憶するためのメモリが必要となる。その結果、部品点数の増加を招き、家電製品に適用する場合には、大幅なコストアップのため、商品化が困難な技術となっている。
本発明は、上記の問題点を解決するため創案されたものであり、その目的は、ハードウエアの大幅な増加を招くことなく、音声入力によってリモートコントロールを行うことのでき、且つ、音声入力がうまくいったかどうかを確認することのでき、且つ、音声入力した内容を確認することのでき、且つ、音声によって複数の指示内容を連続して入力することのでき、且つ、制御対象が異なるときにも、制御対象に対応したリモコン信号を送信することのできるボイスレコーダを提供することにある。
また本発明は、メモリ素子を記録媒体として、音声を記録再生する場合に不可欠となるマイク、A/D変換器、メモリ素子を、音声認識の回路構成と共用とする場合には、音声を用いて動作の指示を入力することが可能なリモートコントロール機能を備えるときにも、追加が必要なハードウエアの量が抑制されることに着目して創案されたものであり、その目的は、ハードウエアの大幅な増加を招くことなく、音声入力によってリモートコントロールを行うことのできるボイスレコーダを提供することにある。
また上記目的に加え、指示内容の音声認識に成功したときには、リモコン信号を送信可能であることを示す送信可能情報を表示することにより、音声入力がうまくいったかどうかを確認した後にリモコン信号を送信することのできるボイスレコーダを提供することにある。
また上記目的に加え、音声認識された指示内容を表示することにより、音声入力した内容を確認することのできるボイスレコーダを提供することにある。
また上記目的に加え、音声によって複数の指示内容を連続して入力することのできるボイスレコーダを提供することにある。
上記の課題を解決するため、本発明に係るボイスレコーダは、マイクに入力された音声を音声信号記録メモリに記録するときの情報と、音声信号記録メモリに記録した音声を再生するときの情報とが表示される表示手段を備えたボイスレコーダに適用しており、音声信号記録メモリに記録されたデジタル音声信号の音声認識を行うことにより、マイクに入力された音声により示される指示内容を音声認識する音声認識手段と、外部から送信されるリモコン信号を受信する受信手段と、受信されたリモコン信号により示される制御コードを解析するとともに、解析した制御コードを指示内容に対応付けてコード記憶手段に記憶するコード解析手段と、コード記憶手段に記憶された制御コードと指示内容との対応関係に基づいて、音声認識手段により音声認識された指示内容を制御コードに変換するコード変換手段と、コード変換手段において変換された制御コードをリモコン信号として送信する送信手段と、送信キーとを備え、音声認識手段は、音声認識に失敗するまで、入力された音声の順序に従って音声認識を行い、表示手段には、音声認識手段が音声認識に成功した指示内容が音声認識を行った順序で表示されるとともに、リモコン信号の送信可能を示す送信可能情報が表示され、音声認識手段が音声認識に成功した指示内容と送信可能情報とが表示手段に表示された状態において送信キーが操作されたときには、表示手段に表示された指示内容に対応する制御コードが、表示手段に表示された指示内容に対応する順序で、リモコン信号として送信されるようになっている。
すなわち、音声認識手段とコード変換手段と送信手段とを追加するのみで、入力された音声により示される指示内容に対応したリモコン信号を送信することができ、且つ、入力された音声を認識できたことが示され、且つ、音声によって入力した指示内容を確認することができ、且つ、複数の指示内容を連続的に入力するときに、入力がうまくいった指示内容については、入力した指示内容が、入力した順序で送信され、且つ、制御対象が異なるときにも、制御対象に対応したリモコン信号を送信することができる。
また本発明に係るボイスレコーダは、マイクに入力された音声を音声信号記録メモリに記録するとともに、音声信号記録メモリに記録した音声を再生するボイスレコーダに適用しており、音声信号記録メモリに記録されたデジタル音声信号の音声認識を行うことにより、マイクに入力された音声により示される指示内容を音声認識する音声認識手段と、音声認識された指示内容を制御コードに変換するコード変換手段と、コード変換手段において変換された制御コードをリモコン信号として送信する送信手段とを備えている。
すなわち、音声認識手段とコード変換手段と送信手段とを追加するのみで、入力された音声により示される指示内容に対応したリモコン信号を送信することができる。
また、上記構成に加え、音声の録音時における情報と音声の再生時における情報とが表示される表示手段を備えたボイスレコーダに適用されており、送信キーを備え、音声認識手段が音声により示される指示内容の音声認識に成功したときには、リモコン信号を送信可能であることを示す送信可能情報が表示手段に表示され、送信可能情報が表示手段に表示された状態において送信キーが操作されたときにリモコン信号が送信されるようになっている。すなわち、入力された音声を認識できたことが示される。
また、上記構成に加え、表示手段には音声認識手段によって音声認識された指示内容が表示されるようになっている。すなわち、音声によって入力した指示内容を確認することができる。
また、上記構成に加え、音声認識手段は、マイクに入力された音声が複数の指示内容を示す音声となるときには、音声認識に失敗するまで、入力された音声の順序に従って音声認識を行い、表示手段には、音声認識手段が音声認識に成功した指示内容が音声認識を行った順序で表示され、音声認識手段が音声認識に成功した指示内容が表示手段に表示された状態において送信キーが操作されたときには、表示された指示内容に対応する制御コードが、表示手段に表示された指示内容に対応する順序でリモコン信号が送信されるようになっている。すなわち、複数の指示内容を連続的に入力するときに、入力がうまくいった指示内容については、入力した指示内容が、入力した順序で送信される。
また、上記構成に加え、表示手段と、送信キーとを備え、音声認識手段が音声により示される指示内容の音声認識に成功したときには、リモコン信号を送信可能であることを示す送信可能情報が表示手段に表示され、送信可能情報が表示手段に表示された状態において送信キーが操作されたときにリモコン信号が送信されるようになっている。すなわち、入力された音声を認識できたことが示される。
本発明によれば、音声認識手段とコード変換手段と送信手段とを追加するのみで、入力された音声により示される指示内容に対応したリモコン信号を送信することができる。また、入力された音声を認識できたことが示される。また、音声によって入力した指示内容を確認することができる。また、複数の指示内容を連続的に入力するときに、入力がうまくいった指示内容については、入力した指示内容が、入力した順序で送信される。また、制御対象が異なるときにも、制御対象に対応したリモコン信号が送信される。このため、回路構成の大幅な増加を招くことなく、音声入力によってリモートコントロールを行うことができ、且つ、音声入力がうまくいったかどうかを確認することができ、且つ、音声入力した内容を確認することができ、且つ、音声によって複数の指示内容を連続して入力することができ、且つ、制御対象が異なるときにも、制御対象に対応したリモコン信号を送信することができる。
また本発明によれば、音声認識手段とコード変換手段と送信手段とを追加するのみで、入力された音声により示される指示内容に対応したリモコン信号を送信することができるので、ハードウエアの大幅な増加を招くことなく、音声入力によってリモートコントロールを行うことができる。また、リモコン信号を送信するための操作は、常に同じ送信キーを押下する操作となるので、リモコン信号の送信のための操作が簡単となる。つまり、簡単な操作を行うのみで、AV機器等の動作を制御することが可能なリモコン機能を、安価に実現することができる。
また、さらに、入力された音声を認識できたことが示されるので、音声入力がうまくいったかどうかを確認した後にリモコン信号を送信することができる。
また、さらに、音声によって入力した指示内容が表示されるので、音声入力した内容を確認することができる。
また、さらに、複数の指示内容を連続的に入力するときに、入力がうまくいった指示内容については、入力した指示内容が、入力した順序で送信されるので、音声によって複数の指示内容を連続して入力することができる。
以下、本発明の実施の形態について図を参照して説明する。
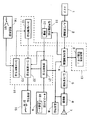
図1は、本発明に係るボイスレコーダの一実施形態の電気的構成を示すブロック線図である。
図において、マイク1には録音対象となる音声が入力される。A/D変換器2は、マイク1から出力される音声信号をデジタル音声信号に変換し、信号制御回路4に出力する。音声信号記録メモリ3は、例えば、128キロバイト等の記憶容量の大きいフラッシュメモリ等によって構成され、信号制御回路4から出力されるデジタル音声信号を記憶する。また、記憶したデジタル音声信号を信号制御回路4に出力する。D/A変換器5は、信号制御回路4から出力されるデジタル音声信号をアナログ音声信号に変換し、増幅器6に出力する。増幅器6は、D/A変換器5から出力されるアナログ音声信号を、主制御手段21から指示された増幅率でもって増幅し、スピーカ7を駆動する。
信号制御回路4は、主制御手段21からの指示に従って、デジタル音声信号の流れを制御する。すなわち、録音時では、A/D変換器2から出力されるデジタル音声信号を音声信号記録メモリ3に出力して記録させる。また、再生時では、音声信号記録メモリ3から再生されるデジタル音声信号をD/A変換器5に出力することにより、音声をスピーカ7から出力させる。また、音声入力によって、ビデオカセットレコーダやテレビ受像機等のAV機器を遠隔制御するリモートコントローラのモード(以下では、リモコンモードと称する)となるときには、音声信号記録メモリ3に記憶された後、音声信号記録メモリ3から再生されたデジタル音声信号を音声認識手段11に出力する。
表示手段8は、図2に示す装置本体31の操作パネル32に設けられたLCD等からなる表示装置であり、音声の録音時における情報(図3の8aにより示す)や、再生時における情報(8bにより示す)等が表示される。また、リモコンモードとなるときには、音声によって入力された指示内容等(図4参照)が表示される。
キー入力手段9は、操作パネル32に設けられた4つのキースイッチ41〜44や装置本体31の側面33に設けられた図示されないキースイッチ(これらのキースイッチは、ボイスレコーダとして機能するときに使用される)、および、送信キー48からなり、録音時に入力するフォルダの指示、再生対象となるフォルダの指示や再生時の音量、リモコン信号の送信の指示等が入力される。
音声認識手段11は、マイク1に入力された音声により示される指示内容を音声認識する。すなわち、辞書12に予め記憶された認識対象語を参照することによって、音声信号記録メモリ3に記憶され、主制御手段21を介して導かれたデジタル音声信号の音声認識を行う。そして、音声認識に成功したときには、音声認識によって得られた認識結果である指示内容を主制御手段21とコード変換手段22とに出力する。
コード変換手段22は、コード記憶手段13に記憶された制御コードと指示内容との対応関係を示すデータを参照することによって、音声認識手段11により音声認識された指示内容を制御コードに変換する。そして、主制御手段21から出力の指示が与えられたときには、変換した制御コードを送信手段15に出力する。送信手段15は、装置本体31の上部側端部から赤外線を発光する発光ダイオードD1を備えており、コード変換手段22から出力される制御コードを、リモコン信号(赤外線信号)として送信する。
受信手段14は、装置本体31の上部側端部に向けて送信される赤外線信号を受光するためのフォトトランジスタQ1を備えており、ビデオカセットレコーダ46に付属するリモートコントローラ45、等から送信されるリモコン信号(赤外線信号)を受光する。そして、受光により得られたリモコン信号をコード解析手段23に出力する。
コード解析手段23は、受信手段14から出力されるリモコン信号の解析を行うことによって、制御コードと指示内容との対応関係を検出する。そして、検出した制御コードと指示内容との対応関係を示すデータをコード記憶手段13に出力する。コード記憶手段13は、コード解析手段23から出力されるデータであり、制御コードと指示内容との対応関係を示すデータを記憶する。
主制御手段21は、ボイスレコーダとしての主要動作を制御する。すなわち、録音時では、信号制御回路4の動作を制御することによって、キー入力手段9によって指示されたフォルダに、マイク1に入力された音声を録音させる。また、指示されたフォルダの録音内容が再生されるように信号制御回路4の動作を制御する。また、増幅器6の増幅率を制御して、スピーカ7から出力される音量を増減させる。また、録音されるフォルダや録音時間を示す情報、再生されているフォルダを示す情報、等を表示手段8に表示する。
また、主制御手段21は、リモコンモードとなる場合、信号制御回路4を制御することによって、音声信号記録メモリ3に記憶されたデジタル音声信号(マイク1に入力された音声を示す音声信号であり、指示内容を示す音声信号)を音声認識手段11に出力する。そして、音声認識手段11が音声認識に成功したことを示すときには、音声認識された指示内容を表示手段8に表示するとともに、リモコン信号の送信が可能であることを示す送信可能情報を表示手段8に表示する。また、送信可能情報が表示手段8に表示された状態にあるときに、送信キー48が操作されると、コード変換手段22から送信手段15に制御コードを出力させる(送信手段15は、コード変換手段22から制御コードが出力されるとリモコン信号を送信する)。
なお、主制御手段21、コード変換手段22、および、コード解析手段23は、マイクロコンピュータ16により実行されるソフトウエアを主要部として構成されている。また、コード記憶手段13は、音声信号記録メモリ3を構成するフラッシュメモリ10の一部を用いて構成されるようになっている。また、マイク1、A/D変換器2、音声信号記録メモリ3を構成するフラッシュメモリ10、信号制御回路4、D/A変換器5、増幅器6、スピーカ7、表示手段8、および、マイクロコンピュータ16は、ボイスレコーダとしての構成に不可欠のブロックとなっている。
このため、音声によるリモートコントローラとしての機能を実現するために追加が必要となるハードウエアは、音声認識手段11、受信手段14、送信手段15、および、送信キー48のみとなっている。つまり、音声による遠隔制御を可能とするために追加されたハードウエアは小規模となっている。
図5は、実施形態の主要動作を示すフローチャートである。以下に、同図を参照しつつ動作説明を行うが、この動作説明に先立ち、制御コードと指示内容との対応関係をコード記憶手段13に記憶させるときの動作について説明する。
ビデオカセットレコーダ46を制御する場合では、ビデオカセットレコーダ46に付属するリモートコントローラ45を、送信される赤外線が受信手段14のフォトトランジスタQ1に受光されるようにした状態で、リモートコントローラ45のキースイッチを、定められた順序でもって操作する。コード解析手段23の側では、リモートコントローラ45のキースイッチが操作され、操作されたキースイッチに対応するリモコン信号が導かれる毎に、リモコン信号に含まれる制御コードを解析する。そして、解析結果である制御コードを、指示内容に対応付けてコード記憶手段13に記憶する。
すなわち、操作されるキースイッチの順番が、数字の『1』キー、・・・、数字の『9』キー、数字の『0』キー、チャンネルのアップキー、チャンネルのダウンキー、・・・になっているとすると、コード解析手段23は、最初に受信手段14が受信したリモコン信号から解析した制御コードを、数字の『1』に対応付けてコード記憶手段13に記憶する。そして後、続いて受信手段14が受信したリモコン信号から解析した制御コードを、数字の『2』に対応付けてコード記憶手段13に記憶する。以下、同様の方法により、リモコン信号から解析した制御コードを、数字の『3』、『4』、・・・、『0』、『チャンネルアップ』、『チャンネルダウン』、・・・に対応付けて記憶する。
以上で、制御コードと指示内容との対応関係をコード記憶手段13に記憶させるときの動作説明を終了し、実施形態の動作説明に移る。
いま、コード記憶手段13には、ビデオカセットレコーダ46に指示を与えるための制御コードと指示内容との対応関係が記憶されているとする。また、動作のモードが、マイク1に入力された音声が音声信号記録メモリ3に録音されるとともに、音声信号記録メモリ3に記録された音声が再生されるモード、すなわち、ボイスレコーダとして動作するモードになっているとする。
上記状態において、送信キー48を操作すると(ステップS1)、動作のモードが、音声をマイク1に入力することによって、ビデオカセットレコーダ46の遠隔操作が可能になるリモコンモードに変更される(ステップS2)。
動作のモードがリモコンモードになると、表示手段8には、図4(A)に示したように、音声により遠隔操作が可能となるモードであることを示す『リモコンモード』(51により示す)が文字表示される。また、リモコン信号を送信できないことを示すメッセージ54が表示される。この状態において、マイク1に『デンゲンオン』と発声すると(ステップS3)、発声された音声は、デジタル音声信号として音声信号記録メモリ3に記録される(ステップS4)。
そして、音声信号記録メモリ3に記録されたデジタル音声信号は、直ちに、音声認識手段11に出力される。音声認識手段11の側では、音声信号記録メモリ3から出力されるデジタル音声信号の音声認識を行う(ステップS5)。音声認識に成功すると、音声認識手段11は、入力された音声による指示内容が『電源オン』であることを、主制御手段21とコード変換手段22とに出力する。このため、主制御手段21は、入力された指示内容が『電源オン』であることを表示手段8に表示する(図4(B)参照)(ステップS6,S7)。また、リモコン信号の送信が可能となっていることを示す送信可能情報52を表示する(ステップS8)。そして後、音声認識の終了かどうかを判定する(ステップS9)。
このときでは、入力された音声は、『デンゲンオン』のみであるので、動作は、ステップS9からステップS14に移行し、マイク1に、音声が追加して入力されたかどうかと、送信キー48が操作されたかどうかを調べるループ動作に移行する(ステップS14〜S16)。ステップS14〜S16のループ動作において、送信キー48が操作されると、主制御手段21は、送信の指示をコード変換手段22に与える。このため、コード変換手段22は、コード記憶手段13に記憶された制御コードと指示内容との対応関係を参照することによって、『電源オン』の指示内容に対応する制御コードを取り出す。そして後、取り出した制御コードを含む信号を生成して送信手段15に出力する。その結果、送信手段15からは、『電源オン』を指示するリモコン信号(赤外線信号)が送信される(ステップS17)。
一方、上記した一連の動作における音声認識のステップS5において、マイク1に入力された音声が小さい、あるいは、音声が不明瞭であった、等の理由により、音声認識に失敗した場合では、音声認識手段11は、音声認識の失敗を主制御手段21に知らせる。このため、主制御手段21は、表示手段8に、音声認識できなかったことを示す記号55を表示する(図4(C)参照)(ステップS10)。また、リモコン信号を送信できないことを示すメッセージ54の表示が継続される。そして後、音声認識に成功した指示内容があったどうかを調べる。このときでは、音声認識に成功した指示内容が無かったので、動作は、ステップS11,S12,S21と移行し、音声の再入力を促すメッセージ(図4(C)の56)が表示され、音声を入力するステップS3に移行する。
いま、ステップS3の音声の入力において、『デンゲンオン』、『チャンネルロク』、『ロクガ』の3つの音声が入力されたとする。このときでは、3つの音声を示すデジタル音声信号が音声信号記録メモリ3に記録される(ステップS4)。そして音声信号記録メモリ3に記録されたデジタル音声信号は、音声認識手段11に出力される。
音声認識手段11の側では、音声信号記録メモリ3から出力されるデジタル音声信号の音声認識を行う(ステップS5)。音声認識に成功すると、音声認識手段11は、入力される音声による指示内容が『電源オン』であることを、主制御手段21とコード変換手段22とに出力する。このため、主制御手段21は、入力された指示内容が『電源オン』であることを表示手段8に表示する(図4(D)の61により示す)(ステップS6,S7)。また、リモコン信号の送信が可能なことを示す送信可能情報52を表示する(ステップS8)。そして後、音声認識の終了かどうかを判定する(ステップS9)。
このときでは、入力された音声は、『デンゲンオン』、『チャンネルロク』、『ロクガ』の3つであるので、動作は、ステップS9からステップS5に移行し、『チャンネルロク』を示すデジタル音声信号の音声認識が行われる。そして、音声認識に成功すると、音声認識手段11は、入力された音声による指示内容が『チャンネル6』であることを、主制御手段21とコード変換手段22とに出力する。このため、主制御手段21は、入力された指示内容が『チャンネル6』であることを表示手段8に表示する(62により示す)(ステップS6,S7)。また、リモコン信号の送信が可能なことを示す送信可能情報52の表示を継続する(ステップS8)。そして後、音声認識の終了かどうかを判定する(ステップS9)。
以下では、再び、ステップS5から始まる動作が実行され、『ロクガ』を示すデジタル音声信号に対して同様の動作が実行される。このため、ステップS8の動作が終了したときには、表示手段8には、『電源オン』61、『チャンネル6』62、『録画』63の3つの文字表示が、指示内容として表示される。そして後、ステップS14〜S16のループ動作が実行される。従って、このときに送信キー48を操作すると、送信手段15からは、電源をオンするためのリモコン信号が送信され、次いで、受信するチャンネルを6チャンネルとするためのリモコン信号が送信され、さらに続いて、録画を指示するリモコン信号が送信される(ステップS16,S17)。
一方、上記した一連の動作における音声認識のステップS5において、マイク1に入力された音声のうち、『ロクガ』を示すデジタル音声信号の音声認識に失敗した場合、動作は、ステップS6からステップS10に移行して、『ロクガ』を示すデジタル音声信号の音声認識に失敗したことを示す記号(図4(E)の65により示す)が表示される。そして、このときでは、既に音声認識に成功した指示内容があるため、動作は、ステップS11,S12,S13と移行し、送信可能情報52の表示が継続される。
そして後、ステップS14〜S16のループ動作が実行される。従って、このときに送信キー48を操作すると、送信手段15からは、電源をオンするためのリモコン信号が送信され、次いで、受信するチャンネルを6チャンネルとするためのリモコン信号が送信される(ステップS17)。
一方、ステップS14〜S16のループ動作が実行されている状態において、マイク1に、『ロクガ』を入力すると、動作は、ステップS15からステップS4に移行し、マイク1に入力された音声の『ロクガ』が、デジタル音声信号として音声信号記録メモリ3に記録される。そして、ステップS5からの動作が始まる。このステップS5の動作において音声認識に成功すると、音声認識に失敗したことを示す記号65の表示が停止され、代わって、音声認識に成功した指示内容である『録画』((D)の63により示す)が表示される。そして、この状態において送信キー48を操作すると、送信手段15からは、電源をオンするためのリモコン信号が送信され、次いで、受信するチャンネルを6チャンネルとするためのリモコン信号が送信され、さらに続いて、録画を指示するリモコン信号が送信される(ステップS17)。
以下に補足的な説明を行うと、リモコンモードになった状態から、音声の録音と再生とを行うボイスレコーダとしてのモードに移行する操作としては、リモコンモードにおいて使用されることのないキースイッチを操作する構成(例えば、キースイッチ41〜44のいずれかを操作する構成)とすることができる。
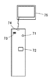
なお、本発明は上記実施形態に限定されず、表示手段については、LCD8を備えた表示装置とした場合について説明したが、より簡単な構成としては、図6に示したように、表示手段をLED71とし、送信可能情報の表示方法を、LED71を点灯する方法、あるいは、LED71を点滅表示する方法、等とすることができる(72は送信キー、73はマイク、74は、送信手段の発光ダイオードを示し、75は、制御対象のテレビ受像機を示している)。
すなわち、この実施形態は、図1〜図5を参照して説明した実施形態から、音声認識が成功した指示内容を表示する構成、音声認識に失敗したことを表示する構成、再入力を促す表示を行う構成が省略された構成(図5におけるステップS7,S10,S21のステップを省略した構成)となっている。このため、音声認識手段11が音声により示される指示内容の音声認識に成功したときにも、音声認識に成功した指示内容は表示されず、単に、制御コードが送信可能であることを示す送信可能情報が、表示手段であるLED71を用いて表示される。そして、送信可能情報がLED71により表示された状態において送信キー72を操作すると、リモコン信号が送信される。
また、コード記憶手段13については、コード解析手段23によって解析された制御コードと指示内容との対応関係を記憶する構成とした場合について説明したが、その他の構成として、遠隔制御しようとする装置に固有の制御コードと指示内容との対応関係を、実施形態の製造段階において、コード記憶手段13に予め記憶させ、受信手段14とコード解析手段23とを省略した構成とすることができる。
1 マイク
3 音声信号記録メモリ
8 表示手段
10 フラッシュメモリ
11 音声認識手段
13 コード記憶手段
14 受信手段
15 送信手段
22 コード変換手段
23 コード解析手段
48 送信キー
71 表示手段であるLED
72 送信キー
73 マイク
3 音声信号記録メモリ
8 表示手段
10 フラッシュメモリ
11 音声認識手段
13 コード記憶手段
14 受信手段
15 送信手段
22 コード変換手段
23 コード解析手段
48 送信キー
71 表示手段であるLED
72 送信キー
73 マイク
Claims (6)
- マイクに入力された音声を音声信号記録メモリに記録するときの情報と、音声信号記録メモリに記録した音声を再生するときの情報とが表示される表示手段を備えたボイスレコーダにおいて、
音声信号記録メモリに記録されたデジタル音声信号の音声認識を行うことにより、マイクに入力された音声により示される指示内容を音声認識する音声認識手段と、
外部から送信されるリモコン信号を受信する受信手段と、
受信されたリモコン信号により示される制御コードを解析するとともに、解析した制御コードを指示内容に対応付けてコード記憶手段に記憶するコード解析手段と、
コード記憶手段に記憶された制御コードと指示内容との対応関係に基づいて、音声認識手段により音声認識された指示内容を制御コードに変換するコード変換手段と、
コード変換手段において変換された制御コードをリモコン信号として送信する送信手段と、
送信キーとを備え、
音声認識手段は、音声認識に失敗するまで、入力された音声の順序に従って音声認識を行い、
表示手段には、音声認識手段が音声認識に成功した指示内容が音声認識を行った順序で表示されるとともに、リモコン信号の送信可能を示す送信可能情報が表示され、
音声認識手段が音声認識に成功した指示内容と送信可能情報とが表示手段に表示された状態において送信キーが操作されたときには、表示手段に表示された指示内容に対応する制御コードが、表示手段に表示された指示内容に対応する順序でリモコン信号として送信されることを特徴とするボイスレコーダ。 - マイクに入力された音声を音声信号記録メモリに記録するとともに、音声信号記録メモリに記録した音声を再生するボイスレコーダにおいて、
音声信号記録メモリに記録されたデジタル音声信号の音声認識を行うことにより、マイクに入力された音声により示される指示内容を音声認識する音声認識手段と、
音声認識された指示内容を制御コードに変換するコード変換手段と、
コード変換手段において変換された制御コードをリモコン信号として送信する送信手段とを備えたことを特徴とするボイスレコーダ。 - 音声の録音時における情報と音声の再生時における情報とが表示される表示手段を備えた請求項2記載のボイスレコーダにおいて、
送信キーを備え、
音声認識手段が音声により示される指示内容の音声認識に成功したときには、リモコン信号を送信可能であることを示す送信可能情報が表示手段に表示され、
送信可能情報が表示手段に表示された状態において送信キーが操作されたときにリモコン信号が送信されることを特徴とするボイスレコーダ。 - 表示手段には音声認識手段によって音声認識された指示内容が表示されることを特徴とする請求項3記載のボイスレコーダ。
- 音声認識手段は、マイクに入力された音声が複数の指示内容を示す音声となるときには、音声認識に失敗するまで、入力された音声の順序に従って音声認識を行い、
表示手段には、音声認識手段が音声認識に成功した指示内容が音声認識を行った順序で表示され、
音声認識手段が音声認識に成功した指示内容が表示手段に表示された状態において送信キーが操作されたときには、表示された指示内容に対応する制御コードが、表示手段に表示された指示内容に対応する順序でリモコン信号として送信されることを特徴とする請求項4記載のボイスレコーダ。 - 表示手段と、
送信キーとを備え、
音声認識手段が音声により示される指示内容の音声認識に成功したときには、リモコン信号を送信可能であることを示す送信可能情報が表示手段に表示され、
送信可能情報が表示手段に表示された状態において送信キーが操作されたときにリモコン信号が送信されることを特徴とする請求項2記載のボイスレコーダ。
Priority Applications (1)
| Application Number | Priority Date | Filing Date | Title |
|---|---|---|---|
| JP2004110935A JP2005292693A (ja) | 2004-04-05 | 2004-04-05 | ボイスレコーダ |
Applications Claiming Priority (1)
| Application Number | Priority Date | Filing Date | Title |
|---|---|---|---|
| JP2004110935A JP2005292693A (ja) | 2004-04-05 | 2004-04-05 | ボイスレコーダ |
Publications (1)
| Publication Number | Publication Date |
|---|---|
| JP2005292693A true JP2005292693A (ja) | 2005-10-20 |
Family
ID=35325646
Family Applications (1)
| Application Number | Title | Priority Date | Filing Date |
|---|---|---|---|
| JP2004110935A Pending JP2005292693A (ja) | 2004-04-05 | 2004-04-05 | ボイスレコーダ |
Country Status (1)
| Country | Link |
|---|---|
| JP (1) | JP2005292693A (ja) |
Cited By (1)
| Publication number | Priority date | Publication date | Assignee | Title |
|---|---|---|---|---|
| WO2012126225A1 (zh) * | 2011-03-21 | 2012-09-27 | 海尔集团公司 | 遥控器及电视机系统 |
-
2004
- 2004-04-05 JP JP2004110935A patent/JP2005292693A/ja active Pending
Cited By (2)
| Publication number | Priority date | Publication date | Assignee | Title |
|---|---|---|---|---|
| WO2012126225A1 (zh) * | 2011-03-21 | 2012-09-27 | 海尔集团公司 | 遥控器及电视机系统 |
| US9247176B2 (en) | 2011-03-21 | 2016-01-26 | Haier Group Corporation | Remote control and television system |
Similar Documents
| Publication | Publication Date | Title |
|---|---|---|
| JP6440346B2 (ja) | ディスプレイ装置、電子装置、対話型システム及びそれらの制御方法 | |
| WO2001050454A1 (en) | Device setter, device setting system, and recorded medium where device setting program is recorded | |
| KR20030008726A (ko) | 음성인식에 따른 오동작을 방지 및 음성인식율을 향상 할수 있는 전자기기 및 방법 | |
| US20090262001A1 (en) | Remote control system and remote control signal processing method | |
| CN201285601Y (zh) | 多功能遥控器 | |
| JP2020042745A (ja) | 電子機器、その制御方法、およびそのプログラム | |
| JP2020064300A (ja) | 備忘録作成システム、備忘録作成方法、および備忘録作成システムのログ管理サーバのプログラム | |
| JP3683502B2 (ja) | リモコン装置 | |
| JP2005292693A (ja) | ボイスレコーダ | |
| JP5262526B2 (ja) | 映像音声再生システム、av増幅装置およびプログラム | |
| KR101859614B1 (ko) | 디스플레이 장치, 전자 장치, 대화형 시스템 및 이들의 제어 방법 | |
| JP2005065156A (ja) | 音声認識処理システム及びそれに用いる映像信号記録再生装置 | |
| JP4622728B2 (ja) | 音声再生装置および音声再生処理プログラム | |
| JP3107142U (ja) | 音声認識式リモートコントロール装置 | |
| CN100371920C (zh) | 可自订遥控机制的电子装置/系统及相关方法 | |
| WO2018101458A1 (ja) | 収音機器、コンテンツ再生機器、及びコンテンツ再生システム | |
| JP4971005B2 (ja) | 電子機器に接続された外部機器の接続情報認識システム及びその認識方法 | |
| KR100212570B1 (ko) | 디브이디 시스템을 이용한 어학 학습 방법 | |
| JP4349046B2 (ja) | 電子機器 | |
| KR20020011028A (ko) | 음성신호를 이용한 원격 제어방법 및 제어장치 | |
| JP2004185621A (ja) | 音声確認システム及び方法 | |
| JP4540185B2 (ja) | 音声処理装置及び音声処理プログラム | |
| JP4257546B2 (ja) | 記録再生装置、およびhdd内蔵型ディジタルテレビジョン | |
| JP2007240972A (ja) | 表示装置、表示制御方法、表示制御プログラム及び通信システム | |
| JP2002251827A (ja) | 情報再生装置 |