JP2005292689A - 定着装置 - Google Patents
定着装置 Download PDFInfo
- Publication number
- JP2005292689A JP2005292689A JP2004110885A JP2004110885A JP2005292689A JP 2005292689 A JP2005292689 A JP 2005292689A JP 2004110885 A JP2004110885 A JP 2004110885A JP 2004110885 A JP2004110885 A JP 2004110885A JP 2005292689 A JP2005292689 A JP 2005292689A
- Authority
- JP
- Japan
- Prior art keywords
- pressure roller
- fixing
- roller
- bias
- voltage
- Prior art date
- Legal status (The legal status is an assumption and is not a legal conclusion. Google has not performed a legal analysis and makes no representation as to the accuracy of the status listed.)
- Withdrawn
Links
Images
Landscapes
- Fixing For Electrophotography (AREA)
- Control Or Security For Electrophotography (AREA)
Abstract
【課題】 耐久使用で発生する定着尾引きを防止することを目的とする。
【解決手段】 加圧ローラ表面給電の定着器で、加圧ローラとバイアス電源の間に電流検出手段を設けておき、定着ニップに紙が突入した際に流れる電流が一定になるように加圧ローラに印加する電圧を制御する。
【選択図】 図1
【解決手段】 加圧ローラ表面給電の定着器で、加圧ローラとバイアス電源の間に電流検出手段を設けておき、定着ニップに紙が突入した際に流れる電流が一定になるように加圧ローラに印加する電圧を制御する。
【選択図】 図1
Description
本発明は、画像形成装置の定着装置に関するものである。
従来の定着装置の構成を図10に示す。
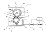
図10に示すところの21は従来の定着装置で、1は定着ローラ、2は定着ローラ芯金、3は弾性層、4は定着ローラ表層のPFA、5は加圧ローラ、6は加圧ローラ芯金、7はシリコーンゴム、8はPFA、9はヒータ、10は温度検出手段であるところとのサーミスタ、11は分離爪、12は分離爪を加圧するバネ、Nは定着ニップ、13は紙を定着ニップNに案内する入り口ガイド、14は排紙ガイド、15は給電ブラシ、16は絶縁板、17は給電コード、18はバイアス電源、19は定着外装カバー、20は定着フレームである。
定着ローラ1は、アルミ製のパイプ形状の芯金2上にシリコーンゴム製の弾性層3を設け、表面を絶縁性のPFA樹脂4で被覆したものである。
定着ローラ1は、定着ローラ内に設けたヒータ9により加熱され温調制御される。
定着ローラ1の温度は、サーミスタ10で検出し、ヒータの駆動にフィードバックする。
加圧ローラ5は、鉄製の芯金6上にシリコーンゴム弾性層を設け表層にカーボンを分散した導電性のPFA樹脂の表層離型層8を設けている。
加圧ローラ4の表面硬度は、アスカーC硬度計を押し圧9.8Nで当接させた場合に55〜65°程度である。
加圧ローラ4は、定着ローラ1に加圧圧接される。当接圧は、98Nから980N程度である。
定着ローラの芯金2は、電気的に接地されている。
加圧ローラの表面には、給電ブラシ16が当接している。
給電ブラシは、直径が10ミクロンのステンレス繊維を20本束ねて、その束を5個程度をアルミニウム板金ではさんだものである。
給電ブラシ15は、絶縁部材16により定着フレーム20電気的に絶縁している。
給電ブラシ15には、電源コード17が接続しており電源18から電圧供給を行う。
このバイアス構成により定着ローラ1と加圧ローラ4には、電位差を形成する。
この電位差により、紙上のトナーが定着ニップNの前で定着ローラに転移することで発生するオフセットや、定着ローラや、加圧ローラの微少な帯電により紙上のトナーが乱される飛び散りといた画像不良を防止する。
定着器21での紙搬送は、定着入り口ガイド13に沿って未定着画像を載せた紙を定着ローラ1と加圧ローラ5で形成する定着ニップNに導く。
紙上のトナー像は、加熱加圧されて紙に定着する。
紙は、その後分離爪11より分離されて、排紙ガイド14に支持されながら、定着器後方へと搬送されトナー画像の定着を終する。
定着ローラと加圧ローラとの間に定着バイアスを印加する従来技術として特許文献1がある。
特開2001−350360号公報
定着ローラと加圧ローラとの間に定着バイアスを印加する従来技術として特許文献1がある。
しかしながら、上記従来例では、耐久使用により定着ローラ表面に紙紛やトナーの成分が付着して帯電しやすくなる。
定着ローラが帯電すると、定着ローラ、加圧ローラ間の電位コントラストが小さくなり、画像不良が発生するようになるといった問題があった。
このことを防止する手段として、最初から加圧バイアスを大きくすることが考えられるが、上下の電位コントラストを大きくすると、紙が定着ローラに静電吸着し、分離爪で分離することができずに、紙詰まりを発生してしまうという問題があった。
本発明は、以上の点に着目して成されたもので、耐久使用で発生する定着尾引きを防止する定着装置を提供することを目的とする。
1.上記目的を達成するために本出願にかかる第一の発明は、
導電離型層を有する加圧ローラにバイアス手段により給電を行う画像形成装置の定着装置において
加圧ローラに流れる電流を検出する手段を設けており、定着ローラと加圧ローラで形成する定着ニップに紙が入ったときに加圧ローラに流れる電流を検出し、その電流値が所定の値になるようにバイアス電源の電圧を制御することを特徴とする。
導電離型層を有する加圧ローラにバイアス手段により給電を行う画像形成装置の定着装置において
加圧ローラに流れる電流を検出する手段を設けており、定着ローラと加圧ローラで形成する定着ニップに紙が入ったときに加圧ローラに流れる電流を検出し、その電流値が所定の値になるようにバイアス電源の電圧を制御することを特徴とする。
上記構成において定着ニップに紙が入ったときの電流が一定になるように加圧ローラの電圧を制御することは、定着ローラと加圧ローラの表面電位が定着ローラの帯電によらず一定になるように作用する。
2.上記目的を達成するために本出願にかかる第二の発明は、
加圧ローラ表面の導電離型層を設けており、定着ローラ芯金にバイアスを印加する画像形成装置の定着装置において
加圧ローラは電気的に接地されており、かつ、加圧ローラに流れる電流を検出する電流検出手段を備えていて、定着ローラに電圧を印加するバイアス手段は、電圧の変更が可能な構成であって、定着ローラと加圧ローラで形成する定着ニップに紙が入ったときに加圧ローラに流れる電流を検出し、その電流値が所定の値になるように定着ローラのバイアス電源の電圧を制御することを特徴とする。
加圧ローラ表面の導電離型層を設けており、定着ローラ芯金にバイアスを印加する画像形成装置の定着装置において
加圧ローラは電気的に接地されており、かつ、加圧ローラに流れる電流を検出する電流検出手段を備えていて、定着ローラに電圧を印加するバイアス手段は、電圧の変更が可能な構成であって、定着ローラと加圧ローラで形成する定着ニップに紙が入ったときに加圧ローラに流れる電流を検出し、その電流値が所定の値になるように定着ローラのバイアス電源の電圧を制御することを特徴とする。
上記構成において定着ニップに紙が入ったときに加圧ローラに流れる電流が一定になるように定着ローラに印加する電圧を制御することは、定着ローラの表面電位が定着ローラの帯電によらず一定になるように作用する。
3.上記目的を達成するために本出願にかかる第三の発明は、
導電離型層を有する加圧ローラにバイアス手段により給電を行う画像形成装置の定着装置において
加圧ローラにバイアスを供給するバイアス手段として、定電流電源と定電圧電源を備えており、定着ニップに紙が進入したときには定電流電源でバイアスを印加し、その後、定電圧電源でのバイアス印加に切り替える事を特徴とする。定電圧電源で印加する電圧値は、定電流電源でバイアスを印加したときに発生した電圧値を元にすることを特徴とする。
導電離型層を有する加圧ローラにバイアス手段により給電を行う画像形成装置の定着装置において
加圧ローラにバイアスを供給するバイアス手段として、定電流電源と定電圧電源を備えており、定着ニップに紙が進入したときには定電流電源でバイアスを印加し、その後、定電圧電源でのバイアス印加に切り替える事を特徴とする。定電圧電源で印加する電圧値は、定電流電源でバイアスを印加したときに発生した電圧値を元にすることを特徴とする。
上記構成において、定電流のバイアスを印加することは、紙搬送スピードの速い定着装置でも高圧電源の立ち上がりを確保できるように作用する。また、紙先端のみ定電流とし、先端以外では定電圧のバイアスを印加することは、紙の先端以外で大きな電圧値になることを防止するように作用する。
なお、さらに詳細に説明すれば、本発明は下記の構成によって前記課題を解決できた。
(1)未定着トナー像を載せた転写材を加熱加圧された定着ローラと加圧ローラで構成するローラ対で狭持搬送し、トナー像を加熱溶融することで転写材上に定着する定着装置であって、加圧ローラ表面に導電性の離型層を有し、その導電層にバイアスを印加する定着装置において、加圧ローラへのバイアス手段として電圧値の変更が可能な定電圧電源を設けており、かつ、その定電圧電源から加圧ローラに流れる電流を検出する電流検出手段を設けており、転写材先端がローラ対で形成するニップに突入したときに加圧ローラに流れる電流値が所定の値になるように加圧ローラに印加する電圧値を制御することを特徴とする定着装置。
(2)未定着トナー像を載せた転写材を加熱加圧された定着ローラと加圧ローラで構成するローラ対で狭持搬送し、トナー像を加熱溶融することで転写材上に定着する定着装置であって、定着ローラは、金属芯金の上に絶縁性の離型層を有しており、その金属芯金にバイアスを印加し、また、加圧ローラ表面には導電性の離型層を有する定着装置において、定着ローラ芯金へのバイアス手段として電圧値の変更が可能な定電圧電源を設けており、また、加圧ローラ表面は、電気的に接地されており、加圧ローラに流れる電流値を検出する電流検出手段を設けており、転写材先端がローラ対で形成するニップに突入したときに加圧ローラに流れる電流値が所定の値になるように定着ローラに印加する電圧値を制御することを特徴とする定着装置。
(3)未定着トナー像を載せた転写材を加熱加圧された定着ローラと加圧ローラで構成するローラ対で狭持搬送し、トナー像を加熱溶融することで転写材上に定着する定着装置であって、加圧ローラ表面に導電性の離型層を有し、その導電層にバイアスを印加する定着装置において、加圧ローラへのバイアス手段として定電流電源と、電圧値の変更が可能な定電圧電源を設けており、かつ、定電流電源には、発生した電圧値を検出するための電圧検出手段が設けてあって、転写材先端がローラ対で形成するニップに突入したときには加圧ローラには、定電流電源からバイアスを印加し、その後、定電圧電源のバイアス印加に切り替え、定電圧電源で印加する電圧値は、定電流電源でバイアスを印加した際に発生した電圧を元にしていることを特徴とする定着装置。
1.本出願に係る第一の発明によれば、
定着ニップに紙が入ったときの電流が一定になるように加圧ローラの電圧を制御することは、耐久使用で定着ローラが帯電しやすくなった場合にも定着ローラと加圧ローラの表面電位の差を一定に保つことができ、定着器の使用枚数によらず、オフセット、尾引きといった画像不良の発生を防止できるという効果がある。
定着ニップに紙が入ったときの電流が一定になるように加圧ローラの電圧を制御することは、耐久使用で定着ローラが帯電しやすくなった場合にも定着ローラと加圧ローラの表面電位の差を一定に保つことができ、定着器の使用枚数によらず、オフセット、尾引きといった画像不良の発生を防止できるという効果がある。
2.本出願に係る第二の発明によれば、
定着ニップに紙が入ったときの加圧ローラに流れる電流が一定になるように定着ローラ芯金に印加する電圧を制御することは、耐久使用で定着ローラが帯電しやすくなった場合にも定着ローラの表面電位を一定に保つことができ、定着器の使用枚数によらず、オフセット、尾引きといった画像不良の発生を防止できるという効果がある。
定着ニップに紙が入ったときの加圧ローラに流れる電流が一定になるように定着ローラ芯金に印加する電圧を制御することは、耐久使用で定着ローラが帯電しやすくなった場合にも定着ローラの表面電位を一定に保つことができ、定着器の使用枚数によらず、オフセット、尾引きといった画像不良の発生を防止できるという効果がある。
3.本出願に係る第三の発明によれば、
定着ニップに紙先端付近で定電流のバイアスを印加し、そのとき発生した電圧をもとに電圧値を決定して定着ニップを紙が通過している間、その定電圧のバイアスを印加することは、紙搬送速度が速い定着装置においても耐久を通して定着ローラと加圧ローラの表面電位の差を一定に保つことができ、定着器の使用枚数によらず、オフセット、尾引きといった画像不良の発生を防止できるという効果がある。
定着ニップに紙先端付近で定電流のバイアスを印加し、そのとき発生した電圧をもとに電圧値を決定して定着ニップを紙が通過している間、その定電圧のバイアスを印加することは、紙搬送速度が速い定着装置においても耐久を通して定着ローラと加圧ローラの表面電位の差を一定に保つことができ、定着器の使用枚数によらず、オフセット、尾引きといった画像不良の発生を防止できるという効果がある。
以下本発明を実施するための最良の形態を、実施例により詳しく説明する。
(第1の実施例)
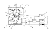
図1に本発明の第一の実施例を示す。
図1に本発明の第一の実施例を示す。
図1に示すところの1は定着ローラ、2は定着ローラ芯金、3は弾性層、4は離型層である。
5は、加圧ローラ、6は加圧ローラ芯金、7は弾性層、8は離型層兼導電層である。
9はヒータ、10は温度センサー、11は分離爪、12は分離積めバネ、13は定着入り口ガイド、14は排紙ガイド、15加圧給電ブラシ、16は絶縁部材、17は給電用のリード線、18は加圧バイアス用の高圧電源、19は断熱カバー、20は定着フレーム、21は定着器、22は電流検出手段、23は制御装置、24は転写材であるところの紙である。
定着ローラ1の外径は、50mmである。芯金2はアルミニウム製で厚みが3mmである。弾性層3はJIS硬度30°のシリコーンゴム製で厚みは、250μmである。離型層4はPFA樹脂で厚みが50μmである。定着ローラ1の外径50mm部分の軸方向長さは330mmである。
加圧ローラ5は外径が40mmである。芯金6は鉄製で外径が30mmである。弾性層7はJIS硬度30°のシリコーンゴム製で厚みは、約5mmである。離型層8は電気導電性のPFA樹脂で厚みが50μmである。離型層8の表面抵抗は、104〜108Ωであればよく、本実施例では、106Ωとした。加圧ローラ5の外径40mm部分の軸方向長さは320mmである。
加圧ローラ5は、不図示の加圧手段により定着ローラ1に274Nの力で当接する。
定着ローラ1は回転駆動しており、周速は167mm/secである。加圧ローラ5は定着ローラに従動回転する。
この定着器21で通紙可能な紙24サイズは、幅297mmのA3サイズまでである。
定着ローラ1は内部に設けたヒータ9により加熱される。
定着ローラ1には、温度センサー10が取り付けてあり、温度センサー10の情報を元に画像形成装置に設けた制御装置が定着ローラ1の表面が190℃になるようにヒータ9の駆動を制御する。
分離爪11は、定着ローラ1にと右折している先端の幅が2mmで先端部分は、主断面半径が15μmの曲面形状をしており、表面をPFA樹脂でコーティングしている。分離爪11は、分離爪バネ12により1.47Nの力で定着ローラに当接している。
定着ニップを通過した紙は、融けたトナーの粘性や静電気力により定着ローラ1に吸着している。
分離爪は、その紙を定着ローラから剥離する。
定着入り口ガイド13は、未定着画像を載せた紙を定着ニップに導入する。
定着排紙ガイド14は、定着後の紙を支持して搬送を安定させる。
紙24には、不図示の画像形成手段、転写手段によりトナー像が形成されている。
トナー像は、一成分の磁性トナーで形成されており、トナーの帯電極性は、マイナスである。
加圧ローラ5の表層導電離型層8には、軸方向短部で給電ブラシ15が接触しており、電源18により通常+2000Vの電圧が印加されている。
バイアス電源18は、0Vから+3000Vの出力が可能であり、その出力電圧は、本体制御装置23で制御する。
定着ローラ1の芯金2は、電気的に接地しており、定着ローラ1と加圧ローラ5の間には、通常+2000Vの電位差を設ける。
加圧バイアスは、定着ローラ1と加圧ローラ5の間に電界を形成し、紙24上のトナーを静電気的に紙に押さえつけて、定着での飛び散り、オフセット、尾引きといった画像不良を防止する。
飛び散りは、紙上のトナーが広がることによりにじんだようになる画像不良である。
尾引きは、飛び散りの一種で、紙搬送方向に対して垂直方向の横線が部分的に切れたり、紙搬送方向下流側ににじんだようになる現象である。
オフセットは、定着ニップを通過したトナーが定着ローラに付着して、定着ローラの周回一周後に汚れとして紙面上に付着する現象である。
給電ブラシ15とバイアス電源18の間には、電流検出手段22が設けてあり、加圧ローラに流れる電流をモニターする。
電流検出手段22は、本体の制御装置23に接続しており、本体の制御装置は、電流検出手段22からの信号によりバイアス電源18の出力を変更する。
その動作を図13に沿って説明する。
図13は、定着ニップを通過する紙と高圧電源の動作を説明する図である。同図の横軸は時間を示す。縦軸の上段は、紙の通過状況を示し、二段目は電圧を、下段は電流波形を模式的に示す。
横軸の記号Jは、紙先端位置、Kは画像先端でJからの時間は、30msである、LはJから80ms後の時間である、Mは電流が流れ終わる時間で約150msである。
電圧の制御は、まず紙先端に合わせて電圧を印加する。
グラフ上のkの時点30ms後に電圧が立ち上がるので、kの時点から、電流検出手段により電流値を読み取りながら、電流値が5.5μAになるように電圧値を制御する。フィードバックに要する時間は、約50msで、グラフ上Lの時間までである。
紙先端で決定した電圧値での加圧ローラへの電圧印加は、紙後端、もしくは、画像域が定着ニップを抜けるまで行う。
図13においてJからKに相当する紙先端での高圧電源立ち上げ時に加圧ローラに印加する電圧は、2kVとして、その後電流値が一定になるように電圧値を変化させる。
もしくは、前回の定着動作で加圧ローラに印加した電圧値を本体制御部に記憶させておき、高圧電源立ち上げ時には、その電圧を印加して、その後、電流値を検出ながら電圧値を制御しても良い。
上記構成とした理由を以下に示す。
加圧ローラに印加する電圧と、そこに流れる電流、および、紙の電位の関係を把握するための実験を以下に示す。
加圧ローラに定電圧を印加し、加圧ローラに流れる電流と定着ニップ前の紙電位を測定するための構成を図2に示す。
電位計には、トレック(株)製のModel.341を使用した。図2に示すところの26は、電位計の測定部である。
電位計の測定部と定着ニップの距離を仮にAとする。
この測定系で、通紙時の加圧ローラ電流と紙電位の関係を示したのが図3である。
図3の上段が紙電位、下段が加圧ローラ電流である。
紙電位と加圧ローラ電流を同時に測定すると測定位置の違いから時間的なずれが生じる。
そのずれが図2で示したところのAに相当する。
図3は、加圧ローラに+2kV印加したときの紙電位と加圧ローラ電流の様子である。
紙電位は、先端では、略0Vであるが、紙先端が定着ニップNに入った瞬間に+1.2kV程度になる。
加圧ローラ電流は、定着ニップに紙が入った瞬間に流れるが、その後流れなくなる。
電流が流れる時間は、100〜150m秒であった。
つまり、紙先端が定着ニップに入ると加圧ローラから紙に電荷が供給され電位が上昇する。
電位が上昇しきると電流が流れなくなる。
紙先端で加圧ローラに流れる電流は、定着ローラの表面電位で変化する。
図7は、定着ローラの表面電位を変化させて測定した加圧ローラの紙先端での電流値である。
定着ローラの電位が0Vの時には、5.7μAの電流が流れるのに対して、定着ローラ表面が加圧バイアスと同じ略+2kVに帯電していると電流は流れない。
これは、電位差がある定着ローラ表面と加圧ローラの間に紙が入ってくることにより、紙が充電されるからである。
一方、定着ローラの表面電位は、通紙により上昇する傾向がる。
理由は、定着ローラ1の表面を被覆するPFA樹脂に通紙により細かな傷がついたりトナーや紙紛が付着して、帯電しやすくなるからである。
通紙枚数と定着ローラの表面電位の関係を図4に示す。
図4の横軸は、通紙枚数、縦軸は、定着ローラの表面電位である。
定着ローラの電位は、初期は、略0Vであるが、通紙とともに上昇し、5万枚程度通紙すると+900V程度になる。
耐久により定着ローラの電位が上昇すると、図7に示したように、紙が定着ニップに入ったときに加圧ローラに流れる電流値は、小さくなる。
また、定着ローラが+に帯電すると定着ローラ1と加圧ローラ5で形成する電位差が小さくなり、画像不良が発生するようになる。
定着ローラ1と加圧ローラ5の電位差と画像の関係を図5に示す。
オフセットを防止するのに必要な電位差は、1.5kV以上、尾引きを防止するのに必要な電位差は、1.7V以上であることを示す。
耐久後にもオフセットの防止のための電位差が取れるように、加圧バイアスの電圧値を大きく設定しておくことも考えられる。
しかし、加圧バイアスを大きく設定しておくと、定着ローラが帯電していない初期に、紙が定着ローラ1に強く静電吸着し、紙詰まりを発生してしまうという問題もある。
紙詰まりは、定着ローラに紙が強く静電吸着てしまうため分離爪11ではがすことができなくなり発生する。
定着ローラと加圧ローラの電位差と紙詰まりの関係を図6に示す。
横軸は、定着ローラと加圧ローラの電位差、縦軸は、紙を1000枚通紙したときに紙詰まりが発生した回数である。
定着ローラ、加圧ローラの電位差が2.2kVでは、紙詰まりは発生しないが、2.5kV以上では、紙詰まりが発生する。
画像、および、紙詰まりから、定着ローラと加圧ローラの電位差は、2kV程度が適当である。
本実施例の構成では、紙先端で加圧ローラに流れる電流が5.5μAになるように加圧バイアスを制御する。
この構成で通紙確認を行ったところ、加圧ローラの電圧は、定着器初期では、2kV、5万枚通紙後では、2.9kVで、耐久を通して約2kVの定着ローラ/加圧ローラ電位差を保つことができた。
また、耐久を通して、尾引きやオフセットの画像不良、分離爪での紙詰まりといった不具合の発生はなかった。
なお、紙先端での定着バイアスの電圧制御は、通紙ごとに行っても良いし、数枚から数十枚に一回の割合で行っても良い。
以上のように構成することで、定着ローラが帯電した場合でも定着ローラと加圧ローラの電位差を適正に保つことができ、耐久使用による画像不良や、紙詰まりが発生しない定着装置を構成することができる。
(第2の実施例)
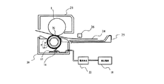
図8に本発明の第二の実施例を示す。
図8に本発明の第二の実施例を示す。
図8に示すところの27は定着ローラ、28は定着ローラ芯金、29は離型層、30は加圧ローラ、31は加圧ローラ芯金、32は弾性層、33は離型層、34は高圧電源、35は分離爪を加圧するためのバネ、36は定着装置である。
定着ローラ27は外径の大きい面長部と軸受けと勘合するジャーナル部があり、面長部は外径40mm、軸方向長さは、330mmである。
芯金28は厚みが1.5mmのアルミニウム製である。
表層の離型層33は厚さが20μmのPFA樹脂である。
加圧ローラ30は、面長部とその両端にローラを支持する軸があり、面長部は、外径30mm、軸不幸長さ320mmである。
芯金31は、ニッケル鍍金を施した鉄製で、外径は、20mmである。
弾性層32は、JIS硬度30°、電気抵抗105Ωcmのシリコーンゴム製である。
離型層33は、導電離型層で電気抵抗105ΩcmのPFA樹脂である。
定着ローラ27の内部にはヒータが設けてあり、定着ローラ27の加熱を行う。定着ローラ27の温度制御は、温度センサー10で表面温度を検出し、本体制御装置でヒータ9の駆動を制御することで行う。
定着ローラが、190℃になるように温調制御する。
加圧ローラ30は、不図示の加圧手段で176Nの力で定着ローラ27に当接する。
定着ローラ27の周速は、150mm/secである。加圧ローラは、定着ローラに従動回転する。
分離爪11はバネ35で加圧され、0.3Nの力で定着ローラ27に当接する。
定着ローラ27の離型層29が40μm以下と小さい場合には、分離爪11による磨耗量を小さく抑えるために、当接圧を小さく本実施例のように設定する場合がある。
定着ローラ芯金28には、高圧電源34が接続されている。
高圧電源は、−1kVから−2kVの出力が可能である。
加圧ローラ芯金31は、電流検出手段22を介して電気的に接地している。
この定着装置で定着ローラに定電圧を印加して紙を通紙すると、紙先端で接地から加圧ローラに向かってプラスの電流が流れる。
この電流は、定着ローラの表面で値が変化する。
図9に定着ローラ電位と加圧ローラ向かって流れる電流の関係を示す。
図9に示すグラフの横軸は、定着ローラの表面電位、縦軸は加圧ローラに流れる電流値である。
定着ローラの電位が−1kVの時には、加圧ローラに−6μAの電流が流れるが、定着ローラの電位が0Vの時には、電流は流れない。
定着ローラ表面電位は、芯金28に印加した電圧と離型層29の帯電の合計である。
芯金に−1kV印加していても、耐久使用により離型層29が+500Vに帯電すると定着ローラの表面電位は、表面の帯電電位により相殺されて−500Vに小さくなる。
定着ローラの表面電位が小さくなると尾引きやオフセットといった画像不良が発生する。
一方、耐久使用による離型層29の帯電を見越して定着バイアスの電圧を大きめに設定しておくと、初期に定着ローラ27の表面電位が大きくなりすぎ、紙が静電吸着するようになる。すると、本実施例のように分離爪11を20gf以下の小さい力で定着ローラに当接させている場合には、分離爪11に紙先端が引っかかって紙詰まりが発生するようになる。
本実施例での適正な定着ローラの表面電位は、−1kVである。
定着ローラ27の表面電位が−1kVのときに紙先端で加圧ローラに流れる電流は、6μAである。
本実施例では、この適正な定着ローラ電位を耐久を維持するために紙先端で加圧ローラに流れる電流が6μAになるように定着ローラ芯金に印加する電圧を制御する。
この構成で、耐久を行ったところ、定着ローラ芯金28に印加する電圧は初期は、−1kVであったが、5万枚通紙後は、−1.5kVであった。
これにより、定着ローラの表面電位は耐久をとおして−1kVであり、オフセット/尾引きといった画像不良や紙詰まりの発生もなかった。
以上のように構成することで、定着ローラに電圧を印加する定着装置においても定着ローラの表面離型層の帯電による画像不良を、定着バイアスアップの弊害である紙詰まりを伴うことなく改善することができる。
(第3の実施例)
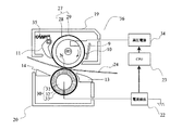
図11に本発明の第三の実施例を示す。
図11に本発明の第三の実施例を示す。
本実施例では、高速の定着装置の場合を示す。
図11の定着装置は、定着ローラの周速が300mm/sでA4サイズの紙を毎分60枚定着可能な定着装置である。
図11に示すところの36は定着装置、1は定着ローラ、2は定着ローラ芯金、3は弾性層、4は離型層である。
5は加圧ローラ、6は加圧ローラ芯金、7は弾性層、8は離型層兼導電層である。
9はヒータ、10は温度センサー、11は分離爪、12は分離積めバネ、13は定着入り口ガイド、14は排紙ガイド、15加圧給電ブラシ、16は絶縁部材、17は給電用のリード線、18は加圧バイアス用の高圧電源、19は断熱カバー、20は定着フレーム、24は転写材であるところの紙である。
定着ローラ1の外径は、50mmである。芯金2はアルミニウム製で厚みが3mmである。弾性層3はJIS硬度30°のシリコーンゴム製で厚みは、250μmである。離型層4はPFA樹脂で厚みが50μmである。定着ローラ1の外径50mm部分の軸方向長さは330mmである。
加圧ローラ5は外径が40mmである。芯金6は鉄製で外径が30mmである。弾性層7はJIS硬度30°のシリコーンゴム製で厚みは、約5mmである。離型層8は電気導電性のPFA樹脂で厚みが50μmである。離型層8の表面抵抗は、104〜108Ωであればよく、本実施例では、106Ωとした。加圧ローラ5の外径40mm部分の軸方向長さは320mmである。
加圧ローラ5は、不図示の加圧手段により定着ローラ1に637Nの力で当接する。
図11に示すところの37は定電流電源、38は電圧検知手段、39は定電圧電源、40は電圧切替え装置である。
定電流電源37の定電流値は、6μAである。定電流電源37は0Vから3kVの電圧出力が可能で、0Vから3kVまでの立ち上がり時間は、15msである。
電圧検出手段38は、定電流電源37が発生した電圧を検出して本体制御部23に信号を送る。
定電圧電源39は、本体制御部23からの信号により、電圧値が変更可能な電源である。出力可能な電圧範囲は、2kVから3kVで出力電圧を安定させるために立ち上がりは、若干遅く80msとしている。
電圧切替え装置40は、本体制御装置23の信号により、加圧ローラ5に印加するバイアスを定電流電源37か定電圧電源39か、もしくは両方印加するかを切り替える。
次に、本実施例の定着装置の動作を図12に沿って説明する。
図12は、加圧ローラに印加するバイアスを定着ニップNを紙が通過するタイミングと合わせて示したものである。
図12の横軸は、時間経過を示す。
図12の上段は、定着ニップを紙が通過する時間を示したものである。
二段目は、定電流電源37のバイアス印加タイミングを示す。
三段目は、定電圧電源39が発生する電圧値をしめす。
下段は、加圧ローラに印加される合成電圧を示す。
本実施例の動作を説明すると、まず、紙の先端位置で定電流バイアスを印加する。定電流バイアスを印加する時間は、150msである。
画像の先端マージンは、一般的には、5mm以上なので、紙搬送スピードが300mm/sの本実施例の場合、紙先端がニップに到達した17ms後に画像がニップに到達する。
定電流電源37の立ち上がりは、15msなので画像先端からバイアスを作用させることが出来、画像不良の発生を防止することが出来る。
定電流バイアスを印加し始めた最初の70msで電圧値を検出する。
電圧値を読み取ったところで、その電圧を出力するように定電圧電源を駆動する。
定電圧電源は、電圧が立ち上がるまでに80ms程度要するが立ち上がる間も定電流電源によりバイアスが印加されているので尾引き等の画像不良は、発生しない。
また、紙への充電が終わるまでに定電流バイアスの印加を終了するので、大きな電圧を印加しすぎることもない。
以上のように構成することで、紙の先端から後端まで、尾引き防止に必要なバイアスを加圧ローラに印加することが出来、しかも紙の充電が終わるまでに定電流バイアスの印加を終了するので、必要以上に大きな電圧を印加することもない。
この構成で、5万枚の通紙試験を行ったところ、加圧ローラの電圧は、定着器初期では、2kV、5万枚通紙後では、2.9kVで、耐久を通して約2kVの定着ローラ/加圧ローラ電位差を保つことができた。
また、耐久を通して、尾引きやオフセットの画像不良、分離爪での紙詰まりといった不具合の発生はなかった。
なお、紙先端での定電流バイアス印加による加圧バイアス電圧制御は、通紙ごとに行っても良いし、数枚から数十枚に一回の割合で行っても良い。
この場合、電圧決定を行わない定着動作時は、加圧ローラには、前の定電流印加時に決定した電圧値を印加するようにする。
1 定着ローラ
5 加圧ローラ
18 高圧電源(バイアス電源)
34 高圧電源
39 定電圧電源
22 電流検出手段
37 定電流電源
38 電圧検出手段
39 定電圧電源
5 加圧ローラ
18 高圧電源(バイアス電源)
34 高圧電源
39 定電圧電源
22 電流検出手段
37 定電流電源
38 電圧検出手段
39 定電圧電源
Claims (3)
- 未定着トナー像を載せた転写材を加熱加圧された定着ローラと加圧ローラで構成するローラ対で狭持搬送し、トナー像を加熱溶融することで転写材上に定着する定着装置であって、加圧ローラ表面に導電性の離型層を有し、その導電層にバイアスを印加する定着装置において、
加圧ローラへのバイアス手段として電圧値の変更が可能な定電圧電源を設けており、かつ、その定電圧電源から加圧ローラに流れる電流を検出する電流検出手段を設けており、転写材先端がローラ対で形成するニップに突入したときに加圧ローラに流れる電流値が所定の値になるように加圧ローラに印加する電圧値を制御することを特徴とする定着装置。 - 未定着トナー像を載せた転写材を加熱加圧された定着ローラと加圧ローラで構成するローラ対で狭持搬送し、トナー像を加熱溶融することで転写材上に定着する定着装置であって、
定着ローラは、金属芯金の上に絶縁性の離型層を有しており、その金属芯金にバイアスを印加し、また、加圧ローラ表面には導電性の離型層を有する定着装置において、
定着ローラ芯金へのバイアス手段として電圧値の変更が可能な定電圧電源を設けており、また、加圧ローラ表面は、電気的に接地されており、加圧ローラに流れる電流値を検出する電流検出手段を設けており、転写材先端がローラ対で形成するニップに突入したときに加圧ローラに流れる電流値が所定の値になるように定着ローラに印加する電圧値を制御することを特徴とする定着装置。 - 未定着トナー像を載せた転写材を加熱加圧された定着ローラと加圧ローラで構成するローラ対で狭持搬送し、トナー像を加熱溶融することで転写材上に定着する定着装置であって、加圧ローラ表面に導電性の離型層を有し、その導電層にバイアスを印加する定着装置において、
加圧ローラへのバイアス手段として定電流電源と、電圧値の変更が可能な定電圧電源を設けており、かつ、定電流電源には、発生した電圧値を検出するための電圧検出手段が設けてあって、
転写材先端がローラ対で形成するニップに突入したときには加圧ローラには、定電流電源からバイアスを印加し、その後、定電圧電源のバイアス印加に切り替え、定電圧電源で印加する電圧値は、定電流電源でバイアスを印加した際に発生した電圧を元にしていることを特徴とする定着装置。
Priority Applications (1)
| Application Number | Priority Date | Filing Date | Title |
|---|---|---|---|
| JP2004110885A JP2005292689A (ja) | 2004-04-05 | 2004-04-05 | 定着装置 |
Applications Claiming Priority (1)
| Application Number | Priority Date | Filing Date | Title |
|---|---|---|---|
| JP2004110885A JP2005292689A (ja) | 2004-04-05 | 2004-04-05 | 定着装置 |
Publications (1)
| Publication Number | Publication Date |
|---|---|
| JP2005292689A true JP2005292689A (ja) | 2005-10-20 |
Family
ID=35325642
Family Applications (1)
| Application Number | Title | Priority Date | Filing Date |
|---|---|---|---|
| JP2004110885A Withdrawn JP2005292689A (ja) | 2004-04-05 | 2004-04-05 | 定着装置 |
Country Status (1)
| Country | Link |
|---|---|
| JP (1) | JP2005292689A (ja) |
Cited By (3)
| Publication number | Priority date | Publication date | Assignee | Title |
|---|---|---|---|---|
| JP2013097165A (ja) * | 2011-10-31 | 2013-05-20 | Kyocera Document Solutions Inc | 画像形成装置 |
| JP2017219790A (ja) * | 2016-06-10 | 2017-12-14 | 京セラドキュメントソリューションズ株式会社 | 画像形成装置 |
| US10078297B2 (en) | 2014-11-13 | 2018-09-18 | Canon Kabushiki Kaisha | Image forming apparatus |
-
2004
- 2004-04-05 JP JP2004110885A patent/JP2005292689A/ja not_active Withdrawn
Cited By (3)
| Publication number | Priority date | Publication date | Assignee | Title |
|---|---|---|---|---|
| JP2013097165A (ja) * | 2011-10-31 | 2013-05-20 | Kyocera Document Solutions Inc | 画像形成装置 |
| US10078297B2 (en) | 2014-11-13 | 2018-09-18 | Canon Kabushiki Kaisha | Image forming apparatus |
| JP2017219790A (ja) * | 2016-06-10 | 2017-12-14 | 京セラドキュメントソリューションズ株式会社 | 画像形成装置 |
Similar Documents
| Publication | Publication Date | Title |
|---|---|---|
| JP4099098B2 (ja) | 定着装置・画像形成装置 | |
| US6438348B2 (en) | Fixing apparatus with first and second heating rotation members having a potential difference | |
| JP6410512B2 (ja) | 画像形成装置 | |
| JP3990957B2 (ja) | 加熱定着装置 | |
| JP2004157279A (ja) | 加熱定着装置 | |
| JP2005292689A (ja) | 定着装置 | |
| JP2006047556A (ja) | 画像形成装置の定着装置 | |
| JP5153249B2 (ja) | 画像形成装置 | |
| JP2006036424A (ja) | シート材識別装置とこれを用いた加熱装置及び画像形成装置 | |
| JP4378162B2 (ja) | シート識別装置及びこれを備えた画像形成装置 | |
| US6560437B2 (en) | Image forming apparatus with second power source for charge elimination means | |
| JP2010191068A (ja) | 画像形成装置 | |
| JPH0836329A (ja) | 画像形成装置 | |
| JP2008209459A (ja) | 加圧部材、及びこの加圧部材を有する像加熱装置 | |
| JP2002296854A (ja) | 画像形成装置 | |
| JP3950768B2 (ja) | 加熱定着装置および画像形成装置 | |
| JP2003084586A (ja) | 画像形成装置 | |
| JP2000321901A (ja) | 加熱定着装置および画像形成装置 | |
| JP4164304B2 (ja) | 画像形成装置 | |
| JP2017054055A (ja) | 画像形成装置 | |
| JP2006091451A (ja) | 加熱定着装置 | |
| JP4950576B2 (ja) | 定着装置 | |
| JP4834247B2 (ja) | 定着装置 | |
| JPH05273879A (ja) | 定着装置 | |
| JP2005258041A (ja) | 定着装置及び画像形成装置 |
Legal Events
| Date | Code | Title | Description |
|---|---|---|---|
| A300 | Withdrawal of application because of no request for examination |
Free format text: JAPANESE INTERMEDIATE CODE: A300 Effective date: 20070605 |