JP2005292639A - 現像装置、画像形成装置、及び、画像形成システム - Google Patents

現像装置、画像形成装置、及び、画像形成システム Download PDF

Info

Publication number
JP2005292639A
JP2005292639A JP2004110087A JP2004110087A JP2005292639A JP 2005292639 A JP2005292639 A JP 2005292639A JP 2004110087 A JP2004110087 A JP 2004110087A JP 2004110087 A JP2004110087 A JP 2004110087A JP 2005292639 A JP2005292639 A JP 2005292639A
Authority
JP
Japan
Prior art keywords
developer
supply roller
developer supply
roller
developing device
Prior art date
Legal status (The legal status is an assumption and is not a legal conclusion. Google has not performed a legal analysis and makes no representation as to the accuracy of the status listed.)
Granted
Application number
JP2004110087A
Other languages
English (en)
Other versions
JP4461884B2 (ja
JP2005292639A5 (ja
Inventor
秀裕 ▲高▼野
Hidehiro Takano
Rie Miyazaki
理絵 宮崎
Toru Fujita
徹 藤田
Takeshi Ikuma
健 井熊
Current Assignee (The listed assignees may be inaccurate. Google has not performed a legal analysis and makes no representation or warranty as to the accuracy of the list.)
Seiko Epson Corp
Original Assignee
Seiko Epson Corp
Priority date (The priority date is an assumption and is not a legal conclusion. Google has not performed a legal analysis and makes no representation as to the accuracy of the date listed.)
Filing date
Publication date
Application filed by Seiko Epson Corp filed Critical Seiko Epson Corp
Priority to JP2004110087A priority Critical patent/JP4461884B2/ja
Publication of JP2005292639A publication Critical patent/JP2005292639A/ja
Publication of JP2005292639A5 publication Critical patent/JP2005292639A5/ja
Application granted granted Critical
Publication of JP4461884B2 publication Critical patent/JP4461884B2/ja
Anticipated expiration legal-status Critical
Expired - Lifetime legal-status Critical Current

Links

Images

Landscapes

  • Wet Developing In Electrophotography (AREA)

Abstract


【課題】画質の劣化を適切に防止する現像装置、画像形成装置、及び、画像形成システムを実現することにある。
【解決手段】液体現像剤を担持するための現像剤担持体と、液体現像剤を前記現像剤担持体に供給するための回転可能な現像剤供給部材と、液体現像剤を収容するための現像剤収容体と、を有し、前記現像剤担持体に担持された液体現像剤によって、像担持体に担持された潜像を現像する現像装置であって、前記現像剤供給部材が、その一部が露出した状態で、前記現像剤収容体に収容された液体現像剤に浸っている現像装置において、液体現像剤を前記現像剤供給部材に供給するための回転可能な第一現像剤供給ローラ及び第二現像剤供給ローラを有することを特徴とする。
【選択図】 図8

Description

本発明は、現像装置、画像形成装置、及び、画像形成システムに関する。
この種の画像形成装置としては、例えば、潜像を担持するための像担持体の一例としての感光体と、液体現像剤(以下、単に、現像剤とも呼ぶ)によって感光体に担持された潜像を現像するための現像装置と、を有する画像形成装置が知られている。かかる画像形成装置は、ホストコンピュータなどの外部装置から画像信号等が送信されると、感光体上に潜像を形成する。そして、感光体に形成され、担持された潜像は、感光体の回転に伴って現像位置に至り、現像装置によって現像され、感光体上に現像剤像が形成される。
上記の現像装置は、感光体上に形成された潜像を現像するという既述の機能等を実現するために、現像剤を担持するための現像剤担持体の一例としての現像ローラと、現像剤を現像ローラに供給するための回転可能な現像剤供給部材と、現像剤を収容するための現像剤収容体の一例としての現像剤収容部と、を有している。
そして、前記現像剤供給部材が、その一部が露出した状態で、現像剤収容部に収容された現像剤に浸っており、当該現像剤供給部材が回転することにより、前記現像剤が現像ローラに供給される。さらに、現像ローラに供給された現像剤は、潜像の現像に供される。
特開平7−219355号公報
前記現像剤供給部材が、その一部が露出した状態で、現像剤収容部に収容された現像剤に浸っている状況で、現像剤供給部材が回転すると、当該現像剤供給部材が現像剤に進入する際に空気が取り込まれて、現像剤内に気泡が発生する場合がある。当該気泡を有する現像剤が現像ローラに供給され、供給された現像剤により感光体に担持された潜像を現像して画像を形成した場合には、その画質に劣化が生ずる可能性がある。
一方で、現像剤を前記現像剤供給部材に供給するための現像剤供給ローラを備えた現像装置が知られている。当該現像剤供給ローラは、回転して、現像剤収容体に収容されている現像剤を現像剤供給部材へ向けて移動させることにより、現像剤を現像剤供給部材へ供給する機能を有するとともに、現像剤を現像剤供給部材へ向けて移動させる上述した作用により、現像剤供給部材周辺に存在する気泡を当該現像剤供給部材から引き離す役割をも果たす。
しかしながら、現像装置に設けられている前記現像剤供給ローラが一つのみである場合には、当該現像剤供給ローラの、前記気泡を現像剤供給部材から引き離す働き、が不十分であり、したがって、当該気泡を有する現像剤が現像剤供給部材から現像ローラに供給され、供給された現像剤により、感光体に担持された潜像を現像して画像を形成した場合に、その画質に劣化が生ずることとなる。
本発明は、かかる課題に鑑みてなされたものであり、その目的とするところは、画質の劣化を適切に防止する現像装置、画像形成装置、及び、画像形成システムを実現することにある。
主たる本発明は、液体現像剤を担持するための現像剤担持体と、液体現像剤を前記現像剤担持体に供給するための回転可能な現像剤供給部材と、液体現像剤を収容するための現像剤収容体と、を有し、前記現像剤担持体に担持された液体現像剤によって、像担持体に担持された潜像を現像する現像装置であって、前記現像剤供給部材が、その一部が露出した状態で、前記現像剤収容体に収容された液体現像剤に浸っている現像装置において、液体現像剤を前記現像剤供給部材に供給するための回転可能な第一現像剤供給ローラ及び第二現像剤供給ローラを有することを特徴とする現像装置である。
本発明の他の特徴については、本明細書及び添付図面の記載により明らかにする。
本明細書及び添付図面の記載により、少なくとも次のことが明らかにされる。
液体現像剤を担持するための現像剤担持体と、液体現像剤を前記現像剤担持体に供給するための回転可能な現像剤供給部材と、液体現像剤を収容するための現像剤収容体と、を有し、前記現像剤担持体に担持された液体現像剤によって、像担持体に担持された潜像を現像する現像装置であって、前記現像剤供給部材が、その一部が露出した状態で、前記現像剤収容体に収容された液体現像剤に浸っている現像装置において、液体現像剤を前記現像剤供給部材に供給するための回転可能な第一現像剤供給ローラ及び第二現像剤供給ローラを有することを特徴とする現像装置。
現像装置が、当該第一現像剤供給ローラ及び当該第二現像剤供給ローラを有することにより、画質の劣化を適切に防止することが可能となる。
また、前記現像剤供給部材は、液体現像剤を前記現像剤担持体に供給するための回転可能な第三現像剤供給ローラであることとしてもよい。
また、前記第一現像剤供給ローラは、前記第三現像剤供給ローラの中心軸を通る鉛直面から見て、前記第三現像剤供給ローラが回転して液体現像剤から進出する側に設けられていることとしてもよい。
かかる場合には、液体現像剤の供給に適したローラ(すなわち、第一現像剤供給ローラ)を、現像装置に配置させることができる。
また、前記第一現像剤供給ローラは、その中心軸の軸方向が前記第三現像剤供給ローラの中心軸の軸方向に沿うように設けられ、前記第一現像剤供給ローラは、前記第三現像剤供給ローラの回転方向と同方向に回転することとしてもよい。
かかる場合には、液体現像剤の供給に、より適したローラ(すなわち、第一現像剤供給ローラ)を、現像装置に配置させることができる。
また、前記第一現像剤供給ローラ及び前記第二現像剤供給ローラは、前記第三現像剤供給ローラに液体現像剤を挟んで対向するように設けられ、前記第二現像剤供給ローラは、前記第一現像剤供給ローラから見て、前記第三現像剤供給ローラの回転方向上流側に位置することとしてもよい。
かかる場合には、気泡による悪影響を回避させるのに適したローラ(すなわち、第二現像剤供給ローラ)を、現像装置に配置させることができる。
また、前記第二現像剤供給ローラは、前記第三現像剤供給ローラの中心軸を通る鉛直面から見て、前記第三現像剤供給ローラが回転して液体現像剤に進入する側に設けられていることとしてもよい。
かかる場合には、気泡による悪影響を回避させるのに、より適したローラ(すなわち、第二現像剤供給ローラ)を、現像装置に配置させることができる。
また、前記第一現像剤供給ローラ及び前記第二現像剤供給ローラは、その中心軸の軸方向が前記第三現像剤供給ローラの中心軸の軸方向に沿うように設けられ、前記第二現像剤供給ローラの中心軸は、前記第一現像剤供給ローラの中心軸よりも鉛直方向上方に位置することとしてもよい。
かかる場合には、気泡による悪影響を回避させるのに、より適したローラ(すなわち、第二現像剤供給ローラ)を、現像装置に配置させることができる。
また、前記第二現像剤供給ローラは、前記第三現像剤供給ローラの回転方向と同方向に回転することとしてもよい。
かかる場合には、気泡による悪影響を回避させるのに、より適したローラ(すなわち、第二現像剤供給ローラ)を、現像装置に配置させることができる。
また、前記第二現像剤供給ローラは、前記現像剤収容体に接するように設けられ、前記第三現像剤供給ローラの回転方向と同方向に回転することにより前記現像剤収容体に対し摺動することとしてもよい。
かかる場合には、気泡による悪影響を回避させるのに、より適したローラ(すなわち、第二現像剤供給ローラ)を、現像装置に配置させることができる。
また、前記第一現像剤供給ローラ及び前記第二現像剤供給ローラの中心軸は、前記第三現像剤供給ローラの中心軸よりも鉛直方向下方に位置し、前記第一現像剤供給ローラ及び前記第二現像剤供給ローラは、液体現像剤の液中に設けられていることとしてもよい。
また、前記第二現像剤供給ローラの直径は、前記第一現像剤供給ローラの直径よりも小さいこととしてもよい。
また、前記第二現像剤供給ローラと前記第三現像剤供給ローラとの距離は、前記第一現像剤供給ローラと前記第三現像剤供給ローラとの距離よりも小さいこととしてもよい。
また、前記第三現像剤供給ローラの表面に当接して、該第三現像剤供給ローラ上の液体現像剤の量を規制するための規制部材を有することとしてもよい。
かかる場合には、上述した効果、すなわち、画質の劣化を防止するという効果、がより有効に発揮されることとなる。
また、前記液体現像剤は、常温で不揮発性を有する不揮発性液体現像剤であることとしてもよい。
かかる場合には、上述した効果、すなわち、画質の劣化を防止するという効果、がより有効に発揮されることとなる。
また、液体現像剤を担持するための現像剤担持体と、液体現像剤を前記現像剤担持体に供給するための回転可能な現像剤供給部材と、液体現像剤を収容するための現像剤収容体と、を有し、前記現像剤担持体に担持された液体現像剤によって、像担持体に担持された潜像を現像する現像装置であって、前記現像剤供給部材が、その一部が露出した状態で、前記現像剤収容体に収容された液体現像剤に浸っている現像装置において、液体現像剤を前記現像剤供給部材に供給するための回転可能な第一現像剤供給ローラ及び第二現像剤供給ローラを有し、前記現像剤供給部材は、液体現像剤を前記現像剤担持体に供給するための回転可能な第三現像剤供給ローラであり、前記第一現像剤供給ローラは、前記第三現像剤供給ローラの中心軸を通る鉛直面から見て、前記第三現像剤供給ローラが回転して液体現像剤から進出する側に設けられており、前記第一現像剤供給ローラは、その中心軸の軸方向が前記第三現像剤供給ローラの中心軸の軸方向に沿うように設けられ、前記第一現像剤供給ローラは、前記第三現像剤供給ローラの回転方向と同方向に回転し、前記第一現像剤供給ローラ及び前記第二現像剤供給ローラは、前記第三現像剤供給ローラに液体現像剤を挟んで対向するように設けられ、前記第二現像剤供給ローラは、前記第一現像剤供給ローラから見て、前記第三現像剤供給ローラの回転方向上流側に位置し、前記第二現像剤供給ローラは、前記第三現像剤供給ローラの中心軸を通る鉛直面から見て、前記第三現像剤供給ローラが回転して液体現像剤に進入する側に設けられており、前記第一現像剤供給ローラ及び前記第二現像剤供給ローラは、その中心軸の軸方向が前記第三現像剤供給ローラの中心軸の軸方向に沿うように設けられ、前記第二現像剤供給ローラの中心軸は、前記第一現像剤供給ローラの中心軸よりも鉛直方向上方に位置し、前記第二現像剤供給ローラは、前記第三現像剤供給ローラの回転方向と同方向に回転し、前記第二現像剤供給ローラは、前記現像剤収容体に接するように設けられ、前記第三現像剤供給ローラの回転方向と同方向に回転することにより前記現像剤収容体に対し摺動し、前記第一現像剤供給ローラ及び前記第二現像剤供給ローラの中心軸は、前記第三現像剤供給ローラの中心軸よりも鉛直方向下方に位置し、前記第一現像剤供給ローラ及び前記第二現像剤供給ローラは、液体現像剤の液中に設けられており、前記第二現像剤供給ローラの直径は、前記第一現像剤供給ローラの直径よりも小さくて、前記第二現像剤供給ローラと前記第三現像剤供給ローラとの距離は、前記第一現像剤供給ローラと前記第三現像剤供給ローラとの距離よりも小さくて、前記第三現像剤供給ローラの表面に当接して、該第三現像剤供給ローラ上の液体現像剤の量を規制するための規制部材を有し、前記液体現像剤は、常温で不揮発性を有する不揮発性液体現像剤であることを特徴とする現像装置も実現可能である。
このようにすれば、既述の総ての効果を奏するため、本発明の目的がより有効に達成される。
また、潜像を担持するための像担持体と、液体現像剤を担持するための現像剤担持体と、液体現像剤を前記現像剤担持体に供給するための回転可能な現像剤供給部材と、液体現像剤を収容するための現像剤収容体と、を有し、前記現像剤担持体に担持された液体現像剤によって、前記像担持体に担持された潜像を現像する現像装置であって、前記現像剤供給部材が、その一部が露出した状態で、前記現像剤収容体に収容された液体現像剤に浸っている現像装置と、を備えた画像形成装置において、液体現像剤を前記現像剤供給部材に供給するための回転可能な第一現像剤供給ローラ及び第二現像剤供給ローラを有することを特徴とする画像形成装置も実現可能である。
画像形成装置が、当該第一現像剤供給ローラ及び当該第二現像剤供給ローラを有することにより、画質の劣化を適切に防止することが可能となる。
また、コンピュータ、及び、このコンピュータに接続可能な画像形成装置であって、潜像を担持するための像担持体と、液体現像剤を担持するための現像剤担持体と、液体現像剤を前記現像剤担持体に供給するための回転可能な現像剤供給部材と、液体現像剤を収容するための現像剤収容体と、を有し、前記現像剤担持体に担持された液体現像剤によって、前記像担持体に担持された潜像を現像する現像装置であって、前記現像剤供給部材が、その一部が露出した状態で、前記現像剤収容体に収容された液体現像剤に浸っている現像装置と、を備えた画像形成装置、を有する画像形成システムにおいて、液体現像剤を前記現像剤供給部材に供給するための回転可能な第一現像剤供給ローラ及び第二現像剤供給ローラを有することを特徴とする画像形成システムも実現可能である。
画像形成システムが、当該第一現像剤供給ローラ及び当該第二現像剤供給ローラを有することにより、画質の劣化を適切に防止することが可能となる。
===画像形成装置の全体構成例===
次に、図1を用いて、画像形成装置としてレーザビームプリンタ(以下、プリンタともいう)10を例にとって、その概要について説明する。図1は、プリンタ10を構成する主要構成要素を示した図である。なお、図1には、矢印にて上下方向を示しており、例えば、現像ユニット50Y、50M、50C、50Kは、プリンタ10の下部に配置されており、中間転写体70は、プリンタ10の上部に配置されている。
本実施の形態に係るプリンタ10は、図1に示すように、4つの現像部15Y、15M、15C、15K、中間転写体70、二次転写ユニット80を有し、さらに、不図示の定着ユニット、ユーザへの報知手段をなし液晶パネルでなる表示ユニット、及び、これらのユニット等を制御しプリンタとしての動作を司る制御ユニット100(図2)を有している。
現像部15Y、15M、15C、15Kは、それぞれ、イエロー(Y)現像剤、マゼンタ(M)現像剤、シアン(C)現像剤、ブラック(K)現像剤で潜像を現像する機能を有している。現像部15Y、15M、15C、15Kの構成は同様であるので、以下、現像部15Yについて説明する。
現像部15Yは、図1に示すように、像担持体の一例としての感光体20Yの回転方向に沿って、帯電ユニット30Y、露光ユニット40Y、現像装置の一例としての現像ユニット50Y、一次転写ユニット60Y、除電ユニット73Y、感光体クリーニングユニット75Yを有している。
感光体20Yは、円筒状の基材とその外周面に形成された感光層を有し、中心軸を中心に回転可能であり、本実施の形態においては、図1中の矢印で示すように時計回りに回転する。
帯電ユニット30Yは、感光体20Yを帯電するための装置であり、露光ユニット40Yは、レーザを照射することによって帯電された感光体20Y上に潜像を形成する装置である。この露光ユニット40Yは、半導体レーザ、ポリゴンミラー、F−θレンズ等を有しており、パーソナルコンピュータ、ワードプロセッサ等の不図示のホストコンピュータから入力された画像信号に基づいて、変調されたレーザを帯電された感光体20Y上に照射する。
現像ユニット50Yは、感光体20Y上に形成された潜像を、イエロー(Y)現像剤を用いて現像するための装置である。現像ユニット50Yの詳細については後述する。
一次転写ユニット60Yは、感光体20Yに形成されたイエロー現像剤像を中間転写体70に転写するための装置である。一次転写ユニット60Y、60M、60C、60Kにより、4色の現像剤が順次重ねて転写された場合には、中間転写体70にフルカラー現像剤像が形成される。
中間転写体70は、複数の支持ローラに張架されたエンドレスのベルトであり、感光体20Y、20M、20C、20Kと当接しながら回転駆動される。
二次転写ユニット80は、中間転写体70上に形成された単色現像剤像やフルカラー現像剤像を紙、フィルム、布等の媒体に転写するための装置である。
不図示の定着ユニットは、媒体上に転写された単色現像剤像やフルカラー現像剤像を紙等の媒体に融着させて永久像とするための装置である。
除電ユニット73Yは、一次転写ユニット60Yによって中間転写体70上に現像剤像が転写された後に、感光体20Y上の残留電荷を除去する装置である。
感光体クリーニングユニット75Yは、感光体20Yの表面に当接されたゴム製の感光体クリーニングブレード76Yを有し、一次転写ユニット60Yによって中間転写体70上に現像剤像が転写された後に、感光体20Y上に残存する現像剤を感光体クリーニングブレード76Yにより掻き落として除去するための装置である。
制御ユニット100は、図2に示すようにメインコントローラ101と、ユニットコントローラ102とで構成され、メインコントローラ101には画像信号及び制御信号が入力され、この画像信号及び制御信号に基づく指令に応じてユニットコントローラ102が前記各ユニット等を制御して画像を形成する。
次に、このように構成されたプリンタ10の動作について、他の構成要素にも言及しつつ説明する。
まず、不図示のホストコンピュータからの画像信号及び制御信号がインターフェイス(I/F)112を介してプリンタ10のメインコントローラ101に入力されると、このメインコントローラ101からの指令に基づくユニットコントローラ102の制御により感光体20Y、20M、20C、20K、現像ユニット50Y、50M、50C、50Kに備えられた後述する現像ローラ、及び、中間転写体70等が回転する。感光体20Y、20M、20C、20Kは、回転しながら、帯電位置において帯電ユニット30Y、30M、30C、30Kにより順次帯電される。
感光体20Y、20M、20C、20Kの帯電された領域は、感光体20Y、20M、20C、20Kの回転に伴って露光位置に至り、露光ユニット40Y、40M、40C、40Kによって、イエローY、マゼンタM、シアンC、ブラックKの画像情報に応じた潜像が該領域に形成される。
感光体20Y、20M、20C、20K上に形成された潜像は、感光体20Y、20M、20C、20Kの回転に伴って現像位置に至り、現像ユニット50Y、50M、50C、50Kによって現像される。これにより、感光体20Y、20M、20C、20K上に現像剤像が形成される。
感光体20Y、20M、20C、20K上に形成された現像剤像は、感光体20Y、20M、20C、20Kの回転に伴って一次転写位置に至り、一次転写ユニット60Y、60M、60C、60Kによって、中間転写体70に転写される。この際、一次転写ユニット60Y、60M、60C、60Kには、現像剤の帯電極性とは逆の極性の一次転写電圧が印加される。この結果、各々の感光体20Y、20M、20C、20K上に形成された4色の現像剤像は、中間転写体70に重なり合って転写され、中間転写体70上にはフルカラー現像剤像が形成される。
中間転写体70上に形成されたフルカラー現像剤像は、中間転写体70の回転に伴って二次転写位置に至り、二次転写ユニット80によって媒体に転写される。なお、媒体は、不図示の給紙トレイから、各種ローラを介して二次転写ユニット80へ搬送される(図1中の矢印は、媒体の搬送方向を表している)。また、転写動作を行う際、二次転写ユニット80は中間転写体70に押圧されるとともに二次転写電圧が印加される。
媒体に転写されたフルカラー現像剤像は、定着ユニットによって加熱加圧されて媒体に融着される。
一方、感光体20Y、20M、20C、20Kは一次転写位置を経過した後に、除電ユニット73Y、73M、73C、73Kによって除電され、さらに、感光体クリーニングユニット75Y、75M、75C、75Kに支持された感光体クリーニングブレード76Y、76M、76C、76Kによって、その表面に付着している現像剤が掻き落とされ、次の潜像を形成するための帯電に備える。掻き落とされた現像剤は、感光体クリーニングユニット75Y、75M、75C、75Kが備える残存現像剤回収部に回収される。
===制御ユニットの概要===
次に、制御ユニット100の構成について図2を参照しつつ説明する。制御ユニット100のメインコントローラ101は、インターフェイス112を介してホストコンピュータと接続され、このホストコンピュータから入力された画像信号を記憶するための画像メモリ113を備えている。ユニットコントローラ102は、装置本体の各ユニット(帯電ユニット30Y、30M、30C、30K、露光ユニット40Y、40M、40C、40K、現像ユニット50Y、50M、50C、50K、一次転写ユニット60Y、60M、60C、60K、除電ユニット73Y、73M、73C、73K、感光体クリーニングユニット75Y、75M、75C、75K、二次転写ユニット80、定着ユニット、表示ユニット)と電気的に接続され、それらが備えるセンサからの信号を受信することによって、各ユニットの状態を検出しつつ、メインコントローラ101から入力される信号に基づいて、各ユニットを制御する。
===現像ユニットの構成例===
次に、図3乃至図6を用いて、現像ユニットの構成例について説明する。図3は、現像ユニットの主要構成要素を示した断面図である。図4は、現像剤供給ローラ550の表面を表した斜視概念図である。図5A乃至図5Cは現像剤供給ローラ550表面に設けられた溝の形状を示す断面図である。図6は、規制ブレード560のトレール規制を表した模式図である。なお、図3においては、図1同様、矢印にて上下方向を示しており、例えば、現像ローラ510は、現像剤供給ローラ550よりも上方にある。
プリンタ10には、現像ユニットとして、ブラック(K)現像剤を収容したブラック現像ユニット50K、マゼンタ(M)現像剤を収容したマゼンタ現像ユニット50M、シアン(C)現像剤を収容したシアン現像ユニット50C、及び、イエロー(Y)現像剤を収容したイエロー現像ユニット50Yが設けられているが、各現像ユニットの構成は同様であるので、以下、イエロー現像ユニット50Yについて説明する。
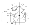
イエロー現像ユニット50Yは、現像剤収容体の一例としての現像剤収容部530と、現像剤担持体の一例としての現像ローラ510と、現像剤Dを当該現像剤担持体に供給するための回転可能な現像剤供給部材の一例としての第三現像剤供給ローラと、現像剤Dを現像剤供給部材に供給するための回転可能な第一現像剤供給ローラ及び第二現像剤供給ローラと、規制部材の一例としての規制ブレード560と、現像ローラクリーニングユニット570とを有している。なお、以下では、便宜上、現像剤Dを現像剤担持体に供給するための現像剤供給部材の一例としての第三現像剤供給ローラのみを、現像剤供給ローラ550と呼び、現像剤Dを前記現像剤供給部材に供給するための第一現像剤供給ローラ及び第二現像剤供給ローラについては、省略して、第一ローラ540及び第二ローラ545と呼ぶこととする。
現像剤収容部530は、感光体20Yに形成された潜像を現像するための現像剤Dを収容する。この現像剤収容部530に収容されている現像剤Dは、従来一般的に使用されている、Isopar(商標:エクソン)をキャリアとした低濃度(1〜2wt%程度)かつ低粘度の、常温で揮発性を有する揮発性液体現像剤ではなく、高濃度かつ高粘度の、常温で不揮発性を有する不揮発性液体現像剤Dである。すなわち、本実施の形態に係る液体現像剤Dは、パラフィンオイル、シリコーンオイル等の不揮発性かつ絶縁性キャリア液中に、平均粒径0.1〜5μm程度の樹脂、顔料等からなるトナー粒子を高濃度(5〜40wt%程度)に分散させた高粘度(100〜10000mPa・s程度)現像剤Dである。
現像剤供給ローラ550は、現像剤Dを現像ローラ510へ供給する機能を有する。この現像剤供給ローラ550は、鉄等金属性のローラの表面に図4に示すような凹部の一例としての溝550bを均一かつ螺旋状に設け、ニッケルメッキを施したものであり、その直径は約25mmである。本実施の形態における現像剤供給ローラ550は、当該溝として、図5Aに示すような台形の断面を有する溝550bを備えているが、例えば、図5Bに示すような逆三角形の断面を有する溝を備えてもよいし、図5Cに示すような半円形の断面を有する溝を備えてもよい。なお、本実施の形態における現像剤供給ローラ550の溝寸法は、図5Aに示すとおり、溝ピッチ約170μm、山幅約45μm、谷幅約30μm、溝深さ約50μmである。
また、現像剤供給ローラ550は、当該現像剤供給ローラ550上の現像剤Dを現像ローラ510に適切に転写するために、その表面が、当該現像ローラ510の後述する弾性体の層に圧接している。また、現像剤供給ローラ550は、その中心軸550aを中心として回転可能であり、当該中心軸550aは、現像ローラ510の回転中心軸よりも下方にある。また、現像剤供給ローラ550は、現像ローラ510の回転方向(図3において反時計方向)と逆の方向(図3において時計方向)に回転する。
さらに、現像剤供給ローラ550は、その一部が露出した状態で、現像剤収容部530に収容された現像剤Dに浸っている。したがって、かかる状況で現像剤供給ローラ550が回転すると、現像剤供給ローラ550の中心軸を通る鉛直面Aから見て図3中右側において現像剤供給ローラ550は現像剤Dに進入し、図3中左側において現像剤供給ローラ550は現像剤Dから進出することとなる。
第一ローラ540は、現像剤収容部530に収容されている現像剤Dを現像剤供給ローラ550へ向けて移動させることにより、現像剤Dを現像剤供給ローラ550へ供給する。この第一ローラ540は、SUS製のローラであり、その直径は約15mmである。
第一ローラ540は、その中心軸540aの軸方向が現像剤供給ローラ550の中心軸550aの軸方向に沿うように、かつ、前述した鉛直面Aから見て、現像剤供給ローラ550が回転して現像剤Dから進出する側(すなわち、鉛直面Aから見て図3中左側)に設けられている。また、第一ローラ540の中心軸540aは、現像剤供給ローラ550の中心軸550aよりも、鉛直方向下方に位置し、第一ローラ540は現像剤Dの液中に設けられている。さらに、第一ローラ540は、現像剤Dを現像剤供給ローラ550へ適切に供給するために、現像剤供給ローラ550から約2mmの幅を持った状態で、現像剤Dを挟んで現像剤供給ローラ550に対向している。
また、第一ローラ540は、その中心軸540aを中心として回転可能であり、現像剤供給ローラ550の回転方向(図3において時計方向)と同方向(図3において時計方向)に回転する。第一ローラ540の回転速度は、現像剤供給ローラ550の回転速度と、線速度で同速である。
なお、第一ローラ540は、現像剤Dを現像剤供給ローラ550へ供給する機能を有するとともに、現像剤Dを適正な状態に維持するために現像剤Dを撹拌する機能を有する。
第二ローラ545は、第一ローラ540と同様、現像剤収容部530に収容されている現像剤Dを現像剤供給ローラ550へ向けて移動させることにより、現像剤Dを現像剤供給ローラ550へ供給する。この第二ローラ545は、SUS製のローラであり、その直径は約10mmである。
第二ローラ545は、第一ローラ540と同様、その中心軸545aの軸方向が現像剤供給ローラ550の中心軸550aの軸方向に沿うように設けられている。
また、第二ローラ545は、前述した鉛直面Aから見て、現像剤供給ローラ550が回転して現像剤Dに進入する側(すなわち、鉛直面Aから見て図3中右側)に設けられており、前記第一ローラ540から見て、現像剤供給ローラ550の回転方向上流側に位置する。
さらに、第二ローラ545の中心軸545aは、現像剤供給ローラ550の中心軸550aよりも、鉛直方向下方に位置し、第二ローラ545は現像剤Dの液中に設けられている。第二ローラ545の中心軸545aの位置は、第一ローラ540の中心軸540aの位置よりも、鉛直方向上方にある。また、第二ローラ545は、現像剤Dを現像剤供給ローラ550へ適切に供給するために、現像剤供給ローラ550から約1mmの幅を持った状態で、現像剤Dを挟んで現像剤供給ローラ550に対向している。
第二ローラ545は、その中心軸545aを中心として回転可能であり、現像剤供給ローラ550の回転方向(図3において時計方向)と同方向(図3において時計方向)に回転する。第二ローラ545の回転速度は、現像剤供給ローラ550の回転速度と、線速度で同速である。また、第二ローラ545は、現像剤収容部530の側壁530aに接しており、回転することにより当該側壁530aに対し摺動する。
なお、第二ローラ545は、第一ローラ540と同様、現像剤Dを現像剤供給ローラ550へ供給する機能を有するとともに、現像剤Dを適正な状態に維持するために現像剤Dを撹拌する機能を有する。
規制ブレード560は、現像剤供給ローラ550の表面に当接して、現像剤供給ローラ550上の現像剤Dの量を規制する。すなわち、当該規制ブレード560は、現像剤供給ローラ550上の余剰現像剤を掻き取って、現像ローラ510に供給する現像剤供給ローラ550上の現像剤D、を計量する役割を果たす。この規制ブレード560は、弾性体としてのウレタンゴムからなり、鉄等金属製の規制ブレード支持部材562より支持されている。また、規制ブレード560は、前述した鉛直面Aから見て、現像剤供給ローラ550が回転して現像剤Dから進出する側(すなわち、鉛直面Aから見て図3中左側)に設けられている。なお、規制ブレード560のゴム硬度は、JIS−Aで約62度であり、規制ブレード560の、現像剤供給ローラ550表面への当接部、の硬度(約62度)は、後述する現像ローラ510の弾性体の層の、現像剤供給ローラ550表面への圧接部、の硬度(約85度)よりも低くなっている。
また、規制ブレード560は、そのエッジ部560aが現像剤供給ローラ550の表面に当接しており、いわゆるエッジ規制を行う。また、図6に示されるように、規制ブレード560は、その先端が現像剤供給ローラ550の回転方向の下流側に向くように配置されており、いわゆるトレール規制を行う。図6に示されるように、本実施の形態において、そのトレール角度は約10度である。
現像ローラ510は、感光体20Yに担持された潜像を現像剤Dにより現像するために、現像剤Dを担持して感光体20Yと対向する現像位置に搬送する。この現像ローラ510は、鉄等金属製の内芯の外周部に、導電性を有する弾性体の層を備えたものであり、その直径は約20mmである。また、弾性体の層は、二層構造になっており、その内層として、ゴム硬度がJIS−A約30度で、厚み約5mmのウレタンゴムが、その表層(外層)として、ゴム硬度がJIS−A約85度で、厚み約30μmのウレタンゴムが備えられている。そして、現像ローラ510は、前記表層が圧接部となって、弾性変形された状態で現像剤供給ローラ550及び感光体20Yのそれぞれに圧接している。
また、現像ローラ510は、その中心軸を中心として回転可能であり、当該中心軸は、感光体20Yの回転中心軸よりも下方にある。また、現像ローラ510は、感光体20Yの回転方向(図3において時計方向)と逆の方向(図3において反時計方向)に回転する。なお、感光体20Y上に形成された潜像を現像する際には、現像ローラ510と感光体20Yとの間に電界が形成される。
現像ローラクリーニングユニット570は、現像ローラ510の表面に当接されたゴム製の現像ローラクリーニングブレード571を有し、前記現像位置で現像が行われた後に、現像ローラ510上に残存する現像剤Dを現像ローラクリーニングブレード571により掻き落として除去するための装置である。
このように構成されたイエロー現像ユニット50Yにおいて、第一ローラ540及び第二ローラ545が、回転することにより、現像剤収容部530に収容されている現像剤Dを現像剤供給ローラ550へ向けて移動させ、現像剤Dを現像剤供給ローラ550へ供給する。
現像剤Dは、現像剤供給ローラ550の回転によって、規制ブレード560の当接位置に至る。そして、当該当接位置を通過する際に、現像剤Dの余剰分が規制ブレード560によって掻き取られ、現像ローラ510に供給される現像剤Dの現像剤量が計量される。すなわち、現像剤供給ローラ550には、前述したとおり、溝550bが設けられているから、現像剤供給ローラ550に当接する規制ブレード560は、現像剤供給ローラ550上の現像剤Dを溝550bに保持された現像剤Dを残して掻き取ることとなる。また、現像ローラ510に供給される現像剤Dの現像剤量が適正な量になるように溝550bの寸法が決められているので、規制ブレード560が現像剤供給ローラ550上の現像剤Dを掻き取った際には、溝550bによって適正な量に計量された現像剤Dが溝550bに残存することとなる。
現像剤供給ローラ550の溝550bに保持された現像剤Dは、現像剤供給ローラ550のさらなる回転によって、現像ローラ510との圧接位置に至る。当該圧接位置に至った現像剤Dは、現像剤供給ローラ550と現像ローラ510が圧接することにより生ずる圧力の作用より、現像剤供給ローラ550から現像ローラ510へ転写され、現像ローラ510上には現像剤Dの薄膜が形成される。
このようにして現像ローラ510上に形成された現像剤Dの薄膜は、現像ローラ510の回転によって、感光体20Yに対向する現像位置(すなわち、感光体20Yとの圧接位置)に至り、該現像位置にて所定の大きさの電界下で感光体20Y上に形成された潜像の現像に供される。現像位置を通過した現像ローラ510上の現像剤Dは、現像ローラ510のさらなる回転によって、現像ローラクリーニングブレード571の当接位置に至る。そして、当該当接位置を通過する際に、現像ローラクリーニングブレード571によって、現像ローラ510の表面に付着している現像剤Dが掻き落とされ、掻き落とされた現像剤Dは、現像ローラクリーニングユニット570が備える残存現像剤回収部に回収される。
なお、現像剤供給ローラ550の回転は、第一ローラ540及び第二ローラ545が回転している状態で開始する。すなわち、プリンタ10は、第一ローラ540及び第二ローラ545を回転させた後に、現像剤供給ローラ550を回転させる。
===第一ローラ及び第二ローラの、気泡に対する作用について===
上述したとおり、本実施形態に係る現像装置は、現像剤Dを現像剤供給ローラ550に供給するための回転可能なローラを2つ(第一ローラ540と第二ローラ545)有している。このことにより、画質の劣化を適切に防止することが可能となる。
すなわち、発明が解決しようとする課題の項等で説明したとおり、現像剤供給ローラ550が、その一部が露出した状態で、現像剤収容部530に収容された現像剤Dに浸っている状況で、現像剤供給ローラ550が回転すると、現像剤供給ローラ550が現像剤Dに進入する際に空気が取り込まれて、現像剤D内(特に、現像剤Dの、現像剤供給ローラ550が回転して進入する進入部)に気泡が発生する場合がある。当該気泡を有する現像剤Dが現像ローラ510に供給され、供給された現像剤Dにより、感光体20Y、20M、20C、20Kに担持された潜像を現像して画像を形成した場合には、その画質に劣化が生ずる可能性がある。
一例を挙げて、より具体的に説明する。現像剤D内に発生した気泡が、現像剤供給ローラ550周辺に存在する状態(例えば、現像剤供給ローラ550に付着した状態)で、現像剤供給ローラ550が回転すると、当該気泡は規制ブレード560の当接位置に至ることとなる。当該気泡は、当該当接位置に、換言すれば、規制ブレード560と現像剤供給ローラ550との間に、蓄積されるが、ときどき規制ブレード560をすり抜けて、現像ローラ510との圧接位置に至ることとなる。そして、当該圧接位置に至った気泡は、現像剤Dと共に、現像ローラ510に転写されるが、当該転写の際に、又は、転写後に、気泡が破裂する場合があり、その結果、現像ローラ510上に形成される現像剤Dの薄膜の膜厚が不均一なものとなる。したがって、かかる場合には、その膜厚が不均一な現像剤Dにより、感光体20Y、20M、20C、20Kに担持された潜像を現像して画像を形成することとなり、その画質に劣化が生ずることとなる。
一方、現像剤Dを現像剤供給ローラ550に供給するためのローラ610を一つのみ備えた現像装置(当該現像装置を、図7に示す)が知られている。当該現像装置(比較例に係る現像装置)を上記実施の形態に係る現像装置(本件例に係る現像装置)と比較すると、図3及び図7から明らかなように、ローラ610は本件例に係る第一ローラ540に相当し、比較例に係る現像装置は、第二ローラ545に相当するローラを有していない。
ローラ610は、第一ローラ540と同様、回転して、現像剤収容部530に収容されている現像剤Dを現像剤供給ローラ550へ向けて移動させる(現像剤Dの移動方向の一例を、図7中矢印X1で表す)ことにより、現像剤Dを現像剤供給ローラ550へ供給する機能を有するが、一方で、現像剤Dを現像剤供給ローラ550へ向けて移動させる上述した作用により、現像剤供給ローラ550周辺に存在する気泡を当該現像剤供給ローラ550から引き離す役割をも果たす。しかしながら、ローラ610だけでは、気泡を現像剤供給ローラ550から引き離す前記働きが不十分であり、したがって、当該気泡を有する現像剤Dが現像剤供給ローラ550から現像ローラ510に供給され、供給された現像剤Dにより、感光体20Y、20M、20C、20Kに担持された潜像を現像して画像を形成した場合に、その画質に劣化が生ずることとなる。
そこで、現像装置に、現像剤Dを現像剤供給ローラ550に供給するための回転可能なローラ、を2つ(第一ローラ540と第二ローラ545)設けることとする。
このようにすれば、図8に示すように、第一ローラ540が、現像剤Dを現像剤供給ローラ550へ向けて移動させる(現像剤Dの移動方向の一例を、図8中矢印X1で表す)ことにより現像剤供給ローラ550周辺に存在する気泡(例えば、現像剤供給ローラ550に付着した気泡)を当該現像剤供給ローラ550から引き離す機能を発揮する上、第二ローラ545も、現像剤Dを現像剤供給ローラ550へ向けて移動させる(現像剤Dの移動方向の一例を、図8中矢印X2で表す)ことにより現像剤供給ローラ550周辺に存在する気泡(例えば、現像剤供給ローラ550に付着した気泡)を当該現像剤供給ローラ550から引き離す機能を発揮する。
したがって、気泡を現像剤供給ローラ550から引き離す前記働きが十分なものとなり、当該気泡を有する現像剤Dの、現像剤供給ローラ550から現像ローラ510への供給、が抑制される。そして、気泡による前述した悪影響を受けることなく、感光体20Y、20M、20C、20Kに担持された潜像を現像して画像を形成することが可能となり、延いては、画質の劣化が適切に防止されることとなる。
なお、図8は、第一ローラ540及び第二ローラ545の回転により発生する現像剤Dの流れの例を示した模式図である。
===その他の実施の形態===
以上、上記実施の形態に基づき本発明に係る現像装置等を説明したが、上記発明の実施の形態は、本発明の理解を容易にするためのものであり、本発明を限定するものではない。本発明は、その趣旨を逸脱することなく、変更、改良され得ると共に、本発明にはその等価物が含まれることはもちろんである。
上記実施の形態においては、画像形成装置として中間転写型のフルカラーレーザビームプリンタを例にとって説明したが、本発明は、中間転写型以外のフルカラーレーザビームプリンタにも適用可能である。また、フルカラーレーザプリンタだけではなく、モノクロレーザビームプリンタにも適用可能である。また、プリンタだけでなく、複写機、ファクシミリなどの各種画像形成装置にも適用可能である。
また、感光体についても、円筒状の基材の外周面に感光層を設けて構成した、いわゆる感光ローラに限られず、ベルト状の基材の表面に感光層を設けて構成した、いわゆる感光ベルトであってもよい。
同様に、上記実施の形態においては、前記現像剤担持体と、前記現像剤供給部材は、それぞれ、現像ローラ510と、現像剤供給ローラ550であることとしたが、これに限定されるものではなく、例えば、ベルト状の現像ベルトや現像剤供給ベルトであってもよい。
また、上記実施の形態においては、規制ブレード560は、その先端が現像剤供給ローラ550の回転方向の下流側に向くように配置されており、いわゆるトレール規制を行うこととしたが、これに限定されるものではなく、例えば、その先端が現像剤供給ローラの回転方向の上流側に向くように配置されており、いわゆるカウンター規制を行うこととしてもよい。
また、上記実施の形態において、第一ローラ540は、現像剤供給ローラ550の中心軸550aを通る鉛直面Aから見て、現像剤供給ローラ550が回転して現像剤Dから進出する側に設けられていることとしたが、これに限定されるものではない。例えば、第一ローラ540は、現像剤供給ローラ550の中心軸550aを通る鉛直面Aから見て、現像剤供給ローラ550が回転して現像剤Dに進入する側に設けられていることとしてもよい。
第一ローラ540が、前記鉛直面Aから見て現像剤供給ローラ550が回転して現像剤Dから進出する側に設けられている場合には、現像剤Dに進入する側に設けられている場合と比較して、現像剤Dが現像剤供給ローラ550から現像ローラ510へ供給される直前に第一ローラ540が現像剤Dを当該現像剤供給ローラ550へ供給することとなるため、より適切な現像剤Dの供給手順が実現される。
したがって、現像剤Dの供給に適したローラ(すなわち、第一ローラ540)を、現像装置に配置させることができることとなり、かかる点で、上記実施の形態の方がより望ましい。
また、上記実施の形態において、第一ローラ540は、その中心軸540aの軸方向が現像剤供給ローラ550の中心軸550aの軸方向に沿うように設けられ、第一ローラ540は、現像剤供給ローラ550の回転方向と同方向に回転することとしたが、これに限定されるものではない。例えば、第一ローラ540は、現像剤供給ローラ550の回転方向と逆方向に回転することとしてもよい。
第一ローラ540が、現像剤供給ローラ550の回転方向と同方向に回転する場合には、逆方向に回転する場合に比べて、第一ローラ540が、現像剤供給ローラ550上の、現像ローラ510により近い位置に、現像剤Dを供給することができるため、より適切な現像剤Dの供給手順が実現される。
したがって、現像剤Dの供給に、より適したローラ(すなわち、第一ローラ540)を、現像装置に配置させることができることとなり、かかる点で、上記実施の形態の方がより望ましい。
また、上記実施の形態において、第一ローラ540及び第二ローラ545は、現像剤供給ローラ550に現像剤Dを挟んで対向するように設けられ、第二ローラ545は、第一ローラ540から見て、現像剤供給ローラ550の回転方向上流側に位置することとしたが、これに限定されるものではない。例えば、図9に示すように、第二ローラ545は、第一ローラ540から見て、現像剤供給ローラ550の回転方向下流側に位置することとしてもよい。
第二ローラ545が、第一ローラ540から見て、現像剤供給ローラ550の回転方向上流側に位置する場合には、回転方向下流側に位置する場合に比べて、第二ローラ545の回転によって現像剤供給ローラ550から引き離された気泡が、上方へ移動して、現像剤供給ローラ550が現像剤Dに進入する側に位置する現像剤Dの液面にて、消滅(すなわち、気泡が、液面上方の空気に戻る)する現象が、発生し易くなる。したがって、かかる場合には、感光体20Y、20M、20C、20Kに担持された潜像を現像して画像を形成する際に、気泡による前述した悪影響をより一層受けにくくなる。
このように、気泡による悪影響を回避させるのに適したローラ(すなわち、第二ローラ545)を、現像装置に配置させることができることとなり、かかる点で、上記実施の形態の方がより望ましい。
また、上記実施の形態において、第二ローラ545は、現像剤供給ローラ550の中心軸550aを通る鉛直面Aから見て、現像剤供給ローラ550が回転して現像剤Dに進入する側に設けられていることとしたが、これに限定されるものではない。例えば、図10に示すように、第二ローラ545は、現像剤供給ローラ550の中心軸550aを通る鉛直面Aから見て、現像剤供給ローラ550が回転して現像剤Dから進出する側に設けられていることとしてもよい。
第二ローラ545が、前記鉛直面Aから見て現像剤供給ローラ550が回転して現像剤Dに進入する側に設けられている場合には、現像剤Dから進出する側に設けられている場合に比べて、第二ローラ545の回転によって現像剤供給ローラ550から引き離された気泡が、上方へ移動して、現像剤供給ローラ550が現像剤Dに進入する側に位置する現像剤Dの液面にて、消滅(すなわち、気泡が、液面上方の空気に戻る)する現象が、より発生し易くなる。したがって、かかる場合には、感光体20Y、20M、20C、20Kに担持された潜像を現像して画像を形成する際に、気泡による前述した悪影響をより一層受けにくくなる。
このように、気泡による悪影響を回避させるのに、より適したローラ(すなわち、第二ローラ545)を、現像装置に配置させることができることとなり、かかる点で、上記実施の形態の方がより望ましい。
また、上記実施の形態において、第一ローラ540及び第二ローラ545は、その中心軸540a、545aの軸方向が現像剤供給ローラ550の中心軸550aの軸方向に沿うように設けられ、第二ローラ545の中心軸545aは、第一ローラ540の中心軸540aよりも鉛直方向上方に位置することとしたが、これに限定されるものではない。例えば、図11に示すように、第二ローラ545の中心軸545aは、第一ローラ540の中心軸540aよりも鉛直方向下方に位置することとしてもよい。
第二ローラ545の中心軸545aが、第一ローラ540の中心軸540aよりも鉛直方向上方に位置する場合には、鉛直方向下方に位置する場合に比べて、第二ローラ545の回転によって現像剤供給ローラ550から引き離された気泡が、上方へ移動して、現像剤供給ローラ550が現像剤Dに進入する側に位置する現像剤Dの液面にて、消滅(すなわち、気泡が、液面上方の空気に戻る)する現象が、より発生し易くなる。したがって、かかる場合には、感光体20Y、20M、20C、20Kに担持された潜像を現像して画像を形成する際に、気泡による前述した悪影響をより一層受けにくくなる。
このように、気泡による悪影響を回避させるのに、より適したローラ(すなわち、第二ローラ545)を、現像装置に配置させることができることとなり、かかる点で、上記実施の形態の方がより望ましい。
また、上記実施の形態において、第二ローラ545は、現像剤供給ローラ550の回転方向と同方向に回転することとしたが、これに限定されるものではない。例えば、第二ローラ545は、現像剤供給ローラ550の回転方向と逆方向に回転することとしてもよい。
第二ローラ545が、現像剤供給ローラ550の回転方向と同方向に回転する場合には、逆方向に回転する場合に比べて、現像剤D内に発生し現像剤供給ローラ550に付着して当該現像剤供給ローラ550の回転に伴って移動しようとする気泡や、現像剤供給ローラ550の近傍に位置し現像剤供給ローラ550が回転する方向に沿って移動しようとする気泡、の当該移動を妨げるような方向(図12中矢印X3で示す方向)に、現像剤Dの流れが発生し、当該現像剤Dの流れの作用により気泡を矢印X3の方向に移動させることが可能となる。したがって、かかる場合には、感光体20Y、20M、20C、20Kに担持された潜像を現像して画像を形成する際に、気泡による前述した悪影響をより一層受けにくくなる。
このように、気泡による悪影響を回避させるのに、より適したローラ(すなわち、第二ローラ545)を、現像装置に配置させることができることとなり、かかる点で、上記実施の形態の方がより望ましい。なお、図12は、第二ローラ545の回転により発生する現像剤Dの流れの例を示した模式図である。
また、上記実施の形態において、第二ローラ545は、現像剤収容部530に接するように設けられ、現像剤供給ローラ550の回転方向と同方向に回転することにより現像剤収容部530に対し摺動することとしたが、これに限定されるものではない。例えば、第二ローラ545は、現像剤収容部530に接しないこととしてもよい。
第二ローラ545が回転すると、第二ローラ545の回転する方向に沿う方向(図12中矢印X4で示す方向)にも、現像剤Dの流れが発生しうるから、当該現像剤Dの流れの作用により気泡が、矢印X4の方向に移動して第二ローラ545と現像剤収容部530との間に到達する可能性がある。しかしながら、第二ローラ545は、現像剤収容部530に接するように設けられ、現像剤収容部530に対し摺動するから、第二ローラ545と現像剤収容部530との間に到達した気泡が当該間を通過することが、防止される。したがって、かかる場合には、感光体20Y、20M、20C、20Kに担持された潜像を現像して画像を形成する際に、気泡による前述した悪影響をより一層受けにくくなる。
このように、気泡による悪影響を回避させるのに、より適したローラ(すなわち、第二ローラ545)を、現像装置に配置させることができることとなり、かかる点で、上記実施の形態の方がより望ましい。
また、上記実施の形態において、第一ローラ540及び第二ローラ545の中心軸540a、545aは、現像剤供給ローラ550の中心軸550aよりも鉛直方向下方に位置し、第一ローラ540及び第二ローラ545は、現像剤Dの液中に設けられていることとしたが、これに限定されるものではない。例えば、第一ローラ540及び第二ローラ545のうちのどちらか一方が、現像剤Dから一部露出していることとしてもよい。
また、上記実施の形態において、第二ローラ545の直径(10mm)は、第一ローラ540の直径(15mm)よりも小さいこととしたが、これに限定されるものではない。例えば、第二ローラ545の直径は、第一ローラ540の直径よりも大きいこととしてもよいし、双方の直径が同じであることとしてもよい。
また、上記実施の形態において、第二ローラ545と現像剤供給ローラ550との距離(1mm)は、第一ローラ540と現像剤供給ローラ550との距離(2mm)よりも小さいこととしたが、これに限定されるものではない。例えば、第二ローラ545と現像剤供給ローラ550との距離は、第一ローラ540と現像剤供給ローラ550との距離よりも大きいことしてもよいし、双方の距離が同じであることとしてもよい。
また、上記実施の形態においては、現像剤供給ローラ550の表面に当接して、該現像剤供給ローラ550上の現像剤Dの量を規制するための規制ブレード560を有することとしたが、これに限定されるものではない。例えば、当該規制ブレード560を有しないこととしてもよいし、当該規制ブレード560が現像剤供給ローラ550の表面に当接しないこととしてもよい。
現像剤供給ローラ550の表面に当接して、該現像剤供給ローラ550上の現像剤Dの量を規制するための規制ブレード560を有する場合には、現像剤D内の気泡が、規制ブレード560と現像剤供給ローラ550との間に蓄積され易くなる。そして、このように気泡が蓄積されると、規制ブレード560が、現像剤供給ローラ550上の現像剤Dの量を適切に規制することができなくなる。そのため、かかる場合には、その量が不適切に規制された現像剤Dにより、感光体20Y、20M、20C、20Kに担持された潜像を現像して画像を形成することとなり、その画質に劣化が生ずることとなる。
したがって、前記規制ブレード560を有する場合には、上述した効果、すなわち、気泡を現像剤供給ローラ550から適切に引き離すことにより、得られる画像の画質が劣化しないようにするという効果、がより有効に発揮されることとなり、かかる点で、上記実施の形態の方がより効果的である。
また、上記実施の形態において、前記現像剤Dは、常温で不揮発性を有する不揮発性液体現像剤であることとしたが、これに限定されるものではない。例えば、当該現像剤は、Isopar(商標:エクソン)をキャリアとした低濃度(1〜2wt%程度)かつ低粘度の常温で揮発性を有する揮発性液体現像剤であってもよい。
常温で不揮発性を有する不揮発性液体現像剤は、その不揮発性を発揮させるためにその粘度が高くなっている。高粘度の液体現像剤を上述した現像装置に使用した場合には、その粘度の高さに起因して、現像剤供給ローラ550が回転して現像剤Dに進入する際に空気が取り込まれ易くなるため、現像剤D内に気泡が発生し易くなる。また、粘度の高さに起因して、現像剤D内に発生した気泡が上方へ移動して現像剤Dの液面にて消滅する(すなわち、気泡が、液面上方の空気に戻る)現象、が発生しにくくなるため、現像剤D内に気泡が留まり易くなる。
したがって、上述した効果、すなわち、気泡を有する現像剤Dが現像ローラ510に供給されることを適切に抑制し、得られる画像の画質が劣化しないようにするという効果、がより有効に発揮されることとなり、かかる点で、上記実施の形態の方がより効果的である。
また、上記実施の形態においては、現像剤供給ローラ550に設けられた凹部として、溝550bを例に挙げて説明したが、例えば、図13Aや図13Bに示すような形状の穴部が現像剤供給ローラ550に多数設けられていることとしてもよい。なお、図13A及び図13Bは、現像剤供給ローラ550上に設けられる穴部の形状を示したものである。
また、上記実施の形態においては、現像剤Dを現像剤供給ローラ550へ供給する機能を有するローラは、二つのみ(第一ローラ540及び第二ローラ545)であったが、これに限定されるものではなく、三つ以上設けてもよい。
===画像形成システム等の構成===
次に、本発明に係る実施の形態の一例である画像形成システムの実施形態について、図面を参照しながら説明する。
図14は、画像形成システムの外観構成を示した説明図である。画像形成システム700は、コンピュータ702と、表示装置704と、プリンタ706と、入力装置708と、読取装置710とを備えている。コンピュータ702は、本実施形態ではミニタワー型の筐体に収納されているが、これに限られるものではない。表示装置704は、CRT(Cathode Ray Tube:陰極線管)やプラズマディスプレイや液晶表示装置等が用いられるのが一般的であるが、これに限られるものではない。プリンタ706は、上記に説明されたプリンタが用いられている。入力装置708は、本実施形態ではキーボード708Aとマウス708Bが用いられているが、これに限られるものではない。読取装置710は、本実施形態ではフレキシブルディスクドライブ装置710AとCD−ROMドライブ装置710Bが用いられているが、これに限られるものではなく、例えばMO(Magneto Optical)ディスクドライブ装置やDVD(Digital Versatile Disk)等の他のものであっても良い。
図15は、図14に示した画像形成システムの構成を示すブロック図である。コンピュータ702が収納された筐体内にRAM等の内部メモリ802と、ハードディスクドライブユニット804等の外部メモリがさらに設けられている。
なお、以上の説明においては、プリンタ706が、コンピュータ702、表示装置704、入力装置708、及び、読取装置710と接続されて画像形成システムを構成した例について説明したが、これに限られるものではない。例えば、画像形成システムが、コンピュータ702とプリンタ706から構成されても良く、画像形成システムが表示装置704、入力装置708及び読取装置710のいずれかを備えていなくても良い。
また、例えば、プリンタ706が、コンピュータ702、表示装置704、入力装置708、及び、読取装置710のそれぞれの機能又は機構の一部を持っていても良い。一例として、プリンタ706が、画像処理を行う画像処理部、各種の表示を行う表示部、及び、デジタルカメラ等により撮影された画像データを記録した記録メディアを着脱するための記録メディア着脱部等を有する構成としても良い。
このようにして実現された画像形成システムは、システム全体として従来システムよりも優れたシステムとなる。
本実施の形態に係る画像形成装置を構成する主要構成要素を示した図である。 図1の画像形成装置の制御ユニットを示すブロック図である。 現像ユニットの主要構成要素を示した断面図である。 現像剤供給ローラ550の表面を表した斜視概念図である。 図5A乃至図5Cは、現像剤供給ローラ550表面に設けられた溝の形状を示す断面図である。 規制ブレード560のトレール規制を表した模式図である。 比較例に係る現像ユニットの主要構成要素を示した断面図である。 第一ローラ540及び第二ローラ545の回転により発生する現像剤Dの流れの例を示した模式図である。 他の例に係る現像ユニットの主要構成要素を示した断面図である。 他の例に係る現像ユニットの主要構成要素を示した断面図である。 他の例に係る現像ユニットの主要構成要素を示した断面図である。 第二ローラ545の回転により発生する現像剤Dの流れの例を示した模式図である。 図13A及び図13Bは、現像剤供給ローラ550上に設けられる穴部の形状を示したものである。 画像形成システムの外観構成を示した説明図である。 図14に示した画像形成システムの構成を示すブロック図である。
符号の説明
10 レーザビームプリンタ
15Y、15M、15C、15K 現像部
20Y、20M、20C、20K 感光体
30Y、30M、30C、30K 帯電ユニット
40Y、40M、40C、40K 露光ユニット
50Y、50M、50C、50K 現像ユニット
60Y、60M、60C、60K 一次転写ユニット
70 中間転写体
73Y、73M、73C、73K 除電ユニット
75Y、75M、75C、75K 感光体クリーニングユニット
76Y、76M、76C、76K 感光体クリーニングブレード
80 二次転写ユニット
100 制御ユニット 101 メインコントローラ
102 ユニットコントローラ 112 インターフェイス
113 画像メモリ 510 現像ローラ
530 現像剤収容部 530a 側壁
540 第一ローラ 540a 中心軸
545 第二ローラ 545a 中心軸
550 現像剤供給ローラ
550a 中心軸 550b 溝
560 規制ブレード 560a エッジ部
562 規制ブレード支持部材
570 現像ローラクリーニングユニット
571 現像ローラクリーニングブレード
700 画像形成システム 702 コンピュータ
704 表示装置 706 プリンタ
708 入力装置
708A キーボード 708B マウス
710 読取装置
710A フレキシブルディスクドライブ装置
710B CD−ROMドライブ装置
802 内部メモリ
804 ハードディスクドライブユニット
D 現像剤

Claims (17)

  1. 液体現像剤を担持するための現像剤担持体と、
    液体現像剤を前記現像剤担持体に供給するための回転可能な現像剤供給部材と、
    液体現像剤を収容するための現像剤収容体と、を有し、
    前記現像剤担持体に担持された液体現像剤によって、像担持体に担持された潜像を現像する現像装置であって、
    前記現像剤供給部材が、その一部が露出した状態で、前記現像剤収容体に収容された液体現像剤に浸っている現像装置において、
    液体現像剤を前記現像剤供給部材に供給するための回転可能な第一現像剤供給ローラ及び第二現像剤供給ローラを有することを特徴とする現像装置。
  2. 請求項1に記載の現像装置において、
    前記現像剤供給部材は、液体現像剤を前記現像剤担持体に供給するための回転可能な第三現像剤供給ローラであることを特徴とする現像装置。
  3. 請求項2に記載の現像装置において、
    前記第一現像剤供給ローラは、前記第三現像剤供給ローラの中心軸を通る鉛直面から見て、前記第三現像剤供給ローラが回転して液体現像剤から進出する側に設けられていることを特徴とする現像装置。
  4. 請求項3に記載の現像装置において、
    前記第一現像剤供給ローラは、その中心軸の軸方向が前記第三現像剤供給ローラの中心軸の軸方向に沿うように設けられ、
    前記第一現像剤供給ローラは、前記第三現像剤供給ローラの回転方向と同方向に回転することを特徴とする現像装置。
  5. 請求項3又は請求項4に記載の現像装置において、
    前記第一現像剤供給ローラ及び前記第二現像剤供給ローラは、前記第三現像剤供給ローラに液体現像剤を挟んで対向するように設けられ、
    前記第二現像剤供給ローラは、前記第一現像剤供給ローラから見て、前記第三現像剤供給ローラの回転方向上流側に位置することを特徴とする現像装置。
  6. 請求項5に記載の現像装置において、
    前記第二現像剤供給ローラは、前記第三現像剤供給ローラの中心軸を通る鉛直面から見て、前記第三現像剤供給ローラが回転して液体現像剤に進入する側に設けられていることを特徴とする現像装置。
  7. 請求項6に記載の現像装置において、
    前記第一現像剤供給ローラ及び前記第二現像剤供給ローラは、その中心軸の軸方向が前記第三現像剤供給ローラの中心軸の軸方向に沿うように設けられ、
    前記第二現像剤供給ローラの中心軸は、前記第一現像剤供給ローラの中心軸よりも鉛直方向上方に位置することを特徴とする現像装置。
  8. 請求項7に記載の現像装置において、
    前記第二現像剤供給ローラは、前記第三現像剤供給ローラの回転方向と同方向に回転することを特徴とする現像装置。
  9. 請求項8に記載の現像装置において、
    前記第二現像剤供給ローラは、前記現像剤収容体に接するように設けられ、前記第三現像剤供給ローラの回転方向と同方向に回転することにより前記現像剤収容体に対し摺動することを特徴とする現像装置。
  10. 請求項9に記載の現像装置において、
    前記第一現像剤供給ローラ及び前記第二現像剤供給ローラの中心軸は、前記第三現像剤供給ローラの中心軸よりも鉛直方向下方に位置し、前記第一現像剤供給ローラ及び前記第二現像剤供給ローラは、液体現像剤の液中に設けられていることを特徴とする現像装置。
  11. 請求項7乃至請求項10のいずれかに記載の現像装置において、
    前記第二現像剤供給ローラの直径は、前記第一現像剤供給ローラの直径よりも小さいことを特徴とする現像装置。
  12. 請求項7乃至請求項11のいずれかに記載の現像装置において、
    前記第二現像剤供給ローラと前記第三現像剤供給ローラとの距離は、前記第一現像剤供給ローラと前記第三現像剤供給ローラとの距離よりも小さいことを特徴とする現像装置。
  13. 請求項2乃至請求項12のいずれかに記載の現像装置において、
    前記第三現像剤供給ローラの表面に当接して、該第三現像剤供給ローラ上の液体現像剤の量を規制するための規制部材を有することを特徴とする現像装置。
  14. 請求項1乃至請求項13のいずれかに記載の現像装置において、
    前記液体現像剤は、常温で不揮発性を有する不揮発性液体現像剤であることを特徴とする現像装置。
  15. 液体現像剤を担持するための現像剤担持体と、
    液体現像剤を前記現像剤担持体に供給するための回転可能な現像剤供給部材と、
    液体現像剤を収容するための現像剤収容体と、を有し、
    前記現像剤担持体に担持された液体現像剤によって、像担持体に担持された潜像を現像する現像装置であって、
    前記現像剤供給部材が、その一部が露出した状態で、前記現像剤収容体に収容された液体現像剤に浸っている現像装置において、
    液体現像剤を前記現像剤供給部材に供給するための回転可能な第一現像剤供給ローラ及び第二現像剤供給ローラを有し、
    前記現像剤供給部材は、液体現像剤を前記現像剤担持体に供給するための回転可能な第三現像剤供給ローラであり、
    前記第一現像剤供給ローラは、前記第三現像剤供給ローラの中心軸を通る鉛直面から見て、前記第三現像剤供給ローラが回転して液体現像剤から進出する側に設けられており、
    前記第一現像剤供給ローラは、その中心軸の軸方向が前記第三現像剤供給ローラの中心軸の軸方向に沿うように設けられ、
    前記第一現像剤供給ローラは、前記第三現像剤供給ローラの回転方向と同方向に回転し、
    前記第一現像剤供給ローラ及び前記第二現像剤供給ローラは、前記第三現像剤供給ローラに液体現像剤を挟んで対向するように設けられ、
    前記第二現像剤供給ローラは、前記第一現像剤供給ローラから見て、前記第三現像剤供給ローラの回転方向上流側に位置し、
    前記第二現像剤供給ローラは、前記第三現像剤供給ローラの中心軸を通る鉛直面から見て、前記第三現像剤供給ローラが回転して液体現像剤に進入する側に設けられており、
    前記第一現像剤供給ローラ及び前記第二現像剤供給ローラは、その中心軸の軸方向が前記第三現像剤供給ローラの中心軸の軸方向に沿うように設けられ、
    前記第二現像剤供給ローラの中心軸は、前記第一現像剤供給ローラの中心軸よりも鉛直方向上方に位置し、
    前記第二現像剤供給ローラは、前記第三現像剤供給ローラの回転方向と同方向に回転し、
    前記第二現像剤供給ローラは、前記現像剤収容体に接するように設けられ、前記第三現像剤供給ローラの回転方向と同方向に回転することにより前記現像剤収容体に対し摺動し、
    前記第一現像剤供給ローラ及び前記第二現像剤供給ローラの中心軸は、前記第三現像剤供給ローラの中心軸よりも鉛直方向下方に位置し、前記第一現像剤供給ローラ及び前記第二現像剤供給ローラは、液体現像剤の液中に設けられており、
    前記第二現像剤供給ローラの直径は、前記第一現像剤供給ローラの直径よりも小さくて、
    前記第二現像剤供給ローラと前記第三現像剤供給ローラとの距離は、前記第一現像剤供給ローラと前記第三現像剤供給ローラとの距離よりも小さくて、
    前記第三現像剤供給ローラの表面に当接して、該第三現像剤供給ローラ上の液体現像剤の量を規制するための規制部材を有し、
    前記液体現像剤は、常温で不揮発性を有する不揮発性液体現像剤であることを特徴とする現像装置。
  16. 潜像を担持するための像担持体と、
    液体現像剤を担持するための現像剤担持体と、液体現像剤を前記現像剤担持体に供給するための回転可能な現像剤供給部材と、液体現像剤を収容するための現像剤収容体と、を有し、前記現像剤担持体に担持された液体現像剤によって、前記像担持体に担持された潜像を現像する現像装置であって、前記現像剤供給部材が、その一部が露出した状態で、前記現像剤収容体に収容された液体現像剤に浸っている現像装置と、
    を備えた画像形成装置において、
    液体現像剤を前記現像剤供給部材に供給するための回転可能な第一現像剤供給ローラ及び第二現像剤供給ローラを有することを特徴とする画像形成装置。
  17. コンピュータ、及び、
    このコンピュータに接続可能な画像形成装置であって、潜像を担持するための像担持体と、液体現像剤を担持するための現像剤担持体と、液体現像剤を前記現像剤担持体に供給するための回転可能な現像剤供給部材と、液体現像剤を収容するための現像剤収容体と、を有し、前記現像剤担持体に担持された液体現像剤によって、前記像担持体に担持された潜像を現像する現像装置であって、前記現像剤供給部材が、その一部が露出した状態で、前記現像剤収容体に収容された液体現像剤に浸っている現像装置と、を備えた画像形成装置、
    を有する画像形成システムにおいて、
    液体現像剤を前記現像剤供給部材に供給するための回転可能な第一現像剤供給ローラ及び第二現像剤供給ローラを有することを特徴とする画像形成システム。
JP2004110087A 2004-04-02 2004-04-02 現像装置、画像形成装置、及び、画像形成システム Expired - Lifetime JP4461884B2 (ja)

Priority Applications (1)

Application Number Priority Date Filing Date Title
JP2004110087A JP4461884B2 (ja) 2004-04-02 2004-04-02 現像装置、画像形成装置、及び、画像形成システム

Applications Claiming Priority (1)

Application Number Priority Date Filing Date Title
JP2004110087A JP4461884B2 (ja) 2004-04-02 2004-04-02 現像装置、画像形成装置、及び、画像形成システム

Publications (3)

Publication Number Publication Date
JP2005292639A true JP2005292639A (ja) 2005-10-20
JP2005292639A5 JP2005292639A5 (ja) 2007-05-24
JP4461884B2 JP4461884B2 (ja) 2010-05-12

Family

ID=35325601

Family Applications (1)

Application Number Title Priority Date Filing Date
JP2004110087A Expired - Lifetime JP4461884B2 (ja) 2004-04-02 2004-04-02 現像装置、画像形成装置、及び、画像形成システム

Country Status (1)

Country Link
JP (1) JP4461884B2 (ja)

Cited By (1)

* Cited by examiner, † Cited by third party
Publication number Priority date Publication date Assignee Title
JP2011175197A (ja) * 2010-02-25 2011-09-08 Kyocera Mita Corp 現像装置及び画像形成装置

Cited By (1)

* Cited by examiner, † Cited by third party
Publication number Priority date Publication date Assignee Title
JP2011175197A (ja) * 2010-02-25 2011-09-08 Kyocera Mita Corp 現像装置及び画像形成装置

Also Published As

Publication number Publication date
JP4461884B2 (ja) 2010-05-12

Similar Documents

Publication Publication Date Title
JP4507683B2 (ja) 液体現像装置
JP4461884B2 (ja) 現像装置、画像形成装置、及び、画像形成システム
JP4432415B2 (ja) 液体現像装置、画像形成装置、及び、画像形成システム
JP4363121B2 (ja) 液体現像装置、画像形成装置、及び、画像形成システム
JP4635556B2 (ja) 現像装置、画像形成装置、及び、画像形成システム
JP4572563B2 (ja) 現像装置、画像形成装置、及び、画像形成システム
JP4513401B2 (ja) 現像装置、及び、画像形成装置
JP4363135B2 (ja) 液体現像装置、画像形成装置、及び、画像形成システム
JP4581623B2 (ja) 液体現像装置、画像形成装置、画像形成システム、及び、現像剤供給ローラ
JP4609033B2 (ja) 現像装置、画像形成装置、及び、画像形成システム
JP4461883B2 (ja) 液体現像装置、画像形成装置、及び、画像形成システム
JP4419473B2 (ja) 画像形成装置、画像形成システム、及び、画像形成方法
JP4479187B2 (ja) 現像装置、及び、画像形成装置
JP4289077B2 (ja) 画像形成装置、画像形成システム、及び、画像形成方法
US7167666B2 (en) Liquid development device, image forming apparatus, and image forming system
JP4635565B2 (ja) 液体現像装置、及び、画像形成装置
JP4858640B2 (ja) 現像装置、及び、画像形成装置
JP4453405B2 (ja) 現像装置、画像形成装置、及び、画像形成システム
JP4363122B2 (ja) 液体現像装置、画像形成装置、及び、画像形成システム
JP2005316114A (ja) 現像装置、画像形成装置、及び、画像形成システム
JP2005292638A (ja) 現像装置、画像形成装置、及び、画像形成システム
JP2005292636A (ja) 現像装置、画像形成装置、及び、画像形成システム
JP2007240634A (ja) 画像形成装置、及び、画像形成システム
JP2006030638A (ja) 現像装置、現像剤供給ローラ、画像形成装置、及び、画像形成システム
JP2006030639A (ja) 現像装置、現像剤供給ローラ、画像形成装置、及び、画像形成システム

Legal Events

Date Code Title Description
A521 Request for written amendment filed

Free format text: JAPANESE INTERMEDIATE CODE: A523

Effective date: 20070402

A621 Written request for application examination

Free format text: JAPANESE INTERMEDIATE CODE: A621

Effective date: 20070402

A977 Report on retrieval

Free format text: JAPANESE INTERMEDIATE CODE: A971007

Effective date: 20091009

A131 Notification of reasons for refusal

Free format text: JAPANESE INTERMEDIATE CODE: A131

Effective date: 20091020

A521 Request for written amendment filed

Free format text: JAPANESE INTERMEDIATE CODE: A523

Effective date: 20091214

TRDD Decision of grant or rejection written
A01 Written decision to grant a patent or to grant a registration (utility model)

Free format text: JAPANESE INTERMEDIATE CODE: A01

Effective date: 20100126

A01 Written decision to grant a patent or to grant a registration (utility model)

Free format text: JAPANESE INTERMEDIATE CODE: A01

A61 First payment of annual fees (during grant procedure)

Free format text: JAPANESE INTERMEDIATE CODE: A61

Effective date: 20100208

FPAY Renewal fee payment (event date is renewal date of database)

Free format text: PAYMENT UNTIL: 20130226

Year of fee payment: 3

R150 Certificate of patent or registration of utility model

Ref document number: 4461884

Country of ref document: JP

Free format text: JAPANESE INTERMEDIATE CODE: R150

Free format text: JAPANESE INTERMEDIATE CODE: R150

FPAY Renewal fee payment (event date is renewal date of database)

Free format text: PAYMENT UNTIL: 20130226

Year of fee payment: 3

S531 Written request for registration of change of domicile

Free format text: JAPANESE INTERMEDIATE CODE: R313531

R350 Written notification of registration of transfer

Free format text: JAPANESE INTERMEDIATE CODE: R350

EXPY Cancellation because of completion of term