JP2005292636A - 現像装置、画像形成装置、及び、画像形成システム - Google Patents
現像装置、画像形成装置、及び、画像形成システム Download PDFInfo
- Publication number
- JP2005292636A JP2005292636A JP2004110084A JP2004110084A JP2005292636A JP 2005292636 A JP2005292636 A JP 2005292636A JP 2004110084 A JP2004110084 A JP 2004110084A JP 2004110084 A JP2004110084 A JP 2004110084A JP 2005292636 A JP2005292636 A JP 2005292636A
- Authority
- JP
- Japan
- Prior art keywords
- developer
- liquid developer
- roller
- liquid
- developer supply
- Prior art date
- Legal status (The legal status is an assumption and is not a legal conclusion. Google has not performed a legal analysis and makes no representation as to the accuracy of the status listed.)
- Pending
Links
- 239000007788 liquid Substances 0.000 claims abstract description 125
- 238000003756 stirring Methods 0.000 claims abstract description 61
- 230000001105 regulatory effect Effects 0.000 claims description 21
- 230000006866 deterioration Effects 0.000 abstract description 13
- 238000004140 cleaning Methods 0.000 description 20
- 230000033228 biological regulation Effects 0.000 description 17
- 108091008695 photoreceptors Proteins 0.000 description 17
- 238000013019 agitation Methods 0.000 description 14
- 230000000694 effects Effects 0.000 description 14
- 238000010586 diagram Methods 0.000 description 12
- 239000010410 layer Substances 0.000 description 10
- 230000006870 function Effects 0.000 description 8
- XEEYBQQBJWHFJM-UHFFFAOYSA-N Iron Chemical compound [Fe] XEEYBQQBJWHFJM-UHFFFAOYSA-N 0.000 description 6
- 229920001971 elastomer Polymers 0.000 description 5
- 239000010408 film Substances 0.000 description 4
- 229920006311 Urethane elastomer Polymers 0.000 description 3
- 239000003795 chemical substances by application Substances 0.000 description 3
- 229910052742 iron Inorganic materials 0.000 description 3
- 239000000463 material Substances 0.000 description 3
- 230000002093 peripheral effect Effects 0.000 description 3
- 230000005684 electric field Effects 0.000 description 2
- 230000008030 elimination Effects 0.000 description 2
- 238000003379 elimination reaction Methods 0.000 description 2
- 239000004973 liquid crystal related substance Substances 0.000 description 2
- 239000002184 metal Substances 0.000 description 2
- 229910052751 metal Inorganic materials 0.000 description 2
- 238000006386 neutralization reaction Methods 0.000 description 2
- 239000002245 particle Substances 0.000 description 2
- 239000011347 resin Substances 0.000 description 2
- 229920005989 resin Polymers 0.000 description 2
- 238000007790 scraping Methods 0.000 description 2
- 230000003068 static effect Effects 0.000 description 2
- 239000002344 surface layer Substances 0.000 description 2
- 239000010409 thin film Substances 0.000 description 2
- 239000005662 Paraffin oil Substances 0.000 description 1
- 230000009471 action Effects 0.000 description 1
- 230000002411 adverse Effects 0.000 description 1
- 230000008901 benefit Effects 0.000 description 1
- 230000015556 catabolic process Effects 0.000 description 1
- 238000006731 degradation reaction Methods 0.000 description 1
- 239000004744 fabric Substances 0.000 description 1
- 230000001678 irradiating effect Effects 0.000 description 1
- 230000007246 mechanism Effects 0.000 description 1
- 230000003287 optical effect Effects 0.000 description 1
- 239000000123 paper Substances 0.000 description 1
- 239000000049 pigment Substances 0.000 description 1
- 230000004044 response Effects 0.000 description 1
- 230000000717 retained effect Effects 0.000 description 1
- 239000004065 semiconductor Substances 0.000 description 1
- 229920002545 silicone oil Polymers 0.000 description 1
- 230000001629 suppression Effects 0.000 description 1
- 238000011144 upstream manufacturing Methods 0.000 description 1
Images
Landscapes
- Wet Developing In Electrophotography (AREA)
Abstract
【課題】画質の劣化を適切に防止する現像装置、画像形成装置、及び、画像形成システムを実現することにある。
【解決手段】液体現像剤を担持するための現像剤担持体と、液体現像剤を前記現像剤担持体に供給するための回転可能な現像剤供給部材と、液体現像剤を収容するための現像剤収容体と、を有し、前記現像剤担持体に担持された液体現像剤によって、像担持体に担持された潜像を現像する現像装置であって、前記現像剤供給部材が、その一部が露出した状態で、前記現像剤収容体に収容された液体現像剤に浸っている現像装置において、液体現像剤の、前記現像剤供給部材が回転して進入する進入部に、該現像剤供給部材の進入方向とは逆方向の液体現像剤の流れを、液体現像剤を撹拌することにより発生させる撹拌部材、を有することを特徴とする。
【選択図】 図7
【解決手段】液体現像剤を担持するための現像剤担持体と、液体現像剤を前記現像剤担持体に供給するための回転可能な現像剤供給部材と、液体現像剤を収容するための現像剤収容体と、を有し、前記現像剤担持体に担持された液体現像剤によって、像担持体に担持された潜像を現像する現像装置であって、前記現像剤供給部材が、その一部が露出した状態で、前記現像剤収容体に収容された液体現像剤に浸っている現像装置において、液体現像剤の、前記現像剤供給部材が回転して進入する進入部に、該現像剤供給部材の進入方向とは逆方向の液体現像剤の流れを、液体現像剤を撹拌することにより発生させる撹拌部材、を有することを特徴とする。
【選択図】 図7
Description
本発明は、現像装置、画像形成装置、及び、画像形成システムに関する。
この種の画像形成装置としては、例えば、潜像を担持するための像担持体の一例としての感光体と、液体現像剤(以下、単に、現像剤とも呼ぶ)によって感光体に担持された潜像を現像するための現像装置と、を有する画像形成装置が知られている。かかる画像形成装置は、ホストコンピュータなどの外部装置から画像信号等が送信されると、感光体上に潜像を形成する。そして、感光体に形成され、担持された潜像は、感光体の回転に伴って現像位置に至り、現像装置によって現像され、感光体上に現像剤像が形成される。
上記の現像装置は、感光体上に形成された潜像を現像するという既述の機能等を実現するために、現像剤を担持するための現像剤担持体の一例としての現像ローラと、現像剤を現像ローラに供給するための回転可能な現像剤供給部材の一例としての現像剤供給ローラと、現像剤を収容するための現像剤収容体の一例としての現像剤収容部と、を有している。
そして、現像剤供給ローラは、その一部が露出した状態で、現像剤収容部に収容された現像剤に浸っており、現像剤供給ローラが回転することにより、前記現像剤が現像ローラに供給される。さらに、現像ローラに供給された現像剤は、潜像の現像に供される。
特開平7−219355号公報
現像剤供給ローラが、その一部が露出した状態で、現像剤収容部に収容された現像剤に浸っている状況で、現像剤供給ローラが回転すると、現像剤供給ローラが現像剤に進入する際に空気が取り込まれて、現像剤内に気泡が発生する場合がある。
当該気泡を有する現像剤が現像ローラに供給され、供給された現像剤により、感光体に担持された潜像を現像して画像を形成した場合には、その画質に劣化が生ずる可能性がある。
当該気泡を有する現像剤が現像ローラに供給され、供給された現像剤により、感光体に担持された潜像を現像して画像を形成した場合には、その画質に劣化が生ずる可能性がある。
本発明は、かかる課題に鑑みてなされたものであり、その目的とするところは、画質の劣化を適切に防止する現像装置、画像形成装置、及び、画像形成システムを実現することにある。
主たる本発明は、液体現像剤を担持するための現像剤担持体と、液体現像剤を前記現像剤担持体に供給するための回転可能な現像剤供給部材と、液体現像剤を収容するための現像剤収容体と、を有し、前記現像剤担持体に担持された液体現像剤によって、像担持体に担持された潜像を現像する現像装置であって、前記現像剤供給部材が、その一部が露出した状態で、前記現像剤収容体に収容された液体現像剤に浸っている現像装置において、液体現像剤の、前記現像剤供給部材が回転して進入する進入部に、該現像剤供給部材の進入方向とは逆方向の液体現像剤の流れを、液体現像剤を撹拌することにより発生させる撹拌部材、を有することを特徴とする現像装置である。
本発明の他の特徴については、本明細書及び添付図面の記載により明らかにする。
本発明の他の特徴については、本明細書及び添付図面の記載により明らかにする。
本明細書及び添付図面の記載により、少なくとも次のことが明らかにされる。
液体現像剤を担持するための現像剤担持体と、液体現像剤を前記現像剤担持体に供給するための回転可能な現像剤供給部材と、液体現像剤を収容するための現像剤収容体と、を有し、前記現像剤担持体に担持された液体現像剤によって、像担持体に担持された潜像を現像する現像装置であって、前記現像剤供給部材が、その一部が露出した状態で、前記現像剤収容体に収容された液体現像剤に浸っている現像装置において、液体現像剤の、前記現像剤供給部材が回転して進入する進入部に、該現像剤供給部材の進入方向とは逆方向の液体現像剤の流れを、液体現像剤を撹拌することにより発生させる撹拌部材、を有することを特徴とする現像装置。
現像装置が当該撹拌部材を有することにより、画質の劣化を適切に防止することが可能となる。
現像装置が当該撹拌部材を有することにより、画質の劣化を適切に防止することが可能となる。
また、前記現像剤供給部材は、現像剤供給ローラであることとしてもよい。
また、回転可能な撹拌ローラを有し、前記撹拌ローラを回転させることにより、液体現像剤の前記進入部に前記進入方向とは逆方向の液体現像剤の流れを発生させることとしてもよい。
また、前記撹拌ローラは、前記現像剤供給ローラの中心軸を通る鉛直面から見て、前記現像剤供給ローラが回転して液体現像剤に進入する側に設けられていることとしてもよい。
このようにすれば、液体現像剤の前記進入部に前記進入方向とは逆方向の液体現像剤の流れをより適切に発生させることができる。
また、回転可能な撹拌ローラを有し、前記撹拌ローラを回転させることにより、液体現像剤の前記進入部に前記進入方向とは逆方向の液体現像剤の流れを発生させることとしてもよい。
また、前記撹拌ローラは、前記現像剤供給ローラの中心軸を通る鉛直面から見て、前記現像剤供給ローラが回転して液体現像剤に進入する側に設けられていることとしてもよい。
このようにすれば、液体現像剤の前記進入部に前記進入方向とは逆方向の液体現像剤の流れをより適切に発生させることができる。
また、前記撹拌ローラは、その中心軸の軸方向が前記現像剤供給ローラの中心軸の軸方向に沿うように設けられ、前記撹拌ローラは、前記現像剤供給ローラの回転方向と同方向に回転することとしてもよい。
このようにすれば、液体現像剤の前記進入部に前記進入方向とは逆方向の液体現像剤の流れをより適切に発生させることができる。
このようにすれば、液体現像剤の前記進入部に前記進入方向とは逆方向の液体現像剤の流れをより適切に発生させることができる。
また、前記撹拌ローラが回転している状態で、前記現像剤供給ローラの回転が開始することとしてもよい。
かかる場合には、液体現像剤の前記進入部に前記進入方向とは逆方向の液体現像剤の流れが発生している状態で、現像剤供給ローラが回転して液体現像剤に進入することとなるから、より一層、液体現像剤内に気泡が発生しにくくなる。したがって、画質の劣化がより適切に防止される。
かかる場合には、液体現像剤の前記進入部に前記進入方向とは逆方向の液体現像剤の流れが発生している状態で、現像剤供給ローラが回転して液体現像剤に進入することとなるから、より一層、液体現像剤内に気泡が発生しにくくなる。したがって、画質の劣化がより適切に防止される。
また、前記現像剤供給ローラは表面に凹部を有し、該凹部に保持された液体現像剤を前記現像剤担持体に供給することとしてもよい。
かかる場合には、上述した効果、すなわち、画質の劣化を防止するという効果、がより有効に発揮されることとなる。
かかる場合には、上述した効果、すなわち、画質の劣化を防止するという効果、がより有効に発揮されることとなる。
また、前記現像剤供給ローラの前記表面に当接して、該現像剤供給ローラ上の液体現像剤の量を規制するための規制部材を有することとしてもよい。
かかる場合には、上述した効果、すなわち、画質の劣化を防止するという効果、がより有効に発揮されることとなる。
かかる場合には、上述した効果、すなわち、画質の劣化を防止するという効果、がより有効に発揮されることとなる。
また、前記液体現像剤は、常温で不揮発性を有する不揮発性液体現像剤であることとしてもよい。
かかる場合には、上述した効果、すなわち、画質の劣化を防止するという効果、がより有効に発揮されることとなる。
かかる場合には、上述した効果、すなわち、画質の劣化を防止するという効果、がより有効に発揮されることとなる。
また、液体現像剤を担持するための現像剤担持体と、液体現像剤を前記現像剤担持体に供給するための回転可能な現像剤供給部材と、液体現像剤を収容するための現像剤収容体と、を有し、前記現像剤担持体に担持された液体現像剤によって、像担持体に担持された潜像を現像する現像装置であって、前記現像剤供給部材が、その一部が露出した状態で、前記現像剤収容体に収容された液体現像剤に浸っている現像装置において、液体現像剤の、前記現像剤供給部材が回転して進入する進入部に、該現像剤供給部材の進入方向とは逆方向の液体現像剤の流れを、液体現像剤を撹拌することにより発生させる撹拌部材、を有し、前記現像剤供給部材は、現像剤供給ローラであり、回転可能な撹拌ローラを有し、前記撹拌ローラを回転させることにより、液体現像剤の前記進入部に前記進入方向とは逆方向の液体現像剤の流れを発生させ、前記撹拌ローラは、前記現像剤供給ローラの中心軸を通る鉛直面から見て、前記現像剤供給ローラが回転して液体現像剤に進入する側に設けられており、前記撹拌ローラは、その中心軸の軸方向が前記現像剤供給ローラの中心軸の軸方向に沿うように設けられ、前記撹拌ローラは、前記現像剤供給ローラの回転方向と同方向に回転し、前記撹拌ローラが回転している状態で、前記現像剤供給ローラの回転が開始し、前記現像剤供給ローラは表面に凹部を有し、該凹部に保持された液体現像剤を前記現像剤担持体に供給し、前記現像剤供給ローラの前記表面に当接して、該現像剤供給ローラ上の液体現像剤の量を規制するための規制部材を有し、前記液体現像剤は、常温で不揮発性を有する不揮発性液体現像剤であることを特徴とする現像装置も実現可能である。
このようにすれば、既述の総ての効果を奏するため、本発明の目的がより有効に達成される。
このようにすれば、既述の総ての効果を奏するため、本発明の目的がより有効に達成される。
また、潜像を担持するための像担持体と、液体現像剤を担持するための現像剤担持体と、液体現像剤を前記現像剤担持体に供給するための回転可能な現像剤供給部材と、液体現像剤を収容するための現像剤収容体と、を有し、前記現像剤担持体に担持された液体現像剤によって、前記像担持体に担持された潜像を現像する現像装置であって、前記現像剤供給部材が、その一部が露出した状態で、前記現像剤収容体に収容された液体現像剤に浸っている現像装置と、を備えた画像形成装置において、液体現像剤の、前記現像剤供給部材が回転して進入する進入部に、該現像剤供給部材の進入方向とは逆方向の液体現像剤の流れを、液体現像剤を撹拌することにより発生させる撹拌部材、を有することを特徴とする画像形成装置も実現可能である。
画像形成装置が当該撹拌部材を有することにより、画質の劣化を適切に防止することが可能となる。
画像形成装置が当該撹拌部材を有することにより、画質の劣化を適切に防止することが可能となる。
また、コンピュータ、及び、このコンピュータに接続可能な画像形成装置であって、潜像を担持するための像担持体と、液体現像剤を担持するための現像剤担持体と、液体現像剤を前記現像剤担持体に供給するための回転可能な現像剤供給部材と、液体現像剤を収容するための現像剤収容体と、を有し、前記現像剤担持体に担持された液体現像剤によって、前記像担持体に担持された潜像を現像する現像装置であって、前記現像剤供給部材が、その一部が露出した状態で、前記現像剤収容体に収容された液体現像剤に浸っている現像装置と、を備えた画像形成装置、を有する画像形成システムにおいて、液体現像剤の、前記現像剤供給部材が回転して進入する進入部に、該現像剤供給部材の進入方向とは逆方向の液体現像剤の流れを、液体現像剤を撹拌することにより発生させる撹拌部材、を有することを特徴とする画像形成システムも実現可能である。
画像形成システムが当該撹拌部材を有することにより、画質の劣化を適切に防止することが可能となる。
画像形成システムが当該撹拌部材を有することにより、画質の劣化を適切に防止することが可能となる。
===画像形成装置の全体構成例===
次に、図1を用いて、画像形成装置としてレーザビームプリンタ(以下、プリンタともいう)10を例にとって、その概要について説明する。図1は、プリンタ10を構成する主要構成要素を示した図である。なお、図1には、矢印にて上下方向を示しており、例えば、現像ユニット50Y、50M、50C、50Kは、プリンタ10の下部に配置されており、中間転写体70は、プリンタ10の上部に配置されている。
次に、図1を用いて、画像形成装置としてレーザビームプリンタ(以下、プリンタともいう)10を例にとって、その概要について説明する。図1は、プリンタ10を構成する主要構成要素を示した図である。なお、図1には、矢印にて上下方向を示しており、例えば、現像ユニット50Y、50M、50C、50Kは、プリンタ10の下部に配置されており、中間転写体70は、プリンタ10の上部に配置されている。
本実施の形態に係るプリンタ10は、図1に示すように、4つの現像部15Y、15M、15C、15K、中間転写体70、二次転写ユニット80を有し、さらに、不図示の定着ユニット、ユーザへの報知手段をなし液晶パネルでなる表示ユニット、及び、これらのユニット等を制御しプリンタとしての動作を司る制御ユニット100(図2)を有している。
現像部15Y、15M、15C、15Kは、それぞれ、イエロー(Y)現像剤、マゼンタ(M)現像剤、シアン(C)現像剤、ブラック(K)現像剤で潜像を現像する機能を有している。現像部15Y、15M、15C、15Kの構成は同様であるので、以下、現像部15Yについて説明する。
現像部15Yは、図1に示すように、像担持体の一例としての感光体20Yの回転方向に沿って、帯電ユニット30Y、露光ユニット40Y、現像装置の一例としての現像ユニット50Y、一次転写ユニット60Y、除電ユニット73Y、感光体クリーニングユニット75Yを有している。
感光体20Yは、円筒状の基材とその外周面に形成された感光層を有し、中心軸を中心に回転可能であり、本実施の形態においては、図1中の矢印で示すように時計回りに回転する。
帯電ユニット30Yは、感光体20Yを帯電するための装置であり、露光ユニット40Yは、レーザを照射することによって帯電された感光体20Y上に潜像を形成する装置である。この露光ユニット40Yは、半導体レーザ、ポリゴンミラー、F−θレンズ等を有しており、パーソナルコンピュータ、ワードプロセッサ等の不図示のホストコンピュータから入力された画像信号に基づいて、変調されたレーザを帯電された感光体20Y上に照射する。
現像ユニット50Yは、感光体20Y上に形成された潜像を、イエロー(Y)現像剤を用いて現像するための装置である。現像ユニット50Yの詳細については後述する。
現像部15Yは、図1に示すように、像担持体の一例としての感光体20Yの回転方向に沿って、帯電ユニット30Y、露光ユニット40Y、現像装置の一例としての現像ユニット50Y、一次転写ユニット60Y、除電ユニット73Y、感光体クリーニングユニット75Yを有している。
感光体20Yは、円筒状の基材とその外周面に形成された感光層を有し、中心軸を中心に回転可能であり、本実施の形態においては、図1中の矢印で示すように時計回りに回転する。
帯電ユニット30Yは、感光体20Yを帯電するための装置であり、露光ユニット40Yは、レーザを照射することによって帯電された感光体20Y上に潜像を形成する装置である。この露光ユニット40Yは、半導体レーザ、ポリゴンミラー、F−θレンズ等を有しており、パーソナルコンピュータ、ワードプロセッサ等の不図示のホストコンピュータから入力された画像信号に基づいて、変調されたレーザを帯電された感光体20Y上に照射する。
現像ユニット50Yは、感光体20Y上に形成された潜像を、イエロー(Y)現像剤を用いて現像するための装置である。現像ユニット50Yの詳細については後述する。
一次転写ユニット60Yは、感光体20Yに形成されたイエロー現像剤像を中間転写体70に転写するための装置である。一次転写ユニット60Y、60M、60C、60Kにより、4色の現像剤が順次重ねて転写された場合には、中間転写体70にフルカラー現像剤像が形成される。
中間転写体70は、複数の支持ローラに張架されたエンドレスのベルトであり、感光体20Y、20M、20C、20Kと当接しながら回転駆動される。
二次転写ユニット80は、中間転写体70上に形成された単色現像剤像やフルカラー現像剤像を紙、フィルム、布等の媒体に転写するための装置である。
不図示の定着ユニットは、媒体上に転写された単色現像剤像やフルカラー現像剤像を紙等の媒体に融着させて永久像とするための装置である。
除電ユニット73Yは、一次転写ユニット60Yによって中間転写体70上に現像剤像が転写された後に、感光体20Y上の残留電荷を除去する装置である。
感光体クリーニングユニット75Yは、感光体20Yの表面に当接されたゴム製の感光体クリーニングブレード76Yを有し、一次転写ユニット60Yによって中間転写体70上に現像剤像が転写された後に、感光体20Y上に残存する現像剤を感光体クリーニングブレード76Yにより掻き落として除去するための装置である。
中間転写体70は、複数の支持ローラに張架されたエンドレスのベルトであり、感光体20Y、20M、20C、20Kと当接しながら回転駆動される。
二次転写ユニット80は、中間転写体70上に形成された単色現像剤像やフルカラー現像剤像を紙、フィルム、布等の媒体に転写するための装置である。
不図示の定着ユニットは、媒体上に転写された単色現像剤像やフルカラー現像剤像を紙等の媒体に融着させて永久像とするための装置である。
除電ユニット73Yは、一次転写ユニット60Yによって中間転写体70上に現像剤像が転写された後に、感光体20Y上の残留電荷を除去する装置である。
感光体クリーニングユニット75Yは、感光体20Yの表面に当接されたゴム製の感光体クリーニングブレード76Yを有し、一次転写ユニット60Yによって中間転写体70上に現像剤像が転写された後に、感光体20Y上に残存する現像剤を感光体クリーニングブレード76Yにより掻き落として除去するための装置である。
制御ユニット100は、図2に示すようにメインコントローラ101と、ユニットコントローラ102とで構成され、メインコントローラ101には画像信号及び制御信号が入力され、この画像信号及び制御信号に基づく指令に応じてユニットコントローラ102が前記各ユニット等を制御して画像を形成する。
次に、このように構成されたプリンタ10の動作について、他の構成要素にも言及しつつ説明する。
まず、不図示のホストコンピュータからの画像信号及び制御信号がインターフェイス(I/F)112を介してプリンタ10のメインコントローラ101に入力されると、このメインコントローラ101からの指令に基づくユニットコントローラ102の制御により感光体20Y、20M、20C、20K、現像ユニット50Y、50M、50C、50Kに備えられた後述する現像ローラ、及び、中間転写体70等が回転する。感光体20Y、20M、20C、20Kは、回転しながら、帯電位置において帯電ユニット30Y、30M、30C、30Kにより順次帯電される。
感光体20Y、20M、20C、20Kの帯電された領域は、感光体20Y、20M、20C、20Kの回転に伴って露光位置に至り、露光ユニット40Y、40M、40C、40Kによって、イエローY、マゼンタM、シアンC、ブラックKの画像情報に応じた潜像が該領域に形成される。
感光体20Y、20M、20C、20K上に形成された潜像は、感光体20Y、20M、20C、20Kの回転に伴って現像位置に至り、現像ユニット50Y、50M、50C、50Kによって現像される。これにより、感光体20Y、20M、20C、20K上に現像剤像が形成される。
感光体20Y、20M、20C、20K上に形成された現像剤像は、感光体20Y、20M、20C、20Kの回転に伴って一次転写位置に至り、一次転写ユニット60Y、60M、60C、60Kによって、中間転写体70に転写される。この際、一次転写ユニット60Y、60M、60C、60Kには、現像剤の帯電極性とは逆の極性の一次転写電圧が印加される。この結果、各々の感光体20Y、20M、20C、20K上に形成された4色の現像剤像は、中間転写体70に重なり合って転写され、中間転写体70上にはフルカラー現像剤像が形成される。
感光体20Y、20M、20C、20K上に形成された潜像は、感光体20Y、20M、20C、20Kの回転に伴って現像位置に至り、現像ユニット50Y、50M、50C、50Kによって現像される。これにより、感光体20Y、20M、20C、20K上に現像剤像が形成される。
感光体20Y、20M、20C、20K上に形成された現像剤像は、感光体20Y、20M、20C、20Kの回転に伴って一次転写位置に至り、一次転写ユニット60Y、60M、60C、60Kによって、中間転写体70に転写される。この際、一次転写ユニット60Y、60M、60C、60Kには、現像剤の帯電極性とは逆の極性の一次転写電圧が印加される。この結果、各々の感光体20Y、20M、20C、20K上に形成された4色の現像剤像は、中間転写体70に重なり合って転写され、中間転写体70上にはフルカラー現像剤像が形成される。
中間転写体70上に形成されたフルカラー現像剤像は、中間転写体70の回転に伴って二次転写位置に至り、二次転写ユニット80によって媒体に転写される。なお、媒体は、不図示の給紙トレイから、各種ローラを介して二次転写ユニット80へ搬送される(図1中の矢印は、媒体の搬送方向を表している)。また、転写動作を行う際、二次転写ユニット80は中間転写体70に押圧されるとともに二次転写電圧が印加される。
媒体に転写されたフルカラー現像剤像は、定着ユニットによって加熱加圧されて媒体に融着される。
媒体に転写されたフルカラー現像剤像は、定着ユニットによって加熱加圧されて媒体に融着される。
一方、感光体20Y、20M、20C、20Kは一次転写位置を経過した後に、除電ユニット73Y、73M、73C、73Kによって除電され、さらに、感光体クリーニングユニット75Y、75M、75C、75Kに支持された感光体クリーニングブレード76Y、76M、76C、76Kによって、その表面に付着している現像剤が掻き落とされ、次の潜像を形成するための帯電に備える。掻き落とされた現像剤は、感光体クリーニングユニット75Y、75M、75C、75Kが備える残存現像剤回収部に回収される。
===制御ユニットの概要===
次に、制御ユニット100の構成について図2を参照しつつ説明する。制御ユニット100のメインコントローラ101は、インターフェイス112を介してホストコンピュータと接続され、このホストコンピュータから入力された画像信号を記憶するための画像メモリ113を備えている。ユニットコントローラ102は、装置本体の各ユニット(帯電ユニット30Y、30M、30C、30K、露光ユニット40Y、40M、40C、40K、現像ユニット50Y、50M、50C、50K、一次転写ユニット60Y、60M、60C、60K、除電ユニット73Y、73M、73C、73K、感光体クリーニングユニット75Y、75M、75C、75K、二次転写ユニット80、定着ユニット、表示ユニット)と電気的に接続され、それらが備えるセンサからの信号を受信することによって、各ユニットの状態を検出しつつ、メインコントローラ101から入力される信号に基づいて、各ユニットを制御する。
次に、制御ユニット100の構成について図2を参照しつつ説明する。制御ユニット100のメインコントローラ101は、インターフェイス112を介してホストコンピュータと接続され、このホストコンピュータから入力された画像信号を記憶するための画像メモリ113を備えている。ユニットコントローラ102は、装置本体の各ユニット(帯電ユニット30Y、30M、30C、30K、露光ユニット40Y、40M、40C、40K、現像ユニット50Y、50M、50C、50K、一次転写ユニット60Y、60M、60C、60K、除電ユニット73Y、73M、73C、73K、感光体クリーニングユニット75Y、75M、75C、75K、二次転写ユニット80、定着ユニット、表示ユニット)と電気的に接続され、それらが備えるセンサからの信号を受信することによって、各ユニットの状態を検出しつつ、メインコントローラ101から入力される信号に基づいて、各ユニットを制御する。
===現像ユニットの構成例===
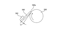
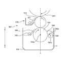
次に、図3乃至図6を用いて、現像ユニットの構成例について説明する。図3は、現像ユニットの主要構成要素を示した断面図である。図4は、現像剤供給ローラ550の表面を表した斜視概念図である。図5A乃至図5Cは現像剤供給ローラ550表面に設けられた溝の形状を示す断面図である。図6は、規制ブレード560のトレール規制を表した模式図である。なお、図3においては、図1同様、矢印にて上下方向を示しており、例えば、現像ローラ510は、現像剤供給ローラ550よりも上方にある。
次に、図3乃至図6を用いて、現像ユニットの構成例について説明する。図3は、現像ユニットの主要構成要素を示した断面図である。図4は、現像剤供給ローラ550の表面を表した斜視概念図である。図5A乃至図5Cは現像剤供給ローラ550表面に設けられた溝の形状を示す断面図である。図6は、規制ブレード560のトレール規制を表した模式図である。なお、図3においては、図1同様、矢印にて上下方向を示しており、例えば、現像ローラ510は、現像剤供給ローラ550よりも上方にある。
プリンタ10には、現像ユニットとして、ブラック(K)現像剤を収容したブラック現像ユニット50K、マゼンタ(M)現像剤を収容したマゼンタ現像ユニット50M、シアン(C)現像剤を収容したシアン現像ユニット50C、及び、イエロー(Y)現像剤を収容したイエロー現像ユニット50Yが設けられているが、各現像ユニットの構成は同様であるので、以下、イエロー現像ユニット50Yについて説明する。
イエロー現像ユニット50Yは、現像剤収容体の一例としての現像剤収容部530と、現像剤供給部材の一例としての現像剤供給ローラ550と、撹拌部材の一例としての撹拌ローラ540と、規制部材の一例としての規制ブレード560と、現像剤担持体の一例としての現像ローラ510と、現像ローラクリーニングユニット570とを有している。
現像剤収容部530は、感光体20Yに形成された潜像を現像するための現像剤Dを収容する。この現像剤収容部530に収容されている現像剤Dは、従来一般的に使用されている、Isopar(商標:エクソン)をキャリアとした低濃度(1〜2wt%程度)かつ低粘度の、常温で揮発性を有する揮発性液体現像剤ではなく、高濃度かつ高粘度の、常温で不揮発性を有する不揮発性液体現像剤Dである。すなわち、本実施の形態に係る液体現像剤Dは、パラフィンオイル、シリコーンオイル等の不揮発性かつ絶縁性キャリア液中に、平均粒径0.1〜5μm程度の樹脂、顔料等からなるトナー粒子を高濃度(5〜40wt%程度)に分散させた高粘度(100〜10000mPa・s程度)現像剤Dである。
現像剤供給ローラ550は、現像剤Dを現像ローラ510へ供給する機能を有する。この現像剤供給ローラ550は、鉄等金属性のローラの表面に図4に示すような凹部の一例としての溝550bを均一かつ螺旋状に設け、ニッケルメッキを施したものであり、その直径は約25mmである。本実施の形態における現像剤供給ローラ550は、当該溝として、図5Aに示すような台形の断面を有する溝550bを備えているが、例えば、図5Bに示すような逆三角形の断面を有する溝を備えてもよいし、図5Cに示すような半円形の断面を有する溝を備えてもよい。なお、本実施の形態における現像剤供給ローラ550の溝寸法は、図5Aに示すとおり、溝ピッチ約170μm、山幅約45μm、谷幅約30μm、溝深さ約50μmである。
また、現像剤供給ローラ550は、当該現像剤供給ローラ550上の現像剤Dを現像ローラ510に適切に転写するために、その表面が、当該現像ローラ510の後述する弾性体の層に圧接している。また、現像剤供給ローラ550は、その中心軸550aを中心として回転可能であり、当該中心軸550aは、現像ローラ510の回転中心軸よりも下方にある。また、現像剤供給ローラ550は、現像ローラ510の回転方向(図3において反時計方向)と逆の方向(図3において時計方向)に回転する。
さらに、現像剤供給ローラ550は、その一部が露出した状態で、現像剤収容部530に収容された現像剤Dに浸っている。したがって、かかる状況で現像剤供給ローラ550が回転すると、現像剤供給ローラ550の中心軸を通る鉛直面Aから見て図3中右側において現像剤供給ローラ550は現像剤Dに進入し、図3中左側において現像剤供給ローラ550は現像剤Dから進出することとなる。
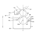
撹拌ローラ540は、回転することによって、現像剤Dを適正な状態に維持するために現像剤Dを撹拌し、かつ、当該撹拌(回転)により、現像剤Dの、現像剤供給ローラ550が回転して進入する進入部580に、現像剤供給ローラ550の進入方向X(図7)とは逆方向Y(図7)の現像剤Dの流れを発生させる。この撹拌ローラ540は、SUS製のローラであり、その直径は約10mmである。
撹拌ローラ540は、その中心軸540aの軸方向が現像剤供給ローラ550の中心軸550aの軸方向に沿うように、かつ、前述した鉛直面Aから見て、現像剤供給ローラ550が回転して現像剤Dに進入する側(すなわち、鉛直面Aから見て図3中右側)に設けられている。また、撹拌ローラ540の中心軸540aは、現像剤供給ローラ550の中心軸550aよりも、鉛直方向下方に位置し、かつ、撹拌ローラ540の上端540bは、現像剤供給ローラ550の中心軸550aよりも、鉛直方向上方に位置している。さらに、撹拌ローラ540は、現像剤供給ローラ550から、約2mmの幅を持って離間している。
また、撹拌ローラ540は、その中心軸540aを中心として回転可能であり、現像剤供給ローラ550の回転方向(図3において時計方向)と同方向(図3において時計方向)に回転する。撹拌ローラ540の回転速度は、現像剤供給ローラ550の回転速度と同速であり、その線速度は、ともに約208mm/sである。
なお、撹拌ローラ540は、上述した機能を有するとともに、現像剤収容部530に収容されている現像剤Dを現像剤供給ローラ550へ向けて移動させることにより、現像剤Dを現像剤供給ローラ550へ供給する機能をも有している。
なお、撹拌ローラ540は、上述した機能を有するとともに、現像剤収容部530に収容されている現像剤Dを現像剤供給ローラ550へ向けて移動させることにより、現像剤Dを現像剤供給ローラ550へ供給する機能をも有している。
規制ブレード560は、現像剤供給ローラ550の表面に当接して、現像剤供給ローラ550上の現像剤Dの量を規制する。すなわち、当該規制ブレード560は、現像剤供給ローラ550上の余剰現像剤を掻き取って、現像ローラ510に供給する現像剤供給ローラ550上の現像剤D、を計量する役割を果たす。この規制ブレード560は、弾性体としてのウレタンゴムからなり、鉄等金属製の規制ブレード支持部材562より支持されている。また、規制ブレード560は、前述した鉛直面Aから見て、現像剤供給ローラ550が回転して現像剤Dから進出する側(すなわち、鉛直面Aから見て図3中左側)に設けられている。なお、規制ブレード560のゴム硬度は、JIS−Aで約62度であり、規制ブレード560の、現像剤供給ローラ550表面への当接部、の硬度(約62度)は、後述する現像ローラ510の弾性体の層の、現像剤供給ローラ550表面への圧接部、の硬度(約85度)よりも低くなっている。
また、規制ブレード560は、そのエッジ部560aが現像剤供給ローラ550の表面に当接しており、いわゆるエッジ規制を行う。また、図6に示されるように、規制ブレード560は、その先端が現像剤供給ローラ550の回転方向の下流側に向くように配置されており、いわゆるトレール規制を行う。図6に示されるように、本実施の形態において、そのトレール角度は約10度である。
現像ローラ510は、感光体20Yに担持された潜像を現像剤Dにより現像するために、現像剤Dを担持して感光体20Yと対向する現像位置に搬送する。この現像ローラ510は、鉄等金属製の内芯の外周部に、導電性を有する弾性体の層を備えたものであり、その直径は約20mmである。また、弾性体の層は、二層構造になっており、その内層として、ゴム硬度がJIS−A約30度で、厚み約5mmのウレタンゴムが、その表層(外層)として、ゴム硬度がJIS−A約85度で、厚み約30μmのウレタンゴムが備えられている。そして、現像ローラ510は、前記表層が圧接部となって、弾性変形された状態で現像剤供給ローラ550及び感光体20Yのそれぞれに圧接している。
また、現像ローラ510は、その中心軸を中心として回転可能であり、当該中心軸は、感光体20Yの回転中心軸よりも下方にある。また、現像ローラ510は、感光体20Yの回転方向(図3において時計方向)と逆の方向(図3において反時計方向)に回転する。なお、感光体20Y上に形成された潜像を現像する際には、現像ローラ510と感光体20Yとの間に電界が形成される。
現像ローラクリーニングユニット570は、現像ローラ510の表面に当接されたゴム製の現像ローラクリーニングブレード571を有し、前記現像位置で現像が行われた後に、現像ローラ510上に残存する現像剤Dを現像ローラクリーニングブレード571により掻き落として除去するための装置である。
このように構成されたイエロー現像ユニット50Yにおいて、撹拌ローラ540が、その中心軸540a回りに回転することによって、現像剤収容部530に収容されている現像剤Dを現像剤供給ローラ550へ向けて移動させ、現像剤Dを現像剤供給ローラ550へ供給する。
現像剤Dは、現像剤供給ローラ550の回転によって、規制ブレード560の当接位置に至る。そして、当該当接位置を通過する際に、現像剤Dの余剰分が規制ブレード560によって掻き取られ、現像ローラ510に供給される現像剤Dの現像剤量が計量される。すなわち、現像剤供給ローラ550には、前述したとおり、溝550bが設けられているから、現像剤供給ローラ550に当接する規制ブレード560は、現像剤供給ローラ550上の現像剤Dを溝550bに保持された現像剤Dを残して掻き取ることとなる。また、現像ローラ510に供給される現像剤Dの現像剤量が適正な量になるように溝550bの寸法が決められているので、規制ブレード560が現像剤供給ローラ550上の現像剤Dを掻き取った際には、溝550bによって適正な量に計量された現像剤Dが溝550bに残存することとなる。
現像剤供給ローラ550の溝550bに保持された現像剤Dは、現像剤供給ローラ550のさらなる回転によって、現像ローラ510との圧接位置に至る。当該圧接位置に至った現像剤Dは、現像剤供給ローラ550と現像ローラ510が圧接することにより生ずる圧力の作用より、現像剤供給ローラ550から現像ローラ510へ転写され、現像ローラ510上には現像剤Dの薄膜が形成される。
このようにして現像ローラ510上に形成された現像剤Dの薄膜は、現像ローラ510の回転によって、感光体20Yに対向する現像位置(すなわち、感光体20Yとの圧接位置)に至り、該現像位置にて所定の大きさの電界下で感光体20Y上に形成された潜像の現像に供される。現像位置を通過した現像ローラ510上の現像剤Dは、現像ローラ510のさらなる回転によって、現像ローラクリーニングブレード571の当接位置に至る。そして、当該当接位置を通過する際に、現像ローラクリーニングブレード571によって、現像ローラ510の表面に付着している現像剤Dが掻き落とされ、掻き落とされた現像剤Dは、現像ローラクリーニングユニット570が備える残存現像剤回収部に回収される。
なお、現像剤供給ローラ550の回転は、撹拌ローラ540が回転している状態で開始する。すなわち、プリンタ10は、撹拌ローラ540を回転させた後に、現像剤供給ローラ550を回転させる。
===撹拌ローラによる気泡発生抑止効果===
上述したとおり、本実施形態に係る現像装置は、現像剤供給ローラ550の進入方向X(図7)とは逆方向Y(図7)の現像剤Dの流れを、現像剤Dを撹拌することにより現像剤Dの前記進入部580に発生させる撹拌ローラ540、を有している。このことにより、画質の劣化を適切に防止することが可能となる。
すなわち、発明が解決しようとする課題の項等で説明したとおり、現像剤供給ローラ550が、その一部が露出した状態で、現像剤収容部530に収容された現像剤Dに浸っている状況で、現像剤供給ローラ550が回転すると、現像剤供給ローラ550が現像剤Dに進入する際に空気が取り込まれて、現像剤D内(特に、現像剤Dの、現像剤供給ローラ550が回転して進入する進入部580)に気泡が発生する場合がある。
当該気泡を有する現像剤Dが現像ローラ510に供給され、供給された現像剤Dにより、感光体20Y、20M、20C、20Kに担持された潜像を現像して画像を形成した場合には、その画質に劣化が生ずる可能性がある。
上述したとおり、本実施形態に係る現像装置は、現像剤供給ローラ550の進入方向X(図7)とは逆方向Y(図7)の現像剤Dの流れを、現像剤Dを撹拌することにより現像剤Dの前記進入部580に発生させる撹拌ローラ540、を有している。このことにより、画質の劣化を適切に防止することが可能となる。
すなわち、発明が解決しようとする課題の項等で説明したとおり、現像剤供給ローラ550が、その一部が露出した状態で、現像剤収容部530に収容された現像剤Dに浸っている状況で、現像剤供給ローラ550が回転すると、現像剤供給ローラ550が現像剤Dに進入する際に空気が取り込まれて、現像剤D内(特に、現像剤Dの、現像剤供給ローラ550が回転して進入する進入部580)に気泡が発生する場合がある。
当該気泡を有する現像剤Dが現像ローラ510に供給され、供給された現像剤Dにより、感光体20Y、20M、20C、20Kに担持された潜像を現像して画像を形成した場合には、その画質に劣化が生ずる可能性がある。
一例を挙げて、より具体的に説明する。現像剤D内に発生した気泡が現像剤供給ローラ550に付着した状態で、現像剤供給ローラ550が回転すると、当該気泡は規制ブレード560の当接位置に至ることとなる。当該気泡は、当該当接位置に、換言すれば、規制ブレード560と現像剤供給ローラ550との間に、蓄積されるが、ときどき規制ブレード560をすり抜けて、現像ローラ510との圧接位置に至ることとなる。そして、当該圧接位置に至った気泡は、現像剤Dと共に、現像ローラ510に転写されるが、当該転写の際に、又は、転写後に、気泡が破裂する場合があり、その結果、現像ローラ510上に形成される現像剤Dの薄膜の膜厚が不均一なものとなる。したがって、かかる場合には、その膜厚が不均一な現像剤Dにより、感光体20Y、20M、20C、20Kに担持された潜像を現像して画像を形成することとなり、その画質に劣化が生ずることとなる。
そこで、図7に示すように、現像剤供給ローラ550の進入方向Xとは逆方向Yの現像剤Dの流れを、現像剤Dを撹拌することにより現像剤Dの前記進入部580に発生させる撹拌ローラ540、を現像ユニットに設ける。このようにすれば、当該現像剤Dの流れの作用により、現像剤供給ローラ550が現像剤Dに進入する際に空気が取り込まれることを防止することが可能となり、現像剤D内(特に、現像剤Dの前記進入部580)に気泡が発生しにくくなる。
したがって、気泡による前述した悪影響を受けることなく、感光体20Y、20M、20C、20Kに担持された潜像を現像して画像を形成することが可能となり、延いては、画質の劣化が適切に防止されることとなる。
なお、図7は、撹拌ローラ540が、現像剤Dの、現像剤供給ローラ550が回転して進入する進入部580に、現像剤供給ローラ550の進入方向Xとは逆方向Yの現像剤Dの流れを発生させる様子を示した模式図である。
したがって、気泡による前述した悪影響を受けることなく、感光体20Y、20M、20C、20Kに担持された潜像を現像して画像を形成することが可能となり、延いては、画質の劣化が適切に防止されることとなる。
なお、図7は、撹拌ローラ540が、現像剤Dの、現像剤供給ローラ550が回転して進入する進入部580に、現像剤供給ローラ550の進入方向Xとは逆方向Yの現像剤Dの流れを発生させる様子を示した模式図である。
===その他の実施の形態===
以上、上記実施の形態に基づき本発明に係る現像装置等を説明したが、上記発明の実施の形態は、本発明の理解を容易にするためのものであり、本発明を限定するものではない。本発明は、その趣旨を逸脱することなく、変更、改良され得ると共に、本発明にはその等価物が含まれることはもちろんである。
以上、上記実施の形態に基づき本発明に係る現像装置等を説明したが、上記発明の実施の形態は、本発明の理解を容易にするためのものであり、本発明を限定するものではない。本発明は、その趣旨を逸脱することなく、変更、改良され得ると共に、本発明にはその等価物が含まれることはもちろんである。
上記実施の形態においては、画像形成装置として中間転写型のフルカラーレーザビームプリンタを例にとって説明したが、本発明は、中間転写型以外のフルカラーレーザビームプリンタにも適用可能である。また、フルカラーレーザプリンタだけではなく、モノクロレーザビームプリンタにも適用可能である。また、プリンタだけでなく、複写機、ファクシミリなどの各種画像形成装置にも適用可能である。
また、感光体についても、円筒状の基材の外周面に感光層を設けて構成した、いわゆる感光ローラに限られず、ベルト状の基材の表面に感光層を設けて構成した、いわゆる感光ベルトであってもよい。
同様に、上記実施の形態においては、前記現像剤担持体と、前記現像剤供給部材は、それぞれ、現像ローラ510と、現像剤供給ローラ550であることとしたが、これに限定されるものではなく、例えば、ベルト状の現像ベルトや現像剤供給ベルトであってもよい。
また、上記実施の形態においては、規制ブレード560は、その先端が現像剤供給ローラ550の回転方向の下流側に向くように配置されており、いわゆるトレール規制を行うこととしたが、これに限定されるものではなく、例えば、その先端が現像剤供給ローラの回転方向の上流側に向くように配置されており、いわゆるカウンター規制を行うこととしてもよい。
また、上記実施の形態においては、回転可能な撹拌ローラ540を有し、当該撹拌ローラ540を回転させることにより、現像剤Dの前記進入部580に前記進入方向Xとは逆方向Yの現像剤Dの流れを発生させることとしたが、これに限定されるものではない。
例えば、図8に示すように、回転可能なパドル610を回転させることにより、現像剤Dの前記進入部580に前記進入方向Xとは逆方向Yの現像剤Dの流れを発生させることとしてもよい。
例えば、図8に示すように、回転可能なパドル610を回転させることにより、現像剤Dの前記進入部580に前記進入方向Xとは逆方向Yの現像剤Dの流れを発生させることとしてもよい。
ここで、図8に示したパドル610について、説明する。当該パドル610は、樹脂からなり、2つの羽根部610bを有している。
パドル610は、その中心軸610aの軸方向が現像剤供給ローラ550の中心軸550aの軸方向に沿うように、かつ、前述した鉛直面Aから見て、現像剤供給ローラ550が回転して現像剤Dに進入する側(すなわち、鉛直面Aから見て図8中右側)に設けられている。また、パドル610の中心軸610aは、現像剤供給ローラ550の中心軸550aよりも、鉛直方向下方に位置し、かつ、パドル610の最上点610cは、現像剤供給ローラ550の中心軸550aよりも、鉛直方向上方に位置している。
また、パドル610は、その中心軸610aを中心として回転可能であり、現像剤供給ローラ550の回転方向(図8において時計方向)と同方向(図8において時計方向)に回転する。パドル610の回転速度は約150rpmであり、その回転直径は15mmである。そして、このように構成されたパドル610を回転させることにより、現像剤Dの前記進入部580に前記進入方向Xとは逆方向Yの現像剤Dの流れを適切に発生させることが可能となる。
パドル610は、その中心軸610aの軸方向が現像剤供給ローラ550の中心軸550aの軸方向に沿うように、かつ、前述した鉛直面Aから見て、現像剤供給ローラ550が回転して現像剤Dに進入する側(すなわち、鉛直面Aから見て図8中右側)に設けられている。また、パドル610の中心軸610aは、現像剤供給ローラ550の中心軸550aよりも、鉛直方向下方に位置し、かつ、パドル610の最上点610cは、現像剤供給ローラ550の中心軸550aよりも、鉛直方向上方に位置している。
また、パドル610は、その中心軸610aを中心として回転可能であり、現像剤供給ローラ550の回転方向(図8において時計方向)と同方向(図8において時計方向)に回転する。パドル610の回転速度は約150rpmであり、その回転直径は15mmである。そして、このように構成されたパドル610を回転させることにより、現像剤Dの前記進入部580に前記進入方向Xとは逆方向Yの現像剤Dの流れを適切に発生させることが可能となる。
なお、撹拌ローラ540やパドル610の代わりに、回転可能なベルト状の撹拌ベルトを回転させて、現像剤Dの前記進入部580に前記進入方向Xとは逆方向Yの現像剤Dの流れを発生させることとしてもよい。
また、上記実施の形態において、撹拌ローラ540は、現像剤供給ローラ550の中心軸550aを通る鉛直面Aから見て、現像剤供給ローラ550が回転して現像剤Dに進入する側に設けられていることとしたが、これに限定されるものではない。例えば、現像剤供給ローラ550が回転して現像剤Dから進出する側(すなわち、鉛直面Aから見て図3中左側)に設けられていることとしてもよい。
ただし、現像剤Dの前記進入部580に前記進入方向Xとは逆方向Yの現像剤Dの流れをより適切に発生させることができる点で、上記実施の形態の方がより望ましい。
ただし、現像剤Dの前記進入部580に前記進入方向Xとは逆方向Yの現像剤Dの流れをより適切に発生させることができる点で、上記実施の形態の方がより望ましい。
また、上記実施の形態において、撹拌ローラ540は、その中心軸540aの軸方向が現像剤供給ローラ550の中心軸550aの軸方向に沿うように設けられ、撹拌ローラ540は、現像剤供給ローラ550の回転方向と同方向に回転することとしたが、これに限定されるものではない。例えば、撹拌ローラ540は、現像剤供給ローラ550の回転方向と逆方向に回転することとしてもよい。
ただし、現像剤Dの前記進入部580に前記進入方向Xとは逆方向Yの現像剤Dの流れをより適切に発生させることができる点で、上記実施の形態の方がより望ましい。
ただし、現像剤Dの前記進入部580に前記進入方向Xとは逆方向Yの現像剤Dの流れをより適切に発生させることができる点で、上記実施の形態の方がより望ましい。
また、上記実施の形態においては、撹拌ローラ540が回転している状態で、現像剤供給ローラ550の回転が開始することとしたが、これに限定されるものではない。例えば、撹拌ローラ540が回転していない状態で、現像剤供給ローラ550の回転が開始することとしてもよい。
上記実施の形態においては、現像剤Dの前記進入部580に前記進入方向Xとは逆方向Yの現像剤Dの流れが発生している状態で、現像剤供給ローラ550が回転して現像剤Dに進入することとなるから、より一層、現像剤D内に気泡が発生しにくくなる。かかる点で、上記実施の形態の方がより望ましい。
また、上記実施の形態において、現像剤供給ローラ550は表面に凹部を有し、該凹部に保持された現像剤Dを現像ローラ510に供給することとしたが、これに限定されるものではない。例えば、現像剤供給ローラ550は表面に凹部を有していないこととしてもよい。
現像剤供給ローラ550の表面に凹部が設けられている場合には、現像剤供給ローラ550が現像剤Dに進入する際に前記凹部内に空気が取り込まれ易くなる。しかしながら、現像剤Dの前記進入部580に前記進入方向Xとは逆方向Yの現像剤Dの流れが発生していると、現像剤供給ローラ550が現像剤Dに進入する際に、凹部内の現像剤Dに前記流れが作用して圧力が加わり、凹部内の空気が凹部から適切に押し出される。したがって、現像剤供給ローラ550の表面に凹部が設けられている場合には、上述した効果、すなわち、現像剤D内に気泡が発生することを抑制し、画質の劣化を防止するという効果、がより有効に発揮されることとなり、かかる点で、上記実施の形態の方がより効果的である。
また、上記実施の形態においては、現像剤供給ローラ550に設けられた凹部として、溝550bを例に挙げて説明したが、例えば、図9Aや図9Bに示すような形状の穴部が現像剤供給ローラ550に多数設けられていることとしてもよい。なお、図9A及び図9Bは、現像剤供給ローラ550上に設けられる穴部の形状を示したものである。
また、上記実施の形態においては、現像剤供給ローラ550の表面に当接して、該現像剤供給ローラ550上の現像剤Dの量を規制するための規制ブレード560を有することとしたが、これに限定されるものではない。例えば、当該規制ブレード560を有しないこととしてもよいし、当該規制ブレード560が現像剤供給ローラ550の表面に当接しないこととしてもよい。
現像剤供給ローラ550の表面に当接して、該現像剤供給ローラ550上の現像剤Dの量を規制するための規制ブレード560を有する場合には、気泡が現像剤D内に発生した際に、当該気泡が規制ブレード560と現像剤供給ローラ550との間に蓄積され易くなる。そして、このように気泡が蓄積されると、規制ブレード560が、現像剤供給ローラ550上の現像剤Dの量を適切に規制することができなくなる。そのため、かかる場合には、その量が不適切に規制された現像剤Dにより、感光体20Y、20M、20C、20Kに担持された潜像を現像して画像を形成することとなり、その画質に劣化が生ずることとなる。
したがって、前記規制ブレード560を有する場合には、上述した効果、すなわち、現像剤D内に気泡が発生することを抑制し、画質の劣化を防止するという効果、がより有効に発揮されることとなり、かかる点で、上記実施の形態の方がより効果的である。
したがって、前記規制ブレード560を有する場合には、上述した効果、すなわち、現像剤D内に気泡が発生することを抑制し、画質の劣化を防止するという効果、がより有効に発揮されることとなり、かかる点で、上記実施の形態の方がより効果的である。
また、上記実施の形態において、前記現像剤Dは、常温で不揮発性を有する不揮発性液体現像剤であることとしたが、これに限定されるものではない。例えば、当該現像剤は、Isopar(商標:エクソン)をキャリアとした低濃度(1〜2wt%程度)かつ低粘度の常温で揮発性を有する揮発性液体現像剤であってもよい。
常温で不揮発性を有する不揮発性液体現像剤は、その不揮発性を発揮させるためにその粘度が高くなっている。高粘度の液体現像剤を上述した現像装置に使用した場合には、その粘度の高さに起因して、現像剤供給ローラ550が回転して現像剤Dに進入する際に空気が取り込まれ易くなるため、現像剤D内に気泡が発生し易くなる。また、粘度の高さに起因して、現像剤D内に発生した気泡が上方へ移動して現像剤Dの液面にて消滅する(すなわち、気泡が、液面上方の空気に戻る)現象、が発生しにくくなるため、現像剤D内に気泡が留まり易くなる。
したがって、上述した効果、すなわち、前記進入部580に現像剤Dの前記流れを発生させることにより、現像剤D内に気泡が生ずることを抑制し、画質の劣化を防止するという効果、がより有効に発揮されることとなり、かかる点で、上記実施の形態の方がより効果的である。
したがって、上述した効果、すなわち、前記進入部580に現像剤Dの前記流れを発生させることにより、現像剤D内に気泡が生ずることを抑制し、画質の劣化を防止するという効果、がより有効に発揮されることとなり、かかる点で、上記実施の形態の方がより効果的である。
また、上記実施の形態においては、現像剤Dを現像剤供給ローラ550へ供給する機能を有する部材は、一つのみ(撹拌ローラ540)であったが、これに限定されるものではない。例えば、当該撹拌ローラ540に加えて、現像剤Dを現像剤供給ローラ550へ供給する機能を有するローラを、前記鉛直面Aから見て現像剤供給ローラ550が回転して現像剤Dから進出する側に設けることとしてもよい。
===画像形成システム等の構成===
次に、本発明に係る実施の形態の一例である画像形成システムの実施形態について、図面を参照しながら説明する。
次に、本発明に係る実施の形態の一例である画像形成システムの実施形態について、図面を参照しながら説明する。
図10は、画像形成システムの外観構成を示した説明図である。画像形成システム700は、コンピュータ702と、表示装置704と、プリンタ706と、入力装置708と、読取装置710とを備えている。コンピュータ702は、本実施形態ではミニタワー型の筐体に収納されているが、これに限られるものではない。表示装置704は、CRT(Cathode Ray Tube:陰極線管)やプラズマディスプレイや液晶表示装置等が用いられるのが一般的であるが、これに限られるものではない。プリンタ706は、上記に説明されたプリンタが用いられている。入力装置708は、本実施形態ではキーボード708Aとマウス708Bが用いられているが、これに限られるものではない。読取装置710は、本実施形態ではフレキシブルディスクドライブ装置710AとCD−ROMドライブ装置710Bが用いられているが、これに限られるものではなく、例えばMO(Magneto Optical)ディスクドライブ装置やDVD(Digital Versatile Disk)等の他のものであっても良い。
図11は、図10に示した画像形成システムの構成を示すブロック図である。コンピュータ702が収納された筐体内にRAM等の内部メモリ802と、ハードディスクドライブユニット804等の外部メモリがさらに設けられている。
なお、以上の説明においては、プリンタ706が、コンピュータ702、表示装置704、入力装置708、及び、読取装置710と接続されて画像形成システムを構成した例について説明したが、これに限られるものではない。例えば、画像形成システムが、コンピュータ702とプリンタ706から構成されても良く、画像形成システムが表示装置704、入力装置708及び読取装置710のいずれかを備えていなくても良い。
また、例えば、プリンタ706が、コンピュータ702、表示装置704、入力装置708、及び、読取装置710のそれぞれの機能又は機構の一部を持っていても良い。一例として、プリンタ706が、画像処理を行う画像処理部、各種の表示を行う表示部、及び、デジタルカメラ等により撮影された画像データを記録した記録メディアを着脱するための記録メディア着脱部等を有する構成としても良い。
このようにして実現された画像形成システムは、システム全体として従来システムよりも優れたシステムとなる。
10 レーザビームプリンタ
15Y、15M、15C、15K 現像部
20Y、20M、20C、20K 感光体
30Y、30M、30C、30K 帯電ユニット
40Y、40M、40C、40K 露光ユニット
50Y、50M、50C、50K 現像ユニット
60Y、60M、60C、60K 一次転写ユニット
70 中間転写体
73Y、73M、73C、73K 除電ユニット
75Y、75M、75C、75K 感光体クリーニングユニット
76Y、76M、76C、76K 感光体クリーニングブレード
80 二次転写ユニット
100 制御ユニット 101 メインコントローラ
102 ユニットコントローラ 112 インターフェイス
113 画像メモリ 510 現像ローラ
530 現像剤収容部 540 撹拌ローラ
540a 中心軸 540b 上端
550 現像剤供給ローラ
550a 中心軸 550b 溝
560 規制ブレード 560a エッジ部
562 規制ブレード支持部材
570 現像ローラクリーニングユニット
571 現像ローラクリーニングブレード
580 進入部
610 パドル 610a 中心軸
610b 羽根部 610c 最上点
700 画像形成システム 702 コンピュータ
704 表示装置 706 プリンタ
708 入力装置
708A キーボード 708B マウス
710 読取装置
710A フレキシブルディスクドライブ装置
710B CD−ROMドライブ装置
802 内部メモリ
804 ハードディスクドライブユニット
D 現像剤
15Y、15M、15C、15K 現像部
20Y、20M、20C、20K 感光体
30Y、30M、30C、30K 帯電ユニット
40Y、40M、40C、40K 露光ユニット
50Y、50M、50C、50K 現像ユニット
60Y、60M、60C、60K 一次転写ユニット
70 中間転写体
73Y、73M、73C、73K 除電ユニット
75Y、75M、75C、75K 感光体クリーニングユニット
76Y、76M、76C、76K 感光体クリーニングブレード
80 二次転写ユニット
100 制御ユニット 101 メインコントローラ
102 ユニットコントローラ 112 インターフェイス
113 画像メモリ 510 現像ローラ
530 現像剤収容部 540 撹拌ローラ
540a 中心軸 540b 上端
550 現像剤供給ローラ
550a 中心軸 550b 溝
560 規制ブレード 560a エッジ部
562 規制ブレード支持部材
570 現像ローラクリーニングユニット
571 現像ローラクリーニングブレード
580 進入部
610 パドル 610a 中心軸
610b 羽根部 610c 最上点
700 画像形成システム 702 コンピュータ
704 表示装置 706 プリンタ
708 入力装置
708A キーボード 708B マウス
710 読取装置
710A フレキシブルディスクドライブ装置
710B CD−ROMドライブ装置
802 内部メモリ
804 ハードディスクドライブユニット
D 現像剤
Claims (12)
- 液体現像剤を担持するための現像剤担持体と、
液体現像剤を前記現像剤担持体に供給するための回転可能な現像剤供給部材と、
液体現像剤を収容するための現像剤収容体と、を有し、
前記現像剤担持体に担持された液体現像剤によって、像担持体に担持された潜像を現像する現像装置であって、
前記現像剤供給部材が、その一部が露出した状態で、前記現像剤収容体に収容された液体現像剤に浸っている現像装置において、
液体現像剤の、前記現像剤供給部材が回転して進入する進入部に、該現像剤供給部材の進入方向とは逆方向の液体現像剤の流れを、液体現像剤を撹拌することにより発生させる撹拌部材、
を有することを特徴とする現像装置。 - 請求項1に記載の現像装置において、
前記現像剤供給部材は、現像剤供給ローラであることを特徴とする現像装置。 - 請求項2に記載の現像装置において、
回転可能な撹拌ローラを有し、
前記撹拌ローラを回転させることにより、液体現像剤の前記進入部に前記進入方向とは逆方向の液体現像剤の流れを発生させることを特徴とする現像装置。 - 請求項3に記載の現像装置において、
前記撹拌ローラは、前記現像剤供給ローラの中心軸を通る鉛直面から見て、前記現像剤供給ローラが回転して液体現像剤に進入する側に設けられていることを特徴とする現像装置。 - 請求項4に記載の現像装置において、
前記撹拌ローラは、その中心軸の軸方向が前記現像剤供給ローラの中心軸の軸方向に沿うように設けられ、
前記撹拌ローラは、前記現像剤供給ローラの回転方向と同方向に回転することを特徴とする現像装置。 - 請求項3乃至請求項5のいずれかに記載の現像装置において、
前記撹拌ローラが回転している状態で、前記現像剤供給ローラの回転が開始することを特徴とする現像装置。 - 請求項2乃至請求項6のいずれかに記載の現像装置において、
前記現像剤供給ローラは表面に凹部を有し、該凹部に保持された液体現像剤を前記現像剤担持体に供給することを特徴とする現像装置。 - 請求項7に記載の現像装置において、
前記現像剤供給ローラの前記表面に当接して、該現像剤供給ローラ上の液体現像剤の量を規制するための規制部材を有することを特徴とする現像装置。 - 請求項1乃至請求項8のいずれかに記載の現像装置において、
前記液体現像剤は、常温で不揮発性を有する不揮発性液体現像剤であることを特徴とする現像装置。 - 液体現像剤を担持するための現像剤担持体と、
液体現像剤を前記現像剤担持体に供給するための回転可能な現像剤供給部材と、
液体現像剤を収容するための現像剤収容体と、を有し、
前記現像剤担持体に担持された液体現像剤によって、像担持体に担持された潜像を現像する現像装置であって、
前記現像剤供給部材が、その一部が露出した状態で、前記現像剤収容体に収容された液体現像剤に浸っている現像装置において、
液体現像剤の、前記現像剤供給部材が回転して進入する進入部に、該現像剤供給部材の進入方向とは逆方向の液体現像剤の流れを、液体現像剤を撹拌することにより発生させる撹拌部材、
を有し、
前記現像剤供給部材は、現像剤供給ローラであり、
回転可能な撹拌ローラを有し、
前記撹拌ローラを回転させることにより、液体現像剤の前記進入部に前記進入方向とは逆方向の液体現像剤の流れを発生させ、
前記撹拌ローラは、前記現像剤供給ローラの中心軸を通る鉛直面から見て、前記現像剤供給ローラが回転して液体現像剤に進入する側に設けられており、
前記撹拌ローラは、その中心軸の軸方向が前記現像剤供給ローラの中心軸の軸方向に沿うように設けられ、
前記撹拌ローラは、前記現像剤供給ローラの回転方向と同方向に回転し、
前記撹拌ローラが回転している状態で、前記現像剤供給ローラの回転が開始し、
前記現像剤供給ローラは表面に凹部を有し、該凹部に保持された液体現像剤を前記現像剤担持体に供給し、
前記現像剤供給ローラの前記表面に当接して、該現像剤供給ローラ上の液体現像剤の量を規制するための規制部材を有し、
前記液体現像剤は、常温で不揮発性を有する不揮発性液体現像剤であることを特徴とする現像装置。 - 潜像を担持するための像担持体と、
液体現像剤を担持するための現像剤担持体と、液体現像剤を前記現像剤担持体に供給するための回転可能な現像剤供給部材と、液体現像剤を収容するための現像剤収容体と、を有し、前記現像剤担持体に担持された液体現像剤によって、前記像担持体に担持された潜像を現像する現像装置であって、前記現像剤供給部材が、その一部が露出した状態で、前記現像剤収容体に収容された液体現像剤に浸っている現像装置と、
を備えた画像形成装置において、
液体現像剤の、前記現像剤供給部材が回転して進入する進入部に、該現像剤供給部材の進入方向とは逆方向の液体現像剤の流れを、液体現像剤を撹拌することにより発生させる撹拌部材、
を有することを特徴とする画像形成装置。 - コンピュータ、及び、
このコンピュータに接続可能な画像形成装置であって、潜像を担持するための像担持体と、液体現像剤を担持するための現像剤担持体と、液体現像剤を前記現像剤担持体に供給するための回転可能な現像剤供給部材と、液体現像剤を収容するための現像剤収容体と、を有し、前記現像剤担持体に担持された液体現像剤によって、前記像担持体に担持された潜像を現像する現像装置であって、前記現像剤供給部材が、その一部が露出した状態で、前記現像剤収容体に収容された液体現像剤に浸っている現像装置と、を備えた画像形成装置、
を有する画像形成システムにおいて、
液体現像剤の、前記現像剤供給部材が回転して進入する進入部に、該現像剤供給部材の進入方向とは逆方向の液体現像剤の流れを、液体現像剤を撹拌することにより発生させる撹拌部材、
を有することを特徴とする画像形成システム。
Priority Applications (1)
| Application Number | Priority Date | Filing Date | Title |
|---|---|---|---|
| JP2004110084A JP2005292636A (ja) | 2004-04-02 | 2004-04-02 | 現像装置、画像形成装置、及び、画像形成システム |
Applications Claiming Priority (1)
| Application Number | Priority Date | Filing Date | Title |
|---|---|---|---|
| JP2004110084A JP2005292636A (ja) | 2004-04-02 | 2004-04-02 | 現像装置、画像形成装置、及び、画像形成システム |
Publications (1)
| Publication Number | Publication Date |
|---|---|
| JP2005292636A true JP2005292636A (ja) | 2005-10-20 |
Family
ID=35325598
Family Applications (1)
| Application Number | Title | Priority Date | Filing Date |
|---|---|---|---|
| JP2004110084A Pending JP2005292636A (ja) | 2004-04-02 | 2004-04-02 | 現像装置、画像形成装置、及び、画像形成システム |
Country Status (1)
| Country | Link |
|---|---|
| JP (1) | JP2005292636A (ja) |
-
2004
- 2004-04-02 JP JP2004110084A patent/JP2005292636A/ja active Pending
Similar Documents
| Publication | Publication Date | Title |
|---|---|---|
| JP4507683B2 (ja) | 液体現像装置 | |
| JP4572563B2 (ja) | 現像装置、画像形成装置、及び、画像形成システム | |
| JP4432415B2 (ja) | 液体現像装置、画像形成装置、及び、画像形成システム | |
| JP4461884B2 (ja) | 現像装置、画像形成装置、及び、画像形成システム | |
| JP4513401B2 (ja) | 現像装置、及び、画像形成装置 | |
| JP4363121B2 (ja) | 液体現像装置、画像形成装置、及び、画像形成システム | |
| JP2005292636A (ja) | 現像装置、画像形成装置、及び、画像形成システム | |
| JP4363135B2 (ja) | 液体現像装置、画像形成装置、及び、画像形成システム | |
| JP4635556B2 (ja) | 現像装置、画像形成装置、及び、画像形成システム | |
| JP4419473B2 (ja) | 画像形成装置、画像形成システム、及び、画像形成方法 | |
| JP4461883B2 (ja) | 液体現像装置、画像形成装置、及び、画像形成システム | |
| JP4289077B2 (ja) | 画像形成装置、画像形成システム、及び、画像形成方法 | |
| JP4609033B2 (ja) | 現像装置、画像形成装置、及び、画像形成システム | |
| JP4453405B2 (ja) | 現像装置、画像形成装置、及び、画像形成システム | |
| JP4479187B2 (ja) | 現像装置、及び、画像形成装置 | |
| JP4581623B2 (ja) | 液体現像装置、画像形成装置、画像形成システム、及び、現像剤供給ローラ | |
| JP2005316114A (ja) | 現像装置、画像形成装置、及び、画像形成システム | |
| US7167666B2 (en) | Liquid development device, image forming apparatus, and image forming system | |
| JP4363122B2 (ja) | 液体現像装置、画像形成装置、及び、画像形成システム | |
| JP2005292638A (ja) | 現像装置、画像形成装置、及び、画像形成システム | |
| JP4858640B2 (ja) | 現像装置、及び、画像形成装置 | |
| JP4635565B2 (ja) | 液体現像装置、及び、画像形成装置 | |
| JP2005070184A (ja) | 現像装置、規制部材、画像形成装置、及び、画像形成システム | |
| JP2006030638A (ja) | 現像装置、現像剤供給ローラ、画像形成装置、及び、画像形成システム | |
| JP2006030641A (ja) | 現像装置、現像剤供給ローラ、画像形成装置、及び、画像形成システム |