JP2005292637A - 液体現像装置、画像形成装置、及び、画像形成システム - Google Patents

液体現像装置、画像形成装置、及び、画像形成システム Download PDF

Info

Publication number
JP2005292637A
JP2005292637A JP2004110085A JP2004110085A JP2005292637A JP 2005292637 A JP2005292637 A JP 2005292637A JP 2004110085 A JP2004110085 A JP 2004110085A JP 2004110085 A JP2004110085 A JP 2004110085A JP 2005292637 A JP2005292637 A JP 2005292637A
Authority
JP
Japan
Prior art keywords
developer
liquid
supply roller
developer supply
developing device
Prior art date
Legal status (The legal status is an assumption and is not a legal conclusion. Google has not performed a legal analysis and makes no representation as to the accuracy of the status listed.)
Granted
Application number
JP2004110085A
Other languages
English (en)
Other versions
JP4461883B2 (ja
JP2005292637A5 (ja
Inventor
秀裕 ▲高▼野
Hidehiro Takano
Rie Miyazaki
理絵 宮崎
Toru Fujita
徹 藤田
Takeshi Ikuma
健 井熊
Current Assignee (The listed assignees may be inaccurate. Google has not performed a legal analysis and makes no representation or warranty as to the accuracy of the list.)
Seiko Epson Corp
Original Assignee
Seiko Epson Corp
Priority date (The priority date is an assumption and is not a legal conclusion. Google has not performed a legal analysis and makes no representation as to the accuracy of the date listed.)
Filing date
Publication date
Application filed by Seiko Epson Corp filed Critical Seiko Epson Corp
Priority to JP2004110085A priority Critical patent/JP4461883B2/ja
Publication of JP2005292637A publication Critical patent/JP2005292637A/ja
Publication of JP2005292637A5 publication Critical patent/JP2005292637A5/ja
Application granted granted Critical
Publication of JP4461883B2 publication Critical patent/JP4461883B2/ja
Anticipated expiration legal-status Critical
Expired - Lifetime legal-status Critical Current

Links

Images

Landscapes

  • Wet Developing In Electrophotography (AREA)
  • Liquid Developers In Electrophotography (AREA)

Abstract

【課題】現像後の画像の画質低下を防止することである。
【解決手段】液体現像剤を担持するための現像剤担持体と、液体現像剤を収容するための現像剤収容部と、一部が露出した状態にて前記現像剤収容部に収容されている液体現像剤に浸っており、前記現像剤担持体に液体現像剤を供給するための現像剤供給部材と、を有し、前記現像剤担持体に担持された液体現像剤によって、像担持体に担持された潜像を現像する液体現像装置において、前記現像剤収容部に収容されている液体現像剤の液面より鉛直方向下方にて前記現像剤供給部材に当接して、該現像剤供給部材に付着した気泡を掻き取るための気泡掻き取り部材を有することを特徴とする液体現像装置。
【選択図】 図3

Description

本発明は、液体現像装置、画像形成装置、及び、画像形成システムに関する。
この種の画像形成装置としては、例えば、潜像を担持するための像担持体と、液体現像剤(以下、単に、現像剤とも呼ぶ)によって像担持体に担持された潜像を現像するための液体現像装置と、を有する画像形成装置が知られている。かかる画像形成装置は、ホストコンピュータなどの外部装置から画像信号等が送信されると、像担持体上に潜像を形成する。そして、像担持体に形成され、担持された潜像は、像担持体の回転に伴って現像位置に至り、液体現像装置によって現像され、像担持体上に現像剤像が形成される。
上記の液体現像装置は、像担持体に担持された潜像を現像するという機能等を実現するために、液体現像剤を担持するための現像剤担持体と、液体現像剤を収容するための現像剤収容部と、一部が露出した状態にて前記現像剤収容部に収容されている液体現像剤に浸っており、前記現像剤担持体に液体現像剤を供給するための現像剤供給部材と、を有している。
特開平7−219355号公報 特開平11−265122号公報
しかしながら、上記の液体現像装置においては、現像剤供給部材が現像剤担持体に液体現像剤を供給した後に、液体現像剤の液面に進入するときに該現像剤供給部材の表面に気泡が付着してしまうことがある。そして、表面に気泡が付着された現像剤供給部材が現像剤担持体に液体現像剤を供給する際に、該気泡も現像剤担持体に付着されるために、現像後の画像に濃度ムラが発生し、画像の画質低下が生じる恐れがある。
本発明は、かかる課題に鑑みてなされたものであり、その目的とするところは、現像後の画像の画質低下を防止することが可能な液体現像装置、画像形成装置、及び、画像形成システムを実現することである。
主たる本発明は、液体現像剤を担持するための現像剤担持体と、液体現像剤を収容するための現像剤収容部と、一部が露出した状態にて前記現像剤収容部に収容されている液体現像剤に浸っており、前記現像剤担持体に液体現像剤を供給するための現像剤供給部材と、を有し、前記現像剤担持体に担持された液体現像剤によって、像担持体に担持された潜像を現像する液体現像装置において、前記現像剤収容部に収容されている液体現像剤の液面より鉛直方向下方にて前記現像剤供給部材に当接して、該現像剤供給部材に付着した気泡を掻き取るための気泡掻き取り部材を有することを特徴とする液体現像装置である。
本発明の他の特徴については、本明細書及び添付図面の記載により明らかにする。
本明細書及び添付図面の記載により少なくとも次のことが明らかにされる。
液体現像剤を担持するための現像剤担持体と、液体現像剤を収容するための現像剤収容部と、一部が露出した状態にて前記現像剤収容部に収容されている液体現像剤に浸っており、前記現像剤担持体に液体現像剤を供給するための現像剤供給部材と、を有し、前記現像剤担持体に担持された液体現像剤によって、像担持体に担持された潜像を現像する液体現像装置において、前記現像剤収容部に収容されている液体現像剤の液面より鉛直方向下方にて前記現像剤供給部材に当接して、該現像剤供給部材に付着した気泡を掻き取るための気泡掻き取り部材を有することを特徴とする液体現像装置。
このような液体現像装置によれば、気泡掻き取り部材により現像剤供給部材の表面に付着した気泡を掻き取ることにより、現像剤担持体への気泡の付着を抑制することが可能となるから、現像後の画像の画質低下を防止することが可能となる。
また、かかる液体現像装置において、前記現像剤供給部材は、回転可能な現像剤供給ローラであることとしてもよい。
このような液体現像装置によれば、回転の際にすべり等が生じないから、回転ムラの発生を低減することができ、該現像剤供給ローラが現像剤担持体に対して、適切に液体現像剤を供給することが可能となる。
また、かかる液体現像装置において、前記現像剤供給ローラは、表面に凹部を備えていることとしてもよい。
現像剤供給ローラが現像剤担持体に液体現像剤を供給する観点からすると、表面に凹部を設けた方が、表面が平滑である場合に比べて、有利である。しかし、表面に凹部があると、現像剤供給ローラが液体現像剤の液面に突入する際に気泡が発生しやすくなり、現像後の画像の画質低下がより発生しやすくなる。そのため、気泡掻き取り部材を設けることによって現像後の画像の画質低下を防止するという効果がより有効に奏される。
また、かかる液体現像装置において、前記気泡掻き取り部材は、前記現像剤供給ローラの軸方向に沿って当接するブレードであることとしてもよい。
このような液体現像装置によれば、気泡掻き取り部材を現像剤供給ローラに効果的に当接させることができるから、現像剤供給ローラの軸方向において現像剤供給ローラの表面に付着した気泡を適切に掻き取ることが可能となる。
また、かかる液体現像装置において、前記気泡掻き取り部材は、そのエッジ部で前記現像剤供給ローラに当接していることとしてもよい。
このような液体現像装置によれば、気泡掻き取り部材のエッジ部が現像剤供給ローラに当接している場合には、該エッジ部が現像剤供給ローラの凹部に食い込むから、現像剤供給ローラの表面(凹部を含む)に付着した気泡をより適切に掻き取ることが可能となる。
また、かかる液体現像装置において、前記気泡掻き取り部材は、弾性体であることとしてもよい。
このような液体現像装置によれば、気泡掻き取り部材が現像剤供給ローラの表面の形状に沿って該現像剤供給ローラに当接するから、気泡掻き取り部材が現像剤供給ローラの表面に沿って当接するから、効果的に現像剤供給ローラの表面(凹部を含む)に付着した気泡を掻き取ることが可能となる。
また、かかる液体現像装置において、前記現像剤供給ローラの材質は、金属であることとしてもよい。
このような液体現像装置によれば、現像剤供給ローラの凹部内に弾性体である気泡掻き取り部材が食い込みやすくなるから、表面(凹部を含む)に付着した気泡をより効果的に掻き取ることが可能となる。
また、かかる液体現像装置において、前記現像剤供給ローラの中心軸を通る鉛直面から見て該現像剤供給ローラが回転して液体現像剤から進出する側に位置し、前記現像剤供給ローラ上の液体現像剤の量を規制するための量規制部材を有することとしてもよい。
量規制部材が設けられている場合には、現像剤供給ローラの表面に気泡が付着していると、該量規制部材は現像剤供給ローラ上の液体現像剤の量を適切に規制することが困難となる。なぜなら、量が規制された液体現像剤中に気泡が含まれているために、実際の量が規制による所定量よりも少なくなるからである。そのため、液体現像装置が量規制部材を有する場合には、気泡掻き取り部材を設けることによって現像後の画像の画質低下を防止するという効果、がより有効に奏される。
また、かかる液体現像装置において、前記気泡掻き取り部材は、前記現像剤供給ローラの中心軸を通る鉛直面から見て該現像剤供給ローラが回転して液体現像剤に進入する側にて、前記現像剤供給ローラに当接していることとしてもよい。
このような液体現像装置によれば、気泡掻き取り部材により掻き取られた気泡が、鉛直面から見て量規制部材がある側の液面とは反対側の液面に、浮力により上昇する。
また、かかる液体現像装置において、前記気泡掻き取り部材は、前記現像剤収容部に収容されている液体現像剤を仕切っていることとしてもよい。
このような液体現像装置によれば、気泡掻き取り部材が液体現像剤の流れを遮蔽する遮蔽板の機能を果たすから、掻き取られた気泡が量規制部材側に流れてゆくことを防止することが可能となる。
また、かかる液体現像装置において、前記気泡掻き取り部材は、該気泡掻き取り部材の、前記現像剤供給ローラに当接する側の先端が、該気泡掻き取り部材の、前記現像剤供給ローラに当接する当接位置から見て、該現像剤供給ローラの回転方向の上流側に向くように、設けられていることとしてもよい。
このような現像装置によれば、気泡掻き取り部材が現像剤供給ローラに対していわゆるカウンター当接していることになり、効果的に気泡を掻き取ることが可能となる。
また、かかる液体現像装置において、前記気泡掻き取り部材は、前記現像剤収容部に収容されている液体現像剤の液面より鉛直方向下方に位置していることとしてもよい。
また、かかる液体現像装置において、液体現像剤は、常温で不揮発性を有する不揮発性液体現像剤であることとしてもよい。
このような液体現像装置によれば、液体現像剤が高粘度であるために、現像剤供給部材が液面に突入して気泡が発生しやすくなり、現像後の画像の画質低下がより発生しやすくなる。そのため、気泡掻き取り部材を設けることによって現像後の画像の画質低下を防止するという効果がより有効に奏される。
また、液体現像剤を担持するための現像剤担持体と、液体現像剤を収容するための現像剤収容部と、一部が露出した状態にて前記現像剤収容部に収容されている液体現像剤に浸っており、前記現像剤担持体に液体現像剤を供給するための現像剤供給部材と、を有し、前記現像剤担持体に担持された液体現像剤によって、像担持体に担持された潜像を現像する液体現像装置において、
前記現像剤収容部に収容されている液体現像剤の液面より鉛直方向下方にて前記現像剤供給部材に当接して、該現像剤供給部材に付着した気泡を掻き取るための気泡掻き取り部材を有し、
前記現像剤供給部材は、回転可能な現像剤供給ローラであり、
前記現像剤供給ローラは、表面に凹部を備えており、
前記気泡掻き取り部材は、前記現像剤供給ローラの軸方向に沿って当接するブレードであり、
前記気泡掻き取り部材は、そのエッジ部で前記現像剤供給ローラに当接しており、
前記気泡掻き取り部材は、弾性体であり、
前記現像剤供給ローラの材質は、金属であり、
前記現像剤供給ローラの中心軸を通る鉛直面から見て該現像剤供給ローラが回転して液体現像剤から進出する側に位置し、前記現像剤供給ローラ上の液体現像剤の量を規制するための量規制部材を有し、
前記気泡掻き取り部材は、前記現像剤供給ローラの中心軸を通る鉛直面から見て該現像剤供給ローラが回転して液体現像剤に進入する側にて、前記現像剤供給ローラに当接しており、
前記気泡掻き取り部材は、前記現像剤収容部に収容されている液体現像剤を仕切っており、
前記気泡掻き取り部材は、該気泡掻き取り部材の、前記現像剤供給ローラに当接する側の先端が、該気泡掻き取り部材の、前記現像剤供給ローラに当接する当接位置から見て、該現像剤供給ローラの回転方向の上流側に向くように、設けられており、
前記気泡掻き取り部材は、前記現像剤収容部に収容されている液体現像剤の液面より鉛直方向下方に位置しており、
液体現像剤は、常温で不揮発性を有する不揮発性液体現像剤であることを特徴とする液体現像装置も実現可能である。
このような液体現像装置によれば、現像後の画像の画質低下を防止するという効果が最も有効に奏される。
また、潜像を担持するための像担持体、及び、液体現像剤を担持するための現像剤担持体と、液体現像剤を収容するための現像剤収容部と、一部が露出した状態にて前記現像剤収容部に収容されている液体現像剤に浸っており、前記現像剤担持体に液体現像剤を供給するための現像剤供給部材と、を有し、前記現像剤担持体に担持された液体現像剤によって、前記像担持体に担持された潜像を現像する液体現像装置、を備えた画像形成装置において、前記現像剤収容部に収容されている液体現像剤の液面より鉛直方向下方にて前記現像剤供給部材に当接して、該現像剤供給部材に付着した気泡を掻き取るための気泡掻き取り部材を有することを特徴とする画像形成装置も実現可能である。
このような画像形成装置によれば、現像後の画像の画質低下を防止することが可能な液体現像装置を備えることにより、従来よりも優れた画像形成装置を実現することが可能となる。
また、コンピュータ、並びに、これに接続可能な画像形成装置であって、潜像を担持するための像担持体、及び、液体現像剤を担持するための現像剤担持体と、液体現像剤を収容するための現像剤収容部と、一部が露出した状態にて前記現像剤収容部に収容されている液体現像剤に浸っており、前記現像剤担持体に液体現像剤を供給するための現像剤供給部材と、を有し、前記現像剤担持体に担持された液体現像剤によって、前記像担持体に担持された潜像を現像する液体現像装置、を備えた画像形成装置、を具備した画像形成システムにおいて、前記現像剤収容部に収容されている液体現像剤の液面より鉛直方向下方にて前記現像剤供給部材に当接して、該現像剤供給部材に付着した気泡を掻き取るための気泡掻き取り部材を有することを特徴とする画像形成システムも実現可能である。
このような画像形成システムによれば、現像後の画像の画質低下を防止することが可能な液体現像装置を備えることにより、従来よりも優れた画像形成システムを実現することが可能となる。
===画像形成装置の概要===
次に、図1を用いて、画像形成装置としてレーザビームプリンタ(以下、プリンタともいう)10を例にとって、その概要について説明する。図1は、プリンタ10を構成する主要構成要素を示した図である。なお、図1には、矢印にて上下方向を示しており、例えば、現像ユニット50Y、50M、50C、50Kは、プリンタ10の下部に配置されており、中間転写体70は、プリンタ10の上部に配置されている。
<プリンタ10の構成>
本実施の形態に係るプリンタ10は、図1に示すように、4つの現像部15Y、15M、15C、15K、中間転写体70、二次転写ユニット80を有し、さらに、不図示の定着ユニット、ユーザへの報知手段をなし液晶パネルでなる表示ユニット、及び、これらのユニット等を制御しプリンタとしての動作を司る制御ユニット100(図2)を有している。
現像部15Y、15M、15C、15Kは、それぞれ、イエロー(Y)現像剤、マゼンタ(M)現像剤、シアン(C)現像剤、ブラック(K)現像剤で潜像を現像する機能を有している。現像部15Y、15M、15C、15Kの構成は同様であるので、以下、現像部15Yについて説明する。
現像部15Yは、図1に示すように、像担持体の一例としての感光体20Yの回転方向に沿って、帯電ユニット30Y、露光ユニット40Y、イエロー現像ユニット50Y、一次転写ユニット60Y、除電ユニット73Y、感光体クリーニングユニット75Yを有している。
感光体20Yは、円筒状の基材とその外周面に形成された感光層を有し、中心軸を中心に回転可能であり、本実施の形態においては、図1中の矢印で示すように時計回りに回転する。帯電ユニット30Yは、感光体20Yを帯電するための装置であり、露光ユニット40Yは、レーザを照射することによって帯電された感光体20Y上に潜像を形成する装置である。この露光ユニット40Yは、半導体レーザ、ポリゴンミラー、F−θレンズ等を有しており、パーソナルコンピュータ、ワードプロセッサ等の不図示のホストコンピュータから入力された画像信号に基づいて、変調されたレーザを帯電された感光体20Y上に照射する。
イエロー現像ユニット50Yは、感光体20Y上に形成された潜像を、イエロー(Y)現像剤を用いて現像するための装置である。なお、イエロー現像ユニット50Yの詳細については後述する。
一次転写ユニット60Yは、感光体20Yに形成されたイエロー現像剤像を中間転写体70に転写するための装置である。一次転写ユニット60Y、60M、60C、60Kにより、4色の現像剤が順次重ねて転写された場合には、中間転写体70にフルカラー現像剤像が形成される。中間転写体70は、複数の支持ローラに張架されたエンドレスのベルトであり、感光体20Y、20M、20C、20Kと当接しながら回転駆動される。二次転写ユニット80は、中間転写体70上に形成された単色現像剤像やフルカラー現像剤像を紙、フィルム、布等の媒体に転写するための装置である。
除電ユニット73Yは、一次転写ユニット60Yによって中間転写体70上に現像剤像が転写された後に、感光体20Y上の残留電荷を除去する装置である。感光体クリーニングユニット75Yは、感光体20Yの表面に当接されたゴム製の感光体クリーニングブレード76Yを有し、一次転写ユニット60Yによって中間転写体70上に現像剤像が転写された後に、感光体20Y上に残存する現像剤を感光体クリーニングブレード76Yにより掻き落として除去するための装置である。
不図示の定着ユニットは、媒体上に転写された単色現像剤像やフルカラー現像剤像を紙等の媒体に融着させて永久像とするための装置である。制御ユニット100は、図2に示すようにメインコントローラ101と、ユニットコントローラ102とで構成され、メインコントローラ101には画像信号及び制御信号が入力され、この画像信号及び制御信号に基づく指令に応じてユニットコントローラ102が前記各ユニット等を制御して画像を形成する。
<プリンタ10の動作>
次に、このように構成されたプリンタ10の動作について、他の構成要素にも言及しつつ説明する。まず、不図示のホストコンピュータからの画像信号及び制御信号がインターフェイス(I/F)112を介してプリンタ10のメインコントローラ101に入力されると、このメインコントローラ101からの指令に基づくユニットコントローラ102の制御により感光体20Y、20M、20C、20K、現像ユニット50Y、50M、50C、50Kに備えられた後述する現像ローラ、及び、中間転写体70等が回転する。感光体20Y、20M、20C、20Kは、回転しながら、帯電位置において帯電ユニット30Y、30M、30C、30Kにより順次帯電される。
感光体20Y、20M、20C、20Kの帯電された領域は、感光体20Y、20M、20C、20Kの回転に伴って露光位置に至り、露光ユニット40Y、40M、40C、40Kによって、イエローY、マゼンタM、シアンC、ブラックKの画像情報に応じた潜像が該領域に形成される。感光体20Y、20M、20C、20K上に形成された潜像は、感光体20Y、20M、20C、20Kの回転に伴って現像位置に至り、現像ユニット50Y、50M、50C、50Kによって現像される。これにより、感光体20Y、20M、20C、20K上に現像剤像が形成される。
感光体20Y、20M、20C、20K上に形成された現像剤像は、感光体20Y、20M、20C、20Kの回転に伴って一次転写位置に至り、一次転写ユニット60Y、60M、60C、60Kによって、中間転写体70に転写される。この際、一次転写ユニット60Y、60M、60C、60Kには、現像剤の帯電極性とは逆の極性の一次転写電圧が印加される。この結果、各々の感光体20Y、20M、20C、20K上に形成された4色の現像剤像は、中間転写体70に重なり合って転写され、中間転写体70上にはフルカラー現像剤像が形成される。
中間転写体70上に形成されたフルカラー現像剤像は、中間転写体70の回転に伴って二次転写位置に至り、二次転写ユニット80によって媒体に転写される。なお、媒体は、不図示の給紙トレイから、各種ローラを介して二次転写ユニット80へ搬送される(図1中の矢印は、媒体の搬送方向を表している)。また、転写動作を行う際、二次転写ユニット80は中間転写体70に押圧されるとともに二次転写電圧が印加される。
媒体に転写されたフルカラー現像剤像は、定着ユニットによって加熱加圧されて媒体に融着される。一方、感光体20Y、20M、20C、20Kは一次転写位置を経過した後に、除電ユニット73Y、73M、73C、73Kによって除電され、さらに、感光体クリーニングユニット75Y、75M、75C、75Kに支持された感光体クリーニングブレード76Y、76M、76C、76Kによって、その表面に付着している現像剤が掻き落とされ、次の潜像を形成するための帯電に備える。掻き落とされた現像剤は、感光体クリーニングユニット75Y、75M、75C、75Kが備える残存現像剤回収部に回収される。
===制御ユニット100の構成===
次に、制御ユニット100の構成について図2を参照しつつ説明する。制御ユニット100のメインコントローラ101は、インターフェイス112を介してホストコンピュータと接続され、このホストコンピュータから入力された画像信号を記憶するための画像メモリ113を備えている。
ユニットコントローラ102は、装置本体の各ユニット(帯電ユニット30Y、30M、30C、30K、露光ユニット40Y、40M、40C、40K、現像ユニット50Y、50M、50C、50K、一次転写ユニット60Y、60M、60C、60K、除電ユニット73Y、73M、73C、73K、感光体クリーニングユニット75Y、75M、75C、75K、二次転写ユニット80、定着ユニット、表示ユニット)と電気的に接続され、それらが備えるセンサからの信号を受信することによって、各ユニットの状態を検出しつつ、メインコントローラ101から入力される信号に基づいて、各ユニットを制御する。
===現像ユニット50Y、50M、50C、50Kの概要===
次に、図3、図4、図5A、図5B、及び、図5Cを用いて、液体現像装置の一例である現像ユニット50Y、50M、50C、50Kの概要について説明する。図3は、イエロー現像ユニット50Yの主要構成要素を示した断面図である。図4は、供給ローラ550の表面を表した斜視概念図である。図5A乃至図5Cは供給ローラ550表面に設けられた溝の形状を示す断面図である。なお、図3においては、図1同様、矢印にて上下方向を示しており、例えば、現像ローラ510は、搬送ローラ540よりも上方にある。
プリンタ10には、現像ユニットとして、ブラック(K)現像剤を収容したブラック現像ユニット50K、マゼンタ(M)現像剤を収容したマゼンタ現像ユニット50M、シアン(C)現像剤を収容したシアン現像ユニット50C、及び、イエロー(Y)現像剤を収容したイエロー現像ユニット50Yが設けられているが、各現像ユニット50Y、50M、50C、50Kの構成は同様であるので、以下、イエロー現像ユニット50Yの構成及び動作等について説明する。
<現像ユニット50Yの構成>
イエロー現像ユニット50Yは、現像剤担持体の一例としての現像ローラ510と、現像剤収容部の一例としての収容部530と、搬送ローラ540と、現像剤供給ローラ(現像剤供給部材)の一例としての供給ローラ550と、量規制部材の一例としての規制ブレード560と、現像ローラクリーニングユニット570と、気泡掻き取り部材の一例としての気泡掻き取りブレード600と、を有している。
収容部530は、感光体20Yに形成された潜像を現像するための現像剤Dを収容する。この収容部530に収容されている現像剤Dは、従来一般的に使用されている、Isopar(商標:エクソン)をキャリアとした低濃度(1〜2wt%程度)かつ低粘度の、常温で揮発性を有する揮発性液体現像剤ではなく、高濃度かつ高粘度の、常温で不揮発性を有する不揮発性液体現像剤Dである。すなわち、本実施の形態に係る液体現像剤Dは、パラフィンオイルもしくはシリコーンオイル等の不揮発性かつ絶縁性キャリア液中に、平均粒径0.1〜5μm程度の樹脂、顔料等からなるトナー粒子を高濃度(5〜40wt%程度)に分散させた高粘度(100〜10000mPa・s程度)現像剤Dである。また、収容部530には、内壁から内方へ(図3の上下方向)突出させた突出部535が設けられ、後述する気泡掻き取りブレード600が該突出部535に固定されている。
搬送ローラ540は、収容部530に収容されている現像剤Dを供給ローラ550へ搬送する。この搬送ローラ540は、収容部530に収容された現像剤Dに浸されており(上端が液面650より下方に位置している)、また、供給ローラ550から、約1mmの幅を持って離間している。
さらに、搬送ローラ540は、その中心軸を中心として回転可能であり、当該中心軸は、供給ローラ550の回転中心軸よりも下方にある。また、搬送ローラ540は、供給ローラ550の回転方向(図3において時計方向)と同じ方向(図3において時計方向)に回転する。なお、搬送ローラ540は、収容部530に収容された現像剤Dを供給ローラ550へ搬送する機能を有するとともに、現像剤Dを適正な状態に維持するために現像剤Dを撹拌する機能をも有している。また、搬送ローラ540は、供給ローラ550の中心軸を通る鉛直面Fから見て該供給ローラ550が回転して現像剤Dの液面650から進出する側に位置している。
供給ローラ550は、収容部530から搬送ローラ540により搬送された現像剤Dを現像ローラ510へ供給する。この供給ローラ550は、鉄等金属性のローラの表面に図4に示すような凹部の一例としての溝550aを均一かつ螺旋状に設け、ニッケルメッキを施したものであり、その直径は約25mmである。本実施の形態における供給ローラ550は、当該溝として、図5Aに示すような台形の断面を有する溝550aを備えているが、例えば、図5Bに示すような逆三角形の断面を有する溝を備えてもよいし、図5Cに示すような半円形の断面を有する溝を備えてもよい。なお、本実施の形態における供給ローラ550の溝寸法は、図5Aに示すとおり、溝ピッチ約170μm、山幅約45μm、谷幅約30μm、溝深さ約50μmである。
さらに、供給ローラ550は、当該供給ローラ550上の現像剤Dを現像ローラ510に適切に転写するために、現像ローラ510に圧接している。また、供給ローラ550は、その中心軸を中心として回転可能であり、当該中心軸は、現像ローラ510の回転中心軸よりも下方にある。また、供給ローラ550は、現像ローラ510の回転方向(図3において反時計方向)と逆の方向(図3において時計方向)に回転する。また、供給ローラ550は、その上部が露出した状態にて収容部530に収容された現像剤Dに浸っており、供給ローラ550が現像剤Dの液面650に進入する際に、該供給ローラ550の表面に後述する気泡660が付着されることがある。
規制ブレード560は、供給ローラ550の表面に当接して、供給ローラ550上の現像剤Dの量を規制する。すなわち、当該規制ブレード560は、供給ローラ550上の余剰現像剤を掻き取って、現像ローラ510に供給する供給ローラ550上の現像剤D、を計量する役割を果たす。この規制ブレード560は、弾性体としてのウレタンゴムからなり、鉄等金属製の規制ブレード支持部材562により支持されている。
また、規制ブレード560は、そのエッジ部が供給ローラ550の表面に当接しており、いわゆるエッジ規制を行う。また、規制ブレード560は、その先端が供給ローラ550の回転方向の下流側に向くように配置されており、いわゆるトレール規制を行う。また、規制ブレード560は、供給ローラ550の中心軸を通る鉛直面Fから見て該供給ローラ550が回転して現像剤Dから進出する側で、かつ、液面650より上方に位置している。
現像ローラ510は、感光体20Yに担持された潜像を現像剤Dにより現像するために、現像剤Dを担持して感光体20Yと対向する現像位置に搬送する。この現像ローラ510は、鉄等金属製の内芯の外周部に、弾性体の層を備えたものであり、その直径は約20mmである。また、弾性体の層は、二層構造になっており、その内層として、ゴム硬度がJIS−A約30度で、厚み約5mmのウレタンゴムが、その表層(外層)として、ゴム硬度がJIS−A約85度で、厚み約30μmのウレタンゴムが備えられている。そして、現像ローラ510は、前記表層が圧接部となって、弾性変形された状態で供給ローラ550及び感光体20Yのそれぞれに圧接している。
また、現像ローラ510は、その中心軸を中心として回転可能であり、当該中心軸は、感光体20Yの回転中心軸よりも下方にある。また、現像ローラ510は、感光体20Yの回転方向(図3において時計方向)と逆の方向(図3において反時計方向)に回転する。なお、感光体20Y上に形成された潜像を現像する際には、現像ローラ510と感光体20Yとの間に電界が形成される。
現像ローラクリーニングユニット570は、現像ローラ510の表面に当接されたゴム製の現像ローラクリーニングブレード571を有し、前記現像位置で現像が行われた後に、現像ローラ510上に残存する現像剤Dを現像ローラクリーニングブレード571により掻き落として除去するための装置である。
気泡掻き取りブレード600は、収容部530に収容されている現像剤Dの液面650より鉛直方向下方にて供給ローラ550の表面に当接して、該供給ローラ550の表面や溝550aに付着した気泡660を掻き取る。この気泡掻き取りブレード600は、気泡掻き取り部610と支持部620とを有している。気泡掻き取り部610は、ゴム硬度がJIS−A約77度で、厚みが約1.4mmの弾性体としてのウレタンゴムからなり、支持部620は、SUS等の板金からなる。気泡掻き取り部610は支持部620に支持されており、支持部620は収容部530の突出部535に固定されている。
気泡掻き取り部610は、そのエッジ部611aで、供給ローラ550の軸方向(図4)に沿って、該供給ローラ550の表面に当接しており、いわゆるエッジ規制を行う。また、気泡掻き取りブレード600は、その先端(供給ローラ550に当接する側)611が供給ローラ550に対する気泡掻き取りブレード600の当接位置から見て供給ローラ550の回転方向の上流側を向くように、設けられており、いわゆるカウンター規制を行う。また、気泡掻き取りブレード600の当接位置は、供給ローラ550の中心軸550cを通る鉛直面Fから見て供給ローラ550が回転して現像剤Dに進入する側であり、供給ローラ550の中心軸よりも下方である。また、気泡掻き取りブレード600の当接位置は、搬送ローラ540の中心軸よりも上方である。
気泡掻き取りブレード600は、その全体が収容部530に収容されている現像剤Dの液面650より鉛直下方に位置するように、設けられている。また、気泡掻き取りブレード600は、収容部530に収容されている現像剤Dを仕切っており、気泡660が規制ブレード560がある側に流れて行くのを防止する仕切り部材の機能も有している。この場合には、該気泡掻き取りブレード600から見て、規制ブレード560がある側の現像剤Dが、規制ブレード560が無い側の現像剤Dよりも現像に供されるので、規制ブレード560がある側の現像剤Dの液面が下がりやすくなる。そのため、現像剤Dの量を調整するため、現像剤Dを補給するための現像剤補給部材(不図示)を設けるとよい。
気泡掻き取りブレード600は、搬送ローラ540よりも供給ローラ550の回転方向上流側に位置しており、搬送ローラ540は、気泡掻き取りブレード600によって気泡660が掻き取られた供給ローラ550の表面に向けて現像剤Dを搬送する。また、気泡掻き取りブレード600は、その一部が供給ローラ550の中心軸を通る鉛直面Fに触れる位置(供給ローラ550のほぼ真下)に設けられている。
<現像ユニット50Yの動作>
このように構成されたイエロー現像ユニット50Yにおいて、気泡掻き取りブレード600は、供給ローラ550が回転する際に、該供給ローラ550の表面に付着した気泡660を掻き取る。その後、搬送ローラ540は、その中心軸回りに回転することによって、収容部530に収容されている現像剤Dを気泡660が掻き取られた供給ローラ550へ搬送する。
供給ローラ550に搬送された現像剤Dは、供給ローラ550の回転によって、規制ブレード560の当接位置に至る。そして、当該当接位置を通過する際に、現像剤Dの余剰分が規制ブレード560によって掻き取られ、現像ローラ510に供給される現像剤Dの現像剤量が計量される。すなわち、供給ローラ550には、前述したとおり、溝550aが設けられているから、供給ローラ550に当接する規制ブレード560は、供給ローラ550上の現像剤Dを溝550aに保持された現像剤Dを残して掻き取ることとなる。また、現像ローラ510に供給される現像剤Dの現像剤量が適正な量になるように溝550aの寸法が決められているので、規制ブレード560が供給ローラ550上の現像剤Dを掻き取った際には、溝550aによって適正な量に計量された現像剤Dが溝550aに残存することとなる。
供給ローラ550の溝550aに保持された現像剤Dは、供給ローラ550のさらなる回転によって、現像ローラ510との圧接位置に至る。当該圧接位置に至った現像剤Dは、供給ローラ550と現像ローラ510が圧接することにより生ずる圧力の作用より、供給ローラ550から現像ローラ510へ転写され、現像ローラ510上には現像剤Dの薄膜が形成される。
このようにして現像ローラ510上に形成された現像剤Dの薄膜は、現像ローラ510の回転によって、感光体20Yに対向する現像位置(すなわち、感光体20Yとの圧接位置)に至り、該現像位置にて所定の大きさの電界下で感光体20Y上に形成された潜像の現像に供される。現像位置を通過した現像ローラ510上の現像剤Dは、現像ローラ510のさらなる回転によって、現像ローラクリーニングブレード571の当接位置に至る。そして、当該当接位置を通過する際に、現像ローラクリーニングブレード571によって、現像ローラ510の表面に付着している現像剤Dが掻き落とされ、掻き落とされた現像剤Dは、現像ローラクリーニングユニット570が備える残存現像剤回収部に回収される。
===供給ローラ550に気泡660が付着する要因について===
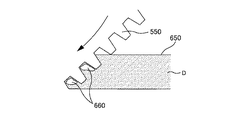
次に、供給ローラ550の表面に気泡660が付着する要因の一例について、図6を用いて説明する。図6は、供給ローラ550の溝550aに気泡660が付着した様子を示した模式図である。なお、図6は、図3中のEの部分を拡大した図である。
前述したように、回転可能な供給ローラ550は、その上部が露出した状態にて収容部530に収容されている現像剤Dに浸っている。このため、供給ローラ550は、現像ローラ510に現像剤Dを供給した後、収容部530に収容されている現像剤Dの液面650に進入する前に、空気に触れるようになっている。この場合に、供給ローラ550が収容部530に収容されている現像剤Dの液面650に進入するときに、該供給ローラ550が空気を巻き込んでしまう恐れがある。そして、巻き込まれた空気が空気中に戻らない場合には、現像剤D中において気泡660となり、該気泡660が供給ローラ550の表面に付着してしまう。
また、供給ローラ550の表面には溝550aが設けられており、供給ローラ550が現像剤Dの液面650に進入するときに、溝550aが空気を巻き込みやすいから、図6に示すように、溝550aに気泡660が付着されやすい。また、本実施形態における現像剤Dは、前述したように、高粘度の液体現像剤であるために、低粘度である液体現像剤に比べて、供給ローラ550の表面が現像剤Dで塗れににくいため、供給ローラ550が空気を巻き込みやすい。そのため、現像剤Dが高粘度の液体現像剤である場合には、供給ローラ550の表面に気泡660が付着されやすい。
===気泡掻き取りブレード600の働き===
上述したように、現像ユニット50Y、50M、50C、50Kは、収容部530に収容されている現像剤Dの液面650より鉛直方向下方にて供給ローラ550に当接して、供給ローラ550の表面に付着した気泡660を掻き取るための気泡掻き取りブレード600(気泡掻き取り部材)を有する。これにより、現像後の画像の画質低下を防止することが可能となる。以下において詳細に説明する。
現像ユニット50Y、50M、50C、50Kにおいては、図6に示すように、供給ローラ550が現像ローラ510に現像剤Dを供給した後、収容部530に収容されている現像剤Dの液面650に進入するときに、該供給ローラ550の表面に気泡660が付着してしまうことがある。
この場合に、気泡掻き取りブレード600を有しない従来の現像ユニットにおいては、表面に気泡660が付着された供給ローラ550が現像ローラ510に現像剤Dを供給する際に、該気泡660も現像ローラ510に供給されることで、現像ローラ510上に現像剤Dが不均一に担持される恐れがある。具体的には、現像ローラ510上に形成される現像剤Dの薄膜中に気泡660が含まれている場合や、現像ローラ510上の薄膜中の気泡660が破裂することにより該気泡660があった部分の薄膜に欠損が生じる場合に、現像ローラ510上に現像剤Dが不均一に担持される。そして、現像剤Dが現像ローラ510に不均一に担持されている場合には、現像後の画像に濃度ムラが生じるから、画像の画質低下が生じる。
一方で、本実施形態に係る現像ユニットには、図3に示すように、収容部530に収容されている現像剤Dの液面650より鉛直方向下方にて供給ローラ550に当接して、該供給ローラ550の表面に付着した気泡660を掻き取るための気泡掻き取りブレード600が設けられている。この場合には、供給ローラ550の回転の際に該供給ローラ550の表面に当接する気泡掻き取りブレード600によって供給ローラ550の表面に付着した気泡660を掻き取ることにより、現像ローラ510への気泡660の付着を抑制することが可能となる。そのため、現像ローラ510に担持されている現像剤D中に気泡660が含まれることや、現像ローラ510に付着した気泡660が破裂することを防止できるから、現像後の画像の画質低下を防止することが可能となる。
===その他の実施形態===
以上、上記実施の形態に基づき本発明に係る画像形成装置等を説明したが、上記した発明の実施の形態は、本発明の理解を容易にするためのものであり、本発明を限定するものではない。本発明は、その趣旨を逸脱することなく、変更、改良され得ると共に、本発明にはその等価物が含まれることはもちろんである。
本発明は、図3に示すように、現像剤D(液体現像剤)を担持するための現像ローラ510(現像剤担持体)と、現像剤Dを収容するための収容部530(現像剤収容部)と、上部(一部)が露出した状態にてが収容部530に収容されている現像剤Dに浸っており、現像ローラ510に現像剤Dを供給するための供給ローラ550(現像剤供給部材)と、を有し、現像ローラ510に担持された現像剤Dによって、感光体20Y、20M、20C、20K(像担持体)に担持された潜像を現像する現像ユニット50Y、50M、50C、50K(液体現像装置)に関するものである。
なお、上記実施の形態においては、画像形成装置として中間転写型のフルカラーレーザビームプリンタを例にとって説明したが、これに限定されるものではない。例えば、中間転写型以外のフルカラーレーザビームプリンタにも適用可能である。また、フルカラーレーザプリンタだけではなく、モノクロレーザビームプリンタにも適用可能である。また、プリンタだけでなく、複写機、ファクシミリなどの各種画像形成装置にも適用可能である。
なお、上記実施の形態においては、感光体は、円筒状の導電性基材の外周面に感光層を設けた構成として説明したが、これに限定されるものではない。例えば、ベルト状の導電性基材の表面に感光層を設けて構成した、いわゆる感光ベルトであってもよい。
なお、上記実施の形態においては、図3に示すように、規制ブレード560は、その先端が供給ローラ550の回転方向(図3において時計方向)の下流側に向くように配置されており、いわゆるトレール規制を行うこととしたが、これに限定されるものではない。例えば、図7に示すように、規制ブレード560の先端が供給ローラ550の回転方向の上流側に向くように配置されており、いわゆるカウンター規制を行うこととしてもよい。なお、図7は、現像ユニットの別の実施例を示した断面図である。
なお、上記実施の形態においては、図3に示すように、現像ローラ510の回転方向(図3において反時計方向)は、供給ローラ550の回転方向(図3において時計方向)とは逆方向であることとしたが、これに限定されるものではない。例えば、現像ローラ510の回転方向は、供給ローラ550の回転方向と同じ方向であることとしてもよい。
さらに、上記実施形態において、図3に示すように、現像剤供給部材は、回転可能な供給ローラ550(現像剤供給ローラ)であることとしたが、これに限定されるものではない。例えば、現像剤供給部材は、ベルト状の回転可能な部材であることとしてもよい。
ただし、現像剤供給部材が摩擦力で駆動されるベルト状の部材である場合には、すべり等により回転ムラが生じやすい。一方、現像剤供給部材が供給ローラ550である場合には、すべり等が生じないから、回転ムラの発生を低減することができ、該供給ローラ550が現像ローラ510に対して、適切に現像剤Dを供給することが可能となる。従って、上記実施形態の方がより望ましい。
さらに、上記実施形態において、図4に示すように、供給ローラ550は、表面に螺旋状の溝550a(凹部)を備えていることとしたが、これに限定されるものではない。例えば、供給ローラ550の表面は平滑であることとしてもよい。
ただし、供給ローラ550が現像ローラ510に現像剤Dを供給する観点からすると、表面に溝550a(凹部)を設けた方が、表面が平滑である場合に比べて、有利である。しかし、表面に溝550aがあると、供給ローラ550が現像剤Dの液面650に進入する際に空気を巻き込みやすくなることで気泡660が発生しやすくなり、現像後の画像の画質低下がより発生しやすくなる。そのため、気泡掻き取りブレード600を設けることによって現像後の画像の画質低下を防止するという効果、がより有効に奏される。従って、上記実施形態の方がより望ましい。
また、図4に示すように、供給ローラ550に設けられた凹部として、溝550aを例に挙げて説明したが、これに限定されるものではない。例えば、図8Aや図8Bに示すような形状の窪みが供給ローラ550に多数設けられていることとしてもよい。なお、図8A及び図8Bは、供給ローラ550上に設けられる窪みの形状を示したものである。
さらに、上記実施形態において、図3に示すように、気泡掻き取り部材は、供給ローラ550の軸方向(図4)に沿って当接する気泡掻き取りブレード600(ブレード)であることとしたが、これに限定されるものではない。例えば、気泡掻き取り部材は、ポリエチレンフィルム等のフィルム状の部材であることとしてもよい。
ただし、気泡掻き取り部材が供給ローラ550の軸方向に沿って当接するブレード(気泡掻き取りブレード600)である場合には、気泡掻き取りブレード600を供給ローラ550に効果的に当接させることができるから、供給ローラ550の軸方向において供給ローラ550の表面に付着した気泡660を適切に掻き取ることが可能となる。従って、上記実施形態の方がより望ましい。
さらに、上記実施形態において、図3に示すように、気泡掻き取りブレード600は、そのエッジ部611aで供給ローラ550に当接していることとしたが、これに限定されるものではない。例えば、気泡掻き取りブレード600は、その先端611から所定距離だけ離れた部分が所定の幅を持って供給ローラ550に当接する(いわゆる腹当たり当接)こととしてもよい。
ただし、気泡掻き取りブレード600のエッジ部611aが供給ローラ550に当接している場合には、該エッジ部611aが供給ローラ550の溝550aに食い込むから、供給ローラ550の表面(溝550aを含む)に付着した気泡660を適切に掻き取ることが可能となる。従って、上記実施形態の方がより望ましい。
さらに、上記実施形態において、気泡掻き取り部610は、ウレタンゴム(弾性体)であることとしたが、これに限定されるものではない。例えば、気泡掻き取り部610は、弾性を有さない金属板もしくは弾性を有さない樹脂板であることとしてもよい。
ただし、気泡掻き取り部610が弾性体の一つであるウレタンゴムである場合には、気泡掻き取り部610が供給ローラ550の表面の形状に沿って該供給ローラ550に当接するから、効果的に供給ローラ550の表面(溝550aを含む)に付着した気泡660を掻き取ることが可能となる。従って、上記実施形態の方がより望ましい。
さらに、上記実施形態において、供給ローラ550の材質は、金属であることとしたが、これに限定されるものではない。例えば、供給ローラ550の材質は、金属以外であることとしてもよい。
ただし、供給ローラ550の材質が金属である場合には、供給ローラ550の溝550aに対し弾性体である気泡掻き取りブレード600が食い込みやすくなるから、供給ローラ550の表面(溝550aを含む)に付着した気泡660をより効果的に掻き取ることが可能となる。従って、上記実施形態の方がより望ましい。
さらに、上記実施形態において、図3に示すように、供給ローラ550の中心軸を通る鉛直面Fから見て該供給ローラ550が回転して現像剤Dから進出する側に位置し、供給ローラ550上の現像剤Dの量を規制するための規制ブレード560(量規制部材)を有することとしたが、これに限定されるものではない。例えば、規制ブレード560が設けられていないこととしてもよい。
ただし、規制ブレード560が設けられている場合には、供給ローラ550の表面に気泡660が付着していると、該規制ブレード560は供給ローラ550上の現像剤Dの量を適切に規制することが困難となる。なぜなら、量が規制された現像剤D中に気泡660が含まれているために、実際の量が規制による所定量よりも少なくなるからである。そのため、現像ユニットが規制ブレード560を有する場合には、気泡掻き取りブレード600を設けることによって現像後の画像の画質低下を防止するという効果がより有効に奏される。従って、上記実施形態の方がより望ましい。
さらに、上記実施形態において、図3に示すように、気泡掻き取りブレード600は、供給ローラ550の中心軸550cを通る鉛直面Fから見て該供給ローラ550が回転して現像剤Dに進入する側にて、供給ローラ550に当接していることとしたが、これに限定されるものではない。例えば、気泡掻き取りブレード600は、鉛直面Fから見て供給ローラ550が回転して現像剤Dから進出する側にて、供給ローラ550に当接していることとしてもよい。
ただし、気泡掻き取りブレード600が鉛直面Fから見て供給ローラ550が現像剤Dに進入する側にて供給ローラ550に当接している場合には、気泡掻き取りブレード600により掻き取られた気泡660が、鉛直面Fから見て規制ブレード560がある側の液面とは反対側の液面に、浮力により上昇する。従って、上記実施形態の方がより望ましい。
さらに、上記実施形態において、図3に示すように、気泡掻き取りブレード600は、収容部530に収容されている現像剤Dを仕切っていることとしたが、これに限定されるものではない。例えば、図9に示すように、気泡掻き取りブレード600は、現像剤Dを仕切っていないこととしてもよい。この場合に、支持部620は、その長手方向(供給ローラ550の軸方向)の両端側にて収容部530に支持されている。なお、図9は、現像ユニットの別の実施例を示した断面図である。
ただし、気泡掻き取りブレード600が収容部530に収容されている現像剤Dを仕切っている場合には、気泡掻き取りブレード600が現像剤Dの流れを遮蔽する遮蔽板の機能を果たすから、掻き取られた気泡660が規制ブレード560側に流れて行くことを防止することが可能となる。従って、上記実施形態の方がより望ましい。
さらに、上記実施形態において、図3に示すように、気泡掻き取りブレード600は、該気泡掻き取りブレード600の、供給ローラ550に当接する側の先端(以下、当接側先端ともいう)611が、該気泡掻き取りブレード600の、供給ローラ550に当接する当接位置(以下、単に当接位置ともいう)から見て、該供給ローラ550の回転方向の上流側に向くように(すなわち、気泡掻き取りブレード600が供給ローラ550に対して、いわゆるカウンター規制している)、設けられていることとしたが、これに限定されるものではない。例えば、図10に示すように、気泡掻き取りブレード600は、その当接側先端611が当接位置から見て供給ローラ550の回転方向の下流側に向くように(すなわち、気泡掻き取りブレード600が供給ローラ550に対して、いわゆるトレール規制している)、設けられていることとしてもよい。なお、図10は、現像ユニットの別の実施例を示した断面図である。
ただし、気泡掻き取りブレード600が供給ローラ550に対してトレール規制している場合には、気泡掻き取りブレード600と供給ローラ550との間の隙間が小さくなるにつれて気泡660が小さくなり、該気泡660が供給ローラ550の表面から掻き取られずに気泡掻き取りブレード600をすり抜けることがある。一方、気泡掻き取りブレード600が供給ローラ550に対してカウンター規制している場合には、気泡660が徐々に小さくなることは無いから、気泡660が気泡掻き取りブレード600をすり抜けることを防止でき、効果的に気泡660を掻き取ることが可能となる。従って、上記実施形態の方がより望ましい。
さらに、上記実施形態において、図3に示すように、気泡掻き取りブレード600は、収容部530に収容されている現像剤Dの液面650より鉛直方向下方に位置していることとしたが、これに限定されるものではない。例えば、図10に示すように、気泡掻き取りブレード600は、その一部のみが収容部530に収容されている現像剤Dの液面650より鉛直方向下方に位置し、残りの部分が液面650より鉛直方向上方に位置していることとしてもよい。
さらに、上記実施形態において、現像剤Dは、常温で不揮発性を有する不揮発性液体現像剤であることとしたが、これに限定されるものではない。例えば、現像剤Dは、常温で揮発性を有する揮発性液体現像剤であることとしてもよい。
ただし、現像剤Dが不揮発性液体現像剤である場合には、該現像剤Dが高粘度であるために、供給ローラ550が現像剤Dの液面650に進入する際に空気を巻き込みやすくなるから、気泡660が発生しやすくなり、現像後の画像の画質低下がより発生しやすくなる。そのため、気泡掻き取りブレード600を設けることによって現像後の画像の画質低下を防止するという効果がより有効に奏される。従って、上記実施形態の方がより望ましい。
===画像形成システム等の構成===
次に、本発明に係る実施の形態の一例である画像形成システムの実施形態について、図面を参照しながら説明する。
図11は、画像形成システムの外観構成を示した説明図である。画像形成システム700は、コンピュータ702と、表示装置704と、プリンタ10と、入力装置708と、読取装置710とを備えている。
コンピュータ702は、本実施形態ではミニタワー型の筐体に収納されているが、これに限られるものではない。表示装置704は、CRT(Cathode Ray Tube:陰極線管)やプラズマディスプレイや液晶表示装置等が用いられるのが一般的であるが、これに限られるものではない。プリンタ10は、上記に説明されたプリンタが用いられている。入力装置708は、本実施形態ではキーボード708Aとマウス708Bが用いられているが、これに限られるものではない。読取装置710は、本実施形態ではフレキシブルディスクドライブ装置710AとCD−ROMドライブ装置710Bが用いられているが、これに限られるものではなく、例えばMO(Magneto Optical)ディスクドライブ装置やDVD(Digital Versatile Disk)等の他のものであっても良い。
図12は、図11に示した画像形成システムの構成を示すブロック図である。コンピュータ702が収納された筐体内にRAM等の内部メモリ802と、ハードディスクドライブユニット804等の外部メモリがさらに設けられている。
なお、以上の説明においては、プリンタ10が、コンピュータ702、表示装置704、入力装置708、及び、読取装置710と接続されて画像形成システムを構成した例について説明したが、これに限られるものではない。例えば、画像形成システムが、コンピュータ702とプリンタ10から構成されても良く、画像形成システムが表示装置704、入力装置708及び読取装置710のいずれかを備えていなくても良い。
また、例えば、プリンタ10が、コンピュータ702、表示装置704、入力装置708、及び、読取装置710のそれぞれの機能又は機構の一部を持っていても良い。一例として、プリンタ10が、画像処理を行う画像処理部、各種の表示を行う表示部、及び、デジタルカメラ等により撮影された画像データを記録した記録メディアを着脱するための記録メディア着脱部等を有する構成としても良い。
このようにして実現された画像形成システムは、システム全体として従来システムよりも優れたシステムとなる。
本実施の形態に係る画像形成装置を構成する主要構成要素を示した図である。 図1の画像形成装置の制御ユニットを示すブロック図である。 現像ユニットの主要構成要素を示した断面図である。 供給ローラ550の表面を示した斜視図である。 図5Aは、溝550aが台形の断面を有していることを示した断面図である。図5Bは、溝550aが逆三角形の断面を有していることを示した断面図である。図5Cは、溝550aが半円形の断面を有していることを示した断面図である。 供給ローラ550の溝550aに気泡660が付着した様子を示した模式図である。 現像ユニットの別の実施例を示した断面図である。 図8A及び図8Bは、供給ローラ550上に設けられる窪みの形状を示したものである。 現像ユニットの別の実施例を示した断面図である。 現像ユニットの別の実施例を示した断面図である。 画像形成システムの外観構成を示した説明図である。 図11に示した画像形成システムの構成を示すブロック図である。
符号の説明
10 プリンタ、15Y、15M、15C、15K 現像部、
20Y、20M、20C、20K 感光体、
30Y、30M、30C、30K 帯電ユニット、
40Y、40M、40C、40K 露光ユニット、
50Y、50M、50C、50K 現像ユニット、
60Y、60M、60C、60K 一次転写ユニット、
70 中間転写体、73Y、73M、73C、73K 除電ユニット、
75Y、75M、75C、75K 感光体クリーニングユニット、
76Y、76M、76C、76K 感光体クリーニングブレード、
80 二次転写ユニット、100 制御ユニット、101 メインコントローラ、
102 ユニットコントローラ、112 インターフェイス、113 画像メモリ、
120 CPU、510 現像ローラ、530 収容部、535 突出部、
540 搬送ローラ、550 供給ローラ、550a 溝、560 規制ブレード、
562 規制ブレード支持部材、570 現像ローラクリーニングユニット、
571 現像ローラクリーニングブレード、600 気泡掻き取りブレード、
610 気泡掻き取り部、611 先端、611a エッジ部、620 支持部、
650 液面、660 気泡、700 画像形成システム、702 コンピュータ、
704 表示装置、708 入力装置、708A キーボード、708B マウス、
710 読取装置、710A フレキシブルディスクドライブ装置、
710B CD−ROMドライブ装置、802 内部メモリ、
804 ハードディスクドライブユニット、D 現像剤、F 鉛直面

Claims (16)

  1. 液体現像剤を担持するための現像剤担持体と、
    液体現像剤を収容するための現像剤収容部と、
    一部が露出した状態にて前記現像剤収容部に収容されている液体現像剤に浸っており、前記現像剤担持体に液体現像剤を供給するための現像剤供給部材と、を有し、
    前記現像剤担持体に担持された液体現像剤によって、像担持体に担持された潜像を現像する液体現像装置において、
    前記現像剤収容部に収容されている液体現像剤の液面より鉛直方向下方にて前記現像剤供給部材に当接して、該現像剤供給部材に付着した気泡を掻き取るための気泡掻き取り部材を有することを特徴とする液体現像装置。
  2. 請求項1に記載の液体現像装置において、
    前記現像剤供給部材は、回転可能な現像剤供給ローラであることを特徴とする液体現像装置。
  3. 請求項2に記載の液体現像装置において、
    前記現像剤供給ローラは、表面に凹部を備えていることを特徴とする液体現像装置。
  4. 請求項3に記載の液体現像装置において、
    前記気泡掻き取り部材は、前記現像剤供給ローラの軸方向に沿って当接するブレードであることを特徴とする液体現像装置。
  5. 請求項4に記載の液体現像装置において、
    前記気泡掻き取り部材は、そのエッジ部で前記現像剤供給ローラに当接していることを特徴とする液体現像装置。
  6. 請求項5に記載の液体現像装置において、
    前記気泡掻き取り部材は、弾性体であることを特徴とする液体現像装置。
  7. 請求項6に記載の液体現像装置において、
    前記現像剤供給ローラの材質は、金属であることを特徴とする液体現像装置。
  8. 請求項2〜請求項7のいずれかに記載の液体現像装置において、
    前記現像剤供給ローラの中心軸を通る鉛直面から見て該現像剤供給ローラが回転して液体現像剤から進出する側に位置し、前記現像剤供給ローラ上の液体現像剤の量を規制するための量規制部材を有することを特徴とする液体現像装置。
  9. 請求項8に記載の液体現像装置において、
    前記気泡掻き取り部材は、前記現像剤供給ローラの中心軸を通る鉛直面から見て該現像剤供給ローラが回転して液体現像剤に進入する側にて、前記現像剤供給ローラに当接していることを特徴とする液体現像装置。
  10. 請求項8または請求項9に記載の液体現像装置において、
    前記気泡掻き取り部材は、前記現像剤収容部に収容されている液体現像剤を仕切っていることを特徴とする液体現像装置。
  11. 請求項2〜請求項10のいずれかに記載の液体現像装置において、
    前記気泡掻き取り部材は、
    該気泡掻き取り部材の、前記現像剤供給ローラに当接する側の先端が、
    該気泡掻き取り部材の、前記現像剤供給ローラに当接する当接位置から見て、該現像剤供給ローラの回転方向の上流側に向くように、
    設けられていることを特徴とする液体現像装置。
  12. 請求項1〜請求項11のいずれかに記載の液体現像装置において、
    前記気泡掻き取り部材は、前記現像剤収容部に収容されている液体現像剤の液面より鉛直方向下方に位置していることを特徴とする液体現像装置。
  13. 請求項1〜請求項12のいずれかに記載の液体現像装置において、
    液体現像剤は、常温で不揮発性を有する不揮発性液体現像剤であることを特徴とする液体現像装置。
  14. 液体現像剤を担持するための現像剤担持体と、
    液体現像剤を収容するための現像剤収容部と、
    一部が露出した状態にて前記現像剤収容部に収容されている液体現像剤に浸っており、前記現像剤担持体に液体現像剤を供給するための現像剤供給部材と、を有し、
    前記現像剤担持体に担持された液体現像剤によって、像担持体に担持された潜像を現像する液体現像装置において、
    前記現像剤収容部に収容されている液体現像剤の液面より鉛直方向下方にて前記現像剤供給部材に当接して、該現像剤供給部材に付着した気泡を掻き取るための気泡掻き取り部材を有し、
    前記現像剤供給部材は、回転可能な現像剤供給ローラであり、
    前記現像剤供給ローラは、表面に凹部を備えており、
    前記気泡掻き取り部材は、前記現像剤供給ローラの軸方向に沿って当接するブレードであり、
    前記気泡掻き取り部材は、そのエッジ部で前記現像剤供給ローラに当接しており、
    前記気泡掻き取り部材は、弾性体であり、
    前記現像剤供給ローラの材質は、金属であり、
    前記現像剤供給ローラの中心軸を通る鉛直面から見て該現像剤供給ローラが回転して液体現像剤から進出する側に位置し、前記現像剤供給ローラ上の液体現像剤の量を規制するための量規制部材を有し、
    前記気泡掻き取り部材は、前記現像剤供給ローラの中心軸を通る鉛直面から見て該現像剤供給ローラが回転して液体現像剤に進入する側にて、前記現像剤供給ローラに当接しており、
    前記気泡掻き取り部材は、前記現像剤収容部に収容されている液体現像剤を仕切っており、
    前記気泡掻き取り部材は、該気泡掻き取り部材の、前記現像剤供給ローラに当接する側の先端が、該気泡掻き取り部材の、前記現像剤供給ローラに当接する当接位置から見て、該現像剤供給ローラの回転方向の上流側に向くように、設けられており、
    前記気泡掻き取り部材は、前記現像剤収容部に収容されている液体現像剤の液面より鉛直方向下方に位置しており、
    液体現像剤は、常温で不揮発性を有する不揮発性液体現像剤であることを特徴とする液体現像装置。
  15. 潜像を担持するための像担持体、及び、
    液体現像剤を担持するための現像剤担持体と、液体現像剤を収容するための現像剤収容部と、一部が露出した状態にて前記現像剤収容部に収容されている液体現像剤に浸っており、前記現像剤担持体に液体現像剤を供給するための現像剤供給部材と、を有し、前記現像剤担持体に担持された液体現像剤によって、前記像担持体に担持された潜像を現像する液体現像装置、
    を備えた画像形成装置において、
    前記現像剤収容部に収容されている液体現像剤の液面より鉛直方向下方にて前記現像剤供給部材に当接して、該現像剤供給部材に付着した気泡を掻き取るための気泡掻き取り部材を有することを特徴とする画像形成装置。
  16. コンピュータ、並びに、
    これに接続可能な画像形成装置であって、
    潜像を担持するための像担持体、及び、
    液体現像剤を担持するための現像剤担持体と、液体現像剤を収容するための現像剤収容部と、一部が露出した状態にて前記現像剤収容部に収容されている液体現像剤に浸っており、前記現像剤担持体に液体現像剤を供給するための現像剤供給部材と、を有し、前記現像剤担持体に担持された液体現像剤によって、前記像担持体に担持された潜像を現像する液体現像装置、
    を備えた画像形成装置、
    を具備した画像形成システムにおいて、
    前記現像剤収容部に収容されている液体現像剤の液面より鉛直方向下方にて前記現像剤供給部材に当接して、該現像剤供給部材に付着した気泡を掻き取るための気泡掻き取り部材を有することを特徴とする画像形成システム。

JP2004110085A 2004-04-02 2004-04-02 液体現像装置、画像形成装置、及び、画像形成システム Expired - Lifetime JP4461883B2 (ja)

Priority Applications (1)

Application Number Priority Date Filing Date Title
JP2004110085A JP4461883B2 (ja) 2004-04-02 2004-04-02 液体現像装置、画像形成装置、及び、画像形成システム

Applications Claiming Priority (1)

Application Number Priority Date Filing Date Title
JP2004110085A JP4461883B2 (ja) 2004-04-02 2004-04-02 液体現像装置、画像形成装置、及び、画像形成システム

Publications (3)

Publication Number Publication Date
JP2005292637A true JP2005292637A (ja) 2005-10-20
JP2005292637A5 JP2005292637A5 (ja) 2007-05-24
JP4461883B2 JP4461883B2 (ja) 2010-05-12

Family

ID=35325599

Family Applications (1)

Application Number Title Priority Date Filing Date
JP2004110085A Expired - Lifetime JP4461883B2 (ja) 2004-04-02 2004-04-02 液体現像装置、画像形成装置、及び、画像形成システム

Country Status (1)

Country Link
JP (1) JP4461883B2 (ja)

Also Published As

Publication number Publication date
JP4461883B2 (ja) 2010-05-12

Similar Documents

Publication Publication Date Title
JP4507683B2 (ja) 液体現像装置
JP4461883B2 (ja) 液体現像装置、画像形成装置、及び、画像形成システム
JP4461884B2 (ja) 現像装置、画像形成装置、及び、画像形成システム
JP4432415B2 (ja) 液体現像装置、画像形成装置、及び、画像形成システム
JP4363121B2 (ja) 液体現像装置、画像形成装置、及び、画像形成システム
JP4635556B2 (ja) 現像装置、画像形成装置、及び、画像形成システム
JP4419473B2 (ja) 画像形成装置、画像形成システム、及び、画像形成方法
US7167666B2 (en) Liquid development device, image forming apparatus, and image forming system
JP4289077B2 (ja) 画像形成装置、画像形成システム、及び、画像形成方法
JP4513401B2 (ja) 現像装置、及び、画像形成装置
JP4479187B2 (ja) 現像装置、及び、画像形成装置
JP4363135B2 (ja) 液体現像装置、画像形成装置、及び、画像形成システム
US7139514B2 (en) Developing device, image forming apparatus, image forming system, and restriction member
JP4581623B2 (ja) 液体現像装置、画像形成装置、画像形成システム、及び、現像剤供給ローラ
JP4572563B2 (ja) 現像装置、画像形成装置、及び、画像形成システム
JP4609033B2 (ja) 現像装置、画像形成装置、及び、画像形成システム
JP4858640B2 (ja) 現像装置、及び、画像形成装置
JP4363122B2 (ja) 液体現像装置、画像形成装置、及び、画像形成システム
JP4635565B2 (ja) 液体現像装置、及び、画像形成装置
JP2005316114A (ja) 現像装置、画像形成装置、及び、画像形成システム
JP2005292638A (ja) 現像装置、画像形成装置、及び、画像形成システム
JP2005070184A (ja) 現像装置、規制部材、画像形成装置、及び、画像形成システム
JP2005292636A (ja) 現像装置、画像形成装置、及び、画像形成システム
JP2005315965A (ja) 液体現像装置、現像剤担持体、画像形成装置、及び、画像形成システム
JP2006030638A (ja) 現像装置、現像剤供給ローラ、画像形成装置、及び、画像形成システム

Legal Events

Date Code Title Description
A521 Request for written amendment filed

Free format text: JAPANESE INTERMEDIATE CODE: A523

Effective date: 20070402

A621 Written request for application examination

Free format text: JAPANESE INTERMEDIATE CODE: A621

Effective date: 20070402

A977 Report on retrieval

Free format text: JAPANESE INTERMEDIATE CODE: A971007

Effective date: 20091009

A131 Notification of reasons for refusal

Free format text: JAPANESE INTERMEDIATE CODE: A131

Effective date: 20091020

A521 Request for written amendment filed

Free format text: JAPANESE INTERMEDIATE CODE: A523

Effective date: 20091214

TRDD Decision of grant or rejection written
A01 Written decision to grant a patent or to grant a registration (utility model)

Free format text: JAPANESE INTERMEDIATE CODE: A01

Effective date: 20100126

A01 Written decision to grant a patent or to grant a registration (utility model)

Free format text: JAPANESE INTERMEDIATE CODE: A01

A61 First payment of annual fees (during grant procedure)

Free format text: JAPANESE INTERMEDIATE CODE: A61

Effective date: 20100208

FPAY Renewal fee payment (event date is renewal date of database)

Free format text: PAYMENT UNTIL: 20130226

Year of fee payment: 3

R150 Certificate of patent or registration of utility model

Free format text: JAPANESE INTERMEDIATE CODE: R150

Ref document number: 4461883

Country of ref document: JP

Free format text: JAPANESE INTERMEDIATE CODE: R150

FPAY Renewal fee payment (event date is renewal date of database)

Free format text: PAYMENT UNTIL: 20130226

Year of fee payment: 3

S531 Written request for registration of change of domicile

Free format text: JAPANESE INTERMEDIATE CODE: R313531

R350 Written notification of registration of transfer

Free format text: JAPANESE INTERMEDIATE CODE: R350

EXPY Cancellation because of completion of term