JP2005292391A - 画像形成装置 - Google Patents

画像形成装置 Download PDF

Info

Publication number
JP2005292391A
JP2005292391A JP2004106026A JP2004106026A JP2005292391A JP 2005292391 A JP2005292391 A JP 2005292391A JP 2004106026 A JP2004106026 A JP 2004106026A JP 2004106026 A JP2004106026 A JP 2004106026A JP 2005292391 A JP2005292391 A JP 2005292391A
Authority
JP
Japan
Prior art keywords
recording medium
image forming
image
roller
unit
Prior art date
Legal status (The legal status is an assumption and is not a legal conclusion. Google has not performed a legal analysis and makes no representation as to the accuracy of the status listed.)
Granted
Application number
JP2004106026A
Other languages
English (en)
Other versions
JP4100369B2 (ja
Inventor
Tokuji Kato
篤司 加藤
Masashi Suzuki
正史 鈴木
Current Assignee (The listed assignees may be inaccurate. Google has not performed a legal analysis and makes no representation or warranty as to the accuracy of the list.)
Brother Industries Ltd
Original Assignee
Brother Industries Ltd
Priority date (The priority date is an assumption and is not a legal conclusion. Google has not performed a legal analysis and makes no representation as to the accuracy of the date listed.)
Filing date
Publication date
Application filed by Brother Industries Ltd filed Critical Brother Industries Ltd
Priority to JP2004106026A priority Critical patent/JP4100369B2/ja
Publication of JP2005292391A publication Critical patent/JP2005292391A/ja
Application granted granted Critical
Publication of JP4100369B2 publication Critical patent/JP4100369B2/ja
Anticipated expiration legal-status Critical
Expired - Lifetime legal-status Critical Current

Links

Images

Landscapes

  • Control Or Security For Electrophotography (AREA)
  • Fixing For Electrophotography (AREA)
  • Electrostatic Charge, Transfer And Separation In Electrography (AREA)

Abstract

【課題】 金属の付着した記録用紙があっても、内部機器を損傷させず、かつ使い勝手のよい、コンパクトな画像形成装置を提供することを目的とする。
【解決手段】 中間転写体を有する画像形成装置の搬送経路に、金属センサ、前部搬送ローラ、搬送補助ローラ、及び、後部搬送ローラを設け、金属センサで記録用紙に付着した金属を検知した場合、二次転写部において、中間転写体と二次転写ローラを離隔し、さらに定着部において、加熱ローラと加圧ローラを離隔させる。そして、前部搬送ローラ、搬送補助ローラ、後部搬送ローラで記録用紙を搬送させた後、新たな記録用紙に印刷を行う。そのようにして、中間転写体、二次転写ローラ、加熱ローラ及び加圧ローラなどの損傷を防止するとともに、印刷を停止させず、しかも、排紙用の搬送経路を設けないため、コンパクトな画像形成装置とすることができる。
【選択図】 図1


Description

本発明は、金属センサにより、記録用紙に付着した金属を検知し、記録用紙の搬送時に、内部の構成品の損傷を防止する機構を備えた画像形成装置に関する。
従来、コピー機やプリンタには、印刷のために、印刷用の被記録媒体を搬送する機構が内蔵されており、その機構により被記録媒体が装置内部で搬送されていた。
ところが、搬送される被記録媒体にクリップやステープルなどの金属が付着していると、被記録媒体の搬送途中にその金属で搬送経路にある構成品(例えば、レーザプリンタの場合は、感光体ドラムや中間転写ベルトなど)を損傷させてしまうおそれがある。
これを防止するため、搬送経路の途中に金属センサを設け、被記録媒体に付着している金属を検知した場合に、被記録媒体の搬送を停止して、構成品の損傷を防止する機構や、被記録媒体の搬送経路を変更し、画像形成を行わずに排出するようにして、構成品の損傷を防止する機構などが提案されている。(例えば、特許文献1参照)
特開平8−91602号公報
ところが、付着金属を検知した場合に被記録媒体の搬送を止める機構を、例えば、1台のプリンタを複数のコンピュータで共用するネットワークプリンタに適用した場合には、ネットワークプリンタ内部の構成品を損傷させることはなくなるが、ネットワークプリンタが停止状態となって、印刷処理が滞るため、使い勝手がよくないという問題があった。
また、付着金属を検知した場合に被記録媒体の搬送経路を変更して排出するという機構をプリンタに適用した場合には、通常の搬送経路の他に、金属が付着した被記録媒体を排出するための搬送経路を設ける必要があり、プリンタの大型化を招くという問題があった。
本発明は、こうした問題に鑑み成されたものであり、金属の付着した記録用紙により内部構成品を損傷させず、かつ使い勝手のよい、コンパクトな画像形成装置を提供することを目的とする。
かかる目的を達成するために為された請求項1に記載の発明は、被記録媒体を搬送経路に沿って搬送するための搬送手段と、搬送経路上にある画像形成位置にて画像を形成する画像形成手段と、を備えた画像形成装置であって、搬送経路における、前記画像形成位置よりも上流側に配置され、前記被記録媒体に付着する金属を検知するための金属検知手段と、画像形成位置における画像形成手段と被記録媒体との間の距離を変化させるための距離変化手段と、金属検知手段により被記録媒体に付着する金属が検知されると、距離変化手段によって、画像形成手段と被記録媒体との間の距離を大きくする制御手段と、を備えることを特徴としている。
このように構成した画像形成装置によれば、被記録媒体に付着したクリップやステープルなどの金属が検知された場合に、画像形成位置における画像形成手段と被記録媒体との間の距離を変化させることで、画像形成手段が金属により傷つけられるのを防止することが可能となる。また、画像形成装置を停止させずに、金属が付着した被記録媒体を排紙することが可能となり、画像形成装置の使い勝手がよくなる。さらに、金属が付着した被記録媒体を、別途搬出経路を設けて排出する必要がなくなるので、画像形成装置の大型化を防ぐこともできる。
ところで、被記録媒体に付着した金属を検知して、画像形成位置における画像形成手段と被記録媒体との間の距離を変化させる場合、金属を検知して、すぐに距離を大きくさせる必要はなく、請求項2に記載のように、制御手段によって、金属が画像形成手段の画像形成位置に到達するまでに、画像形成手段と被記録媒体との間の距離を大きくするように制御するとよい。
このようにすれば、金属検知手段による金属の検知から、画像形成手段を画像形成位置から予め定められた距離だけ移動させるために充分な処理時間を確保することが可能となる。
また、画像形成手段が、静電潜像を形成する静電潜像形成手段と、静電潜像形成手段により形成された静電潜像に現像剤を付着させて現像剤像を形成する現像手段と、現像剤像を担持する像担持体と、像担持体に担持された現像剤像を被記録媒体に転写する転写手段と、を備えている場合には、請求項3に記載のように、制御手段が、距離変化手段により、像担持体と転写手段との距離を変化させるようにするとよい。
このようにすると、被記録媒体に付着した金属が検知された際、制御手段が、像担持体と転写手段との距離を変化させるため、金属によって像担持体や転写手段を傷つけることがなくなる。
さらに、現像手段が、複数の色の現像剤毎に備えられ、像担持体が、その複数の現像手段によって現像された現像剤像を担持する中間転写体であって、転写手段が、中間転写体に形成された画像を被記録媒体に転写するように構成された画像形成装置の場合は、請求項4に記載のように、制御手段が、距離変化手段により、中間転写体と転写手段との距離を変化させるようにするとよい。
このようにすると、一般に、感光体ドラムなどに比べて寿命の長い部品である中間転写体の損傷を防止することが可能となるため、画像形成装置の寿命を長くすることが可能となる。
また、被記録媒体上に転写された現像剤像を被記録媒体上に定着させる定着手段を備えた画像形成装置では、被記録媒体に金属が付着していると、画像形成手段の像担持体や中間転写体だけでなく、定着手段が傷つけられる場合がある。そこで、この問題を防止するには、画像形成装置に対して、さらに、請求項5に記載のように、定着手段による被記録媒体の挟持状態を解除するニップ解除手段と、金属検知手段により被記録媒体に付着する金属が検知されると、被記録媒体の挟持状態を解除するニップ解除制御手段と、を設けるようにするとよい。
このように構成すると、金属によって定着手段が傷つけられることがなくなり、定着手段の寿命を長くすることが可能となる。
一方、ニップ解除制御手段は、請求項6に記載のように、金属検知手段により被記録媒体に付着している金属が検知されると、現像剤像が被記録媒体に転写されているか否かを判断し、現像剤像が被記録媒体に転写されていなければ、ニップ解除手段により、被記録媒体の挟持状態を解除し、現像剤像が被記録媒体に転写されていれば、ニップ解除手段により、被記録媒体の挟持状態を解除しないように構成するとよい。
このように構成すれば、被記録媒体上に現像剤像が形成されていないときは、ニップを解除して、定着手段での被記録媒体の挟持状態を解除し、金属による定着手段の損傷を防止することができる。一方、被記録媒体上に現像剤像が形成されているときは、ニップを解除せず、現像剤画像の定着を実行して、未定着の現像剤による汚損を防止することが可能となる。
ところで、現像剤像を被記録媒体に転写して画像形成を行う画像形成装置においては、現像剤担持体と転写手段とが当接しつつ回転して、現像剤像の転写を行うと同時に、被記録媒体を搬送している。従って、金属検知手段が、被記録媒体に付着している金属を検知したときに、像担持体と転写手段との距離を変化させると、被記録媒体の搬送が不可能となる場合がある。
それを避けるため、請求項7に記載のように、搬送経路上に配置されている転写手段と定着手段との間に一対の搬送補助ローラを設け、さらに、当該装置には、搬送補助ローラを制御する搬送補助ローラ制御手段を設けることによって、被記録媒体に付着する金属が検知されると搬送補助ローラが被記録媒体を挟持して被記録媒体の搬送を行い、金属が検知されないと搬送補助ローラが被記録媒体から離隔して被記録媒体の搬送を行わないようにするとよい。
このようにすると、被記録媒体に金属が付着していないときには、搬送補助ローラは離隔しているので、未定着の現像剤像に搬送補助ローラが当接して、現像剤像を乱すようなことがなくなる。一方、金属が付着している場合は、搬送補助ローラによって被記録媒体を搬送できるようになる。
また、請求項8に記載のように、制御手段が像担持体と転写手段との距離を大きくした場合に、補助ローラ制御手段が、被記録媒体を挟持するように搬送補助ローラを制御するようにしてもよい。
このようにすると、被記録媒体に金属が付着しているために、像担持手段と転写手段との距離が大きくなったとしても、搬送補助ローラが被記録媒体を挟持し、被記録媒体を搬送する。従って、金属が付着した被記録媒体を、像担持体や転写手段を損傷させることなく、搬送できるようになる。
そして、搬送経路に搬送補助ローラが備えられている画像形成装置では、請求項9に記載のように、搬送手段に、画像形成位置の上流側に設けられて被記録媒体の搬送を行うための一対の前部搬送ローラを設け、その前部搬送ローラと搬送補助ローラとの、搬送経路に沿った距離が、画像形成可能な最小の大きさの被記録媒体の搬送方向の長さよりも小さくなるように搬送手段を構成するとよい。
このように構成すると、金属検知手段により、被記録媒体に付着している金属を検知して、転写手段において、像担持手段と転写手段との距離が変化して、被記録媒体の搬送ができなくなっても、前部搬送ローラと搬送補助ローラとで被記録媒体を搬送することが可能となる。
さらに、請求項10に記載のように、搬送手段として、定着部の下流側に被記録媒体の搬送を行うための一対の後部搬送ローラを設け、その後部搬送ローラと搬送補助ローラとの搬送経路に沿った距離が、画像形成可能な最小の大きさの被記録媒体の搬送方向の長さよりも小さくなるように搬送手段を構成するとよい。
このように構成すると、金属検知手段により、被記録媒体に付着している金属が検知され、定着手段においてニップ解除手段が解除されて、定着手段で被記録媒体の搬送ができなくなっても、搬送補助ローラと後部搬送ローラとでの被記録媒体の搬送が可能となる。
また、請求項1〜請求項10の何れかに記載の画像形成装置においては、さらに、請求項11に記載のように、金属検知手段により被記録媒体に付着する金属が検知された場合に画像形成手段の画像形成動作を禁止する画像形成動作禁止手段を設けるようにするとよい。
このように構成すると、被記録媒体に金属が付着していた場合に、現像剤やインクを無駄に消費することがなくなる。
ところで、請求項1〜請求項11の何れかに記載の画像形成装置では、金属検知手段により被記録媒体に金属が検知されると、その被記録媒体を搬出しているが、被記録媒体の排出後は、画像形成を再開できるようにするとよい。そして、このためには、請求項12に記載のように、画像形成手段に対して、再度、同じ画像を新たな被記録媒体に形成するように指令する画像再形成指令手段を設けるようにするとよい。
このように構成すると、被記録媒体に金属が付着している場合でも、その被記録媒体を搬出するとともに、新たな被記録媒体に同じ画像の画像形成処理が実行されるため、画像形成装置が停止状態とならず、画像形成装置の使い勝手がよくなる。
以下に、本発明の実施形態を図面に基づき説明する。
図1は本発明が適用されたカラーレーザプリンタ1の概略構成を示す断面図、また、図2は後述する搬送部9における構成品の配設位置を表す説明図である。
図1において、カラーレーザプリンタ1は、後述する4つの画像形成ユニット20が水平方向に並んで配設される、いわゆる、横置きタイプのタンデム方式のカラーレーザプリンタであって、本体ケーシング2に、被記録媒体としての記録用紙3を搬送するための搬送部9、給紙された記録用紙3に画像を形成するための画像形成部4、画像が形成された記録用紙3を排紙するための排紙部6、及び、当該カラーレーザプリンタ1の作動を制御する制御部90を備えている。
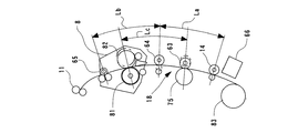
搬送部9は、本体ケーシング2内の底部から後方上部にかけて配設されており、本体ケーシング2に対して前側(図1において、図中右方向を前方、左方向を後方と称する)から脱着可能に装着される給紙トレイ12と、その給紙トレイ12の一端部上方(前側上方)に設けられる給紙ローラ83と、給紙ローラ83の上方であって、給紙ローラ83に対して記録用紙3の搬送方向下流側(以下、記録用紙3の搬送方向下流側を搬送方向下流側、記録用紙3の搬送方向上流側を搬送方向上流側と省略する場合がある。)に設けられる一対の前部搬送ローラ14と、前部搬送ローラ14の下流側であって、後述する二次転写部18と定着部8との間に一対の搬送補助ローラ64と、定着部8と排紙ローラ11との間に一対の後部搬送ローラと、給紙ローラ83と前部搬送ローラ14との間に、記録用紙3に付着している金属を検知するための金属センサ66と、を備えている。
そして、図2に示すように、前部搬送ローラ14と搬送補助ローラ64とは、それら2つのローラ間の、搬送経路に沿った長さLaが、記録用紙3の搬送方向の長さよりも小さくなるように配設されている。また、搬送補助ローラ64と後部搬送ローラ65とは、それら2つのローラ間の、搬送経路に沿った長さLbが、記録用紙3の搬送方向の長さよりも小さくなるように配設されている。さらに、二次転写部18と定着部8とは、中間転写ベルト駆動ローラ75と二次転写ローラ63との当接部と、加熱ローラ81と加圧ローラ82との当接部と、の搬送経路に沿った長さLcが、記録用紙3の搬送方向の長さよりも小さくなるように配設されている。
そして、搬送補助ローラ64は、搬送補助ローラニップ解除ソレノイド86(図3参照)により、片方のローラの回転軸を移動させ、対になっているローラの当接部分を離隔させる、いわゆるニップ機構を備えている。
金属センサ66は、搬送経路の横幅と同じ長さの検知幅を有しており、コイルが巻回されて成る磁気センサ、あるいは、超小型の磁気センサチップ(例えば、愛知製鋼製MI−IC−2DL)を搬送経路の横幅をカバーするように配置したものが使用される。
給紙トレイ12内には、記録用紙3がスタックされており、その最上部にある記録用紙3は、給紙ローラ83の回転によって、1枚毎に前部搬送ローラ14に向けて給紙され、その前部搬送ローラ14から中間転写ベルト74(本発明における像担持体)と二次転写ローラ63との間(転写位置)に順次送られる。
なお、給紙ローラ83と前部搬送ローラ14との間には、上下方向に配設されるガイド部材15が設けられており、給紙ローラ83によって給紙された記録用紙3は、ガイド部材15によって中間転写ベルト74と二次転写ローラ63との間(二次転写位置)に順次送られ、次に搬送補助ローラ64によって定着部8に送られ、さらに後部搬送ローラ65及び排紙ローラ11によって排紙トレイ10に搬送される。
画像形成部4は、本体ケーシング2内の中間部において、画像を形成する4つの画像形成ユニット20Y、20M、20C、20Kと、各画像形成ユニット20で形成された画像を中間転写ベルト74に転写する一次転写部17と、中間転写ベルト74に転写された画像を記録用紙3に転写する二次転写部18とを備えている。
そして、各画像形成ユニット20は、感光体ドラム62、感光体ドラム62の周囲に、感光体ドラム62を帯電させる帯電器31、感光体ドラム62に静電潜像を形成する静電潜像形成手段であるスキャナユニット41、及び、感光体ドラム62に現像剤を付着させ現像剤像を形成する現像手段としての現像ユニット51を配置することによって構成される。なお、図1において、各画像形成ユニット20は現像剤の色が異なるだけで同じ構造であるので、各構成要素に対する符号は、ブラック(K)の画像形成ユニット20Kについてのみ記載し、他の画像形成ユニット20については、その符号の記載を省略する。
帯電器31は、例えば、タングステン等からなる帯電用ワイヤからコロナ放電を発生させて、感光体ドラム62の表面を一様に正極性に帯電させる正帯電用のスコロトロン型の帯電器である。
スキャナユニット41は、感光体ドラム62の表面に静電潜像を形成するためのレーザ光を発生するレーザ発生器、レンズ(いずれも図示しない)等から構成されている。
そして、このスキャナユニット41では、レーザ発光部から発光されるレーザ光が感光体ドラム62に走査されて照射され、感光体ドラム62の表面に静電潜像を形成する。
現像ユニット51は、現像剤収容部としての現像剤ホッパ56、現像剤供給手段としての供給ローラ32、現像ローラ52を備えている。
そして、この現像剤ホッパ56には、各画像形成ユニット20毎に、イエロー(Y)、マゼンタ(M)、シアン(C)、ブラック(K)各色の現像剤が収容されている。
すなわち、上述した4つの画像形成ユニット20は、現像剤ホッパ56にイエロー(Y)の現像剤が収容された画像形成ユニット20Yと、現像剤ホッパ56にマゼンタ(M)の現像剤が収容された画像形成ユニット20Mと、現像剤ホッパ56にシアン(C)の現像剤が収容された画像形成ユニット20Cと、現像剤ホッパ56にブラック(K)の現像剤が収容された画像形成ユニット20Kとから構成されている。
供給ローラ32は、現像剤ホッパ56に下方斜め前側に配設され、金属製のローラ軸に、導電性のスポンジ部材からなるローラ部分が被覆されている。この供給ローラ32は、現像ローラ52と対向接触するニップ部分において、現像ローラ52と逆方向に回転するように回転可能に支持されている。
現像ローラ52は、供給ローラ32の下方において、供給ローラ32と互いに対向接触する位置に回転可能に配設されている。現像ローラ52は金属製のローラ軸に導電性のゴム材料などの弾性部材からなるローラ部が被覆され形成されている。
そして、一次転写部17は、本体ケーシング2内部において、現像ユニット51の反対側に感光体ドラム62と対向するように設けられている。この一次転写部17は、中間転写ベルト駆動ローラ75と、中間転写ベルト従動ローラ76とエンドレスベルトである中間転写ベルト74と、一次転写ローラ61とを備えている。
中間転写ベルト駆動ローラ75は、中間転写ベルト74の周回方向に対して最上流側の画像形成ユニット20Yの感光体ドラム62より前方であって、給紙ローラ83の上方前側に配設されている。また、中間転写ベルト従動ローラ76は、中間転写ベルト74の周回方向に対して最下流側のブラック画像形成ユニット20Kの感光体ドラム62よりも後方に配設されている。
また、中間転写ベルト74は、中間転写ベルト駆動ローラ75と中間転写ベルト従動ローラ76との間に巻回されている。中間転写ベルト74は、巻回されている外側の面が、各画像形成ユニット20のすべての感光体ドラム62と対向接触するように配設されている。
そして、中間転写ベルト駆動ローラ75の駆動により、中間転写ベルト従動ローラ76が従動され、中間転写ベルト74が、中間転写ベルト駆動ローラ75と中間転写ベルト従動ローラ76の間を、各画像形成ユニット20の感光体ドラム62と対向接触する接触面において感光体ドラム62と同方向に回転するように、反時計方向に周回移動する。
また、一次転写ローラ61は、巻回されている中間転写ベルト74の内側において、各画像形成ユニット20の感光体ドラム62と、中間転写ベルト74を挟んで対向するように、夫々配設される。そして、一次転写ローラ61は、中間転写ベルト74と対向接触する接触面において、中間転写ベルト74の周回移動方向と同方向に回転するように、反時計方向に回転可能に設けられている。
そして、転写時には、感光体ドラム62と中間転写ベルト74との間に、図示しない電源から予め定められた電流値の転写バイアスが印加され、この転写バイアスによって、感光体ドラム62に担持されている現像剤像が中間転写ベルト74に転移(一次転写)される。
また、二次転写部18は、中間転写ベルト駆動ローラ75、二次転写ローラ63、中間転写ベルト74、及びクリーニング機構100とで構成されている。
二次転写ローラ63は、中間転写ベルト駆動ローラ75と中間転写ベルト74を挟んで対向するように配設される。この二次転写ローラ63は、金属製のローラ軸に、導電性のゴム材などの弾性部材からなるローラ部分が被覆され形成されている。
そして、二次転写ローラ63は、中間転写ベルト74と対向接触する接触面において、中間転写ベルト74の周回移動方向と同方向に回転するように、時計方向に回転可能に設けられており、転写時には、二次転写ローラ63と中間転写ベルト74との間に、図示しない電源から予め定められた電流値の転写バイアスが印加され、中間転写ベルト74に担持されている現像剤像が記録用紙3に転移(二次転写)される。
そして、クリーニング機構100は、記録用紙3に二次転写された後に中間転写ベルト74に残留した現像剤を、静電的に帯電させたローラで吸着させて除去し回収するようになっている。
さらに、二次転写部18は、二次転写ローラ63の回転軸を、二次転写部ニップ解除ソレノイド84(図3参照)により移動させ、二次転写ローラ63と中間転写ベルト74との当接部分を離隔させる、いわゆるニップ機構を備えている。
定着部8は、画像形成ユニット20の前方で、かつ、二次転写部18の上方であって、搬送方向下流側に配設されている。この定着部8は、加熱ローラ81及び加圧ローラ82を備えている。加熱ローラ81は、その表面に離型層が形成される金属素管からなり、その軸方向に沿ってハロゲンランプが内装されている。そして、ハロゲンランプにより、加熱ローラ81の表面が定着温度に加熱される。また、加圧ローラ82は、加熱ローラ81に押圧されるように、加熱ローラ81に対向して配設される。
さらに、定着部8は、加圧ローラ82の回転軸を、定着部ニップ解除ソレノイド85(図3参照)により移動させ、加圧ローラ82と加熱ローら81との当接部分を離隔させる、いわゆるニップ機構を備えている。
この定着部8により、記録用紙3に二次転写された現像剤像は、加熱、加圧されて記録用紙3の表面に定着される。
そして、排紙部6は、本体ケーシング2内の上部において、定着部8の搬送方向下流側に配設されている。そして、排紙部6には、画像の定着が完了した記録用紙3を排出する一対の排紙ローラ11と、排紙ローラ11の下流側に配設され、画像形成工程が全て終了し、排紙ローラ11から排紙される記録用紙3を蓄積する排紙トレイ10とが備えられている。
次に、図3を用いてカラーレーザプリンタ1の電気的構成を説明しつつ、上述した装置内各部の連携動作により当該カラーレーザプリンタ1がカラー画像を記録用紙3上に形成するまでの工程について説明する。なお、図3は、カラーレーザプリンタ1の電気的構成を概略的に表したブロック図である。
図3に示すように、カラーレーザプリンタ1は、装置各部を統括制御する制御部90(CPU、ROM、RAM、I/O、ドライバ等を内蔵)、画像形成ユニット20、二次転写ニップ解除ソレノイド84、定着部ニップ解除ソレノイド85、搬送補助ローラニップ解除ソレノイド86、各ローラ駆動モータ87、金属センサ66を備えており、制御部90にて、画像形成動作を行うよう構成されている。
なお、各ローラ駆動モータ87は、制御部90からの駆動信号を受け、画像形成部4、排紙部6、定着部8、搬送部9に備えられた各ローラをギアを介して駆動するためのモータである。
画像形成動作において、カラーレーザプリンタ1の制御部90は、メイン制御処理部(プログラム)により、画像形成時に制御対象となる装置各部の初期設定を行った後、感光体ドラム62の表面を帯電器31によって一様に帯電させ、スキャナユニット41から画像情報に従って変調したレーザ光を照射して、感光体ドラム62の表面に静電潜像を形成させる。次に、この感光体ドラム62の表面に現像ユニット51によって現像剤を塗布し、感光体ドラム62表面の静電潜像を可視画像化させる。そして、感光体ドラム62を回転させ、可視化された可視画像(現像剤像)を一次転写位置に移動させる。
次に、制御部90は、中間転写ベルト駆動ローラ75を回転させて、中間転写ベルト74を周回移動させるとともに、図示しない電源により、各感光体ドラム62と中間転写ベルト74との間に一次バイアス電圧を印加し、感光体ドラム62上の可視画像(現像剤像)を中間転写ベルト74に転写(一次転写)する。
また、制御部90は、中間転写ベルト74に転写された可視画像(現像剤像)が、二次転写部18に至ると同時に記録用紙3が二次転写部18に供給されるように、給紙ローラ83及び前部搬送ローラ14を作動させて記録用紙3を給紙する。そして、二次転写部18では、図示しない電源により、二次転写ローラ63と中間転写ベルト74との間に二次転写バイアス電圧を印加させ、可視画像(現像剤像)を記録用紙3に転写する。
次に、制御部90は、定着部8において、記録用紙3を加熱ローラ81と加圧ローラ82によって挟持搬送させ、記録用紙3上の可視画像(現像剤像)を加熱、加圧し、記録用紙3上に定着させる。そして、後部搬送ローラ65及び排紙ローラ11を作動させて、記録用紙3を本体ケーシング2上部の排紙トレイ10に排出し、画像形成動作を終了させる。
ところで、本実施例のカラーレーザプリンタ1は、金属センサ66により、記録用紙3に付着しているクリップやステープルなどの金属が検知された場合、その金属によって中間転写ベルト74や定着部8が損傷しないような作動を行う。
以下にその作動について、図4、図5及び図6を用いて説明する。図4は、制御部90が実行するメイン処理のフローチャート、図5は、メイン処理中で呼び出される、金属検知時の割込み処理のフローチャート、図6は、搬送部9の概略拡大図である。
制御部90は、カラーレーザプリンタ1の電源ONで処理を開始し、S110でカラーレーザプリンタ1の作動に必要となる初期処理を実行した後、S115へ移行する。S115では画像データの受信の有無を判断し、受信が有れば(S115にてYesの場合)S120へ移行し、受信が無ければ(S115にてNoの場合)画像データの受信を繰り返す。
S120では、1ページ分の画像データを受信したか否かを判断し、受信が済んでいれば(S120でYesの場合)S125に移行し、受信が済んでいなければ(S120でNoの場合)S115に戻り画像データの受信を繰り返す。
S125では、受信した1ページ分の画像データを、各画像形成ユニット20で画像形成するための各色毎のデータに展開する。そしてS130に移行する。
S130では、金属検知時の割込みをイネーブルにし、記録用紙3に付着している金属を金属センサ66で発見した場合に、割り込み処理が実行されるようにする。そして、S135に移行する。
S135では、前述した通常のプリント処理を行い、金属センサ66による金属検知がない場合は、通常のプリント処理の終了時点で、S140に移行し、金属探知時の割り込みをディスエーブルに設定して、割り込みを禁止し、S115に戻って次の画像データの受信待ちとなる。
一方、S130で割り込みをイネーブルにしてからS140で割り込みをディスエーブルにする間に、金属センサ66により記録用紙3に付着している金属を検知した場合は、図5に示す割り込み処理を実行する。
S210の割り込み処理では、先ず、S215で、割り込み処理の実行中に再度の割り込みが発生するのを禁止するため、割り込みをディスエーブルにし、S220に移行する。
S220では、スキャナユニット41による露光以下の画像形成処理を中止し、S225に移行する。
なお、金属センサ66により金属を検知した時点で、それ以上画像を形成して中間転写体74上に現像剤像を担持させても、クリーニング機構100に回収することになるだけである。従って、S220で画像形成を中止し、できる限りクリーニング機構100の負担を減らしているのである。
S225では、金属センサ66と二次転写部18との間の距離から記録用紙の余白に相当する転写マージンを引いた距離を記録用紙3が通過する時間分(つまり、{(金属センサ66〜二次転写部18間距離−転写マージン)/記録用紙3の搬送速度}で得られる時間分)だけ、給紙ローラ83及び前部搬送ローラ14を駆動して記録用紙3を搬送する。そして、S230へ移行する。
なお、金属センサ66と二次転写部18との間の距離から記録用紙の余白に相当する転写マージンを引いた距離を記録用紙3が通過する間は、金属センサ66で検知した金属が二次転写位置に到達しないため、その間、中間転写ベルト74上の現像剤像をできる限り記録用紙3に転写して、クリーニング機構100の負担を軽減することが好ましい。
また、転写マージンを設けるのは、転写時に記録用紙3いっぱいに転写すると、二次転写部18に金属が接触して、中間転写ベルト74や二次転写ローラを傷つけてしまうので、それを避けるためである。
S230では、後述するS235で、二次転写部18のニップ機構を作動させる前に、搬送補助ローラ64のニップ機構の搬送補助ローラニップ解除ソレノイド86を作動させ、搬送補助ローラ64で記録用紙3を挟持できるようにし(図6(a)に、このときの搬送補助ローラ64の動きを示す)、二次転写部18を通過してくる記録用紙3を挟持し、定着部8へと搬送する。そして、S235へ移行する。
S235では、S230で搬送補助ローラ64のニップ機構を作動させた後、二次転写部18の、二次転写ローラ63のニップ機構の二次転写部ニップ解除ソレノイド84を作動させて、二次転写ローラ63を中間転写ベルト74から離隔させ(図6(a)に二次転写ローラ63の動きを示す)、S240に移行する。この離隔動作により、記録用紙3の金属が付着した部分は中間転写ベルト74を損傷させることなく、二次転写部18を通過する。
なお、二次転写部18の離隔動作が行われた後は、中間転写ベルト74上に残留している現像剤像はクリーニング機構100で回収される。
S240では、二次転写部18と定着部8の間の距離に転写マージンを足し、定着マージンを引いた距離を記録用紙3が通過する時間分(つまり、{(二次転写部18〜定着部8間距離+転写マージン−定着マージン)/記録用紙3の搬送速度}で得られる時間分)だけ、前部搬送ローラ14及び搬送補助ローラ64を駆動して記録用紙3を定着部へ搬送する。そして、S245へ移行する。
S245では、定着部8のニップ機構の定着部ニップ解除ソレノイド85を作動させ、加圧ローラ82を加熱ローラ81から離隔させ(図6(a)に、このときの加圧ローラ82の動きを示す)、S250に移行する。この離隔動作により、金属が付着した記録用紙3は加熱ローラ81及び加圧ローラ82を損傷させることなく、定着部8を通過する。
なお、S240及びS245での処理によって、金属センサ66により記録用紙3に金属が検知される以前に記録用紙3に形成された現像剤像は、定着部8で定着される。また、定着部8では、金属が定着部に到達する寸前に離隔動作が行われることになる。
S250では、記録用紙3が定着部8を通過し、排紙ローラ11で排紙されるまでの時間分(つまり、(記録用紙3/記録用紙3の搬送速度)で得られる時間分)だけ、搬送補助ローラ64、後部搬送ローラ65及び排紙ローラ11を作動させ、記録用紙3を排紙トレイ10に排紙する。そして、S255に移行する。
S255では、二次転写部18の二次転写ローラ63のニップ機構の二次転写部ニップ解除ソレノイド84の作動を解除し、二次転写ローラ63を中間転写ベルト74に当接させ、S260に移行する。
S260では、定着部8の加圧ローラ82のニップ機構の定着部ニップ解除ソレノイド85の作動を解除し、加圧ローラ82を加熱ローラ81に当接させ、S265に移行する。
S265では、搬送補助ローラ64ニップ機能の搬送補助ローラニップ解除ソレノイド86の作動を解除し、搬送補助ローラ64が記録用紙3を挟持しないようにし、S270に移行する。
S270では、金属センサ66での金属検知時の割り込み処理を可能にするため、割り込みをイネーブルにし、割り込み処理を終了してメイン処理に処理を移行する。
メイン処理では、割り込み処理終了後にA点に戻り、S135が実行される。S135では、割り込み処理中で中止となった画像形成処理が再度実行されて、画像が再形成され、通常のプリント処理が実行される。従って、金属が付着した記録用紙3を排出した後に、自動的に再プリントが実行される。
なお、S215〜S220における処理は、本発明でいう画像形成動作禁止手段に該当し、S235及びS255における処理は、制御手段に該当し、S245及び260における処理は、ニップ解除制御手段に該当し、S210の割り込み処理実施後のS135における処理は画像再形成指令手段に該当し、S230及びS265における処理は、搬送補助ローラ制御手段に該当する。
このように、本実施例のカラーレーザプリンタ1では、金属センサ66で記録用紙3に金属が付着しているのを検知した場合、二次転写部18で二次転写ローラ63を中間転写ベルト74から離隔し、また、定着部8で加圧ローラ82を加熱ローラから離隔しているため、記録用紙3が二次転写部18や定着部8を通過する際に、記録用紙3に付着している金属によって中間転写ベルト74、二次転写ローラ63、加熱ローラ81、及び、加圧ローラ82が損傷するのを防ぐことが可能となる。
また、金属を検知した場合に、画像形成処理を停止するので、余分な現像剤を使用することも無くなる。
さらに、金属が付着した記録用紙3を排出した後に、自動的に再プリントが実行されるため、当該カラーレーザプリンタ1を複数のコンピュータで共用して使用する場合でも、停止することがなくなり、使い勝手が向上する。
ところで、本実施例の場合、記録用紙3に付着する金属が検知された場合、S245において、定着部8のニップ機構の定着部ニップ解除ソレノイド85を作動させ、加圧ローラ82を加熱ローラ81から離隔させて、記録用紙3に付着した金属で加熱ローラ81及び加圧ローラ82を損傷させないようにしていたが、この場合、金属が検知されて画像形成が停止されるまでの間に、記録用紙3に現像剤画像が形成されていると、その現像剤画像の定着が行われないため、排紙後に排紙トレイ10や排紙トレイ10にある既に印刷済みの記録用紙を汚損するおそれがある。
それを防止するためには、S245及びS260の処理を行わず、加圧ローラ82を加熱ローラ81から離隔させないようにする(図6(b)に、そのときの搬送部9の状態を示す)。このようにすれば、記録用紙3に金属が付着した状態であっても、定着部8で現像剤画像が定着されるので、加熱ローラ81や加圧ローラ82が劣化するが、排紙後に排紙トレイ10や排紙トレイ10にある既に印刷済みの記録用紙を汚損するおそれがなくなる。
以上、本発明の実施例について説明したが、本発明の実施の形態は、上記実施例に何ら限定されることなく、本発明の技術的範囲に属する限り種々の形態をとり得ることはいうまでもない。
例えば、本発明を搬送ベルトによって搬送される記録用紙3に感光体ドラム上に形成された現像剤像を直接転写するようにした、ダイレクトタンデム方式を採用したカラーレーザプリンタに適用してもよいし、中間転写体上に4色の現像剤像を重ね合わせた後に記録用紙に転写する4サイクル方式のカラーレーザプリンタに適用してもよい。
なお、この場合、ダイレクトタンデム方式の場合は、感光体ドラムが本発明の像担持体に相当し、4サイクル方式の場合は中間転写体が本発明の像担持体に相当することになる。
また、カラーレーザプリンタに限らず、モノクロレーザプリンタであってもよい。なお、モノクロレーザプリンタにおいては、感光体ドラムが本発明の像担持体に相当することとなる。
また、レーザプリンタに限らず、LED(発光ダイオード)によって露光を行うようにした、いわゆるLEDプリンタであってもよい。
さらに、画像形成装置を使用した装置であれば、プリンタに限らず、例えば、原稿を電子的に読み取る原稿読取装置を備えたコピー装置や、あるいは、通信手段を備えたファクシミリ装置であっても本発明を適用して、前述と同様の効果を得ることができる。
また、画像形成手段としてインクジェット方式や感熱方式を用いるプリンタであっても、本発明を適用して、インクジェットのノズル部や加熱機構を記録用紙から移動することで、ノズルや加熱機構の損傷を防止することが可能となる。
そして、本実施例においては、ニップの解除は、二次転写部18において二次転写ローラ63を移動させるとしており、また、定着部8においては加圧ローラ82を移動させるとしているが、現像剤像を転写する転写部においては、現像剤を担持する像担持体(ダイレクトタンデム方式やモノクロレーザ方式では感光体ドラムであり、4サイクル方式では中間転写体である)を移動させてもよいし、定着部8では、加熱ローラ81を移動させるようにしてもよい。
実施例1のカラーレーザプリンタ1の概略構成を示す説明図である。 カラーレーザプリンタ1の搬送経路に関する各装置の位置関係を示す図である。 カラーレーザプリンタ1の電気的構成を概略的に表したブロック図である。 制御部90が実行するメイン処理のフローチャートである。 メイン処理から移行する金属検知時の割込み処理のフローチャートである。 カラーレーザプリンタ1の搬送経路に関する部分の拡大図である。
符号の説明
1…カラーレーザプリンタ、2…本体ケーシング、3…記録用紙、4…画像形成部、6…排紙部、8…定着部、9…搬送部、10…排紙トレイ、11…排紙ローラ、12…給紙トレイ、14…前部搬送ローラ、15…ガイド部材、17…一次転写部、18…二次転写部、20、20Y、20M、20C、20K…画像形成ユニット、31…帯電器、32…供給ローラ、41…スキャナユニット、51…現像ユニット、52…現像ローラ、55…現像ケーシング、56…現像剤ホッパ、61…一次転写ローラ、62…感光体ドラム、63…二次転写ローラ、64…搬送補助ローラ、65…後部搬送ローラ、66…金属センサ、74…中間転写ベルト、75…中間転写ベルト駆動ローラ、76…中間転写ベルト従動ローラ、81…加熱ローラ、82…加圧ローラ、83…給紙ローラ、84…二次転写部ニップ解除ソレノイド、85…定着部ニップ解除ソレノイド、86…搬送補助ローラニップ解除ソレノイド、87…各ローラ駆動モータ、90…制御部、100…クリーニング機構

Claims (12)

  1. 被記録媒体を搬送経路に沿って搬送するための搬送手段と、
    前記搬送経路上にある画像形成位置にて画像を形成する画像形成手段と、
    を備えた画像形成装置であって、
    前記搬送経路における、前記画像形成位置よりも上流側に配置され、前記被記録媒体に付着する金属を検知するための金属検知手段と、
    前記画像形成位置における前記画像形成手段と被記録媒体との間の距離を変化させるための距離変化手段と、
    前記金属検知手段により前記被記録媒体に付着する金属が検知されると、前記距離変化手段によって、前記画像形成手段と被記録媒体との間の距離を大きくする制御手段と、
    を備えることを特徴とする画像形成装置。
  2. 前記制御手段は、
    前記金属検知手段により前記被記録媒体に付着する金属が検知されると、前記金属が、前記画像形成位置に到達するまでに、前記画像形成手段と被記録媒体との間の距離を大きくすることを特徴とする請求項1に記載の画像形成装置。
  3. 前記画像形成手段は、
    静電潜像を形成する静電潜像形成手段と、
    前記静電潜像形成手段により形成された静電潜像に現像剤を付着させて現像剤像を形成する現像手段と、
    現像剤像を担持する像担持体と、
    前記像担持体に担持された現像剤像を前記被記録媒体に転写する転写手段と、
    を備え、
    前記制御手段は、
    前記距離変化手段により、前記像担持体と前記転写手段との距離を変化させることを特徴とする請求項1又は請求項2に記載の画像形成装置。
  4. 前記現像手段は、複数の色の現像剤毎に備えられ、
    前記像担持体は、前記複数の現像手段によって現像された前記現像剤像を担持する中間転写体であって、
    前記転写手段は、前記中間転写体に形成された画像を前記被記録媒体に転写し、
    前記制御手段は、前記距離変化手段により、前記中間転写体と前記転写手段との距離を変化させることを特徴とする請求項3に記載の画像形成装置。
  5. 前記搬送経路において、画像形成位置の下流側に配置され、前記被記録媒体を挟持して、前記被記録媒体上に転写された現像剤像を前記被記録媒体上に定着させる定着手段と、
    前記定着手段による被記録媒体の挟持状態を解除するニップ解除手段と、
    前記金属検知手段により前記被記録媒体に付着する金属が検知されると、前記ニップ解除手段により、前記被記録媒体の挟持状態を解除するニップ解除制御手段と、
    を備えることを特徴とする請求項3又は請求項4に記載の画像形成装置。
  6. 前記ニップ解除制御手段は、前記金属検知手段により前記被記録媒体に付着している金属が検知されると、現像剤像が前記被記録媒体に転写されているか否かを判断し、現像剤像が前記被記録媒体に転写されていなければ、前記ニップ解除手段により、前記被記録媒体の挟持状態を解除し、現像剤像が前記被記録媒体に転写されていれば、前記ニップ解除手段により、前記被記録媒体の挟持状態を解除しない、
    ことを特徴とする請求項5に記載の画像形成装置。
  7. 前記搬送手段は、前記搬送経路において、前記転写手段と前記定着手段との間に設けられた一対の搬送補助ローラを備え、
    当該装置は、更に、前記金属検知手段により前記被記録媒体に付着する金属が検知されると、前記搬送補助ローラが前記被記録媒体を挟持して、前記被記録媒体の搬送を行うように前記搬送補助ローラを制御し、金属が検知されないと、前記搬送補助ローラが前記被記録媒体から離隔して、前記被記録媒体の搬送を行わないように前記搬送補助ローラを制御する搬送補助ローラ制御手段、
    を備えることを特徴とする請求項3〜請求項6の何れかに記載の画像形成装置。
  8. 前記搬送補助ローラ制御手段は、
    前記制御手段により、前記像担持体と前記転写手段との距離が大きくされた場合に、前記搬送補助ローラが前記被記録媒体を挟持するように、前記搬送補助ローラを制御することを特徴とする請求項7に記載の画像形成装置。
  9. 前記搬送手段は、
    前記搬送経路において、前記画像形成位置の上流側に設けられて、前記被記録媒体の搬送を行うための一対の前部搬送ローラを備え、
    前記前部搬送ローラと前記搬送補助ローラとの搬送経路に沿った距離は、画像形成可能な最小の大きさの前記被記録媒体の搬送方向の長さよりも小さいことを特徴とする請求項7又は請求項8に記載の画像形成装置。
  10. 前記搬送手段は、
    前記搬送経路において、前記定着手段の下流側に設けられて、前記被記録媒体の搬送を行うための一対の後部搬送ローラを備え、
    前記後部搬送ローラと前記搬送補助ローラとの搬送経路に沿った距離は、画像形成可能な最小の大きさの前記被記録媒体の搬送方向の長さよりも小さいことを特徴とする請求項7〜請求項9の何れかに記載の画像形成装置。
  11. 前記金属検知手段により前記被記録媒体に付着する金属が検知されると、前記画像形成手段の画像形成動作を禁止する画像形成動作禁止手段、
    を備えることを特徴とする請求項1〜請求項10の何れかに記載の画像形成装置。
  12. 前記金属検知手段により被記録媒体に付着している金属が検知されると、画像形成手段に対して、再度、同じ画像を新たな被記録媒体に形成するように指令する画像再形成指令手段、
    を備えることを特徴とする請求項1〜請求項11の何れかに記載の画像形成装置。
JP2004106026A 2004-03-31 2004-03-31 画像形成装置 Expired - Lifetime JP4100369B2 (ja)

Priority Applications (1)

Application Number Priority Date Filing Date Title
JP2004106026A JP4100369B2 (ja) 2004-03-31 2004-03-31 画像形成装置

Applications Claiming Priority (1)

Application Number Priority Date Filing Date Title
JP2004106026A JP4100369B2 (ja) 2004-03-31 2004-03-31 画像形成装置

Publications (2)

Publication Number Publication Date
JP2005292391A true JP2005292391A (ja) 2005-10-20
JP4100369B2 JP4100369B2 (ja) 2008-06-11

Family

ID=35325391

Family Applications (1)

Application Number Title Priority Date Filing Date
JP2004106026A Expired - Lifetime JP4100369B2 (ja) 2004-03-31 2004-03-31 画像形成装置

Country Status (1)

Country Link
JP (1) JP4100369B2 (ja)

Cited By (2)

* Cited by examiner, † Cited by third party
Publication number Priority date Publication date Assignee Title
JP2007193000A (ja) * 2006-01-18 2007-08-02 Ricoh Co Ltd 転写装置、画像形成装置
JP2016038440A (ja) * 2014-08-06 2016-03-22 富士ゼロックス株式会社 画像形成装置

Cited By (2)

* Cited by examiner, † Cited by third party
Publication number Priority date Publication date Assignee Title
JP2007193000A (ja) * 2006-01-18 2007-08-02 Ricoh Co Ltd 転写装置、画像形成装置
JP2016038440A (ja) * 2014-08-06 2016-03-22 富士ゼロックス株式会社 画像形成装置

Also Published As

Publication number Publication date
JP4100369B2 (ja) 2008-06-11

Similar Documents

Publication Publication Date Title
US8249468B2 (en) Image forming apparatus
JP2009163030A (ja) 画像形成装置及びその駆動制御方法
JP4772078B2 (ja) 画像形成装置及び画像形成装置の制御方法
US7570897B2 (en) Duplex image forming apparatus and method with control for ejecting different size recording sheet
US20150316885A1 (en) Image forming apparatus and image forming method
US20070158895A1 (en) Image forming apparatus and image forming method, and program
JP4434410B2 (ja) 画像形成装置
JP3728152B2 (ja) 画像形成装置
JP4100369B2 (ja) 画像形成装置
JP5106141B2 (ja) 画像形成装置及び画像形成装置のクリーニング方法
JP2005352366A (ja) 現像濃度制御方法および画像形成装置
JP2014016567A (ja) 画像形成装置
JP4447700B2 (ja) 画像形成装置
JP5213388B2 (ja) 画像形成装置
JP2006235009A (ja) カラー画像形成装置
JP2001147572A (ja) 画像形成装置
JP2022151914A (ja) 画像形成装置
US10334138B2 (en) Image forming apparatus with plural movable color forming units and print mode management based on correction process performance
JP2016180872A (ja) 画像形成装置
JP2008225409A (ja) 画像形成装置および画像形成方法
JP4425752B2 (ja) 画像形成装置
JP4706497B2 (ja) 画像形成装置
JP7760313B2 (ja) 画像形成装置
JP5516136B2 (ja) 画像形成装置
JP2007240900A (ja) カラー画像形成装置及び画像形成制御方法

Legal Events

Date Code Title Description
A977 Report on retrieval

Free format text: JAPANESE INTERMEDIATE CODE: A971007

Effective date: 20070614

A131 Notification of reasons for refusal

Free format text: JAPANESE INTERMEDIATE CODE: A131

Effective date: 20070626

A521 Written amendment

Free format text: JAPANESE INTERMEDIATE CODE: A523

Effective date: 20070817

TRDD Decision of grant or rejection written
A01 Written decision to grant a patent or to grant a registration (utility model)

Free format text: JAPANESE INTERMEDIATE CODE: A01

Effective date: 20080226

A61 First payment of annual fees (during grant procedure)

Free format text: JAPANESE INTERMEDIATE CODE: A61

Effective date: 20080310

FPAY Renewal fee payment (prs date is renewal date of database)

Free format text: PAYMENT UNTIL: 20110328

Year of fee payment: 3

R150 Certificate of patent (=grant) or registration of utility model

Free format text: JAPANESE INTERMEDIATE CODE: R150

FPAY Renewal fee payment (prs date is renewal date of database)

Free format text: PAYMENT UNTIL: 20120328

Year of fee payment: 4

FPAY Renewal fee payment (prs date is renewal date of database)

Free format text: PAYMENT UNTIL: 20120328

Year of fee payment: 4

FPAY Renewal fee payment (prs date is renewal date of database)

Free format text: PAYMENT UNTIL: 20130328

Year of fee payment: 5

FPAY Renewal fee payment (prs date is renewal date of database)

Free format text: PAYMENT UNTIL: 20130328

Year of fee payment: 5

FPAY Renewal fee payment (prs date is renewal date of database)

Free format text: PAYMENT UNTIL: 20140328

Year of fee payment: 6