JP2005291730A - 生化学分析装置 - Google Patents

生化学分析装置 Download PDF

Info

Publication number
JP2005291730A
JP2005291730A JP2004102771A JP2004102771A JP2005291730A JP 2005291730 A JP2005291730 A JP 2005291730A JP 2004102771 A JP2004102771 A JP 2004102771A JP 2004102771 A JP2004102771 A JP 2004102771A JP 2005291730 A JP2005291730 A JP 2005291730A
Authority
JP
Japan
Prior art keywords
stirring
sample
reagent
cuvette
sample liquid
Prior art date
Legal status (The legal status is an assumption and is not a legal conclusion. Google has not performed a legal analysis and makes no representation as to the accuracy of the status listed.)
Withdrawn
Application number
JP2004102771A
Other languages
English (en)
Inventor
Hirokazu Kato
廣和 加藤
Current Assignee (The listed assignees may be inaccurate. Google has not performed a legal analysis and makes no representation or warranty as to the accuracy of the list.)
Fujifilm Techno Products Co Ltd
Original Assignee
Fujifilm Techno Products Co Ltd
Priority date (The priority date is an assumption and is not a legal conclusion. Google has not performed a legal analysis and makes no representation as to the accuracy of the date listed.)
Filing date
Publication date
Application filed by Fujifilm Techno Products Co Ltd filed Critical Fujifilm Techno Products Co Ltd
Priority to JP2004102771A priority Critical patent/JP2005291730A/ja
Publication of JP2005291730A publication Critical patent/JP2005291730A/ja
Withdrawn legal-status Critical Current

Links

Images

Landscapes

  • Automatic Analysis And Handling Materials Therefor (AREA)

Abstract

【課題】 測定容器内で試薬と検体を反応させ検体の生化学分析を行なう生化学分析装置に関し、測定を高精度に行なうことができるように十分にかつ効率良く攪拌する。
【解決手段】 キュベット20内の試料液21の高さ情報を得て、攪拌片211が試料液に完全に挿入された直後から攪拌モータ220の回転により攪拌を開始し、攪拌片211が試料液21から引上げられる直前で攪拌を停止する。
【選択図】 図3

Description

本発明は、測定容器内で試薬と検体を反応させ検体の生化学分析を行なう生化学分析装置に関する。
人体の血液、尿、便等を検体とし、キュベットと呼ばれる透明の測定容器内にこの検体と試薬を注入して反応させ、その検体と試薬とからなる試料液の反応による呈色を光学的に測定することにより検体の生化学分析を行なう生化学分析装置が知られている(例えば特許文献1参照)。
ここで、キュベット内に試薬と検体との双方を注入した後、試薬と検体を良好にかつ一様に反応させるために、キュベット内の試薬と検体が攪拌される。
特許文献2には、攪拌の効率を上げるために、移動中のキュベット(反応容器)に追随して移動しながら攪拌することが提案されている。
米国特許第4451433号公報 特開2003−121450号公報
試薬と検体とを混合するにあたり攪拌の効率とともに重要なのは、攪拌の際に試薬や検体を飛散させたり、あるいはキュベット内に気泡を発生させたりすることなく、十分に攪拌することである。試料の飛散や気泡の発生があると、その後の測定に誤差を生じるおそれがあるが、特許文献2には、この点については何ら言及されていない。
キュベット内の試料液の攪拌には、特許文献2にも記載されているように、棒状の攪拌子がキュベット内に挿入されその攪拌子が回転することにより攪拌が行なわれる。
ここで、攪拌子を先に回転させた状態でその攪拌子をキュベット内の試料液に浸漬すると、その浸漬されるときに試料液を巻き散らして飛散させてしまう結果となる。一方、攪拌子の回転を止めたままその攪拌子をキュベット内の試料液中に十分に浸漬させ、その後回転を開始することも考えられるが、検体やその検体の検査項目(試薬の違い)に応じてキュベット内の試料液量もまちまちであり、試料液量が少ない場合であっても攪拌子を確実に試料液中に浸漬させるには、攪拌子をそのキュベットのかなり底に近い位置まで挿入する必要がある。この場合、たまたまそのキュベット中の試料液量が多いとその試料液の表面近くがなかなか攪拌されず、攪拌に長時間を要し、あるいは、十分に攪拌されないおそれがある。
本発明は、上記事情に鑑み、測定を高精度に行なうことができるように十分にかつ効率良く攪拌する機能を備えた生化学分析装置を提供することを目的とする。
上記目的を達成する本発明の生化学分析装置は、測定容器内で試薬と検体を反応させ検体の生化学分析を行なう生化学分析装置において、試薬と検体が入れられた測定容器に挿入されて、測定容器内の、試薬と検体とからなる試料液を攪拌する、攪拌軸と該攪拌軸下端の攪拌部とからなる攪拌手段と、攪拌手段の高さ位置を制御することにより、攪拌手段の、測定容器への挿入、取出しを制御する昇降制御部と、攪拌手段が下降してきて攪拌部が測定容器内の試料液に浸漬された状態で、攪拌手段の回転を開始するとともに、攪拌部が測定容器内の試料液に浸漬されている状態で攪拌手段の回転を停止する回転制御部とを備えたことを特徴とする。
ここで、上記本発明の生化学分析装置において、上記回転制御部は、回転により測定容器内の試料液を攪拌中の攪拌手段が上昇してきて攪拌部が該測定容器内の試料液にまだ浸漬されている状態で、攪拌手段の回転を停止するものであることが好ましい。
本発明の生化学分析装置は、攪拌手段が下降してきて攪拌部が測定容器内の試料液に浸漬された状態で、攪拌手段の回転を開始するものであるため、試料液の飛散が防止されるとともに、できるだけ早い段階から攪拌が開始され、また、試料液の表面近傍も十分に攪拌され、短時間に十分な攪拌が行なわれる。また、本発明の生化学分析装置は、攪拌部が測定容器内の試料液に浸漬されている状態で攪拌手段の回転を停止するものであるため、攪拌終了後攪拌手段を試料液から抜くときにも試料液の飛散は生じない。
ここで、本発明の生化学分析装置において、回転により測定容器内の試料液を攪拌中の攪拌手段が上昇してきて攪拌部が測定容器内の試料液にまだ浸漬されている状態で、攪拌手段の回転を停止するように構成すると、試料液の飛散を防止した上でぎりぎりの状態まで攪拌が行なわれ、攪拌に要する時間が極限まで短縮され、一層効率の良い攪拌が行なわれる。
以下、本発明の実施形態について説明する。
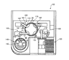
図1は、生化学分析装置の一実施形態を示す概要図である。
この生化学分析装置100には、ターンテーブル110が備えられており、そのターンテーブル110には、多数の測定容器としてのキュベット20が円状に配置されている。
そのターンテーブル110の周囲には、検体供給部120、検体サンプリング部130、試薬保管部140、試薬サンプリング部150、撹拌機構部160、反応部170、および洗浄部180が配備されている。
検体供給部120には、多数の検体(例えば人体の血液、尿、便等)が各容器に入って配列されており、検体サンプリング部130には、その容器から検体を吸引してターンテーブル110上の多数のキュベット20のうちのあらかじめプログラムされたキュベットに注入する検体ピペット131が備えられている。この検体ピペット131は、回転軸132を中心にして、検体供給部120と、洗浄部133と、ターンテーブル110上のキュベット20との間で往復回動し、検体供給部120に配列された検体容器から検体を吸引してその検体をターンテーブル110上のキュベット20に注入し、洗浄部133で次の検体の吸引のために洗浄される。
また、試薬保冷庫140は、試薬が入った試薬容器141を収容して所定の冷却温度に保冷するものであり、また、その試薬保冷庫140の上蓋142には吸入口143が設けられている。その試薬保冷庫140内の試薬容器141はターンテーブル上に置かれていて回転自在となっており、所望の試薬の入った試薬容器が吸入口143の下に配置されるようにそのターンテーブルが回転する。試薬サンプリング部150には、試薬ピペット151が備えられており、その試薬ピペット151は、回転軸152を中心にして、試薬保冷庫140の吸入口143と、洗浄部153と、ターンテーブル110上のキュベット20との間で往復回動し、試薬ピペット151の先端のプローブ(図示せず)を試薬保冷庫140の上蓋142の吸入口143に挿入してその下にある試薬容器141内の試薬を吸引し、その試薬をターンテーブル110上のキュベット20に注入し、洗浄部153で次の試薬の吸引のために洗浄される。
撹拌機構部160には、先端に棒状の撹拌子210(図示せず)を備えた攪拌器161が備えられている。この撹拌器161は、回転軸162を中心にして、ターンテーブル110上のキュベット20と洗浄部163との間で往復回動し、キュベット20内に撹拌子を挿入してそのキュベット20内に注入されている検体と試薬を撹拌、混合し、洗浄部163ではその先端の撹拌子が次のキュベットが撹拌、混合のために洗浄される。
反応部170には、キュベット20内の撹拌、混合された検体と試薬とからなる試料液の呈色反応の濃度検出のための測定を行なう測定器(図示せず)が配置されており、これにより検体の生化学分析が行なわれる。
さらに洗浄部180では、ターンテーブル110上の反応部170における測定の終了したキュベット20が洗浄され、次の検体の生化学分析のために再利用される。
図2は、図1の生化学分析装置の動作シーケンス例を示す図である。
図2(A)は、一般的な生化学分析を行なうときの動作シーケンスであり、先ず、ターンテーブル110上のあるキュベット20に試薬1が分注され、そのまま5分間、所定の温度に安定するよう温度調節が行なわれる。次いでその同じキュベット20に検体が分注され、さらに試薬2が分注され、撹拌されて測定が行なわれ、最後にそのキュベット20が洗浄される。この間約10分ほどの時間がかかる。このような動作シーケンスが、ターンテーブル110に載っている多数のキュベット20について並列的に実行される。
図2(B)は、便潜血測定時の動作シーケンスである。この場合、順に試薬1分注、検体分注、試薬2分注が行なわれ、撹拌、測定、洗浄が行なわれて、1検体あたり約6分で終了する。この場合も、ターンテーブル110に載せられている多数のキュベット20について、この動作シーケンスが並行的に実行される。
図1の生化学分析装置100には、図2(A),(B)に例示するような動作シーケンスが複数用意されており、その目的に応じて適切な動作シーケンスに切り替えられる。図1の生化学分析装置100では、動作シーケンスの切り替えは、オペレータによる手動操作で行われるが、その他にも、検体の種類に応じた検体容器を用い、その検体容器の種類を検出して動作シーケスを切り替えるようにしてもよい。
図3は、図1に示す生化学分析装置100の撹拌機構部160に備えられた攪拌器161の構成図である。
この図3には、測定容器としてのキュベット20中の試料液21中に先端の撹拌部としての攪拌片211が浸漬された状態にある撹拌手段としての攪拌子210が模式的に示されている。この攪拌子210は攪拌モータ220でその回転、停止が制御される。
また、ここには、正逆回転可能な上下駆動モータ230と、その上下駆動モータ230からの回転駆動力を回転伝達系240を介して受け取り、攪拌モータ220およびその攪拌モータ220に取り付けられた攪拌子210を、攪拌モータ220が固定された固定板250ごと、上下動させる昇降ボールネジ軸260が備えられている。攪拌モータ220および上下駆動モータ230は、制御部270により、その回転および停止が制御される。
キュベット20の内径は、一例として5mm×6mmの矩形であり、そのキュベット20内に400マイクロリットル〜203マイクロリットルの試料液が分注されて攪拌される。このキュベット(5mm×6mm)に400マイクロリットル〜203マイクロリットルの試料液を分注すると、キュベット内の試料液高さは13.3mm〜6.76mmとなる。
一方、攪拌子210は、キュベット20内に挿入される部分は、先端の攪拌片211の部分を除き、φ1mmの撹拌軸としての丸棒212である。また、先端の攪拌片211は、このφ1.0mmの丸棒を両面プレスにて幅2.5mm×長さ5mm程度の板状に形成されたものであり、最小試料液量に対する適性を持たせている。また攪拌モータ220による攪拌子210の回転数は10000rpm〜14000rpm程度である。
図3に示す制御部270は、図1に示す生化学分析装置100の全体を制御する、図示しないメイン制御部からの指示を受けて、攪拌モータ220の回転開始、回転停止を制御し、また、上下駆動モータ230の回転方向、回転開始、回転停止を制御する。また、ここには図示は省略したが、攪拌子210は、キュベット20内の試料液を攪拌する位置とその攪拌子210を洗浄する洗浄部163(図1参照)との間で往復回動する構成となっている。
制御部270には、上位のメイン制御部から、今回攪拌の対象となっているキュベット20内の試料液量に関する情報が伝達されてきており、制御部260は、その情報を基に上下駆動モータ230の回転を制御して攪拌子210の高さ位置を制御する。
キュベット20内の試料液21の攪拌にあたっては、攪拌子210がキュベット20の上方から下降してきて、その攪拌子210の先端の攪拌片211がキュベット20内の試料液21の表面21aよりも下に沈んだ直後のタイミングで、攪拌モータ220を制御して攪拌子210の回転を開始させる。その後も、攪拌子210は回転を続けながらゆっくりと下降し、攪拌片211の先端がキュベット20の底面に触れるよりも少し上にあるときに今度は上下駆動モータ230の回転方向を反転させて、攪拌子210をゆっくりと上昇させる。攪拌子210が上昇してきて、攪拌片211の上端が試料液21の液面21の近傍に達すると、攪拌片211の上端がまだ試料液21に浸漬している段階で攪拌モータ220の回転を停止させ、攪拌を終了させる。攪拌子210はその後も、攪拌子210の全体がキュベット20から抜けた状態になるまで、上昇を続ける。
攪拌の終了したキュベット20は、図1に示すターンテーブル110の回転により先に進み、また攪拌子210は他のキュベット中の試料液の攪拌のために一旦洗浄部163に回動して洗浄される。
このように、本実施形態では、キュベット内の試料液量の情報を得、その情報に基づいて、攪拌片211が必ず試料液21中にあるときのみ回転するようにしたため、試料液の飛散や試料液中への空気の巻き込みが防止される。また、攪拌片211が試料液に入り込んだ直後の段階から攪拌を開始し、攪拌片211が試料液21から抜き出される直前まで攪拌するため、試料液21の上澄みの部分も底の部分も十分に攪拌され、攪拌不良の発生が防止される。
今後の生化学分析装置では、試料液量の更なる微量化が進み、キュベットの小型化とサイクルタイムの短縮や検査の高速化が予想されるが、攪拌すべき試料液量の情報を得て攪拌子の回転開始及び回転停止の制御を行なうことで、効率の良い攪拌が可能となる。
なお、本実施の形態では、測定容器をキュベット20としているが、これに限定されるものではなく、試験管等で測定方法に合った容器であれば適用が可能である。
また、本実施の形態では、キュベット20に測定光を照射し透過光を検出しているが、測定方法に限定されるものではなく、電気的な測定方法等も適用が可能である。
また、本実施の形態では、攪拌手段を構成する攪拌軸を丸棒212としているが、これに限定されるものではなく、多角形等の軸で攪拌機能がわずかなものであれば適用が可能である。また、攪拌部を攪拌片211の板状としているが、プロペラ状、突起状等であっても適用が可能である。
さらにまた、本実施の形態では、試薬は液体で分注しているとしているが、これに限定されるものではなく、試薬は粉末状であっても、あらかじめキュベット20内に入れられてあっても適用が可能である。
生化学分析装置の一実施形態を示す概要図である。 図1の生化学分析装置の動作シーケンス例を示す図である。 図1に示す生化学分析装置の攪拌部に備えられた攪拌器の構成図である。
符号の説明
20 キュベット
21 試料液
21a 試料液21の表面
100 生化学分析装置
110 ターンテーブル
120 検体供給部
130 検体サンプリング部
140 試薬保冷庫
150 試薬サンプリング部
160 攪拌機構部
170 反応部
180 洗浄部
210 攪拌子
211 攪拌片
212 丸棒
220 攪拌モータ
230 上下駆動モータ
240 回転伝達系
250 固定板
260 昇降ボールネジ軸
270 制御部

Claims (2)

  1. 測定容器内で試薬と検体を反応させ該検体の生化学分析を行なう生化学分析装置において、
    試薬と検体が入れられた測定容器に挿入されて、該測定容器内の、試薬と検体とからなる試料液を攪拌する、攪拌軸と該攪拌軸下端の攪拌部とからなる攪拌手段と、
    前記攪拌手段の高さ位置を制御することにより、該攪拌手段の、前記測定容器への挿入、取出しを制御する昇降制御部と、
    前記攪拌手段が下降してきて前記攪拌部が該測定容器内の試料液に浸漬された状態で、該攪拌手段の回転を開始するとともに、該攪拌部が該測定容器内の試料液に浸漬されている状態で該攪拌手段の回転を停止する回転制御部とを備えたことを特徴とする生化学分析装置。
  2. 前記回転制御部は、回転により前記測定容器内の試料液を攪拌中の攪拌手段が上昇してきて前記攪拌部が該測定容器内の試料液にまだ浸漬されている状態で、該攪拌手段の回転を停止するものであることを特徴とする請求項1記載の生化学分析装置。
JP2004102771A 2004-03-31 2004-03-31 生化学分析装置 Withdrawn JP2005291730A (ja)

Priority Applications (1)

Application Number Priority Date Filing Date Title
JP2004102771A JP2005291730A (ja) 2004-03-31 2004-03-31 生化学分析装置

Applications Claiming Priority (1)

Application Number Priority Date Filing Date Title
JP2004102771A JP2005291730A (ja) 2004-03-31 2004-03-31 生化学分析装置

Publications (1)

Publication Number Publication Date
JP2005291730A true JP2005291730A (ja) 2005-10-20

Family

ID=35324843

Family Applications (1)

Application Number Title Priority Date Filing Date
JP2004102771A Withdrawn JP2005291730A (ja) 2004-03-31 2004-03-31 生化学分析装置

Country Status (1)

Country Link
JP (1) JP2005291730A (ja)

Cited By (5)

* Cited by examiner, † Cited by third party
Publication number Priority date Publication date Assignee Title
WO2010013680A1 (ja) * 2008-07-31 2010-02-04 株式会社日立ハイテクノロジーズ 自動分析装置
JP2013253826A (ja) * 2012-06-06 2013-12-19 Hitachi High-Technologies Corp 攪拌棒洗浄機構および自動分析装置
JP2015021944A (ja) * 2013-07-23 2015-02-02 株式会社東芝 自動分析装置
CN109883801A (zh) * 2019-03-01 2019-06-14 蔡长征 用于医疗检测设备的夹持装置
EP3392659A4 (en) * 2015-12-16 2019-07-17 Jeol Ltd. AUTOMATIC ANALYSIS DEVICE

Cited By (9)

* Cited by examiner, † Cited by third party
Publication number Priority date Publication date Assignee Title
WO2010013680A1 (ja) * 2008-07-31 2010-02-04 株式会社日立ハイテクノロジーズ 自動分析装置
CN102077097A (zh) * 2008-07-31 2011-05-25 株式会社日立高新技术 自动分析装置
JPWO2010013680A1 (ja) * 2008-07-31 2012-01-12 株式会社日立ハイテクノロジーズ 自動分析装置
US8557181B2 (en) 2008-07-31 2013-10-15 Hitachi High-Technologies Corporation Automatic analyzing device
EP2320238A4 (en) * 2008-07-31 2015-10-14 Hitachi High Tech Corp AUTOMATIC ANALYZER
JP2013253826A (ja) * 2012-06-06 2013-12-19 Hitachi High-Technologies Corp 攪拌棒洗浄機構および自動分析装置
JP2015021944A (ja) * 2013-07-23 2015-02-02 株式会社東芝 自動分析装置
EP3392659A4 (en) * 2015-12-16 2019-07-17 Jeol Ltd. AUTOMATIC ANALYSIS DEVICE
CN109883801A (zh) * 2019-03-01 2019-06-14 蔡长征 用于医疗检测设备的夹持装置

Similar Documents

Publication Publication Date Title
US9423347B2 (en) Automatic analyzing apparatus
CN101946181B (zh) 自动分析装置
JP4892384B2 (ja) 分析装置
EP2320238B1 (en) Automatic analyzing device
US8765474B2 (en) Automatic analyzer and the analyzing method using the same
JP6573542B2 (ja) 自動分析装置
JP2014126415A (ja) 自動分析装置
CN114689890A (zh) 样本分析装置及样本分析装置的控制方法
JP2005291730A (ja) 生化学分析装置
JP3642713B2 (ja) 自動分析装置
CN214310119U (zh) 样本分析装置
JP5668021B2 (ja) 自動分析装置
JP4377318B2 (ja) 自動分析装置
JP3783551B2 (ja) 自動分析装置
JP5919364B2 (ja) 自動分析装置
JP2005291729A (ja) 生化学分析装置
JP2010151711A (ja) 自動分析装置
JP3829145B2 (ja) 自動分析装置
CN108713146B (zh) 溶液排出装置及溶液的排出控制方法
JP2005291727A (ja) 生化学分析装置
CN113588970A (zh) 自动分析装置
JP2020094848A (ja) 自動分析装置および自動分析方法
JP2009222452A (ja) 自動分析装置
JP2008058216A (ja) 自動分析装置

Legal Events

Date Code Title Description
A300 Withdrawal of application because of no request for examination

Free format text: JAPANESE INTERMEDIATE CODE: A300

Effective date: 20070605