JP2005291701A - 加湿器 - Google Patents

加湿器 Download PDF

Info

Publication number
JP2005291701A
JP2005291701A JP2005197855A JP2005197855A JP2005291701A JP 2005291701 A JP2005291701 A JP 2005291701A JP 2005197855 A JP2005197855 A JP 2005197855A JP 2005197855 A JP2005197855 A JP 2005197855A JP 2005291701 A JP2005291701 A JP 2005291701A
Authority
JP
Japan
Prior art keywords
tank
steam
water supply
main body
water
Prior art date
Legal status (The legal status is an assumption and is not a legal conclusion. Google has not performed a legal analysis and makes no representation as to the accuracy of the status listed.)
Pending
Application number
JP2005197855A
Other languages
English (en)
Inventor
Hisanaga Kaede
寿長 楓
Current Assignee (The listed assignees may be inaccurate. Google has not performed a legal analysis and makes no representation or warranty as to the accuracy of the list.)
Tiger Vacuum Bottle Co Ltd
Original Assignee
Tiger Vacuum Bottle Co Ltd
Priority date (The priority date is an assumption and is not a legal conclusion. Google has not performed a legal analysis and makes no representation as to the accuracy of the date listed.)
Filing date
Publication date
Application filed by Tiger Vacuum Bottle Co Ltd filed Critical Tiger Vacuum Bottle Co Ltd
Priority to JP2005197855A priority Critical patent/JP2005291701A/ja
Publication of JP2005291701A publication Critical patent/JP2005291701A/ja
Pending legal-status Critical Current

Links

Images

Landscapes

  • Air Humidification (AREA)

Abstract

【課題】専用のタンクを用いて十分な給水時間を確保しながらこれを携行してもあまりかさ高にならない便利なものとする。
【解決手段】 タンク1を着脱できるように上方から接続するタンク接続口11を有し、このタンク接続口11に接続されるタンク1を含んで連続した外郭面を有することによりかさ張らないでかつ給水時間の長い本体7をなし、タンク1からの水をタンク接続口11から延びる給水路2を通じ供給されて蒸気を発生させ、発生した蒸気は上部の蒸気放出口51から外部に放出してまわりを加湿するようにして、上記のような目的を達成する。
【選択図】図1

Description

本発明は加湿器に関し、詳しくは、タンクからの水を給水路を通って蒸気発生容器に供給しながら、蒸気発生容器内の水を加熱源により加熱して蒸気を発生させ、発生した蒸気は蒸気筒を通じ外部に放出させまわりを加湿する加湿器に関するものである。
この種の加湿器は従来、主として家庭用に使用されている。これが広く普及するなか使用勝手、使用の安全、省エネ性、小型化、洗浄の容易さといったメンテナンス性など、各種の面で改良が重ねられ、簡易に安全に使用できるものになってきている。
ところで、加湿器は健康管理などから生活上必須となったり、そう考えるユーザーが増加してきている。しかし、旅行先や出張先ではそのような環境が必ずしも整っていない。そこで、ユーザーはなるべく小型のものを探し求めて携行し、旅行先や出張先でも加湿することが行われている。
ところが、7、8時間と続く就寝中の全時間帯での加湿を確保するなど、長い時間加湿を行おうとするほど、給水の必要量が比例的に増大する。このため、小さなタンク、例えば、持ち運ぶ必要のない身近なものとして、ねじ付きのドリンク販売容器、いわゆる大型のペットボトルを使用して給水を行うことも考えられるが、このように小さなタンクを用いるのでは水の補給回数が増えるので、就寝中の加湿には難がある。これに対処しようと大きなタンクを用いると、かさ高であるのと同時に専用のものとなり、本体と共に持ち運ぶことが必須となるので不便である。
そこで、本発明者等は、加湿器のさらなるスリム化を目指して既存の加湿器の無駄なボリューム部分の追求と、それを削ぎ落とすための工夫とを行い、1つの結果を見た。
本発明の目的は、このような研究開発の成果に基づき、専用のタンクを用いて十分な給水時間を確保しながらこれを携行してもあまりかさ高にならない便利な加湿器を提供することにある。
上記のような目的を達成するために、本発明の加湿器は、タンクをタンク接続口に接続して安定させるタンク接続部を有し、このタンク接続部に接続されるタンクを含んで連続した外郭面を有することによりかさ張らないでかつ給水時間の長い本体をなし、タンクからの水をタンク接続口から延びる給水路を通じ供給されて蒸気を発生させ、発生した蒸気は上部の蒸気放出口から外部に放出してまわりを加湿するようにしたことを特徴としている。
このような構成では、着脱するタンクからの給水によって蒸気を発生させ外部に放出してまわりを加湿するのに、タンクを含んで連続した外郭面を有してかさ張らないでかつ給水時間の長い本体をなすことにより、この本体が、タンク接続部、このタンク接続部のタンク接続口から延びる給水路を通じ給水を受けて蒸気を発生させる部分、発生した蒸気を上部の蒸気放出口から外部に放出させる部分、給水タンクのそれぞれが段部や引っ掛かり部、凹部などができずに連続した外郭面を持った簡単かつコンパクトなものとなり、タンクを小さくしなくても本体全体のコンパクト化を達成することができる。これにより、かさ張らないで給水時間の長い加湿器が得られる。
本発明のそれ以上の目的および特徴は、以下の詳細な説明および図面の記載によって明らかになる。本発明の特徴は、それ単独で、あるいは可能な限り種々な組み合わせで複合して採用することができる。
本発明の加湿器によれば、タンク接続部、給水を受けて蒸気を発生させる部分、蒸気を上部の蒸気放出口から外部に放出させる部分、給水タンク、を持った本体が、段部や引っ掛かり部、凹部などができずに連続した外郭面を持った簡単かつコンパクトなものとなり、タンクを小さくしなくても本体全体のコンパクト化を達成することができる。これにより、かさ張らないで給水時間の長い加湿器が得られ、携帯に便利なものとなる。
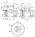
以下、本発明の加湿器の実施の形態につき図1〜図8を参照しながら説明する。本実施の形態は図1〜図5に示す例、図6〜図8に示す例のように、タンク1からの水を給水路2を通って蒸気発生容器3に供給しながら、蒸気発生容器3内の水を加熱源4により加熱して蒸気を発生させ、発生した蒸気は蒸気筒5を通じ外部に放出させまわりを加湿する基本構成を有している。このような基本構成において、特に、蒸気発生容器3およびその加熱源4と、給水路2とを本体基部6に装備し、蒸気筒5とタンク1とは本体7の上部外郭をなして本体基部6に着脱できるように設けている。
このように、供給される水を加熱により蒸発させるための蒸気発生容器3、前記水を加熱するための加熱源4、およびタンク1からの水を蒸気発生容器3に供給するための給水路2、のそれぞれが本体基部6に集約配置していることにより、互いの熱的、通路的結合関係を簡単かつコンパクトな構造で確保することができる。また、蒸気筒5とタンク1とが本体7の上部外郭をなしていることにより、特別な外郭構造やそれとの結合や組合せ構造が不要になる。従って、これらも簡単かつコンパクトなものとなり、前記簡単かつコンパクトな本体基部6との組み合わせによって、本体7全体の外郭構造を確保しながらタンク1を小さくしなくても本体7全体のコンパクト化を達成することができる。これらにより、かさ張らないで給水時間の長い加湿器が得られ、しかも本体7は、本体基部6、蒸気筒5、タンク1の3つに単純に分解してさらに嵩張らずに個別に取り扱い収納できるので、携帯に便利なものとなる。
本体基部6、蒸気筒5およびタンク1は滑らかに連続した本体7の外郭面を形成している。これにより、本体基部6、蒸気筒5、タンク1のそれぞれは、互いが寄って本体7全体の滑らかな外郭面を形成しており、その滑らかな外郭面に互いの割線8が位置するだけで、段部や引っ掛かり部、凹部などができない。
本体7は図3、図7に示すように平面視横長形状をなし、その平面視幅Bは蒸気発生容器3とそれを囲う本体基部6の外郭壁6a、およびそれらの間の熱的な安全スペース6bを含む範囲とほぼ同等である。これにより、本体7の平面視幅Bが蒸気発生容器3、それを囲う本体基部6の外郭壁6a、およびそれらの間の熱的な安全スペース6bという必要不可欠な要素以外を含めない最小幅となるので幅方向のかさ張りがさらに抑えられ、バッグなどにも収容しやすくなる。
図1、図3、図6〜図8に示すように本体7の長手方向に蒸気発生容器3と給水路2のタンク接続口11とが配置され、蒸気発生容器3とタンク接続口11との間に給水路2が本体7の長手方向に延びて設けてある。これにより、本体基部6に平面的に配置される蒸気発生容器3、タンク接続口11、およびこれら蒸気発生容器3およびタンク接続口11間の給水路2のそれぞれが、一方向に並んで配置されるので、本体7が本体基部6とともに平面視横長形状であるのを利用してその長手方向に並ぶことで相互間に無駄なスペースを作ることなく配置され機能することができ、本体基部6のコンパクト化に大きく貢献する。
また、タンク接続口11は蒸気発生容器3と平面視ほぼ同じ大きさである。これにより、本体7の平面視幅Bが蒸気発生容器3の大きさにほぼ合わせて決めることから、本体7の平面視幅Bをさらに大きくしないでよい蒸気発生容器3の大きさ程度に、大きくすることにより、タンク接続口11に接続するタンク1の給水口12部が、公知のばね13cにより常閉となる逆止弁13を有した複雑な構造をしている上、タンク1から給水路2への給水に併せ、給水路2側からタンク1内への吸気を行う通路14が確保される必要もあるといった各種必要条件を満足する構造が、前記の大きなスペースを利用することで得られやすい。
加熱源4はニクロム線を心板に巻きつけたものをマイカで挟んで絶縁処理したいわゆるマイカヒータなどからなる面ヒータを採用して、例えば図1、図2、図4、および図6に示すように蒸気発生容器3の低部に当てがって水を加熱するようにしている。この加熱源である面ヒータ4の蒸気発生容器3に対する加熱面積はヒータの最小W密度に対応する最小の面積に設定してある。具体的には、最小W密度は通常25W/cm2程度とされており、水の加熱に必要な設計W数を前記最小W密度で除することにより得られた加熱面積を確保する蒸気発生容器3の大きさに設定することになる。これにより、加熱効率が低下したり、蒸気の発生が遅くなったり、蒸気の発生量が低下したりするようなことが生じない最小の加熱面積、これに対応する最小の蒸気発生容器3が実現し、本体7の小型化に貢献する。
図1〜図5に示す例についてさらに具体的に説明する。本体基部6、蒸気筒5およびタンク1はそれぞれ合成樹脂製である。本体基部6は底部21とこれに印籠嵌め部30にて嵌め付けた胴部22とで構成されている。この胴部22の天板部20に蒸気発生口23、給水路2およびタンク接続口11に対応する受水部24を一体成形している。本体基部6は給水路2および受水部24を上方から着脱できるように覆う覆い板25を有し、この覆い板25に前記タンク接続口11を一体形成している。受水部24にはタンク接続口11にタンク1の給水口12が接続されたとき、その逆止弁13をばね13cに抗してタンク1側に押し開く突起24aを一体成形して設けてある。しかし、その設け方は自由であるが一体成形しておくと通路壁に貫通部ができず単純構造にてシールを不要としやすい。
給水口12はタンク1および図5(a)(b)に仮想線で示す飲料販売用の樹脂製ボトル35、いわゆるペットボトルなどの口部1a、35aにねじ嵌め部60でのねじ嵌めによって装着するもので、この装着によってタンク1および樹脂製ボトル35は逆止弁13によって常閉とされ、逆さにしても収容している水は流出しない。そこで、これらを図5(a)( b)に示すように逆さにしてタンク接続口11に接続し終わると逆止弁13が全開し、タンク1、樹脂製ボトル35内の水は受水部24に流れ込むとともに給水路2を通じて蒸気発生容器3に至り所定の水位、つまり給水口12の下端に液面が届いてタンク1や樹脂製ボトル35内に外部の空気が入らなくなる水位に達したとき水の流出は止まる。次いで、蒸気発生容器3での蒸気の発生、発散によって水が消費されて水位が低下し液面が給水口12の下端から離れる都度、タンク1、樹脂製ボトル35内の水が外気の吸い込みを伴い流出する。この繰り返しにより給水が過不足無く行える。
図1に示すように前記受水部24から蒸気発生容器3までの間のストレートな給水路2の途中には図1に示すようなフロート式の空炊き検出センサ27を設けてある。この空炊き検出センサ27は支持軸28に昇降できるように支持されたフロート29と、支持軸28に内蔵され空炊き検知状態までフロート29が下がったときにフロート29に内蔵した磁石29aに反応して閉成するリードスイッチ28aとで構成されている。しかし、具体的な構成は特に問わない。
空炊き検出センサ27の設置部は給水路2の最深部2aとしてあり、フロート29に十分な上下動ストロークが得られるようにしてある。この最深部2aの空炊き検出センサ27よりも蒸気発生容器3側の部分に最深部2aの底部との間に水流通口31を形成する邪魔板32が前記覆い板25から垂下するようにするようにしてある。邪魔板32は前記のように受水部24に供給された冷たい水が最深部2aの底部の水流通口31を通じて給水路2の蒸気発生容器3側に涌き水のように静かに流入して水位を高める状態で蒸気発生容器3側に供給させながら、蒸気発生容器3側の表面に滞留しやすい高温水、熱水が受水部24側に逆流するのを邪魔し、受水部24側に至るのを防止する。これにより、給水側の温度が上がってタンク1や樹脂製ボトル35内の空気が膨張するのを防止する。
蒸気発生口23には下方に延びる蒸気発生容器部23aを一体形成してあり、この蒸気発生容器部23aの下端に金属製の容器底26をシール用のパッキン41を介し当てがって蒸気発生容器3を構成し、この容器底26に面ヒータである加熱源4を当てがってある。容器底26は図4に示す2本のねじ42によってパッキン41とともに固定し、加熱源4は2本のねじ43によって当て板44および押圧部材45を介し容器底26、パッキン41とともに固定してある。これによって、容器底26およびパッキン41は4本のねじ42、43によって充分なシール性および取り付け強度を確保して取り付けられながら、2本のねじ43については加熱源4の取り付けと共用しているので、その分組み立て作業が簡略化しコスト低減が図れる。一方、加熱源4は2本のねじ43によって取り付けているが、当て板44および押圧部材45を介していることによって、ねじ43による2箇所のねじ止め力を加熱源4の全域に確実かつ均等に及ぼせるので、容器底26への密着度を確保して空隙による加熱効率の低下を防止できる。
蒸気筒5はその筒壁5aに、本体7の外郭をなす外筒46が上部で繋がるように一体形成した下向きの中空部を有し、筒壁5aの下端が図1、図2に示すように蒸気発生口23に着脱できるように嵌まり合ったとき、外筒46の下端が本体基部6の上面の蒸気発生口23回りに一体形成された環状の周壁47と印籠嵌め部48にて着脱できるように嵌まり合う。このとき、外筒46が本体基部6と滑らかな外面をなして連続する本体の外郭を形成する。蒸気筒5における筒壁5aの上部には蒸気放出口51が回りに液溜まり凹部51aを形成する突出部51bを持ち、かつこの突出部51bが蒸気筒5による本体外郭天面よりも若干低くなるようにしてあり、液溜まり凹部51aは蒸気放出口51から放出される蒸気が結露して滴が生じてもそれを収容して回りに流れ落ちたりしないようにする。
前記突出部51bは筒壁5aよりも小径であり、これの内周に内筒52を下方から嵌め付けることによって筒壁5aと内筒52との間に転倒時液貯まり53を形成してある。また、前記蒸気筒5の筒壁5aと外筒46との間も転倒時液溜まり54としてあり、給水路2との連通口55を持っている。
以上のような蒸気筒5は、蒸気発生容器3の蒸気発生口23に着脱できるように接続されて、蒸気をどこにも行かせないで所定の蒸気放出口51からのみ外部に放出させる役目を営むことから、本体7が転倒すると蒸気発生容器3内の熱湯を前記蒸気放出口51に導き流出させてしまうことがあり得て問題となる。しかし、蒸気筒5が、前記のようにして蒸気放出口51の内側外回りから内筒52が垂下して前記筒壁5aとの間に下向きの転倒時液溜まり53を形成していることにより、本体7が転倒して蒸気発生容器3内の熱湯が蒸気筒5側に流出しようとしても、その流れは極くかさ低く蒸気筒5の筒壁5aの内面を伝い流れる程度で、蒸気放出口51の内側外回りから垂下している内筒52を越えて蒸気放出口51に向かわず、内筒52と蒸気筒5の筒壁5aとの間に形成している転倒時液溜まり53内に溜まるので、蒸気発生容器3内の熱湯が外部に流出する危険は回避できる。もっとも、本体7が逆さになる転倒に対しては転倒時液溜まり53の全周に熱湯を受け入れて貯留するので、その容量が蒸気発生容器3の容量を下回らないように筒壁5a、内筒52の長さや太さなどを適当に設定する必要がある。
また筒壁5aの下端が、図1に示すように蒸気発生容器3に繋がる給水路2の水路域内へ下向きに突出して、蒸気発生容器3の蒸気発生口23と接続されていることにより、本体7が転倒したときの給水路2での水が蒸気筒5の筒壁5aに入り込みにくくすることができ、外部への流出を防止するのに好適である。しかも、蒸気筒5は、前記筒壁5aの外回りにある本体7の外郭を形成する外筒46との間に前記給水路2の域に繋がる転倒時液溜まり54を形成していることにより、本体7が転倒したとき給水路2の水を蒸気筒5の筒壁5a外回りの転倒時液溜まり54に溜め込めるので、蒸気筒5の筒壁5aへの入り込みをさらに防止することができる。もっとも、蒸気筒5は前記のような下向きの中空部を持たない一重構造のものとすることもできる。
また、本例のタンク接続口11が、図5(a)(b)に示すように専用のタンク1と飲料販売用の樹脂製ボトル35とに共通した給水口12を用いるか、図6に示すように専用のタンク1用の給水口12aと樹脂製ボトル35に専用の給水口12bとを使い分けて装着し、タンク1でも樹脂製ボトル35でも同様に接続して使用できるようにすると、専用のタンク1を携行しなくても行き先で樹脂製ボトル35入りの飲料を購入してその空ボトルに水を入れ装着することで加湿器を使用することができるし、使用後は樹脂製ボトル35を廃棄すればよいので、便利である。この場合、図5(a)(b)の給水口12のように、専用のタンク1と樹脂製ボトル35とに兼用するものであると、1つの給水口12にて上記タンク1と樹脂製ボトル35との使い分けができる。
タンク1は口部1aを有した肩板1bと容器部1cとを印籠嵌め部62で嵌め付けて溶着などして一体化したものであるが、ブロー成形など他の成形方法により形成したものでもよく、一体成形もできる。タンク1はそれに装着した給水口12をタンク接続口11に上方から嵌め合わせて接続するが、タンク1の給水口12に比して格段に広い肩部が、本体基部6の天板部20の上面に形成した環状の周壁63との印籠嵌め部64にて嵌まり合うことで特に安定する。ここに、本体基部6の天板部20の周壁63を有した部分はタンク接続口11を持ちそれに接続されるタンク1を安定させるタンク接続部をなしている。
ところで、加湿器を使用するときの雰囲気温度が高いほど、タンク1内の水の残量が少ないほど、タンク1内の空気の膨張の影響が大きくなって、前記による調整限度を超えてタンク1内の水が給水路2側に押し出され、万一にも本体基部6外へ溢れ出ることが考えられる。これに対応するのに本例では図1、図3に示すように、本体基部6の蒸気発生容器3側とは反対側の外郭壁65とタンク接続口11との間にタンク接続口11における給水レベルが通常の水位Aよりも上がったときに溢れさせてそれを貯留する溜まり部66を設けてある。このように通常の水位Aよりも上がったとき優先的に溜まり部66に溢れさせて貯留することにより、本体基部6外に溢れるようなことを防止することができる。
溜まり部66は、特に、図1、図3に示すように、蒸気発生容器3側とは反対側の外郭壁65とタンク接続口11との間で、本体基部6の平面視幅Bの方向に電気装備部67と並び、かつこの電気装備部67とは隔絶している。これにより、蒸気発生容器3、給水路2、およびタンク接続口11が並ぶ本体7の平面視長手方向におけるタンク接続口11の前記長手方向隣に、前記溜まり部66および電気装備部67を設けるので、本体の平面視幅を大きくしなくてよく、しかも、溜まり部66と電気装備部67を本体7の平面視幅Bの方向に並んで設けることにより、本体7における同じボリューム部分のスペースを用いるのに、それらが前記長手方向に並ぶ場合よりもその長手方向寸法が倍加するので、電気装備部67が図4に示すように回路基板67aを有しているなどで平面的な形態をなしていることに対応し、電気装備部67が設置しやすくする。また、溜まり部66は電気装備部67と隔絶して設けられるので、そこに貯留される水によって電気装備部67が損なわれるようなことが回避できる。なお、電源を接続するプラグ受68は溜まり部66の下に位置するようにしてある。電気装備部67の収容部前面にはスタートキー69およびパイロットランプ70が設けられている。
本体基部6の底部21の下面には左右端部の前後に短く小さな脚71が一体に形成され、これらに囲まれる領域の左右2カ所に、本体7の長手方向に沿って長く本体7の平面視幅 Bよりも大きな長さの樹脂製の補助脚72、72がその中央部をねじ73により回転できるように取り付けられ、脚71の高さ範囲内に収まるようにしている。従って、この補助脚72、72は通常図1、図2に示す格納位置とされて本体7から張り出さないが、図4に示すように90℃回転させることにより本体7の平面視幅Bの方向両側に張り出すので、必要に応じ本体7をより安定に設置することができる。
なお、蒸気発生口23の上端にはシール用のパッキン74が当てがわれ、これを蒸気筒5の筒壁5aの外回りに複数設けたリブ75によって、蒸気発生口23と蒸気筒5の筒壁5aとの境界部に押圧して双方間のシールを確保している。
なお、図5(a)の給水口12はタンク1と樹脂製ボトル35との兼用のものとするのに、逆止弁13に対応する弁座13aを形成する通路壁13bを樹脂製ボトル35と逆止弁13との間でも十分な広さの液通路76が得られるようにしている。このため、タンク1との間の液通路77が無駄なぐらい通路壁13bが高く、その高い分だけ水の残量が図5(a)にHで示すように多量になる。しかし、図5(a)に仮想線で示すように逆止弁13が低い位置で開くような設定では樹脂製ボトル35との間の液通路76が勢いせまくなり、水の流出と空気の吸い込みとがスムーズに行えなくなる。
そこで、図5(b)に示す例では、弁座13aおよび通路壁13bを低くして水の残量がH1と少なくなるようにするのに併せ、通路壁13bの少なくとも上半部を弁座13aとともに小径にして樹脂製ボトル35との間にも十分な液通路76が得られるようにしている。
なお、図5(a)、図5(b)に示す各給水口12は図5(c)に示すような下面形態を有し、外周部に滑り止めリブ78が設けられている。
図6、図7に示す例について、具体的に説明する。本例では、特に、既述した専用のタンク1用の給水口12aと樹脂製ボトル35に専用の給水口12bとを使い分けるのに、タンク1用の給水口12aは低い弁座13a、通路壁13bを持ったものとして形成し、図6に示すように残量がほとんど生じないでタンク1との間に広い液通路77を確保している。これに対し、前記給水口12aに樹脂製ボトル35を接続するための接続口12cをねじ嵌め部81にて接続してある。これにより逆止弁13との間に広い液通路76を確保して樹脂製ボトル35が装着できるようにする。2通りの給水口12a、12bの使用しない例えば給水口12bは図6に示すように本体基部6の底部に設けた下向きのポケット82に収容して紛失および携行忘れを防止する。また、本体基部6は先の例のような溜まり部66を省略した小型なものとしてある。
これらに対応して、本例では、給水路2は図7、図8に示すように受水部24と蒸気発生容器3との間で対角方向に設けることにより、本体基部6における給水路2の配置領域にプラグ受68は図示しない電送部、および前記ポケット82の設置スペースをデッドスペースが生じないように設けてある。本体7が小型になった分だけ、先の例の補助脚72は1つだけ設け、格納状態で前記ポケット82を覆って収納している給水口12a、12bが脱落するようなことがないようにしている。もっとも、ポケット82専用の蓋を設けることもできる。
他の構成および奏する作用は先の例と特に変わるところはないので、共通する部材には共通の符号を付し、重複する説明は省略する。
本発明は着脱できるタンクを持った加湿器に実用でき、タンクを含む本体全体のコンパクト化によりかさ張らないで給水時間の長いものとし、携帯に便利なものとなる。
本発明の加湿器の実施の1つの例を示す長手方向で見た断面図。 図1の加湿器の幅方向で見た断面図。 図1の加湿器の平面図。 図1の加湿器の下面図。 図1の加湿器のタンクおよび樹脂製ボトルに兼用な給水口を示し、(a)、(b)は異なった例を示す断面図、(c)はそれらの共通した下面図である。 本発明の加湿器の実施例の他の例を示す長手方向で見た断面図。 図6の加湿器の平面図。 図6の加湿器の下面図。
符号の説明
1 タンク
2 給水路
3 蒸気発生容器
4 加熱源
5 蒸気筒
6 本体基部
7 本体
11 タンク接続口
51 蒸気放出口
67 電気装備部

Claims (1)

  1. タンクをタンク接続口に接続して安定させるタンク接続部を有し、このタンク接続部に接続されるタンクを含んで連続した外郭面を有することによりかさ張らないでかつ給水時間の長い本体をなし、タンクからの水をタンク接続口から延びる給水路を通じ供給されて蒸気を発生させ、発生した蒸気は上部の蒸気放出口から外部に放出してまわりを加湿するようにしたことを特徴とする加湿機。

JP2005197855A 2005-07-06 2005-07-06 加湿器 Pending JP2005291701A (ja)

Priority Applications (1)

Application Number Priority Date Filing Date Title
JP2005197855A JP2005291701A (ja) 2005-07-06 2005-07-06 加湿器

Applications Claiming Priority (1)

Application Number Priority Date Filing Date Title
JP2005197855A JP2005291701A (ja) 2005-07-06 2005-07-06 加湿器

Related Parent Applications (1)

Application Number Title Priority Date Filing Date
JP2002138625A Division JP3714279B2 (ja) 2002-05-14 2002-05-14 加湿器

Publications (1)

Publication Number Publication Date
JP2005291701A true JP2005291701A (ja) 2005-10-20

Family

ID=35324816

Family Applications (1)

Application Number Title Priority Date Filing Date
JP2005197855A Pending JP2005291701A (ja) 2005-07-06 2005-07-06 加湿器

Country Status (1)

Country Link
JP (1) JP2005291701A (ja)

Citations (2)

* Cited by examiner, † Cited by third party
Publication number Priority date Publication date Assignee Title
JPH0310126U (ja) * 1989-06-15 1991-01-30
JPH04106440U (ja) * 1991-02-19 1992-09-14 積水化成品工業株式会社 加湿装置

Patent Citations (2)

* Cited by examiner, † Cited by third party
Publication number Priority date Publication date Assignee Title
JPH0310126U (ja) * 1989-06-15 1991-01-30
JPH04106440U (ja) * 1991-02-19 1992-09-14 積水化成品工業株式会社 加湿装置

Similar Documents

Publication Publication Date Title
CN106765810B (zh) 暖雾加湿器
JP3714279B2 (ja) 加湿器
JP2012237459A (ja) 加湿器
JP2005326147A (ja) 加湿器
US11022341B2 (en) Storage type electric water heater with hot air generating function
CN209892472U (zh) 喷雾风扇
JP2005291701A (ja) 加湿器
CN212815895U (zh) 水冷式电热水壶结构
KR101728057B1 (ko) 상부급수형 물탱크를 구비하는 가습기
CN212788268U (zh) 一种加热组件及饮水机
JP2001235191A (ja) 加湿器
JP3911891B2 (ja) ヒータ式加湿器
CN219607278U (zh) 一种漂浮式雾化头
CN222853701U (zh) 一种加热器具
CN221430285U (zh) 气溶胶生成机构及其壳体结构、气溶胶生成装置
CN215127283U (zh) 电热水杯
CN218922263U (zh) 冲茶杯
CN210961484U (zh) 液体加热器
JP2008032297A (ja) 加湿器
TWM574008U (zh) 茶水特效產生器組
CN212574412U (zh) 烹饪器具
JP3322165B2 (ja) 加湿器
CN212878920U (zh) 一种多功能加热保温容器组合及多功能加热保温容器
CN210018789U (zh) 温差发光杯
JP2000204635A (ja) 衛生洗浄装置

Legal Events

Date Code Title Description
A977 Report on retrieval

Free format text: JAPANESE INTERMEDIATE CODE: A971007

Effective date: 20070912

A131 Notification of reasons for refusal

Free format text: JAPANESE INTERMEDIATE CODE: A131

Effective date: 20070918

A02 Decision of refusal

Free format text: JAPANESE INTERMEDIATE CODE: A02

Effective date: 20080205