JP2005291658A - 液滴の飛散防止方法、強制通風冷却塔、液滴の飛散量測定方法および液滴飛散量測定装置 - Google Patents
液滴の飛散防止方法、強制通風冷却塔、液滴の飛散量測定方法および液滴飛散量測定装置 Download PDFInfo
- Publication number
- JP2005291658A JP2005291658A JP2004110216A JP2004110216A JP2005291658A JP 2005291658 A JP2005291658 A JP 2005291658A JP 2004110216 A JP2004110216 A JP 2004110216A JP 2004110216 A JP2004110216 A JP 2004110216A JP 2005291658 A JP2005291658 A JP 2005291658A
- Authority
- JP
- Japan
- Prior art keywords
- water
- droplets
- droplet
- cooling tower
- air
- Prior art date
- Legal status (The legal status is an assumption and is not a legal conclusion. Google has not performed a legal analysis and makes no representation as to the accuracy of the status listed.)
- Pending
Links
Images
Landscapes
- Gas Separation By Absorption (AREA)
Abstract
【課題】 液滴捕集装置で捕集されず気体に同伴し飛散する液滴を、簡易な方法で効率的に捕集することで液滴の飛散を防止する液滴の飛散防止方法、この液滴飛散防止方法を備える強制通風冷却塔、液滴の飛散量を測定する方法、および液滴飛散量測定装置を提供する。
【解決手段】 液滴を含む混合気体が上方に向けて圧送される通路3の内周面の少なくとも一部を、液滴との濡れ性に優れた材料50,51で形成する。液滴を含む混合気体が流通する通路3の内周面を、液滴との濡れ性に優れた材料50,51で形成するので、内周面に対する液滴の付着力が大きい。これにより液滴は、流通する混合気体によって剥ぎ取られにくくなるので、液滴の飛散量は低下する。
【選択図】 図2
Description
本発明は、冷却塔などに用いる液滴の飛散防止方法、強制通風冷却塔、液滴の飛散量測定方法および液滴飛散量測定装置に関する。
冷水または冷却水の製造装置として冷却塔が多く使用されている。冷却塔は空気と水を直接接触させ、一部の水を蒸発させることで水を冷却し冷水を得る。冷却塔は空気の通風の方法により、送風機を使用しない自然通風冷却塔、送風機を備えこれにより空気の搬送を行う強制通風冷却塔に大別される。さらに強制通風冷却塔は空気を取入れる方向によって、向流形強制通風冷却塔と直交流形強制通風冷却塔に分類される。そのほか散水装置としてスプリンクラーを備える冷却装置もある。
空気が下から上に流通する冷却塔では、散水した水の一部が流通する空気に同伴し冷却塔の外に飛散する場合がある。特に強制通風冷却塔の場合は、空気の流通速度が速く水滴が飛散しやすい。冷却塔は水滴の飛散を防止するために一般にはエリミネータを備えるが、空気が冷却塔内を流通する際の圧力損失との関係で完全に水滴を捕集することは困難である。また水滴は、散水した水と接触し湿度の高くなった空気が冷却され、空気中の水分が結露することで生じる場合もある。たとえば散水した水と接触した温度の高い空気は、冷却塔のファンスタックに接触し温度を低下させ、壁面に水滴を発生させる。この水滴が壁面を流下し流通する空気に同伴したり、流通する空気によって壁面から剥ぎ取られ空気に同伴して水滴が飛散するような場合もある。エリミネータよりも下流側で空気中の水分が結露し水滴を生じる場合においては、エリミネータは機能しない。
水滴の飛散を防止する技術としては、次のような技術が開示されている。直交流形冷却塔の散水器から散布された冷却水が、充填物において熱交換を行った冷却用空気と共に大気中に放出されことを防止するため、最上段の充填物の上面に通気性を有する繊維性のシート状体からなるエリミネータを配設する(たとえば特許文献1参照)。これにより冷却用空気中に含まれる冷却水を確実に捕捉できるとする。
また、水膜を形成する水膜形成板を備える空気が下から上向きに流れるカウンターフロー式の冷却塔において、水滴が空気流に同伴し冷却塔の外に飛散することを防止するために、水膜形成板にじゃま板状の飛散防止手段を設ける技術が開示されている(たとえば特許文献2参照)。これによりエリミネータの装着を不要とする。
また、スプリンクラー式散水装置を備える向流式冷却塔において、スプリンクラー式散水装置のヘッド部分からの散布水の一部が漏れ、これが下方からの空気流にのって外部に飛散することを防止する技術として、散水パイプとヘッド本体のボス部との接続部分に環状の水飛散防止部材を設け、ヘッド部分から漏洩する散布水の水滴を下方に導き、水滴が外部に飛散することを防止する技術が開示されている(たとえば特許文献3参照)。
液滴の飛散は冷却塔に限らず、気液接触を行なうスプレー塔、吸収塔あるいは液柱塔など塔槽類でも発生することがある。これら塔槽類では取扱う液体は水に限られず、水溶液あるいは疎水性の液体であることもある。
前記のように従来の冷却塔では、冷却塔内の圧力損失の点から、エリミネータを用いて空気に同伴する水滴を完全に捕集することは困難である。またエリミネータの下流で空気中の水分が結露し水滴を生じる場合は、エリミネータで水滴を捕集することはできない。
また冷却塔を含む塔槽類からの液滴の飛散量を効率的に測定する方法、あるいは液滴の飛散量を測定する装置も開発が待たれている。
また冷却塔を含む塔槽類からの液滴の飛散量を効率的に測定する方法、あるいは液滴の飛散量を測定する装置も開発が待たれている。
特許文献1の技術は、充填物の上に繊維状体のエリミネータを配設し、水滴を捕集しようとするものであるが、エリミネータの下流で空気中の水分が結露し水滴を生じ、これが空気に同伴される場合は効果がない。
特許文献2の技術は、水膜を形成する水膜形成板を備え、空気が下から上向きに流れるカウンターフロー式の冷却塔において、水滴が空気流に同伴し冷却塔の外に飛散することを防止するために、水膜形成板にじゃま板状の飛散防止手段を装着するものであるが、特許文献1の技術と同様に、エリミネータの下流で空気中の水分が結露し水滴を生じ、これが空気に同伴される場合は効果がない。
また特許文献3の技術は、スプリンクラー式散水装置を備える向流式冷却塔において、散水パイプとヘッド本体のボス部との接続部分に環状の水飛散防止部材を設け、水の飛散を防止しようとするものであるが、特許文献1の技術と同様に、エリミネータの下流で空気中の水分が結露し水滴を生じ、これが空気に同伴される場合は効果がない。
本発明の目的は、液滴捕集装置で捕集されず気体に同伴し飛散する液滴を、簡易な方法で効率的に捕集することで液滴の飛散を防止する液滴の飛散防止方法、この液滴飛散防止方法を備える強制通風冷却塔、液滴の飛散量を測定する方法、および液滴飛散量測定装置を提供することにある。
本発明は、液滴を含む混合気体が上方に向けて圧送される通路があって、該通路の少なくとも一部の内周面は、該液滴との濡れ性に優れた材料からなることを特徴とする液滴の飛散防止方法である。
また本発明で、前記液滴は水溶性の液滴であり、前記濡れ性に優れた材料は、親水性の材料であることを特徴とする。
また本発明で、前記親水性の材料は、親水性成分を含む塗膜を被覆してなる材料であることを特徴とする。
また本発明で、前記親水性成分は、酸化チタンであることを特徴とする。
また本発明で、前記液滴は水溶性の液体であり、前記通路の下部に吸水可能な吸水体を配設し、前記通路の内周面に付着し、内周面を流下する水溶性の液体を該吸水体に吸収させるとともに、該水溶性の液体を該吸水体内部において移動させることを特徴とする。
また本発明で、前記液滴は水溶性の液体であり、前記通路の下部に吸水可能な吸水体を配設し、前記通路の内周面に付着し、内周面を流下する水溶性の液体を該吸水体に吸収させるとともに、該水溶性の液体を該吸水体内部において移動させることを特徴とする。
また本発明で、前記吸水体は、ポリビニルアルコール樹脂であることを特徴とする。
また本発明は、水と空気を直接接触させ水の蒸発を利用し水を冷却する強制通風冷却塔において、
該強制通風冷却塔の外部より空気を取入れ該空気を上方に圧送する送風機と、
該送風機を支持する送風機支持体と、
該送風機の上流側に位置し、空気と接触する水を下方に向かって散水する散水手段と、
該送風機が取入れる空気と散水する水が接触する気液接触室を形成する箱体と、
該空気と接触し温度を低下させた水を貯水する水槽と、
該散水手段の上部に位置し、散水する水と接触した空気が流通する筒状体と、
を含み、該筒状体の内周面の少なくとも一部は親水性の材料であることを特徴とする強制通風冷却塔である。
また本発明は、水と空気を直接接触させ水の蒸発を利用し水を冷却する強制通風冷却塔において、
該強制通風冷却塔の外部より空気を取入れ該空気を上方に圧送する送風機と、
該送風機を支持する送風機支持体と、
該送風機の上流側に位置し、空気と接触する水を下方に向かって散水する散水手段と、
該送風機が取入れる空気と散水する水が接触する気液接触室を形成する箱体と、
該空気と接触し温度を低下させた水を貯水する水槽と、
該散水手段の上部に位置し、散水する水と接触した空気が流通する筒状体と、
を含み、該筒状体の内周面の少なくとも一部は親水性の材料であることを特徴とする強制通風冷却塔である。
また本発明で、前記親水性の材料は、酸化チタンを含む塗膜を被覆してなる材料であることを特徴とする。
また本発明は、前記親水性材料からなる筒状体の下部に配設する吸水可能な第一吸水体と、
該第一吸水体に接続し該第一吸水体が吸収した水を排水する第一排水手段と、
を含むことを特徴とする。
該第一吸水体に接続し該第一吸水体が吸収した水を排水する第一排水手段と、
を含むことを特徴とする。
また本発明は、前記送風機支持体の少なくとも一部に配設する吸水可能な第二吸水体と、
該第二吸水体に接続し該第二吸水体が吸収した水を排水する第二排水手段と、
を含むことを特徴とする。
該第二吸水体に接続し該第二吸水体が吸収した水を排水する第二排水手段と、
を含むことを特徴とする。
また本発明は、液滴を含む混合気体が上方に向けて圧送される通路があり、該通路の下流側の先端から該通路の外に飛散する液滴の飛散量を測定する液滴飛散量測定方法であって、
吸水性高分子材料を含む吸水体を、該通路の下流側の略先端に混合気体の排出方向に対して略垂直に配置し、
混合気体に含まれる液滴を予め定める時間、該吸水体で捕集し、
液滴を捕集する前の該吸水体の重量W1と液滴を捕集した後の該吸水体の重量W2とを測定し、
液滴の捕集前後の該吸水体の重量差(W2−W1)から液滴飛散量を測定することを特徴とする液滴の飛散量測定方法である。
吸水性高分子材料を含む吸水体を、該通路の下流側の略先端に混合気体の排出方向に対して略垂直に配置し、
混合気体に含まれる液滴を予め定める時間、該吸水体で捕集し、
液滴を捕集する前の該吸水体の重量W1と液滴を捕集した後の該吸水体の重量W2とを測定し、
液滴の捕集前後の該吸水体の重量差(W2−W1)から液滴飛散量を測定することを特徴とする液滴の飛散量測定方法である。
また本発明は、吸水性高分子材料を含む吸水シートおよび該吸水シートの両面に配設され該吸水シートを保護する通水可能な吸水シート保護体を含む吸水体と、
該吸水体を着脱可能に支持する支持枠体と、
を含むことを特徴とする液滴飛散量測定装置である。
該吸水体を着脱可能に支持する支持枠体と、
を含むことを特徴とする液滴飛散量測定装置である。
本発明によれば、液滴を含む混合気体が上方に向けて圧送される通路の少なくとも一部の内周面は、液滴との濡れ性に優れた材料からなるので、液滴と内周面の界面張力が小さく、液滴と内周面との付着力が大きい。通路を流通する混合気体により液滴が内周面から剥ぎ取られにくくなるので、混合気体に同伴する液滴の量が減少し、液滴の飛散量が減少する。
また本発明によれば、液滴は水溶性の液滴であるので、水のほか他の成分を含む水溶液またはスラリー水溶液にも使用することができる。また濡れ性に優れた材料は、親水性の材料であるので水溶性の液体との親和性が高く、液滴と材料との付着力が大きい。これにより液滴が混合気体により剥ぎ取られにくくなり、液滴の飛散量が低下する。
また本発明によれば、親水性の材料は、親水性成分を含む塗膜を被覆してなる材料であるので、水溶性の液滴との付着力が大きい。また親水性の材料は、親水性成分を含む塗膜を被覆してなる材料であるので、既存の装置などに後から施工することができる。また塗料を塗布することで被膜を形成することができるので施工が簡単である。また、親水性の材料は、親水性成分を含む塗膜を被覆してなる材料であるので安価である。
また親水性成分は、酸化チタンであることを特徴とするので、水溶性液体との濡れ性が良好である。また酸化チタンは粉体の酸化チタンを塗料に混合し、塗布することも可能なため、取扱が簡単である。また酸化チタンは安価な材料であり、低コストで液滴の飛散を防止することができる。
また本発明によれば、液滴を含む混合気体が流通する通路の内周面の少なくとも一部を、親水性の材料とするため、内周面と水溶液の液滴との付着力が大きく、液滴は混合気体に剥ぎ取れることなく内周面を流下することができる。また内周面を流下する水溶性の液体を吸水性を有する吸水体に吸水させ、吸水体の内部を移動させるため、液滴を再度飛散させることなく任意の場所に水溶性の液体を移動させることができる。
また本発明によれば、吸水体は、ポリビニルアルコール樹脂であるので、吸水性に優れ、また比較的安価である。また接着剤で貼付することが可能であり施工を簡単に行なうことができる。
また本発明によれば、水と空気を直接接触させ水の蒸発を利用し水を冷却する強制通風冷却塔は、強制通風冷却塔の外部より空気を取入れ空気を上方に圧送する送風機と、送風機の上流側に位置し、空気と接触する水を下方に向かって散水する散水手段とを備え、散水手段の上部に位置し散水する水と接触した空気が流通する筒状体とを備え、筒状体の内周面の少なくとも一部は親水性の材料であるため、水と内周面との付着力が大きく液滴の飛散を防止することができる。また本発明の強制通風冷却塔は、筒状体の内周面の少なくとも一部を親水性の材料とするので、強制通風冷却塔の圧力損失を上昇させることなく液滴の飛散を防止することができる。
また本発明によれば、強制通風冷却塔の筒状体の内周面の少なくとも一部は、酸化チタンを含む塗膜を被覆してなる材料であるので簡単に施工することができる。散水する水と接触した空気が流通する筒状体を、予め塗膜を被覆した材料で形成するほか、散水する水と接触した空気が流通する筒状体をたとえば金属製の材料で形成し組立後、塗料を塗布することで塗膜を形成することもできる。
また本発明によれば、強制通風冷却塔は親水性材料からなる筒状体の内周面の下部に吸水可能な第一吸水体を備えるため、内周面に付着しその後流下する水滴を第一吸水体に吸水させることができる。また第一吸水体に吸水された水は第一吸水体の内部を移動し、この第一吸水体が吸水した水を排水口に導く排水手段を備えるため、第一吸水体に吸水させた水を飛散させることなく回収することができる。
また本発明によれば、送風機支持体の少なくとも一部に吸水可能な第二吸水体を備えるため、送風機支持体に付着する水滴を第二吸水体で吸水させることができる。また第二吸水体に吸水された水は第二吸水体内部を移動し、この第二吸水体が吸水した水を排水口に導く排水手段を備えるため、第二吸水体に吸水させた水を飛散させることなく回収することができる。これにより水滴は送風機支持体に付着した後、流通する空気中に落下することがなくなり、空気に同伴し飛散していた水滴を抑制することができる。
また本発明によれば、液滴飛散量測定方法は、液滴を含む混合気体が上方に向けて圧送される通路があり、該通路の下流側の先端から該通路の外に飛散する液滴の飛散量を測定することができる。また吸水性高分子材料を含む吸水体を、該通路の下流側の略先端に混合気体の排出方向に対して略垂直に配置し、混合気体に含まれる液滴を吸水するため、確実に飛散する液滴を吸収することができる。また吸水体は吸水性高分子材料を含むので、一度吸水体に吸収した液滴は蒸発することがなく、確実に飛散する液体を捕集することができる。
また飛散する液滴を予め定める時間捕集し、捕集前後の吸水体の重量差と吸水体の面積とから単位時間、単位面積当たりの液滴飛散量を測定することができる。吸水体を混合気体の排出方向に対して略垂直に配置し飛散する水滴を捕集するため、吸水体の面積と液滴が飛散する面積は等しく、液滴の飛散量の測定誤差が少なくなる。さらに混合気体が流通する通路の下流側先端付近に吸水体を配置し、液滴の飛散量を測定するので、飛散する液滴が大気中に広がる前に捕集することが可能となり、液滴の飛散量を精度よく測定することができる。
また本発明によれば、液滴飛散量測定装置は、吸水性高分子材料を含む吸水シートを備えるので、飛散する液滴を確実に捕集することができる。また吸水シートを含む吸水体を着脱可能に支持する支持枠体とを備えるので、吸水体の着脱を行なうことが可能である。よって液滴飛散量測定装置は、吸水体を交換することで繰返し使用することができる。さらに吸水体は支持枠体に支持されるので、液滴を含む混合気体に対して液滴飛散量測定装置を略垂直に設置しても、吸水体が液滴を含む混合気体から風圧を受けて変形したり破損することはない。
図1は、本発明の実施の一形態としての強制通風誘引向流式冷却塔1(以下、強制通風冷却塔と略す)を、その中心軸線を含む仮想平面で切断して見た断面図である。強制通風冷却塔1は、冷却水と接触する空気を取入れる送風機2を上部に備える。送風機2は、冷却塔1の下部より外部の空気を取り込み上方に圧送し、冷却水と接触した後の空気を強制通風冷却塔1の上部に備えるファンスタック3から排出する。強制通風冷却塔1は、送風機2により取り込まれた空気と接触する水を下方に向かって散水する散水手段4を備える。強制通風冷却塔1は箱体5を備え、散水手段4から散水される水は、箱体5が形成する気液接触部6で、送風機2が搬送する空気と向流気液接触する。
空気と気液接触した一部の水は、空気および他の水から熱を得て蒸発するので、蒸発しなかった水は温度を低下させる。温度を低下させた水は、強制通風冷却塔1の底部に備えられる水槽7に蓄えられ、必要に応じてポンプを通じて図示を省略した被冷却装置へ供給される。一方、散水した水と気液接触し湿度を増加させた空気は、送風機2を介してファンスタック3から大気中の放出される。
強制通風冷却塔1の下部から外部の空気を取入れ、上方に空気を圧送する送風機2は、羽根車8、図示を省略した駆動モータ、駆動力伝達手段および減速機9を含む。羽根車8は減速機9の駆動軸10から駆動力を得て空気を上方に圧送する。羽根車8および減速機9は、ファンスタック3の内部に位置し、減速機9の駆動軸10の軸線は、ファンスタックの縦断面の中心軸と一致する。
減速機9は、減速機本体11と減速機を固定するための減速機固定用ベース12を備え、減速機固定用ベース12は送風機支持体である送風機支持架台13にネジなどの固定手段を用いて固定される。送風機支持架台13は、送風機を支持する送風機支持架台本体14および送風機支持架台脚体15を備え、送風機支持架台脚体15が架台支持体16にアンカーボルトなどの固定手段を用いて固定される。
ファンスタック3は、送風機2の送風効率を上げるためのもので、強制通風冷却塔1の上部に位置し、送風機2が搬送する空気を外部に導く。ファンスタック3から排出される空気は、冷却水と気液接触した後の空気であるので、湿度が高い空気や水滴を含んだ空気である。ファンスタック3は、ファンスタック円筒体17およびファンスタック円錐体18を含み、ファンスタック円錐体18の上にファンスタック円筒体17が位置する。さらにファンスタック3は、強制通風冷却塔1の天井部19の設けられる筒状のファンスタック支持体20に固定される。送風機2の羽根車8は、ファンスタック円筒体17の内部であって、ファンスタック円筒体17の下部に位置する。
散水手段4は、強制通風冷却塔1の箱体5の内部に位置する送水主管21、散水ノズル22を備え、送水主管21は、架台支持体16および上部補強材23に固定した送水主管支持金具24で支持される。散水ノズル22は、送水主管21の下部にほぼ等間隔に備えられる。散水手段4は、図示を省略した被冷却装置を冷却し温度の高くなった冷却水を、散水ノズル22の下部に位置する気液接触部6の充填材25に散水する。散水された冷却水は充填材25を濡らしながら流下し、充填材25の下部から上昇してくる送風機2が取入れる空気と気液接触する。散水された冷却水は、空気と接触するとき一部が蒸発する。蒸発に必要な熱量を示す蒸発潜熱は、30〜50℃の水で約2400KJ・kg−1と大きく、この熱量を接触する空気および散水された他の冷却水から奪うため、蒸発しなかった冷却水は温度を低下させる。
充填材25は、充填材支持土台26で支持され、気液接触時間を得るためにある程度の高さを有している。また充填材25にはPVCなどが使用され、気液接触面積が大きくなるような形状あるいは構造を有している。たとえば波板などを小さな隙間で縦に並べることで、気液接触面積を増加させる。ここでは気液接触効率を上げるために、充填材25を使用しているが、必ずしも充填材25は必要ではない。
散水ノズル22のすぐ上には水滴除去装置であるエリミネータ27が備えられる。エリミネータ27は、慣性衝突式分離器であり、ジグザグ列あるいはルーバ列で30μm以上の水滴を分離する。より小さい水滴を捕集するためには、エリミネータ27の高さを高くしたり、流路の幅を小さくすることが考えられるが、一方で空気が通過する場合の圧力損失を高くするため、圧力損失を考慮の上捕集すべき水滴の大きさを決定する必要がある。
充填材25、散水ノズル22およびエリミネータ27は、箱体5の内部に収められる。箱体5は、充填材25の側縁で充填材支持土台26の上に立設する柱28に、胴縁29を介して波板などの外壁30を取りつけることで形成する。また箱体5の上部には天井19が設けられ、天井19の中央部にファンスタック3が備えられる。
ファンスタック3、天井19など支持するのが支柱31であり、支柱31はファンスタック3、充填材25および天井19の重量に応じて所定の間隔で設ける。さらに強制通風冷却塔1は、補強材として架台支持体16を補強する補強材32、天井を補強する上部補強材23および下部補強材33を備える。
強制通風冷却塔1の下部には、空気と気液接触し温度を低下させた冷却水を蓄えるための水槽7が備えられる。水槽7は提34で形成し、冷却水が充填材25を通じて流下する際の消音対策として、消音材35および消音材下地36を備える。水槽に蓄えられた冷却水は、図示を省略したポンプを通じて被冷却装置へ供給され、被冷却装置を冷却する。
図2は、本発明の図1のII部の拡大図である。図3は壁面の液滴に対する濡れ性を説明するための図であり、図3(a)は壁面と液滴との濡れ性が不良な状態を示し、図3(b)は壁面を液に対する濡れ性に優れた材料で形成し、壁面と液滴の濡れ性が良好な状態を示す断面図である。ファンスタック3のファンスタック円筒体17およびファンスタック円錐体18の内周面は、親水性の材料を含む塗膜50,51で被覆される。親水性の材料含む塗膜50,51は、ファンスタック円筒体17およびファンスタック円錐体18を形成する金属製材料52,53の上に、親水性成分を含む塗料を塗布し乾燥させることで形成される。
本発明では市販されている光触媒塗料を、単位平方メートル当たり約20〜50gの割合でローラを用いて1回塗布し、これを乾燥することで塗膜を形成した。ここで使用した光触媒は酸化チタンであり、塗料中の酸化チタンの濃度は約10〜30%であった。酸化チタンは二酸化チタンで代表され、二酸化チタンは紫外線を当てるとその表面が超親水性を示すことはよく知られている。塗料は親水性の材料を含むものであれば、特に限定する必要はない。親水性の材料としては、酸化チタンのほか、酸化チタンに蓄水性物質を組合せたものやシリカあるいはこれらの複合体などが該当する。また塗料中の親水性成分の濃度や塗布する塗料の量は、上記の濃度あるいは量に限定されるものでない。
壁面60と液滴61の濡れ性が不良な場合、図3(a)に示すように液滴61は壁面60との接触面積を少なくするように接触する。一方、壁面60の表面を液と濡れ性が良好な材料62で形成すると、図3(b)に示すように液滴61は壁面との接触面積を増加させる。濡れやすさは固体と液体の相互作用の程度を表し、その程度は接触角θで表される。接触角θは固体表面と液滴との接触点において、これに引いた接線と固体表面とのなす角θをいい、接触角が小さいほど濡れ性は向上する。また濡れ性が向上するに伴い、接触角が減少するため、固体表面に置かれた液滴は図3(b)に示すように扁平状となり、固体表面との接触面積をおよび付着力を増加させる。液体と固体の親和性が高いほど濡れ性は向上し、水の場合は、固体表面を親水性とすることで濡れ性が向上する。ガラス板上に置かれた水滴とガラスの接触角θは略0°、ガラス板上に置かれた水銀のガラスとの接触角θは略140°であり、一般に固体と水滴の接触角が40°以下であれば親水性と言われる。
以上のようにファンスタック3の内周面を親水性材料50,51で形成するので、水滴とファンスタック3の内周面の付着力が大きい。ファンスタック3の内周面50,51への水滴の付着力が大きいので、ファンスタック3内を流通する空気よって、内周面に付着した水滴が剥ぎ取られる量が抑制され、流通する空気に同伴して飛散する水滴の量が減少する。本発明の実施形態ではファンスタック3の内周面全体を親水性の材料で形成したけれども、内周面の一部を親水性材料で形成することでも液滴の飛散を抑制することはもちろん可能である。
また親水性材料50,51を親水性成分を含む塗膜を被覆して形成することができるので、既存の装置などに後から施工することができる。塗料を塗布することで被膜を形成することができるので施工が簡単である。親水性の材料は、親水性成分を含む塗膜を被覆してなる材料であるので安価である。本発明の実施形態で示したように、親水性成分を含む塗膜を形成するのに必要な塗料の量は少量でよい。また親水性成分は、酸化チタンであるので、水滴との濡れ性が非常によい。酸化チタンは光触媒塗料に含有されるので、入手が容易でかつ取扱も簡単である。さらに酸化チタンは安価な材料であり、低コストで液滴の飛散を防止することができる。
上記の実施形態では、親水性成分を含む塗膜で被覆することでファンスタック3の内周面を、濡れ性が優れた材料としたけれども、材料の内周面をガラスでライニングしたり、ファンスタック3をガラスで形成することで濡れ性をよくすることも可能である。さらにファンスタック3の内周面を改質し、濡れ性が優れた材料とすることも可能である。
ファンスクタック3は、ファンスタック円錐体18とファンスタック支持体20との境界部に吸水可能な吸水体54を備える。吸水体54は、ファンスタック円錐体18とファンスタック支持体20との境界全周に設けられる。これによりファンスタック内周面に付着し、流下する水滴を飛散させることなく吸水体54に吸水させることができる。吸水体54はファンスタック円錐体18とファンスタック支持体20との境界全周に設けるこが望ましいが、一部のみに吸水体54を配設することであっても水滴の飛散防止に効果を発揮する。ファンスタック円錐体18とファンスタック支持体20との境界部に配設する吸水体54は、ファンスタック円錐体18の下部であっても、ファンスタック支持体20の上部であってもよい。
さらにファンスタック支持体20は、鉛直方向に配設される吸水可能な吸水体55を備える。ファンスタック支持体20に備えられる吸水体55は、一端56を吸水体54に密接し、他端57をファンスタック支持体20の下部に設けられる樋58に密接させる。吸水体55は、吸水体54が吸水した水を樋58へ移動させるものであるので、吸水体54が吸収した水が吸水体54の内部で滞留することなく樋58に移動するように、吸水体55を設ける必要がある。配設する吸水体55の量が少ない場合は、吸水体54に吸水された水が吸水体54の内部を長い距離移動する必要が生じる。よって吸水体54が吸水する水の量が多い場合は、吸水体54に吸収された水の一部が吸水体55で移送されることなく、吸水体54の下端から垂れ落ちるので、これを防止するために配設する吸水体55の量を多くする必要がある。本発明では、円周に対して90°ピッチで4本配設した。
ファンスタック支持体20の下部には、樋58および排水管59を含み構成される第一排水手段を備える。樋58はファンスタック支持体20の下端に円周方向に設ける。樋58は、樋58に集めた水を排水するための排水管59を備える。樋58の大きさおよび排水管59の設置数は、吸水体55から流入する水が樋58からあふれない仕様であることは言うまでもない。排水管59は、排水管の先端部がエリミネータ27と充填材25との間となるように配設する。
第一吸水体である吸水体54,55は吸水性に優れた材料からなるものであれば特に限定されない。本発明の実施形態では、乾燥時の厚さが約2mm、幅50mmのテープ状に加工したポリビニルアルコール樹脂を用い、接着剤を介して貼付することで配設した。貼付に際してファンスタック円錐体18あるいはファンスタック支持体20の貼付する部分の汚れを落とし、吸水体54,55が容易に剥離しないようにすること、ファンスタック円錐体18あるいはファンスタック支持体20の壁面に対しして隙間なく貼付することは言うまでもない。
以上のように第一吸水体である吸水体54および吸水体55を、ファンスタック円錐体18およびファンスタック支持体20に設けることで、ファンスタック円筒体17およびファンスタック円錐体18に付着し、壁面を流下する水を吸水体54に吸収させることができる。壁面を流下する水は、段差のある部分に溜りやすいので、段差の生じる部分に吸水体を設置することで水の移動が容易になる効果がある。
また吸水体55の一端56を吸水体54にすきまなく重ね合わせることで、吸水体54が吸収した水を吸水体54内部に滞留させることなく、吸水体55に移動させることができる。さらに吸水体55の一端57を樋58に配設することで、吸水体55が吸水した水を樋58に排出することができる。これによりファンスタック壁面に付着した水が、冷却塔1の箱体5内に落下することを防止することが可能となり、ファンスタック壁面に付着した水滴を飛散させることなく回収することができる。
また、排水管59の先端部をエリミネータ27と充填材25との間に配設することで、冷却塔に戻した水は、たとえ水滴となってもエリミネータ27で除去されるため、水滴の飛散量を抑制することができる。さらに、吸水体としてポリビニルアルコール樹脂を使用することができるので、吸水性に優れ安価である。また吸水体は接着剤で簡単に貼付することが可能なので、施工が容易で低コストで液滴の飛散を防止することができる。
上記にように本発明の実施形態では、ファンスタック3の内周面を、濡れ性に優れた材料で形成し、ファンスタック円錐体18およびファンスタック支持体20に吸水体54,55を配設することでファンスタック内周面に付着した水滴を飛散させることなく回収した。ファンススタックの内周面を水分に対して濡れ性に優れた材料で形成すること、ファンスタック円錐体18、ファンスタック支持体20に吸水体を配設することのうち、少なくともどちらか一方を選択的に用いることで水滴の飛散を防止することはもちろん可能であるが、両方を同時に実施することで水滴飛散の防止効果はより高くなる。
図4は、本発明の図1の送風機支持架台13に吸水体を貼付した状態を示す斜視図である。図5は、本発明の図1の送風機支持架台13および送風機支持架台を支持する架台支持体16に吸水体を貼付した状態を示す斜視図である。送風機2の減速機9は、減速機本体11の下部に減速機固定用ベース12を備え、減速機9を支持する送風機支持架台13にボルトで固定される。送風機支持体である送風機支持架台13は、送風機支持架台本体14と送風機支持架台本体14に接続する送風機支持架台脚体15を含み構成され、送風機支持架台脚体15は送風機支持架台を固定するする架台支持体16に固定される。
送風機支持架台13は、送風機支持架台13に付着する水滴を吸水するための第二吸水体を備える。第二吸水体とは、送風機支持架台13が備える吸水体を言う。送風機支持架台本体14は、大きさが300×90のC型鋼で、減速機本体11を中心に十字型に配設される。送風機支持架台本体14は、十字の各方向におのおの2本のC型鋼が配設され、ファンスタック支持体20の壁面近傍で別のC型鋼で連結される。送風機支持架台本体14を構成するC型鋼71,72,73,74,75,76,77および78は、上面部に吸水可能な吸水体81,82,83,84,85,86,87および88を備える。これら吸水体は接着剤を介して送風機支持架台本体14を構成するC型鋼の上面部に貼付される。
また送風機支持架台本体14を構成する各C型鋼の下面部には、上面部と同様に吸水体が貼付される。C型鋼72の下面部は吸水体92を、C型鋼74の下面部は吸水体94を、C型鋼75の下面部は吸水体95を、C型鋼76の下面部は吸水体96を備える。送風機支持架台本体14を構成する他のC型鋼も同様である。さらに送風機支持架台本体14を構成するC型鋼は、C型鋼に貼付された上下の吸水体と当接する吸水体を備える。吸水体101,102,105,106および107は、それぞれのC型鋼71,72,75,76および77に貼付された吸水体で、各C型鋼の上面部と下面部とにおのおの貼付された吸水体と密接する。
他の送風機支持架台本体14を構成するC型鋼についても同様である。送風機支持架台本体14を構成するC型鋼76に貼付される吸水体のうち、上面部と下面部とに貼付される吸水体86,96は、C型鋼の上面部および下面部全体に貼付される。一方、上面部と下面部とに貼付される吸水体86,96と密接する吸水体106は、短冊状でC型鋼のほぼ中央に貼付される。送風機支持架台本体14を構成する他のC型鋼も同様である。
図6は、本発明の図4のVI−VI線を含む垂直な仮想平面で切断した断面図である。C型鋼76の上面部に貼付する吸水体86は、C型鋼76の辺76bおよび立部76aに接着剤を介してすきまなく貼付される。吸水体86の先端部86cは、C型鋼の辺76bの裏面に廻りこむように貼付し、C型鋼の辺76bの側面に対してもすきまなく吸水体86bを貼付する。C型鋼の辺76bの上面部に貼付した吸水体86aの端は、C型鋼の立部76aで吸水体106と密接させる。C型鋼76の下面部に貼付する吸水体96も上面部に貼付する吸水体86と同様に、C型鋼の辺76cの裏面に先端96cを貼付し、C型鋼の辺76cの側面、下面および立部76aにそれぞれ96b,96a,96dをすきまなく貼付し、吸水体106と一端を密接させる。
本発明の実施形態では、送風機支持架台本体14を構成するC型鋼に配設する吸水体は、ファンスタック支持体20に配設する吸水体と同じものを使用した。C型鋼の上面部と下面部に配設する吸水体と密接する吸水体は、上面部に配設された吸水体が吸収した水を下面部に移動させるためのものであるので、配設する吸水体の量は上面部の吸水体が吸収する水の量、上面部の吸水体中の水の移動速度、および下面部に配設する吸水体の水の排出速度から決定する。上面部の吸水体が吸収する水が多い場合には、上面部と下面部の吸水体と密接する吸水体は、一つのC型鋼に数ヵ所貼付するなど配設する量を増加させる必要がある。またC型鋼の上面部と下面部に配設される吸水体と密接する吸水体は、上面部に配設された吸水体が吸収した水を下面部に移動させるためのものであるので、上面部に配設した吸水体と下面に配設した吸水体とすきまなく接続することが必要である。
以上のように送風機支持体である送風機支持架台13は吸水体を備えるため、空気に同伴する水滴を吸収することができる。また送風機支持架台13で冷却され結露する水分を吸収することが可能となり、流通する空気中に落下する水滴の量が少なくなり、水滴の飛散を防止することができる。また上面部に配設した吸水体と下面部に配設した吸水体と密接する吸水体を備えるので、送風機支持架台13の上面部に配設した吸水体が吸水する水を、下面部の吸水体に移動させることができる。またC型鋼の裏にも廻り込むように吸水体を配設するので、吸水体に吸収した水が吸水体から落下しにくくなる。本発明の実施形態においては、送風機支持架台13を構成するC型鋼全体に吸水体を配設したけれども、一部のC型鋼のみであっても水滴の飛散を抑制することは可能である。さらにC型鋼の下面にのみ吸収体を配設してもよい。
送風機支持架台本体14は、図4、図5に示すようにC型鋼のほか補強用の山形鋼を備える。C型鋼75とC型鋼76との下部には、両C型鋼と接続する補強用の山形鋼110が備えられる。他のC型鋼たとえばC型鋼71とC型鋼72あるいはC型鋼73とC型鋼74においても、同様に補強用の山形鋼が備えられる。山形鋼110は上面が水平になるように設けられ、上面部および側面にも吸水体を接着剤を介して貼付する。側面部に貼付する吸水体は側面部の裏にも折り返して貼付する。送風機支持架台本体14を構成するC型鋼を補強する山形鋼110も、吸水体を備えるので、送風機支持架体と同様山形鋼に付着する水滴を落下させることなく吸収することができる。
送風機支持架台本体14は、送風機支持架台脚体15を介してコンクリート製の架台支持体16に固定される。架台支持体16は、第二排水手段である吸水体121,122,123を備える。架台支持体16の上部には、C型鋼72の下面部に貼付した吸水体92と当接するように設けられる吸水体121を備える。また架台支持体16の側面には吸水体121に密接するように、吸水体122を貼付し、吸水体122は一端を架台支持体16の下部に貼付した吸水体123に密接させる。架台支持体16の下部に貼付された吸水体123は、先端を図示を省略した吸気用ダクトに接続する。吸水体121,122および123の貼付は、♯60のサンドペーパでコンクリート表面の汚れなどを除去した後、接着剤を架台支持体16に塗布し吸水体121,122,123を貼付した。
図7は、本発明の図5のVII−VII線を含む垂直な仮想平面で切断した断面図である。架台支持体16はコンクリートで形成され、下部に接着剤を介して貼付された吸水体123aは、両端部123b,123cを折り曲げられ架台支持体16の側面に貼付される。架台支持体16の下部に貼付する吸水体123の両端部123b,123cを折り曲げて側面部に貼付するので、吸水体123が吸収した水が垂れ落ちにくくなる。さらに架台支持体16の側壁を流下する水滴を吸水体123b,123cで吸収することができる。
以上のように送風機支持架台本体14を構成するC型鋼72の下面部に貼付した吸水体92に密接するように、架台支持体16の上部に吸水体121を備えるので、送風機支持架台本体14で回収した水を架台支持体16側に移動させることが可能となる。また送風機支持架台本体14で回収した水、および架台支持体16で回収した水は吸水体122および123を通じて、吸気用ダクトに移動するので、水が再度流通する空気に混入することがなく、水の飛散を防止することができる。本発明の実施形態では、吸水体を接着剤を用いて貼付したけれども、他の固着手段たとえば針金、あるいは粘着テープなどで固着してもよいことはもちろんである。
本発明の実施の一形態として、強制通風冷却塔1を例として説明したけれども、本発明はこれに限定されるものではなく、液滴の飛散を伴うスプレー塔、吸収塔あるいは液柱塔を始めとする塔槽類に使用できることは言うまでもない。また液滴も水に限定されるものではなく、液滴を含む混合気体が流通する通路の内周面を、親水性の材料で形成することで、水のほか他の成分を含む水溶液またはスラリー水溶液にも使用することができる。さらに液滴が油性であれば、液滴を含む混合気体が流通する通路の内周面を、親油性とすることで液滴の飛散を防止することができる。
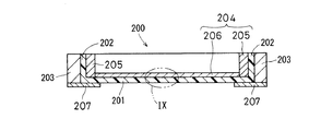
図8は、本発明の他の実施形態としての液滴の飛散量を測定する液滴飛散量測定装置200の断面図である。また図9は、本発明の図8のIX部の拡大図である。液滴飛散量測定装置200は、水滴を吸収する吸水体201,202と、吸水体201,202を着脱可能に支持する外枠支持体203および中枠支持体204を含み構成する。中枠支持体204は枠体205および底板206を含み構成し、底板206は枠体205に固着させる。また外枠支持体203は、下部の角に吸水体201,202が抜け落ちることを防止するための止め具207を備える。中枠支持体の底板206は、飛散する液滴量を測定するときに吸水体201が変形しないように、吸水体201を支持するものである。よって吸水体201,202を変形することなく支持可能であれば、底板206はスリット、開口部を備えていてもよい。また金網であってもよい。吸水体201,202は横断面が略正方形の形状で、外枠支持体203と中枠支持体204とが吸水体201の端部202を挟みこむことで、吸水体201,202は固定される。
吸水体201は、水滴を吸収する吸水性高分子材料を含む吸水シート201aと吸水性シート201aの両面におのおの当接するように配設される不織布201b,201cとを含み構成される。本発明では吸水性シート201aには、吸水性ポリマの一種であるポリアクリル酸ソーダを成分とする吸水性シートを使用した。本発明で使用した吸水性シートは、乾燥状態で約0.7〜1mmの厚さであり、吸水すると2〜3mm程度となる。吸水性シートは衛生ナプキンや紙オムツなどに多く使用されており、吸水材料してはポリアクリル酸やアクリル酸共重合体のほか、ポリビニルアルコール、でんぷんを成分とする吸水材料も市販されている。液滴飛散量測定装置200に使用する吸水シート201aは、本発明で使用したポリアクリル酸ソーダを成分とする吸水性シートに限定されるものではなく、水を十分に吸収し、一度吸収した水を逃がさない機能を備えるものであれば、他の吸水材料を成分とするものであってもよいことはもちろんである。
吸水シート201aに接するように配設する不織布201b,201cは、吸水シート201aを保護する吸水シート保護体であるので、水滴を通し吸水シートの破損を防止する機能を備えるものであれば、織物あるいはフェルトであってもよい。本発明の吸水体201,202を支持する外枠支持体203は略正方形で、内寸法は一辺の長さが約300mmであるが、外枠支持体203の形状および大きさは、液滴飛散量測定装置200の使用先によって決定すればよく、上記の形状、大きさに限定されるものではない。
液滴飛散量測定装置200を用いて、飛散する液滴の飛散量を測定する要領を、冷却塔1のファンスタック3から飛散する水滴の飛散量を測定する場合を例として説明する。乾燥した状態の吸水体201,202の重量W1を計測した後、外枠支持体203と中枠支持体204とで吸水体201,202を固定する。吸水体201,202の固定は、中枠支持体204の底板206を上向きとして置き、その上に吸水体201,202を広げ、その上から外枠支持体203を嵌め込むように押し込むことで行なう。液滴の飛散量を測定するときは、中枠支持体204の底板206が下向きとなるようにして使用する。吸水体201,202を固定した状態で、外枠支持体203で囲まれた吸水体201面積Aを計測する。吸水体の端部202の部分は、水滴の吸収に直接関係しないため、必ずしも面積を計測する必要はない。
吸水体201,202を固定した後の液滴飛散量測定装置200は、水滴の飛散量を測定する直前まで、プラスチックの容器などに入れ吸水しないように密閉しておく。水滴の飛散量を測定する直前に、液滴飛散量測定装置200の密閉状態を解除し、外枠支持体203に設けた止め具207が、下向きとなるようにしてファンスタック3の先端部に設置する。外枠支持体203に設けた止め具207が、下向きとなるようにしてファンスタック3の先端部に設置するので、吸水体201,202および中枠支持体204が、落下することはない。
液滴飛散量測定装置200は、できるだけファンスタック3先端部に近い位置に設置し液滴の飛散量を測定することが望ましい。ファンスタック3の出口から離れるに従い水滴は、ファンスタック3の半径方向に広がったり、あるいは風の影響を受けて偏ったりするため、測定誤差が大きくなる。また液滴飛散量測定装置200は、空気の排出方向に対して略垂直に設置することが望ましい。空気の排出方向に対して液滴飛散量測定装置200の傾きが大きいほど、投影面積は減少し測定誤差が大きくなる。
混合気体に含まれる水滴を吸水体201に予め定める時間吸収させ、水滴を吸収させる操作を終了する。水滴を吸収させる操作が終了した後、吸水体201,202を外枠支持体203、中枠支持体204から外し重量W2を測定する。水滴を吸収させる時間は、水滴の飛散量、吸水体201の大きさを考慮し決定する。飛散する水滴の量が少ない場合において、水滴を吸収させる時間が短いと水滴の吸収量が少なく、水滴吸収前後の吸水体の重量差(W2−W1)が小さく、重量誤差が大きくなり精度が低下する。一方飛散量が非常に多い場合に長時間水滴を吸収させると、吸水体201の吸収能力を超え誤差が大きくなる。また液滴飛散量測定装置200の重量が大きくなり操作性も悪化する。
冷却塔のファンスタックの排出口が大きい場合は、液滴飛散量測定装置200を各所に設置し、各所毎に水滴の飛散量を測定することが望ましい。排出口を区分けし、区分けしたすべての場所で水滴の飛散量を測定することが望ましいが、ファンスタックの横断面形状が本発明のように円形の場合は、壁面の1点と円の中心点とを結んだ直線上において、壁面から中心点に向かって各所でおのおの水滴の飛散量を測定し、これを代表値とすることもできる。また水滴の飛散量は常時一定とは限らないため、同じ場所で数回水滴の飛散量の測定を行なうことがさらに望ましい。
以上のように、水滴飛散量の測定は各場所で測定したりあるいは同じ場所で数回行なうことが望ましいので、吸水体201,202の取替えは容易であることが望まれる。本発明で使用した液滴飛散量測定装置200の吸水体201,202の固定方法は、外枠支持体203と中枠支持体204との間に吸水体201,202を挟み込み固定する方法であるので、吸水体201,202の取替えは容易に行なうことができる。
水滴の飛散量は、水滴吸収前後の吸水体201,202の重量差(W2−W1)を水滴を吸収させた時間で除算することで、単位時間当たりの水滴飛散量として表すことがきる。さらに外枠支持体203で囲われた吸水体201の面積Aで除算することで、単位時間、単位面積当たりの水滴飛散量として表すことができる。
図10は、本発明の図1の強制通風冷却塔1のファンスタック3先端部でのガス風速分布の測定結果を示すグラフである。図11は、本発明の図1の強制通風冷却塔1のファンスタック3先端部からの飛散する水滴の飛散量を、本発明の図8の液滴飛散量測定装置200を用いて実測した結果を示すグラフである。図10中の線L−1およびL−2は、本発明の実施例のガス流速の測定結果を表し、線L−3およびL−4は、比較例のガス流速の測定結果を表す。
図10に示す本発明の実施例では、ファンスタック円筒体17およびファンスタック円錐体18の内周面全体に酸化チタンを含む塗膜を塗布した。またファンスタック円錐体18とファンスタック支持体20との境界にポリビニルアルコール樹脂性の吸水体54を貼付し、この吸水体54に一端56が接触するように吸水体55をファンスタック支持体20に貼付し、吸水体55の他端57を樋58と接続した。さらに送風機支持架台本体14の上面部、下面部にポリビニルアルコール樹脂性の吸水体を貼付し、これら吸水体が吸収した水分を吸気用ダクトに導くように送風機支持架台本体14および架台支持体16に吸水体を配設した。比較例で使用した強制通風冷却塔は、本発明の図1の強制通風冷却塔1と同一の型式、同一の仕様の冷却塔であるが、ファンスタックの内周面への酸化チタンを含む塗膜、およびファンスタック3あるいは送風機支持架台13などは吸水体を備えていない。
図1の強制通風冷却塔1のファンスタック円筒体17の直径は約6mで、送風機の定格送風能力は231m3・s-1(13880m3/min)であり、平均空塔速度は約8m・s−1である。また冷却水の量は約0.31m3・s−1(1110m3/h)である。図10に示すようにファンスタックの先端部で実測したガス流速は、ファンスタック外周近傍で8〜9m・s−1であり、中心に向かって増加しファンスタック外周からの距離が約0.8mの場所で約10.5m・s−1と最大であった。ファンスタック外周からの距離が約0.8mで最大となったガス流速は、中心部に向かって減少しファンスタック外周からの距離が約1.8mの地点で4.0〜5.5m・s−1であった。
図10中の実測値を結んだ線L−1、線L−2は本発明の図1の強制通風冷却塔1でのガス流速分布の実測値を、線L−3およびL−4は、比較例として本発明の図1の強制通風冷却塔と同じ型式の強制通風冷却塔のガス流速分布の実測値を示したものである。ガス流速分布は測定した年度により多少の違いがあるが、本発明の実施例と比較例とではほぼ同じである。これにより本発明の実施例の強制通風冷却塔1は、比較例の強制通風冷却塔と比較し、圧力損失が上昇していないことが伺える。
図11の液滴飛散量の実測値は、一辺が約0.3mの略正方形の吸水体201,202を備える液滴飛散量測定装置200を、ファンスタック先端部に約30秒間設置し測定したものである。本発明の実施例L−11において、水滴の飛散量はファンスタック外周面からの距離が0.6m〜1.2mの範囲で、2〜2.4gであった。これを単位時間、単位面積当たりの値とすると、0.74〜0.89g・m−2・s−1となる。本発明の実施例において、ファンスタック外周面からの距離0.3m、1.5mおよび1.8mの地点では、水滴の飛散量は0.5〜0.9gであり、最大飛散量の50%以下であった。本発明の実施例における液滴の飛散量の分布をガス流速との関連づけると、ガス流速の早い地点ほど水滴の飛散量が多くなっている。
比較例L−12では、ファンスタック外周面からの距離が1.2mの地点で水滴の飛散量が最大となり、水滴の飛散量は約6gであった。比較例においても本発明の実施例で用いた液滴飛散量測定装置200を用いて、水滴の飛散量を実測した。本発明の実施例と比較例の水滴飛散量の最大値を比較すると、本発明の実施例の最大水滴飛散量は比較例の最大水滴飛散量の約40%となる。またファンスタック外周面からの距離0.3〜1.8mの範囲内の水滴の飛散量の平均値は、本発明の実施例で約1.6g、比較例で約4.0gとなり、本発明の実施例の水滴の飛散量の平均値は比較例の水滴の飛散量の平均値の約40%であった。以上のようには本発明の実施例は比較例と比べて、水滴の飛散量が大幅に低減していることがわかる。
以上にように、本発明の液滴飛散量測定方法は、吸水性高分子材料を含む吸水体を、該通路の下流側の略先端に混合気体の排出方向に対して略垂直に配置し、混合気体に含まれる液滴を吸水するため、確実に飛散する液滴を吸収することができる。また吸水体は吸水性高分子材料を含むので、一度吸水体に吸収した水は蒸発することがなく、確実に飛散する液体を捕集することができる。吸水体を混合気体の排出方向に対して略垂直に配置し飛散する水滴を捕集するため、吸水体の面積と液滴が飛散する面積はほぼ等しく、液滴の飛散量の測定誤差が少なくなる。さらに混合気体が流通する通路の下流側先端付近に吸水体を配置し、液滴の飛散量を測定するので、飛散する液滴が大気中に広がる前に捕集することが可能となり、液滴の飛散量を精度よく測定することができる。
また本発明の液滴飛散量測定装置は、吸水性高分子材料を含む吸水シートを備えるので、飛散する液滴を確実に捕集することが可能であり、一度吸水した水を逃がすことがない。また吸水体を着脱可能に支持する支持枠体とを備えるので、吸水体の着脱を行なうことが可能となり、液滴飛散量測定装置は、吸水体を交換することで繰返し使用することができる。さらに吸水体は支持枠体に支持されるので、液滴を含む混合気体に対して液滴飛散量測定装置を略垂直に設置しても、吸水体が液滴を含む混合気体から風圧を受けて変形したり破損することはない。
1 強制通風冷却塔
2 送風機
3 ファンスタック
4 散水部
5 箱体
6 気液接触室
7 水槽
13 送風機支持架台
17 ファンスタック円筒体
18 ファンスタック円錐体
20 ファンスタック支持体
50,51 塗膜
54,55,56,57 第一吸水体
58 樋
59 排水管
61,63 液滴
81〜88,92,94〜97,101,102,105〜107,110 第二吸水体
121〜123 吸水体
200 液滴飛散量測定装置
201 吸水体
201a 吸水シート
201b,201c 不織布
203 外枠支持体
204 中枠支持体
2 送風機
3 ファンスタック
4 散水部
5 箱体
6 気液接触室
7 水槽
13 送風機支持架台
17 ファンスタック円筒体
18 ファンスタック円錐体
20 ファンスタック支持体
50,51 塗膜
54,55,56,57 第一吸水体
58 樋
59 排水管
61,63 液滴
81〜88,92,94〜97,101,102,105〜107,110 第二吸水体
121〜123 吸水体
200 液滴飛散量測定装置
201 吸水体
201a 吸水シート
201b,201c 不織布
203 外枠支持体
204 中枠支持体
Claims (12)
- 液滴を含む混合気体が上方に向けて圧送される通路があって、該通路の少なくとも一部の内周面は、該液滴との濡れ性に優れた材料からなることを特徴とする液滴の飛散防止方法。
- 前記液滴は水溶性の液滴であり、前記濡れ性に優れた材料は、親水性の材料であることを特徴とする請求項1に記載の液滴の飛散防止方法。
- 前記親水性の材料は、親水性成分を含む塗膜を被覆してなる材料であることを特徴とする請求項2に記載の液滴の飛散防止方法。
- 前記親水性成分は、酸化チタンであることを特徴とする請求項3に記載の液滴の飛散防止方法。
- 前記液滴は水溶性の液体であり、前記通路の下部に吸水可能な吸水体を配設し、前記通路の内周面に付着し、内周面を流下する水溶性の液体を該吸水体に吸収させるとともに、該水溶性の液体を該吸水体内部において移動させることを特徴とする請求項1〜4のいずれか1つに記載の液滴の飛散防止方法。
- 前記吸水体は、ポリビニルアルコール樹脂であることを特徴とする請求項5に記載の液滴の飛散防止方法。
- 水と空気を直接接触させ水の蒸発を利用し水を冷却する強制通風冷却塔において、
該強制通風冷却塔の外部より空気を取入れ該空気を上方に圧送する送風機と、
該送風機を支持する送風機支持体と、
該送風機の上流側に位置し、空気と接触する水を下方に向かって散水する散水手段と、
該送風機が取入れる空気と散水する水が接触する気液接触室を形成する箱体と、
該空気と接触し温度を低下させた水を貯水する水槽と、
該散水手段の上部に位置し、散水する水と接触した空気が流通する筒状体と、
を含み、該筒状体の内周面の少なくとも一部は親水性の材料であることを特徴とする強制通風冷却塔。 - 前記親水性の材料は、酸化チタンを含む塗膜を被覆してなる材料であることを特徴とする請求項7に記載の強制通風冷却塔。
- 前記親水性材料からなる筒状体の下部に配設する吸水可能な第一吸水体と、
該第一吸水体に接続し該第一吸水体が吸収した水を排水する第一排水手段と、
を含むことを特徴とする請求項7または8に記載の強制通風冷却塔。 - 前記送風機支持体の少なくとも一部に配設する吸水可能な第二吸水体と、
該第二吸水体に接続し該第二吸水体が吸収した水を排水する第二排水手段と、
を含むことを特徴とする請求項7〜9のいずれか1つに記載の強制通風冷却塔。 - 液滴を含む混合気体が上方に向けて圧送される通路があり、該通路の下流側の先端から該通路の外に飛散する液滴の飛散量を測定する液滴飛散量測定方法であって、
吸水性高分子材料を含む吸水体を、該通路の下流側の略先端に混合気体の排出方向に対して略垂直に配置し、
混合気体に含まれる液滴を予め定める時間、該吸水体で捕集し、
液滴を捕集する前の該吸水体の重量W1と液滴を捕集した後の該吸水体の重量W2とを測定し、
液滴の捕集前後の該吸水体の重量差(W2−W1)から液滴飛散量を測定することを特徴とする液滴の飛散量測定方法。 - 吸水性高分子材料を含む吸水シートおよび該吸水シートの両面に配設され該吸水シートを保護する通水可能な吸水シート保護体を含む吸水体と、
該吸水体を着脱可能に支持する支持枠体と、
を含むことを特徴とする液滴飛散量測定装置。
Priority Applications (1)
| Application Number | Priority Date | Filing Date | Title |
|---|---|---|---|
| JP2004110216A JP2005291658A (ja) | 2004-04-02 | 2004-04-02 | 液滴の飛散防止方法、強制通風冷却塔、液滴の飛散量測定方法および液滴飛散量測定装置 |
Applications Claiming Priority (1)
| Application Number | Priority Date | Filing Date | Title |
|---|---|---|---|
| JP2004110216A JP2005291658A (ja) | 2004-04-02 | 2004-04-02 | 液滴の飛散防止方法、強制通風冷却塔、液滴の飛散量測定方法および液滴飛散量測定装置 |
Publications (1)
| Publication Number | Publication Date |
|---|---|
| JP2005291658A true JP2005291658A (ja) | 2005-10-20 |
Family
ID=35324777
Family Applications (1)
| Application Number | Title | Priority Date | Filing Date |
|---|---|---|---|
| JP2004110216A Pending JP2005291658A (ja) | 2004-04-02 | 2004-04-02 | 液滴の飛散防止方法、強制通風冷却塔、液滴の飛散量測定方法および液滴飛散量測定装置 |
Country Status (1)
| Country | Link |
|---|---|
| JP (1) | JP2005291658A (ja) |
Cited By (1)
| Publication number | Priority date | Publication date | Assignee | Title |
|---|---|---|---|---|
| CN116391103A (zh) * | 2020-10-13 | 2023-07-04 | 栗田工业株式会社 | 循环冷却水的处理方法及冷却性能提高方法 |
Citations (8)
| Publication number | Priority date | Publication date | Assignee | Title |
|---|---|---|---|---|
| JPS5161043A (en) * | 1974-11-25 | 1976-05-27 | Mitsubishi Plastics Ind | Totainaimenni shinsuishorioshita reikyakuto |
| JPS6317326A (ja) * | 1986-07-09 | 1988-01-25 | Mitsubishi Electric Corp | 空気調和機のドレン揚排水処理装置 |
| JPH0492184U (ja) * | 1990-12-26 | 1992-08-11 | ||
| JPH06134910A (ja) * | 1992-10-28 | 1994-05-17 | Toyo Ink Mfg Co Ltd | 水崩壊性不織布およびその積層物 |
| JPH10220972A (ja) * | 1997-02-04 | 1998-08-21 | Shinko Pantec Co Ltd | 冷却塔およびその集水装置 |
| JP2000186862A (ja) * | 1998-12-19 | 2000-07-04 | Takashi Takahashi | 熱交換装置 |
| JP2003090892A (ja) * | 2001-07-13 | 2003-03-28 | Toshiba Corp | 蒸気乾燥器、熱交換器、発熱体被覆管および伝熱システム |
| JP2004036962A (ja) * | 2002-07-02 | 2004-02-05 | Ebara Refrigeration Equipment & Systems Co Ltd | 流下液膜式熱交換器 |
-
2004
- 2004-04-02 JP JP2004110216A patent/JP2005291658A/ja active Pending
Patent Citations (8)
| Publication number | Priority date | Publication date | Assignee | Title |
|---|---|---|---|---|
| JPS5161043A (en) * | 1974-11-25 | 1976-05-27 | Mitsubishi Plastics Ind | Totainaimenni shinsuishorioshita reikyakuto |
| JPS6317326A (ja) * | 1986-07-09 | 1988-01-25 | Mitsubishi Electric Corp | 空気調和機のドレン揚排水処理装置 |
| JPH0492184U (ja) * | 1990-12-26 | 1992-08-11 | ||
| JPH06134910A (ja) * | 1992-10-28 | 1994-05-17 | Toyo Ink Mfg Co Ltd | 水崩壊性不織布およびその積層物 |
| JPH10220972A (ja) * | 1997-02-04 | 1998-08-21 | Shinko Pantec Co Ltd | 冷却塔およびその集水装置 |
| JP2000186862A (ja) * | 1998-12-19 | 2000-07-04 | Takashi Takahashi | 熱交換装置 |
| JP2003090892A (ja) * | 2001-07-13 | 2003-03-28 | Toshiba Corp | 蒸気乾燥器、熱交換器、発熱体被覆管および伝熱システム |
| JP2004036962A (ja) * | 2002-07-02 | 2004-02-05 | Ebara Refrigeration Equipment & Systems Co Ltd | 流下液膜式熱交換器 |
Cited By (3)
| Publication number | Priority date | Publication date | Assignee | Title |
|---|---|---|---|---|
| CN116391103A (zh) * | 2020-10-13 | 2023-07-04 | 栗田工业株式会社 | 循环冷却水的处理方法及冷却性能提高方法 |
| CN116391103B (zh) * | 2020-10-13 | 2024-03-01 | 栗田工业株式会社 | 循环冷却水的处理方法及冷却性能提高方法 |
| US12332002B2 (en) | 2020-10-13 | 2025-06-17 | Kurita Water Industries Ltd. | Circulating cooling water treatment method and cooling performance |
Similar Documents
| Publication | Publication Date | Title |
|---|---|---|
| CN106958883B (zh) | 加湿净化装置 | |
| JP5633938B2 (ja) | 直接強制通風冷却器/冷却塔及びそのための集液器 | |
| US5620503A (en) | Humidifier and method for humidifying air | |
| US8196908B2 (en) | Counter flow type of cooling tower | |
| CN205730730U (zh) | 一种多管文丘里装置 | |
| KR101313564B1 (ko) | 조류 저항성 에지 코팅 및 이를 제조하는 방법 | |
| JP3556730B2 (ja) | エレベータ空気調和機 | |
| JP5276074B2 (ja) | ハイブリット噴霧システム。 | |
| JP2005291658A (ja) | 液滴の飛散防止方法、強制通風冷却塔、液滴の飛散量測定方法および液滴飛散量測定装置 | |
| CN203525501U (zh) | 折板式除雾器 | |
| CN206131340U (zh) | 环保型空调冷凝水超声波雾化节能器 | |
| CN108554085A (zh) | 一种清除pm2.5实现室内外空气净化对流的空气净化方法及其净化装置 | |
| CN217058504U (zh) | 用于冷却塔的碟盘溅水喷头 | |
| CN207635585U (zh) | 空调冷凝水回收装置 | |
| JP4642559B2 (ja) | 不純物除去装置 | |
| CN218687781U (zh) | 高效多级旋流臭气净化器 | |
| JP4905926B2 (ja) | 二室型湿式排煙脱硫装置 | |
| CN207907385U (zh) | 一种工业空调滤尘装置 | |
| CN102210956B (zh) | 消热除尘装置 | |
| CN205269246U (zh) | 一种双面粘覆玻璃纤维布的折流板叶片机械除雾装置 | |
| JP3371043B2 (ja) | 噴霧式加湿器用エリミネータ | |
| CN219764953U (zh) | 一种高效脱硫塔 | |
| CN110449009A (zh) | 一种废气处理用的喷淋塔 | |
| CN214715014U (zh) | 一种具有除雾功能的烟气脱硫集液器装置 | |
| CN218077234U (zh) | 一种立式喷淋塔 |
Legal Events
| Date | Code | Title | Description |
|---|---|---|---|
| A621 | Written request for application examination |
Free format text: JAPANESE INTERMEDIATE CODE: A621 Effective date: 20051219 |
|
| A977 | Report on retrieval |
Free format text: JAPANESE INTERMEDIATE CODE: A971007 Effective date: 20080319 |
|
| A131 | Notification of reasons for refusal |
Free format text: JAPANESE INTERMEDIATE CODE: A131 Effective date: 20080401 |
|
| A02 | Decision of refusal |
Free format text: JAPANESE INTERMEDIATE CODE: A02 Effective date: 20080729 |