JP2005291400A - 真空断熱材の製造方法及び断熱容体の製造方法 - Google Patents

真空断熱材の製造方法及び断熱容体の製造方法 Download PDF

Info

Publication number
JP2005291400A
JP2005291400A JP2004108344A JP2004108344A JP2005291400A JP 2005291400 A JP2005291400 A JP 2005291400A JP 2004108344 A JP2004108344 A JP 2004108344A JP 2004108344 A JP2004108344 A JP 2004108344A JP 2005291400 A JP2005291400 A JP 2005291400A
Authority
JP
Japan
Prior art keywords
plate body
heat insulating
vacuum heat
vacuum
fitting
Prior art date
Legal status (The legal status is an assumption and is not a legal conclusion. Google has not performed a legal analysis and makes no representation as to the accuracy of the status listed.)
Pending
Application number
JP2004108344A
Other languages
English (en)
Inventor
Shuichi Shibuki
収一 澁木
Current Assignee (The listed assignees may be inaccurate. Google has not performed a legal analysis and makes no representation or warranty as to the accuracy of the list.)
Seven Seven Co Ltd
Original Assignee
Seven Seven Co Ltd
Priority date (The priority date is an assumption and is not a legal conclusion. Google has not performed a legal analysis and makes no representation as to the accuracy of the date listed.)
Filing date
Publication date
Application filed by Seven Seven Co Ltd filed Critical Seven Seven Co Ltd
Priority to JP2004108344A priority Critical patent/JP2005291400A/ja
Publication of JP2005291400A publication Critical patent/JP2005291400A/ja
Pending legal-status Critical Current

Links

Images

Landscapes

  • Thermal Insulation (AREA)
  • Thermally Insulated Containers For Foods (AREA)

Abstract

【課題】 本発明は、従来にない作用効果を発揮する画期的な真空断熱材の製造方法及び断熱容体の製造方法を提供することを目的とする。
【解決手段】 外板体1と内板体2とで構成され、両者の間に真空加熱処理により作出される真空層3が設けられた板状の真空断熱材の製造方法であって、前記内板体2の周縁部には立ち上がり部2aが設けられ、また、この立ち上がり部2aを嵌入する嵌入凹部1aが外板体1の周縁部に設けられ、内板体2と外板体1とを重合して前記嵌入凹部1aに前記立ち上がり部2aを嵌入させ、該立ち上がり部2aと嵌入凹部1aとの嵌合部7にロウ材9を配設して真空加熱処理をし、前記嵌合部7から脱気して外板体1と内板体2との間を真空にするとともに、溶融したロウ材9で前記嵌合部7を閉塞する真空断熱材の製造方法である。
【選択図】 図1

Description

本発明は、真空断熱材の製造方法及び断熱容体の製造方法に関するものである。
従来から、水筒やポットなどの断熱容体の周壁構造として、外壁と内壁との間に真空層を形成した真空二重断熱構造が一般的とされているが、この外壁と内壁との間を真空にすることで生じる大気圧の影響を考慮して、これらの真空二重断熱構造の周壁を有する容体は専ら円筒状とされている。
即ち、図8に図示したように円筒状の容体20とした場合には、大気圧(図8中の矢印P)を容体20を構成する周壁全体で支持することができる為、外壁21が凹んで内壁22とくっついてしまうようなことはないが、図9に図示したように角筒状の容体30とした場合には、大気圧(図9中の矢印P)を容体30を構成する各周壁が単独で支持することになる為、この各周壁を構成する外壁31の中央部が内側に凹んで内壁32とくっついてしまい(大気圧を平面で支持する形状だと凹み易い。)、見た目が悪くて商品としての価値がなくなるのは勿論、断熱構造としては致命的となるからである。
ところが、角筒状の容体は、円筒状の容体に比して容積効率(容体自体を他の収納空間へ収納する際の収納効率及び容体内に液体などを収納する際の収納効率)が良いという面があり、よって、真空二重断熱構造の壁部を具備した角筒状の容体を得たいという要望もある。
そこで、本出願人は、特願2003−400701の通り、真空二重断熱構造の壁部を具備した角筒状の容体を実現し得る板状の真空断熱材を提案している(以下、従来例と言う。)。
これは、外板体と内板体とで構成され、両者の間に真空加熱処理により作出される真空層が設けられた板状のものであり、外板体と内板体とで形成される内空間に耐熱性介在物を配設せしめられたものである。
従って、従来例は、外板体と内板体との内空間に耐熱性介在物が配設されているため、内空間を真空加熱処理により真空にしても外板体と内板体とが大気圧によって内側へ凹むことが阻止されており、よって、大気圧によって変形しない板状の真空断熱材が得られることになり、この板状の真空断熱材を複数枚接合することで角筒状の容体を製造することができる。
本出願人は、この板状の真空断熱材について更なる実験・研究を重ね、その結果、製造効率が良好な真空断熱材の製造方法及び断熱容体の製造方法を開発した。
添付図面を参照して本発明の要旨を説明する。
外板体1と内板体2とで構成され、両者の間に真空加熱処理により作出される真空層3が設けられた板状の真空断熱材の製造方法であって、前記内板体2の周縁部には立ち上がり部2aが設けられ、また、この立ち上がり部2aを嵌入する嵌入凹部1aが外板体1の周縁部に設けられ、内板体2と外板体1とを重合して前記嵌入凹部1aに前記立ち上がり部2aを嵌入させ、該立ち上がり部2aと嵌入凹部1aとの嵌合部7にロウ材9を配設して真空加熱処理をし、前記嵌合部7から脱気して外板体1と内板体2との間を真空にするとともに、溶融したロウ材9で前記嵌合部7を閉塞することを特徴とする真空断熱材の製造方法に係るものである。
また、外板体1と内板体2とで構成され、両者の間に真空加熱処理により作出される真空層3が設けられた板状の真空断熱材の製造方法であって、前記外板体1の周縁部には立ち上がり部が設けられ、また、この立ち上がり部を嵌入する嵌入凹部が内板体2の周縁部に設けられ、外板体1と内板体2とを重合して前記嵌入凹部に前記立ち上がり部を嵌入させ、該立ち上がり部と嵌入凹部との嵌合部7にロウ材9を配設して真空加熱処理をし、前記嵌合部7から脱気して外板体1と内板体2との間を真空にするとともに、溶融したロウ材9で前記嵌合部7を閉塞することを特徴とする真空断熱材の製造方法に係るものである。
また、請求項1,2いずれか1項に記載の真空断熱材の製造方法において、前記外板体1と内板体2とで形成される内空間Sに前記真空加熱処理の加熱に耐え得る耐熱性介在物4が配設せしめられていることを特徴とする真空断熱材の製造方法に係るものである。
また、請求項3記載の真空断熱材の製造方法において、前記耐熱性介在物4としてセラミックから成る耐熱性介在物4を採用したことを特徴とする真空断熱材の製造方法に係るものである。
また、請求項1〜4いずれか1項に記載の真空断熱材の製造方法において、外板体1の内面または内板体2の内面のいずれか一方、若しくは双方に、銅,アルミ,銀,ニッケルなどの熱輻射材から成る熱輻射層6が形成されていることを特徴とする真空断熱材の製造方法に係るものである。
また、外板体1と内板体2とで構成され、両者の間に真空加熱処理により作出される真空層3が設けられた板状の真空断熱材5を複数接合して形成される断熱容体の製造方法であって、前記内板体2の周縁部には立ち上がり部2aが設けられ、また、この立ち上がり部2aを嵌入する嵌入凹部1aが外板体1の周縁部に設けられ、内板体2と外板体1とを重合して前記嵌入凹部1aに前記立ち上がり部2aを嵌入させ、該立ち上がり部2aと嵌入凹部1aとの嵌合部7にロウ材9を配設して真空加熱処理をし、前記嵌合部7から脱気して外板体1と内板体2との間を真空にするとともに、溶融したロウ材9で前記嵌合部7を閉塞して板状の真空断熱材5を形成し、この真空断熱材5を適宜接合することで断熱容体を製造することを特徴とする断熱容体の製造方法に係るものである。
また、外板体1と内板体2とで構成され、両者の間に真空加熱処理により作出される真空層3が設けられた板状の真空断熱材5を複数接合して形成される断熱容体の製造方法であって、前記外板体1の周縁部には立ち上がり部が設けられ、また、この立ち上がり部を嵌入する嵌入凹部が内板体2の周縁部に設けられ、外板体1と内板体2とを重合して前記嵌入凹部に前記立ち上がり部を嵌入させ、該立ち上がり部と嵌入凹部との嵌合部7にロウ材9を配設して真空加熱処理をし、前記嵌合部7から脱気して外板体1と内板体2との間を真空にするとともに、溶融したロウ材9で前記嵌合部7を閉塞して板状の真空断熱材5を形成し、この真空断熱材5を適宜接合することで断熱容体を製造することを特徴とする断熱容体の製造方法に係るものである。
また、請求項6,7いずれか1項に記載の断熱容体の製造方法において、前記外板体1と内板体2とで形成される内空間Sに前記真空加熱処理の加熱に耐え得る耐熱性介在物4が配設せしめられていることを特徴とする断熱容体の製造方法に係るものである。
また、外体11と内体12とで構成され、両者の間に真空加熱処理により作出される真空層3が設けられた真空断熱構造を有する断熱容体の製造方法であって、前記外体11の周縁部は嵌入部11aに設定され、また、前記内体12の周縁部には前記嵌入部11aが嵌入される嵌入凹部12aが設けられ、内体12と外体11とを重合して前記嵌入凹部12aに前記嵌入部11aを嵌入させ、該嵌入部11aと嵌入凹部12aとの嵌合部7にロウ材9を配設して真空加熱処理をし、前記嵌合部7から脱気して外体11と内体12との間を真空にするとともに、溶融したロウ材9で前記嵌合部7を閉塞することを特徴とする断熱容体の製造方法に係るものである。
また、外体11と内体12とで構成され、両者の間に真空加熱処理により作出される真空層3が設けられた真空断熱構造を有する断熱容体の製造方法であって、前記内体12の周縁部は嵌入部に設定され、また、前記外体11の周縁部には前記嵌入部が嵌入される嵌入凹部が設けられ、外体11と内体12とを重合して前記嵌入凹部に前記嵌入部を嵌入させ、該嵌入部と嵌入凹部との嵌合部7にロウ材9を配設して真空加熱処理をし、前記嵌合部7から脱気して外体11と内体12との間を真空にするとともに、溶融したロウ材9で前記嵌合部7を閉塞することを特徴とする断熱容体の製造方法に係るものである。
また、請求項9,10いずれか1項に記載の断熱容体の製造方法において、前記外体11と内体12とで形成される内空間Sに前記真空加熱処理の加熱に耐え得る耐熱性介在物4が配設せしめられていることを特徴とする断熱容体の製造方法に係るものである。
本発明は上述のように構成したから、真空加熱処理により得られた高断熱性を具備した板状の真空断熱材が簡易且つ確実に得られることになるなど従来にない作用効果を発揮する画期的な真空断熱材の製造方法となる。
好適と考える本発明の最良の形態を、図面に基づいて本発明の作用効果を示して簡単に説明する。
本発明は、例えば内板体2と外板体1とを重合して嵌入凹部1aに立ち上がり部2aを嵌入させ、該立ち上がり部2aと嵌入凹部1aとの嵌合部7にロウ材9を配設して真空加熱処理をし、嵌合部7から脱気して外板体1と内板体2との間を真空にするとともに、溶融したロウ材9で前記嵌合部7を閉塞することになる。
従って、溶融することで流動性を生じるため取扱いが厄介とされるロウ材9を確実に嵌入凹部1aに維持することができることになるから、立ち上がり部2aと嵌入凹部1aとの間に形成され、外板体1と内板体2との間の空気を抜くための部位として機能する嵌合部7を簡易且つ確実に閉塞することができることになり、よって、板状の真空断熱材の製造がコスト安にして量産性に秀れることになり、しかも、ロウ材が流れたりせず綺麗に仕上げることができるから板状の真空断熱材の商品価値をより一層向上することができることになる。
本発明の具体的な実施例1について図面に基づいて説明する。
本実施例は、内部に真空層3を有する板状の真空断熱材5の製造方法である。
具体的には、この板状の真空断熱材5は、外板体1と内板体2とで構成され、この外板体1と内板体2との間には耐熱性介在物4が配設され、更に、この外板体1と耐熱性介在物4との間及び内板体2と耐熱性介在物4との間には熱輻射層6が形成されている。
外板体1と内板体2は、夫々図1に図示したように適宜な金属製(ステンレス製)の部材を方形板状に形成したものであり、外板体1が内板体2に比して若干面積が大きくなるように形成されている。
内板体2は、その内面の周縁部に突片状の立ち上がり部2aが形成されたものである。
また、外板体2は、その外面の周縁部に外方に向けて突出し、湾曲して折り返された折り返し部1aが設けられたもので、この湾曲折り返し部1aにより形成される凹部は前記立ち上がり部2aが嵌入される嵌入凹部1aとなる。
よって、外板体1と内板体2との間には内板体2の立ち上がり部2aで周囲が囲まれた内空間Sが形成されるように構成されている。
この内板体2の立ち上がり壁2aと外板体1の嵌入凹部1aとの間には、外板体1と内板体2とで形成される内空間Sに後述する耐熱性介在物4を配設せしめた際、嵌合部7が形成されるように設けられており、この嵌合部7は、真空加熱処理を行う際の空気抜き部として機能する。
また、この外板体1に設けた嵌入凹部1aは、真空加熱処理を行った際、嵌入凹部1aと立ち上がり部2aとの間に配設されて溶融したロウ材9が流れ込むロウ材受け部として機能する。
尚、外板体1の周縁部に立ち上がり部を設け、内板体2の周縁部に前記立ち上がり部が嵌入される嵌入凹部を湾曲形成して設けるようにしても良い。
耐熱性介在物4は、図1に図示したようにセラミックを方形板状に形成したものである。
本実施例では、セラミックとしてイソライト工業(株)製の「イソウール(商標)1260ブランケット」を採用しており、これは1260℃までの耐熱性を有し、本実施例で使用する真空加熱炉での高温化(約1100℃までの高温状態にできる。)に耐え得るものであり、更に、真空加熱炉を構成する壁面の断熱構造にも使用されるなどそれ自体が秀れた断熱性を有している。その他にも、前記セラミック(繊維)は、軽量で柔軟であり、取り扱い性が非常に秀れている。
また、耐熱性介在物4の厚さは、該耐熱性介在物4を外板体1と内板体2との間の空間Sに配設した際、外板体1,内板体2夫々の内面に当接若しくは近接した状態となる厚さに設定される。
熱輻射層6は、図1に図示したように熱輻射材としての銅を方形シート状(箔状)に形成し、この銅箔6を、外板体1と耐熱性介在物4との間及び内板体2と耐熱性介在物4との間に配設するようにして構成されている。尚、熱輻射層6を形成する熱輻射材としては銅に限らず、例えば金、アルミ、銀、ニッケルでも良く、そして、これらの外板体1の内面と内板体2の内面に熱輻射材をメッキ処理することによって熱輻射層6を形成するようにしても良い。
以上の構成から成る板状の真空断熱材5の製造方法について説明する。
まず、図1に図示したように外板体1と内板体2夫々の内面に銅箔6を配した状態で、この外板体1と内板体2との空間Sに耐熱性介在物4を挟み込み状態で配設する。この際、真空加熱処理時に外板体1及び内板体2夫々から発生するガスを吸収するガス吸収剤8(ゲッター材)も配設しており、このガス吸収剤8としては約500℃以上の高温化になるとその機能を発揮するガス吸収剤8を採用している。
続いて、図2に図示したように嵌合部7の一部が閉塞状態となるようにロウ材9を配設する(図3は図2のA−A断面図、図4は図2のB−B断面図である。)。本実施例では約1000℃で溶融するロウ材9を採用している。従って、このロウ材9の両端部位における嵌合部7が脱気孔として機能する。
続いて、真空加熱炉によって真空加熱処理を行う。
具体的には、真空加熱炉内の温度を上昇させて約500℃に達した時点においてガス吸収剤8が作用して外板体1及び内板体2から発生するガスを吸収し、更に、空気を抜きながら温度を上昇させ、約1000℃に達した時点でロウ材9は溶融し、この溶融したロウ材9は嵌合部7に流れ込み該嵌合部7の全部を塞ぐことになる(図5,6参照)。
その後、温度を低下させてロウ材9を固化させることで嵌合部7が密閉され真空の空間Sを有する真空断熱材5となる。
前述した真空加熱炉を使用して真空度合いの高い真空加熱処理を行った際、大気圧の影響から外板体1と内板体2とが変形しようとするが、外板体1と内板体2とで形成される空間Sには真空加熱処理の加熱に耐え得る耐熱性介在物4が介在する為、外板体1と内板体2の変形が防止され、当然外板体1と内板体2とが当接してしまうのも確実に防止されることになる。
以上のようにして得られた板状の真空断熱材5は、複数組み合せ(例えば溶接)することで、水筒やポット、その他にもオーブンレンジや冷蔵庫など、壁部に断熱構造が要求される真空二重断熱容体を作出することができ、この真空断熱材5の空間Sが真空になる為、秀れた断熱効果が得られるのは勿論、耐熱性介在物4自体が耐熱性を有するセラミックであるから、特に高温化での使用に適したものとなる。
本実施例は上述のように構成したから、溶融することで流動性を生じるため取扱いが厄介とされるロウ材9を確実に嵌入凹部1aに維持することができることになるから、立ち上がり部2aと嵌入凹部1aとの間に形成され、外板体1と内板体2との間の空気を抜くための部位として機能する嵌合部7を簡易且つ確実に閉塞することができることになり、よって、板状の真空断熱材の製造がコスト安にして量産性に秀れることになり、しかも、ロウ材が流れたりせず綺麗に仕上げることができるから板状の真空断熱材の商品価値をより一層向上することができることになる。
また、本実施例は、真空度合いが非常に高い状態であるから、極めて秀れた高断熱性を具備する真空断熱材5となり、高断熱性が要求される他の製品へ広く適用できることになるなど、板状の真空断熱材5の商品価値を飛躍的に向上することができる。
この他の製品への適用例として、例えばオーブンレンジを構成する壁部に本発明で得られる真空断熱材5を適用することが好適と考えられる。
具体的には、従来から、オーブンレンジの壁部の厚みは、該壁部内に配設される断熱材の厚さで決定される為、小型軽量化等が極めて困難とされているが、本製造方法で得られる真空断熱材5は薄くても秀れた高断熱性を具備することになる為、このオーブンレンジの壁部を飛躍的に薄くして小型軽量化を達成することができるなど、他の製品に適用した場合において、断熱効果の他にも秀れた作用効果を発揮することになる。
また、本実施例は、外板体1と内板体2とで形成される空間Sを約500℃以上の高温化で真空加熱処理して真空にするものであり、この約500℃以上の高温化とは、高断熱性を達成し得る良好な真空度が得られる温度であって、約500℃以上とすることでガス吸収剤8やロウ材9が作用する温度である。
また、本実施例は、耐熱性介在物4としてセラミックから成る耐熱性介在物4を採用したから、真空加熱処理が行えることになり秀れた高断熱性を具備した板状の真空断熱材5が確実に得られることになる。
また、本実施例は、前記耐熱性介在物4を板状としたから、真空処理を行うことで変形しようとする外板体1と内板体2とを確実に支持することができ、しかも、真空断熱材5全体にわたって秀れた高断熱性が発揮されることになる。
また、本実施例は、外板体1の内面及び内板体2の内面双方に熱輻射材から成る熱輻射層6を形成したから、より一層良好な高断熱性を具備せしめることができる。
本発明の具体的な実施例2について図面に基づいて説明する。
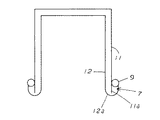
本実施例は、図7に図示したように有底角筒状の外体11と有底角筒状の内体12とで構成され、両者の間に真空加熱処理により作出される真空層3が設けられた真空断熱構造を有する断熱容体の製造方法であって、前記外体11の周縁部(上部開口周縁部)は嵌入部11aに設定され、また、前記内体12の周縁部(上部開口周縁部)には前記嵌入部11aが嵌入される嵌入凹部12aが湾曲形成して設けられ、内体12と外体11とを重合して前記嵌入凹部12aに前記嵌入部11aを嵌入させ、該嵌入部11aと嵌入凹部12aとの嵌合部7にロウ材9を配設して真空加熱処理をし、前記嵌合部7から脱気して外体11と内体12との間を真空にするとともに、溶融したロウ材9で前記嵌合部7を閉塞する断熱容体の製造方法である。
尚、内体12の周縁部(上部開口周縁部)を嵌入部に設定し、外体11の周縁部(上部開口周縁部)に前記嵌入部が嵌入される嵌入凹部を湾曲形成して設けるようにしても良い。
従って、本実施例の技術は、有底角筒状の外体11内に所定間隔を介した状態で有底角筒状の内体12を配し、この空間Sに耐熱性介在物4を配設した状態で真空加熱処理を行うことで作出した、有底角筒状の真空二重断熱容体を簡易且つ良好に得ることができる。
また、仮に円筒状の真空二重断熱容体であっても大気圧の影響を受ける場合はあり、例えば大きな鍋(断熱調理鍋)やドラムカンなどの径の大きな容体の底部分は大気圧の影響を受け易く、従来においては、この底部分を構成する板材にはリブを形成するなどの対策を施していたが製造効率が悪く、そこで、この円筒状の容体の空間Sに耐熱性介在物4を配設した状態で真空加熱処理を行うことで良好な真空断熱構造を具備した円筒状の真空二重断熱容体も簡易且つ良好に得ることができる。
その余は実施例1と同様である。
尚、本発明は、実施例1,2に限られるものではなく、各構成要件の具体的構成は適宜設計し得るものである。
実施例1に係る真空断熱材を説明する分解斜視図である。 実施例1を示す斜視図である。 実施例1に係る要部を示す断面図である。 実施例1に係る要部を示す断面図である。 実施例1を示す斜視図である。 実施例1に係る要部を示す断面図である。 実施例2を示す概略説明図である。 従来例の説明図である。 従来例の説明図である。
符号の説明
S 内空間
1 外板体
1a 嵌入凹部
2 内板体
2a 立ち上がり部
3 真空層
7 嵌合部
9 ロウ材
11 外体
11a 嵌入部
12 内体
12a 嵌入凹部

Claims (11)

  1. 外板体と内板体とで構成され、両者の間に真空加熱処理により作出される真空層が設けられた板状の真空断熱材の製造方法であって、前記内板体の周縁部には立ち上がり部が設けられ、また、この立ち上がり部を嵌入する嵌入凹部が外板体の周縁部に設けられ、内板体と外板体とを重合して前記嵌入凹部に前記立ち上がり部を嵌入させ、該立ち上がり部と嵌入凹部との嵌合部にロウ材を配設して真空加熱処理をし、前記嵌合部から脱気して外板体と内板体との間を真空にするとともに、溶融したロウ材で前記嵌合部を閉塞することを特徴とする真空断熱材の製造方法。
  2. 外板体と内板体とで構成され、両者の間に真空加熱処理により作出される真空層が設けられた板状の真空断熱材の製造方法であって、前記外板体の周縁部には立ち上がり部が設けられ、また、この立ち上がり部を嵌入する嵌入凹部が内板体の周縁部に設けられ、外板体と内板体とを重合して前記嵌入凹部に前記立ち上がり部を嵌入させ、該立ち上がり部と嵌入凹部との嵌合部にロウ材を配設して真空加熱処理をし、前記嵌合部から脱気して外板体と内板体との間を真空にするとともに、溶融したロウ材で前記嵌合部を閉塞することを特徴とする真空断熱材の製造方法。
  3. 請求項1,2いずれか1項に記載の真空断熱材の製造方法において、前記外板体と内板体とで形成される内空間に前記真空加熱処理の加熱に耐え得る耐熱性介在物が配設せしめられていることを特徴とする真空断熱材の製造方法。
  4. 請求項3記載の真空断熱材の製造方法において、前記耐熱性介在物としてセラミックから成る耐熱性介在物を採用したことを特徴とする真空断熱材の製造方法。
  5. 請求項1〜4いずれか1項に記載の真空断熱材の製造方法において、外板体の内面または内板体の内面のいずれか一方、若しくは双方に、銅,アルミ,銀,ニッケルなどの熱輻射材から成る熱輻射層が形成されていることを特徴とする真空断熱材の製造方法。
  6. 外板体と内板体とで構成され、両者の間に真空加熱処理により作出される真空層が設けられた板状の真空断熱材を複数接合して形成される断熱容体の製造方法であって、前記内板体の周縁部には立ち上がり部が設けられ、また、この立ち上がり部を嵌入する嵌入凹部が外板体の周縁部に設けられ、内板体と外板体とを重合して前記嵌入凹部に前記立ち上がり部を嵌入させ、該立ち上がり部と嵌入凹部との嵌合部にロウ材を配設して真空加熱処理をし、前記嵌合部から脱気して外板体と内板体との間を真空にするとともに、溶融したロウ材で前記嵌合部を閉塞して板状の真空断熱材を形成し、この真空断熱材を適宜接合することで断熱容体を製造することを特徴とする断熱容体の製造方法。
  7. 外板体と内板体とで構成され、両者の間に真空加熱処理により作出される真空層が設けられた板状の真空断熱材を複数接合して形成される断熱容体の製造方法であって、前記外板体の周縁部には立ち上がり部が設けられ、また、この立ち上がり部を嵌入する嵌入凹部が内板体の周縁部に設けられ、外板体と内板体とを重合して前記嵌入凹部に前記立ち上がり部を嵌入させ、該立ち上がり部と嵌入凹部との嵌合部にロウ材を配設して真空加熱処理をし、前記嵌合部から脱気して外板体と内板体との間を真空にするとともに、溶融したロウ材で前記嵌合部を閉塞して板状の真空断熱材を形成し、この真空断熱材を適宜接合することで断熱容体を製造することを特徴とする断熱容体の製造方法。
  8. 請求項6,7いずれか1項に記載の断熱容体の製造方法において、前記外板体と内板体とで形成される内空間に前記真空加熱処理の加熱に耐え得る耐熱性介在物が配設せしめられていることを特徴とする断熱容体の製造方法。
  9. 外体と内体とで構成され、両者の間に真空加熱処理により作出される真空層が設けられた真空断熱構造を有する断熱容体の製造方法であって、前記外体の周縁部は嵌入部に設定され、また、前記内体の周縁部には前記嵌入部が嵌入される嵌入凹部が設けられ、内体と外体とを重合して前記嵌入凹部に前記嵌入部を嵌入させ、該嵌入部と嵌入凹部との嵌合部にロウ材を配設して真空加熱処理をし、前記嵌合部から脱気して外体と内体との間を真空にするとともに、溶融したロウ材で前記嵌合部を閉塞することを特徴とする断熱容体の製造方法。
  10. 外体と内体とで構成され、両者の間に真空加熱処理により作出される真空層が設けられた真空断熱構造を有する断熱容体の製造方法であって、前記内体の周縁部は嵌入部に設定され、また、前記外体の周縁部には前記嵌入部が嵌入される嵌入凹部が設けられ、外体と内体とを重合して前記嵌入凹部に前記嵌入部を嵌入させ、該嵌入部と嵌入凹部との嵌合部にロウ材を配設して真空加熱処理をし、前記嵌合部から脱気して外体と内体との間を真空にするとともに、溶融したロウ材で前記嵌合部を閉塞することを特徴とする断熱容体の製造方法。
  11. 請求項9,10いずれか1項に記載の断熱容体の製造方法において、前記外体と内体とで形成される内空間に前記真空加熱処理の加熱に耐え得る耐熱性介在物が配設せしめられていることを特徴とする断熱容体の製造方法。
JP2004108344A 2004-03-31 2004-03-31 真空断熱材の製造方法及び断熱容体の製造方法 Pending JP2005291400A (ja)

Priority Applications (1)

Application Number Priority Date Filing Date Title
JP2004108344A JP2005291400A (ja) 2004-03-31 2004-03-31 真空断熱材の製造方法及び断熱容体の製造方法

Applications Claiming Priority (1)

Application Number Priority Date Filing Date Title
JP2004108344A JP2005291400A (ja) 2004-03-31 2004-03-31 真空断熱材の製造方法及び断熱容体の製造方法

Publications (1)

Publication Number Publication Date
JP2005291400A true JP2005291400A (ja) 2005-10-20

Family

ID=35324552

Family Applications (1)

Application Number Title Priority Date Filing Date
JP2004108344A Pending JP2005291400A (ja) 2004-03-31 2004-03-31 真空断熱材の製造方法及び断熱容体の製造方法

Country Status (1)

Country Link
JP (1) JP2005291400A (ja)

Cited By (2)

* Cited by examiner, † Cited by third party
Publication number Priority date Publication date Assignee Title
JP2010260557A (ja) * 2009-04-30 2010-11-18 Panasonic Corp 気体吸着デバイスの作製方法および気体吸着デバイス
JP2023112127A (ja) * 2019-04-11 2023-08-10 サーモス株式会社 断熱容器及び蓋付き容器

Cited By (3)

* Cited by examiner, † Cited by third party
Publication number Priority date Publication date Assignee Title
JP2010260557A (ja) * 2009-04-30 2010-11-18 Panasonic Corp 気体吸着デバイスの作製方法および気体吸着デバイス
JP2023112127A (ja) * 2019-04-11 2023-08-10 サーモス株式会社 断熱容器及び蓋付き容器
JP7539530B2 (ja) 2019-04-11 2024-08-23 サーモス株式会社 断熱容器及び蓋付き容器

Similar Documents

Publication Publication Date Title
CN108290674B (zh) 真空绝热容器和形成所述容器的方法
JP5188797B2 (ja) 断熱調理容器
CN203168831U (zh) 烹饪用具
JP2008249003A (ja) 真空断熱パネル及びそれを備えた機器
JP2005163848A (ja) 真空断熱材の製造方法及び断熱容体の製造方法
JPH11221667A (ja) 金属製真空二重容器の製造方法
JPH07313383A (ja) 断熱ジャーとその製造方法
JP4365736B2 (ja) 真空断熱体の製造方法
JPH11164784A (ja) 金属製真空二重容器
JP2005291400A (ja) 真空断熱材の製造方法及び断熱容体の製造方法
CN107380741B (zh) 一种气密性强保温容器的制造方法及其制造的保温容器
JP4279655B2 (ja) 真空断熱材の製造方法及び断熱容体の製造方法
JPS59103634A (ja) 真空断熱容器
CN107380740B (zh) 一种高效的保温容器制造方法及其制造的保温容器
US20240025621A1 (en) Container and method of forming a container
JP4746898B2 (ja) 断熱容器及びその製造方法
JP2006275186A (ja) 断熱容器及びその製造方法
JPH0274223A (ja) 保冷・保温用金属製二重容器の製造方法
JPH0415687B2 (ja)
JP3699453B2 (ja) 取手付き断熱容器の製造方法及び取手付き断熱容器
CN1140047A (zh) 隔热烹调锅
JPS63206213A (ja) 金属製二重カップの製造方法
TWM531343U (zh) 環溝沉蓋密封保溫容器
AU2007242971B2 (en) Insulated Cooking Vessel
JP2018146067A (ja) 真空断熱構造

Legal Events

Date Code Title Description
A977 Report on retrieval

Free format text: JAPANESE INTERMEDIATE CODE: A971007

Effective date: 20080328

A131 Notification of reasons for refusal

Free format text: JAPANESE INTERMEDIATE CODE: A131

Effective date: 20080414

A521 Written amendment

Free format text: JAPANESE INTERMEDIATE CODE: A523

Effective date: 20080613

A02 Decision of refusal

Free format text: JAPANESE INTERMEDIATE CODE: A02

Effective date: 20081127