JP2005291203A - 軸方向応力のもとで組み立てられる2つのサブアセンブリを備えるターボシャフトエンジン - Google Patents

軸方向応力のもとで組み立てられる2つのサブアセンブリを備えるターボシャフトエンジン Download PDF

Info

Publication number
JP2005291203A
JP2005291203A JP2005085761A JP2005085761A JP2005291203A JP 2005291203 A JP2005291203 A JP 2005291203A JP 2005085761 A JP2005085761 A JP 2005085761A JP 2005085761 A JP2005085761 A JP 2005085761A JP 2005291203 A JP2005291203 A JP 2005291203A
Authority
JP
Japan
Prior art keywords
turboshaft engine
subassemblies
annular
seal
engine according
Prior art date
Legal status (The legal status is an assumption and is not a legal conclusion. Google has not performed a legal analysis and makes no representation as to the accuracy of the status listed.)
Granted
Application number
JP2005085761A
Other languages
English (en)
Other versions
JP4643326B2 (ja
Inventor
Claude Lejars
クロード・ルジヤール
Marica Mesic
マリカ・メシツク
Bruce Pontoizeau
ブリユス・ポントワゾー
Alexandre Roy
アレクサンドル・ロイ
Patrice Suet
パトリス・シユエ
Current Assignee (The listed assignees may be inaccurate. Google has not performed a legal analysis and makes no representation or warranty as to the accuracy of the list.)
Safran Aircraft Engines SAS
Original Assignee
SNECMA Moteurs SA
Priority date (The priority date is an assumption and is not a legal conclusion. Google has not performed a legal analysis and makes no representation as to the accuracy of the date listed.)
Filing date
Publication date
Application filed by SNECMA Moteurs SA filed Critical SNECMA Moteurs SA
Publication of JP2005291203A publication Critical patent/JP2005291203A/ja
Application granted granted Critical
Publication of JP4643326B2 publication Critical patent/JP4643326B2/ja
Anticipated expiration legal-status Critical
Expired - Lifetime legal-status Critical Current

Links

Images

Classifications

    • FMECHANICAL ENGINEERING; LIGHTING; HEATING; WEAPONS; BLASTING
    • F01MACHINES OR ENGINES IN GENERAL; ENGINE PLANTS IN GENERAL; STEAM ENGINES
    • F01DNON-POSITIVE DISPLACEMENT MACHINES OR ENGINES, e.g. STEAM TURBINES
    • F01D11/00Preventing or minimising internal leakage of working-fluid, e.g. between stages
    • F01D11/005Sealing means between non relatively rotating elements

Landscapes

  • Engineering & Computer Science (AREA)
  • Mechanical Engineering (AREA)
  • General Engineering & Computer Science (AREA)
  • Gasket Seals (AREA)
  • Supercharger (AREA)
  • Structures Of Non-Positive Displacement Pumps (AREA)
  • Turbine Rotor Nozzle Sealing (AREA)

Abstract

【課題】シールの断片の放出およびシールを設置する面に対する損傷を防止するために、室の広がりを防止するターボシャフトエンジンを提供する。
【解決手段】ターボシャフトエンジンは、2つのサブアセンブリを備え、サブアセンブリの間にシールを収容する環状室を画定する。
2つのサブアセンブリは、軸方向応力のもとで組み立てられ、それによってシール20を収容する環状室18を画定し、介挿部品50が、環状室の2つの部分の当接面の間に挿入される。
【選択図】 図3

Description

本発明は、概してターボシャフトエンジンに関し、特にその役割が、圧力下において、航空機ジェットエンジンの燃焼室に燃焼性の空気を供給することであるターボコンプレッサに関する。本発明は、より詳細には、そのような機械の2つのサブアセンブリの間の接合部、例えばケーシングとステータの固定ブレード支持体との間の応力下における接合部のシーリングを強化する改善に関する。
上述されたタイプのターボコンプレッサにおいて、ステータは、外側ケーシングと共に組み立てられる。空気漏洩を防止するために、ケーシングのサブアセンブリとステータのサブアセンブリとである2つのサブアセンブリは、シールが挿入される環状室を、それら2つのサブアセンブリの間に画定するように形成されている。シールは、2つの環状壁を押圧し、これらの環状壁は、互いに対向し、かつそれぞれ2つのサブアセンブリの一部を形成する。2つのサブアセンブリに接触する2つの環状部品は、軸方向応力のもとで相互に対して当接される。応力は、ミリメータで表されることができ、この値は、もしも2つのサブアセンブリが、応力のもとで互いに当接されなければ、2つのサブアセンブリの間に存在するであろう軸方向の締めしろ(interference)を意味する。現在まで、従来0.3mm程度の比較的低い応力が用いられてきた。より最近では、この応力は0.75mmにまで引き上げられている。
ある動作段階の間に、シールを収容する室は、熱に起因する歪みの影響のもとに広げられ得る。さらにまた動作の間に、シールは、歪みおよび摩損を受け、こと歪みおよび摩損は、圧力差によって駆動されて、環状室の対向面の間に押し込まれる断片の損失さえも生じさせ得る。これらの表面は損傷され、そして空気漏洩は増大する。
本発明の目的は、シールの断片の放出およびシールを設置する面に対する損傷を防止するために、室の広がりを防止することにある。
より詳細には、本発明は、少なくとも2つのサブアセンブリを備えるターボシャフトエンジンに関し、サブアセンブリは、相互に組み立てられ、かつサブアセンブリの間にシールを収容する環状室を画定し、2つの環状部品は、それぞれ2つのサブアセンブリの一部をなして接触しかつ前記室を画定し、それ自体知られている方法で互いに対して軸方向応力で応力を加えられ、環状介挿部品が、2つの環状部品の当接面の間に挿入されることを特徴とする。
そのような環状介挿部品(「犠牲(martyr)」部品と呼ばれる)が、2つのサブアセンブリの間に設置されるとき、軸方向応力がかなり増加され得る。それは、特に1.5mmから3mmであり得る。現在好ましい応力値は、2.25mmに近い。この大きなアセンブリ応力は、熱による変動を吸収することを可能にし、従って室の広がりおよびシールの破壊を防止する。この部品は安価であり、もしも損傷しても容易に交換することができる。したがって、2つのサブアセンブリは保護され、もはやそれらが損傷される危険はない。構成は、2つの当接するサブアセンブリの間の接触面積が増大されるようにしている。このことは、結果として、ハンマリング圧力の低減、およびサブアセンブリ間の相対的変位に対するより良好な作用を生ずる。さらに、この介挿部品にその強度を改善する表面処理を実施することが比較的容易である。本発明は、特に、外側ケーシングと、ターボコンプレッサの固定ブレードを支持するステータ構成部品との間の結合部に適用する。
本発明は、単に例として、そして添付図面を参照して与えられる以下の説明を考慮して、より良好に理解され、かつ他の利点がより明確になるであろう。
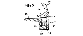
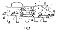
従来技術に関連する図1および図2をより詳細に考慮すると、航空機ジェットエンジンの構成の一部をなすターボコンプレッサ11が示されている。2つのサブアセンブリ14、16は、軸方向応力のもとで組み立てられ、かつそれらサブアセンブリの間に、シール20が内部に挿入される、環状室18を画定している。サブアセンブリ14は、外側ケーシングを構成するのに対して、サブアセンブリ16は、ターボコンプレッサの複数の固定ブレード22のための支持体を構成する。図示されていない可動ブレードは、固定ブレードの間に配置される。固定ブレード支持体は、端と端とをつないで組み立てられるいくつかのセグメント26によって構成され、各セグメントは、一連の固定ブレードを支持する。支持体アセンブリは、内側ケーシング27に固定される。この内側ケーシングは、3つの環状リングによって径方向外向きに延びる。第1のリング30は、外側ケーシングの第1の内部部材32に1組のボルト31によって固定され、第2のリング34は、外側ケーシングの第2の内向きに延びる部材36に、応力なしに圧接している。第3のリング37は、1組のボルト38によって、外側ケーシング14の内部部材39に固定される。
図2においてさらに明確に見られるように、第2のリング34は、平坦な環状面40を備え、この平坦な環状面40は、径方向内向きへ延びており、その環状領域43によって前記第2の部材36に圧接している軸方向円筒状部分42によって延長される。より詳細には、第2の部材は、他の平坦な環状面45を備え、この他の平坦な環状面45は、第2のリングの外側円筒部分を、間隔を有して覆うほぼ管状の突出部46の上に載置されるリングの面に対向している。したがってこの配置は、2つの平坦面40、45に圧接されるシール20が、その中に設置される環状室18を画定している。上述されたように、サブアセンブリ14、16の寸法設定は、アセンブリが、ボルト31の締め付けに起因する応力で作られるようにしてなされる。したがってこの応力は、第2のリングの環状領域43と、第2の部材の平坦面45の内側端部との間に加えられる。これまでに説明されたこの構成は、従来の構成である。しかしながら、アセンブリ応力は、0.3mm程度と比較的低いものであった。特定の場合においては、上述されたとおりの、漏洩およびシールの破壊の問題を完全に解決できずに、応力は、0.75mmまで増大されている。
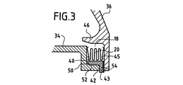
本発明は、図3に示され、かつ2つのサブアセンブリの圧接面の間に、すなわちこの場合、リング34の環状領域43と部材36の平坦面45の環状端部との間に、環状介挿部品50の配置を提案する。この部品50の存在は、以後、1.5mmから3mm、典型的には約2.25mmであり得る、フィッティング応力の増大を可能にする。実際に、介挿部品50は、少なくとも1つの環状部品の端部における接触面積、この場合より詳細には、前記第2の部材36の平坦面45を増大させるように形成されていることが分かる。さらにリングの軸方向円筒状部分42は、介挿部品50が、前記円筒状部分42にそれ自体がはめ合う円筒面52を備えているという事実のために、介挿部品50の配置をガイドすることを可能にする。介挿部品の径方向部分54は、前記第2の部材の平坦面45を押圧する。包括的には、図3に明確に見られるように、介挿部品50径方向断面は、それゆえL字状に形成されている。介挿部品は、はめ合う前に、その強度を増大させる表面処理を受けることができる。この処理は、特に、径方向部分54に適用することができる。したがって、リングに対してまたは部材に対して、このタイプの処理を適用することは必ずしも必要ではない。
変形形態として、図4に示されるように、介挿部品50aは、デフレクタ56を形成する部分によって内方に延びる。この例において、この部分は実質的に円錐形状を有している。したがって、残留漏洩の場合に、高温空気が、内側ケーシングに局部的にあたることがもはやなくなるが、ケーシングとブレード支持体との間に画定される室58内に拡散される。
2つの組み立てられたサブアセンブリを示し、かつターボコンプレッサの一部をなし、シール室の近傍における軸方向応力を伴う従来のアセンブリの概略図である。 図1の円形部分IIを拡大した概略図である。 本発明に従った改善を示す図2の図と同様の図である。 変形形態を示す図3の図と同様の図である。
符号の説明
11 ターボコンプレッサ
14、16 サブアセンブリ
18 環状室
20 シール
26 セグメント
27 内側ケーシング
30 第1のリング
31、38 ボルト
32 第1の内部部材
34 第2のリング
36 第2の部材
39 内部部材
40、45 平坦環状面
42 円筒状部分
43 環状領域
50 介挿部品
54 径方向部分
56 デフレクタ
58 室

Claims (7)

  1. 少なくとも2つのサブアセンブリを備えるターボシャフトエンジンであって、サブアセンブリが、相互に組み立てられ、かつサブアセンブリの間にシールを収容する環状室(18)を画定し、2つの環状部品が、それぞれ2つのサブアセンブリの一部をなして接触しかつ前記室を画定し、2つの環状部品が、それ自体知られている方法で互いに対して軸方向応力で応力が加えられ、環状介挿部品(50)が、2つの環状部品の当接面の間に挿入される、ターボシャフトエンジン。
  2. 前記2つの環状部品間の前記軸方向応力が、1.5mmから3mm、好ましくは2.25mmに近い、請求項1に記載のターボシャフトエンジン。
  3. 前記介挿部品(50)が、環状部品の少なくとも1つの端部における接触面積を増大させるように形成される、請求項1または2に記載のターボシャフトエンジン。
  4. 環状部品の1つは、円筒状部分(42)を備え、前記介挿部品は、前記円筒状部分にそれ自体がはめ合う円筒状面(52)と、他の環状部品の平坦面(45)を押圧する径方向部分(54)とを備える、請求項1から3のいずれか一項に記載のターボシャフトエンジン。
  5. 前記介挿部品(50)の径方向断面がL字状である、請求項4に記載のターボシャフトエンジン。
  6. 前記介挿部品が、デフレクタ(56)を形成する部分によって延長される、請求項1から5のいずれか一項に記載のターボシャフトエンジン。
  7. 2つのサブアセンブリが、それぞれケーシングおよびステータ構成部分を構成する、請求項1から6のいずれか一項に記載のターボシャフトエンジン。
JP2005085761A 2004-03-26 2005-03-24 軸方向応力のもとで組み立てられる2つのサブアセンブリを備えるターボシャフトエンジン Expired - Lifetime JP4643326B2 (ja)

Applications Claiming Priority (1)

Application Number Priority Date Filing Date Title
FR0403128A FR2868125B1 (fr) 2004-03-26 2004-03-26 Turbomachine comprenant deux sous-ensembles assembles sous contrainte axiale

Publications (2)

Publication Number Publication Date
JP2005291203A true JP2005291203A (ja) 2005-10-20
JP4643326B2 JP4643326B2 (ja) 2011-03-02

Family

ID=34855166

Family Applications (1)

Application Number Title Priority Date Filing Date
JP2005085761A Expired - Lifetime JP4643326B2 (ja) 2004-03-26 2005-03-24 軸方向応力のもとで組み立てられる2つのサブアセンブリを備えるターボシャフトエンジン

Country Status (9)

Country Link
US (1) US7571614B2 (ja)
EP (1) EP1580402B1 (ja)
JP (1) JP4643326B2 (ja)
CA (1) CA2500947C (ja)
DE (1) DE602005001641T2 (ja)
ES (1) ES2290863T3 (ja)
FR (1) FR2868125B1 (ja)
RU (1) RU2380546C2 (ja)
UA (1) UA86354C2 (ja)

Families Citing this family (7)

* Cited by examiner, † Cited by third party
Publication number Priority date Publication date Assignee Title
FR2898641B1 (fr) * 2006-03-17 2008-05-02 Snecma Sa Habillage de carter dans un turboreacteur
US8393855B2 (en) * 2007-06-29 2013-03-12 General Electric Company Flange with axially curved impingement surface for gas turbine engine clearance control
US8197186B2 (en) * 2007-06-29 2012-06-12 General Electric Company Flange with axially extending holes for gas turbine engine clearance control
US8998573B2 (en) * 2010-10-29 2015-04-07 General Electric Company Resilient mounting apparatus for low-ductility turbine shroud
EP2886802B1 (fr) * 2013-12-20 2019-04-10 Safran Aero Boosters SA Joint de virole interne de dernier étage de compresseur de turbomachine axiale
US10202863B2 (en) 2016-05-23 2019-02-12 United Technologies Corporation Seal ring for gas turbine engines
US10392967B2 (en) 2017-11-13 2019-08-27 General Electric Company Compliant seal component and associated method

Citations (4)

* Cited by examiner, † Cited by third party
Publication number Priority date Publication date Assignee Title
JPH06173705A (ja) * 1992-08-26 1994-06-21 General Electric Co <Ge> ターボシャフトエンジン
JPH11343809A (ja) * 1998-06-02 1999-12-14 Ishikawajima Harima Heavy Ind Co Ltd ガスタービンのタービンシュラウド部のシール構造
JP2003201807A (ja) * 2001-11-28 2003-07-18 General Electric Co <Ge> 熱コンプライアンス性を有する抑制シール
JP2003222029A (ja) * 2001-12-28 2003-08-08 General Electric Co <Ge> ガスタービンにおける弦ヒンジシールのための補助シール

Family Cites Families (13)

* Cited by examiner, † Cited by third party
Publication number Priority date Publication date Assignee Title
GB1412469A (en) * 1972-11-04 1975-11-05 Semt Sealing packing or joint forming in particular a cylinder head gasket for an internal-combustion reciprocating piston engine
US4336943A (en) * 1980-11-14 1982-06-29 United Technologies Corporation Wedge-shaped seal for flanged joints
LU86209A1 (fr) * 1985-12-12 1987-01-13 Euratom Systeme d'etancheite entre deux brides metalliques
FR2646221B1 (fr) * 1989-04-19 1991-06-14 Snecma Joint d'etancheite, dispositif le comportant et application a une turbomachine
GB2239678B (en) * 1989-12-08 1993-03-03 Rolls Royce Plc Gas turbine engine blade shroud assembly
RU2042834C1 (ru) * 1992-02-04 1995-08-27 Акционерное общество Самарский научно-технический комплекс "Двигатели НК" Уплотнение стыков полок соплового лопаточного аппарата турбины
FR2695164B1 (fr) * 1992-08-26 1994-11-04 Snecma Turbomachine munie d'un dispositif empêchant une circulation longitudinale de gaz autour des étages d'aubes de redressement.
EP0921273B1 (en) * 1997-06-11 2003-12-03 Mitsubishi Heavy Industries, Ltd. Rotor for gas turbines
FR2766517B1 (fr) * 1997-07-24 1999-09-03 Snecma Dispositif de ventilation d'un anneau de turbomachine
US6237921B1 (en) * 1998-09-02 2001-05-29 General Electric Company Nested bridge seal
US6402466B1 (en) * 2000-05-16 2002-06-11 General Electric Company Leaf seal for gas turbine stator shrouds and a nozzle band
US6450762B1 (en) * 2001-01-31 2002-09-17 General Electric Company Integral aft seal for turbine applications
RU2302534C2 (ru) * 2001-12-11 2007-07-10 Альстом (Свитзерлэнд) Лтд. Газотурбинное устройство

Patent Citations (4)

* Cited by examiner, † Cited by third party
Publication number Priority date Publication date Assignee Title
JPH06173705A (ja) * 1992-08-26 1994-06-21 General Electric Co <Ge> ターボシャフトエンジン
JPH11343809A (ja) * 1998-06-02 1999-12-14 Ishikawajima Harima Heavy Ind Co Ltd ガスタービンのタービンシュラウド部のシール構造
JP2003201807A (ja) * 2001-11-28 2003-07-18 General Electric Co <Ge> 熱コンプライアンス性を有する抑制シール
JP2003222029A (ja) * 2001-12-28 2003-08-08 General Electric Co <Ge> ガスタービンにおける弦ヒンジシールのための補助シール

Also Published As

Publication number Publication date
FR2868125B1 (fr) 2006-07-21
ES2290863T3 (es) 2008-02-16
FR2868125A1 (fr) 2005-09-30
CA2500947C (fr) 2012-11-20
UA86354C2 (ru) 2009-04-27
JP4643326B2 (ja) 2011-03-02
EP1580402A1 (fr) 2005-09-28
DE602005001641T2 (de) 2008-06-05
US20050260066A1 (en) 2005-11-24
RU2005108494A (ru) 2006-09-27
DE602005001641D1 (de) 2007-08-30
EP1580402B1 (fr) 2007-07-18
RU2380546C2 (ru) 2010-01-27
US7571614B2 (en) 2009-08-11
CA2500947A1 (fr) 2005-09-26

Similar Documents

Publication Publication Date Title
US8186692B2 (en) Split ring seal with spring element
RU2476710C2 (ru) Уплотнение кольца ротора в ступени турбины
JP4938872B2 (ja) 排気ガス・ターボチャージャのコンプレッサ側のシャフト・シール
EP2570612B1 (en) Turbomachine secondary seal assembly
US9562441B2 (en) Turbo machine with a device for preventing a segment of nozzle guide vanes assembly from rotating in a casing; rotation-proofing peg
JP6441611B2 (ja) ガスタービンの排気部材及び排気室メンテナンス方法
JP5376845B2 (ja) 自己解除ナットを含む軸受中へのシャフトの装着
KR101195543B1 (ko) 터보 머신 및 로터-샤프트 실링 수단
CN101779018A (zh) 涡轮增压机
CN111868353B (zh) 十字键防旋转间隔件
US9835049B2 (en) Turbomachine distributor comprising a thermal protection sheet with a radial stop, and associated thermal protection sheet
JP2005264939A (ja) バックアップ装置を備えたベアリングシール
JP2009243312A (ja) 冷却通路用カバーおよび該カバーの製造方法ならびにガスタービン
JP2018048632A (ja) ターボチャージャ
JP4643326B2 (ja) 軸方向応力のもとで組み立てられる2つのサブアセンブリを備えるターボシャフトエンジン
CN1948718B (zh) 涡轮覆环组合件及组装燃气涡轮发动机的方法
JP6782840B2 (ja) ノズルリングとタービンハウジングとの間にシーリング面を備えるターボチャージャ
JP2016008575A (ja) 可変容量型過給機
US9664067B2 (en) Seal retaining assembly
JP6845638B2 (ja) モジュラインサートを有する蒸気タービン内側ケーシング
CN112272733B (zh) 涡轮轴组件、增压器及增压器的制造方法
JP2004316509A (ja) タービン車室のシール構造
JP2002013401A (ja) ガスタービンの排気装置
US20230111341A1 (en) Rotor arrangement for a gas turbine with inclined axial contact surfaces formed on rotor segments, gas turbine and aircraft gas turbine
US20240003301A1 (en) Combustor to vane sealing assembly and method of forming same

Legal Events

Date Code Title Description
A621 Written request for application examination

Free format text: JAPANESE INTERMEDIATE CODE: A621

Effective date: 20080116

A131 Notification of reasons for refusal

Free format text: JAPANESE INTERMEDIATE CODE: A131

Effective date: 20100511

A521 Request for written amendment filed

Free format text: JAPANESE INTERMEDIATE CODE: A523

Effective date: 20100810

TRDD Decision of grant or rejection written
A01 Written decision to grant a patent or to grant a registration (utility model)

Free format text: JAPANESE INTERMEDIATE CODE: A01

Effective date: 20101109

A01 Written decision to grant a patent or to grant a registration (utility model)

Free format text: JAPANESE INTERMEDIATE CODE: A01

A61 First payment of annual fees (during grant procedure)

Free format text: JAPANESE INTERMEDIATE CODE: A61

Effective date: 20101202

R150 Certificate of patent or registration of utility model

Ref document number: 4643326

Country of ref document: JP

Free format text: JAPANESE INTERMEDIATE CODE: R150

Free format text: JAPANESE INTERMEDIATE CODE: R150

FPAY Renewal fee payment (event date is renewal date of database)

Free format text: PAYMENT UNTIL: 20131210

Year of fee payment: 3

R250 Receipt of annual fees

Free format text: JAPANESE INTERMEDIATE CODE: R250

R250 Receipt of annual fees

Free format text: JAPANESE INTERMEDIATE CODE: R250

R250 Receipt of annual fees

Free format text: JAPANESE INTERMEDIATE CODE: R250

R250 Receipt of annual fees

Free format text: JAPANESE INTERMEDIATE CODE: R250

R250 Receipt of annual fees

Free format text: JAPANESE INTERMEDIATE CODE: R250

R250 Receipt of annual fees

Free format text: JAPANESE INTERMEDIATE CODE: R250

R250 Receipt of annual fees

Free format text: JAPANESE INTERMEDIATE CODE: R250

R250 Receipt of annual fees

Free format text: JAPANESE INTERMEDIATE CODE: R250

R250 Receipt of annual fees

Free format text: JAPANESE INTERMEDIATE CODE: R250

R250 Receipt of annual fees

Free format text: JAPANESE INTERMEDIATE CODE: R250

R250 Receipt of annual fees

Free format text: JAPANESE INTERMEDIATE CODE: R250

R250 Receipt of annual fees

Free format text: JAPANESE INTERMEDIATE CODE: R250

EXPY Cancellation because of completion of term