JP2005291092A - コモンレール式燃料噴射装置 - Google Patents
コモンレール式燃料噴射装置 Download PDFInfo
- Publication number
- JP2005291092A JP2005291092A JP2004107384A JP2004107384A JP2005291092A JP 2005291092 A JP2005291092 A JP 2005291092A JP 2004107384 A JP2004107384 A JP 2004107384A JP 2004107384 A JP2004107384 A JP 2004107384A JP 2005291092 A JP2005291092 A JP 2005291092A
- Authority
- JP
- Japan
- Prior art keywords
- fuel
- injection
- needle
- pressure
- control chamber
- Prior art date
- Legal status (The legal status is an assumption and is not a legal conclusion. Google has not performed a legal analysis and makes no representation as to the accuracy of the status listed.)
- Pending
Links
Images
Landscapes
- Fuel-Injection Apparatus (AREA)
Abstract
【課題】 主噴射およびパイロット噴射のいずれにも適した噴射パターンで燃料を噴射するコモンレール式燃料噴射装置を提供する。
【解決手段】 本発明の燃料噴射装置は、高圧燃料を保持するコモンレールから燃料が供給されると共に機関燃焼室に燃料を噴射する燃料噴射弁を具備する。燃料噴射弁は、コモンレールから供給される燃料の圧力が一定である場合に、噴射率が燃料噴射開始から第一上昇率で上昇(a)した後に降下(b)し、その後零になる前に第一上昇率よりも低い第二上昇率で上昇(c)するような噴射パターンで燃料を噴射する。
【選択図】 図3
【解決手段】 本発明の燃料噴射装置は、高圧燃料を保持するコモンレールから燃料が供給されると共に機関燃焼室に燃料を噴射する燃料噴射弁を具備する。燃料噴射弁は、コモンレールから供給される燃料の圧力が一定である場合に、噴射率が燃料噴射開始から第一上昇率で上昇(a)した後に降下(b)し、その後零になる前に第一上昇率よりも低い第二上昇率で上昇(c)するような噴射パターンで燃料を噴射する。
【選択図】 図3
Description
本発明は、コモンレール式燃料噴射装置に関する。
従来から、燃料の噴射を燃料の加圧・圧送に依存させないことで噴射制御の自由度を高めることを目的として、コモンレールに蓄圧した高圧燃料を機関燃焼室に噴射供給するコモンレール式燃料噴射装置が知られている。コモンレール式燃料噴射装置の多くは、1サイクルにおいて、圧縮上死点付近で主噴射(メイン噴射)を行う他、この主噴射よりも先に副噴射(例えば、パイロット噴射)を行い、主噴射によって噴射される燃料を安定して燃焼させるようにしている。
コモンレール式燃料噴射装置では、使用されるインジェクタによってインジェクタからの燃料の噴射特性が異なる。このような噴射特性の一つにインジェクタからの燃料の噴射率の推移(噴射パターン)が挙げられる。主噴射については、噴射開始直後から噴射率が高いと燃焼室内で燃料が一気に燃え広がり、よって燃焼騒音が大きくなってしまい、また、窒素酸化物(NOX)が発生し易い。このため、主噴射については、燃焼騒音低減およびNOX発生の抑制の観点から、噴射開始から噴射率が徐々に上昇していくのが好ましい。
このように、噴射開始から噴射率が徐々に上昇していくようにしているコモンレール式燃料噴射装置が特許文献1に開示されている。特許文献1のコモンレール式燃料噴射装置では、ニードルが所定変位量だけ開弁方向に上昇してからは、ニードルと一体的なピストンが受けるニードル閉弁方向の圧力の降下速度を低下させ、これによりニードルの開弁方向への変位速度を低く抑え、その結果、噴射開始から噴射率が徐々に上昇していくようにしている。
ところが、パイロット噴射においては、スモーク発生低減の観点から、噴射開始直後の噴射率が高い方が好ましい。すなわち、噴射率が高いほどインジェクタから遠くに、すなわちシリンダボア外周近傍に燃料を飛散させることができる。パイロット噴射された燃料は主噴射における着火源となるため、主噴射の燃料はシリンダボア外周近傍で着火する。このため、燃焼室内を広く使って燃焼が行われるため、スモークが発生しにくい。
したがって、主噴射に関しては、燃焼騒音低減、NOX発生抑制の観点から噴射開始から噴射率が徐々に上昇していくのが好ましく、一方、パイロット噴射に関しては、噴射開始直後の噴射率が高いことが好ましい。特許文献1に記載の燃料噴射装置では、使用しているインジェクタの噴射開始直後の噴射率が低いため、同一のインジェクタを用いて主噴射とパイロット噴射とを行おうとすると、パイロット噴射を最適に行うことができない。すなわち、特許文献1に記載の燃料噴射装置における燃料の噴射パターンは、主噴射には適しているがパイロット噴射には適しておらず、その結果燃焼騒音低減やNOX発生抑制等の効果は低いものとなっていた。
そこで、本発明の目的は、主噴射およびパイロット噴射のいずれにも適した噴射パターンで燃料を噴射するコモンレール式燃料噴射装置を提供することにある。
上記課題を解決するために、第1の発明では、高圧燃料を保持するコモンレールから燃料が供給されると共に機関燃焼室に燃料を噴射する燃料噴射弁を具備し、上記燃料噴射弁は、コモンレールから供給される燃料の圧力が一定である場合に、噴射率が燃料噴射開始から第一上昇率で上昇した後に降下し、その後零になる前に第一上昇率よりも低い第二上昇率で上昇するような噴射パターンで燃料を噴射する。
第1の発明によれば、噴射率がまず燃料噴射開始から比較的高い第一上昇率で上昇するため、噴射開始直後の噴射率を比較的高いものとすることができる。その後、噴射率は降下してから比較的低い第二上昇率で上昇するため、噴射開始直後に一時的に高い噴射率となるものの噴射パターン全体としては噴射開始から噴射率が徐々に上昇していくことになる。すなわち、第1の発明の燃料噴射装置では、噴射開始直後の噴射率を比較的高いものとしつつ、噴射開始から噴射率が徐々に上昇していくような噴射パターンで燃料が噴射される。
第1の発明によれば、噴射率がまず燃料噴射開始から比較的高い第一上昇率で上昇するため、噴射開始直後の噴射率を比較的高いものとすることができる。その後、噴射率は降下してから比較的低い第二上昇率で上昇するため、噴射開始直後に一時的に高い噴射率となるものの噴射パターン全体としては噴射開始から噴射率が徐々に上昇していくことになる。すなわち、第1の発明の燃料噴射装置では、噴射開始直後の噴射率を比較的高いものとしつつ、噴射開始から噴射率が徐々に上昇していくような噴射パターンで燃料が噴射される。
第2の発明では、第1の発明において、上記燃料噴射弁は、燃焼室内に燃料を噴射する噴孔を先端に有するノズルと、該噴孔を開閉するニードルと、上記コモンレールから燃料が供給される圧力制御室とを有し、上記ニードルの開閉は上記圧力制御室内の燃料圧力によって制御され、該圧力制御室内の燃料圧力はアクチュエータによって作動される制御弁を開閉することによって調整せしめられ、該制御弁を開くだけで上記噴射パターンの噴射が実行されるように燃料の噴射を制御する噴射制御手段を更に具備する。
第2の発明では、制御弁を開くだけで上記第1の発明の噴射パターンの噴射が実行される。したがって、上記噴射パターンを実現するために必要なアクチュエータは制御弁用のもののみである。また、制御弁の作動に用いられるアクチュエータは、制御弁の開閉のみを行うことができればよく、すなわち全開と全閉との間のオンオフさえ行うことができればよいため、アクチュエータ自体にも高い性能が要求されない。したがって、第2の発明によれば、非常に低いコストで上記噴射パターンの噴射を実現することができる。
第2の発明では、制御弁を開くだけで上記第1の発明の噴射パターンの噴射が実行される。したがって、上記噴射パターンを実現するために必要なアクチュエータは制御弁用のもののみである。また、制御弁の作動に用いられるアクチュエータは、制御弁の開閉のみを行うことができればよく、すなわち全開と全閉との間のオンオフさえ行うことができればよいため、アクチュエータ自体にも高い性能が要求されない。したがって、第2の発明によれば、非常に低いコストで上記噴射パターンの噴射を実現することができる。
第3の発明では、第2の発明において、上記ノズルの内面とニードルの外面との間に燃料流路が形成され、上記噴射制御手段は、上記燃料流路上に上記ニードルのリフトに伴って開口面積が変化し且つ該ニードルがリフトしていない時でも開口している絞りを具備し、上記燃料流路は、該絞りよりもノズル後端側において上記コモンレールに接続され、且つ上記絞りよりもノズル先端側に、上記第二上昇率で噴射率が上昇する前に噴射すべき目標燃料量に応じた体積の燃料保持空間を具備する。
第3の発明によれば、噴射制御手段として、燃料流路上に絞りおよび燃料保持空間を設ければよいだけであるため、非常に容易に噴射制御手段を形成することができる。
第3の発明によれば、噴射制御手段として、燃料流路上に絞りおよび燃料保持空間を設ければよいだけであるため、非常に容易に噴射制御手段を形成することができる。
第4の発明では、第2の発明において、上記噴射制御手段は上記圧力制御室であり、該圧力制御室はピストンによって上記ニードルに隣接する第一圧力制御室と該ニードルから離間された第二圧力制御室とに分けられ、上記第一圧力制御室および第二圧力制御室は、上記制御弁を開弁したときにこれら圧力制御室内の燃料圧力が低下すると共に上記第一圧力制御室内の燃料圧力の低下速度が第二圧力制御室内の燃料圧力の低下速度よりも速く、これにより上記ニードルと上記ピストンとが互いに向かって移動して当接して一体となるように形成され、この当接により上記ニードルが受ける閉弁方向の力の少なくとも一部が上記第一圧力制御室内の燃料によってニードルが受ける力から上記第二圧力制御室内の燃料によってピストンが受ける力へと変更されると共にこの変更により上記ニードルが受ける閉弁方向の力が大きくなり、ニードルが受ける閉弁方向の力の大きさとニードルが受ける開弁方向の力の大きさとが反転する。
第5の発明では、第1〜第4のいずれか一つの発明において、圧縮上死点付近で行われる主噴射の前に行われると共に該主噴射における噴射量よりも噴射量が少ない副噴射では、上記第二上昇率で噴射率が上昇する前に燃料噴射弁からの燃料の噴射を中止する。
副噴射では、主に比較的高い第一上昇率で噴射率が上昇する間の噴射率で燃料が噴射されることになる。このため、高い噴射率で短期間に副噴射を行うことができる。
副噴射では、主に比較的高い第一上昇率で噴射率が上昇する間の噴射率で燃料が噴射されることになる。このため、高い噴射率で短期間に副噴射を行うことができる。
本発明によれば、噴射開始直後の噴射率を比較的高いものとしながらも噴射開始から噴射率が徐々に上昇していくような噴射パターンで燃料が噴射される。このため、噴射開始直後から噴射率が高いのが好ましい噴射(例えば副噴射)と、噴射開始から噴射率が徐々に上昇していくのが好ましい噴射(例えば主副射)とのいずれの噴射にも適した噴射パターンが実現される。
以下、図1〜図3を参照して本発明の第一実施形態のコモンレール式燃料噴射装置について説明する。図1は、第一実施形態の燃料噴射装置の概略断面図であり、図2は、第一実施形態の燃料噴射装置の作動工程を示す図であり、図3はニードルのリフト開始からの噴射率およびリフト量の時間推移を表す図である。
本実施形態の燃料噴射装置は、電子制御ユニット(ECU)によって制御される高圧ポンプと、この高圧ポンプから高圧燃料が供給されるコモンレールと、コモンレールから高圧燃料が供給され且つ機関燃焼室内に燃料を噴射する燃料噴射弁(以下、「インジェクタ」と称す)1とを備える。高圧ポンプは、燃料タンクから燃料を汲み上げるフィードポンプと、このフィードポンプによって汲み上げた燃料を高圧にしてコモンレールに吐出するサプライポンプとから構成される。また、コモンレールは、比較的高い圧力(例えば、80MPa〜140MPa)の高圧燃料を蓄える。
インジェクタ1は、図1に示したように、筒状のノズルボディ2と、このノズルボディ2と同軸に配置されたニードル3と、ニードル3のリフトを制御する制御弁4とを具備する。ノズルボディ2は、その内部に中空空間を有し、この中空空間内にニードル3が収容される。ニードル3の外周面とノズルボディ2の内面との間には、インジェクタ1から噴射すべき燃料が流れる燃料流路5が形成される。この燃料流路5は、コモンレールに通じる燃料供給通路6と連通していると共にノズルボディ2の先端部7に設けられた複数の噴孔8と連通する。なお、本明細書においては、図1の下側、すなわちノズルボディ2に噴孔8が設けられている側を先端側、図1の上側、すなわち先端側とは反対側を後端側として説明する。
ニードル3はその軸線方向に摺動可能であり、これにより噴孔8が開閉される。ニードル3が後端側へ摺動(リフト)せしめられると噴孔8と燃料流路5とが通じ、噴孔8から燃料が噴射せしめられる。一方、ニードル3が後端側へ摺動しておらず(リフトしておらず)、ニードル3の先端部がノズルボディ2の先端部7の内壁面に形成されたシート上に載置されている場合には噴孔8は閉じられており、噴孔8からの燃料の噴射が停止せしめられる。
ニードル3の後端側には、ニードル3の後端面とノズルボディ2の内面との間に制御室9が画成される。この制御室9内にはニードル3の後端面とノズルボディ2との間にバネ10が配置され、このバネ10はニードル3をノズルボディ2の先端部7に向かって付勢する。したがって、ニードル3は、制御室9内の燃料圧力が燃料流路5内の燃料圧力と同一であるかそれよりも高い場合、すなわち制御室9内の燃料圧力によりニードル3が受ける先端向きの力(ニードル3が受ける閉弁方向の力)が燃料流路5内の燃料圧力によりニードル3が受ける後端向きの力(ニードル3が受ける開弁方向の力)と同一であるかまたはそれよりも大きい場合、バネ10の付勢力によりニードル3は噴孔8を閉じる。
逆に、制御室9内の燃料圧力によりニードル3が受ける先端向きの力とバネの付勢力とを合わせた力が、燃料流路5内の燃料圧力によりニードル3が受ける後端向きの力よりも小さくなると、ニードル3はリフトし始め、噴孔8が開かれ、よって噴孔8から燃料が噴射せしめられる。
制御室9は、オリフィス11を介してコモンレールに通じる燃料供給通路6と連通しており、また制御弁4を介して排出通路12と連通している。排出通路12は、燃料を燃料タンクへ戻すリターン通路へと連通している。このため、制御弁4が閉弁せしめられると制御室9には燃料供給通路6およびオリフィス11を介して燃料が供給され、制御室9内の燃料圧力はコモンレールにおける高い燃料圧力とほぼ同一の圧力にまで上昇せしめられる。
一方、制御弁4が開弁せしめられると制御室9内の燃料が排出通路12を介して排出される。燃料供給通路6と制御室9との間にはオリフィス11が設けられているため、制御弁4が開弁している場合、燃料供給通路6から制御室9に流入する燃料の流量は制御室9から排出通路12へと流出する燃料の流量よりも少ない。したがって、制御室9内の燃料圧力は徐々に低下し、やがてニードル3がリフトせしめられる。
なお、制御弁4はECUによって制御されるアクチュエータ13によって開閉せしめられる。本実施形態では、アクチュエータ13としてピエゾ素子を用いているが、ソレノイド等ほかの開閉手段を用いてもよい。
ところで、本実施形態のインジェクタ1では、ニードル3はその軸線方向中央部に、ニードル3の全周に亘って径方向に突出する外側突出部20を具備する。外側突出部20の先端側表面21は円錐状である。同様に、ノズルボディ2の内面も部分的に内側に向かって突出した内側突出部22を具備し、内側突出部22の後端側表面23は円錐状であって上記外側突出部20の先端側表面21と対面するように配置される。これら外側突出部20と内側突出部22とは、ニードル3がリフトされていない場合に、その表面21、23間が僅かに離間されるように相補的な形状となっている。そしてこれら突出部20、22の表面21、23間の距離はニードルのリフト量に応じて変わる。したがって、これら突出部20、22間にはニードル3のリフト量に応じて開口面積が変化する燃料流路5の絞り24が形成される。そしてこの絞り24の開口面積は、ニードル3のリフト量が零である場合には突出部20、22の表面21、23間の距離が短いため非常に小さいものとなり、ニードル3のリフト量が最大である場合には突出部20、22の表面21、23間の距離が長いため大きいものとなる。
燃料流路5は、絞り24よりも先端側に位置する先端側流路(燃料保持空間)25と、絞り24よりも後端側に位置する後端側流路26との二つの流路に分けられる。後端側流路26は燃料供給通路6と連通しており、したがって後端側流路26には常にコモンレール内の高圧燃料が流入する。一方、先端側流路25は噴孔8と連通しており、したがってニードル3がリフトされると先端側流路25内の燃料が噴孔8から噴射せしめられる。
図2および図3を参照して、本実施形態のインジェクタを用いた場合におけるニードル3のリフトに伴うインジェクタからの燃料噴射率の推移、すなわち本実施形態のインジェクタの噴射パターンについて説明する。まず、ニードル3のリフト量が零である場合、図2(a)に示したように、突出部20、22の表面21、23間には僅かに隙間が開いており、絞り24の開口面積は非常に小さいながらも零ではない。このため、高圧燃料が供給される後端側流路26から先端側流路25内へと燃料が流れ、よって先端側流路25内の燃料圧力は高いものとなっている。
次に、図2(b)に示したように、制御弁4を開弁することでニードル3がリフトを開始してニードル3が僅かにリフトすると、それに伴ってニードル3の外側突出部20が後端側に移動するため、突出部20、22同士も僅かに離間せしめられる。この場合、ニードル3のリフト量が零である場合に比べて絞り24の開口面積は大きくなっているものの、それでもなお比較的小さいままである。したがって、後端側流路26から先端側流路25へと流れる燃料の流量は制限される。一方、この場合、ニードル3がリフトすることにより先端側流路25から噴孔8を介して燃料が噴射せしめられる。このとき、先端側流路25内の燃料圧力は高いものとなっているため、この高圧燃料が噴孔8を介して噴射される。したがって、ニードル3のリフト開始時、すなわち噴射開始時において噴孔8から噴射される燃料の噴射率は図3の期間aに示したように急激に上昇する。
しかし、ニードル3のリフト量が小さいときは、絞り24の開口面積が小さいことにより後端側流路26から先端側流路25へと流れる燃料の流量が制限されているため、先端側流路25から噴孔8を介して噴射される燃料流量に比べて後端側流路26から先端側流路25へと流れる燃料流量の方が少ない。よって、先端側流路25内の燃料圧力は噴射開始から徐々に低下する。これに伴って、先端側流路25から噴孔8を介して噴射される燃料の噴射率も上記期間aの経過後に低下し始める(図3の期間b)。ただし、この間も図3に示したようにニードル3のリフト量は増大している。
先端側流路25内の燃料圧力の低下は、絞り24を通過する燃料流量と噴孔8を通過する燃料流量とがほぼ等しくなるような低い圧力になるまで続く。すなわち、ニードル3のリフト開始前に先端側流路25内に蓄えられていた高圧燃料は期間a、bを経過する間に上記低い圧力になるまで噴孔8を介して噴射される。期間a、b経過後は、絞り24の開口面積によって先端側流路25内の燃料圧力が定まるため、絞り24が噴孔8からの燃料噴射量を調整することとなる。したがって、図3の期間cにおいてはニードル3の上昇に伴って、すなわちリフト開始からの時間経過に伴って、燃料の噴射率が上昇する。この場合、噴射率は徐々に上昇し、噴射率の上昇度合は、期間aにおける噴射率の上昇度合よりも低い。
期間cにおいては、ニードル3のリフト量増大に伴って絞り24の開口面積が広くなり、よって噴射率が上昇するが、期間c経過後にはニードル3のリフト量が増大しているにも関わらず噴射率が上昇しなくなる。これは、図2(c)に示したように、絞り24の開口面積が十分広くなり、先端側流路25内の燃料圧力がコモンレール内の燃料圧力とほぼ等しくなっていてそれ以上上昇しなくなり、よって噴孔8からの燃料噴射量も上昇しなくなったためである。
そして、期間dの途中で制御弁4を閉じることにより、若干のタイムラグを伴ってニードル3が下降し始める。或る程度ニードル3が下降した時点から噴孔8からの燃料噴射量が減少し始め、噴射率が低下する。ニードル3が完全に閉じると燃料噴射量も零となり一回の噴射が終了せしめられる。
このように、本実施形態の燃料噴射装置によれば、制御弁4の開度を細かく調整せずに開閉するだけで、図3に示したような噴射率の噴射パターンを実現することができる。したがって、制御弁4の精密な操作は必要なく、事実上絞り24と先端側流路25とを適切に設けるだけで上記噴射パターンを実現でき、燃料噴射装置の製造も容易であり、また製造コストを安く抑えることが可能である。なお、制御弁4の閉弁タイミングを調整すれば、期間a、bのみまたは期間a、b、cのみの噴射を実行することができ、また、期間dの長さを調整することで一回の噴射における燃料噴射量を調整することも可能である。
次に、本実施形態の燃料噴射装置の使用例について説明する。多くの圧縮自着火式内燃機関では、圧縮上死点(TDC)付近で行われる主噴射の着火遅れ期間を短縮して主噴射による燃焼騒音の低減やNOX生成の抑制を図るために、同一サイクル内において主噴射よりも早い時期に主噴射よりも少量の燃料噴射(以下、「パイロット噴射」と称す)を行うようにしている。このパイロット噴射で機関燃焼室内に噴射された燃料(以下、「噴射燃料」と称す)は主噴射の着火源となり、この着火源は機関燃焼室の中心寄りの領域ではなく、機関燃焼室の外周領域に存在することが好ましい。これは、着火源が燃焼室の外側領域に存在すると、主噴射についての燃焼が燃焼室内で広く最適に行われ、その結果、機関燃焼室内での燃焼によるスモークの発生を低減させることができるようになるためである。
このように、着火源、すなわちパイロット噴射による噴射燃料を燃焼室の外側領域にまで到達させるためには、噴射開始からインジェクタの噴射率を高いものとする必要がある。すなわち、パイロット噴射に関しては、噴射開始直後の噴射率が高くなっている噴射パターンをもった燃料噴射装置が必要とされている。一方、主噴射については、噴射開始直後から噴射率を高いものとすると、燃焼室内の噴射燃料はまとまっているため噴射燃料の燃焼が一気に進み、燃焼騒音が大きなものとなってしまう。したがって、主噴射に関しては、噴射開始から徐々に噴射率が上昇していくような噴射パターンをもった燃料噴射装置が必要とされている。
そこで、本実施形態では、パイロット噴射を図3の期間a、bの間だけ行うように制御弁4を開閉し、主噴射を図3の期間a〜dの間行うように制御弁4を開閉することによって行うようにしている(図4参照)。したがって、パイロット噴射については、噴射開始直後の噴射率が高い噴射が行われ、主噴射については期間a、bにおいて噴射率が高くなっているものの、噴射期間全体に亘って見ると噴射開始時から徐々に噴射率が上昇していくような噴射パターンで噴射が行われる。よって、本実施形態の燃料噴射装置を用いることにより、パイロット噴射および主噴射共に適切な噴射パターンで噴射を行うことができ、よって燃焼騒音の低減やNOX生成の抑制、スモークの発生の低減を図ることができる。
この場合、先端側流路25の体積は噴射すべきパイロット噴射量に応じて設定される。すなわち、先端側流路25の体積を増大させると、期間a、bにおいて噴射される燃料量、すなわちパイロット噴射量が増大し、逆に、先端側流路25の体積を減少させると、パイロット噴射量が減少する。したがって、本実施形態では、期間a、bにおいて噴射される燃料量がパイロット噴射に最適な量となるように先端側流路25の体積が定められる。
なお、パイロット噴射後の主噴射開始までに先端側流路25内の燃料圧力が、コモンレールの燃料圧力にまで到達しないように、ニードル3閉弁時の絞り24の開口面積を非常に小さくしておいてもよい。このようにニードル3閉弁時の絞り24の開口面積を非常に小さくすることで、主噴射開始時に先端側流路25内に燃料が少量しか存在せず、期間a、bにおける噴射率を比較的小さいものとすることができるようになる。ただし、この場合でも、ニードル3閉弁時の絞り24の開口面積は、主噴射終了から次回のサイクルのパイロット噴射開始時までに先端側流路25内の燃料圧力がコモンレールの燃料圧量にまで到達しているような大きさとしなければならない。
また、上記説明においては、パイロット噴射についてのみ説明したが、同一サイクルにおいて主噴射の後に主噴射よりも少量の燃料を噴射するポスト噴射等においても、本実施形態におけるパイロット噴射と同様な噴射形態で噴射を行うようにしてもよい。この場合、高噴射率で噴射が行われることにより燃料の微粒化が促進され、噴射された燃料が燃焼し易くなる。
次に、図5および図6を参照して本発明の第二実施形態の燃料噴射装置について説明する。図5は、本発明の第二実施形態の燃料噴射装置の図1と同様な概略断面図であり、図6は、第二実施形態の燃料噴射装置の作動工程を示す図である。これら図において第一実施形態の燃料噴射装置と同様な構成要素については同一の参照番号を付し、その説明は両略する。
図5に示したように、第二実施形態のインジェクタ29においては、ニードル3はその軸線方向であって後端に向かって延びるバー30を備える。また、インジェクタ29は、ピストン31によって仕切られた二つの制御室32、33を備える。第一制御室32は、ニードル3の後端面とピストン31の先端面との間に画成され、第二制御室33は、ピストン31の後端面とノズルボディ2の壁面との間に画成される。第一制御室32は、一方で第一オリフィス34を介して燃料供給通路6に連通すると共に、他方で第二オリフィス35を介して制御弁4が収納されたバルブ室38に連通する。第二制御室33は、一方で第三オリフィス36を介して燃料供給通路6に連通すると共に、他方で第四オリフィス37を介して制御弁4が収納されたバルブ室38に連通する。
ピストン31は、その軸線方向に移動可能であるが、後端方向への移動は停止部39によって制限される。ピストン31の軸線方向と垂直な断面積はニードル3の軸線方向と垂直な断面積よりも大きく、したがってピストン31が制御室32、33内の燃料から圧力を受ける受圧面積は、ニードル3が燃料流路5内の燃料から圧力を受ける受圧面積よりも大きい。
図6および図3を参照して、本実施形態のインジェクタを用いた場合におけるニードル3のリフトに伴うインジェクタの噴射率の推移、すなわち本実施形態のインジェクタの噴射パターンについて説明する。まず、制御弁4が閉弁されていて、ニードル3のリフト量が零である場合、図6(a)に示したように、両制御室32、33内には燃料供給通路6から燃料が流入すると共に制御弁4が閉弁しているため燃料が流出せず、よって両制御室32、33内の燃料圧力は高く、コモンレールの燃料圧力とほぼ同一となっている。この場合、ニードル3はバネ9によりニードル先端側へと付勢されており、噴孔8は閉じられている。
制御弁4を開くと第二オリフィス35、第四オリフィス37を介して制御室32、33からそれぞれ燃料が流出せしめられる。同時に、制御室32、33には第一オリフィス34、第三オリフィス36を介して燃料供給通路6から燃料が供給されるが、制御室32、33からの燃料の流出速度の方が速いため、制御室32、33内の燃料圧力は徐々に低下する。また、オリフィス34、35、36、37は、第一制御室32内の燃料圧力の低下速度が第二制御室33内の燃料圧力の低下速度よりも速くなるように設定されている。したがって、制御弁4を開くと、第一制御室32内の燃料圧力は第二制御室33内の燃料圧力よりも低くなる。
一方、制御弁4が開いても燃料流路5内の燃料圧力はほとんど変わらず、よって第一制御室32内の燃料圧力よりも高いため、ニードル3が燃料流路5内の燃料から受ける後端向きの力よりもニードル3が第一制御室32内の燃料から受ける先端向きの力の方が小さくなる。そして、第一制御室32内の燃料圧力の低下に伴ってこの力の差が大きくなり、この力の差がバネ9の付勢力を超えるとニードル3のリフトが開始される。一方、第二制御室33内の燃料圧力が第一制御室32内の燃料圧力よりも高いため、ピストン31に加わる先端向きの力は後端向きの力よりも大きく、よってピストン31は先端向きに移動する。
このとき、ニードル3のリフト量は増大していくため、噴孔8からの燃料の噴射率も増大していく。第一制御室32内の燃料が急速に流出し、第一制御室32内の燃料圧力が急速に低下するように第一オリフィス34および第二オリフィス35を設定することにより、噴射率の上昇率を高いものとすることができる。このような状態は、図3の期間aに相当する。
ニードル3の後端向きの移動およびピストン31の先端向きの移動が続くと、図6(c)に示したようにニードル3のバー30がピストン31と当接する。第一制御室32内の燃料圧力は制御弁4が開いている間、常に燃料流路5内の燃料圧力および第二制御室33内の燃料圧力より低く保たれるため、一旦ニードル3のバー30とピストン31とが当接するとニードル3とピストン31とは制御弁4が開いている間、一体となって移動するようになる。
ニードル3のバー30とピストン31とが当接したとき、一体となったニードル3とピストン31(以下、「ニードル・ピストン連動体」と称す)には、燃料流路5内の燃料がニードル3に加える後端向きの力と第二制御室33内の燃料がピストン31に加える先端向きの力およびバネ9がニードル3に加える先端向きの力とが加わる。ここで、燃料流路5内の燃料圧力は第二制御室33内の燃料圧力よりも高いが、ピストン31の受圧面積はニードル3の受圧面積よりも大きいため、結果としてニードル・ピストン連動体3、31に加わる力は後端向きの力よりも先端向きの力の方が大きい。換言すると、本実施形態では、ニードル3のバー30とピストン31とが当接するときに、ニードル・ピストン連動体3、31に加わる先端向きの力が後端向きの力よりも大きくなるように、ニードル3およびピストン31の断面積、およびオリフィス34、35、36、37を設定している。このとき、ニードル3のリフト量は減少していくため、噴孔8からの燃料の噴射率も低下していく。このような状態は、図3の期間bに相当する。
その後も第二制御室33からは引き続き燃料が流出するため、第二制御室33内の燃料圧力は徐々に低下する。一方、燃料流路5内の燃料圧力はほとんど変わらず高いまま維持される。このため、図6(d)に示したように、時間の経過と共にニードル・ピストン連動体3、31に加わる先端向きの力が小さくなっていき、遂には後端向きの力よりも小さくなりニードル・ピストン連動体3、31の移動方向が反転し、先端向きから後端向きに変更される。このとき、第二制御室33内の燃料圧力は第一制御室32内の燃料圧力と同程度まで低下することはないため、ニードル3のバー30とピストン31とが離れてしまうことはない。また、第二制御室33内の燃料圧力の低下速度は比較的遅くなるように第三オリフィス36および第四オリフィス37が設定されるため、ニードル・ピストン連動体3、31の後端向きの移動速度は、図6(b)に示した場合のニードル3の後端向きの移動速度よりも遅い。したがって、ニードル3のリフト量は徐々に増大することとなり、噴孔8からの燃料の噴射率も徐々に上昇していく。このような状態は、図3の期間cに相当する。
その後、第一実施形態の燃料噴射装置と同様に、ニードル3のリフト量が増大していくと、ニードル3のリフト量が増大しても噴孔8からの燃料の噴射量は増大せず一定のままとなる。そして、制御弁4を閉弁することによって、第一制御室32および第二制御室33内の燃料圧力が回復し、ニードル3が閉弁される。このとき、次回の噴射に備えてピストン31を停止部39に当接させておく必要があるため、第二制御室33よりも第一制御室32内の燃料圧力の方が早く回復するように、すなわち第一制御室32への燃料流入速度が第二制御室33への燃料流入速度よりも速くなるように、第一オリフィス34および第三オリフィス36を設定する必要がある。
なお、上記第二実施形態の燃料噴射装置においても上記第一実施形態の燃料噴射装置と同様に、パイロット噴射では図3の期間a、bに相当する期間だけ噴射を行い、主噴射では図3の全期間a〜dに相当する期間だけ噴射を行うように用いられる。また、パイロット噴射のみならず、ポスト噴射等において上記期間a、bに相当する期間だけの噴射を行うようにしてもよい。
また、ニードル3並びにピストン31の断面積、およびオリフィスの位置並びに設定は以下の条件を満たせば如何なるものであってもよい。その条件とは、制御弁4を開弁したときに第一制御室32および第二制御室33内の燃料圧力が低下すると共に第一圧力制御室32内の燃料圧力の低下速度が第二圧力制御室33内の燃料圧力の低下速度よりも速いこと、このことにより制御弁4を開弁してから或る程度の期間経過後にニードル3とピストン31とが当接して一体的となると共に、この当接時に第二制御室33内の燃料によってピストン31が受ける先端向き力の方が燃料流路5内の燃料によってニードル3が受ける後端向きの力よりも大きく、よって当接によりニードル3の移動方向が反転して先端向きに移動すること、およびこの当接後或る程度の期間経過後に第二制御室33内の燃料圧力が低下して再びニードル3の移動方向が反転し、ニードル3が後端向きに移動するようになることである。
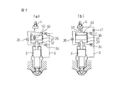
したがって、これら条件さえ満たせば、例えば、オリフィスは図7に示したように上記第二実施形態とは異なる位置に配置されてもよい。図7(a)においては、第二実施形態の第四オリフィス37の代わりに第一制御室32と第二制御室33とを連通するオリフィス40が設けられており、図7(b)においては、燃料供給通路6と制御弁4とを連通する流路がさらに設けられると共にその流路にオリフィス41が設けられている。この場合、制御弁4を閉弁後に制御室32、33の圧力回復を迅速化することができるため、ニードル3を迅速に閉弁させることができるようになる。
また、上記第二実施形態では、ニードル3とピストン31とが当接して一体的となるときに、第二制御室33内の燃料によってピストン31が受ける先端向き力の方が燃料流路5内の燃料によってニードル3が受ける後端向きの力よりも大きくなってニードル3が先端向きに移動するように、このときの第二制御室33内の燃料圧力および燃料流路5内の燃料圧力と、ピストン31の受圧面積およびニードル3の受圧面積とを設定するようにしている。これらに加えて、ニードル3とピストン31とが当接したときの慣性力によっても当接後のニードル3の移動方向が変わるため、ニードル3およびピストン31の質量の設定も考慮に入れる必要がある。
さらに、上記二つの実施形態においては、内開弁となっている燃料噴射弁について説明したが、外開弁となっている燃料噴射弁についても本発明を適用することができる。
1…インジェクタ
2…ノズルボディ
3…ニードル
4…制御弁
5…燃料流路
6…燃料供給通路
8…噴孔
9…制御室
10…バネ
20…外側突出部
22…内側突出部
24…絞り
2…ノズルボディ
3…ニードル
4…制御弁
5…燃料流路
6…燃料供給通路
8…噴孔
9…制御室
10…バネ
20…外側突出部
22…内側突出部
24…絞り
Claims (5)
- 高圧燃料を保持するコモンレールから燃料が供給されると共に機関燃焼室に燃料を噴射する燃料噴射弁を具備し、
上記燃料噴射弁は、コモンレールから供給される燃料の圧力が一定である場合に、噴射率が燃料噴射開始から第一上昇率で上昇した後に降下し、その後零になる前に第一上昇率よりも低い第二上昇率で上昇するような噴射パターンで燃料を噴射するコモンレール式燃料噴射装置。 - 上記燃料噴射弁は、燃焼室内に燃料を噴射する噴孔を先端に有するノズルと、該噴孔を開閉するニードルと、上記コモンレールから燃料が供給される圧力制御室とを有し、上記ニードルの開閉は上記圧力制御室内の燃料圧力によって制御され、該圧力制御室内の燃料圧力はアクチュエータによって作動される制御弁を開閉することによって調整せしめられ、該制御弁を開くだけで上記噴射パターンの噴射が実行されるように燃料の噴射を制御する噴射制御手段を更に具備する請求項1に記載のコモンレール式燃料噴射装置。
- 上記ノズルの内面とニードルの外面との間に燃料流路が形成され、上記噴射制御手段は、上記燃料流路上に上記ニードルのリフトに伴って開口面積が変化し且つ該ニードルがリフトしていない時でも開口している絞りを具備し、上記燃料流路は、該絞りよりもノズル後端側において上記コモンレールに接続され、且つ上記絞りよりもノズル先端側に、上記第二上昇率で噴射率が上昇する前に噴射すべき目標燃料量に応じた体積の燃料保持空間を具備する請求項2に記載のコモンレール式燃料噴射装置。
- 上記噴射制御手段は上記圧力制御室であり、該圧力制御室はピストンによって上記ニードルに隣接する第一圧力制御室と該ニードルから離間された第二圧力制御室とに分けられ、上記第一圧力制御室および第二圧力制御室は、上記制御弁を開弁したときにこれら圧力制御室内の燃料圧力が低下すると共に上記第一圧力制御室内の燃料圧力の低下速度が第二圧力制御室内の燃料圧力の低下速度よりも速く、これにより上記ニードルと上記ピストンとが互いに向かって移動して当接して一体となるように形成され、この当接により上記ニードルが受ける閉弁方向の力の少なくとも一部が上記第一圧力制御室内の燃料によってニードルが受ける力から上記第二圧力制御室内の燃料によってピストンが受ける力へと変更されると共にこの変更により上記ニードルが受ける閉弁方向の力が大きくなり、ニードルが受ける閉弁方向の力の大きさとニードルが受ける開弁方向の力の大きさとが反転する請求項2に記載のコモンレール式燃料噴射装置。
- 圧縮上死点付近で行われる主噴射の前に行われると共に該主噴射における噴射量よりも噴射量が少ない副噴射では、上記第二上昇率で噴射率が上昇する前に燃料噴射弁からの燃料の噴射を中止する請求項1〜4のいずれか1項に記載のコモンレール式燃料噴射装置。
Priority Applications (1)
| Application Number | Priority Date | Filing Date | Title |
|---|---|---|---|
| JP2004107384A JP2005291092A (ja) | 2004-03-31 | 2004-03-31 | コモンレール式燃料噴射装置 |
Applications Claiming Priority (1)
| Application Number | Priority Date | Filing Date | Title |
|---|---|---|---|
| JP2004107384A JP2005291092A (ja) | 2004-03-31 | 2004-03-31 | コモンレール式燃料噴射装置 |
Publications (1)
| Publication Number | Publication Date |
|---|---|
| JP2005291092A true JP2005291092A (ja) | 2005-10-20 |
Family
ID=35324306
Family Applications (1)
| Application Number | Title | Priority Date | Filing Date |
|---|---|---|---|
| JP2004107384A Pending JP2005291092A (ja) | 2004-03-31 | 2004-03-31 | コモンレール式燃料噴射装置 |
Country Status (1)
| Country | Link |
|---|---|
| JP (1) | JP2005291092A (ja) |
Cited By (3)
| Publication number | Priority date | Publication date | Assignee | Title |
|---|---|---|---|---|
| JP2009528480A (ja) * | 2006-03-03 | 2009-08-06 | ガンサー−ハイドロマグ アーゲー | 内燃機関用燃料噴射バルブ |
| JP2012241663A (ja) * | 2011-05-23 | 2012-12-10 | Nippon Soken Inc | 燃料噴射制御装置 |
| JP2022029425A (ja) * | 2020-08-04 | 2022-02-17 | ヴィンタートゥール ガス アンド ディーゼル アーゲー | 大型ディーゼル機関のための燃料噴射弁及び燃料噴射方法、並びに大型ディーゼル機関 |
-
2004
- 2004-03-31 JP JP2004107384A patent/JP2005291092A/ja active Pending
Cited By (4)
| Publication number | Priority date | Publication date | Assignee | Title |
|---|---|---|---|---|
| JP2009528480A (ja) * | 2006-03-03 | 2009-08-06 | ガンサー−ハイドロマグ アーゲー | 内燃機関用燃料噴射バルブ |
| JP2012241663A (ja) * | 2011-05-23 | 2012-12-10 | Nippon Soken Inc | 燃料噴射制御装置 |
| JP2022029425A (ja) * | 2020-08-04 | 2022-02-17 | ヴィンタートゥール ガス アンド ディーゼル アーゲー | 大型ディーゼル機関のための燃料噴射弁及び燃料噴射方法、並びに大型ディーゼル機関 |
| JP7777930B2 (ja) | 2020-08-04 | 2025-12-01 | ヴィンゲーデー リミテッド | 大型ディーゼル機関のための燃料噴射弁及び燃料噴射方法、並びに大型ディーゼル機関 |
Similar Documents
| Publication | Publication Date | Title |
|---|---|---|
| EP2134953B1 (en) | Fuel injection valve for internal combustion engine | |
| EP1335125B1 (en) | Needle lift damper device of injector for fuel injection and needle lift damping method | |
| JP2008309015A (ja) | 内燃機関の燃料噴射制御装置 | |
| US7077108B2 (en) | Fuel injection apparatus | |
| JP4331225B2 (ja) | 内燃機関の燃料噴射制御装置 | |
| JP4793315B2 (ja) | 燃料噴射装置 | |
| US8881709B2 (en) | Fluid injector with back end rate shaping capability | |
| JP2005500467A (ja) | 内燃機関に用いられる燃料噴射装置 | |
| US7568634B2 (en) | Injection nozzle | |
| JP2005291092A (ja) | コモンレール式燃料噴射装置 | |
| JP4226011B2 (ja) | 燃料噴射装置 | |
| JP2008202417A (ja) | 内燃機関の燃料噴射制御装置 | |
| KR101433041B1 (ko) | 연료 분사기 | |
| JP2006170034A (ja) | 内燃機関用燃料噴射装置 | |
| JP2002070684A (ja) | 燃料噴射装置 | |
| JP2005320904A (ja) | 燃料噴射弁 | |
| US20130255637A1 (en) | Fuel injector | |
| JP4270021B2 (ja) | コモンレール式燃料噴射装置の制御方法 | |
| JP5260222B2 (ja) | 蓄圧式燃料噴射装置 | |
| JP2009079485A (ja) | 燃料噴射弁 | |
| JP2002130086A (ja) | 二段噴射燃料噴射弁 | |
| JP2008175178A (ja) | 内燃機関の燃料噴射制御装置 | |
| JP2006161678A (ja) | 燃料噴射ノズル、燃料噴射弁および燃料噴射装置 | |
| JP4842881B2 (ja) | 内燃機関の燃料噴射弁 | |
| JP2009074489A (ja) | 燃料噴射弁 |