JP2005291042A - エンジンのドレン構造 - Google Patents

エンジンのドレン構造 Download PDF

Info

Publication number
JP2005291042A
JP2005291042A JP2004105156A JP2004105156A JP2005291042A JP 2005291042 A JP2005291042 A JP 2005291042A JP 2004105156 A JP2004105156 A JP 2004105156A JP 2004105156 A JP2004105156 A JP 2004105156A JP 2005291042 A JP2005291042 A JP 2005291042A
Authority
JP
Japan
Prior art keywords
crankcase
bottom wall
drain hole
partition wall
engine
Prior art date
Legal status (The legal status is an assumption and is not a legal conclusion. Google has not performed a legal analysis and makes no representation as to the accuracy of the status listed.)
Granted
Application number
JP2004105156A
Other languages
English (en)
Other versions
JP3937413B2 (ja
Inventor
Yasushi Nakamura
泰 中村
Current Assignee (The listed assignees may be inaccurate. Google has not performed a legal analysis and makes no representation or warranty as to the accuracy of the list.)
Kawasaki Heavy Industries Ltd
Original Assignee
Kawasaki Heavy Industries Ltd
Priority date (The priority date is an assumption and is not a legal conclusion. Google has not performed a legal analysis and makes no representation as to the accuracy of the date listed.)
Filing date
Publication date
Application filed by Kawasaki Heavy Industries Ltd filed Critical Kawasaki Heavy Industries Ltd
Priority to JP2004105156A priority Critical patent/JP3937413B2/ja
Publication of JP2005291042A publication Critical patent/JP2005291042A/ja
Application granted granted Critical
Publication of JP3937413B2 publication Critical patent/JP3937413B2/ja
Anticipated expiration legal-status Critical
Expired - Lifetime legal-status Critical Current

Links

Images

Landscapes

  • Lubrication Details And Ventilation Of Internal Combustion Engines (AREA)
  • Cylinder Crankcases Of Internal Combustion Engines (AREA)

Abstract

【課題】 隔壁で区画された複数の部屋から一つのドレン孔でオイルを排出でき、プラグ用ボルトで閉塞したドレン孔のシール性を高め、製造も容易になるエンジンのドレン構造を提供する。
【解決手段】 エンジンのクランクケース底壁2Aに、クランクケース2内を区画する隔壁27と、隔壁27で区画された各部屋25,30からオイルを排出するためのドレン孔40とを設け、ドレン孔40を、隔壁27の厚さよりも大径にして、隔壁27で区画された各部屋25,30に跨るようにクランクケース底壁2Aから隔壁27にかけて1つ形成し、ドレン孔40を閉塞するプラグ用ボルト43が螺合するボス部41の雌ねじ42をドレン孔40と同心上に配置した状態で、ボス部41をクランクケース底壁2Aから上方に間隔を隔てて隔壁27と一体的に形成する。
【選択図】図4

Description

本発明は、エンジンのドレン構造に関し、特に、クランクケース内に形成された複数の部屋からオイルを排出するためのエンジンのドレン構造に関するものである。
エンジンに関する技術として、クランクケース内にクランク室とミッション室とを設け、ミッション室の下部をオイルタンクとして利用することによって、外付のオイルタンクを省略することができるドライサンプ式の4サイクルエンジンがある。
このエンジンでは、ミッション室内に貯留されたオイルをフィードポンプで吸い上げてエンジン内の各機関に送給し、潤滑後のオイルを、クランクケースの下部でミッション室と隔壁により区画された部屋(戻り油室)に流下させ、この戻り油室からスカベンジングポンプによりミッション室に戻すようになっている。
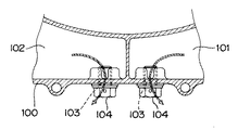
しかし、このエンジンは、オイル交換等のために内部のオイルを全て抜き取る場合、ミッション室だけでなく戻り油室に残存しているオイルも抜き取らなければならないため、図6に示すように、クランクケースの底壁100には、ミッション室101、戻り油室102のそれぞれに対応したドレン孔103を形成し、それぞれをプラグ用ボルト104で閉塞しなければならなかった。このため、オイル交換の際には、全てのプラグ用ボルト104の着脱が必要となり、手間がかかっている。
一方、特許文献1には、ウェットサンプ式のエンジン等に用いられるオイルパンを複数の油槽に区画し、各油槽のオイルをひとつのドレンポートから排出するようにした技術が開示されている。
具体的には、図7に示すように、オイルパン105内を複数の油槽に区画するオイルセパレータ106を底壁107上に設け、オイルセパレータ106の下端部に厚肉部108を形成するとともに、その内部に底壁107からドレンポート109を穿設し、厚肉部108の外周部に各油槽からドレンポート109に通ずる排油通路110を形成したものである。また、厚肉部108内のドレンポート109に雌ねじを形成し、ドレンプラグ111を下方から螺合することによってドレンポート109を閉塞するようになっている。
実開昭62−38408号公報
図7に示す上記特許文献1の技術では、オイルパン105を複数の油槽に区画しているにも関わらず、1つのドレンプラグ111を着脱するだけで、オイル交換等の作業が効率よく行える点で有用である。
しかしながら、ドレンプラグ111を螺合するためのボス部として機能する厚肉部108が、オイルパンの底壁107と密着しているためにドレンプラグ111の締め付け代がなく、ドレンポート109のシール性を高めることが困難である。
また、厚肉部108には、ドレンポート109だけではなく、各油槽とドレンポート109とを連通させる排油通路110が必要であり、結局複数の孔を形成しなければならないため、製造時間やコストが増加する。
本発明は、このような実情に鑑みたものであり、隔壁で区画された複数の部屋から一つのドレン孔でオイルを排出することができ、プラグ用ボルトで閉塞したドレン孔のシール性を高めるとともに、容易に製造することができるエンジンのドレン構造を提供することを目的とする。
請求項1記載の発明は、エンジンのクランクケース底壁に、クランクケース内を区画する隔壁と、隔壁で区画された各部屋からオイルを排出するためのドレン孔とを設け、クランクケース内に雌ねじを有するボス部を設け、ドレン孔にプラグ用ボルトを下方から挿入してボス部の雌ねじに螺合することにより、ドレン孔を閉塞するようにしたエンジンのドレン構造において、ドレン孔が、隔壁の厚さよりも大径で、隔壁で区画された各部屋に跨るようにクランクケース底壁から隔壁にかけて1つ形成され、ボス部が、雌ねじをドレン孔と同心上に配置した状態で、クランクケース底壁から上方に間隔を隔てて隔壁に一体的に形成されていることを特徴とするものである。
請求項2記載の発明は、請求項1記載の発明において、隔壁には、ドレン孔を形成した部分に、プラグ用ボルトが螺合する雌ねじが形成されていることを特徴とするものである。
請求項3記載の発明は、請求項1又は2記載の発明において、クランクケース底壁から間隔を隔てて上方に位置するとともに、隔壁を介してクランクケース底壁に接続されたクランク室底壁を備え、クランク室底壁に、ボス部が下方突出状に一体的に形成されていることを特徴とするものである。
請求項4記載の発明は、請求項3記載の発明において、ボス部の雌ねじがクランク室底壁を貫通して形成され、クランク室が雌ねじ内を介してドレン孔に連通されていることを特徴とするものである。
請求項1記載の発明によれば、ボス部がクランクケース底壁から上方に間隔を隔てて形成されているので、ボス部とクランクケース底壁との間隔がプラグ用ボルトの締め付け代として機能し、より強くプラグ用ボルトをボス部に締結することができ、ドレン孔のシール性を高めることができる。また、ドレン孔を隔壁の厚さよりも大径にして、隔壁で区画された各部屋に跨るように底壁及び隔壁に形成しているので、1つのドレン孔を形成するだけで、各部屋をドレン孔に連通させることができ、製造が容易となる。
請求項2記載の発明によれば、隔壁のドレン孔形成部分に形成した雌ねじにプラグ用ボルトを螺合することにより、隔壁とプラグ用ボルトとの隙間から各部屋間でオイルが漏れるのを防止できる。
請求項3記載の発明によれば、ボス部がクランク室底壁から下方突出状に一体的に形成されているので、ボス部の強度を高めることができる。
請求項4記載の発明によれば、クランク室が雌ねじ内を介してドレン孔に連通されるので、隔壁により区画された各部屋だけでなく、クランク室のオイルも1つのドレン孔から排出できる。
[エンジンの全体構成及び内部構造]
図1は本発明を適用したドライサンプ式の単気筒4サイクルエンジンの全体側面図である。エンジン1は、クランクケース2の上に、シリンダ3、シリンダヘッド4及びヘッドカバー5を順次締結してなり、クランクケース2内には、クランク室6(図3)及びミッション室7が形成されている。図1中、符号O1はクランク室6に配設されたクランク軸芯、O2,O3はそれぞれミッション室7に配設された変速入力軸芯及び変速出力軸芯を示している。
図2は、図1のII−II断面図であり、クランクケース2は、左右のクランクケース部材8,9に2分割されており、両クランクケース部材8,9は、シリンダ中心線Xを通りクランク軸心O1と直交する面を合わせ面として結合されている。
左側のクランクケース部材8の端壁8Aには、クランクケースカバー10が締着されており、このクランクケースカバー10で覆われる部屋12には、ジェネレータ13が収納されている。以下、この部屋12をジェネレータ室と称する。
左右クランクケース部材8,9の端壁8A,9Aには、軸受14を介してクランク軸15が回転可能に支持されている。クランク軸15は、左右2分割構造となっており、クランクピン16により左右のクランク軸部分が結合されている。
クランク軸15の左端部分は、ジェネレータ室12内に突出し、カムチェーン用スプロケット17が形成されるとともに、ジェネレータ13のロータが取り付けられている。
クランク軸15に形成したカムチェーン用スプロケット17には、カムチェーン18が巻き掛けられ、カムチェーン18は、シリンダ3及び図1に示したシリンダヘッド4内を通ってヘッドカバー5内に至り、カム軸20のスプロケット20Aに巻き掛けられている。
図3は、クランクケース2を示す図2のIII−III断面図であり、クランクケース2の前部にクランク室6が設けられ、後部にはミッション室7が設けられ、クランク室6とミッション室7の間には一定高さの仕切り壁23がクランクケース2と一体に形成されている。この仕切り壁23により、ミッション室7の下部に、クランク室6から隔離されたオイルタンク室25が形成されている。なお、図3には、オイルタンク室25に貯留されたオイルの上面L1を2点差線で示している。
仕切り壁23は、上端がクランク軸芯O1と略同じかやや高い位置にあり、この上端位置からクランク軸心O1を中心として前下方に円弧状に延びている。仕切り壁23の前半部は、クランク室6の底壁6Aを構成している。
クランクケース2の底壁2Aには、上方に突出する隔壁27が一体的に形成されている。隔壁27は、クランク軸心O1の略直下に位置し、隔壁27の上端はクランク室6の底壁6Aに一体的に繋がり、左右両端は、図2に示すように、クランクケース2の左右端壁8A,9Aに一体的に繋がっている。隔壁27は、仕切り壁23とともにミッション室7のオイルタンク室25を区画するものとなっている。
なお、図3に示すように、クランク室6の底壁6Aの下方で隔壁27の前側に形成された部屋は、エンジン1内の各機関を潤滑した後のオイルが戻される戻り油室30とされている。この戻り油室30の詳細は次に述べる。
〔エンジン内の潤滑作用〕
図1に示すように、クランクケース2の左右一端(左端)にはスカベンジングポンプ32が、左右他端(右端)にはフィードポンプ33が、それぞれ同軸上に配置されており、フィードポンプ33によってエンジン1内の各機関にオイルを送給し、スカベンジングポンプ32によって潤滑後のオイルをオイルタンク室25に戻すようになっている。
エンジン運転中、オイルタンク室25内のオイルは、フィードポンプ33によって吸い上げられてクランク室6内に送られ、クランク軸15等を潤滑する。また、オイルは、ミッション室7やヘッドカバー5周りにもパイプ34等を介して送られ、ミッション室7内の変速軸やギヤ、ヘッドカバー5周りのカム軸20等を潤滑する。
カム軸20の潤滑に利用されたオイルは、図2に示すように、シリンダ3やクランクケース2に設けられたカムチェーン18の挿通路35を通ってジェネレータ室12に流下する。クランク室6のクランク軸15等を潤滑したオイルはクランク室6の底壁6A上に流下する。また、図3に示すように、ミッション室7の変速軸等を潤滑したオイルはそのままオイルタンク室25に流下する。
クランク室6の底壁6A前端とクランクケース2の前壁とは、間隔Tがあけられており、クランク室6の底壁6A上に流下したオイルは、この間隔Tから戻り油室30に戻される。また、図1に示すように、ジェネレータ室12と戻り油室30とは、戻り流路36によって連通されており、ジェネレータ室12に流下したオイルは戻り流路36を介して戻り油室30に戻される。
戻り油室30には、第1の吸上げ流路37が開口し、該第1の吸上げ流路37は、スカベンジングポンプ32の吸引側の第2の吸上げ流路38に連通している。そして、戻り油室30内のオイルは、スカベンジングポンプ32により、第1、第2の吸上げ流路37,38を介して吸い上げられ、ミッション室6内のオイルタンク室23に戻されるようになっている。
〔エンジンのドレン構造〕
図3に示すように、クランクケース2の底壁2Aには、クランクケース2内のオイルを排出するためのドレン孔40が形成されている。
図4は、ドレン孔40を形成した部位を拡大して示す側面断面図であり、図5は、図4のV−V矢視図である。ドレン孔40は、その直径Dが隔壁27の厚さtよりも大径とされ、隔壁27が形成されている部分に重なるようにクランクケース2の底壁2Aから隔壁27かけて形成されている。したがって、ドレン孔40は、隔壁27によって区画されたオイルタンク室25と戻り油室30に跨って形成され、両室25,30を相互に連通する。
ドレン孔40の上方にはボス部41が設けられている。ボス部41の内部には雌ねじ(雌ねじ孔)42が形成され、この雌ねじ42はドレン孔40と同心上に配置されている。ボス部41は、クランクケース2の底壁2Aと間隔aを隔てて隔壁27と一体的に形成されている。また、ボス部41の上端部は、クランク室6の底壁6Aに一体的に繋がっており、よって、クランク室6の底壁6Aから下方に突出した形態となっている。これにより、ボス部41の強度が高められている。
ボス部41の雌ねじ42には、ドレン孔40を閉塞するプラグ用ボルト43が螺合されている。このプラグ用ボルト43は、クランクケース2の底壁2Aの下方からドレン孔40に挿入され、当該底壁2Aの下面との間に環状のシール50を挟持することにより、オイル漏れが生じないようにシールするものとなっている。
なお、ドレン孔40は、図2に示すように、クランクケース2の左右一端、具体的には右端に形成されており、ボス部41は、クランク室6の底壁6Aだけでなくクランクケース2の端壁9Aにも一体的に繋がっている。隔壁27、ドレン孔40、及びボス部41は、図3に示すように、クランク室6の底壁6Aの一番低い位置に対応して形成されている。
また、図2及び図3では、ボス部41に締結したプラグ用ボルト43の頭部がクランクケース底壁2Aから突出するのを防止するため、当該底壁2Aのドレン孔40形成部分を少し底上げした形態で示し、図4では、当該底壁2Aを底上げしていない形態で示しているが、いずれの形態を採用してもよい。
図5は、図4のV−V矢視図であり、隔壁27のドレン孔40を形成している部分には、プラグ用ボルト43が螺合する雌ねじ44が形成されている。これにより、隔壁27とプラグ用ボルト43とはねじ結合され、両者の隙間を介してオイルタンク室25と戻り油室30との間でオイルの漏れが生じないようにシール性を高めている。
クランクケース底壁2Aのドレン孔40を形成している部分には、プラグ用ボルト43が螺合する雌ねじは形成されておらず、プラグ用ボルト43を挿入可能な孔として構成されている。ただし、この部分にも雌ねじを形成し、プラグ用ボルト43を螺合するようにしてもよい。
図4に示すように、エンジン1のオイル交換等を行う場合、プラグ用ボルト43をドレン孔40から取り外してクランクケース2内のオイルを抜き取るが、この際、一つのプラグ用ボルト43を取り外すだけで、オイルタンク室25内のオイルだけでなく戻り油室30に残ったオイルも同時にドレン孔40から排出(矢印で示す)することができる。また、オイルを抜き取った後、ドレン孔40を再度閉塞する際にも、1つのプラグ用ボルト43をドレン孔40に挿入し、ボス部41に締結するだけでよいため、オイル交換作業を簡単且つ迅速に行うことができるようになっている。
ボス部41は、クランクケース2の底壁2Aから上方に間隔aを隔てて形成されているため、この間隔aがプラグ用ボルト43の締め付け代として機能し、プラグ用ボルト43をボス部41に強く締結することができるようになっている。このため、ドレン孔40のシール性を高めることができ、振動等に起因してドレン孔40からオイルが漏れるようなことを防止できるようになっている。
また、ドレン孔40を、隔壁27の厚さtよりも大径にして、オイルタンク室25と戻り油室30とに跨るように形成しているので、1つのドレン孔40を形成するだけで、各室25,30をドレン孔40に連通させることができ、よって、ドレン孔40を形成するための加工が容易となり、製造時間及びコストの低減が可能となる。
ボス部41に形成された雌ねじ42は、ボス部41を越えて更に上方へ延び、クランク室6の底壁6Aを貫通するにいたっている。したがって、この雌ねじ42内を介してクランク室6がドレン孔40に連通され、プラグ用ボルト43を取り外すことにより、クランク室6の底壁6A上に残ったオイルもドレン孔40から排出できるようになっている。なお、雌ねじ42により底壁6Aを貫通する加工は、ドレン孔40の下孔加工と同時にすることができる。したがって、製造工数を増加するものではない。
〔他の実施形態〕
(1)ボス部41の雌ねじ42は、クランク室6の底壁6Aを貫通せずに、ボス部41内で止まった形態とすることができる。つまり、クランク室6の底壁6A上に残ったオイルが直接ドレン孔40から排出されないように構成することができる。また、この場合には、隔壁27、ドレン孔40、ボス部41は、クランク室6の底壁6Aの一番低い位置から前または後にずれた位置に形成することができる。
(2)上記実施形態では、クランクケース2内を区画する隔壁27が左右方向に延伸したものとなっているが、十字状、T字状等に前後左右方向に延伸し、クランクケース2内を3以上の部屋に区画する構成とすることができる。この場合、隔壁27の交差部分にドレン孔40を形成することにより、1つのドレン孔40から3以上の部屋のオイルを同時に排出することができる。
本発明は、例えば、自動二輪車等の車両に用いられるエンジンのドレン構造として有用に利用できる。
本発明の実施形態に係るエンジンの全体側面図である。 図1のII−II断面図である。 クランクケースを示す図2のIII−III断面図である。 ドレン孔の形成部位を拡大して示す側面断面図である。 図4のV−V断面図である。 従来例に係るエンジンのドレン構造を示す側面断面図である。 従来例(特許文献1)に係るエンジンのドレン構造を示す側面断面図である。
符号の説明
1 エンジン
2 クランクケース
25 オイルタンク室
30 戻り油室
40 ドレン孔
41 ボス部
42 雌ねじ
43 プラグ用ボルト

Claims (4)

  1. エンジンのクランクケース底壁に、クランクケース内を区画する隔壁と、隔壁で区画された各部屋からオイルを排出するためのドレン孔とを設け、クランクケース内に雌ねじを有するボス部を設け、ドレン孔にプラグ用ボルトを下方から挿入してボス部の雌ねじに螺合することにより、ドレン孔を閉塞するようにしたエンジンのドレン構造において、
    ドレン孔が、隔壁の厚さよりも大径で、隔壁で区画された各部屋に跨るようにクランクケース底壁から隔壁にかけて1つ形成され、ボス部が、雌ねじをドレン孔と同心上に配置した状態で、クランクケース底壁から上方に間隔を隔てて隔壁に一体的に形成されていることを特徴とするエンジンのドレン構造。
  2. 隔壁には、ドレン孔を形成した部分に、プラグ用ボルトが螺合する雌ねじが形成されていることを特徴とする請求項1記載のエンジンのドレン構造。
  3. クランクケース底壁から間隔を隔てて上方に位置するとともに、隔壁を介してクランクケース底壁に接続されたクランク室底壁を備え、クランク室底壁に、ボス部が下方突出状に一体的に形成されていることを特徴とする請求項1又は2記載のエンジンのドレン構造。
  4. ボス部の雌ねじがクランク室底壁を貫通して形成され、クランク室が雌ねじ内を介してドレン孔に連通されていることを特徴とする請求項3記載のエンジンのドレン構造。

JP2004105156A 2004-03-31 2004-03-31 エンジンのドレン構造 Expired - Lifetime JP3937413B2 (ja)

Priority Applications (1)

Application Number Priority Date Filing Date Title
JP2004105156A JP3937413B2 (ja) 2004-03-31 2004-03-31 エンジンのドレン構造

Applications Claiming Priority (1)

Application Number Priority Date Filing Date Title
JP2004105156A JP3937413B2 (ja) 2004-03-31 2004-03-31 エンジンのドレン構造

Publications (2)

Publication Number Publication Date
JP2005291042A true JP2005291042A (ja) 2005-10-20
JP3937413B2 JP3937413B2 (ja) 2007-06-27

Family

ID=35324266

Family Applications (1)

Application Number Title Priority Date Filing Date
JP2004105156A Expired - Lifetime JP3937413B2 (ja) 2004-03-31 2004-03-31 エンジンのドレン構造

Country Status (1)

Country Link
JP (1) JP3937413B2 (ja)

Cited By (3)

* Cited by examiner, † Cited by third party
Publication number Priority date Publication date Assignee Title
JP2010037944A (ja) * 2008-07-31 2010-02-18 Honda Motor Co Ltd 内燃機関
DE102013113962A1 (de) * 2013-12-12 2015-07-16 Dr. Ing. H.C. F. Porsche Aktiengesellschaft Brennkraftmaschine mit einem Kurbelgehäuse
JP2018105125A (ja) * 2016-12-22 2018-07-05 川崎重工業株式会社 乗物

Cited By (4)

* Cited by examiner, † Cited by third party
Publication number Priority date Publication date Assignee Title
JP2010037944A (ja) * 2008-07-31 2010-02-18 Honda Motor Co Ltd 内燃機関
DE102013113962A1 (de) * 2013-12-12 2015-07-16 Dr. Ing. H.C. F. Porsche Aktiengesellschaft Brennkraftmaschine mit einem Kurbelgehäuse
DE102013113962B4 (de) 2013-12-12 2023-10-12 Dr. Ing. H.C. F. Porsche Aktiengesellschaft Brennkraftmaschine mit einem Kurbelgehäuse
JP2018105125A (ja) * 2016-12-22 2018-07-05 川崎重工業株式会社 乗物

Also Published As

Publication number Publication date
JP3937413B2 (ja) 2007-06-27

Similar Documents

Publication Publication Date Title
EP0837236B1 (en) Oil pan and bearings structure for crankshaft
US7100562B2 (en) Multicylinder internal combustion engine
US7637236B2 (en) Cylinder head for an overhead-cam internal combustion engine, engine incorporating same, and vehicle incorporating the engine
US10036311B2 (en) Engine
CN103133172A (zh) 内燃机的罩结构
JP3867841B2 (ja) 二輪自動車のv型内燃機関
JP3631863B2 (ja) 内燃機関
EP2868879B1 (en) Engine and straddle-type vehicle including the same
JP4704162B2 (ja) エンジンのブリーザ構造
PH12013000082A1 (en) Gear box and saddle-type vehicle including the same
JP3937413B2 (ja) エンジンのドレン構造
US8893682B2 (en) Multi-cylinder internal combustion engine
JP2009236054A (ja) 内燃機関の冷却構造
JP6029514B2 (ja) 内燃機関のクランクケース構造
JP2010024914A (ja) エンジンの潤滑構造
US8960684B2 (en) Internal combustion engine having positioning pins disposed within fluid communication ports
WO2009004475A2 (en) Engine lubrication apparatus
JP3823629B2 (ja) クランクケースブリーザ室構造
JP3899664B2 (ja) 車両用エンジンのシリンダヘッドカバー構造
JP2004108236A (ja) 4サイクルエンジンのオイルポンプ
US11149600B2 (en) Oil lubrication structure of transmission device
JP4031683B2 (ja) ドライサンプ式4サイクルエンジン
JP2004124792A (ja) 4サイクルエンジンのオイル供給経路
CN1746464B (zh) 摩托车发动机
JP2007321692A (ja) 内燃機関の冷却構造

Legal Events

Date Code Title Description
A977 Report on retrieval

Free format text: JAPANESE INTERMEDIATE CODE: A971007

Effective date: 20061120

A131 Notification of reasons for refusal

Free format text: JAPANESE INTERMEDIATE CODE: A131

Effective date: 20061121

A521 Written amendment

Free format text: JAPANESE INTERMEDIATE CODE: A523

Effective date: 20070119

TRDD Decision of grant or rejection written
A01 Written decision to grant a patent or to grant a registration (utility model)

Free format text: JAPANESE INTERMEDIATE CODE: A01

Effective date: 20070306

A61 First payment of annual fees (during grant procedure)

Effective date: 20070316

Free format text: JAPANESE INTERMEDIATE CODE: A61

R150 Certificate of patent (=grant) or registration of utility model

Free format text: JAPANESE INTERMEDIATE CODE: R150

FPAY Renewal fee payment (prs date is renewal date of database)

Free format text: PAYMENT UNTIL: 20110406

Year of fee payment: 4

FPAY Renewal fee payment (prs date is renewal date of database)

Year of fee payment: 5

Free format text: PAYMENT UNTIL: 20120406

FPAY Renewal fee payment (prs date is renewal date of database)

Free format text: PAYMENT UNTIL: 20120406

Year of fee payment: 5

FPAY Renewal fee payment (prs date is renewal date of database)

Free format text: PAYMENT UNTIL: 20130406

Year of fee payment: 6

FPAY Renewal fee payment (prs date is renewal date of database)

Year of fee payment: 6

Free format text: PAYMENT UNTIL: 20130406

FPAY Renewal fee payment (prs date is renewal date of database)

Free format text: PAYMENT UNTIL: 20140406

Year of fee payment: 7

FPAY Renewal fee payment (prs date is renewal date of database)

Year of fee payment: 7

Free format text: PAYMENT UNTIL: 20140406