JP2005190071A - 無線タグ付き名刺プレート作成管理システム - Google Patents
無線タグ付き名刺プレート作成管理システム Download PDFInfo
- Publication number
- JP2005190071A JP2005190071A JP2003429221A JP2003429221A JP2005190071A JP 2005190071 A JP2005190071 A JP 2005190071A JP 2003429221 A JP2003429221 A JP 2003429221A JP 2003429221 A JP2003429221 A JP 2003429221A JP 2005190071 A JP2005190071 A JP 2005190071A
- Authority
- JP
- Japan
- Prior art keywords
- business card
- wireless tag
- information
- card plate
- electronic paper
- Prior art date
- Legal status (The legal status is an assumption and is not a legal conclusion. Google has not performed a legal analysis and makes no representation as to the accuracy of the status listed.)
- Withdrawn
Links
Images
Landscapes
- Character Discrimination (AREA)
- Management, Administration, Business Operations System, And Electronic Commerce (AREA)
Abstract
【課題】名刺としての役割を果たしながら名刺を電子化して名刺情報の管理を可能とする、無線タグ付き名刺プレート作成管理システムを提供する。
【解決手段】名刺をスキャナで読み取り、画像情報を電子ペーパに表示して無線タグが実装された名刺プレートを作成し、コード情報を無線タグのユニークな識別情報と関連付けて来場者管理DBに格納する。また、無線タグもしくは来場者管理DBに資料請求回数を含むデータを記録し、この資料請求回数データを加工して名刺プレートに表示する。更に、電子ペーパが持つ解像度に基づき、読み取られた画像情報から必要な情報のみ抽出して表示する。
【選択図】 図2
【解決手段】名刺をスキャナで読み取り、画像情報を電子ペーパに表示して無線タグが実装された名刺プレートを作成し、コード情報を無線タグのユニークな識別情報と関連付けて来場者管理DBに格納する。また、無線タグもしくは来場者管理DBに資料請求回数を含むデータを記録し、この資料請求回数データを加工して名刺プレートに表示する。更に、電子ペーパが持つ解像度に基づき、読み取られた画像情報から必要な情報のみ抽出して表示する。
【選択図】 図2
Description
本発明は、主に、展示会場やセミナー会場で入場者に渡され、使用される、無線タグ付き名刺プレート作成管理システムに関する。
展示会場やセミナー会場において、来場者の名刺をネームプレートとして使用することがある。また、その名刺から、来場者名簿、顧客リスト等を作成し、次回開催時の案内送付、あるいは製品販売促進のための資料として活用していた。この場合、名刺はブース毎に管理され、従って、来場者は多数枚の名刺の持参を余儀なくされ、また、資料請求の毎に名刺を差し出す必要があり、面倒であった。
一方、商品見本市等の展示会場において、来場者に来場者情報が記録されたIDタグを貸与し、資料請求の際に当該IDタグを端末装置に近づける(半径50cm)だけで資料請求来場者の名刺情報を作成可能な名刺管理システムが提案されている(例えば、特許文献1参照)。
特開平10−283407号公報
特許文献1に開示された技術によれば、来場者は、資料請求の際に、都度、名刺を差し出す等の煩わしさから解放され、また、主催者側は、IDタグから読み取った名刺情報を活用することができる。
しかしながら、この場合、IDタグの情報を読み込まないとIDタグは名刺として役割を果たすことができず、主催者側は、現場で来場者がどのような立場でどのような仕事をしているのかについて、来場者を見ただけでは把握することができないため、商談等を円滑に行うことが困難である。
しかしながら、この場合、IDタグの情報を読み込まないとIDタグは名刺として役割を果たすことができず、主催者側は、現場で来場者がどのような立場でどのような仕事をしているのかについて、来場者を見ただけでは把握することができないため、商談等を円滑に行うことが困難である。
本発明は、上記事情に鑑みてなされたものであり、名刺としての役割を果たしながら名刺を電子化して名刺情報の管理を可能とする、無線タグ付き名刺プレート作成管理システムを提供することを目的とする。
上記した課題を解決するために本発明は、名刺を読み取って画像情報を生成する名刺読み取り部と、前記名刺読み取り部によって生成された画像情報を電子ペーパに表示して無線タグが実装された名刺プレートを作成する名刺プレート作成部と、前記名刺読み取り部によって生成された画像情報に基づいて文字認識してコード情報生成して前記無線タグのユニークな識別情報と関連付けて記憶装置に格納するデータベース構築部と、を備えたことを特徴とする。
また、本発明は、上述の無線タグ付き名刺プレート作成管理システムにおいて、前記無線タグもしくは記憶装置に、前記無線タグが近づけられることによって生成されるイベント発生の都度更新される、資料請求回数を含むデータを記録するデータ記録部と、前記資料請求回数データを加工して前記名刺プレートに表示する表示データ生成部と、を備えたことを特徴とする。
また、本発明は、上述の無線タグ付き名刺プレート作成管理システムにおいて、前記電子ペーパが持つ解像度に基づき、前記名刺読み取り部によって読み取られた画像情報から前記解像度に応じた情報を抽出して前記電子ペーパに表示させる表示データ抽出部と、を備えたことを特徴とする。
本発明によれば、名刺をスキャナで読み取り、画像情報を電子ペーパに表示して無線タグが実装された名刺プレートを作成し、コード情報を無線タグのユニークな識別情報と関連付けて記憶装置に格納することで、名刺としての役割を果たしながら記憶装置に格納された名刺情報の管理を行なうことができる。
また、無線タグもしくは記憶装置に資料請求回数を含むデータを記録し、この資料請求回数データを加工して名刺プレートに表示することで、主催者側は現場で来場者の立場や仕事の概要を知ることができるのは勿論のこと、表示される資料請求回数等のデータにより、興味の内容あるいは程度を知ることができ、従って、スムーズな商談等が可能となる。更に、電子ペーパが持つ解像度に基づき、読み取られた画像情報から必要な情報のみ抽出して表示することで、電子ペーパが持つ解像度が低くても、名刺としての必要な機能を確保することができるので、解像度が高い電子ペーパを利用する場合に比べて電子ペーパにかかるコストを低減させることができる。また、展示会場やセミナー会場等の現場で認識不要な、例えば、住所、電話番号、メールアドレス等を省略したネームプレートを作成することができる。
また、無線タグもしくは記憶装置に資料請求回数を含むデータを記録し、この資料請求回数データを加工して名刺プレートに表示することで、主催者側は現場で来場者の立場や仕事の概要を知ることができるのは勿論のこと、表示される資料請求回数等のデータにより、興味の内容あるいは程度を知ることができ、従って、スムーズな商談等が可能となる。更に、電子ペーパが持つ解像度に基づき、読み取られた画像情報から必要な情報のみ抽出して表示することで、電子ペーパが持つ解像度が低くても、名刺としての必要な機能を確保することができるので、解像度が高い電子ペーパを利用する場合に比べて電子ペーパにかかるコストを低減させることができる。また、展示会場やセミナー会場等の現場で認識不要な、例えば、住所、電話番号、メールアドレス等を省略したネームプレートを作成することができる。
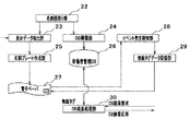
図1は、本発明の名刺プレート作成管理システムのシステムフローを示す図である。本発明で特徴的なことは、入場の際に預かった1枚の名刺からスキャナで情報を読み取り、画像情報は、裏に無線タグが実装された電子ペーパに表示して名刺プレートとして活用し、また、コード情報は、電子ペーパに実装された無線タグおよびシステムのデータベースに格納し、活用することにある。
具体的に、図1において、まず、展示会またはセミナーが開催され、入場時に来場者は名刺を提出する。ここで、主催者は、来場者から渡される1枚の名刺から情報を読み取り、画像情報が表示された名刺プレートを発行して来場者に渡す。
なお、名刺プレートは、無線タグが実装された電子ペーパで構成される。また、コード情報は、無線タグに記録されると共に、データベースが構築される。主催者は、データベースから来場者名簿を作成し、また、来場者履歴等から次回の展示会やセミナー開催案内を発行する。なお、名刺プレートについては、展示会やセミナー閉会後、または退場時に回収してデータを更新することによりリサイクルが可能である。
具体的に、図1において、まず、展示会またはセミナーが開催され、入場時に来場者は名刺を提出する。ここで、主催者は、来場者から渡される1枚の名刺から情報を読み取り、画像情報が表示された名刺プレートを発行して来場者に渡す。
なお、名刺プレートは、無線タグが実装された電子ペーパで構成される。また、コード情報は、無線タグに記録されると共に、データベースが構築される。主催者は、データベースから来場者名簿を作成し、また、来場者履歴等から次回の展示会やセミナー開催案内を発行する。なお、名刺プレートについては、展示会やセミナー閉会後、または退場時に回収してデータを更新することによりリサイクルが可能である。
電子ペーパは、紙のように柔軟でLCDよりコントラストが高く視野角が優れているため読みやすく、自由に形状を作れる優位性がある。低価格が特徴で、新しいメディアである。情報は随時書替えが可能であり、一度表示すれば、電力を必要とせず、内容が保存されている。厚さは紙に近く、約200ミクロン〜300ミクロンと非常に薄く、紙のように柔軟性に富む。
構造は比較的単純であり、2枚のプラスチックの間にコピー機で使用されている帯電トナーを封じ込め、数ボルト〜10ボルト程度の電圧を印加する。その結果、プラスチックの内側面では、帯電トナーの吸着、離着が起こり、情報が書き込まれる仕組みを持つ。着色した荷電粒子を封入したマイクロカプセルを塗布した層に、場所により異なった極性及び電圧を印加することでマイクロカプセル内の荷電粒子を泳動させ画像表示する方式もある。また、一つの画素をRGBに3分割し、あるいはCMYの3層を上下に積層することでカラー表示も可能である。
構造は比較的単純であり、2枚のプラスチックの間にコピー機で使用されている帯電トナーを封じ込め、数ボルト〜10ボルト程度の電圧を印加する。その結果、プラスチックの内側面では、帯電トナーの吸着、離着が起こり、情報が書き込まれる仕組みを持つ。着色した荷電粒子を封入したマイクロカプセルを塗布した層に、場所により異なった極性及び電圧を印加することでマイクロカプセル内の荷電粒子を泳動させ画像表示する方式もある。また、一つの画素をRGBに3分割し、あるいはCMYの3層を上下に積層することでカラー表示も可能である。
図2は、本発明の名刺プレート作成管理システムの構成例を示すブロック図である。
本発明の名刺プレート作成管理システムは、スキャナ1、PC2、無線タグリーダライタ(R/W)3、無線タグ付き名刺プレート発行機4、来場者管理データベース(DB)5で構成される。
PC2は、スキャナ1によって読み込まれる名刺情報のうち、画像情報を無線タグ付き名刺プレート発行機4へ供給し、画像情報を無線タグR/W3および来場者管理DB5へ供給する。無線タグ付き名刺プレート発行機4は、PCから受信した画像情報を電子ペーパに記録し、また、電子ペーパに実装される無線タグ10には、無線タグR/W3によって以下に示す情報が記録される。
本発明の名刺プレート作成管理システムは、スキャナ1、PC2、無線タグリーダライタ(R/W)3、無線タグ付き名刺プレート発行機4、来場者管理データベース(DB)5で構成される。
PC2は、スキャナ1によって読み込まれる名刺情報のうち、画像情報を無線タグ付き名刺プレート発行機4へ供給し、画像情報を無線タグR/W3および来場者管理DB5へ供給する。無線タグ付き名刺プレート発行機4は、PCから受信した画像情報を電子ペーパに記録し、また、電子ペーパに実装される無線タグ10には、無線タグR/W3によって以下に示す情報が記録される。
無線タグ10と無線タグR/W3の構成の一例が図6に示されている。無線タグ10は、シリアル番号等ユニークな識別情報で管理され、無線回路101、記憶回路102から構成されるICチップであり、無線タグリーダライタ3から供給される電波によって駆動される。記憶回路102には、識別情報の他に、資料請求回数、参加履歴等の情報が記録される。
無線回路101は、無線タグリーダライタ3から発せられる電波を外付け、あるいはチップに内蔵のアンテナで受信し、受信した電波を使って電磁誘導により発電し、記憶回路102に記録されたデータを発信する。この中には、自身を特定する上記した識別情報も含まれる。
無線回路101は、無線タグリーダライタ3から発せられる電波を外付け、あるいはチップに内蔵のアンテナで受信し、受信した電波を使って電磁誘導により発電し、記憶回路102に記録されたデータを発信する。この中には、自身を特定する上記した識別情報も含まれる。
無線タグリーダライタ3は、無線回路31、データ生成回路32、通信プロトコル制御回路33、外部接続インタフェース回路34で構成される。
無線タグリーダライタ3は、通信プロトコル制御回路33を介して輻輳制御が行なわれ、電波許容距離範囲(例えば1m)にある無線タグ10により発信される電波を無線回路31で受信し、そのデータを取り込む。また、データ生成回路32によって生成される記録データを変調し、無線回路31を介し発信して無線タグ10に記録する。
なお、取り込まれたデータは、外部接続インタフェース回路34を介して接続される、PC2によって処理される。
無線タグリーダライタ3は、通信プロトコル制御回路33を介して輻輳制御が行なわれ、電波許容距離範囲(例えば1m)にある無線タグ10により発信される電波を無線回路31で受信し、そのデータを取り込む。また、データ生成回路32によって生成される記録データを変調し、無線回路31を介し発信して無線タグ10に記録する。
なお、取り込まれたデータは、外部接続インタフェース回路34を介して接続される、PC2によって処理される。
説明を図2に戻し、ここでは、ブース毎に設置されるPCを核とするスタンドアロン構成を例示したが、展示会やセミナーを主催する側に設置されるサーバで集中管理し、ブースに分散配置した端末装置(PC2)によって無線タグ付き名刺プレートを発行する構成をとっても良い。その場合、ブース毎の管理は勿論、複数のブースを1つの名刺プレートで利用可能である。
図3は、図2に示すPCの内部構成を機能展開して示したブロック図である。図3に示されるように、PC2は、名刺読み取り部22と、表示データ抽出部23と、DB構築部24と、名刺プレート作成部25と、電子ペーパ27(表示データ作成部)と、イベント発生検知部28と、無線タグデータ記録部29と、DB検索処理部30で構成される。
名刺読み取り部22は、スキャナもしくはデシタルカメラ(以下、スキャナと総称する)によって読み取られる名刺情報である画像とコードを取り込み、それぞれ、表示データ抽出部23と、DB構築部24へ供給する。
表示データ抽出部23は、電子ペーパ27(表示データ生成部)が持つ解像度に基づき、名刺読み取り部22によって読み取られた画像情報から必要な情報のみ抽出して電子ペーパ27(表示データ生成部)を介して表示させる。この抽出は、例えば、電子ペーパ27の解像度を示す解像度レベルと、画像情報から抽出する対象となる項目(会社名、所属、氏名、電話番号、ファックス番号、電子メールアドレスなど)のうち、どれを抽出するかを示す抽出項目情報とが対応付けて所定のメモリ内に記憶されてあり、このメモリに記憶された情報に基づいて、作成する対象となる名刺プレートの解像度に応じた表示データが表示データ抽出部23によって抽出される。
DB構築部24は、名刺に記載された会社名、所属、氏名、住所、電話番号、Eメールアドレス等、コード化された情報を、記憶装置である来場者管理DB26に登録する。このとき、DB構築部24は、登録するこれらのコード情報を、無線タグ10のユニークな識別情報と関連付けて格納する。
名刺プレート作成部25は、名刺読み取り部22によって読み取られ、表示データ抽出部23を介して得られる画像情報を電子ペーパ27(表示データ作成部)を介して表示し、無線タグ10が実装された名刺プレートを作成する、いわゆる図2に示す無線タグ付き名刺プレート発行機4に相当する部分である。
表示データ抽出部23は、電子ペーパ27(表示データ生成部)が持つ解像度に基づき、名刺読み取り部22によって読み取られた画像情報から必要な情報のみ抽出して電子ペーパ27(表示データ生成部)を介して表示させる。この抽出は、例えば、電子ペーパ27の解像度を示す解像度レベルと、画像情報から抽出する対象となる項目(会社名、所属、氏名、電話番号、ファックス番号、電子メールアドレスなど)のうち、どれを抽出するかを示す抽出項目情報とが対応付けて所定のメモリ内に記憶されてあり、このメモリに記憶された情報に基づいて、作成する対象となる名刺プレートの解像度に応じた表示データが表示データ抽出部23によって抽出される。
DB構築部24は、名刺に記載された会社名、所属、氏名、住所、電話番号、Eメールアドレス等、コード化された情報を、記憶装置である来場者管理DB26に登録する。このとき、DB構築部24は、登録するこれらのコード情報を、無線タグ10のユニークな識別情報と関連付けて格納する。
名刺プレート作成部25は、名刺読み取り部22によって読み取られ、表示データ抽出部23を介して得られる画像情報を電子ペーパ27(表示データ作成部)を介して表示し、無線タグ10が実装された名刺プレートを作成する、いわゆる図2に示す無線タグ付き名刺プレート発行機4に相当する部分である。
一方、イベント発生検知部28は、無線タグ10が無線タグR/W3に近づけられることによって生成されるイベント(資料請求)を検知して無線タグデータ記録部29を起動する機能を持つ。無線タグデータ記録部29は、イベント発生の都度更新される、資料請求回数を含むデータを無線タグ10に記録する。
DB検索処理部30は、DB検索要求を受信したときに来場者管理DB26を検索し、例えば、検索結果得られる来場者に次回展示会やセミナーの開催案内を作成する等の機能を持つ。なお、ここに示す電子ペーパ27は、先の資料請求回数データを加工(例えば棒グラフ化)して名刺プレートに表示させる表示データ生成部を含む。この表示データ生成部は、資料請求回数に応じた図形を名刺プレートに表示させる機能を有し、資料請求回数は、図形で表示されれば棒グラフに限らず、他の図形であってもよい。例えば、資料請求回数と図形とを対応付けて所定のメモリに記憶しておき、このメモリを参照することにより、資料請求回数に応じて、異なる図形(図柄)に更新するようにしてもよい。なお、この図形としてはグラフに限らず、花などの図形を適用することにより、資料請求回数を把握することができるとともに、装飾によって見栄えを向上させることができる。
DB検索処理部30は、DB検索要求を受信したときに来場者管理DB26を検索し、例えば、検索結果得られる来場者に次回展示会やセミナーの開催案内を作成する等の機能を持つ。なお、ここに示す電子ペーパ27は、先の資料請求回数データを加工(例えば棒グラフ化)して名刺プレートに表示させる表示データ生成部を含む。この表示データ生成部は、資料請求回数に応じた図形を名刺プレートに表示させる機能を有し、資料請求回数は、図形で表示されれば棒グラフに限らず、他の図形であってもよい。例えば、資料請求回数と図形とを対応付けて所定のメモリに記憶しておき、このメモリを参照することにより、資料請求回数に応じて、異なる図形(図柄)に更新するようにしてもよい。なお、この図形としてはグラフに限らず、花などの図形を適用することにより、資料請求回数を把握することができるとともに、装飾によって見栄えを向上させることができる。
図4は、図2、図3に示す本発明実施形態の基本動作を説明するために引用したフローチャートである。
以下、図4に示すフローチャートを参照しながら本発明実施形態の動作について詳細に説明する。
以下、図4に示すフローチャートを参照しながら本発明実施形態の動作について詳細に説明する。
まず、名刺読み取り部22は、来場者の名刺から画像情報とコード情報を取り込み(S41)、画像情報は表示データ抽出部23へ、コード情報はDB構築部24へ供給する(S42)。表示データ抽出部23では、電子ペーパ27が持つ解像度に従い必要情報を抽出して該当する画像情報を名刺プレート作成部25へ供給する(S43)。
ここでは、デフォルトで「会社名、所属、氏名」を定義しても良く、また、必要に応じて必要情報を設定させても良い。このことにより、名刺プレート作成部25では、表示データ抽出部23によって抽出された画像情報を電子ペーパ27に表示することにより、無線タグが実装された名刺プレートを作成することができる(S44)。前者のデフォルト設定に従い作成された名刺プレートの一例を図7(b)に示す。ここでは、解像度の関係から、来場者の住所、電話番号、Eメールルアドレスが省略された名刺になっている。なお、図7(a)は、名刺に書かれたデータの一例を示す。
ここでは、デフォルトで「会社名、所属、氏名」を定義しても良く、また、必要に応じて必要情報を設定させても良い。このことにより、名刺プレート作成部25では、表示データ抽出部23によって抽出された画像情報を電子ペーパ27に表示することにより、無線タグが実装された名刺プレートを作成することができる(S44)。前者のデフォルト設定に従い作成された名刺プレートの一例を図7(b)に示す。ここでは、解像度の関係から、来場者の住所、電話番号、Eメールルアドレスが省略された名刺になっている。なお、図7(a)は、名刺に書かれたデータの一例を示す。
また、DB構築部24では、入力されたコード情報に基づき、来場者管理DB26を構築し(S45)、このとき、来場者管理DB26には、来場者毎に割当てられる無線タグ10の識別情報毎、会社名、所属、氏名、住所、電話番号、Eメールアドレス等のデータ項目が設定され格納される。そして、随時、DB検索要求を受付け、DB検索応答処理を実行する(S46)。
DB検索応答処理により作成される開催案内の処理フローを図5(a)に示す。すなわち、DB検索要求を受信したDB検索処理部30は(S461)、来場者管理DB26を検索して次回開催案内の送付が必要とされる来場者を抽出し(S462)、あらかじめ作成済みのテンプレートに、抽出された来場者の会社名、所属、氏名を埋め込み、案内通知を作成する(S463)。
DB検索応答処理により作成される開催案内の処理フローを図5(a)に示す。すなわち、DB検索要求を受信したDB検索処理部30は(S461)、来場者管理DB26を検索して次回開催案内の送付が必要とされる来場者を抽出し(S462)、あらかじめ作成済みのテンプレートに、抽出された来場者の会社名、所属、氏名を埋め込み、案内通知を作成する(S463)。
一方、イベント発生検知部28は、常時イベント発生を監視している。イベント検知の処理フローが図5(b)に示されている。
すなわち、名刺プレートを携行する来場者が、資料請求のために無線タグR/W3に名刺プレートをかざしたときに(S471)、これをイベント発生として検知する(S472)。このとき、無線タグデータ記録部29を起動して無線タグ27の資料請求回数データを更新する(S473)。なお、来場者管理DB26に、更に資料請求回数データ項目を割付け、これを更新しても良い(図4、S48)。電子ペーパ(表示データ作成部)27は、更新された表示回数を棒グラフデータに加工し、これを表示する(S49)。
すなわち、名刺プレートを携行する来場者が、資料請求のために無線タグR/W3に名刺プレートをかざしたときに(S471)、これをイベント発生として検知する(S472)。このとき、無線タグデータ記録部29を起動して無線タグ27の資料請求回数データを更新する(S473)。なお、来場者管理DB26に、更に資料請求回数データ項目を割付け、これを更新しても良い(図4、S48)。電子ペーパ(表示データ作成部)27は、更新された表示回数を棒グラフデータに加工し、これを表示する(S49)。
以上説明のように本発明は、名刺としての役割を果たしながら名刺を電子化して名刺情報の管理を可能とする、無線タグ付き名刺プレート作成管理システムを提供するものであり、このために、名刺をスキャナ1で読み取り、画像情報を電子ペーパ27に表示して無線タグ10が実装された名刺プレートを作成し、コード情報を無線タグのユニークな識別情報と関連付けて来場者管理DB26に格納する。
本発明によれば、無線タグ10もしくは来場者管理DB26に資料請求回数を含むデータを記録し、この資料請求回数データを加工して名刺プレートに表示することで、主催者側は現場で来場者の立場や仕事の概要を知ることができるのは勿論のこと、表示される資料請求回数等のデータにより、興味の内容あるいは程度を知ることができ、従って、スムーズな商談等が可能となる。更に、電子ペーパが持つ解像度に基づき、読み取られた画像情報から必要な情報のみ抽出して表示することで、電子ペーパが持つ解像度に関する弱点をカバーでき、展示会場やセミナー会場等の現場で認識不要な、例えば、住所、電話番号、メールアドレス等を省略したネームプレートを表示できる。
本発明によれば、無線タグ10もしくは来場者管理DB26に資料請求回数を含むデータを記録し、この資料請求回数データを加工して名刺プレートに表示することで、主催者側は現場で来場者の立場や仕事の概要を知ることができるのは勿論のこと、表示される資料請求回数等のデータにより、興味の内容あるいは程度を知ることができ、従って、スムーズな商談等が可能となる。更に、電子ペーパが持つ解像度に基づき、読み取られた画像情報から必要な情報のみ抽出して表示することで、電子ペーパが持つ解像度に関する弱点をカバーでき、展示会場やセミナー会場等の現場で認識不要な、例えば、住所、電話番号、メールアドレス等を省略したネームプレートを表示できる。
1…スキャナ、2…PC、3…無線タグリーダライタ、4…無線タグ付き名刺プレート、5、26…来場者管理データベース、10…無線タグ、22…名刺読み取り部、23…表示データ抽出部、24…DB構築部、25…名刺プレート作成部、27…電子ペーパ(表示データ作成部)、28…イベント発生検知部、29…無線タグデータ記録部、30…DB検索処理部
Claims (3)
- 名刺を読み取って画像情報を生成する名刺読み取り部と、
前記名刺読み取り部によって生成された画像情報を電子ペーパに表示して無線タグが実装された名刺プレートを作成する名刺プレート作成部と、
前記名刺読み取り部によって生成された画像情報に基づいて文字認識してコード情報生成して前記無線タグのユニークな識別情報と関連付けて記憶装置に格納するデータベース構築部と、
を備えたことを特徴とする無線タグ付き名刺プレート作成管理システム。 - 前記無線タグもしくは記憶装置に、前記無線タグが近づけられることによって生成されるイベント発生の都度更新される、資料請求回数を含むデータを記録するデータ記録部と、
前記資料請求回数データを加工して前記名刺プレートに表示する表示データ生成部と、
を備えたことを特徴とする請求項1に記載の無線タグ付き名刺プレート作成管理システム。 - 前記電子ペーパが持つ解像度に基づき、前記名刺読み取り部によって読み取られた画像情報から前記解像度に応じた情報を抽出して前記電子ペーパに表示させる表示データ抽出部と、
を備えたことを特徴とする請求項1に記載の無線タグ付き名刺プレート作成管理システム。
Priority Applications (1)
| Application Number | Priority Date | Filing Date | Title |
|---|---|---|---|
| JP2003429221A JP2005190071A (ja) | 2003-12-25 | 2003-12-25 | 無線タグ付き名刺プレート作成管理システム |
Applications Claiming Priority (1)
| Application Number | Priority Date | Filing Date | Title |
|---|---|---|---|
| JP2003429221A JP2005190071A (ja) | 2003-12-25 | 2003-12-25 | 無線タグ付き名刺プレート作成管理システム |
Publications (1)
| Publication Number | Publication Date |
|---|---|
| JP2005190071A true JP2005190071A (ja) | 2005-07-14 |
Family
ID=34787949
Family Applications (1)
| Application Number | Title | Priority Date | Filing Date |
|---|---|---|---|
| JP2003429221A Withdrawn JP2005190071A (ja) | 2003-12-25 | 2003-12-25 | 無線タグ付き名刺プレート作成管理システム |
Country Status (1)
| Country | Link |
|---|---|
| JP (1) | JP2005190071A (ja) |
Cited By (2)
| Publication number | Priority date | Publication date | Assignee | Title |
|---|---|---|---|---|
| JP2007087151A (ja) * | 2005-09-22 | 2007-04-05 | Okamura Corp | 物品の管理システム |
| JP2009223807A (ja) * | 2008-03-18 | 2009-10-01 | Hitachi Information Systems Ltd | 名刺交換管理システム及び名刺交換管理方法 |
-
2003
- 2003-12-25 JP JP2003429221A patent/JP2005190071A/ja not_active Withdrawn
Cited By (2)
| Publication number | Priority date | Publication date | Assignee | Title |
|---|---|---|---|---|
| JP2007087151A (ja) * | 2005-09-22 | 2007-04-05 | Okamura Corp | 物品の管理システム |
| JP2009223807A (ja) * | 2008-03-18 | 2009-10-01 | Hitachi Information Systems Ltd | 名刺交換管理システム及び名刺交換管理方法 |
Similar Documents
| Publication | Publication Date | Title |
|---|---|---|
| US7508308B2 (en) | Tracking apparatus and method, as for an exhibition | |
| JP4852887B2 (ja) | 掲示板 | |
| US9607094B2 (en) | Information communication method and information communication apparatus | |
| KR101445599B1 (ko) | 얼굴인식형 스마트 페이퍼출입증 자동 발급 장치 및 방법 | |
| US8078988B2 (en) | Information display system, apparatus and method of displaying electronic information according to schedule information | |
| US7813934B1 (en) | Tracking apparatus and method, as for an exhibition | |
| US20070233548A1 (en) | Visitor support system, visitor support method, and recording medium | |
| JP2011118852A (ja) | 個人認証カードおよび個人認証ネットワークシステム | |
| US20210027263A1 (en) | Information processing apparatus, document creating method, and recording medium | |
| JP5320903B2 (ja) | コンテンツ送信装置、プログラム、コンテンツ送信方法 | |
| KR100491431B1 (ko) | 유비쿼터스 컴퓨팅을 이용한 지능형 디지털 전시 시스템 | |
| TWI765505B (zh) | 可攜式身份識別裝置、電子紙身份識別系統及其操作方法 | |
| JP2005063145A (ja) | 情報提供システム、情報提供方法、その方法をコンピュータに実行させるプログラム、及びそのプログラムを記録した情報記録媒体 | |
| CN206097251U (zh) | 一种法院自助访客机 | |
| JP2005190071A (ja) | 無線タグ付き名刺プレート作成管理システム | |
| CN109672798A (zh) | 信息处理装置以及存储媒体 | |
| Naraparaju et al. | Smart poster for tourism promotion through NFC technology | |
| JP4532809B2 (ja) | 情報処理サーバ、情報処理方法、情報処理プログラム、及び記憶媒体 | |
| US20210158117A1 (en) | Geofenced-based lost and found mobile device application system | |
| JP4698882B2 (ja) | 予約システム、サーバ、プログラム、記録媒体 | |
| JP2008077539A (ja) | 来場管理システム、来場管理サーバ、プログラム、及び記録媒体 | |
| US20080007389A1 (en) | Attendee Management Method and Attendee Management System | |
| JP2001312710A (ja) | 更新可能な名札機能を有するidカード、並びに該idカードを用いた来場者管理システムおよび管理方法 | |
| Sonar et al. | Student Smart Card | |
| JP2003036225A (ja) | 電子掲示板システム |
Legal Events
| Date | Code | Title | Description |
|---|---|---|---|
| A300 | Application deemed to be withdrawn because no request for examination was validly filed |
Free format text: JAPANESE INTERMEDIATE CODE: A300 Effective date: 20070306 |