JP2004236020A - 撮影装置、撮影システム、遠隔監視システムおよびプログラム - Google Patents
撮影装置、撮影システム、遠隔監視システムおよびプログラム Download PDFInfo
- Publication number
- JP2004236020A JP2004236020A JP2003022658A JP2003022658A JP2004236020A JP 2004236020 A JP2004236020 A JP 2004236020A JP 2003022658 A JP2003022658 A JP 2003022658A JP 2003022658 A JP2003022658 A JP 2003022658A JP 2004236020 A JP2004236020 A JP 2004236020A
- Authority
- JP
- Japan
- Prior art keywords
- photographing
- unit
- wireless communication
- control unit
- data
- Prior art date
- Legal status (The legal status is an assumption and is not a legal conclusion. Google has not performed a legal analysis and makes no representation as to the accuracy of the status listed.)
- Pending
Links
Images
Landscapes
- Closed-Circuit Television Systems (AREA)
- Studio Devices (AREA)
- Selective Calling Equipment (AREA)
Abstract
【課題】監視対象者を遠隔監視する場合にあって、遠隔監視者が監視対象者の周囲の状況を容易かつ正確に理解できるようにする。
【解決手段】この遠隔監視システム100では、監視対象者は頭部に撮影装置30を装着する。撮影装置30によって撮影された撮影画像データは、コントロールユニット20から無線通信網10を介して遠隔監視装置40に送信される。ここで、撮影装置30は、監視対象者の視野とほぼ同一の範囲や方向を撮影するようになっており、これにより撮影画像を見た遠隔監視者は監視対象者の周囲の状況をより正確に理解することができる。
【選択図】 図1
【解決手段】この遠隔監視システム100では、監視対象者は頭部に撮影装置30を装着する。撮影装置30によって撮影された撮影画像データは、コントロールユニット20から無線通信網10を介して遠隔監視装置40に送信される。ここで、撮影装置30は、監視対象者の視野とほぼ同一の範囲や方向を撮影するようになっており、これにより撮影画像を見た遠隔監視者は監視対象者の周囲の状況をより正確に理解することができる。
【選択図】 図1
Description
【0001】
【発明の属する技術分野】
この発明は、映像を撮影する撮影装置、撮影システム、撮影装置を用いた遠隔監視システムおよびプログラムに関する。
【0002】
【従来の技術】
従来、警備員、子供などの個人の状況を遠隔地で監視する場合、携帯電話が用いられるのが一般的であり、例えば現場にいる警備員等が周囲の状況を把握し、把握した状況を携帯電話や無線機を用いて遠隔監視者に会話で伝達するといったことが行われている。
【0003】
しかし、このような携帯電話等を用いた会話による状況伝達では、遠隔監視者が正確にその状況を理解することができない場合もあり、また遠隔監視者に正確に理解させるためには多大な説明が必要となり、多大な時間を費やしてしまうこともある。一般的に警備員、子供など遠隔監視が必要とされるケースとしては、監視対象者の周囲に異常等が発生するおそれがあり、これを防止するためになされることが多く、異常が発生した際にその異常状況下にある監視対象者が携帯電話で正確に状況説明をすることは困難であると考えられる。
【0004】
このように携帯電話等を用いた会話による状況伝達が困難であることに鑑み、デジタルカメラやビデオカメラ等を監視対象者が所持しておき、異常等が発生した場合に、デジタルカメラやビデオカメラを携帯電話等とケーブル等で接続し、撮影画像を遠隔監視者宛てに送信することが考えられる。また、デジタルカメラ機能を搭載した携帯電話を監視対象者に所持させ、当該デジタルカメラで撮影した画像と音声とを遠隔監視者宛てに送信するシステムが提案されている(例えば、特許文献1参照)。
【0005】
このような手法では、デジタルカメラ等で撮影した画像が遠隔監視者に送信されるので、遠隔監視者は監視対象者の会話による説明だけではなく、撮影画像を参照することができるので、状況把握が比較的容易となる。
【0006】
【特許文献1】
特開平11−41669号公報
【0007】
【発明が解決しようとする課題】
しかし、監視対象者にデジタルカメラ等を所持させておき、異常等が発生した場合にデジタルカメラを携帯電話と接続する方法では、監視対象者が周囲の状況の撮影を開始するまでに時間を要し、犯罪の瞬間を撮り逃したり、また監視対象者が襲われてしまい、撮影が全くできないといったケースも生じる。
【0008】
また、デジタルカメラを内蔵した携帯電話を用いれば、デジタルカメラと携帯電話を接続するといった作業が不要であるため、撮影開始までの時間は上記方法よりも短縮することができるものの、携帯電話を取り出して構えて撮影するといった時間が必要であり、ひったくりなどの瞬間的な犯罪などを撮影することができないことがある。この場合には、遠隔監視者は監視対象者の周囲等に起こった犯罪という状況を理解できなくなってしまう。
【0009】
また、撮影された画像と音声が遠隔監視者に送信され、遠隔監視者はこれらを参照して状況を理解することになるが、撮影画像が監視対象者が現に見ている視野と一致していない場合には、遠隔監視者は監視対象者の説明を聞いても状況を理解できないといった問題も生じる。例えば、監視対象者はある物体等を見ながら状況説明している場合に、撮影画像にその物体が写っていない場合には、遠隔監視者は容易に状況を理解できないこともある。
【0010】
この発明は上記に鑑みてなされたもので、監視対象者を遠隔監視する場合にあって、遠隔監視者が監視対象者の周囲の状況を容易かつ正確に理解できるようにする撮影装置、撮影システム、遠隔監視システムおよびプログラムを得ることを目的とする。
【0011】
【課題を解決するための手段】
上記目的を達成するため、請求項1にかかる発明は、人体の予め決められた位置に取り付けられる装着部と、前記装着部が装着された人の前方側を撮影する撮影手段と、前記装着部に取り付けられ、前記撮影手段を保持する手段であって、ユーザ操作により前記撮影手段の保持位置を調整できる保持手段とを具備し、前記保持手段によって調整可能な前記撮影手段の保持位置は、前記装着部が装着された人の目よりも前方側であり、かつ当該人の目の近傍であることを特徴とする撮影装置である。
【0012】
請求項1にかかる発明によれば、装着部を人が装着した場合、撮影手段が人の目よりも前方側であり、かつ目の近傍の位置に保持され、またこのような位置の範囲で保持位置の調整をなすことができる。したがって、撮影手段による撮影方向や範囲が装着者は自らの視野とほぼ一致するように保持位置を調整することができ、また目の前方側にあるので装着者の顔が撮影範囲に入ったりすることを抑制できる。このように監視対象者の視野とほぼ同一の映像を撮影することができるので、かかる映像を遠隔監視等に役立てることも可能である。
【0013】
また、請求項2にかかる発明は、請求項1にかかる発明の構成において、前記保持手段は、前記装着部に取り付けられる取付部と、前記撮影手段を保持する保持部と、前記取付部と保持部との間に位置する中間部を有しており、前記中間部には前記撮影手段に電力を供給する電池を保持する電池保持部が形成されていることを特徴とする。
【0014】
請求項2にかかる発明によれば、取付部と保持部との間に電池保持部を設けることで、装置全体の小型化が容易となる。
【0015】
また、請求項3にかかる発明は、請求項1または2にかかる発明の構成において、前記装着部は、人の頭部に装着されるヘルメット形状であることを特徴とする。
【0016】
請求項3にかかる発明によれば、装着者はヘルメット形状の装着部をかぶることで当該撮影装置を装着することができ、装着作業が容易となるとともに、装着者がそもそもヘルメットを着用して職務等を行う場合には撮影装置を装着することが負担とならない。
【0017】
また、請求項4にかかる発明は、映像を撮影する撮影装置と、前記撮影装置と通信手段を介して接続され、前記撮影装置を制御するコントロールユニットとを備えた撮影システムであって、前記撮影装置は、人体の予め決められた位置に取り付けられる装着部と、前記装着部が装着された人の前方側を撮影する撮影手段と、前記装着部に取り付けられ、前記撮影手段を保持する手段であって、ユーザ操作により前記撮影手段の保持位置を前記装着部が装着された人の目よりも前方側の位置であり、かつ当該人の目の近傍位置の範囲内で調整できる保持手段とを備え、前記コントロールユニットは、無線通信網を介してデータ通信を行う無線通信部と、前記撮影手段によって撮影された撮影データを前記無線通信網を介して送信するよう前記無線通信部を制御する制御部とを備えることを特徴とする撮影システムである。
【0018】
請求項4にかかる発明によれば、撮影装置の装着部を人が装着した場合、撮影手段が人の目よりも前方側であり、かつ目の近傍の位置に保持され、またこのような位置の範囲で保持位置の調整をなすことができ、上述したように撮影手段による撮影方向や範囲が装着者は自らの視野とほぼ一致するように保持位置を調整することができる。そして、コントロールユニットによってかかる撮影手段の撮影データが無線通信網を介して遠隔地にある装置に送信させることができ、遠隔地において現場にいる監視対象者の視界にある光景とほぼ同様の光景を見ることができる。
【0019】
また、請求項5にかかる発明は、請求項4にかかる発明の構成において、前記コントロールユニットは、前記撮影手段によって撮影された画像を表示画面に表示する表示手段と、前記表示画面の予め決められた位置に、前記撮影手段によって撮影された撮影画像に重ねて撮影方向を調整するための画像を表示させる調整画像表示手段とをさらに有することを特徴とする。
【0020】
請求項5にかかる発明によれば、コントロールユニットの表示画面に撮影画像が表示されるので、装着者はかかる表示を参照することで、撮影手段による撮影方向や範囲が自己の視野と一致しているかを確認しながら保持位置調整を行える。また、撮影画像に重ねて撮影方向を調整するための画像が表示されるので、かかる画像を参考にしながら保持位置調整を行うことで簡易かつ正確な保持位置調整が行える。
【0021】
また、請求項6にかかる発明は、請求項4または5にかかる発明の構成において、前記コントロールユニットは、前記無線通信部による無線通信状況を検出する通信状況検出手段と、前記通信状況検出手段によって検出された通信状況が予め決められていた状況となった場合に前記撮影手段によって撮影された撮影データを記録媒体に記録する記録手段とをさらに有し、前記制御部は、前記通信状況検出手段によって検出された通信状況が前記予め決められていた状況を脱したときに前記記録媒体に記憶されている撮影データを送信するよう前記無線通信部を制御することを特徴とする。
【0022】
請求項6にかかる発明によれば、通信状況が悪化した場合、撮影データを記録手段に記録しておき、通信状況が良好となったときに記録手段に記録しておいた撮影データを送信することができる。したがって、通信が困難な状況下に一時的に陥った場合であっても、その状況下で撮影された撮影データを送信することができ、受信側における撮影データの欠落等を抑制することができる。
【0023】
また、請求項7にかかる発明は、請求項4ないし6のいずれかにかかる発明の構成において、前記装着部が前記予め決められた人体の位置に装着された際に前記保持手段によって当該人の耳の近傍の位置に保持され、前記無線通信部によって受信された音声データに基づく音を発する音声発生手段をさらに具備することを特徴とする。
【0024】
請求項7にかかる発明によれば、遠隔監視者から音声データが供給された場合、その音声が発せられるので、監視対象者は遠隔監視者の指示やアドバイスを聞くことができる。
【0025】
また、請求項8にかかる発明は、請求項4ないし7のいずれかにかかる発明の構成において、前記コントロールユニットは、当該コントローラの現在位置を検出する位置検出手段をさらに有しており、前記制御部は、前記位置検出手段によって検出された現在位置が予め決められていた位置の範囲内である場合に、前記撮影手段によって撮影された撮影データを送信するよう前記無線通信部を制御することを特徴とする。
【0026】
請求項8にかかる発明によれば、予め決められた位置の範囲内にコントロールユニットの所持者がいる場合、自動的に撮影データが送信されるようになっている。したがって、コントロールユニットの所持者は撮影データの送信指示等を個別に行わなくても、撮影データの送信が必要なエリアに移動すれば自動的に撮影データの送信が開始される。
【0027】
また、請求項9にかかる発明は、請求項4ないし8のいずれかにかかる発明の構成において、前記コントロールユニットは、スイッチボタンを有しており、前記制御部は、前記スイッチボタンの操作に応じて前記前記撮影手段によって撮影された撮影データを予め決められた送信先に送信するよう前記無線通信部を制御するか否かを決定することを特徴とする。
【0028】
請求項9にかかる発明によれば、スイッチボタンを操作することで、予め決められた送信先に撮影データが送信される。したがって、送信先を指定したりする煩雑な操作を行うことなく、撮影データを所望の送信先に送信することができ、とっさに異常事態が発生した場合であっても、操作時間に起因してそれを逃してしまうといったことを抑制することができる。
【0029】
また、請求項10にかかる発明は、請求項4ないし9のいずれかにかかる発明の構成において、前記コントロールユニットは、前記装着部が装着される人の周囲に異常があるか否かを検出する異常検出手段をさらに有しており、前記制御部は、前記異常検出手段によって異常が検出された場合に前記前記撮影手段によって撮影された撮影データを送信するよう前記無線通信部を制御することを特徴とする。
【0030】
請求項10にかかる発明によれば、コントロールユニットによって、撮影装置の装着者の周囲に異常があった場合に自動的に撮影データが送信される。したがって、とっさに異常事態が発生した場合であっても、監視対象者が個別の送信指示等を行うことなく、自動的に撮影データが送信されるので、とっさの異常事態を撮り逃すといったことを抑制できる。
【0031】
また、請求項11にかかる発明は、請求項4ないし10にかかる発明の構成において、前記装着部は、人の頭部に装着されるヘルメット形状であることを特徴とする。
【0032】
請求項11にかかる発明によれば、装着者はヘルメット形状の装着部をかぶることで当該撮影装置を装着することができ、装着作業が容易となるとともに、装着者がそもそもヘルメットを着用して職務等を行う場合には撮影装置を装着することが負担とならない。
【0033】
また、請求項12にかかる発明は、映像を撮影する撮影装置と、前記撮影装置と通信手段を介して接続され、前記撮影装置を制御するコントロールユニットと、遠隔監視装置とを備えた遠隔監視システムであって、前記撮影装置は、人体の予め決められた位置に取り付けられる装着部と、前記装着部が装着された人の前方側を撮影する撮影手段と、前記装着部に取り付けられ、前記撮影手段を保持する手段であって、ユーザ操作により前記撮影手段の保持位置を前記装着部が装着された人の目よりも前方側の位置であり、かつ当該人の目の近傍位置の範囲内で調整できる保持手段とを備え、前記コントロールユニットは、無線通信網を介してデータ通信を行う無線通信部と、前記撮影手段によって撮影された撮影データを前記無線通信網を介して前記遠隔監視装置に送信するよう前記無線通信部を制御する制御部とを備え、前記遠隔監視装置は、前記コントロールユニットから前記無線通信網を介して送信される撮影データを受信する受信手段と、前記受信手段によって受信された撮影データを記憶する記憶手段とを備えることを特徴とする遠隔監視システムである。
【0034】
請求項12にかかる発明によれば、撮影装置の装着部を人が装着した場合、撮影手段が人の目よりも前方側であり、かつ目の近傍の位置に保持され、またこのような位置の範囲で保持位置の調整をなすことができ、上述したように撮影手段による撮影方向や範囲が装着者は自らの視野とほぼ一致するように保持位置を調整することができる。そして、コントロールユニットによってかかる撮影手段の撮影データを無線通信網を介して遠隔地にある遠隔監視装置に送信されるので、遠隔地において現場にいる監視対象者の視界にある光景とほぼ同様の光景を見ることができ、遠隔地にいる監視者の状況理解を容易にすることができる。
【0035】
また、請求項13にかかる発明は、請求項12にかかる発明の構成において、前記記憶手段は、前記コントロールユニットから送信される前記撮影データを過去一定時間分だけ記憶するリングバッファ領域と、前記コントロールユニットから前記無線通信網を介して前記別保存指示が送信された場合に、前記リングバッファ領域に記憶されている当該指示があった時点から過去所定時間分の前記撮影データを読み出して記憶する別記憶領域とを有していることを特徴とする。
【0036】
請求項13にかかる発明によれば、コントロールユニットから送信される撮影データの過去一定時間分だけをリングバッファ領域に記憶させているので、撮影データの保存に必要なメモリ等の記憶容量を小さくすることができる一方で、保存したい撮影データについては別保存指示をなすことで別途保存することができ、後にその撮影データに基づく映像を参照して状況の検証等を行うことができる。
【0037】
また、請求項14にかかる発明は、請求項13にかかる発明の構成において、前記制御部は、ユーザから撮影データを別途保存するための別保存指示があった場合に、別保存指示を前記遠隔監視装置に送信するよう前記無線通信部を制御することを特徴とする。
【0038】
請求項14にかかる発明によれば、ユーザから指示があった場合に、撮影データが別途保存されるので、異常が発生した場合などの別保存指示をユーザがなせば、その異常状況を撮影した撮影データを保存することができる。
【0039】
また、請求項15にかかる発明は、請求項13にかかる発明の構成において、前記コントロールユニットは、前記装着部が装着される人の周囲に異常があるか否かを検出する異常検出手段をさらに有しており、前記制御部は、前記異常検出手段によって異常が検出された場合に別保存指示を前記遠隔監視装置に送信するよう前記無線通信部を制御することを特徴とする。
【0040】
請求項15にかかる発明によれば、監視対象者の周囲に異常が発生すれば、異常検出手段によって検出され、別保存指示が遠隔監視装置に送信され、これにより異常発生前後の撮影データが別保存される。したがって、監視対象者は異常発生時に特別な操作をしなくても、自動的に異常発生前後の撮影データが別保存されることになる。
【0041】
また、請求項16にかかる発明は、無線通信網を介して無線データ通信を行う無線通信部を制御するコンピュータを、前記無線通信部による通信状況を取得する通信状況取得手段、前記通信状況取得手段によって取得された通信状況が予め決められた良好状況であるか否かを監視する通信状況監視手段、撮影装置から供給される撮影データを前記無線通信網を介して予め決められた送信先に送信するよう前記無線通信部を制御する手段であって、前記通信状況監視手段によって通信状況が良好でないと判別された場合には、前記撮影装置から供給される撮影データを記録媒体に記録し、その後前記通信状況監視手段によって通信状況が良好であると判別されたときに前記記録媒体に記録されている撮影データを送信するよう前記無線通信部を制御する制御手段として機能させるためのプログラムである。
【0042】
請求項16にかかる発明によれば、プログラムをコンピュータに実行させることで、通信状況が悪化した場合、撮影データを記録媒体に記録しておき、通信状況が良好となったときに記録媒体に記録しておいた撮影データを送信することができる。したがって、通信が困難な状況下に一時的に陥った場合であっても、その状況下で撮影された撮影データを送信することができ、受信側における撮影データの欠落等を抑制することができる。
【0043】
また、請求項17にかかる発明は、無線通信網を介して無線データ通信を行う無線通信部を制御するコンピュータを、当該コンピュータの現在位置を取得する位置情報取得手段、前記位置情報取得手段によって取得された現在位置が予め決められていた位置の範囲内である場合に、撮影装置から供給される撮影データを送信するよう前記無線通信部を制御する制御手段として機能させるためのプログラムである。
【0044】
請求項17にかかる発明によれば、プログラムをコンピュータに実行させることで、予め決められた位置の範囲内にコントロールユニットの所持者がいる場合、自動的に撮影データが送信されるようになっている。したがって、コントロールユニットの所持者は撮影データの送信指示等を個別に行わなくても、撮影データの送信が必要なエリアに移動すれば自動的に撮影データの送信が開始される。
【0045】
【発明の実施の形態】
以下に添付図面を参照して、この発明にかかる撮影装置、撮影システム、遠隔監視システムおよびプログラムの好適な実施の形態を詳細に説明する。
【0046】
A.実施形態
図1は、本発明の一実施形態にかかる遠隔監視システムの全体構成を示す図である。同図に示すように、この遠隔監視システム100は、無線通信網10による無線通信サービスを受ける携帯電話としての機能を備えたコントロールユニット20と、監視対象者に頭部近傍に装着可能な撮影装置30と、無線通信網10および図示せぬ電話網やインターネット網等の有線通信網を介して接続される遠隔監視装置40とを備える。
【0047】
すなわち、コントロールユニット20と、遠隔監視装置40とは、無線通信網10等を介してデータの授受を行うことができるようになっている。また、当該遠隔監視システム100の監視対象者は、図示のように、撮影装置30とコントロールユニット20からなる撮影システムを装着、所持することとなる。
【0048】
以上のような構成の下、遠隔監視システム100では、撮影装置30によって撮影された撮影画像データがコントロールユニット20から、無線通信網10等を経由して遠隔監視装置40に送信され、遠隔監視装置40において撮影画像を表示させることができるようになっている。以下、かかる遠隔監視システム100の各構成要素について詳細に説明する。
【0049】
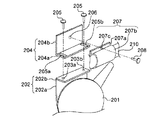
図2に示すように、撮影装置30は、人の耳を覆うような形状の装着部201を有している。装着部201は、中空部を有するほぼ半円球状の部材であり、当該撮影装置30を装着した状態ではその中空部分に装着者の耳が位置するようになっている。そして、装着部201は耳の裏側に引っ掛ける等して当該装着者に装着されるが、かかる装着状態を強固に維持するために、装着部201を耳に嵌めた上にゴムバンド等を巻くようする等の構成を採用するようにしてもよい。
【0050】
図2および図3に示すように、略半円球状の装着部201の上方側にはL字状の介在部材202が装着部201と一体となって設けられている。かかる介在部材202は、装着部201の上方部から垂直方向(撮影装置30装着時の垂直方向)に延びる垂直部202aと、垂直部202aの上端から水平方向に延びる水平部202bとを有する。
【0051】
水平部202bの上方側には略L字状の第1保持部材204が配置されている。第1保持部材204は、介在部材202の水平部202bと対向する面を有する水平部204aと、水平部204aの装着者側の端部から上方に延びる垂直部204bとを有する。そして、第1保持部材204の水平部202bと、介在部材202の水平部202bが面接触させられた状態で調整ねじ205によってねじ止めされることで両者が結合されている。
【0052】
図3に詳細に示されるように、水平部202bの両端側には、それぞれねじ孔203a、203bが形成されるとともに、水平部204aの両端にもそれぞれ貫通孔205a、205bが形成されている。ここで、水平部204aに形成される貫通孔205a、205bは略長方形状(曲率の大きい楕円状)であるのに対し、水平部202bに形成されるねじ孔203a、203bは調整ねじ205が螺合される孔である。
【0053】
このような構成の下、2つの調整ねじ205が貫通孔205a、205bを挿通する位置を適宜調整して水平部202bと水平部204aとをねじ結合することで、介在部材202と第1保持部材204と水平方向の取り付け角度を調整することができるようになっている。
【0054】
第1保持部材204の垂直部204bには、第2保持部材207が取り付けられている。第2保持部材207は、垂直部204と面接触させられる垂直部207aと、垂直部207aに垂直部204と接触する面と反対側の面に一体となって設けられた円筒保持部207bとを有している。
【0055】
垂直部207aにおける円筒保持部207bの上方側には貫通孔207cが形成される一方で、第1保持部材204の垂直部204bの上方側にはねじ孔206が形成されている。かかる貫通孔207cとねじ穴206とを位置あわせした状態でねじ208で両者をねじ止めすることで、第1保持部材204と第2保持部材207とが結合されている。ここで、上記のようにねじ孔206と貫通穴207cとの位置を合わせた状態で、第2保持部材207の第1保持部材204との垂直方向の角度を適宜調整してねじ止めすることで、第2保持部材207と第1保持部材204との垂直方向の取り付け角度を調整することができるようになっている。
【0056】
上記のように第1保持部材204自体が介在部材202に対して水平方向の取り付け角度を調整できるようになっているので、結果として第2保持部材207は、人の耳に装着固定される装着部201と一体をなす介在部材202に対し、垂直方向および水平方向にその取り付け角度を調整することができるようになっている。
【0057】
図2に示すように、第2保持部材207の円筒保持部207bは、その円筒中空内に、円筒保持部材210を保持している。円筒保持部材210は、装着時に略水平方向かつ装着者の後側から前側の方向に延びる円筒状の部材である。
【0058】
図2および図4に示すように、円筒保持部材210の前方側(装着時の人の前方側)の端部には、小型のデジタルビデオカメラ300が固定保持されている。かかるデジタルビデオカメラ300は、円筒保持部材210の先端側(図4の左側)を撮影するよう配置されている、つまり当該撮影装置30を装着した際に装着者の前方側を撮影するよう配置されている。
【0059】
円筒保持部材210のデジタルビデオカメラ300が保持される位置よりも後方側には、敷居部材215を挟んで当該デジタルビデオカメラ300等に電力を供給するための電池Dを配置する電池スペース(電池保持部)220が形成されている。かかる電池スペース220は、当該円筒保持部材210が第2保持部材207によって保持される位置よりもさらに後方側にまで延在しているが、上記のようにデジタルビデオカメラ300と第2保持部材207によって保持される位置との中間部分を電池スペース220として利用することで、装置の小型化等に資することになる。
【0060】
また、円筒保持部材210には、上記の電池スペース220に電池を挿入するための開閉可能な蓋部225が設けられている。
【0061】
なお、撮影装置30は、デジタルビデオカメラ300等の電子機器を搭載しているので、円筒保持部材210の中空内部等に水が浸入しないよう部材と部材との結合部分にパッキン等を介在させることで防水加工を施しておくことが好ましい。
【0062】
以上が撮影装置30の機械的な構成であり、かかる撮影装置30を通常の決められた装着位置に装着した場合の様子を図5に示す。同図に示すように、撮影装置30の装着部201が装着者の耳を覆うように装着した場合、円筒保持部材210の前端側(図5の左側)に保持されるデジタルビデオカメラ300の位置は、装着者の目の位置よりも前方側、かつ目の近傍の位置となる。このようにデジタルビデオカメラ300の保持位置を目よりも前方側とすることで、装着者の顔などの身体の一部がデジタルビデオカメラの撮影範囲に侵入することがなく、周囲の状況を装着者の体に邪魔されることなく撮影することができる。例えば、耳の横にデジタルビデオカメラを保持した場合には、装着者のこめかみ等が撮影映像に含まれることになり、装着者の視野と一致しなくなってしまうが、上記のように目の前方側で保持することでこのような問題が生じない。
【0063】
このように当該撮影装置30は、予め決められた位置に装着した場合に、デジタルビデオカメラ300の保持位置が装着者の目よりも前方側であり、かつ目の近傍に位置するよう構成されており、上記のような水平方向および垂直方向の角度調整をした場合であっても、上記のような範囲内にデジタルビデオカメラ300が保持されるようになっている。そして、このような位置にデジタルビデオカメラ300が保持されることによって、装着者の視野と、デジタルビデオカメラ300の撮影方向や範囲がほぼ一致するようにすることができる。
【0064】
また、上記のように第2保持部材207および第1保持部材204の取り付け角度調整を行うことで、デジタルビデオカメラ300の撮影方向や範囲を、装着者の視野とほぼ一致させるよう調整することもできる。このような装着者の視野と、デジタルビデオカメラ300の撮影方向や範囲を合わせるためには、後述するコントロールユニット20の表示部406(図7参照)を見ながら調整することができる。
【0065】
なお、目の近傍の位置とは、上記のようにデジタルビデオカメラ300の撮影方向や範囲が装着者の視野とほぼ一致することができるような位置であり、目から10cm程度の距離の範囲内であることが好ましいが、厳密にこの範囲内に限定されるものではない。
【0066】
次に、撮影装置30の電気的な構成について図6を参照しながら説明する。同図に示すように、撮影装置30は、デジタルビデオカメラ300と、制御部310と、イヤホン部320と、近距離無線通信部330とを備える。
【0067】
デジタルビデオカメラ300は、上記のような位置に保持され、装着者の前方側を撮影し、装着者の視野とほぼ一致する方向・範囲を映した撮影画像データを制御部310に供給する。なお、デジタルビデオカメラ300としては、単に映像のみを撮影するものであってもよいが、遠隔監視者の状況把握等を容易にするため周囲の音声を収音するマイクロホンを備え、音声付の撮影画像データを生成するものであることが好ましい。
【0068】
制御部310は、近距離無線通信部330を介してコントロールユニット20(図1参照)から供給される指示に応じてデジタルビデオカメラ300の動作を制御する。例えば、撮影指示があった場合にはデジタルビデオカメラ300に対し、撮影を開始するよう指示する。また、デジタルビデオカメラ300によって撮影された撮影画像データを取得し、これをリアルタイムでコントロールユニット20に送信するよう近距離無線通信部330を制御する。また、近距離無線通信部330を介してコントロールユニット20から音声データが供給された場合には、かかる音声データをイヤホン部320に出力する。
【0069】
イヤホン部320は、上記のように制御部310から供給される音声データに基づく音声を発する。かかるイヤホン部320は、上述した略半球状の装着部201の内面側に設けられており(図2、図3参照)、上記のように装着部201は耳に装着されると、その耳の位置近傍に配置されるようになっている。
【0070】
近距離無線通信部330は、コントロールユニット20(図1参照)との間で、撮影画像データ、指示データ、音声データ等のデータ通信を行うものであり、例えばIEEE(Institute of Electrical and Electronic Engineers)802.11bの規格に準拠した無線通信等を行うデバイスである。
【0071】
次に、図7を参照しながらコントロールユニット20の構成について説明する。同図に示すように、コントロールユニット20は、近距離無線通信部400と、制御部401と、無線通信部402と、通信状況検出部403と、ユーザインターフェース(I/F:interface)404と、記録部405と、表示部406とを備える。
【0072】
近距離無線通信部400は、上述した撮影装置30の近距離無線通信部330との間で近距離無線データ通信を行うものであり、例えばIEEE802.11bの規格に準拠した無線通信等を行うデバイスである。より具体的には、コントロールユニット20から撮影装置30に対する指示、音声データ等を送信し、撮影装置30から供給される撮影画像データ等を受信する。
【0073】
無線通信部402は、無線通信事業者の提供する無線通信サービスを受け、自己の識別番号(電話番号等)宛てに無線通信網10(図1参照)を介して他の通信端末(携帯電話、電話、通信機能付きPC(Personal Computer)など)から送信されるデータを受信するとともに、他の通信端末宛てにデータを無線通信網10を介して送信する機能を有する。
【0074】
また、かかる無線通信部402は、複数チャンネルの通信を同時に行うことができるようになっており、これにより後述する遠隔監視装置40との間で音声データの送受信を行いながら、撮影装置30から供給された撮影画像データを遠隔監視装置40宛てに送信することができる。
【0075】
通信状況検出部403は、無線通信部402による無線通信の状況を検出し、検出結果を制御部401に出力する。つまり、無線通信部402は、上述したように無線通信事業者による無線通信サービスを受けて無線通信を行うものである。したがって、コントロールユニット20を所持する監視対象者が、当該事業者が設置する基地局との間で通信ができない等の通信状況が悪い場所(地下や山地など)、または妨害電波が発生している場所にいると、通信環境が悪化して正常な通信が行えなくなることもある。通信状況検出部403は、このような場所等によって変動する無線通信部402の通信状況を常時監視し、かかる通信状況を制御部401に通知する。
【0076】
ユーザインターフェース404は、テンキー等を有しており、ユーザはかかるテンキー操作を行うことで電話番号を指定し、無線通信部402を利用して他の電話機等に発呼するといったことや、撮影装置30に対する撮影開始・終了等の指示や、当該コントロールユニット20に対する指示等を入力することができるようになっている。また、監視対象者はユーザインターフェース404を適宜操作することで、異常の発生を遠隔監視装置40に伝えるよう指示することができる。
【0077】
表示部406は、LCD(Liquid Crystal Display)等を有しており、制御部401から供給された画像データに基づく画像を表示する。ここで、上述した撮影装置30のデジタルビデオカメラ300(図6参照)によって撮影された撮影画像データが制御部401から表示部406にリアルタイムで供給されており、この結果、表示部406には撮影装置30の撮影画像がリアルタイムで表示される。したがって、撮影装置30の装着者は、かかるコントロールユニット20の表示部406に表示される撮影画像を見ながら、自己の視野と撮影方向や範囲が一致しているかを確認することができ、このような確認をしながらデジタルビデオカメラ300の保持角度調整を行うことでより正確な調整を行うことができる。
【0078】
記録部405は、書き換え可能なメモリ(記録媒体)を有しており、制御部401から撮影画像データが供給された場合にはこれをメモリに記録し、制御部401からの要求に応じてメモリに記録されている撮影画像データを読み出して制御部401に出力する。
【0079】
制御部401は、コントロールユニット20の装置各部を制御する。具体的には以下のような制御を行う。まず、ユーザインターフェース404を介してユーザの指示が入力されると、かかる指示にしたがった制御を行う。例えば、撮影装置30による撮影の開始・終了指示があった場合には、当該指示を撮影装置30に送信するよう近距離無線通信部400を制御する。
【0080】
制御部401は、ユーザインターフェース404を介して異常発生通知指示があった場合、かかる指示に応じて遠隔監視装置40に対して異常発生通知を送信するよう無線通信部402を制御する。
【0081】
また、制御部401は、撮影装置30(図6参照)から近距離無線通信部400を介して順次供給される撮影画像データを、MPEG(Moving Pictures Experts Group)4等の圧縮フォーマットで圧縮し、予め決められたあて先、つまり遠隔監視装置40宛てに送信するよう無線通信部402を制御する。また、無線通信部402から音声データが供給された場合、つまり遠隔監視装置40と回線が接続され、遠隔監視者の音声に基づく音声データが供給された場合には、これを撮影装置30に送信するよう近距離無線通信部400を制御する。これにより撮影装置30にイヤホン部320から音声データに基づく音声、つまり遠隔監視者が発した音声を発することができる。
【0082】
また、制御部401は、通信状況検出部403から供給される検出結果を取得し、かかる検出結果が予め決められた良好な通信ができる状況の範囲内であるか否かを判別する。具体的な検出結果は、基地局から供給された電波の受信強度であるが、この受信強度が予め決められた値よりも小さい場合には、通信状況が悪化していると判別し、予め決められた値よりも大きい場合は良好であると判別する。
【0083】
そして、制御部401は、通信状況が悪化していると判別した場合、無線通信部402による撮影画像データの送信を停止し、近距離無線通信部400によって受信される撮影画像データを記録部405に供給し、これをメモリに記録させるよう指示する。この後、通信状況検出部403から供給される検出結果に基づく判別結果、良好な通信状況に替わると、制御部401は通信状況が悪化している間、メモリに記録されていた撮影画像データを読み出すよう記録部405に指示し、記録部405から読み出された撮影画像データを遠隔監視装置40に送信するよう無線通信部402を制御する。
【0084】
すなわち、図8に示すように、制御部401は、基地局からの電波の受信強度が予め決められた基準値よりも大きい場合には良好状況、小さい場合には悪化状況であると判別し、良好状況の期間は撮影装置30から供給される撮影画像データ(A)を無線通信部402から遠隔監視装置40に送信させる一方で、悪化状況の期間は撮影装置30から供給される撮影画像データ(B)を記録部405に記録させる。その後良好に転じた場合には、記録部405に記録されている撮影画像データ(B)を読み出して無線通信部402に送信させるとともに、撮影画像データ(B)を送信させている間に撮影装置30から供給される撮影画像データ(C)を記録部405に記録させる。そして、撮影画像データ(B)の無線送信が終了すると、記録部405に記録されている撮影画像データ(C)を読み出して無線送信する。すなわち、この状況では、無線通信部402によって無線送信される撮影画像データは、通信状況が悪化していた期間だけ撮影装置30から供給される撮影画像データより遅れたデータとなっている。
【0085】
なお、一旦通信状況が悪化してから良好に転じた場合、上記のようにリアルタイムの撮影画像データよりも通信状況が悪化していた期間だけ送れた撮影画像データを無線送信するようにしてもよいが、悪化後良好に転じた場合には、撮影装置から供給される撮影画像データをリアルタイムで無線送信できるよう、記録部405に記録された撮影画像データを高速で無線送信するようにしてもよい。例えば、本来30秒分の撮影画像データを高圧縮し、15秒間で無線送信するといった具合にすれば、供給される撮影画像データに追いつくことができ、追いついた後はリアルタイム送信に切り替えることができる。
【0086】
次に、遠隔監視装置40について図9を参照しながら説明する。同図に示すように、遠隔監視装置40は、通信インターフェース(I/F)500と、マイクロホン501と、スピーカ502と、表示部503と、制御部504と、記憶装置505とを備える。
【0087】
通信インターフェース500は、電話網やインターネット等の通信網を介して他の通信端末とデータ通信を行う。上述したコントロールユニット20から供給される撮影画像データ、異常発生通知、監視対象者の音声データ等を受信するとともに、マイクロホン501から供給される音声データ、つまり監視者の発した声に対応するデータをコントロールユニット20宛てに送信する。
【0088】
マイクロホン501は、当該遠隔監視装置40の近傍にいる監視者と、コンロトールユニット20および撮影装置30を装着する監視対象者との間で、無線通信網10等を介した会話、つまり電話による会話を行うために、監視者の発した音声を入力するものである。かかる入力音声データは、制御部504に供給され、通信インターフェース500を介して回線接続されているコントロールユニット20の無線通信部402に送信され、撮影装置30のイヤホン部320に供給される。
【0089】
スピーカ502は、上記のように監視対象者と電話による会話を行う際に、監視対象者の発した声を再生するものである。具体的には、コントロールユニット20から供給された監視対象者の発した声に対応する音声データが当該遠隔監視装置40に供給された場合、かかる音声データがスピーカ502によって再生される。
【0090】
表示部503は、LCD等を有しており、制御部504から供給される画像データに基づく画像を表示する。具体的には、コントロールユニット20から原則としてリアルタイムで供給される撮影画像データに基づく動画像を表示する。
【0091】
制御部504は、コントロールユニット20から供給される撮影画像データを記憶装置505に出力して記憶させるとともに、撮影画像データを表示部503に出力することで表示部503に撮影画像データに基づく動画像を表示させる。
【0092】
記憶装置505は、ハードディスクドライブ等の記憶装置であり、制御部504から供給される撮影画像データを記憶する。ここで、記憶装置505には、リングバッファ領域505aと、別保存領域505bが設けられている。
【0093】
リングバッファ領域505aは、コントロールユニット20から送信される撮影画像データを過去一定時間(例えば1時間)分だけ記憶する領域であり、一定時間前に記録された撮影画像データは新たに供給された撮影画像データに上書きされるようになっている。このようにコントロールユニット20から供給される撮影画像データをリングバッファ方式で記録することで、膨大な記憶領域を用意することなく、リアルタイムで供給される撮影画像データを保存することができる。
【0094】
上述した制御部504は、コントロールユニット20から異常発生通知が供給された場合に記憶装置505に対し、その異常発生通知がきた時点でリングバッファ領域505aに記録されている撮影画像データ、つまり過去一定時間分の撮影画像データを読み出して別保存領域505bに記録させる。すなわち、この後、時間の経過とともにリングバッファ領域505aに記録された異常発生通知から過去一定時間分の撮影画像データは、順次供給される撮影画像データが上書きされて消去されることになるが、かかる撮影画像データは別保存領域505bに記憶されていることになる。したがって、後になっても別保存領域505bに記録されている撮影画像データを読み出して再生することで、異常発生通知から過去一定時間分の撮影画像データに基づく動画像を表示させることができるのである。
【0095】
このように通常時はリングバッファ領域505aに撮影画像データを記録させるとともに、異常発生した場合にはその時点から過去一定時間分の撮影画像データを別途保存しておくことで、以下のような効果が得られる。
【0096】
すなわち、警備員等が撮影装置30およびコントロールユニット20を所持して警備等をしている際に、犯罪が起こったり、警備員が襲われたりした場合、その時点では警備員は何らかの対応に手間取り、異常発生通知をなす旨をコントロールユニット20に対してできない場合もある。このような場合であっても、本実施形態では、警備員が情勢が沈静化した後に、異常発生通知をなす旨を指示すれば、その指示時点から過去一定時間前までの撮影画像データが別途保存され、かかる過去一定時間前までの間に犯罪等が生じていたのであれば、かかる別途保存された撮影画像データにその様子が撮影されることになる。
【0097】
したがって、本実施形態によれば、通常時はリングバッファを用いることで必要となる記憶領域の容量を低減する一方で、犯罪等の必要な映像をより確実に保存することができるのである。
【0098】
また、以上説明した本実施形態にかかる遠隔監視システム100では、撮影装置30を装着した監視対象者の視野とほぼ一致した撮影画像が得られ、かかる撮影画像に対応する撮影画像データが遠隔監視装置40に送信され、記録されるとともに表示部503に原則としてリアルタイムで表示される。したがって、かかる表示を見た遠隔監視者は、監視対象者の周囲等で発生した事象をより正確に理解することができる。この際、上記のように異常発生通知前一定時間分の撮影画像データは、別途保存されるようになっているので、後から当該撮影画像データに基づく画像を表示させて、発生した異常事態についての分析等を行うこともできる。
【0099】
また、撮影装置30は監視対象者の頭部に装着されているので、とっさに犯罪などの異常事態が発生した場合にも、デジタルカメラを取り出して構えるといった動作を行うことなく、監視対象者の目に写っている光景と同じ光景を撮影することができ、異常事態等を取り逃すおそれが少ない。
【0100】
また、遠隔監視装置40の近傍にいる監視者と、撮影装置30を装着しコントロールユニット20を所持した監視対象者とは電話による会話をなすこともでき、監視者は上記のように表示部503に表示される現場のリアルタイムの映像を参照しながら監視対象者の説明を聞くことで事象の理解が容易となる。また、このように表示される画像は、監視対象者の視野とほぼ一致したものとなる。つまり、遠隔地で表示部503を見る監視者と、現場にいる監視対象者はほぼ同一の範囲を見ていることになり、このような状況のもとで現場にいる監視対象者の説明を受けることで、監視者の事象の把握がさらに容易となる。
【0101】
B.適用例
次に、上述した実施形態にかかる遠隔監視システム100は、以下のような種々のケースに適用することができる。
【0102】
(適用例1)
まず、上記遠隔監視システム100を、巡回パトロール、各種検問、警備、警護任務などの監視に適用することができる。このような監視に本システムを適用する場合、第1線で防犯活動にあたる制服警察官や警備員が上記撮影装置30を頭部に装着し、コントロールユニット20を所持するとともに、遠隔監視装置40を警察署内や警備センタ内等に設置する。
【0103】
そして、警備や警護などの職務遂行中必要な場合に状況を撮影し、遠隔監視装置40に撮影画像データを送信することで、警備センタや警察署内では、現場にいる警備員が見ている状況とほぼ同一の状況を見ることができる。そして、警備センタ内にいる監視員等が、現場にいる警備員の説明を受けて現場状況を正確に理解することが容易となり、監視員が正確に把握した状況に基づいて現場にいる警備員に音声による指示を与えることもできる。
【0104】
また、現場において異常が発生した場合には、その際の撮影画像データが保存されるので、後に現場の状況を検証したり、警備員の対応について検証したりすることができ、また犯罪等を撮影したものであれば証拠等として利用することもできる。
【0105】
また、現金輸送任務にあたる警備員などが撮影装置30を装着しておけば、現金の積み下ろし時や道路走行中に強盗などの襲撃を受けた場合にも、犯行グループのメンバーの外見や使用車両の車種、色、ナンバープレートなどが撮影画像に映し出されている可能性が高く、犯人逮捕が迅速に行われる可能性が高まる。現金輸送任務の警備員がこれを使用していることが一般的に知られるようになれば、犯罪者も安易に攻撃を仕掛けることは困難となるためこうした犯罪が減少するといった抑止効果がある。その他の巡回パトロール、立哨警戒、個人警護等の各種警備業者であっても十分に利用価値がある。
【0106】
(適用例2)
近年、タクシー運転手が客を装った強盗に売上金を奪われる事例が多発している。そこで、タクシーの運転手に頭部に撮影装置30を装着するとともにコントロールユニット20を所持させ、遠隔監視装置40をタクシー会社の事業所内に設置するといったように上記遠隔監視システム100を適用することができる。
【0107】
このように本システムを適用することで、車内で客が不穏な言動を取った場合にも一連の状況の撮影画像データがタクシー事業所に送信される。したがって、事業所の担当者が異常を警察に通報する等、適切な対策をとることができ、犯行を未然に阻止できる可能性が高まる。また、営業中に常時撮影を行うようにすれば、タクシーが事故に遭遇した場合も、事故処理に際し、事実確認が従来よりも容易になる。
【0108】
また、バス、ハイヤー、一般車など全ての車両の運転手が撮影装置30を装着するとともにコントロールユニット20を所持し、バス会社や、運転手の自宅等に遠隔監視装置40を設置することで、事故が発生した場合の事実確認等を容易になすことができるといったメリットが得られ、犯罪防止にも資すると考えられる。
【0109】
(適用例3)
また、現金を取り扱うピザや寿司など宅配業者についても本システムを適用すれば、上述したタクシー会社に本システムを適用した場合と同様、従来よりも防犯上の安全性が高まるとともに。宅配中に事故が生じた場合であっても事故処理が迅速かつ正確に行えるようになる。
【0110】
(適用例4)
また、子供、老人、女性等の警護等をする場合に本システムを適用することもできる。例えば、子供の頭部に撮影装置30を装着するとともにコントロールユニット20を所持させる。そして、学校や家にいないとき、例えば登下校時や外出時に撮影装置30による撮影を行わせて家や学校などに設置する遠隔監視装置40に送信させることで、子供の周囲に異常が発生しないか等、例えば不審な人物から接触されていないか等を遠隔監視することができ、襲撃、誘拐・拉致事件はもとより子供を狙う詐欺まがいの不法商法や性犯罪等を未然防止できる可能性が高まる。また、教員の目が届かない登下校時における生徒間のいじめ把握にも有効である。
【0111】
(適用例5)
JRや地下鉄などの鉄道機関では、駅員の頭部に撮影装置30を装着させるとともに、事務室内に遠隔監視装置40を設置すれば、事務室内で監視員が駅の各所にいる駅員の周囲の様子を監視することができ、昨今問題となっている利用客による駅員への暴力を防止、削減等できる可能性が高くなる。なお、鉄道の乗客多数が撮影装置30を装着するようにすれば、乗客自身が車内暴力や痴漢行為などの迷惑行為を記録できるため、車内マナーが確実に改善される可能性もある。
【0112】
(適用例6)
また、視力障害者等に対して本システムを適用することができる。例えば、視力障害者の頭部に撮影装置30を装着させるとともに、監視者宅に遠隔監視装置40を設置する。そして、監視者が撮影装置30によって撮影された画像を参照しながら、撮影装置30を装着した視力障害者等にアドバイス等をすることで、彼らが物体に衝突等するといった危険回避ができる場合がある。
【0113】
(適用例7)
高圧送電鉄塔や各種電波塔など高所で電気工事関係者が単独で作業しなければならない作業場等において、本システムを適用することもできる。例えば、技術的に熟練していない若い作業員が単独で高所作業を行う場合に当該作業員の頭部に撮影装置30を装着させるとともに、作業事務所内もしくは作業場近くの屋外に遠隔監視装置40を設置すれば、熟練者が地上で撮影画像を参照することで作業状況を監視し、高所の作業員に適切な指示を与えることができ、作業の安全性を高めることができる。同様に共同地下講工事などに際して、作業員が1人しか入れないような狭い現場での工事が必要な場合、熟練者が地上から作業をモニターして適切な指示を与えることにより、作業の安全性を向上させることもできる。
【0114】
また、上記のような建築等の作業にかかわらず、戦争や紛争が終了したばかりの国に地雷処理を専門とするNPOやNGOが地元ボランティアを使って地雷探査、処理作業を行う場合にも、上記と同様に処理作業員に撮影装置30を装着させて本システムを適用するようにしてもよい。本システムを適用することで熟練専門家が実際に作業にあたる地元ボランティア等に従来にも増して効果的な指導ができ、作業の安全性が高まる可能性がある。
【0115】
(適用例8)
航空機や鉄道列車、船舶等交通機関の整備現場において、作業員に撮影装置30を装着させて本システムを適用することもできる。このように本システムを適用することで、各作業員の作業内容を監視することができ、作業の安全性や適正さをチェックしたり、内部犯行的な破壊活動が起きたりするといった犯罪行為を未然に防止するのにも資することになる。
【0116】
(適用例9)
また、万引き被害が多発する商店では、店員の頭部に撮影装置30を装着させることで、万引き現場の証拠を残すことが容易になり、被害を減少させることができる。従来の設置型カメラでは、死角となる場所を熟知した万引き犯の犯行を防ぐことができないといった不都合がある一方で、従来の店員は万引きを目撃しても、店員が容疑者の犯行を証明できない場合が多い。これに対し、本システムを適用すれば、店員が移動することで、従来の設置型カメラで死角となっていた位置の万引き等を撮影することができ、その撮影画像データが残るので万引き防止に資することになる。
【0117】
C.変形例
なお、本発明は、上述した実施形態に限定されるものではなく、以下に例示するような種々の変形が可能である。
【0118】
(変形例1)
上述した実施形態では、撮影装置30の装着者が、コントロールユニット20の表示部406に表示される撮影画像を参照しながら、撮影範囲や方向が自己の視野と一致するようデジタルビデオカメラ300の保持位置を調整するようにしていたが、かかる調整を容易かつ正確になすために、コントロールユニット20の制御部401(図7参照)が以下のような処理を行うようにしてもよい。
【0119】
すなわち、装着者からユーザインターフェース404を介して位置調整を行う旨の指示を受けた場合、制御部401は撮影装置30から供給される撮影画像データを表示部406に出力して撮影画像を表示させるとともに、図10に示すように調整用の枠Wを画面内の予め決められた位置(画面のほぼ中央位置)に表示させるための画像データを表示部406に出力し、これを撮影画像に重ねて表示させる。
【0120】
ここで、視野と撮影範囲等の位置あわせをする場合、装着者はコントロールユニット20を手に持ち、その表示部406を自己の視野に入れて参照することになる。この際、図10の上段に示す状態から下段に示す状態、つまり自己の所持しているコントロールユニット20が画面内のほぼ中央に表示された枠W内に入るようにデジタルビデオカメラ300の保持位置を調整すれば、装着者の視野の中央にあるコントロールユニット20が、表示部406の画面中央に表示される、つまり撮影画像の中央に位置することになり、これは視野と撮影方向や範囲がほぼ一致している状態となっているといえる。
【0121】
以上のように制御部401に撮影方向等の保持位置調整のための調整画像である枠Wを表示させるといった調整画像表示手段としての機能を持たせることで、装着者による撮影方向等を視野に合わせるための調整作業が容易かつ正確となる。
【0122】
(変形例2)
また、上述した実施形態では、撮影装置30による撮影が行われている間は原則としてその撮影画像データが常時コントロールユニット20から無線通信網10を介して遠隔監視装置40に送信されるようになっていたが、必要な場合にのみ撮影画像データをコントロールユニット20から遠隔監視装置40に送信するようにしてもよい。
【0123】
例えば、コントロールユニット20のユーザインターフェース404として、図11に示すような撮影画像送信のオン/オフを指示するための専用の送信オン/オフボタン600を設け、かかる送信オン/オフスイッチ600の操作状況に応じて制御部401が撮影画像データを遠隔監視装置40に送信するか否かを判断する。
【0124】
すなわち、撮影画像データが送信されていない状況において送信オン/オフスイッチ600が押下されたことを検出すると、制御部401は撮影装置30による撮影を開始させるとともに撮影装置30から供給される撮影画像データを無線通信部402に供給し、予め決められたあて先(遠隔監視装置40)に送信するよう制御する。一方、撮影画像データが送信されている状況において、送信オン/オフスイッチ600が押下されたことを検出すると、制御部401は、撮影装置30による撮影を停止させるよう指示するとともに、無線通信部402による撮影画像データの送信を停止させる。
【0125】
このようにすれば装着者は、送信オン/オフスイッチ600といった1つのボタンを押下するといった単純な操作で、撮影装置30による撮影を開始して予め決められている遠隔監視装置40へ撮影画像データを送信させるといった一連の処理を指示することができる。そして、このように操作が容易となることで、子供に撮影装置30を装着して子供の監視等を行う場合であっても子供自身が操作することもできるといったメリットが得られる。また、登下校時といった短時間の利用であっても操作が面倒だから送信状態としないといったことが抑制され、必要なときにはより確実に撮影画像データを送信する状況を作り出すことに資することになる。
【0126】
(変形例3)
また、上記のように装着者等のボタン押下によって撮影画像データを送信するか否かを決定するようにしてもよいが、以下のようにしてコントロールユニット20が自動的に撮影画像データを送信するか否かを決定するようにしてもよい。
【0127】
すなわち、図12に示すように、コントロールユニット20の構成に位置情報検出部650を加え、かかる位置情報検出部650によって検出された位置情報に基づいて制御部401が撮影画像データをコントロールユニット20から遠隔監視装置40に送信するか否かを決定する。
【0128】
より具体的には、位置情報検出部650は、GPS(Global Positioning System)機能を有しており、コントロールユニット20を所持する者の現在位置に関する情報を検出し、これを制御部401に出力する。
【0129】
制御部401は、位置情報検出部650から供給される位置情報に示される位置が、予めユーザによって設定されている位置の範囲内に属するか否かを判別する。そして、予め設定されている位置の範囲内に属すると判別した場合には撮影画像データを遠隔監視装置40に送信するよう無線通信部402を制御し、予め設定されている位置の範囲内に属さないと判別した場合には撮影画像データを遠隔監視装置40に送信しないよう制御する。
【0130】
したがって、設定位置範囲外から範囲内にコントロールユニット20の所持者が移動した場合には、コントロールユニット20から遠隔監視装置40への撮影画像データの送信が自動的に開始される。一方、設定位置範囲内から範囲外にコントロールユニット20の所持者(撮影装置30の装着者でもある)が移動した場合には、コントロールユニット20から遠隔監視装置40へ撮影画像データの送信が自動的に停止される。
【0131】
以上のような監視対象者の位置に応じて自動的に送信のオン/オフを制御できるようにすることで、監視対象者に対する監視が必要な場所を上記送信実行位置範囲に設定しておけば、そのような場所に監視対象者が移動した場合に自動的に撮影画像データの送信が開始される。例えば、子供を監視する場合等においては、近所であれば監視の必要はないものの、家や学校から一定距離以上離れた場所に移動した場合には監視をする必要があるといったケースもある。かかる場合において、上記のように監視が必要なエリアを設定しておけば、かかるエリアに子供が移動した際に自動的に撮影画像データの送信を開始させることができる。
【0132】
なお、上記のように自動的に撮影画像データを送信させる位置の範囲をユーザが設定するようにしてもよいし、撮影画像データを送信しない位置の範囲をユーザが設定できるようにしてもよい。
【0133】
また、上記のようにGPS機能によって現在位置を取得する以外にも、他の方法によって現在位置を取得するようにしてもよく、例えば携帯電話やPHS(登録商標)の位置登録情報を取得して利用するようにしてもよい。
【0134】
(変形例4)
また、図13に示すような構成のコントロールユニット20を採用し、撮影装置30を装着する者の周囲に異常事態が発生した場合に、コントロールユニット20から遠隔監視装置40への撮影画像データの送信を開始するようにしてもよい。
【0135】
同図に示すように、このコントロールユニット20は、上記実施形態におけるコントロールユニット20の構成に、異常検出部680を加えた構成となっている。
【0136】
異常検出部680は、マイクロホンを備えており、当該マイクロホンが収音して生成した音声データを制御部401に出力する。制御部401は、異常検出部680から供給された音声データに示される音声パワーレベルと、予めきめられた異常基準値とを比較し、音声パワーレベルが異常基準値を超えた場合に異常が発生したものと判別し、撮影画像データをコントロールユニット20から遠隔監視装置40へ送信するよう無線通信部402を制御する。
【0137】
例えば、コントロールユニット20を所持する者の周囲に何らかの異常(犯罪等)が発生した場合、その者は大きな声をあげたりするケースが多い。したがって、上記のようにマイクロホンによって収音された音のパワーレベルが基準値を超えて大声を発したと検出された場合に、異常発生とみなして撮影画像データの自動送信がなされることになる。よって、とっさに異常事態が発生した場合にも装着者は特別な操作等をすることなく、撮影画像データを自動的に送信することができるようになる。
【0138】
また、上記のように音声パワーレベルで異常発生の有無を判断するようにしてもよいが、異常検出部680が、装着者の心拍数を測定する心拍数測定装置を備えるようにしてもよい。そして、当該心拍数測定装置が測定した装着者の心拍数を制御部401に出力する。制御部401は供給される装着者の心拍数が予めきめられた値(通常時の心拍数よりも高い値)よりも大きければ、異常が発生したと判断し、撮影画像データの遠隔監視装置40への送信を開始すればよい。
【0139】
一般的に人の周囲に異常事態が発生すると、その人の心拍数は上昇することになる。したがって、上記のように装着者の心拍数をモニタリングし、心拍数が高くなった場合に異常発生と判断することで、とっさに異常事態が発生した場合にも装着者は特別な操作等をすることなく、撮影画像データを自動的に送信することができるようになる。
【0140】
(変形例5)
また、上述した実施形態では、コントロールユニット20が無線通信部402を有しており、かかる無線通信部402が無線通信網10を介して遠隔監視装置40等とデータ通信を行うようにしていた。このようにコントロールユニット自体が無線通信機能を備えるようにしてもよいが、無線通信機能を有しないコントロールユニットと、携帯電話等の無線通信機能を備えた通信端末とを有線または無線通信手段(ケーブル等)で接続し、コントロールユニットから携帯電話に撮影画像データを出力し、これを携帯電話から遠隔監視装置40に送信するようにしてもよい。このように上記実施形態におけるコントロールユニット20と同様の機能を実現できれば、すべての構成要素を1つの筐体内に収める必要はなく、複数の筐体からなるコントロールユニットを構成するようにしてもよい。
【0141】
(変形例6)
また、上述した実施形態では、コントロールユニット20の制御部401が、通信状況が悪化した場合に、撮影装置30から供給される撮影画像データを記録部405に供給して記録させるようにしていた。ここで、記録部405が撮影画像データを記録する領域は当該装置内に設けられたメモリであってもよいし、メモリカード等のリムーバルな記録媒体であってもよい。
【0142】
また、上記実施形態では、コントロールユニット20に記録部405が内蔵されていたが、これを別体としてもよい。すなわち、記録部405を有しないコントロールユニットと、ビデオテープレコーダ、DVD(Digital Versatile Disc)レコーダ等の撮影画像データ記録装置とをケーブル等で接続し、コントロールユニットから撮影画像データを撮影画像データ記録装置に出力することで撮影画像データを、ビデオテープやDVD等の記録媒体に記録させるようにしてもよい。このように上記実施形態におけるコントロールユニット20と同様の機能を実現できれば、すべての構成要素を1つの筐体内に収める必要はなく、複数の筐体からなるコントロールユニットを構成するようにしてもよい。
【0143】
(変形例7)
また、上述した実施形態では、撮影装置30と、コントロールユニット20とが別体として構成され、両者の間でのデータの授受を近距離無線通信を用いて行う撮影システムについて説明したが、これらを通信ケーブル等で接続してデータの授受を行わせるようにしてもよいし、両者の機能を実現する構成要素を1つの筐体内に収めて撮影システムを構成するようにしてもよい。
【0144】
(変形例8)
上述した実施形態では、コントロールユニット20から1つの遠隔監視装置40に対して撮影画像データを送信するようになっていたが(図1参照)、コントロールユニット20に予め複数の遠隔監視装置を送信先を設定しておき、撮影装置30によって撮影された撮影画像データを、それぞれの送信先に送信するようにしてもよい。例えば、図14に示すように、撮影画像データを再生する機能を有する携帯電話850、通信機能および画像再生機能を搭載したPC860やPDA(Personal Digital Assistant)870などに送信するようにしてもよい。
【0145】
(変形例9)
また、上述した実施形態では、介在部材202と第1保持部材204との取り付け角度の調整、および第1保持部材204と第2保持部材207の取り付け角度の調整を可能とすることで、デジタルビデオカメラ300の保持位置を垂直方向および水平方向に調整できるようになっていたが、デジタルビデオカメラ300の保持位置調整のための機構は上記の構造に限定されるものではない。
【0146】
したがって、デジタルビデオカメラ300の保持位置を調整できるものであればよく、例えば図15に示すように、上記実施形態におけるほぼ剛体からなる円筒保持部材210に代えて、人が若干強めに力を加えることによって変形し、かつ通常時はその形状を維持できる程度の弾性材料から構成される円筒保持部材910を用いる。そして、デジタルビデオカメラ300の保持位置を調整する際には、装着者は円筒保持部材910に力を加えることで、図中一点鎖線で示すようにかかる円筒保持部材910を上下方向または水平方向に湾曲させる。このように湾曲させることでデジタルビデオカメラ300の保持位置、撮影方向等を調整することができる。
【0147】
なお、このようなフレキシブルな円筒保持部材910を用いた場合、その後端側を上記実施形態における撮影装置30の円筒保持部材210よりも長くするとともに、図示のように下方側等に湾曲させた状態で用いるようにしてもよい。このようにより長い円筒保持部材910を用いることで、より大きな電池スペース220をとることができる。また、このように電池スペース220を大きくとった場合にも上記のように湾曲させることで、円筒保持部材210の後端部910aが邪魔になるといったことを抑制することができる。
【0148】
また、図16に示すように、一方の先端側にデジタルビデオカメラ300を保持する円筒保持部材911を、装着者の後頭部を覆うような湾曲形状とし、他方の端部に装着者の耳を引っ掛けることができる引っ掛け部912を取り付けた構造としてもよい。このようにすれば、引っ掛け部912を一方の耳に引っ掛けるとともに、他方の耳を装着部201に係合させることができ、装着状態を強固なものとすることができる。また、円筒保持部材911の長さが長くなるので、より大きな電池スペースを取ることも可能となる。
【0149】
(変形例10)
また、上述した実施形態における撮影装置30は、装着者の耳に装着部201を係合させるといったタイプのものであったが、デジタルビデオカメラ300の保持位置を目よりも前方かつ近傍の位置に保持できるものであればよく、以下に例示するような形状のものを用いることができる。
【0150】
例えば図17に示すように、撮影装置をヘルメット形状としてもよい。この撮影装置920は、装着者がかぶることができるヘルメット形状の装着部925と、ヘルメット形状の装着部925におけるひさし部925aに保持される保持部材926とを有しており、かかる保持部材925の先端側にデジタルビデオカメラ300が保持されている。
【0151】
このように撮影装置920をヘルメット形状とすれば、通常の業務においてヘルメットを着用する警備員等にとっては、撮影装置920を装着することが大きな負担とならない。また、装着方法も簡易であるといったメリットがある。
【0152】
また、図18に示すように、撮影装置30と帽子部935とを取り付けた構成としてもよい。この場合、帽子部935を装着者が装着した際に、上記実施形態と同様に、円筒保持部材210によって保持されるデジタルビデオカメラの保持位置が目の前方側に位置するように、帽子部935に撮影装置30を取り付ければよい。
【0153】
また、図19に示すように、上記実施形態における撮影装置30の装着状態をより確実に維持するために、装着補助部材940を設けるようにしてもよい。同図に示すように、装着補助部材940は、撮影装置30の第1保持部材204に取り付けられる取付部941と、装着部201が装着される耳と逆の耳に引っ掛けられる引っ掛け部942と、取付部941と引っ掛け部942とを連結する湾曲部材943とから構成されている。この構成の下、装着部201を片側の耳に装着するとともに、他方の耳に引っ掛け部942を係合させることで、撮影装置30の装着状態をより強固に維持することができる。
【0154】
また、図20に示すように、上記実施形態における撮影装置30の装着状態を維持するために、めがね960に撮影装置30を取り付けるようにしてもよい。この場合、円筒保持部材210の先端側にめがね960のフレーム部と結合する結合部965を設けることで、めがね960と撮影装置30とを連結するようにすればよい。撮影装置30とめがね960とを結合することで、装着者はめがね960をかけることで、撮影装置30を装着することができ、まためがね960によって両耳に係合されるので、装着状態もより強固なものとなる。
【0155】
(変形例11)
また、上述した実施形態および変形例などにおいては、コントロールユニット20の制御部401が、通信状況に応じた撮影画像データの送信処理等の撮影画像データを送信する制御や、現在位置に応じて送信を行うか否かを決定するといった処理を行うようにしていたが、CPUといったコンピュータに制御部401と同様の処理を実行させるためのプログラムをインターネット等の通信回線を介してユーザに提供するようにしてもよいし、当該プログラムをCD−ROM(Compact Disc−Read Only Memory)などのコンピュータ読み取り可能な記録媒体に記録してユーザに提供するようにしてもよい。
【0156】
そして、新たなプログラムをインストールさせて実行できるコンピュータを備えた携帯電話等の無線通信装置に、かかるプログラムをインストールして制御部401と同様の処理を実行させるようにしてもよい。
【0157】
【発明の効果】
以上説明したように、請求項1にかかる発明によれば、撮影手段による撮影方向や範囲が装着者は自らの視野とほぼ一致するように保持位置を調整することができ、また目の前方側にあるので装着者の顔が撮影範囲に入ったりすることを抑制でき、この撮影画像を見た遠隔監視者等による装着者の周囲の状況の理解が容易となるという効果を奏する。
【0158】
また、請求項2にかかる発明によれば、取付部と保持部との間に電池保持部を設けることで、装置全体の小型化が容易となるという効果を奏する。
【0159】
また、請求項3にかかる発明によれば、装着者はヘルメット形状の装着部をかぶることで当該撮影装置を装着することができ、装着作業が容易となるとともに、装着者がそもそもヘルメットを着用して職務等を行う場合には撮影装置を装着することが負担とならないという効果を奏する。
【0160】
また、請求項4にかかる発明によれば、撮影手段による撮影方向や範囲が装着者は自らの視野とほぼ一致するように保持位置を調整することができ、遠隔地において現場にいる監視対象者の視界にある光景とほぼ同様の光景を見ることができるという効果を奏する。
【0161】
また、請求項5にかかる発明によれば、撮影手段による撮影方向や範囲が自己の視野と一致しているかを確認しながら保持位置調整を行うことができ、また撮影画像に重ねて撮影方向を調整するための画像が表示されるので、かかる画像を参考にしながら保持位置調整を行うことで簡易かつ正確な保持位置調整が行えるという効果を奏する。
【0162】
また、請求項6にかかる発明によれば、通信が困難な状況下に一時的に陥った場合であっても、その状況下で撮影された撮影データを送信することができ、受信側における撮影データの欠落等を抑制することができるという効果を奏する。
【0163】
また、請求項7にかかる発明によれば、遠隔監視者から音声データが供給された場合、その音声が発せられるので、監視対象者は遠隔監視者の指示やアドバイスを聞くことができるという効果を奏する。
【0164】
また、請求項8にかかる発明によれば、コントロールユニットの所持者は撮影データの送信指示等を個別に行わなくても、撮影データの送信が必要なエリアに移動すれば自動的に撮影データの送信が開始されるという効果を奏する。
【0165】
また、請求項9にかかる発明によれば、送信先を指定したりする煩雑な操作を行うことなく、撮影データを所望の送信先に送信することができ、とっさに異常事態が発生した場合であっても、操作時間に起因してそれを逃してしまうといったことを抑制することができるという効果を奏する。
【0166】
また、請求項10にかかる発明によれば、とっさに異常事態が発生した場合であっても、監視対象者が個別の送信指示等を行うことなく、自動的に撮影データが送信されるので、とっさの異常事態を撮り逃すといったことを抑制できるという効果を奏する。
【0167】
また、請求項11にかかる発明によれば、装着者はヘルメット形状の装着部をかぶることで当該撮影装置を装着することができ、装着作業が容易となるとともに、装着者がそもそもヘルメットを着用して職務等を行う場合には撮影装置を装着することが負担とならないという効果を奏する。
【0168】
また、請求項12にかかる発明によれば、遠隔地において現場にいる監視対象者の視界にある光景とほぼ同様の光景を見ることができ、遠隔地にいる監視者の状況理解を容易にすることができるという効果を奏する。
【0169】
また、請求項13にかかる発明によれば、撮影データの保存に必要なメモリ等の記憶容量を小さくすることができる一方で、保存したい撮影データについては別保存指示をなすことで別途保存することができるという効果を奏する。
【0170】
また、請求項14にかかる発明によれば、異常が発生した場合などの別保存指示をユーザがなせば、その異常状況を撮影した撮影データを保存することができるという効果を奏する。
【0171】
また、請求項15にかかる発明によれば、監視対象者は異常発生時に特別な操作をしなくても、自動的に異常発生前後の撮影データが別保存されることになるという効果を奏する。
【0172】
また、請求項16にかかる発明によれば、プログラムをコンピュータに実行させることで、通信が困難な状況下に一時的に陥った場合であっても、その状況下で撮影された撮影データを送信することができ、受信側における撮影データの欠落等を抑制することができるという効果を奏する。
【0173】
また、請求項17にかかる発明によれば、プログラムをコンピュータに実行させることで、コントロールユニットの所持者は撮影データの送信指示等を個別に行わなくても、撮影データの送信が必要なエリアに移動すれば自動的に撮影データの送信が開始されるという効果を奏する。
【図面の簡単な説明】
【図1】本発明の実施形態にかかる遠隔監視システムの全体構成を示す図である。
【図2】前記遠隔監視システムの構成要素である撮影装置の外観を示す斜視図である。
【図3】前記撮影装置を示す分解斜視図である。
【図4】前記撮影装置の円筒保持部材の構造を示す断面図である。
【図5】前記撮影装置を装着したときの装着者の目とデジタルビデオカメラの位置関係を説明するための図である。
【図6】前記撮影装置の構成を示すブロック図である。
【図7】前記遠隔監視システムの構成要素であるコントロールユニットの構成を示すブロック図である。
【図8】前記コントロールユニットによって行われる撮影画像データ送信制御の内容を説明するための図である。
【図9】前記遠隔監視システムの構成要素である遠隔監視装置の構成を示すブロック図である。
【図10】前記撮影装置のデジタルビデオカメラの保持位置を調整する際に前記コントロールユニットの変形例の表示部に表示される画面を示す図である。
【図11】前記コントロールユニットの変形例の外観を示す正面図である。
【図12】前記コントロールユニットの変形例の構成を示すブロック図である。
【図13】前記コントロールユニットの変形例の構成を示すブロック図である。
【図14】前記遠隔監視システムの変形例の全体構成を示すブロック図である。
【図15】前記撮影装置の変形例を人に装着したときの様子を示す図である。
【図16】前記撮影装置の変形例を人に装着したときの様子を示す図である。
【図17】前記撮影装置の変形例を人に装着したときの様子を示す図である。
【図18】前記撮影装置の変形例を人に装着したときの様子を示す図である。
【図19】前記撮影装置の変形例を示す斜視図である。
【図20】前記撮影装置の変形例を示す斜視図である。
【符号の説明】
10 無線通信網
20 コントロールユニット
30 撮影装置
40 遠隔監視装置
100 遠隔監視システム
201 装着部
210 筒保持部材
220 電池スペース
300 デジタルビデオカメラ
310 制御部
320 イヤホン部
330 近距離無線通信部
400 近距離無線通信部
401 制御部
402 無線通信部
403 通信状況検出部
404 ユーザインターフェース
405 記録部
406 表示部
500 通信インターフェース
501 マイクロホン
502 スピーカ
503 表示部
504 制御部
505a リングバッファ領域
505 記憶装置
505b 別保存領域
650 位置情報検出部
680 異常検出部
850 携帯電話
910 円筒保持部材
910a 後端部
920 撮影装置
【発明の属する技術分野】
この発明は、映像を撮影する撮影装置、撮影システム、撮影装置を用いた遠隔監視システムおよびプログラムに関する。
【0002】
【従来の技術】
従来、警備員、子供などの個人の状況を遠隔地で監視する場合、携帯電話が用いられるのが一般的であり、例えば現場にいる警備員等が周囲の状況を把握し、把握した状況を携帯電話や無線機を用いて遠隔監視者に会話で伝達するといったことが行われている。
【0003】
しかし、このような携帯電話等を用いた会話による状況伝達では、遠隔監視者が正確にその状況を理解することができない場合もあり、また遠隔監視者に正確に理解させるためには多大な説明が必要となり、多大な時間を費やしてしまうこともある。一般的に警備員、子供など遠隔監視が必要とされるケースとしては、監視対象者の周囲に異常等が発生するおそれがあり、これを防止するためになされることが多く、異常が発生した際にその異常状況下にある監視対象者が携帯電話で正確に状況説明をすることは困難であると考えられる。
【0004】
このように携帯電話等を用いた会話による状況伝達が困難であることに鑑み、デジタルカメラやビデオカメラ等を監視対象者が所持しておき、異常等が発生した場合に、デジタルカメラやビデオカメラを携帯電話等とケーブル等で接続し、撮影画像を遠隔監視者宛てに送信することが考えられる。また、デジタルカメラ機能を搭載した携帯電話を監視対象者に所持させ、当該デジタルカメラで撮影した画像と音声とを遠隔監視者宛てに送信するシステムが提案されている(例えば、特許文献1参照)。
【0005】
このような手法では、デジタルカメラ等で撮影した画像が遠隔監視者に送信されるので、遠隔監視者は監視対象者の会話による説明だけではなく、撮影画像を参照することができるので、状況把握が比較的容易となる。
【0006】
【特許文献1】
特開平11−41669号公報
【0007】
【発明が解決しようとする課題】
しかし、監視対象者にデジタルカメラ等を所持させておき、異常等が発生した場合にデジタルカメラを携帯電話と接続する方法では、監視対象者が周囲の状況の撮影を開始するまでに時間を要し、犯罪の瞬間を撮り逃したり、また監視対象者が襲われてしまい、撮影が全くできないといったケースも生じる。
【0008】
また、デジタルカメラを内蔵した携帯電話を用いれば、デジタルカメラと携帯電話を接続するといった作業が不要であるため、撮影開始までの時間は上記方法よりも短縮することができるものの、携帯電話を取り出して構えて撮影するといった時間が必要であり、ひったくりなどの瞬間的な犯罪などを撮影することができないことがある。この場合には、遠隔監視者は監視対象者の周囲等に起こった犯罪という状況を理解できなくなってしまう。
【0009】
また、撮影された画像と音声が遠隔監視者に送信され、遠隔監視者はこれらを参照して状況を理解することになるが、撮影画像が監視対象者が現に見ている視野と一致していない場合には、遠隔監視者は監視対象者の説明を聞いても状況を理解できないといった問題も生じる。例えば、監視対象者はある物体等を見ながら状況説明している場合に、撮影画像にその物体が写っていない場合には、遠隔監視者は容易に状況を理解できないこともある。
【0010】
この発明は上記に鑑みてなされたもので、監視対象者を遠隔監視する場合にあって、遠隔監視者が監視対象者の周囲の状況を容易かつ正確に理解できるようにする撮影装置、撮影システム、遠隔監視システムおよびプログラムを得ることを目的とする。
【0011】
【課題を解決するための手段】
上記目的を達成するため、請求項1にかかる発明は、人体の予め決められた位置に取り付けられる装着部と、前記装着部が装着された人の前方側を撮影する撮影手段と、前記装着部に取り付けられ、前記撮影手段を保持する手段であって、ユーザ操作により前記撮影手段の保持位置を調整できる保持手段とを具備し、前記保持手段によって調整可能な前記撮影手段の保持位置は、前記装着部が装着された人の目よりも前方側であり、かつ当該人の目の近傍であることを特徴とする撮影装置である。
【0012】
請求項1にかかる発明によれば、装着部を人が装着した場合、撮影手段が人の目よりも前方側であり、かつ目の近傍の位置に保持され、またこのような位置の範囲で保持位置の調整をなすことができる。したがって、撮影手段による撮影方向や範囲が装着者は自らの視野とほぼ一致するように保持位置を調整することができ、また目の前方側にあるので装着者の顔が撮影範囲に入ったりすることを抑制できる。このように監視対象者の視野とほぼ同一の映像を撮影することができるので、かかる映像を遠隔監視等に役立てることも可能である。
【0013】
また、請求項2にかかる発明は、請求項1にかかる発明の構成において、前記保持手段は、前記装着部に取り付けられる取付部と、前記撮影手段を保持する保持部と、前記取付部と保持部との間に位置する中間部を有しており、前記中間部には前記撮影手段に電力を供給する電池を保持する電池保持部が形成されていることを特徴とする。
【0014】
請求項2にかかる発明によれば、取付部と保持部との間に電池保持部を設けることで、装置全体の小型化が容易となる。
【0015】
また、請求項3にかかる発明は、請求項1または2にかかる発明の構成において、前記装着部は、人の頭部に装着されるヘルメット形状であることを特徴とする。
【0016】
請求項3にかかる発明によれば、装着者はヘルメット形状の装着部をかぶることで当該撮影装置を装着することができ、装着作業が容易となるとともに、装着者がそもそもヘルメットを着用して職務等を行う場合には撮影装置を装着することが負担とならない。
【0017】
また、請求項4にかかる発明は、映像を撮影する撮影装置と、前記撮影装置と通信手段を介して接続され、前記撮影装置を制御するコントロールユニットとを備えた撮影システムであって、前記撮影装置は、人体の予め決められた位置に取り付けられる装着部と、前記装着部が装着された人の前方側を撮影する撮影手段と、前記装着部に取り付けられ、前記撮影手段を保持する手段であって、ユーザ操作により前記撮影手段の保持位置を前記装着部が装着された人の目よりも前方側の位置であり、かつ当該人の目の近傍位置の範囲内で調整できる保持手段とを備え、前記コントロールユニットは、無線通信網を介してデータ通信を行う無線通信部と、前記撮影手段によって撮影された撮影データを前記無線通信網を介して送信するよう前記無線通信部を制御する制御部とを備えることを特徴とする撮影システムである。
【0018】
請求項4にかかる発明によれば、撮影装置の装着部を人が装着した場合、撮影手段が人の目よりも前方側であり、かつ目の近傍の位置に保持され、またこのような位置の範囲で保持位置の調整をなすことができ、上述したように撮影手段による撮影方向や範囲が装着者は自らの視野とほぼ一致するように保持位置を調整することができる。そして、コントロールユニットによってかかる撮影手段の撮影データが無線通信網を介して遠隔地にある装置に送信させることができ、遠隔地において現場にいる監視対象者の視界にある光景とほぼ同様の光景を見ることができる。
【0019】
また、請求項5にかかる発明は、請求項4にかかる発明の構成において、前記コントロールユニットは、前記撮影手段によって撮影された画像を表示画面に表示する表示手段と、前記表示画面の予め決められた位置に、前記撮影手段によって撮影された撮影画像に重ねて撮影方向を調整するための画像を表示させる調整画像表示手段とをさらに有することを特徴とする。
【0020】
請求項5にかかる発明によれば、コントロールユニットの表示画面に撮影画像が表示されるので、装着者はかかる表示を参照することで、撮影手段による撮影方向や範囲が自己の視野と一致しているかを確認しながら保持位置調整を行える。また、撮影画像に重ねて撮影方向を調整するための画像が表示されるので、かかる画像を参考にしながら保持位置調整を行うことで簡易かつ正確な保持位置調整が行える。
【0021】
また、請求項6にかかる発明は、請求項4または5にかかる発明の構成において、前記コントロールユニットは、前記無線通信部による無線通信状況を検出する通信状況検出手段と、前記通信状況検出手段によって検出された通信状況が予め決められていた状況となった場合に前記撮影手段によって撮影された撮影データを記録媒体に記録する記録手段とをさらに有し、前記制御部は、前記通信状況検出手段によって検出された通信状況が前記予め決められていた状況を脱したときに前記記録媒体に記憶されている撮影データを送信するよう前記無線通信部を制御することを特徴とする。
【0022】
請求項6にかかる発明によれば、通信状況が悪化した場合、撮影データを記録手段に記録しておき、通信状況が良好となったときに記録手段に記録しておいた撮影データを送信することができる。したがって、通信が困難な状況下に一時的に陥った場合であっても、その状況下で撮影された撮影データを送信することができ、受信側における撮影データの欠落等を抑制することができる。
【0023】
また、請求項7にかかる発明は、請求項4ないし6のいずれかにかかる発明の構成において、前記装着部が前記予め決められた人体の位置に装着された際に前記保持手段によって当該人の耳の近傍の位置に保持され、前記無線通信部によって受信された音声データに基づく音を発する音声発生手段をさらに具備することを特徴とする。
【0024】
請求項7にかかる発明によれば、遠隔監視者から音声データが供給された場合、その音声が発せられるので、監視対象者は遠隔監視者の指示やアドバイスを聞くことができる。
【0025】
また、請求項8にかかる発明は、請求項4ないし7のいずれかにかかる発明の構成において、前記コントロールユニットは、当該コントローラの現在位置を検出する位置検出手段をさらに有しており、前記制御部は、前記位置検出手段によって検出された現在位置が予め決められていた位置の範囲内である場合に、前記撮影手段によって撮影された撮影データを送信するよう前記無線通信部を制御することを特徴とする。
【0026】
請求項8にかかる発明によれば、予め決められた位置の範囲内にコントロールユニットの所持者がいる場合、自動的に撮影データが送信されるようになっている。したがって、コントロールユニットの所持者は撮影データの送信指示等を個別に行わなくても、撮影データの送信が必要なエリアに移動すれば自動的に撮影データの送信が開始される。
【0027】
また、請求項9にかかる発明は、請求項4ないし8のいずれかにかかる発明の構成において、前記コントロールユニットは、スイッチボタンを有しており、前記制御部は、前記スイッチボタンの操作に応じて前記前記撮影手段によって撮影された撮影データを予め決められた送信先に送信するよう前記無線通信部を制御するか否かを決定することを特徴とする。
【0028】
請求項9にかかる発明によれば、スイッチボタンを操作することで、予め決められた送信先に撮影データが送信される。したがって、送信先を指定したりする煩雑な操作を行うことなく、撮影データを所望の送信先に送信することができ、とっさに異常事態が発生した場合であっても、操作時間に起因してそれを逃してしまうといったことを抑制することができる。
【0029】
また、請求項10にかかる発明は、請求項4ないし9のいずれかにかかる発明の構成において、前記コントロールユニットは、前記装着部が装着される人の周囲に異常があるか否かを検出する異常検出手段をさらに有しており、前記制御部は、前記異常検出手段によって異常が検出された場合に前記前記撮影手段によって撮影された撮影データを送信するよう前記無線通信部を制御することを特徴とする。
【0030】
請求項10にかかる発明によれば、コントロールユニットによって、撮影装置の装着者の周囲に異常があった場合に自動的に撮影データが送信される。したがって、とっさに異常事態が発生した場合であっても、監視対象者が個別の送信指示等を行うことなく、自動的に撮影データが送信されるので、とっさの異常事態を撮り逃すといったことを抑制できる。
【0031】
また、請求項11にかかる発明は、請求項4ないし10にかかる発明の構成において、前記装着部は、人の頭部に装着されるヘルメット形状であることを特徴とする。
【0032】
請求項11にかかる発明によれば、装着者はヘルメット形状の装着部をかぶることで当該撮影装置を装着することができ、装着作業が容易となるとともに、装着者がそもそもヘルメットを着用して職務等を行う場合には撮影装置を装着することが負担とならない。
【0033】
また、請求項12にかかる発明は、映像を撮影する撮影装置と、前記撮影装置と通信手段を介して接続され、前記撮影装置を制御するコントロールユニットと、遠隔監視装置とを備えた遠隔監視システムであって、前記撮影装置は、人体の予め決められた位置に取り付けられる装着部と、前記装着部が装着された人の前方側を撮影する撮影手段と、前記装着部に取り付けられ、前記撮影手段を保持する手段であって、ユーザ操作により前記撮影手段の保持位置を前記装着部が装着された人の目よりも前方側の位置であり、かつ当該人の目の近傍位置の範囲内で調整できる保持手段とを備え、前記コントロールユニットは、無線通信網を介してデータ通信を行う無線通信部と、前記撮影手段によって撮影された撮影データを前記無線通信網を介して前記遠隔監視装置に送信するよう前記無線通信部を制御する制御部とを備え、前記遠隔監視装置は、前記コントロールユニットから前記無線通信網を介して送信される撮影データを受信する受信手段と、前記受信手段によって受信された撮影データを記憶する記憶手段とを備えることを特徴とする遠隔監視システムである。
【0034】
請求項12にかかる発明によれば、撮影装置の装着部を人が装着した場合、撮影手段が人の目よりも前方側であり、かつ目の近傍の位置に保持され、またこのような位置の範囲で保持位置の調整をなすことができ、上述したように撮影手段による撮影方向や範囲が装着者は自らの視野とほぼ一致するように保持位置を調整することができる。そして、コントロールユニットによってかかる撮影手段の撮影データを無線通信網を介して遠隔地にある遠隔監視装置に送信されるので、遠隔地において現場にいる監視対象者の視界にある光景とほぼ同様の光景を見ることができ、遠隔地にいる監視者の状況理解を容易にすることができる。
【0035】
また、請求項13にかかる発明は、請求項12にかかる発明の構成において、前記記憶手段は、前記コントロールユニットから送信される前記撮影データを過去一定時間分だけ記憶するリングバッファ領域と、前記コントロールユニットから前記無線通信網を介して前記別保存指示が送信された場合に、前記リングバッファ領域に記憶されている当該指示があった時点から過去所定時間分の前記撮影データを読み出して記憶する別記憶領域とを有していることを特徴とする。
【0036】
請求項13にかかる発明によれば、コントロールユニットから送信される撮影データの過去一定時間分だけをリングバッファ領域に記憶させているので、撮影データの保存に必要なメモリ等の記憶容量を小さくすることができる一方で、保存したい撮影データについては別保存指示をなすことで別途保存することができ、後にその撮影データに基づく映像を参照して状況の検証等を行うことができる。
【0037】
また、請求項14にかかる発明は、請求項13にかかる発明の構成において、前記制御部は、ユーザから撮影データを別途保存するための別保存指示があった場合に、別保存指示を前記遠隔監視装置に送信するよう前記無線通信部を制御することを特徴とする。
【0038】
請求項14にかかる発明によれば、ユーザから指示があった場合に、撮影データが別途保存されるので、異常が発生した場合などの別保存指示をユーザがなせば、その異常状況を撮影した撮影データを保存することができる。
【0039】
また、請求項15にかかる発明は、請求項13にかかる発明の構成において、前記コントロールユニットは、前記装着部が装着される人の周囲に異常があるか否かを検出する異常検出手段をさらに有しており、前記制御部は、前記異常検出手段によって異常が検出された場合に別保存指示を前記遠隔監視装置に送信するよう前記無線通信部を制御することを特徴とする。
【0040】
請求項15にかかる発明によれば、監視対象者の周囲に異常が発生すれば、異常検出手段によって検出され、別保存指示が遠隔監視装置に送信され、これにより異常発生前後の撮影データが別保存される。したがって、監視対象者は異常発生時に特別な操作をしなくても、自動的に異常発生前後の撮影データが別保存されることになる。
【0041】
また、請求項16にかかる発明は、無線通信網を介して無線データ通信を行う無線通信部を制御するコンピュータを、前記無線通信部による通信状況を取得する通信状況取得手段、前記通信状況取得手段によって取得された通信状況が予め決められた良好状況であるか否かを監視する通信状況監視手段、撮影装置から供給される撮影データを前記無線通信網を介して予め決められた送信先に送信するよう前記無線通信部を制御する手段であって、前記通信状況監視手段によって通信状況が良好でないと判別された場合には、前記撮影装置から供給される撮影データを記録媒体に記録し、その後前記通信状況監視手段によって通信状況が良好であると判別されたときに前記記録媒体に記録されている撮影データを送信するよう前記無線通信部を制御する制御手段として機能させるためのプログラムである。
【0042】
請求項16にかかる発明によれば、プログラムをコンピュータに実行させることで、通信状況が悪化した場合、撮影データを記録媒体に記録しておき、通信状況が良好となったときに記録媒体に記録しておいた撮影データを送信することができる。したがって、通信が困難な状況下に一時的に陥った場合であっても、その状況下で撮影された撮影データを送信することができ、受信側における撮影データの欠落等を抑制することができる。
【0043】
また、請求項17にかかる発明は、無線通信網を介して無線データ通信を行う無線通信部を制御するコンピュータを、当該コンピュータの現在位置を取得する位置情報取得手段、前記位置情報取得手段によって取得された現在位置が予め決められていた位置の範囲内である場合に、撮影装置から供給される撮影データを送信するよう前記無線通信部を制御する制御手段として機能させるためのプログラムである。
【0044】
請求項17にかかる発明によれば、プログラムをコンピュータに実行させることで、予め決められた位置の範囲内にコントロールユニットの所持者がいる場合、自動的に撮影データが送信されるようになっている。したがって、コントロールユニットの所持者は撮影データの送信指示等を個別に行わなくても、撮影データの送信が必要なエリアに移動すれば自動的に撮影データの送信が開始される。
【0045】
【発明の実施の形態】
以下に添付図面を参照して、この発明にかかる撮影装置、撮影システム、遠隔監視システムおよびプログラムの好適な実施の形態を詳細に説明する。
【0046】
A.実施形態
図1は、本発明の一実施形態にかかる遠隔監視システムの全体構成を示す図である。同図に示すように、この遠隔監視システム100は、無線通信網10による無線通信サービスを受ける携帯電話としての機能を備えたコントロールユニット20と、監視対象者に頭部近傍に装着可能な撮影装置30と、無線通信網10および図示せぬ電話網やインターネット網等の有線通信網を介して接続される遠隔監視装置40とを備える。
【0047】
すなわち、コントロールユニット20と、遠隔監視装置40とは、無線通信網10等を介してデータの授受を行うことができるようになっている。また、当該遠隔監視システム100の監視対象者は、図示のように、撮影装置30とコントロールユニット20からなる撮影システムを装着、所持することとなる。
【0048】
以上のような構成の下、遠隔監視システム100では、撮影装置30によって撮影された撮影画像データがコントロールユニット20から、無線通信網10等を経由して遠隔監視装置40に送信され、遠隔監視装置40において撮影画像を表示させることができるようになっている。以下、かかる遠隔監視システム100の各構成要素について詳細に説明する。
【0049】
図2に示すように、撮影装置30は、人の耳を覆うような形状の装着部201を有している。装着部201は、中空部を有するほぼ半円球状の部材であり、当該撮影装置30を装着した状態ではその中空部分に装着者の耳が位置するようになっている。そして、装着部201は耳の裏側に引っ掛ける等して当該装着者に装着されるが、かかる装着状態を強固に維持するために、装着部201を耳に嵌めた上にゴムバンド等を巻くようする等の構成を採用するようにしてもよい。
【0050】
図2および図3に示すように、略半円球状の装着部201の上方側にはL字状の介在部材202が装着部201と一体となって設けられている。かかる介在部材202は、装着部201の上方部から垂直方向(撮影装置30装着時の垂直方向)に延びる垂直部202aと、垂直部202aの上端から水平方向に延びる水平部202bとを有する。
【0051】
水平部202bの上方側には略L字状の第1保持部材204が配置されている。第1保持部材204は、介在部材202の水平部202bと対向する面を有する水平部204aと、水平部204aの装着者側の端部から上方に延びる垂直部204bとを有する。そして、第1保持部材204の水平部202bと、介在部材202の水平部202bが面接触させられた状態で調整ねじ205によってねじ止めされることで両者が結合されている。
【0052】
図3に詳細に示されるように、水平部202bの両端側には、それぞれねじ孔203a、203bが形成されるとともに、水平部204aの両端にもそれぞれ貫通孔205a、205bが形成されている。ここで、水平部204aに形成される貫通孔205a、205bは略長方形状(曲率の大きい楕円状)であるのに対し、水平部202bに形成されるねじ孔203a、203bは調整ねじ205が螺合される孔である。
【0053】
このような構成の下、2つの調整ねじ205が貫通孔205a、205bを挿通する位置を適宜調整して水平部202bと水平部204aとをねじ結合することで、介在部材202と第1保持部材204と水平方向の取り付け角度を調整することができるようになっている。
【0054】
第1保持部材204の垂直部204bには、第2保持部材207が取り付けられている。第2保持部材207は、垂直部204と面接触させられる垂直部207aと、垂直部207aに垂直部204と接触する面と反対側の面に一体となって設けられた円筒保持部207bとを有している。
【0055】
垂直部207aにおける円筒保持部207bの上方側には貫通孔207cが形成される一方で、第1保持部材204の垂直部204bの上方側にはねじ孔206が形成されている。かかる貫通孔207cとねじ穴206とを位置あわせした状態でねじ208で両者をねじ止めすることで、第1保持部材204と第2保持部材207とが結合されている。ここで、上記のようにねじ孔206と貫通穴207cとの位置を合わせた状態で、第2保持部材207の第1保持部材204との垂直方向の角度を適宜調整してねじ止めすることで、第2保持部材207と第1保持部材204との垂直方向の取り付け角度を調整することができるようになっている。
【0056】
上記のように第1保持部材204自体が介在部材202に対して水平方向の取り付け角度を調整できるようになっているので、結果として第2保持部材207は、人の耳に装着固定される装着部201と一体をなす介在部材202に対し、垂直方向および水平方向にその取り付け角度を調整することができるようになっている。
【0057】
図2に示すように、第2保持部材207の円筒保持部207bは、その円筒中空内に、円筒保持部材210を保持している。円筒保持部材210は、装着時に略水平方向かつ装着者の後側から前側の方向に延びる円筒状の部材である。
【0058】
図2および図4に示すように、円筒保持部材210の前方側(装着時の人の前方側)の端部には、小型のデジタルビデオカメラ300が固定保持されている。かかるデジタルビデオカメラ300は、円筒保持部材210の先端側(図4の左側)を撮影するよう配置されている、つまり当該撮影装置30を装着した際に装着者の前方側を撮影するよう配置されている。
【0059】
円筒保持部材210のデジタルビデオカメラ300が保持される位置よりも後方側には、敷居部材215を挟んで当該デジタルビデオカメラ300等に電力を供給するための電池Dを配置する電池スペース(電池保持部)220が形成されている。かかる電池スペース220は、当該円筒保持部材210が第2保持部材207によって保持される位置よりもさらに後方側にまで延在しているが、上記のようにデジタルビデオカメラ300と第2保持部材207によって保持される位置との中間部分を電池スペース220として利用することで、装置の小型化等に資することになる。
【0060】
また、円筒保持部材210には、上記の電池スペース220に電池を挿入するための開閉可能な蓋部225が設けられている。
【0061】
なお、撮影装置30は、デジタルビデオカメラ300等の電子機器を搭載しているので、円筒保持部材210の中空内部等に水が浸入しないよう部材と部材との結合部分にパッキン等を介在させることで防水加工を施しておくことが好ましい。
【0062】
以上が撮影装置30の機械的な構成であり、かかる撮影装置30を通常の決められた装着位置に装着した場合の様子を図5に示す。同図に示すように、撮影装置30の装着部201が装着者の耳を覆うように装着した場合、円筒保持部材210の前端側(図5の左側)に保持されるデジタルビデオカメラ300の位置は、装着者の目の位置よりも前方側、かつ目の近傍の位置となる。このようにデジタルビデオカメラ300の保持位置を目よりも前方側とすることで、装着者の顔などの身体の一部がデジタルビデオカメラの撮影範囲に侵入することがなく、周囲の状況を装着者の体に邪魔されることなく撮影することができる。例えば、耳の横にデジタルビデオカメラを保持した場合には、装着者のこめかみ等が撮影映像に含まれることになり、装着者の視野と一致しなくなってしまうが、上記のように目の前方側で保持することでこのような問題が生じない。
【0063】
このように当該撮影装置30は、予め決められた位置に装着した場合に、デジタルビデオカメラ300の保持位置が装着者の目よりも前方側であり、かつ目の近傍に位置するよう構成されており、上記のような水平方向および垂直方向の角度調整をした場合であっても、上記のような範囲内にデジタルビデオカメラ300が保持されるようになっている。そして、このような位置にデジタルビデオカメラ300が保持されることによって、装着者の視野と、デジタルビデオカメラ300の撮影方向や範囲がほぼ一致するようにすることができる。
【0064】
また、上記のように第2保持部材207および第1保持部材204の取り付け角度調整を行うことで、デジタルビデオカメラ300の撮影方向や範囲を、装着者の視野とほぼ一致させるよう調整することもできる。このような装着者の視野と、デジタルビデオカメラ300の撮影方向や範囲を合わせるためには、後述するコントロールユニット20の表示部406(図7参照)を見ながら調整することができる。
【0065】
なお、目の近傍の位置とは、上記のようにデジタルビデオカメラ300の撮影方向や範囲が装着者の視野とほぼ一致することができるような位置であり、目から10cm程度の距離の範囲内であることが好ましいが、厳密にこの範囲内に限定されるものではない。
【0066】
次に、撮影装置30の電気的な構成について図6を参照しながら説明する。同図に示すように、撮影装置30は、デジタルビデオカメラ300と、制御部310と、イヤホン部320と、近距離無線通信部330とを備える。
【0067】
デジタルビデオカメラ300は、上記のような位置に保持され、装着者の前方側を撮影し、装着者の視野とほぼ一致する方向・範囲を映した撮影画像データを制御部310に供給する。なお、デジタルビデオカメラ300としては、単に映像のみを撮影するものであってもよいが、遠隔監視者の状況把握等を容易にするため周囲の音声を収音するマイクロホンを備え、音声付の撮影画像データを生成するものであることが好ましい。
【0068】
制御部310は、近距離無線通信部330を介してコントロールユニット20(図1参照)から供給される指示に応じてデジタルビデオカメラ300の動作を制御する。例えば、撮影指示があった場合にはデジタルビデオカメラ300に対し、撮影を開始するよう指示する。また、デジタルビデオカメラ300によって撮影された撮影画像データを取得し、これをリアルタイムでコントロールユニット20に送信するよう近距離無線通信部330を制御する。また、近距離無線通信部330を介してコントロールユニット20から音声データが供給された場合には、かかる音声データをイヤホン部320に出力する。
【0069】
イヤホン部320は、上記のように制御部310から供給される音声データに基づく音声を発する。かかるイヤホン部320は、上述した略半球状の装着部201の内面側に設けられており(図2、図3参照)、上記のように装着部201は耳に装着されると、その耳の位置近傍に配置されるようになっている。
【0070】
近距離無線通信部330は、コントロールユニット20(図1参照)との間で、撮影画像データ、指示データ、音声データ等のデータ通信を行うものであり、例えばIEEE(Institute of Electrical and Electronic Engineers)802.11bの規格に準拠した無線通信等を行うデバイスである。
【0071】
次に、図7を参照しながらコントロールユニット20の構成について説明する。同図に示すように、コントロールユニット20は、近距離無線通信部400と、制御部401と、無線通信部402と、通信状況検出部403と、ユーザインターフェース(I/F:interface)404と、記録部405と、表示部406とを備える。
【0072】
近距離無線通信部400は、上述した撮影装置30の近距離無線通信部330との間で近距離無線データ通信を行うものであり、例えばIEEE802.11bの規格に準拠した無線通信等を行うデバイスである。より具体的には、コントロールユニット20から撮影装置30に対する指示、音声データ等を送信し、撮影装置30から供給される撮影画像データ等を受信する。
【0073】
無線通信部402は、無線通信事業者の提供する無線通信サービスを受け、自己の識別番号(電話番号等)宛てに無線通信網10(図1参照)を介して他の通信端末(携帯電話、電話、通信機能付きPC(Personal Computer)など)から送信されるデータを受信するとともに、他の通信端末宛てにデータを無線通信網10を介して送信する機能を有する。
【0074】
また、かかる無線通信部402は、複数チャンネルの通信を同時に行うことができるようになっており、これにより後述する遠隔監視装置40との間で音声データの送受信を行いながら、撮影装置30から供給された撮影画像データを遠隔監視装置40宛てに送信することができる。
【0075】
通信状況検出部403は、無線通信部402による無線通信の状況を検出し、検出結果を制御部401に出力する。つまり、無線通信部402は、上述したように無線通信事業者による無線通信サービスを受けて無線通信を行うものである。したがって、コントロールユニット20を所持する監視対象者が、当該事業者が設置する基地局との間で通信ができない等の通信状況が悪い場所(地下や山地など)、または妨害電波が発生している場所にいると、通信環境が悪化して正常な通信が行えなくなることもある。通信状況検出部403は、このような場所等によって変動する無線通信部402の通信状況を常時監視し、かかる通信状況を制御部401に通知する。
【0076】
ユーザインターフェース404は、テンキー等を有しており、ユーザはかかるテンキー操作を行うことで電話番号を指定し、無線通信部402を利用して他の電話機等に発呼するといったことや、撮影装置30に対する撮影開始・終了等の指示や、当該コントロールユニット20に対する指示等を入力することができるようになっている。また、監視対象者はユーザインターフェース404を適宜操作することで、異常の発生を遠隔監視装置40に伝えるよう指示することができる。
【0077】
表示部406は、LCD(Liquid Crystal Display)等を有しており、制御部401から供給された画像データに基づく画像を表示する。ここで、上述した撮影装置30のデジタルビデオカメラ300(図6参照)によって撮影された撮影画像データが制御部401から表示部406にリアルタイムで供給されており、この結果、表示部406には撮影装置30の撮影画像がリアルタイムで表示される。したがって、撮影装置30の装着者は、かかるコントロールユニット20の表示部406に表示される撮影画像を見ながら、自己の視野と撮影方向や範囲が一致しているかを確認することができ、このような確認をしながらデジタルビデオカメラ300の保持角度調整を行うことでより正確な調整を行うことができる。
【0078】
記録部405は、書き換え可能なメモリ(記録媒体)を有しており、制御部401から撮影画像データが供給された場合にはこれをメモリに記録し、制御部401からの要求に応じてメモリに記録されている撮影画像データを読み出して制御部401に出力する。
【0079】
制御部401は、コントロールユニット20の装置各部を制御する。具体的には以下のような制御を行う。まず、ユーザインターフェース404を介してユーザの指示が入力されると、かかる指示にしたがった制御を行う。例えば、撮影装置30による撮影の開始・終了指示があった場合には、当該指示を撮影装置30に送信するよう近距離無線通信部400を制御する。
【0080】
制御部401は、ユーザインターフェース404を介して異常発生通知指示があった場合、かかる指示に応じて遠隔監視装置40に対して異常発生通知を送信するよう無線通信部402を制御する。
【0081】
また、制御部401は、撮影装置30(図6参照)から近距離無線通信部400を介して順次供給される撮影画像データを、MPEG(Moving Pictures Experts Group)4等の圧縮フォーマットで圧縮し、予め決められたあて先、つまり遠隔監視装置40宛てに送信するよう無線通信部402を制御する。また、無線通信部402から音声データが供給された場合、つまり遠隔監視装置40と回線が接続され、遠隔監視者の音声に基づく音声データが供給された場合には、これを撮影装置30に送信するよう近距離無線通信部400を制御する。これにより撮影装置30にイヤホン部320から音声データに基づく音声、つまり遠隔監視者が発した音声を発することができる。
【0082】
また、制御部401は、通信状況検出部403から供給される検出結果を取得し、かかる検出結果が予め決められた良好な通信ができる状況の範囲内であるか否かを判別する。具体的な検出結果は、基地局から供給された電波の受信強度であるが、この受信強度が予め決められた値よりも小さい場合には、通信状況が悪化していると判別し、予め決められた値よりも大きい場合は良好であると判別する。
【0083】
そして、制御部401は、通信状況が悪化していると判別した場合、無線通信部402による撮影画像データの送信を停止し、近距離無線通信部400によって受信される撮影画像データを記録部405に供給し、これをメモリに記録させるよう指示する。この後、通信状況検出部403から供給される検出結果に基づく判別結果、良好な通信状況に替わると、制御部401は通信状況が悪化している間、メモリに記録されていた撮影画像データを読み出すよう記録部405に指示し、記録部405から読み出された撮影画像データを遠隔監視装置40に送信するよう無線通信部402を制御する。
【0084】
すなわち、図8に示すように、制御部401は、基地局からの電波の受信強度が予め決められた基準値よりも大きい場合には良好状況、小さい場合には悪化状況であると判別し、良好状況の期間は撮影装置30から供給される撮影画像データ(A)を無線通信部402から遠隔監視装置40に送信させる一方で、悪化状況の期間は撮影装置30から供給される撮影画像データ(B)を記録部405に記録させる。その後良好に転じた場合には、記録部405に記録されている撮影画像データ(B)を読み出して無線通信部402に送信させるとともに、撮影画像データ(B)を送信させている間に撮影装置30から供給される撮影画像データ(C)を記録部405に記録させる。そして、撮影画像データ(B)の無線送信が終了すると、記録部405に記録されている撮影画像データ(C)を読み出して無線送信する。すなわち、この状況では、無線通信部402によって無線送信される撮影画像データは、通信状況が悪化していた期間だけ撮影装置30から供給される撮影画像データより遅れたデータとなっている。
【0085】
なお、一旦通信状況が悪化してから良好に転じた場合、上記のようにリアルタイムの撮影画像データよりも通信状況が悪化していた期間だけ送れた撮影画像データを無線送信するようにしてもよいが、悪化後良好に転じた場合には、撮影装置から供給される撮影画像データをリアルタイムで無線送信できるよう、記録部405に記録された撮影画像データを高速で無線送信するようにしてもよい。例えば、本来30秒分の撮影画像データを高圧縮し、15秒間で無線送信するといった具合にすれば、供給される撮影画像データに追いつくことができ、追いついた後はリアルタイム送信に切り替えることができる。
【0086】
次に、遠隔監視装置40について図9を参照しながら説明する。同図に示すように、遠隔監視装置40は、通信インターフェース(I/F)500と、マイクロホン501と、スピーカ502と、表示部503と、制御部504と、記憶装置505とを備える。
【0087】
通信インターフェース500は、電話網やインターネット等の通信網を介して他の通信端末とデータ通信を行う。上述したコントロールユニット20から供給される撮影画像データ、異常発生通知、監視対象者の音声データ等を受信するとともに、マイクロホン501から供給される音声データ、つまり監視者の発した声に対応するデータをコントロールユニット20宛てに送信する。
【0088】
マイクロホン501は、当該遠隔監視装置40の近傍にいる監視者と、コンロトールユニット20および撮影装置30を装着する監視対象者との間で、無線通信網10等を介した会話、つまり電話による会話を行うために、監視者の発した音声を入力するものである。かかる入力音声データは、制御部504に供給され、通信インターフェース500を介して回線接続されているコントロールユニット20の無線通信部402に送信され、撮影装置30のイヤホン部320に供給される。
【0089】
スピーカ502は、上記のように監視対象者と電話による会話を行う際に、監視対象者の発した声を再生するものである。具体的には、コントロールユニット20から供給された監視対象者の発した声に対応する音声データが当該遠隔監視装置40に供給された場合、かかる音声データがスピーカ502によって再生される。
【0090】
表示部503は、LCD等を有しており、制御部504から供給される画像データに基づく画像を表示する。具体的には、コントロールユニット20から原則としてリアルタイムで供給される撮影画像データに基づく動画像を表示する。
【0091】
制御部504は、コントロールユニット20から供給される撮影画像データを記憶装置505に出力して記憶させるとともに、撮影画像データを表示部503に出力することで表示部503に撮影画像データに基づく動画像を表示させる。
【0092】
記憶装置505は、ハードディスクドライブ等の記憶装置であり、制御部504から供給される撮影画像データを記憶する。ここで、記憶装置505には、リングバッファ領域505aと、別保存領域505bが設けられている。
【0093】
リングバッファ領域505aは、コントロールユニット20から送信される撮影画像データを過去一定時間(例えば1時間)分だけ記憶する領域であり、一定時間前に記録された撮影画像データは新たに供給された撮影画像データに上書きされるようになっている。このようにコントロールユニット20から供給される撮影画像データをリングバッファ方式で記録することで、膨大な記憶領域を用意することなく、リアルタイムで供給される撮影画像データを保存することができる。
【0094】
上述した制御部504は、コントロールユニット20から異常発生通知が供給された場合に記憶装置505に対し、その異常発生通知がきた時点でリングバッファ領域505aに記録されている撮影画像データ、つまり過去一定時間分の撮影画像データを読み出して別保存領域505bに記録させる。すなわち、この後、時間の経過とともにリングバッファ領域505aに記録された異常発生通知から過去一定時間分の撮影画像データは、順次供給される撮影画像データが上書きされて消去されることになるが、かかる撮影画像データは別保存領域505bに記憶されていることになる。したがって、後になっても別保存領域505bに記録されている撮影画像データを読み出して再生することで、異常発生通知から過去一定時間分の撮影画像データに基づく動画像を表示させることができるのである。
【0095】
このように通常時はリングバッファ領域505aに撮影画像データを記録させるとともに、異常発生した場合にはその時点から過去一定時間分の撮影画像データを別途保存しておくことで、以下のような効果が得られる。
【0096】
すなわち、警備員等が撮影装置30およびコントロールユニット20を所持して警備等をしている際に、犯罪が起こったり、警備員が襲われたりした場合、その時点では警備員は何らかの対応に手間取り、異常発生通知をなす旨をコントロールユニット20に対してできない場合もある。このような場合であっても、本実施形態では、警備員が情勢が沈静化した後に、異常発生通知をなす旨を指示すれば、その指示時点から過去一定時間前までの撮影画像データが別途保存され、かかる過去一定時間前までの間に犯罪等が生じていたのであれば、かかる別途保存された撮影画像データにその様子が撮影されることになる。
【0097】
したがって、本実施形態によれば、通常時はリングバッファを用いることで必要となる記憶領域の容量を低減する一方で、犯罪等の必要な映像をより確実に保存することができるのである。
【0098】
また、以上説明した本実施形態にかかる遠隔監視システム100では、撮影装置30を装着した監視対象者の視野とほぼ一致した撮影画像が得られ、かかる撮影画像に対応する撮影画像データが遠隔監視装置40に送信され、記録されるとともに表示部503に原則としてリアルタイムで表示される。したがって、かかる表示を見た遠隔監視者は、監視対象者の周囲等で発生した事象をより正確に理解することができる。この際、上記のように異常発生通知前一定時間分の撮影画像データは、別途保存されるようになっているので、後から当該撮影画像データに基づく画像を表示させて、発生した異常事態についての分析等を行うこともできる。
【0099】
また、撮影装置30は監視対象者の頭部に装着されているので、とっさに犯罪などの異常事態が発生した場合にも、デジタルカメラを取り出して構えるといった動作を行うことなく、監視対象者の目に写っている光景と同じ光景を撮影することができ、異常事態等を取り逃すおそれが少ない。
【0100】
また、遠隔監視装置40の近傍にいる監視者と、撮影装置30を装着しコントロールユニット20を所持した監視対象者とは電話による会話をなすこともでき、監視者は上記のように表示部503に表示される現場のリアルタイムの映像を参照しながら監視対象者の説明を聞くことで事象の理解が容易となる。また、このように表示される画像は、監視対象者の視野とほぼ一致したものとなる。つまり、遠隔地で表示部503を見る監視者と、現場にいる監視対象者はほぼ同一の範囲を見ていることになり、このような状況のもとで現場にいる監視対象者の説明を受けることで、監視者の事象の把握がさらに容易となる。
【0101】
B.適用例
次に、上述した実施形態にかかる遠隔監視システム100は、以下のような種々のケースに適用することができる。
【0102】
(適用例1)
まず、上記遠隔監視システム100を、巡回パトロール、各種検問、警備、警護任務などの監視に適用することができる。このような監視に本システムを適用する場合、第1線で防犯活動にあたる制服警察官や警備員が上記撮影装置30を頭部に装着し、コントロールユニット20を所持するとともに、遠隔監視装置40を警察署内や警備センタ内等に設置する。
【0103】
そして、警備や警護などの職務遂行中必要な場合に状況を撮影し、遠隔監視装置40に撮影画像データを送信することで、警備センタや警察署内では、現場にいる警備員が見ている状況とほぼ同一の状況を見ることができる。そして、警備センタ内にいる監視員等が、現場にいる警備員の説明を受けて現場状況を正確に理解することが容易となり、監視員が正確に把握した状況に基づいて現場にいる警備員に音声による指示を与えることもできる。
【0104】
また、現場において異常が発生した場合には、その際の撮影画像データが保存されるので、後に現場の状況を検証したり、警備員の対応について検証したりすることができ、また犯罪等を撮影したものであれば証拠等として利用することもできる。
【0105】
また、現金輸送任務にあたる警備員などが撮影装置30を装着しておけば、現金の積み下ろし時や道路走行中に強盗などの襲撃を受けた場合にも、犯行グループのメンバーの外見や使用車両の車種、色、ナンバープレートなどが撮影画像に映し出されている可能性が高く、犯人逮捕が迅速に行われる可能性が高まる。現金輸送任務の警備員がこれを使用していることが一般的に知られるようになれば、犯罪者も安易に攻撃を仕掛けることは困難となるためこうした犯罪が減少するといった抑止効果がある。その他の巡回パトロール、立哨警戒、個人警護等の各種警備業者であっても十分に利用価値がある。
【0106】
(適用例2)
近年、タクシー運転手が客を装った強盗に売上金を奪われる事例が多発している。そこで、タクシーの運転手に頭部に撮影装置30を装着するとともにコントロールユニット20を所持させ、遠隔監視装置40をタクシー会社の事業所内に設置するといったように上記遠隔監視システム100を適用することができる。
【0107】
このように本システムを適用することで、車内で客が不穏な言動を取った場合にも一連の状況の撮影画像データがタクシー事業所に送信される。したがって、事業所の担当者が異常を警察に通報する等、適切な対策をとることができ、犯行を未然に阻止できる可能性が高まる。また、営業中に常時撮影を行うようにすれば、タクシーが事故に遭遇した場合も、事故処理に際し、事実確認が従来よりも容易になる。
【0108】
また、バス、ハイヤー、一般車など全ての車両の運転手が撮影装置30を装着するとともにコントロールユニット20を所持し、バス会社や、運転手の自宅等に遠隔監視装置40を設置することで、事故が発生した場合の事実確認等を容易になすことができるといったメリットが得られ、犯罪防止にも資すると考えられる。
【0109】
(適用例3)
また、現金を取り扱うピザや寿司など宅配業者についても本システムを適用すれば、上述したタクシー会社に本システムを適用した場合と同様、従来よりも防犯上の安全性が高まるとともに。宅配中に事故が生じた場合であっても事故処理が迅速かつ正確に行えるようになる。
【0110】
(適用例4)
また、子供、老人、女性等の警護等をする場合に本システムを適用することもできる。例えば、子供の頭部に撮影装置30を装着するとともにコントロールユニット20を所持させる。そして、学校や家にいないとき、例えば登下校時や外出時に撮影装置30による撮影を行わせて家や学校などに設置する遠隔監視装置40に送信させることで、子供の周囲に異常が発生しないか等、例えば不審な人物から接触されていないか等を遠隔監視することができ、襲撃、誘拐・拉致事件はもとより子供を狙う詐欺まがいの不法商法や性犯罪等を未然防止できる可能性が高まる。また、教員の目が届かない登下校時における生徒間のいじめ把握にも有効である。
【0111】
(適用例5)
JRや地下鉄などの鉄道機関では、駅員の頭部に撮影装置30を装着させるとともに、事務室内に遠隔監視装置40を設置すれば、事務室内で監視員が駅の各所にいる駅員の周囲の様子を監視することができ、昨今問題となっている利用客による駅員への暴力を防止、削減等できる可能性が高くなる。なお、鉄道の乗客多数が撮影装置30を装着するようにすれば、乗客自身が車内暴力や痴漢行為などの迷惑行為を記録できるため、車内マナーが確実に改善される可能性もある。
【0112】
(適用例6)
また、視力障害者等に対して本システムを適用することができる。例えば、視力障害者の頭部に撮影装置30を装着させるとともに、監視者宅に遠隔監視装置40を設置する。そして、監視者が撮影装置30によって撮影された画像を参照しながら、撮影装置30を装着した視力障害者等にアドバイス等をすることで、彼らが物体に衝突等するといった危険回避ができる場合がある。
【0113】
(適用例7)
高圧送電鉄塔や各種電波塔など高所で電気工事関係者が単独で作業しなければならない作業場等において、本システムを適用することもできる。例えば、技術的に熟練していない若い作業員が単独で高所作業を行う場合に当該作業員の頭部に撮影装置30を装着させるとともに、作業事務所内もしくは作業場近くの屋外に遠隔監視装置40を設置すれば、熟練者が地上で撮影画像を参照することで作業状況を監視し、高所の作業員に適切な指示を与えることができ、作業の安全性を高めることができる。同様に共同地下講工事などに際して、作業員が1人しか入れないような狭い現場での工事が必要な場合、熟練者が地上から作業をモニターして適切な指示を与えることにより、作業の安全性を向上させることもできる。
【0114】
また、上記のような建築等の作業にかかわらず、戦争や紛争が終了したばかりの国に地雷処理を専門とするNPOやNGOが地元ボランティアを使って地雷探査、処理作業を行う場合にも、上記と同様に処理作業員に撮影装置30を装着させて本システムを適用するようにしてもよい。本システムを適用することで熟練専門家が実際に作業にあたる地元ボランティア等に従来にも増して効果的な指導ができ、作業の安全性が高まる可能性がある。
【0115】
(適用例8)
航空機や鉄道列車、船舶等交通機関の整備現場において、作業員に撮影装置30を装着させて本システムを適用することもできる。このように本システムを適用することで、各作業員の作業内容を監視することができ、作業の安全性や適正さをチェックしたり、内部犯行的な破壊活動が起きたりするといった犯罪行為を未然に防止するのにも資することになる。
【0116】
(適用例9)
また、万引き被害が多発する商店では、店員の頭部に撮影装置30を装着させることで、万引き現場の証拠を残すことが容易になり、被害を減少させることができる。従来の設置型カメラでは、死角となる場所を熟知した万引き犯の犯行を防ぐことができないといった不都合がある一方で、従来の店員は万引きを目撃しても、店員が容疑者の犯行を証明できない場合が多い。これに対し、本システムを適用すれば、店員が移動することで、従来の設置型カメラで死角となっていた位置の万引き等を撮影することができ、その撮影画像データが残るので万引き防止に資することになる。
【0117】
C.変形例
なお、本発明は、上述した実施形態に限定されるものではなく、以下に例示するような種々の変形が可能である。
【0118】
(変形例1)
上述した実施形態では、撮影装置30の装着者が、コントロールユニット20の表示部406に表示される撮影画像を参照しながら、撮影範囲や方向が自己の視野と一致するようデジタルビデオカメラ300の保持位置を調整するようにしていたが、かかる調整を容易かつ正確になすために、コントロールユニット20の制御部401(図7参照)が以下のような処理を行うようにしてもよい。
【0119】
すなわち、装着者からユーザインターフェース404を介して位置調整を行う旨の指示を受けた場合、制御部401は撮影装置30から供給される撮影画像データを表示部406に出力して撮影画像を表示させるとともに、図10に示すように調整用の枠Wを画面内の予め決められた位置(画面のほぼ中央位置)に表示させるための画像データを表示部406に出力し、これを撮影画像に重ねて表示させる。
【0120】
ここで、視野と撮影範囲等の位置あわせをする場合、装着者はコントロールユニット20を手に持ち、その表示部406を自己の視野に入れて参照することになる。この際、図10の上段に示す状態から下段に示す状態、つまり自己の所持しているコントロールユニット20が画面内のほぼ中央に表示された枠W内に入るようにデジタルビデオカメラ300の保持位置を調整すれば、装着者の視野の中央にあるコントロールユニット20が、表示部406の画面中央に表示される、つまり撮影画像の中央に位置することになり、これは視野と撮影方向や範囲がほぼ一致している状態となっているといえる。
【0121】
以上のように制御部401に撮影方向等の保持位置調整のための調整画像である枠Wを表示させるといった調整画像表示手段としての機能を持たせることで、装着者による撮影方向等を視野に合わせるための調整作業が容易かつ正確となる。
【0122】
(変形例2)
また、上述した実施形態では、撮影装置30による撮影が行われている間は原則としてその撮影画像データが常時コントロールユニット20から無線通信網10を介して遠隔監視装置40に送信されるようになっていたが、必要な場合にのみ撮影画像データをコントロールユニット20から遠隔監視装置40に送信するようにしてもよい。
【0123】
例えば、コントロールユニット20のユーザインターフェース404として、図11に示すような撮影画像送信のオン/オフを指示するための専用の送信オン/オフボタン600を設け、かかる送信オン/オフスイッチ600の操作状況に応じて制御部401が撮影画像データを遠隔監視装置40に送信するか否かを判断する。
【0124】
すなわち、撮影画像データが送信されていない状況において送信オン/オフスイッチ600が押下されたことを検出すると、制御部401は撮影装置30による撮影を開始させるとともに撮影装置30から供給される撮影画像データを無線通信部402に供給し、予め決められたあて先(遠隔監視装置40)に送信するよう制御する。一方、撮影画像データが送信されている状況において、送信オン/オフスイッチ600が押下されたことを検出すると、制御部401は、撮影装置30による撮影を停止させるよう指示するとともに、無線通信部402による撮影画像データの送信を停止させる。
【0125】
このようにすれば装着者は、送信オン/オフスイッチ600といった1つのボタンを押下するといった単純な操作で、撮影装置30による撮影を開始して予め決められている遠隔監視装置40へ撮影画像データを送信させるといった一連の処理を指示することができる。そして、このように操作が容易となることで、子供に撮影装置30を装着して子供の監視等を行う場合であっても子供自身が操作することもできるといったメリットが得られる。また、登下校時といった短時間の利用であっても操作が面倒だから送信状態としないといったことが抑制され、必要なときにはより確実に撮影画像データを送信する状況を作り出すことに資することになる。
【0126】
(変形例3)
また、上記のように装着者等のボタン押下によって撮影画像データを送信するか否かを決定するようにしてもよいが、以下のようにしてコントロールユニット20が自動的に撮影画像データを送信するか否かを決定するようにしてもよい。
【0127】
すなわち、図12に示すように、コントロールユニット20の構成に位置情報検出部650を加え、かかる位置情報検出部650によって検出された位置情報に基づいて制御部401が撮影画像データをコントロールユニット20から遠隔監視装置40に送信するか否かを決定する。
【0128】
より具体的には、位置情報検出部650は、GPS(Global Positioning System)機能を有しており、コントロールユニット20を所持する者の現在位置に関する情報を検出し、これを制御部401に出力する。
【0129】
制御部401は、位置情報検出部650から供給される位置情報に示される位置が、予めユーザによって設定されている位置の範囲内に属するか否かを判別する。そして、予め設定されている位置の範囲内に属すると判別した場合には撮影画像データを遠隔監視装置40に送信するよう無線通信部402を制御し、予め設定されている位置の範囲内に属さないと判別した場合には撮影画像データを遠隔監視装置40に送信しないよう制御する。
【0130】
したがって、設定位置範囲外から範囲内にコントロールユニット20の所持者が移動した場合には、コントロールユニット20から遠隔監視装置40への撮影画像データの送信が自動的に開始される。一方、設定位置範囲内から範囲外にコントロールユニット20の所持者(撮影装置30の装着者でもある)が移動した場合には、コントロールユニット20から遠隔監視装置40へ撮影画像データの送信が自動的に停止される。
【0131】
以上のような監視対象者の位置に応じて自動的に送信のオン/オフを制御できるようにすることで、監視対象者に対する監視が必要な場所を上記送信実行位置範囲に設定しておけば、そのような場所に監視対象者が移動した場合に自動的に撮影画像データの送信が開始される。例えば、子供を監視する場合等においては、近所であれば監視の必要はないものの、家や学校から一定距離以上離れた場所に移動した場合には監視をする必要があるといったケースもある。かかる場合において、上記のように監視が必要なエリアを設定しておけば、かかるエリアに子供が移動した際に自動的に撮影画像データの送信を開始させることができる。
【0132】
なお、上記のように自動的に撮影画像データを送信させる位置の範囲をユーザが設定するようにしてもよいし、撮影画像データを送信しない位置の範囲をユーザが設定できるようにしてもよい。
【0133】
また、上記のようにGPS機能によって現在位置を取得する以外にも、他の方法によって現在位置を取得するようにしてもよく、例えば携帯電話やPHS(登録商標)の位置登録情報を取得して利用するようにしてもよい。
【0134】
(変形例4)
また、図13に示すような構成のコントロールユニット20を採用し、撮影装置30を装着する者の周囲に異常事態が発生した場合に、コントロールユニット20から遠隔監視装置40への撮影画像データの送信を開始するようにしてもよい。
【0135】
同図に示すように、このコントロールユニット20は、上記実施形態におけるコントロールユニット20の構成に、異常検出部680を加えた構成となっている。
【0136】
異常検出部680は、マイクロホンを備えており、当該マイクロホンが収音して生成した音声データを制御部401に出力する。制御部401は、異常検出部680から供給された音声データに示される音声パワーレベルと、予めきめられた異常基準値とを比較し、音声パワーレベルが異常基準値を超えた場合に異常が発生したものと判別し、撮影画像データをコントロールユニット20から遠隔監視装置40へ送信するよう無線通信部402を制御する。
【0137】
例えば、コントロールユニット20を所持する者の周囲に何らかの異常(犯罪等)が発生した場合、その者は大きな声をあげたりするケースが多い。したがって、上記のようにマイクロホンによって収音された音のパワーレベルが基準値を超えて大声を発したと検出された場合に、異常発生とみなして撮影画像データの自動送信がなされることになる。よって、とっさに異常事態が発生した場合にも装着者は特別な操作等をすることなく、撮影画像データを自動的に送信することができるようになる。
【0138】
また、上記のように音声パワーレベルで異常発生の有無を判断するようにしてもよいが、異常検出部680が、装着者の心拍数を測定する心拍数測定装置を備えるようにしてもよい。そして、当該心拍数測定装置が測定した装着者の心拍数を制御部401に出力する。制御部401は供給される装着者の心拍数が予めきめられた値(通常時の心拍数よりも高い値)よりも大きければ、異常が発生したと判断し、撮影画像データの遠隔監視装置40への送信を開始すればよい。
【0139】
一般的に人の周囲に異常事態が発生すると、その人の心拍数は上昇することになる。したがって、上記のように装着者の心拍数をモニタリングし、心拍数が高くなった場合に異常発生と判断することで、とっさに異常事態が発生した場合にも装着者は特別な操作等をすることなく、撮影画像データを自動的に送信することができるようになる。
【0140】
(変形例5)
また、上述した実施形態では、コントロールユニット20が無線通信部402を有しており、かかる無線通信部402が無線通信網10を介して遠隔監視装置40等とデータ通信を行うようにしていた。このようにコントロールユニット自体が無線通信機能を備えるようにしてもよいが、無線通信機能を有しないコントロールユニットと、携帯電話等の無線通信機能を備えた通信端末とを有線または無線通信手段(ケーブル等)で接続し、コントロールユニットから携帯電話に撮影画像データを出力し、これを携帯電話から遠隔監視装置40に送信するようにしてもよい。このように上記実施形態におけるコントロールユニット20と同様の機能を実現できれば、すべての構成要素を1つの筐体内に収める必要はなく、複数の筐体からなるコントロールユニットを構成するようにしてもよい。
【0141】
(変形例6)
また、上述した実施形態では、コントロールユニット20の制御部401が、通信状況が悪化した場合に、撮影装置30から供給される撮影画像データを記録部405に供給して記録させるようにしていた。ここで、記録部405が撮影画像データを記録する領域は当該装置内に設けられたメモリであってもよいし、メモリカード等のリムーバルな記録媒体であってもよい。
【0142】
また、上記実施形態では、コントロールユニット20に記録部405が内蔵されていたが、これを別体としてもよい。すなわち、記録部405を有しないコントロールユニットと、ビデオテープレコーダ、DVD(Digital Versatile Disc)レコーダ等の撮影画像データ記録装置とをケーブル等で接続し、コントロールユニットから撮影画像データを撮影画像データ記録装置に出力することで撮影画像データを、ビデオテープやDVD等の記録媒体に記録させるようにしてもよい。このように上記実施形態におけるコントロールユニット20と同様の機能を実現できれば、すべての構成要素を1つの筐体内に収める必要はなく、複数の筐体からなるコントロールユニットを構成するようにしてもよい。
【0143】
(変形例7)
また、上述した実施形態では、撮影装置30と、コントロールユニット20とが別体として構成され、両者の間でのデータの授受を近距離無線通信を用いて行う撮影システムについて説明したが、これらを通信ケーブル等で接続してデータの授受を行わせるようにしてもよいし、両者の機能を実現する構成要素を1つの筐体内に収めて撮影システムを構成するようにしてもよい。
【0144】
(変形例8)
上述した実施形態では、コントロールユニット20から1つの遠隔監視装置40に対して撮影画像データを送信するようになっていたが(図1参照)、コントロールユニット20に予め複数の遠隔監視装置を送信先を設定しておき、撮影装置30によって撮影された撮影画像データを、それぞれの送信先に送信するようにしてもよい。例えば、図14に示すように、撮影画像データを再生する機能を有する携帯電話850、通信機能および画像再生機能を搭載したPC860やPDA(Personal Digital Assistant)870などに送信するようにしてもよい。
【0145】
(変形例9)
また、上述した実施形態では、介在部材202と第1保持部材204との取り付け角度の調整、および第1保持部材204と第2保持部材207の取り付け角度の調整を可能とすることで、デジタルビデオカメラ300の保持位置を垂直方向および水平方向に調整できるようになっていたが、デジタルビデオカメラ300の保持位置調整のための機構は上記の構造に限定されるものではない。
【0146】
したがって、デジタルビデオカメラ300の保持位置を調整できるものであればよく、例えば図15に示すように、上記実施形態におけるほぼ剛体からなる円筒保持部材210に代えて、人が若干強めに力を加えることによって変形し、かつ通常時はその形状を維持できる程度の弾性材料から構成される円筒保持部材910を用いる。そして、デジタルビデオカメラ300の保持位置を調整する際には、装着者は円筒保持部材910に力を加えることで、図中一点鎖線で示すようにかかる円筒保持部材910を上下方向または水平方向に湾曲させる。このように湾曲させることでデジタルビデオカメラ300の保持位置、撮影方向等を調整することができる。
【0147】
なお、このようなフレキシブルな円筒保持部材910を用いた場合、その後端側を上記実施形態における撮影装置30の円筒保持部材210よりも長くするとともに、図示のように下方側等に湾曲させた状態で用いるようにしてもよい。このようにより長い円筒保持部材910を用いることで、より大きな電池スペース220をとることができる。また、このように電池スペース220を大きくとった場合にも上記のように湾曲させることで、円筒保持部材210の後端部910aが邪魔になるといったことを抑制することができる。
【0148】
また、図16に示すように、一方の先端側にデジタルビデオカメラ300を保持する円筒保持部材911を、装着者の後頭部を覆うような湾曲形状とし、他方の端部に装着者の耳を引っ掛けることができる引っ掛け部912を取り付けた構造としてもよい。このようにすれば、引っ掛け部912を一方の耳に引っ掛けるとともに、他方の耳を装着部201に係合させることができ、装着状態を強固なものとすることができる。また、円筒保持部材911の長さが長くなるので、より大きな電池スペースを取ることも可能となる。
【0149】
(変形例10)
また、上述した実施形態における撮影装置30は、装着者の耳に装着部201を係合させるといったタイプのものであったが、デジタルビデオカメラ300の保持位置を目よりも前方かつ近傍の位置に保持できるものであればよく、以下に例示するような形状のものを用いることができる。
【0150】
例えば図17に示すように、撮影装置をヘルメット形状としてもよい。この撮影装置920は、装着者がかぶることができるヘルメット形状の装着部925と、ヘルメット形状の装着部925におけるひさし部925aに保持される保持部材926とを有しており、かかる保持部材925の先端側にデジタルビデオカメラ300が保持されている。
【0151】
このように撮影装置920をヘルメット形状とすれば、通常の業務においてヘルメットを着用する警備員等にとっては、撮影装置920を装着することが大きな負担とならない。また、装着方法も簡易であるといったメリットがある。
【0152】
また、図18に示すように、撮影装置30と帽子部935とを取り付けた構成としてもよい。この場合、帽子部935を装着者が装着した際に、上記実施形態と同様に、円筒保持部材210によって保持されるデジタルビデオカメラの保持位置が目の前方側に位置するように、帽子部935に撮影装置30を取り付ければよい。
【0153】
また、図19に示すように、上記実施形態における撮影装置30の装着状態をより確実に維持するために、装着補助部材940を設けるようにしてもよい。同図に示すように、装着補助部材940は、撮影装置30の第1保持部材204に取り付けられる取付部941と、装着部201が装着される耳と逆の耳に引っ掛けられる引っ掛け部942と、取付部941と引っ掛け部942とを連結する湾曲部材943とから構成されている。この構成の下、装着部201を片側の耳に装着するとともに、他方の耳に引っ掛け部942を係合させることで、撮影装置30の装着状態をより強固に維持することができる。
【0154】
また、図20に示すように、上記実施形態における撮影装置30の装着状態を維持するために、めがね960に撮影装置30を取り付けるようにしてもよい。この場合、円筒保持部材210の先端側にめがね960のフレーム部と結合する結合部965を設けることで、めがね960と撮影装置30とを連結するようにすればよい。撮影装置30とめがね960とを結合することで、装着者はめがね960をかけることで、撮影装置30を装着することができ、まためがね960によって両耳に係合されるので、装着状態もより強固なものとなる。
【0155】
(変形例11)
また、上述した実施形態および変形例などにおいては、コントロールユニット20の制御部401が、通信状況に応じた撮影画像データの送信処理等の撮影画像データを送信する制御や、現在位置に応じて送信を行うか否かを決定するといった処理を行うようにしていたが、CPUといったコンピュータに制御部401と同様の処理を実行させるためのプログラムをインターネット等の通信回線を介してユーザに提供するようにしてもよいし、当該プログラムをCD−ROM(Compact Disc−Read Only Memory)などのコンピュータ読み取り可能な記録媒体に記録してユーザに提供するようにしてもよい。
【0156】
そして、新たなプログラムをインストールさせて実行できるコンピュータを備えた携帯電話等の無線通信装置に、かかるプログラムをインストールして制御部401と同様の処理を実行させるようにしてもよい。
【0157】
【発明の効果】
以上説明したように、請求項1にかかる発明によれば、撮影手段による撮影方向や範囲が装着者は自らの視野とほぼ一致するように保持位置を調整することができ、また目の前方側にあるので装着者の顔が撮影範囲に入ったりすることを抑制でき、この撮影画像を見た遠隔監視者等による装着者の周囲の状況の理解が容易となるという効果を奏する。
【0158】
また、請求項2にかかる発明によれば、取付部と保持部との間に電池保持部を設けることで、装置全体の小型化が容易となるという効果を奏する。
【0159】
また、請求項3にかかる発明によれば、装着者はヘルメット形状の装着部をかぶることで当該撮影装置を装着することができ、装着作業が容易となるとともに、装着者がそもそもヘルメットを着用して職務等を行う場合には撮影装置を装着することが負担とならないという効果を奏する。
【0160】
また、請求項4にかかる発明によれば、撮影手段による撮影方向や範囲が装着者は自らの視野とほぼ一致するように保持位置を調整することができ、遠隔地において現場にいる監視対象者の視界にある光景とほぼ同様の光景を見ることができるという効果を奏する。
【0161】
また、請求項5にかかる発明によれば、撮影手段による撮影方向や範囲が自己の視野と一致しているかを確認しながら保持位置調整を行うことができ、また撮影画像に重ねて撮影方向を調整するための画像が表示されるので、かかる画像を参考にしながら保持位置調整を行うことで簡易かつ正確な保持位置調整が行えるという効果を奏する。
【0162】
また、請求項6にかかる発明によれば、通信が困難な状況下に一時的に陥った場合であっても、その状況下で撮影された撮影データを送信することができ、受信側における撮影データの欠落等を抑制することができるという効果を奏する。
【0163】
また、請求項7にかかる発明によれば、遠隔監視者から音声データが供給された場合、その音声が発せられるので、監視対象者は遠隔監視者の指示やアドバイスを聞くことができるという効果を奏する。
【0164】
また、請求項8にかかる発明によれば、コントロールユニットの所持者は撮影データの送信指示等を個別に行わなくても、撮影データの送信が必要なエリアに移動すれば自動的に撮影データの送信が開始されるという効果を奏する。
【0165】
また、請求項9にかかる発明によれば、送信先を指定したりする煩雑な操作を行うことなく、撮影データを所望の送信先に送信することができ、とっさに異常事態が発生した場合であっても、操作時間に起因してそれを逃してしまうといったことを抑制することができるという効果を奏する。
【0166】
また、請求項10にかかる発明によれば、とっさに異常事態が発生した場合であっても、監視対象者が個別の送信指示等を行うことなく、自動的に撮影データが送信されるので、とっさの異常事態を撮り逃すといったことを抑制できるという効果を奏する。
【0167】
また、請求項11にかかる発明によれば、装着者はヘルメット形状の装着部をかぶることで当該撮影装置を装着することができ、装着作業が容易となるとともに、装着者がそもそもヘルメットを着用して職務等を行う場合には撮影装置を装着することが負担とならないという効果を奏する。
【0168】
また、請求項12にかかる発明によれば、遠隔地において現場にいる監視対象者の視界にある光景とほぼ同様の光景を見ることができ、遠隔地にいる監視者の状況理解を容易にすることができるという効果を奏する。
【0169】
また、請求項13にかかる発明によれば、撮影データの保存に必要なメモリ等の記憶容量を小さくすることができる一方で、保存したい撮影データについては別保存指示をなすことで別途保存することができるという効果を奏する。
【0170】
また、請求項14にかかる発明によれば、異常が発生した場合などの別保存指示をユーザがなせば、その異常状況を撮影した撮影データを保存することができるという効果を奏する。
【0171】
また、請求項15にかかる発明によれば、監視対象者は異常発生時に特別な操作をしなくても、自動的に異常発生前後の撮影データが別保存されることになるという効果を奏する。
【0172】
また、請求項16にかかる発明によれば、プログラムをコンピュータに実行させることで、通信が困難な状況下に一時的に陥った場合であっても、その状況下で撮影された撮影データを送信することができ、受信側における撮影データの欠落等を抑制することができるという効果を奏する。
【0173】
また、請求項17にかかる発明によれば、プログラムをコンピュータに実行させることで、コントロールユニットの所持者は撮影データの送信指示等を個別に行わなくても、撮影データの送信が必要なエリアに移動すれば自動的に撮影データの送信が開始されるという効果を奏する。
【図面の簡単な説明】
【図1】本発明の実施形態にかかる遠隔監視システムの全体構成を示す図である。
【図2】前記遠隔監視システムの構成要素である撮影装置の外観を示す斜視図である。
【図3】前記撮影装置を示す分解斜視図である。
【図4】前記撮影装置の円筒保持部材の構造を示す断面図である。
【図5】前記撮影装置を装着したときの装着者の目とデジタルビデオカメラの位置関係を説明するための図である。
【図6】前記撮影装置の構成を示すブロック図である。
【図7】前記遠隔監視システムの構成要素であるコントロールユニットの構成を示すブロック図である。
【図8】前記コントロールユニットによって行われる撮影画像データ送信制御の内容を説明するための図である。
【図9】前記遠隔監視システムの構成要素である遠隔監視装置の構成を示すブロック図である。
【図10】前記撮影装置のデジタルビデオカメラの保持位置を調整する際に前記コントロールユニットの変形例の表示部に表示される画面を示す図である。
【図11】前記コントロールユニットの変形例の外観を示す正面図である。
【図12】前記コントロールユニットの変形例の構成を示すブロック図である。
【図13】前記コントロールユニットの変形例の構成を示すブロック図である。
【図14】前記遠隔監視システムの変形例の全体構成を示すブロック図である。
【図15】前記撮影装置の変形例を人に装着したときの様子を示す図である。
【図16】前記撮影装置の変形例を人に装着したときの様子を示す図である。
【図17】前記撮影装置の変形例を人に装着したときの様子を示す図である。
【図18】前記撮影装置の変形例を人に装着したときの様子を示す図である。
【図19】前記撮影装置の変形例を示す斜視図である。
【図20】前記撮影装置の変形例を示す斜視図である。
【符号の説明】
10 無線通信網
20 コントロールユニット
30 撮影装置
40 遠隔監視装置
100 遠隔監視システム
201 装着部
210 筒保持部材
220 電池スペース
300 デジタルビデオカメラ
310 制御部
320 イヤホン部
330 近距離無線通信部
400 近距離無線通信部
401 制御部
402 無線通信部
403 通信状況検出部
404 ユーザインターフェース
405 記録部
406 表示部
500 通信インターフェース
501 マイクロホン
502 スピーカ
503 表示部
504 制御部
505a リングバッファ領域
505 記憶装置
505b 別保存領域
650 位置情報検出部
680 異常検出部
850 携帯電話
910 円筒保持部材
910a 後端部
920 撮影装置
Claims (17)
- 人体の予め決められた位置に取り付けられる装着部と、
前記装着部が装着された人の前方側を撮影する撮影手段と、
前記装着部に取り付けられ、前記撮影手段を保持する手段であって、ユーザ操作により前記撮影手段の保持位置を調整できる保持手段とを具備し、
前記保持手段によって調整可能な前記撮影手段の保持位置は、前記装着部が装着された人の目よりも前方側であり、かつ当該人の目の近傍である
ことを特徴とする撮影装置。 - 前記保持手段は、前記装着部に取り付けられる取付部と、前記撮影手段を保持する保持部と、前記取付部と保持部との間に位置する中間部を有しており、
前記中間部には前記撮影手段に電力を供給する電池を保持する電池保持部が形成されている
ことを特徴とする請求項1に記載の撮影装置。 - 前記装着部は、人の頭部に装着されるヘルメット形状である
ことを特徴とする請求項1または2に記載の撮影装置。 - 映像を撮影する撮影装置と、前記撮影装置と通信手段を介して接続され、前記撮影装置を制御するコントロールユニットとを備えた撮影システムであって、
前記撮影装置は、
人体の予め決められた位置に取り付けられる装着部と、
前記装着部が装着された人の前方側を撮影する撮影手段と、
前記装着部に取り付けられ、前記撮影手段を保持する手段であって、ユーザ操作により前記撮影手段の保持位置を前記装着部が装着された人の目よりも前方側の位置であり、かつ当該人の目の近傍位置の範囲内で調整できる保持手段とを備え、
前記コントロールユニットは、
無線通信網を介してデータ通信を行う無線通信部と、
前記撮影手段によって撮影された撮影データを前記無線通信網を介して送信するよう前記無線通信部を制御する制御部とを備える
ことを特徴とする撮影システム。 - 前記コントロールユニットは、前記撮影手段によって撮影された画像を表示画面に表示する表示手段と、
前記表示画面の予め決められた位置に、前記撮影手段によって撮影された撮影画像に重ねて撮影方向を調整するための画像を表示させる調整画像表示手段とをさらに有する
ことを特徴とする請求項4に記載の撮影システム。 - 前記コントロールユニットは、前記無線通信部による無線通信状況を検出する通信状況検出手段と、
前記通信状況検出手段によって検出された通信状況が予め決められていた状況となった場合に前記撮影手段によって撮影された撮影データを記録媒体に記録する記録手段とをさらに有し、
前記制御部は、前記通信状況検出手段によって検出された通信状況が前記予め決められていた状況を脱したときに前記記録媒体に記憶されている撮影データを送信するよう前記無線通信部を制御する
ことを特徴とする請求項4または5に記載の撮影システム。 - 前記装着部が前記予め決められた人体の位置に装着された際に前記保持手段によって当該人の耳の近傍の位置に保持され、前記無線通信部によって受信された音声データに基づく音を発する音声発生手段を
さらに具備することを特徴とする請求項4ないし6のいずれかに記載の撮影システム。 - 前記コントロールユニットは、当該コントローラの現在位置を検出する位置検出手段をさらに有しており、
前記制御部は、前記位置検出手段によって検出された現在位置が予め決められていた位置の範囲内である場合に、前記撮影手段によって撮影された撮影データを送信するよう前記無線通信部を制御する
ことを特徴とする請求項4ないし7のいずれかに記載の撮影システム。 - 前記コントロールユニットは、スイッチボタンを有しており、
前記制御部は、前記スイッチボタンの操作に応じて前記前記撮影手段によって撮影された撮影データを予め決められた送信先に送信するよう前記無線通信部を制御するか否かを決定する
ことを特徴とする請求項4ないし8のいずれかに記載の撮影システム。 - 前記コントロールユニットは、前記装着部が装着される人の周囲に異常があるか否かを検出する異常検出手段をさらに有しており、
前記制御部は、前記異常検出手段によって異常が検出された場合に前記前記撮影手段によって撮影された撮影データを送信するよう前記無線通信部を制御する
ことを特徴とする請求項4ないし9のいずれかに記載の撮影システム。 - 前記装着部は、人の頭部に装着されるヘルメット形状である
ことを特徴とする請求項4ないし10のいずれかに記載の撮影装置。 - 映像を撮影する撮影装置と、前記撮影装置と通信手段を介して接続され、前記撮影装置を制御するコントロールユニットと、遠隔監視装置とを備えた遠隔監視システムであって、
前記撮影装置は、
人体の予め決められた位置に取り付けられる装着部と、
前記装着部が装着された人の前方側を撮影する撮影手段と、
前記装着部に取り付けられ、前記撮影手段を保持する手段であって、ユーザ操作により前記撮影手段の保持位置を前記装着部が装着された人の目よりも前方側の位置であり、かつ当該人の目の近傍位置の範囲内で調整できる保持手段とを備え、
前記コントロールユニットは、
無線通信網を介してデータ通信を行う無線通信部と、
前記撮影手段によって撮影された撮影データを前記無線通信網を介して前記遠隔監視装置に送信するよう前記無線通信部を制御する制御部とを備え、
前記遠隔監視装置は、
前記コントロールユニットから前記無線通信網を介して送信される撮影データを受信する受信手段と、
前記受信手段によって受信された撮影データを記憶する記憶手段とを備える
ことを特徴とする遠隔監視システム。 - 前記記憶手段は、前記コントロールユニットから送信される前記撮影データを過去一定時間分だけ記憶するリングバッファ領域と、前記コントロールユニットから前記無線通信網を介して前記別保存指示が送信された場合に、前記リングバッファ領域に記憶されている当該指示があった時点から過去所定時間分の前記撮影データを読み出して記憶する別記憶領域とを有している
ことを特徴とする請求項12に記載の遠隔監視システム。 - 前記制御部は、ユーザから撮影データを別途保存するための別保存指示があった場合に、別保存指示を前記遠隔監視装置に送信するよう前記無線通信部を制御する
ことを特徴とする請求項13に記載の遠隔監視システム。 - 前記コントロールユニットは、前記装着部が装着される人の周囲に異常があるか否かを検出する異常検出手段をさらに有しており、
前記制御部は、前記異常検出手段によって異常が検出された場合に別保存指示を前記遠隔監視装置に送信するよう前記無線通信部を制御する
ことを特徴とする請求項13に記載の遠隔監視システム。 - 無線通信網を介して無線データ通信を行う無線通信部を制御するコンピュータを、
前記無線通信部による通信状況を取得する通信状況取得手段、
前記通信状況取得手段によって取得された通信状況が予め決められた良好状況であるか否かを監視する通信状況監視手段、
撮影装置から供給される撮影データを前記無線通信網を介して予め決められた送信先に送信するよう前記無線通信部を制御する手段であって、前記通信状況監視手段によって通信状況が良好でないと判別された場合には、前記撮影装置から供給される撮影データを記録媒体に記録し、その後前記通信状況監視手段によって通信状況が良好であると判別されたときに前記記録媒体に記録されている撮影データを送信するよう前記無線通信部を制御する制御手段
として機能させるためのプログラム。 - 無線通信網を介して無線データ通信を行う無線通信部を制御するコンピュータを、
当該コンピュータの現在位置を取得する位置情報取得手段、
前記位置情報取得手段によって取得された現在位置が予め決められていた位置の範囲内である場合に、撮影装置から供給される撮影データを送信するよう前記無線通信部を制御する制御手段
として機能させるためのプログラム。
Priority Applications (1)
| Application Number | Priority Date | Filing Date | Title |
|---|---|---|---|
| JP2003022658A JP2004236020A (ja) | 2003-01-30 | 2003-01-30 | 撮影装置、撮影システム、遠隔監視システムおよびプログラム |
Applications Claiming Priority (1)
| Application Number | Priority Date | Filing Date | Title |
|---|---|---|---|
| JP2003022658A JP2004236020A (ja) | 2003-01-30 | 2003-01-30 | 撮影装置、撮影システム、遠隔監視システムおよびプログラム |
Publications (1)
| Publication Number | Publication Date |
|---|---|
| JP2004236020A true JP2004236020A (ja) | 2004-08-19 |
Family
ID=32951675
Family Applications (1)
| Application Number | Title | Priority Date | Filing Date |
|---|---|---|---|
| JP2003022658A Pending JP2004236020A (ja) | 2003-01-30 | 2003-01-30 | 撮影装置、撮影システム、遠隔監視システムおよびプログラム |
Country Status (1)
| Country | Link |
|---|---|
| JP (1) | JP2004236020A (ja) |
Cited By (12)
| Publication number | Priority date | Publication date | Assignee | Title |
|---|---|---|---|---|
| JP2006239197A (ja) * | 2005-03-04 | 2006-09-14 | Mitsubishi Electric System & Service Co Ltd | 携帯通信端末機 |
| JP2006295251A (ja) * | 2005-04-05 | 2006-10-26 | Canon Inc | 監視用撮像装置及びその制御方法 |
| JP2007072802A (ja) * | 2005-09-07 | 2007-03-22 | Akebono Brake Ind Co Ltd | カメラ付きヘルメットを用いた情報通信システム |
| JP2010211480A (ja) * | 2009-03-10 | 2010-09-24 | Hanshin Expressway Engineering Co Ltd | ロープアクセス作業支援システム |
| JP2014003590A (ja) * | 2012-06-14 | 2014-01-09 | Lsis Co Ltd | 映像提供装置及び方法 |
| JP2015144433A (ja) * | 2013-12-26 | 2015-08-06 | オリエント・エンタプライズ株式会社 | 撮像装置、映像収集サーバ |
| JP2016053990A (ja) * | 2015-12-08 | 2016-04-14 | 株式会社ニコン | 電子機器 |
| JP2018055370A (ja) * | 2016-09-28 | 2018-04-05 | 株式会社デンソー | 検査装置 |
| CN109040702A (zh) * | 2018-09-11 | 2018-12-18 | 姚俊安 | 一种可检测配送员的安全及规范配送的装置及方法 |
| JP2019174900A (ja) * | 2018-03-27 | 2019-10-10 | Necプラットフォームズ株式会社 | 監視システム及び監視方法 |
| CN113271439A (zh) * | 2021-05-13 | 2021-08-17 | 重庆交通职业学院 | 一种施工场地安全监控配置处理方法和系统 |
| CN113852745A (zh) * | 2021-09-26 | 2021-12-28 | 深圳市南粤城卫保安服务有限公司 | 一种安保头盔的视频数据记录方法及系统 |
-
2003
- 2003-01-30 JP JP2003022658A patent/JP2004236020A/ja active Pending
Cited By (15)
| Publication number | Priority date | Publication date | Assignee | Title |
|---|---|---|---|---|
| JP2006239197A (ja) * | 2005-03-04 | 2006-09-14 | Mitsubishi Electric System & Service Co Ltd | 携帯通信端末機 |
| JP2006295251A (ja) * | 2005-04-05 | 2006-10-26 | Canon Inc | 監視用撮像装置及びその制御方法 |
| JP2007072802A (ja) * | 2005-09-07 | 2007-03-22 | Akebono Brake Ind Co Ltd | カメラ付きヘルメットを用いた情報通信システム |
| JP2010211480A (ja) * | 2009-03-10 | 2010-09-24 | Hanshin Expressway Engineering Co Ltd | ロープアクセス作業支援システム |
| US9137440B2 (en) | 2012-06-14 | 2015-09-15 | Lsis Co., Ltd. | Apparatus for providing real-time image data |
| JP2014003590A (ja) * | 2012-06-14 | 2014-01-09 | Lsis Co Ltd | 映像提供装置及び方法 |
| JP2015144433A (ja) * | 2013-12-26 | 2015-08-06 | オリエント・エンタプライズ株式会社 | 撮像装置、映像収集サーバ |
| JP2016053990A (ja) * | 2015-12-08 | 2016-04-14 | 株式会社ニコン | 電子機器 |
| JP2018055370A (ja) * | 2016-09-28 | 2018-04-05 | 株式会社デンソー | 検査装置 |
| WO2018062238A1 (ja) * | 2016-09-28 | 2018-04-05 | 株式会社デンソー | 検査装置 |
| US20190219517A1 (en) * | 2016-09-28 | 2019-07-18 | Denso Corporation | Inspection device |
| JP2019174900A (ja) * | 2018-03-27 | 2019-10-10 | Necプラットフォームズ株式会社 | 監視システム及び監視方法 |
| CN109040702A (zh) * | 2018-09-11 | 2018-12-18 | 姚俊安 | 一种可检测配送员的安全及规范配送的装置及方法 |
| CN113271439A (zh) * | 2021-05-13 | 2021-08-17 | 重庆交通职业学院 | 一种施工场地安全监控配置处理方法和系统 |
| CN113852745A (zh) * | 2021-09-26 | 2021-12-28 | 深圳市南粤城卫保安服务有限公司 | 一种安保头盔的视频数据记录方法及系统 |
Similar Documents
| Publication | Publication Date | Title |
|---|---|---|
| US6784833B1 (en) | Personal surveillance system with locating capabilities | |
| US20180103206A1 (en) | Mobile camera and system with automated functions and operational modes | |
| US8077029B1 (en) | Portable alarm video recording and transmitting device | |
| US10455187B2 (en) | 360° Camera system | |
| US7483485B2 (en) | Wireless event authentication system | |
| US20190268550A1 (en) | Multiview body camera system with environmental sensors and alert features | |
| US7805114B1 (en) | In situ re-configurable wireless communications system (IRCWCS) | |
| EP2278392B1 (en) | Portable device | |
| US20100039493A1 (en) | Mobile video headset | |
| EP1842306A2 (en) | Wireless event authentication system | |
| JP2004236020A (ja) | 撮影装置、撮影システム、遠隔監視システムおよびプログラム | |
| JP2008529354A (ja) | 無線イベント認証システム | |
| KR100884623B1 (ko) | 휴대형 채증 및 모니터링 시스템 | |
| KR20150058866A (ko) | 스마트 블랙박스 헬멧, 이를 이용한 스마트 블랙박스 서비스 시스템 및 방법 | |
| JPH10112855A (ja) | 携帯用画像及び音声自動送信装置 | |
| JP2007221327A (ja) | 監視システム、撮像装置、情報処理方法、プログラム、声音出力装置 | |
| KR101844382B1 (ko) | 웨어러블 통신 장치 | |
| WO2015177102A1 (en) | Face recognition using concealed mobile camera | |
| JP2000030175A (ja) | 防災通信システム | |
| JP4303690B2 (ja) | 監視カメラシステム | |
| US20050068183A1 (en) | Security system and security method | |
| JP2006086582A (ja) | 携帯型防犯カメラ | |
| KR200480319Y1 (ko) | 휴대용 영상 및 음성 기록 장치 | |
| JP2003006762A (ja) | 非常事態通報装置 | |
| JP3176121U (ja) | 記録カメラ |
Legal Events
| Date | Code | Title | Description |
|---|---|---|---|
| A621 | Written request for application examination |
Free format text: JAPANESE INTERMEDIATE CODE: A621 Effective date: 20060123 |
|
| A131 | Notification of reasons for refusal |
Free format text: JAPANESE INTERMEDIATE CODE: A131 Effective date: 20080812 |
|
| A02 | Decision of refusal |
Free format text: JAPANESE INTERMEDIATE CODE: A02 Effective date: 20081209 |