JP2004190841A - ディスクブレーキのダストブーツ取付構造 - Google Patents
ディスクブレーキのダストブーツ取付構造 Download PDFInfo
- Publication number
- JP2004190841A JP2004190841A JP2002362683A JP2002362683A JP2004190841A JP 2004190841 A JP2004190841 A JP 2004190841A JP 2002362683 A JP2002362683 A JP 2002362683A JP 2002362683 A JP2002362683 A JP 2002362683A JP 2004190841 A JP2004190841 A JP 2004190841A
- Authority
- JP
- Japan
- Prior art keywords
- piston
- cylinder
- mounting portion
- side mounting
- dust boot
- Prior art date
- Legal status (The legal status is an assumption and is not a legal conclusion. Google has not performed a legal analysis and makes no representation as to the accuracy of the status listed.)
- Pending
Links
- 239000000428 dust Substances 0.000 title claims abstract description 48
- 230000002093 peripheral effect Effects 0.000 claims abstract description 50
- 239000000463 material Substances 0.000 claims abstract description 18
- 230000003014 reinforcing effect Effects 0.000 claims description 26
- 238000004804 winding Methods 0.000 claims description 5
- 238000000465 moulding Methods 0.000 abstract description 9
- XLYOFNOQVPJJNP-UHFFFAOYSA-N water Substances O XLYOFNOQVPJJNP-UHFFFAOYSA-N 0.000 description 8
- 239000002184 metal Substances 0.000 description 5
- 238000004519 manufacturing process Methods 0.000 description 4
- 238000003825 pressing Methods 0.000 description 4
- 230000000694 effects Effects 0.000 description 3
- 210000000078 claw Anatomy 0.000 description 2
- 238000007906 compression Methods 0.000 description 2
- 230000008878 coupling Effects 0.000 description 2
- 238000010168 coupling process Methods 0.000 description 2
- 238000005859 coupling reaction Methods 0.000 description 2
- 239000002783 friction material Substances 0.000 description 2
- 238000005498 polishing Methods 0.000 description 2
- 239000000126 substance Substances 0.000 description 2
- 229910000639 Spring steel Inorganic materials 0.000 description 1
- 229910000831 Steel Inorganic materials 0.000 description 1
- 238000006243 chemical reaction Methods 0.000 description 1
- 230000006835 compression Effects 0.000 description 1
- 238000005520 cutting process Methods 0.000 description 1
- 238000010586 diagram Methods 0.000 description 1
- 238000005242 forging Methods 0.000 description 1
- 239000007769 metal material Substances 0.000 description 1
- 238000000034 method Methods 0.000 description 1
- 239000002990 reinforced plastic Substances 0.000 description 1
- 239000004576 sand Substances 0.000 description 1
- 239000010959 steel Substances 0.000 description 1
- 238000004073 vulcanization Methods 0.000 description 1
Images
Landscapes
- Braking Arrangements (AREA)
Abstract
【課題】ディスクブレーキのシリンダとピストンとの嵌合部を覆蓋するダストブーツを容易且つ迅速に組み付けることができるようにする。
【解決手段】シリンダ部18の開口部に取付穴48がそのまま開口するように設けられる一方、ダストブーツ30のシリンダ側取付部40にはコイル材50がインサート成形により一体的に埋設され、コイル材50の剛性に基づいて取付穴48の内周面に密着するように嵌合(圧入)されるため、シリンダ側取付部40を取付穴48に対して容易且つ迅速に組み付けることができる。ピストン24の先端部には外向きフランジ56が設けられ、ピストン側取付部42がピストン24の後端から嵌合されてそのピストン24の外周面に密着させられ且つ外向きフランジ56に当接するように配設されるため、ピストン側取付部42についてもピストン24に対して容易且つ迅速に組み付けることができる。
【選択図】 図1
【解決手段】シリンダ部18の開口部に取付穴48がそのまま開口するように設けられる一方、ダストブーツ30のシリンダ側取付部40にはコイル材50がインサート成形により一体的に埋設され、コイル材50の剛性に基づいて取付穴48の内周面に密着するように嵌合(圧入)されるため、シリンダ側取付部40を取付穴48に対して容易且つ迅速に組み付けることができる。ピストン24の先端部には外向きフランジ56が設けられ、ピストン側取付部42がピストン24の後端から嵌合されてそのピストン24の外周面に密着させられ且つ外向きフランジ56に当接するように配設されるため、ピストン側取付部42についてもピストン24に対して容易且つ迅速に組み付けることができる。
【選択図】 図1
Description
【0001】
【発明の属する技術分野】
本発明はディスクブレーキに係り、特に、シリンダの開口部とピストンの外周面とに跨がって配設される円環形状のゴム製のダストブーツの取付構造に関するものである。
【0002】
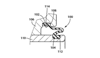
【従来の技術】
有底円筒形状のシリンダに摺動可能に嵌合されたピストンがそのシリンダの開口から突き出されることにより、ブレーキパッドがディスクロータに押圧されて制動力を発生するディスクブレーキが、車両用の常用ブレーキとして広く知られている。そして、このようなディスクブレーキにおいては、シリンダの開口部とピストンの外周面とに跨がって円環形状のゴム製のダストブーツが設けられ、それ等の嵌合部を覆蓋して砂塵や水、泥などの異物が侵入することを防止するようになっている(特許文献1参照)。
【0003】
図4のダストブーツ100は一例で、それぞれ断面が略矩形の円環形状のシリンダ側取付部102およびピストン側取付部104を一体に備えており、シリンダ側取付部102はシリンダ106に設けられた内向きの環状溝108内に嵌め入れられて一体的に固定されている一方、ピストン側取付部104はピストン110の外周面に設けられた外向きの環状溝112内に嵌め入れられて一体的に固定されている。また、シリンダ側取付部102は、金属製のブーツリング114によって環状溝108内に押圧されて離脱不能に位置決めされている。
【0004】
【特許文献1】
特開昭64−35130号公報
【0005】
【発明が解決しようとする課題】
しかしながら、このような従来のダストブーツ取付構造においては、シリンダ側取付部およびピストン側取付部を、何れも環状溝に嵌め入れる必要があるため、組付作業が面倒で製造コストが高くなる。特に、シリンダ側取付部については、別体のブーツリングを用いて固定する必要があるため、組付作業が一層面倒であった。
【0006】
本発明は以上の事情を背景として為されたもので、その目的とするところは、シリンダおよびピストンに対してダストブーツを容易且つ迅速に組み付けることができるようにすることにある。
【0007】
【課題を解決するための手段】
かかる目的を達成するために、第1発明は、(a) 有底円筒形状のシリンダに摺動可能に嵌合されたピストンがそのシリンダの開口から突き出されることにより、ブレーキパッドがディスクロータに押圧されて制動力を発生するディスクブレーキにおいて、(b) 前記シリンダの開口部と前記ピストンの外周面とに跨がって配設され、それ等の嵌合部を覆蓋する円環形状のゴム製のダストブーツの取付構造であって、(c) 前記シリンダの開口部には前記ピストンよりも大きい内径寸法の取付穴がそのまま開口するように設けられ、前記ダストブーツに一体に設けられるとともに円環形状の補強部材がインサート成形されたシリンダ側取付部が、その補強部材の剛性に基づいてその取付穴の内周面に密着するように嵌合されている一方、(d) 前記ピストンの先端部には外向きフランジが設けられ、前記ダストブーツに一体に設けられたピストン側取付部が、そのピストンの後端から嵌合されてそのピストンの外周面に密着させられ且つその外向きフランジに当接するように配設されていることを特徴とする。
【0008】
第2発明は、第1発明のディスクブレーキのダストブーツ取付構造において、前記シリンダ側取付部および前記ピストン側取付部は略同じ径寸法で、前記ピストンが前記シリンダに組み付けられた状態では、そのピストン側取付部がそのシリンダ側取付部と前記外向きフランジとの間に位置決めされるとともに、そのピストン側取付部によってそのシリンダ側取付部が前記取付穴から抜け出すことが阻止されることを特徴とする。
【0009】
第3発明は、(a) 有底円筒形状のシリンダに摺動可能に嵌合されたピストンがそのシリンダの開口から突き出されることにより、ブレーキパッドがディスクロータに押圧されて制動力を発生するディスクブレーキにおいて、(b) そのシリンダの開口部とそのピストンの外周面とに跨がって配設され、それ等の嵌合部を覆蓋する円環形状のゴム製のダストブーツの取付構造であって、(c) 前記シリンダの開口部には前記ピストンよりも大きい内径寸法の取付穴がそのまま開口するように設けられ、前記ダストブーツに一体に設けられるとともに円環形状の補強部材がインサート成形されたシリンダ側取付部が、その補強部材の剛性に基づいてその取付穴の内周面に密着するように嵌合されていることを特徴とする。
【0010】
第4発明は、第1発明〜第3発明の何れかのディスクブレーキのダストブーツ取付構造において、前記補強部材は断面が円形の線材を巻回したコイル材であることを特徴とする。
【0011】
第5発明は、(a) 有底円筒形状のシリンダに摺動可能に嵌合されたピストンがそのシリンダの開口から突き出されることにより、ブレーキパッドがディスクロータに押圧されて制動力を発生するディスクブレーキにおいて、(b) そのシリンダの開口部とそのピストンの外周面とに跨がって配設され、それ等の嵌合部を覆蓋する円環形状のゴム製のダストブーツの取付構造であって、(c) 前記ピストンの先端部には外向きフランジが設けられ、前記ダストブーツに一体に設けられたピストン側取付部が、そのピストンの後端から嵌合されてそのピストンの外周面に密着させられ且つその外向きフランジに当接するように配設されていることを特徴とする。
【0012】
第6発明は、第1発明、第2発明、または第5発明のディスクブレーキのダストブーツ取付構造において、前記ピストンの外周面には、前記ピストン側取付部がそのピストンの後端側へ移動することを制限して前記外向きフランジに当接する状態に位置決めする突起が一体に設けられていることを特徴とする。
【0013】
第7発明は、第1発明、第2発明、または第5発明のディスクブレーキのダストブーツ取付構造において、前記ピストンの外周面であって、前記ピストン側取付部が前記外向きフランジに当接させられるそのピストン側取付部の配設部位には、そのピストン側取付部がそのピストンの後端側へ移動することを制限する小径部が設けられていることを特徴とする。
【0014】
【発明の効果】
第1発明のディスクブレーキのダストブーツ取付構造においては、シリンダの開口部に取付穴がそのまま開口するように設けられ、円環形状の補強部材がインサート成形されたシリンダ側取付部が、その補強部材の剛性に基づいて取付穴の内周面に密着するように嵌合(圧入)されるため、シリンダ側取付部を取付穴に対して容易且つ迅速に組み付けることができる。特に、補強部材がインサート成形によりシリンダ側取付部に一体的に設けられているため、シリンダ側取付部が取付穴の内周面に良好に密着させられて泥水や砂塵等の異物の侵入が一層効果的に防止されるとともに、従来のように別体のリング部材を用いて固定する場合に比較して組付作業が一層容易になる。なお、第3発明も同様の作用効果が得られる。
【0015】
一方、ピストンの先端部には外向きフランジが設けられ、ピストン側取付部がピストンの後端から嵌合されてそのピストンの外周面に密着させられ且つ外向きフランジに当接するように配設されるため、ピストン側取付部についてもピストンに対して容易且つ迅速に組み付けることができる。なお、第5発明も同様の作用効果が得られる。
【0016】
第2発明では、シリンダ側取付部およびピストン側取付部が略同じ径寸法で、ピストン側取付部がシリンダ側取付部と外向きフランジとの間に位置決めされるとともに、ピストン側取付部によってシリンダ側取付部が取付穴から抜け出すことが阻止されるため、それ等のシリンダ側取付部およびピストン側取付部の装着強度が比較的緩い場合でもそれぞれ所定位置に位置決めされ、組付作業性が更に向上する。
【0017】
第4発明では、シリンダ側取付部にインサート成形により一体的に設けられる補強部材として、断面が円形の線材を巻回したコイル材が用いられるため、補強部材自体の縮径が可能で、所定の装着強度を確保しながらゴム製のシリンダ側取付部を弾性変形させつつ容易に取付穴内に嵌合することができるとともに、所定の装着強度が得られるコイル材を簡単且つ安価に入手することが可能で、製造コストが一層低減される。
【0018】
第6発明では、ピストンの外周面に設けられた突起によってピストン側取付部が外向きフランジに当接する状態に位置決めされるため、泥水や砂塵等の異物の侵入が一層効果的に防止される。
【0019】
第7発明では、ピストンの外周面に小径部が設けられて、ピストン側取付部が外向きフランジに当接する配設部位に位置決めされるため、第5発明と同様に泥水や砂塵等の異物の侵入が一層効果的に防止される。
【0020】
【発明の実施の形態】
本発明は、例えばシリンダがキャリパに一体に設けられてディスクロータの両側面に一対のブレーキパッドを押圧する車両用のディスクブレーキに好適に適用されるが、少なくともピストンがシリンダの開口から突き出されることによりブレーキパッドをディスクロータに押圧して制動力を発生する種々のタイプのディスクブレーキに適用され得る。
【0021】
シリンダ側取付部が装着される取付穴は、ピストンが嵌合されるシリンダボアよりも大径で、且つ環状溝のように径寸法が小さくなることなくそのまま開口するように設けられるが、取付穴の開口側に更に内径寸法が大きい大径穴を設けることは、シリンダ側取付部の装着に影響しないため差し支えない。
【0022】
ピストンは、例えば金属板材を用いてプレスによる絞り加工で有底円筒形状に成形し、その底部側からシリンダ内に嵌合されるとともに開口側がシリンダから突き出すように設けられ、その場合は、絞り加工などで開口部に外向きフランジを容易に設けることができるが、鍛造加工や切削加工などで外向きフランジを一体に有するピストンを製造することもできるなど、製造方法は特に限定されない。外向きフランジは全周に円環形状に設けることが望ましいが、周方向に離間して複数の外向きフランジを放射状に設けることも可能である。
【0023】
第2発明では、シリンダ側取付部およびピストン側取付部が略同じ径寸法で、軸方向に所定の隙間を隔てて直列に装着されるが、第1発明の実施に際しては、シリンダ側取付部の径寸法をピストン側取付部よりも大径として、両者が軸方向の略同じ位置で径方向に重なるように配設するなど、種々の態様が可能である。
【0024】
第3発明はシリンダ側取付部とシリンダとの取付構造に関するもので、ピストン側取付部とピストンとの取付構造については特に制限されず、例えば前記図4の従来例と同様にピストンの外周面に設けられた環状溝に嵌め入れて固定したり、別体のリング部材などで環状溝内に位置決めしたりするなど、種々の態様を採用できる。
【0025】
第4発明では、補強部材として断面が円形の線材を巻回したコイル材が用いられているが、他の発明の実施に際しては、板状の線材を巻回したコイル材や両端が閉じている断面円形或いは板状のリングなど、種々の補強部材を採用できる。補強部材は、ばね鋼やその他の鋼材などの金属材料が好適に用いられるが、強化プラスチックなど金属以外の材料製であっても良い。また、完全にシリンダ側取付部の内部に埋設されるように設けることが望ましいが、例えば一部がシリンダ側取付部の内周面等に露出していても良いなど、種々の態様が可能である。第4発明のコイル材の巻数は、所望の装着強度(取付強度)が得られるように適宜定められる。なお、ピストン側取付部にも、必要に応じて同様の補強部材をインサート成形により一体的に設けることが可能である。
【0026】
第5発明はピストン側取付部とピストンとの取付構造に関するもので、シリンダ側取付部とシリンダとの取付構造については特に制限されず、例えば前記図4の従来例と同様にシリンダの内周面に設けられた環状溝に嵌め入れて固定したり、別体のリング部材などで環状溝内に位置決めしたりするなど、種々の態様を採用できる。
【0027】
第6発明の突起は、例えばプレスによる圧縮加工や外周面の研磨加工などで設けることができ、第7発明の小径部は、外周面の研磨加工などで設けることができるが、他の発明の実施に際しては、それ等の突起や小径部が無くて一定の径寸法で外周面を形成しても良い。第7発明の小径部は、従来の環状溝程深いものではなく、ピストン側取付部を容易にピストンに嵌合して組み付けることができるように、例えば深さ寸法dが0.5〜2.0mmの範囲内で設けることが望ましい。第6発明の突起の高さ寸法についても、深さ寸法dと同程度の寸法に定められる。第6発明や第7発明のように、ピストン側取付部を外向きフランジに当接させる場合は、円環形状の外向きフランジを採用することにより、全周に亘って泥水や砂塵等の異物の侵入が一層効果的に防止される。なお、第6発明の突起および第7発明の小径部は、ピストンの全周に円環状に設けることが望ましいが、周方向の一部に部分的に設けるだけでも良い。
【0028】
【実施例】
以下、本発明の実施例を図面を参照しつつ詳細に説明する。
図1は車両用ディスクブレーキ10の要部を説明する図で、(a) は車輪の軸心と平行な断面図で、図の左側が車体側であり、(b) は(a) におけるB部の拡大図である。図中、12はディスクロータ、14はキャリパ、16はマウンティングブラケットで、ディスクロータ12は図示しない車輪と一体的に回転させられるようになっている。キャリパ14は、ディスクロータ12の軸心と平行な軸心を有する有底円筒形状のシリンダ部18と、ディスクロータ12の外周側を跨ぐようにそのシリンダ部18から一体に延び出して設けられた連結部20と、ディスクロータ12を挟んでシリンダ部18と反対側に位置するように連結部20に一体に設けられた爪部22とを備えており、シリンダ部18内にはピストン24が軸方向の摺動可能に嵌合されている。ピストン24は、油圧室26にブレーキ油圧が作用させられることにより、シリンダ部18の開口部からディスクロータ12に向かって突き出される一方、シール部材28の弾性復元力によって所定寸法だけシリンダ部18内に引き込まれる。また、シール部材28よりも外側、すなわちシリンダ部18の開口部には、ピストン24とに跨がってダストブーツ30が設けられている。本実施例ではキャリパ14のシリンダ部18がシリンダに相当する。
【0029】
上記ピストン24とディスクロータ12との間にはインナパッド32が配設されているとともに、ディスクロータ12と爪部22との間には、そのディスクロータ12を挟んでインナパッド32と対向するようにアウタパッド34が配設されている。インナパッド32およびアウタパッド34は、それぞれディスクロータ12に押圧されて制動力を発生する摩擦材36と、その摩擦材36の裏側に固設された金属製の裏板38とを備えている。そして、車両の制動時にシリンダ部18内へ供給されたブレーキ油圧によってピストン24がディスクロータ12に向かって突き出されると、インナパッド32がディスクロータ12の図1における左側面に押圧されるとともに、その反作用でキャリパ14が図1の左方向へ移動させられることにより、爪部22によってアウタパッド34がディスクロータ12の図1における右側面に押圧される。インナパッド32およびアウタパッド34はブレーキパッドに相当する。
【0030】
前記マウンティングブラケット16は、車両のナックル等に固設される支持部材に相当するもので、複数のスライドピンを介してキャリパ14をディスクロータ12の軸心方向(図1(a) における左右方向)の移動可能、且つディスクロータ12の回転平面と平行な平面内の移動不能に支持している。また、マウンティングブラケット16には、前記インナパッド32およびアウタパッド34をそれぞれ所定の遊びを有してディスクロータ12の回転平面と平行な平面内の移動不能に保持する一対のパッド保持部が一体に設けられており、それ等のインナパッド32およびアウタパッド34の制動トルクを受け止めるようになっている。
【0031】
一方、前記ダストブーツ30は、シリンダ部18の開口部とピストン24の外周面とに跨がって配設され、それ等の嵌合部を覆蓋して泥水や砂塵などの異物の侵入を防止するためのもので、弾性変形可能なゴム製で円環形状を成しており、それぞれ断面が矩形(長方形)で略同じ径寸法の一対のシリンダ側取付部40およびピストン側取付部42と、それ等の取付部40、42を連結するように設けられた薄肉円筒形状の変形部44とを備えている。シリンダ側取付部40はシリンダ部18の開口部に取り付けられるもので、その開口部にはシリンダボア46の径寸法すなわちピストン24の外径よりも大きい内径寸法の取付穴48が設けられ、シリンダ側取付部40はその取付穴48内に嵌合されている。シリンダ側取付部40には、補強部材として断面が円形の線材を巻回したコイル材50が加硫時のインサート成形により一体的に埋設されている一方、取付穴48は環状溝のように径寸法が小さくなることなくそのまま開口させられており、シリンダ側取付部40は、コイル材50の剛性に基づいて取付穴48の内周面および底面に密着するように高い装着強度で圧入固定されている。コイル材50の太さや巻数は、所定の装着強度(取付強度)が得られるように適宜定められ、本実施例では2〜3程度の巻数である。シリンダ側取付部40にはまた、図2に示すように取付穴48の内周面および底面に接する外周面および端面にそれぞれ環状突起(シールリップ)52、54が一体に設けられており、それ等の環状突起52、54が取付穴48に高い面圧で押圧されることにより、異物の侵入がより効果的に防止されるようになっている。
【0032】
ピストン側取付部42は、ピストン24の外周面に取り付けられるもので、ピストン24の後端から嵌合されて自身の弾性によりピストン24の外周面に密着させられるとともに、ピストン24の先端部に設けられた外向きフランジ56に当接させられている。ピストン24は、金属板材をプレスによる絞り加工などで有底円筒形状に成形したもので、その底部側からシリンダボア46内に嵌合されるとともに開口側がシリンダ部18から突き出す姿勢で配設されており、その開口端縁には、全周に亘って外周側へ円環形状に延び出す外向きフランジ56が絞り加工などで設けられている。このピストン側取付部42にも、ピストン24の外周面および外向きフランジ56に接する内周面および端面に環状突起(シールリップ)を設けたり、前記コイル材50のような補強部材をインサート成形により一体的に埋設したりすることが可能である。
【0033】
上記シリンダ側取付部40およびピストン側取付部42は略同じ径寸法で、ピストン24がシリンダ部18に組み付けられた状態では、ピストン側取付部42がシリンダ側取付部40と外向きフランジ56との間に位置するように、ピストン24の作動を許容しつつ軸方向に近接して配置されるようになっている。これにより、ピストン側取付部42はシリンダ側取付部40と外向きフランジ56との間に位置決めされる一方、シリンダ側取付部40はピストン側取付部42によって取付穴48から抜け出すことが阻止され、確実に取付穴48内に保持される。前記取付穴48の開口側には、更に内径寸法が大きい大径穴58が設けられており、前記変形部44はピストン側取付部42の外周側において径方向に重なるように回曲させられ、大径穴58の内側に略収容されるようになっている。
【0034】
このような本実施例の車両用ディスクブレーキ10においては、シリンダ部18の開口部に取付穴48がそのまま開口するように設けられる一方、ダストブーツ30のシリンダ側取付部40にはコイル材50がインサート成形により一体的に埋設され、そのシリンダ側取付部40はコイル材50の剛性に基づいて取付穴48の内周面に密着するように嵌合(圧入)されるため、シリンダ側取付部40を取付穴48に対して容易且つ迅速に組み付けることができる。特に、コイル材50がインサート成形によりシリンダ側取付部40に一体的に埋設されているため、シリンダ側取付部40が取付穴48の内周面に良好に密着させられて泥水や砂塵等の異物の侵入が一層効果的に防止されるとともに、従来のように別体のリング部材を用いて固定する場合に比較して組付作業が一層容易になる。
【0035】
また、本実施例ではシリンダ側取付部40にインサート成形により一体に設けられる補強部材として、断面が円形の線材を巻回したコイル材50が用いられているため、補強部材自体の縮径が可能で、所定の装着強度を確保しながらゴム製の環状突起52等を弾性変形させつつシリンダ側取付部40を容易に取付穴48内に嵌合することができるとともに、所定の装着強度が得られるコイル材50を簡単且つ安価に入手することが可能で、製造コストが一層低減される。
【0036】
一方、ピストン24の先端部には外向きフランジ56が設けられ、ピストン側取付部42がピストン24の後端から嵌合されてそのピストン24の外周面に密着させられ且つ外向きフランジ56に当接するように配設されるため、ピストン側取付部42についてもピストン24に対して容易且つ迅速に組み付けることができる。
【0037】
また、本実施例ではシリンダ側取付部40およびピストン側取付部42が略同じ径寸法で、ピストン側取付部42がシリンダ側取付部40と外向きフランジ56との間に位置決めされるとともに、ピストン側取付部42によってシリンダ側取付部40が取付穴48から抜け出すことが阻止されるため、それ等のシリンダ側取付部40およびピストン側取付部42の装着強度が比較的緩い場合でもそれぞれ所定位置に位置決めされ、組付作業性が更に向上する。
【0038】
なお、上記実施例ではピストン24の外周面の径寸法が一定であったが、例えば図3の(a) に示すように、ピストン側取付部42がピストン24の後端側へ移動することを制限して外向きフランジ56に当接する状態に位置決めする突起60を、ピストン24の全周に円環状に設けたり、図3の(b) に示すように、ピストン側取付部42が外向きフランジ56に当接させられる配設部位に、そのピストン側取付部42がピストン24の後端側へ移動することを制限する小径部62を、ピストン24の全周に円環状に設けたりすることも可能である。その場合は、何れもピストン側取付部42が外向きフランジ56に当接する状態に良好に保持されるため、泥水や砂塵等の異物の侵入が一層効果的に防止される。
【0039】
上記突起60は、例えばプレスによる圧縮加工で設けたり、外周面を研磨加工する際に積極的に削り残したりして設けることができ、小径部62は、外周面を研磨加工する際に部分的に深く研磨するなどして設けることができる。また、小径部62は、従来の環状溝(例えば図4の環状溝112など)程深いものではなく、ピストン側取付部42を容易にピストン24に嵌合して組み付けることができるように、例えば深さ寸法dが0.5〜2.0mmの範囲内で設けられる。突起60の高さ寸法についても、深さ寸法dと同程度の寸法に定められる。
【0040】
以上、本発明の実施例を図面に基づいて詳細に説明したが、これはあくまでも一実施形態であり、本発明は当業者の知識に基づいて種々の変更、改良を加えた態様で実施することができる。
【図面の簡単な説明】
【図1】本発明の一実施例である車両用ディスクブレーキの要部を示す図で、(a) は車輪の軸心と平行な断面図、(b) は(a) におけるB部の拡大図である。
【図2】図1の実施例におけるダストブーツのシリンダ側取付部を単独で拡大して示す断面図である。
【図3】図1の実施例におけるダストブーツのピストン側取付部の取付構造の別の態様を説明する図である。
【図4】従来のディスクブレーキのダストブーツ取付構造の一例を示す断面図である。
【符号の説明】
10:車両用ディスクブレーキ 12:ディスクロータ 18:シリンダ部(シリンダ) 24:ピストン 30:ダストブーツ 32:インナパッド(ブレーキパッド) 34:アウタパッド(ブレーキパッド) 40:シリンダ側取付部 42:ピストン側取付部 48:取付穴 50:コイル材(補強部材) 56:外向きフランジ 60:突起 62:小径部
【発明の属する技術分野】
本発明はディスクブレーキに係り、特に、シリンダの開口部とピストンの外周面とに跨がって配設される円環形状のゴム製のダストブーツの取付構造に関するものである。
【0002】
【従来の技術】
有底円筒形状のシリンダに摺動可能に嵌合されたピストンがそのシリンダの開口から突き出されることにより、ブレーキパッドがディスクロータに押圧されて制動力を発生するディスクブレーキが、車両用の常用ブレーキとして広く知られている。そして、このようなディスクブレーキにおいては、シリンダの開口部とピストンの外周面とに跨がって円環形状のゴム製のダストブーツが設けられ、それ等の嵌合部を覆蓋して砂塵や水、泥などの異物が侵入することを防止するようになっている(特許文献1参照)。
【0003】
図4のダストブーツ100は一例で、それぞれ断面が略矩形の円環形状のシリンダ側取付部102およびピストン側取付部104を一体に備えており、シリンダ側取付部102はシリンダ106に設けられた内向きの環状溝108内に嵌め入れられて一体的に固定されている一方、ピストン側取付部104はピストン110の外周面に設けられた外向きの環状溝112内に嵌め入れられて一体的に固定されている。また、シリンダ側取付部102は、金属製のブーツリング114によって環状溝108内に押圧されて離脱不能に位置決めされている。
【0004】
【特許文献1】
特開昭64−35130号公報
【0005】
【発明が解決しようとする課題】
しかしながら、このような従来のダストブーツ取付構造においては、シリンダ側取付部およびピストン側取付部を、何れも環状溝に嵌め入れる必要があるため、組付作業が面倒で製造コストが高くなる。特に、シリンダ側取付部については、別体のブーツリングを用いて固定する必要があるため、組付作業が一層面倒であった。
【0006】
本発明は以上の事情を背景として為されたもので、その目的とするところは、シリンダおよびピストンに対してダストブーツを容易且つ迅速に組み付けることができるようにすることにある。
【0007】
【課題を解決するための手段】
かかる目的を達成するために、第1発明は、(a) 有底円筒形状のシリンダに摺動可能に嵌合されたピストンがそのシリンダの開口から突き出されることにより、ブレーキパッドがディスクロータに押圧されて制動力を発生するディスクブレーキにおいて、(b) 前記シリンダの開口部と前記ピストンの外周面とに跨がって配設され、それ等の嵌合部を覆蓋する円環形状のゴム製のダストブーツの取付構造であって、(c) 前記シリンダの開口部には前記ピストンよりも大きい内径寸法の取付穴がそのまま開口するように設けられ、前記ダストブーツに一体に設けられるとともに円環形状の補強部材がインサート成形されたシリンダ側取付部が、その補強部材の剛性に基づいてその取付穴の内周面に密着するように嵌合されている一方、(d) 前記ピストンの先端部には外向きフランジが設けられ、前記ダストブーツに一体に設けられたピストン側取付部が、そのピストンの後端から嵌合されてそのピストンの外周面に密着させられ且つその外向きフランジに当接するように配設されていることを特徴とする。
【0008】
第2発明は、第1発明のディスクブレーキのダストブーツ取付構造において、前記シリンダ側取付部および前記ピストン側取付部は略同じ径寸法で、前記ピストンが前記シリンダに組み付けられた状態では、そのピストン側取付部がそのシリンダ側取付部と前記外向きフランジとの間に位置決めされるとともに、そのピストン側取付部によってそのシリンダ側取付部が前記取付穴から抜け出すことが阻止されることを特徴とする。
【0009】
第3発明は、(a) 有底円筒形状のシリンダに摺動可能に嵌合されたピストンがそのシリンダの開口から突き出されることにより、ブレーキパッドがディスクロータに押圧されて制動力を発生するディスクブレーキにおいて、(b) そのシリンダの開口部とそのピストンの外周面とに跨がって配設され、それ等の嵌合部を覆蓋する円環形状のゴム製のダストブーツの取付構造であって、(c) 前記シリンダの開口部には前記ピストンよりも大きい内径寸法の取付穴がそのまま開口するように設けられ、前記ダストブーツに一体に設けられるとともに円環形状の補強部材がインサート成形されたシリンダ側取付部が、その補強部材の剛性に基づいてその取付穴の内周面に密着するように嵌合されていることを特徴とする。
【0010】
第4発明は、第1発明〜第3発明の何れかのディスクブレーキのダストブーツ取付構造において、前記補強部材は断面が円形の線材を巻回したコイル材であることを特徴とする。
【0011】
第5発明は、(a) 有底円筒形状のシリンダに摺動可能に嵌合されたピストンがそのシリンダの開口から突き出されることにより、ブレーキパッドがディスクロータに押圧されて制動力を発生するディスクブレーキにおいて、(b) そのシリンダの開口部とそのピストンの外周面とに跨がって配設され、それ等の嵌合部を覆蓋する円環形状のゴム製のダストブーツの取付構造であって、(c) 前記ピストンの先端部には外向きフランジが設けられ、前記ダストブーツに一体に設けられたピストン側取付部が、そのピストンの後端から嵌合されてそのピストンの外周面に密着させられ且つその外向きフランジに当接するように配設されていることを特徴とする。
【0012】
第6発明は、第1発明、第2発明、または第5発明のディスクブレーキのダストブーツ取付構造において、前記ピストンの外周面には、前記ピストン側取付部がそのピストンの後端側へ移動することを制限して前記外向きフランジに当接する状態に位置決めする突起が一体に設けられていることを特徴とする。
【0013】
第7発明は、第1発明、第2発明、または第5発明のディスクブレーキのダストブーツ取付構造において、前記ピストンの外周面であって、前記ピストン側取付部が前記外向きフランジに当接させられるそのピストン側取付部の配設部位には、そのピストン側取付部がそのピストンの後端側へ移動することを制限する小径部が設けられていることを特徴とする。
【0014】
【発明の効果】
第1発明のディスクブレーキのダストブーツ取付構造においては、シリンダの開口部に取付穴がそのまま開口するように設けられ、円環形状の補強部材がインサート成形されたシリンダ側取付部が、その補強部材の剛性に基づいて取付穴の内周面に密着するように嵌合(圧入)されるため、シリンダ側取付部を取付穴に対して容易且つ迅速に組み付けることができる。特に、補強部材がインサート成形によりシリンダ側取付部に一体的に設けられているため、シリンダ側取付部が取付穴の内周面に良好に密着させられて泥水や砂塵等の異物の侵入が一層効果的に防止されるとともに、従来のように別体のリング部材を用いて固定する場合に比較して組付作業が一層容易になる。なお、第3発明も同様の作用効果が得られる。
【0015】
一方、ピストンの先端部には外向きフランジが設けられ、ピストン側取付部がピストンの後端から嵌合されてそのピストンの外周面に密着させられ且つ外向きフランジに当接するように配設されるため、ピストン側取付部についてもピストンに対して容易且つ迅速に組み付けることができる。なお、第5発明も同様の作用効果が得られる。
【0016】
第2発明では、シリンダ側取付部およびピストン側取付部が略同じ径寸法で、ピストン側取付部がシリンダ側取付部と外向きフランジとの間に位置決めされるとともに、ピストン側取付部によってシリンダ側取付部が取付穴から抜け出すことが阻止されるため、それ等のシリンダ側取付部およびピストン側取付部の装着強度が比較的緩い場合でもそれぞれ所定位置に位置決めされ、組付作業性が更に向上する。
【0017】
第4発明では、シリンダ側取付部にインサート成形により一体的に設けられる補強部材として、断面が円形の線材を巻回したコイル材が用いられるため、補強部材自体の縮径が可能で、所定の装着強度を確保しながらゴム製のシリンダ側取付部を弾性変形させつつ容易に取付穴内に嵌合することができるとともに、所定の装着強度が得られるコイル材を簡単且つ安価に入手することが可能で、製造コストが一層低減される。
【0018】
第6発明では、ピストンの外周面に設けられた突起によってピストン側取付部が外向きフランジに当接する状態に位置決めされるため、泥水や砂塵等の異物の侵入が一層効果的に防止される。
【0019】
第7発明では、ピストンの外周面に小径部が設けられて、ピストン側取付部が外向きフランジに当接する配設部位に位置決めされるため、第5発明と同様に泥水や砂塵等の異物の侵入が一層効果的に防止される。
【0020】
【発明の実施の形態】
本発明は、例えばシリンダがキャリパに一体に設けられてディスクロータの両側面に一対のブレーキパッドを押圧する車両用のディスクブレーキに好適に適用されるが、少なくともピストンがシリンダの開口から突き出されることによりブレーキパッドをディスクロータに押圧して制動力を発生する種々のタイプのディスクブレーキに適用され得る。
【0021】
シリンダ側取付部が装着される取付穴は、ピストンが嵌合されるシリンダボアよりも大径で、且つ環状溝のように径寸法が小さくなることなくそのまま開口するように設けられるが、取付穴の開口側に更に内径寸法が大きい大径穴を設けることは、シリンダ側取付部の装着に影響しないため差し支えない。
【0022】
ピストンは、例えば金属板材を用いてプレスによる絞り加工で有底円筒形状に成形し、その底部側からシリンダ内に嵌合されるとともに開口側がシリンダから突き出すように設けられ、その場合は、絞り加工などで開口部に外向きフランジを容易に設けることができるが、鍛造加工や切削加工などで外向きフランジを一体に有するピストンを製造することもできるなど、製造方法は特に限定されない。外向きフランジは全周に円環形状に設けることが望ましいが、周方向に離間して複数の外向きフランジを放射状に設けることも可能である。
【0023】
第2発明では、シリンダ側取付部およびピストン側取付部が略同じ径寸法で、軸方向に所定の隙間を隔てて直列に装着されるが、第1発明の実施に際しては、シリンダ側取付部の径寸法をピストン側取付部よりも大径として、両者が軸方向の略同じ位置で径方向に重なるように配設するなど、種々の態様が可能である。
【0024】
第3発明はシリンダ側取付部とシリンダとの取付構造に関するもので、ピストン側取付部とピストンとの取付構造については特に制限されず、例えば前記図4の従来例と同様にピストンの外周面に設けられた環状溝に嵌め入れて固定したり、別体のリング部材などで環状溝内に位置決めしたりするなど、種々の態様を採用できる。
【0025】
第4発明では、補強部材として断面が円形の線材を巻回したコイル材が用いられているが、他の発明の実施に際しては、板状の線材を巻回したコイル材や両端が閉じている断面円形或いは板状のリングなど、種々の補強部材を採用できる。補強部材は、ばね鋼やその他の鋼材などの金属材料が好適に用いられるが、強化プラスチックなど金属以外の材料製であっても良い。また、完全にシリンダ側取付部の内部に埋設されるように設けることが望ましいが、例えば一部がシリンダ側取付部の内周面等に露出していても良いなど、種々の態様が可能である。第4発明のコイル材の巻数は、所望の装着強度(取付強度)が得られるように適宜定められる。なお、ピストン側取付部にも、必要に応じて同様の補強部材をインサート成形により一体的に設けることが可能である。
【0026】
第5発明はピストン側取付部とピストンとの取付構造に関するもので、シリンダ側取付部とシリンダとの取付構造については特に制限されず、例えば前記図4の従来例と同様にシリンダの内周面に設けられた環状溝に嵌め入れて固定したり、別体のリング部材などで環状溝内に位置決めしたりするなど、種々の態様を採用できる。
【0027】
第6発明の突起は、例えばプレスによる圧縮加工や外周面の研磨加工などで設けることができ、第7発明の小径部は、外周面の研磨加工などで設けることができるが、他の発明の実施に際しては、それ等の突起や小径部が無くて一定の径寸法で外周面を形成しても良い。第7発明の小径部は、従来の環状溝程深いものではなく、ピストン側取付部を容易にピストンに嵌合して組み付けることができるように、例えば深さ寸法dが0.5〜2.0mmの範囲内で設けることが望ましい。第6発明の突起の高さ寸法についても、深さ寸法dと同程度の寸法に定められる。第6発明や第7発明のように、ピストン側取付部を外向きフランジに当接させる場合は、円環形状の外向きフランジを採用することにより、全周に亘って泥水や砂塵等の異物の侵入が一層効果的に防止される。なお、第6発明の突起および第7発明の小径部は、ピストンの全周に円環状に設けることが望ましいが、周方向の一部に部分的に設けるだけでも良い。
【0028】
【実施例】
以下、本発明の実施例を図面を参照しつつ詳細に説明する。
図1は車両用ディスクブレーキ10の要部を説明する図で、(a) は車輪の軸心と平行な断面図で、図の左側が車体側であり、(b) は(a) におけるB部の拡大図である。図中、12はディスクロータ、14はキャリパ、16はマウンティングブラケットで、ディスクロータ12は図示しない車輪と一体的に回転させられるようになっている。キャリパ14は、ディスクロータ12の軸心と平行な軸心を有する有底円筒形状のシリンダ部18と、ディスクロータ12の外周側を跨ぐようにそのシリンダ部18から一体に延び出して設けられた連結部20と、ディスクロータ12を挟んでシリンダ部18と反対側に位置するように連結部20に一体に設けられた爪部22とを備えており、シリンダ部18内にはピストン24が軸方向の摺動可能に嵌合されている。ピストン24は、油圧室26にブレーキ油圧が作用させられることにより、シリンダ部18の開口部からディスクロータ12に向かって突き出される一方、シール部材28の弾性復元力によって所定寸法だけシリンダ部18内に引き込まれる。また、シール部材28よりも外側、すなわちシリンダ部18の開口部には、ピストン24とに跨がってダストブーツ30が設けられている。本実施例ではキャリパ14のシリンダ部18がシリンダに相当する。
【0029】
上記ピストン24とディスクロータ12との間にはインナパッド32が配設されているとともに、ディスクロータ12と爪部22との間には、そのディスクロータ12を挟んでインナパッド32と対向するようにアウタパッド34が配設されている。インナパッド32およびアウタパッド34は、それぞれディスクロータ12に押圧されて制動力を発生する摩擦材36と、その摩擦材36の裏側に固設された金属製の裏板38とを備えている。そして、車両の制動時にシリンダ部18内へ供給されたブレーキ油圧によってピストン24がディスクロータ12に向かって突き出されると、インナパッド32がディスクロータ12の図1における左側面に押圧されるとともに、その反作用でキャリパ14が図1の左方向へ移動させられることにより、爪部22によってアウタパッド34がディスクロータ12の図1における右側面に押圧される。インナパッド32およびアウタパッド34はブレーキパッドに相当する。
【0030】
前記マウンティングブラケット16は、車両のナックル等に固設される支持部材に相当するもので、複数のスライドピンを介してキャリパ14をディスクロータ12の軸心方向(図1(a) における左右方向)の移動可能、且つディスクロータ12の回転平面と平行な平面内の移動不能に支持している。また、マウンティングブラケット16には、前記インナパッド32およびアウタパッド34をそれぞれ所定の遊びを有してディスクロータ12の回転平面と平行な平面内の移動不能に保持する一対のパッド保持部が一体に設けられており、それ等のインナパッド32およびアウタパッド34の制動トルクを受け止めるようになっている。
【0031】
一方、前記ダストブーツ30は、シリンダ部18の開口部とピストン24の外周面とに跨がって配設され、それ等の嵌合部を覆蓋して泥水や砂塵などの異物の侵入を防止するためのもので、弾性変形可能なゴム製で円環形状を成しており、それぞれ断面が矩形(長方形)で略同じ径寸法の一対のシリンダ側取付部40およびピストン側取付部42と、それ等の取付部40、42を連結するように設けられた薄肉円筒形状の変形部44とを備えている。シリンダ側取付部40はシリンダ部18の開口部に取り付けられるもので、その開口部にはシリンダボア46の径寸法すなわちピストン24の外径よりも大きい内径寸法の取付穴48が設けられ、シリンダ側取付部40はその取付穴48内に嵌合されている。シリンダ側取付部40には、補強部材として断面が円形の線材を巻回したコイル材50が加硫時のインサート成形により一体的に埋設されている一方、取付穴48は環状溝のように径寸法が小さくなることなくそのまま開口させられており、シリンダ側取付部40は、コイル材50の剛性に基づいて取付穴48の内周面および底面に密着するように高い装着強度で圧入固定されている。コイル材50の太さや巻数は、所定の装着強度(取付強度)が得られるように適宜定められ、本実施例では2〜3程度の巻数である。シリンダ側取付部40にはまた、図2に示すように取付穴48の内周面および底面に接する外周面および端面にそれぞれ環状突起(シールリップ)52、54が一体に設けられており、それ等の環状突起52、54が取付穴48に高い面圧で押圧されることにより、異物の侵入がより効果的に防止されるようになっている。
【0032】
ピストン側取付部42は、ピストン24の外周面に取り付けられるもので、ピストン24の後端から嵌合されて自身の弾性によりピストン24の外周面に密着させられるとともに、ピストン24の先端部に設けられた外向きフランジ56に当接させられている。ピストン24は、金属板材をプレスによる絞り加工などで有底円筒形状に成形したもので、その底部側からシリンダボア46内に嵌合されるとともに開口側がシリンダ部18から突き出す姿勢で配設されており、その開口端縁には、全周に亘って外周側へ円環形状に延び出す外向きフランジ56が絞り加工などで設けられている。このピストン側取付部42にも、ピストン24の外周面および外向きフランジ56に接する内周面および端面に環状突起(シールリップ)を設けたり、前記コイル材50のような補強部材をインサート成形により一体的に埋設したりすることが可能である。
【0033】
上記シリンダ側取付部40およびピストン側取付部42は略同じ径寸法で、ピストン24がシリンダ部18に組み付けられた状態では、ピストン側取付部42がシリンダ側取付部40と外向きフランジ56との間に位置するように、ピストン24の作動を許容しつつ軸方向に近接して配置されるようになっている。これにより、ピストン側取付部42はシリンダ側取付部40と外向きフランジ56との間に位置決めされる一方、シリンダ側取付部40はピストン側取付部42によって取付穴48から抜け出すことが阻止され、確実に取付穴48内に保持される。前記取付穴48の開口側には、更に内径寸法が大きい大径穴58が設けられており、前記変形部44はピストン側取付部42の外周側において径方向に重なるように回曲させられ、大径穴58の内側に略収容されるようになっている。
【0034】
このような本実施例の車両用ディスクブレーキ10においては、シリンダ部18の開口部に取付穴48がそのまま開口するように設けられる一方、ダストブーツ30のシリンダ側取付部40にはコイル材50がインサート成形により一体的に埋設され、そのシリンダ側取付部40はコイル材50の剛性に基づいて取付穴48の内周面に密着するように嵌合(圧入)されるため、シリンダ側取付部40を取付穴48に対して容易且つ迅速に組み付けることができる。特に、コイル材50がインサート成形によりシリンダ側取付部40に一体的に埋設されているため、シリンダ側取付部40が取付穴48の内周面に良好に密着させられて泥水や砂塵等の異物の侵入が一層効果的に防止されるとともに、従来のように別体のリング部材を用いて固定する場合に比較して組付作業が一層容易になる。
【0035】
また、本実施例ではシリンダ側取付部40にインサート成形により一体に設けられる補強部材として、断面が円形の線材を巻回したコイル材50が用いられているため、補強部材自体の縮径が可能で、所定の装着強度を確保しながらゴム製の環状突起52等を弾性変形させつつシリンダ側取付部40を容易に取付穴48内に嵌合することができるとともに、所定の装着強度が得られるコイル材50を簡単且つ安価に入手することが可能で、製造コストが一層低減される。
【0036】
一方、ピストン24の先端部には外向きフランジ56が設けられ、ピストン側取付部42がピストン24の後端から嵌合されてそのピストン24の外周面に密着させられ且つ外向きフランジ56に当接するように配設されるため、ピストン側取付部42についてもピストン24に対して容易且つ迅速に組み付けることができる。
【0037】
また、本実施例ではシリンダ側取付部40およびピストン側取付部42が略同じ径寸法で、ピストン側取付部42がシリンダ側取付部40と外向きフランジ56との間に位置決めされるとともに、ピストン側取付部42によってシリンダ側取付部40が取付穴48から抜け出すことが阻止されるため、それ等のシリンダ側取付部40およびピストン側取付部42の装着強度が比較的緩い場合でもそれぞれ所定位置に位置決めされ、組付作業性が更に向上する。
【0038】
なお、上記実施例ではピストン24の外周面の径寸法が一定であったが、例えば図3の(a) に示すように、ピストン側取付部42がピストン24の後端側へ移動することを制限して外向きフランジ56に当接する状態に位置決めする突起60を、ピストン24の全周に円環状に設けたり、図3の(b) に示すように、ピストン側取付部42が外向きフランジ56に当接させられる配設部位に、そのピストン側取付部42がピストン24の後端側へ移動することを制限する小径部62を、ピストン24の全周に円環状に設けたりすることも可能である。その場合は、何れもピストン側取付部42が外向きフランジ56に当接する状態に良好に保持されるため、泥水や砂塵等の異物の侵入が一層効果的に防止される。
【0039】
上記突起60は、例えばプレスによる圧縮加工で設けたり、外周面を研磨加工する際に積極的に削り残したりして設けることができ、小径部62は、外周面を研磨加工する際に部分的に深く研磨するなどして設けることができる。また、小径部62は、従来の環状溝(例えば図4の環状溝112など)程深いものではなく、ピストン側取付部42を容易にピストン24に嵌合して組み付けることができるように、例えば深さ寸法dが0.5〜2.0mmの範囲内で設けられる。突起60の高さ寸法についても、深さ寸法dと同程度の寸法に定められる。
【0040】
以上、本発明の実施例を図面に基づいて詳細に説明したが、これはあくまでも一実施形態であり、本発明は当業者の知識に基づいて種々の変更、改良を加えた態様で実施することができる。
【図面の簡単な説明】
【図1】本発明の一実施例である車両用ディスクブレーキの要部を示す図で、(a) は車輪の軸心と平行な断面図、(b) は(a) におけるB部の拡大図である。
【図2】図1の実施例におけるダストブーツのシリンダ側取付部を単独で拡大して示す断面図である。
【図3】図1の実施例におけるダストブーツのピストン側取付部の取付構造の別の態様を説明する図である。
【図4】従来のディスクブレーキのダストブーツ取付構造の一例を示す断面図である。
【符号の説明】
10:車両用ディスクブレーキ 12:ディスクロータ 18:シリンダ部(シリンダ) 24:ピストン 30:ダストブーツ 32:インナパッド(ブレーキパッド) 34:アウタパッド(ブレーキパッド) 40:シリンダ側取付部 42:ピストン側取付部 48:取付穴 50:コイル材(補強部材) 56:外向きフランジ 60:突起 62:小径部
Claims (7)
- 有底円筒形状のシリンダに摺動可能に嵌合されたピストンが該シリンダの開口から突き出されることにより、ブレーキパッドがディスクロータに押圧されて制動力を発生するディスクブレーキにおいて、該シリンダの開口部と該ピストンの外周面とに跨がって配設され、それ等の嵌合部を覆蓋する円環形状のゴム製のダストブーツの取付構造であって、
前記シリンダの開口部には前記ピストンよりも大きい内径寸法の取付穴がそのまま開口するように設けられ、前記ダストブーツに一体に設けられるとともに円環形状の補強部材がインサート成形されたシリンダ側取付部が、該補強部材の剛性に基づいて該取付穴の内周面に密着するように嵌合されている一方、
前記ピストンの先端部には外向きフランジが設けられ、前記ダストブーツに一体に設けられたピストン側取付部が、該ピストンの後端から嵌合されて該ピストンの外周面に密着させられ且つ該外向きフランジに当接するように配設されている
ことを特徴とするディスクブレーキのダストブーツ取付構造。 - 前記シリンダ側取付部および前記ピストン側取付部は略同じ径寸法で、前記ピストンが前記シリンダに組み付けられた状態では、該ピストン側取付部が該シリンダ側取付部と前記外向きフランジとの間に位置決めされるとともに、該ピストン側取付部によって該シリンダ側取付部が前記取付穴から抜け出すことが阻止される
ことを特徴とする請求項1に記載のディスクブレーキのダストブーツ取付構造。 - 有底円筒形状のシリンダに摺動可能に嵌合されたピストンが該シリンダの開口から突き出されることにより、ブレーキパッドがディスクロータに押圧されて制動力を発生するディスクブレーキにおいて、該シリンダの開口部と該ピストンの外周面とに跨がって配設され、それ等の嵌合部を覆蓋する円環形状のゴム製のダストブーツの取付構造であって、
前記シリンダの開口部には前記ピストンよりも大きい内径寸法の取付穴がそのまま開口するように設けられ、前記ダストブーツに一体に設けられるとともに円環形状の補強部材がインサート成形されたシリンダ側取付部が、該補強部材の剛性に基づいて該取付穴の内周面に密着するように嵌合されている
ことを特徴とするディスクブレーキのダストブーツ取付構造。 - 前記補強部材は断面が円形の線材を巻回したコイル材である
ことを特徴とする請求項1〜3の何れか1項に記載のディスクブレーキのダストブーツ取付構造。 - 有底円筒形状のシリンダに摺動可能に嵌合されたピストンが該シリンダの開口から突き出されることにより、ブレーキパッドがディスクロータに押圧されて制動力を発生するディスクブレーキにおいて、該シリンダの開口部と該ピストンの外周面とに跨がって配設され、それ等の嵌合部を覆蓋する円環形状のゴム製のダストブーツの取付構造であって、
前記ピストンの先端部には外向きフランジが設けられ、前記ダストブーツに一体に設けられたピストン側取付部が、該ピストンの後端から嵌合されて該ピストンの外周面に密着させられ且つ該外向きフランジに当接するように配設されている
ことを特徴とするディスクブレーキのダストブーツ取付構造。 - 前記ピストンの外周面には、前記ピストン側取付部が該ピストンの後端側へ移動することを制限して前記外向きフランジに当接する状態に位置決めする突起が一体に設けられている
ことを特徴とする請求項1、2、または5に記載のディスクブレーキのダストブーツ取付構造。 - 前記ピストンの外周面であって、前記ピストン側取付部が前記外向きフランジに当接させられる該ピストン側取付部の配設部位には、該ピストン側取付部が該ピストンの後端側へ移動することを制限する小径部が設けられている
ことを特徴とする請求項1、2、または5に記載のディスクブレーキのダストブーツ取付構造。
Priority Applications (1)
| Application Number | Priority Date | Filing Date | Title |
|---|---|---|---|
| JP2002362683A JP2004190841A (ja) | 2002-12-13 | 2002-12-13 | ディスクブレーキのダストブーツ取付構造 |
Applications Claiming Priority (1)
| Application Number | Priority Date | Filing Date | Title |
|---|---|---|---|
| JP2002362683A JP2004190841A (ja) | 2002-12-13 | 2002-12-13 | ディスクブレーキのダストブーツ取付構造 |
Publications (1)
| Publication Number | Publication Date |
|---|---|
| JP2004190841A true JP2004190841A (ja) | 2004-07-08 |
Family
ID=32761061
Family Applications (1)
| Application Number | Title | Priority Date | Filing Date |
|---|---|---|---|
| JP2002362683A Pending JP2004190841A (ja) | 2002-12-13 | 2002-12-13 | ディスクブレーキのダストブーツ取付構造 |
Country Status (1)
| Country | Link |
|---|---|
| JP (1) | JP2004190841A (ja) |
Cited By (3)
| Publication number | Priority date | Publication date | Assignee | Title |
|---|---|---|---|---|
| JP2013011301A (ja) * | 2011-06-29 | 2013-01-17 | Hitachi Automotive Systems Ltd | ディスクブレーキ |
| US8490265B2 (en) | 2008-06-17 | 2013-07-23 | Akebono Brake Industry Co., Ltd. | Method and apparatus for manufacturing brake, and method and apparatus for inspecting brake |
| WO2020129583A1 (ja) * | 2018-12-19 | 2020-06-25 | 日立オートモティブシステムズ株式会社 | ディスクブレーキ及びピストンブーツ |
Citations (5)
| Publication number | Priority date | Publication date | Assignee | Title |
|---|---|---|---|---|
| JPS5262750U (ja) * | 1975-11-06 | 1977-05-09 | ||
| JPS58193135U (ja) * | 1982-06-18 | 1983-12-22 | トキコ株式会社 | デイスクブレ−キ |
| JPH0214840U (ja) * | 1988-07-13 | 1990-01-30 | ||
| JPH09257060A (ja) * | 1996-03-19 | 1997-09-30 | Tokico Ltd | ディスクブレーキ |
| JPH11230211A (ja) * | 1998-02-20 | 1999-08-27 | Akebono Brake Ind Co Ltd | ディスクブレーキ用シール装置 |
-
2002
- 2002-12-13 JP JP2002362683A patent/JP2004190841A/ja active Pending
Patent Citations (5)
| Publication number | Priority date | Publication date | Assignee | Title |
|---|---|---|---|---|
| JPS5262750U (ja) * | 1975-11-06 | 1977-05-09 | ||
| JPS58193135U (ja) * | 1982-06-18 | 1983-12-22 | トキコ株式会社 | デイスクブレ−キ |
| JPH0214840U (ja) * | 1988-07-13 | 1990-01-30 | ||
| JPH09257060A (ja) * | 1996-03-19 | 1997-09-30 | Tokico Ltd | ディスクブレーキ |
| JPH11230211A (ja) * | 1998-02-20 | 1999-08-27 | Akebono Brake Ind Co Ltd | ディスクブレーキ用シール装置 |
Cited By (6)
| Publication number | Priority date | Publication date | Assignee | Title |
|---|---|---|---|---|
| US8490265B2 (en) | 2008-06-17 | 2013-07-23 | Akebono Brake Industry Co., Ltd. | Method and apparatus for manufacturing brake, and method and apparatus for inspecting brake |
| JP2013011301A (ja) * | 2011-06-29 | 2013-01-17 | Hitachi Automotive Systems Ltd | ディスクブレーキ |
| WO2020129583A1 (ja) * | 2018-12-19 | 2020-06-25 | 日立オートモティブシステムズ株式会社 | ディスクブレーキ及びピストンブーツ |
| JP2020098016A (ja) * | 2018-12-19 | 2020-06-25 | 日立オートモティブシステムズ株式会社 | ディスクブレーキ及びピストンブーツ |
| JP7114453B2 (ja) | 2018-12-19 | 2022-08-08 | 日立Astemo株式会社 | ディスクブレーキ及びピストンブーツ |
| US12000445B2 (en) | 2018-12-19 | 2024-06-04 | Hitachi Astemo, Ltd. | Disc brake and piston boot |
Similar Documents
| Publication | Publication Date | Title |
|---|---|---|
| JP5311649B2 (ja) | 環状密封装置 | |
| WO2019230394A1 (ja) | ディスクブレーキ | |
| JP2004190841A (ja) | ディスクブレーキのダストブーツ取付構造 | |
| JP2006342829A (ja) | 密封装置 | |
| KR20170057904A (ko) | 브레이크 디스크 | |
| JP2006118625A (ja) | 密封装置 | |
| WO2014057779A1 (ja) | ボールジョイント用ダストカバー | |
| JP3192748U (ja) | 密封装置 | |
| JP7210352B2 (ja) | 車両用ブレーキ | |
| WO2020129583A1 (ja) | ディスクブレーキ及びピストンブーツ | |
| US20040007431A1 (en) | Wheel cylinder | |
| US20060151266A1 (en) | A Corner Assembly for a Vehicle | |
| JPH11230211A (ja) | ディスクブレーキ用シール装置 | |
| JP7372763B2 (ja) | 車輪用軸受装置 | |
| JP5603797B2 (ja) | 車両用ディスクブレーキ | |
| KR100710475B1 (ko) | 디스크 브레이크 | |
| JP2013015165A (ja) | ホイールブレーキシリンダ | |
| JP2000027893A (ja) | 油圧式クラッチ遮断装置 | |
| JPH027306Y2 (ja) | ||
| CN209130089U (zh) | 一种卡钳装配系统 | |
| JP7316657B2 (ja) | スリンガ部材の取付方法及び密封構造 | |
| JP4798337B2 (ja) | リップシール | |
| JPH0612844U (ja) | 車両用ディスクブレーキのキャリパボディ | |
| JP2000177306A (ja) | ダンパ付きホイール構造 | |
| JP6580946B2 (ja) | ディスクブレーキ装置 |
Legal Events
| Date | Code | Title | Description |
|---|---|---|---|
| A621 | Written request for application examination |
Free format text: JAPANESE INTERMEDIATE CODE: A621 Effective date: 20050929 |
|
| A977 | Report on retrieval |
Free format text: JAPANESE INTERMEDIATE CODE: A971007 Effective date: 20071026 |
|
| A131 | Notification of reasons for refusal |
Free format text: JAPANESE INTERMEDIATE CODE: A131 Effective date: 20071030 |
|
| A02 | Decision of refusal |
Free format text: JAPANESE INTERMEDIATE CODE: A02 Effective date: 20080401 |