JP2004088766A - データ管理装置及びデータ管理システム - Google Patents
データ管理装置及びデータ管理システム Download PDFInfo
- Publication number
- JP2004088766A JP2004088766A JP2003275650A JP2003275650A JP2004088766A JP 2004088766 A JP2004088766 A JP 2004088766A JP 2003275650 A JP2003275650 A JP 2003275650A JP 2003275650 A JP2003275650 A JP 2003275650A JP 2004088766 A JP2004088766 A JP 2004088766A
- Authority
- JP
- Japan
- Prior art keywords
- data
- terminal
- information
- management device
- server
- Prior art date
- Legal status (The legal status is an assumption and is not a legal conclusion. Google has not performed a legal analysis and makes no representation as to the accuracy of the status listed.)
- Pending
Links
Images
Landscapes
- Television Signal Processing For Recording (AREA)
- Two-Way Televisions, Distribution Of Moving Picture Or The Like (AREA)
- Signal Processing For Digital Recording And Reproducing (AREA)
- Management Or Editing Of Information On Record Carriers (AREA)
- Information Retrieval, Db Structures And Fs Structures Therefor (AREA)
Abstract
【課題】 複数の電子機器に分散して格納されているデータを容易に管理し得るデータ管理装置及びデータ管理システムを提供する。
【解決手段】 サーバ装置10は、クライアント端末A,B,Cのデータ処理に関する内容を示す端末特性情報I100をそのクライアント端末A,B,Cのそれぞれから取得するI/O部12と、I/O部12が取得した端末特性情報I100に基づいてサーバ資源の割り当て方を決定する端末特性情報処理部15と、端末特性情報処理部15が決定した取り扱い方に基づいて、クライアント端末A,B,Cとの間でデータを送受信してこれを処理する制御部11及び記録装置部14とを備える。
【選択図】 図28
【解決手段】 サーバ装置10は、クライアント端末A,B,Cのデータ処理に関する内容を示す端末特性情報I100をそのクライアント端末A,B,Cのそれぞれから取得するI/O部12と、I/O部12が取得した端末特性情報I100に基づいてサーバ資源の割り当て方を決定する端末特性情報処理部15と、端末特性情報処理部15が決定した取り扱い方に基づいて、クライアント端末A,B,Cとの間でデータを送受信してこれを処理する制御部11及び記録装置部14とを備える。
【選択図】 図28
Description
本発明は、デジタルデータの送受信を管理するデータ管理装置及びデータ管理システムに関する。
近年、半導体の微細加工技術等の進展に伴い、電子機器の小型化と高機能化が進み、その結果、利用者が複数の電子機器を同時に携帯し、使用するようになってきた。
例えば、図56に示されるように、携帯電話に加えて、携帯型オーディオ装置(端末A)や電子手帳等のPDA(端末B)、ノートPC(端末C)等を持ち歩くことは日常的に行なわれている。また、出張や旅行など、特定の場合においては、日常的に持ち歩く電子機器に加えて、デジタルスチルカメラ(以降、「DSC」という。)やカムコーダ(DVCやDVDカムコーダ)を携帯し、製品や風景等を撮影し、その内容をデータ化し、記録として残すことが行なわれている。
例えば、図56に示されるように、携帯電話に加えて、携帯型オーディオ装置(端末A)や電子手帳等のPDA(端末B)、ノートPC(端末C)等を持ち歩くことは日常的に行なわれている。また、出張や旅行など、特定の場合においては、日常的に持ち歩く電子機器に加えて、デジタルスチルカメラ(以降、「DSC」という。)やカムコーダ(DVCやDVDカムコーダ)を携帯し、製品や風景等を撮影し、その内容をデータ化し、記録として残すことが行なわれている。
図57は、上記の電子機器が持つ一般的な共通の構成を示す図である。図57に示されるように、電子機器90は、一般に制御部91、I/O部92、UI部93、データ処理部94及び記録装置部95を備えている(例えば、特許文献1及び特許文献2参照。)。
制御部91は、機器全体の動作に関する制御を行なう部分である。
I/O部92は、電子機器90の外部とデータの入出力を行なう部分であり、例えば、その入出力方式は、ATAPI、SCSI、USB、IEEE1394、バス方式の有線LAN、又はIEEE802.11などの無線LAN等である。
I/O部92は、電子機器90の外部とデータの入出力を行なう部分であり、例えば、その入出力方式は、ATAPI、SCSI、USB、IEEE1394、バス方式の有線LAN、又はIEEE802.11などの無線LAN等である。
UI部93は、主に電子機器90の利用者との間のインタフェース部であり、ボタンやスティックによる操作、液晶画面などに表示される画像によるユーザインタフェース(GUI)等を通じて、利用者による操作を電子機器90に伝え、また、逆に、電子機器90からの出力を画面に表示等することによって、利用者に情報を伝える役割を果たす。
データ処理部94は、電子機器90においてデータの作成や再生を行なう部分であり、例えば、電子機器90がDSCであれば、CCD装置を通じてデジタル映像を入力し、JPEG等の画像圧縮処理を行なう部分である。また、後述する記録装置部95から読み出したデータを再生し、UI部93を通じて利用者に再生画面の表示を行なう。
記録装置部95は、電子機器90が生成あるいはI/O部92を通じて外部から入力されたデータや、UI部93を通じて利用者が入力した指示を元に制御部91やデータ処理部94が作成したデータを永続的に記録する部分である。また、記録しておいたデータをI/O部92を通じて外部へ出力したり、データ処理部94へ送ってデータの再生をしたりすることを可能とする。さらに、制御部91がさまざまな処理を行なう場合に、一時的なデータの格納を行なう。
図57に示される各部分は、実際の電子機器の利用目的や用途によって必要な方式や構成が選択される。一例として、電子機器がDSCであれば、I/O部はUSB、UI部は液晶モニタとスイッチ類、データ処理部はCCD装置と映像圧縮・伸展処理部、記録装置部は半導体メモリカード等となり、さらにDSC特有の構成要素が必要であればそれを組み合わせて全体が構成される。
特開平10−283295
特開2001−358799
上記のように、一人の利用者が持ち運ぶ複数の電子機器は、それぞれが記録装置及び記録媒体を有し、それぞれにデータを格納している。よって、図56に示されるように、利用者は、データ記録という同じ機能を重複して携帯することになり、そのために次のような課題が発生する。
すなわち、各電子機器で撮影等されることによってデータが発生し、それらのデータがそれぞれの電子機器内の記録装置や記録媒体内に個別に格納されることにより、利用者が管理しなければならない記録装置や記録媒体の数が増加し、どこにどんなデータがあったか、バックアップは行なったか等、データ管理のための手間が非常に多くなる、ということである。
例えば、DSCとDVDカムコーダ装置を同時期に使用して同じ対象を撮影、録画する場合などは、それぞれの内容に関連があるデータが、異なるデータフォーマットで、異なる機器に入力・記録され、データ管理の手間が大幅に増加する。
さらに、この場合は、再生に関しても課題が生じる。すなわち、DSCとDVDカムコーダ装置は、いずれもAVデータの入力と記録機能を持っており、展示会や旅行、運動会等の行事やイベント、その他日常の記録等に利用される。それらを利用して撮影等を行なうと、同じ被写体のデータが、DSCとDVDカムコーダ装置のそれぞれで記録され、結果として情報が複数の記録媒体にばらばら格納されることになる。旅行などで撮影したデータについては、撮影したデータの記録順序自体も重要な情報であり、あとから、撮影した映像を再生する際には、撮影した機器の種類や、記録データのデータフォーマットによらず、撮影順序を再現して鑑賞できることが望まれる。
しかしながら、複数の記録媒体にそれぞれの機器で撮影した映像データが格納されている状態で、それらを時系列に並べ替えて再生することは、利用者にとって大変な手間である。例えば、DSCからDVDカムコーダ装置へデータをコピーした上で、何らかの形で連続的に再生されるようにユーザの手によって準備を行なう必要がある。
このように、同じ被写体に対する撮影データが別々の記録媒体に格納されてしまうと、後の整理が煩雑となる。動画と静止画を同時に撮影できるDSCやDVDカムコーダ装置等も存在するが、静止画と動画では、カメラ部等へ要求される機能や特性が異なるため、両者への要求を同時に満たす映像入力機器は実現されていない。
そのため、より美しい映像データを求める利用者については、DSCとDVDカムコーダ装置の両方を使用せざるを得ない。また、従来の技術で述べたように、最近の電子機器では、ネットワーク接続機能を持つものが多くなり、そのような機器を使用する場合は、自らが撮影したデータのみならず、ネットワーク経由で入手したデータも各電子機器に保存されることになる。結局、電子機器の増加に加えてネットワークへの接続によって、データ管理がより困難になるという問題がある。
そこで、本発明は、上記課題に鑑みてなされたものであり、複数の電子機器に分散して格納されているデータを容易に管理し得るデータ管理装置及びデータ管理システムを提供することを目的とする。
上記目的を達成するために、本発明に係るデータ管理装置は、複数の端末機のそれぞれに扱われる各データを管理するデータ管理装置であって、前記端末機のデータ処理に関する内容を示す端末特性情報を前記端末機から取得する取得手段と、前記取得手段が取得した前記端末特性情報に基づいて前記データの取り扱い方を決定する決定手段と、前記決定手段が決定した取り扱い方に基づいて、前記複数の端末機との間でデータを送受信してこれを処理するデータ処理手段とを備えることを特徴とする。
これにより、各端末機の端末特性情報に示される内容に基づいてデータの取り扱い方が決定され、その取り扱い方に基づいてそのデータの送受信や処理が行われるため、各端末機がそれぞれの用途に応じて異なるデータ処理を行う場合であっても、その各端末機に扱われるデータを適切に且つ容易に管理することができる。
ここで、前記決定手段は、前記データの取り扱いに用いられる前記データ管理装置が有するサーバ資源の、前記複数の端末機に対する割り当て方を決定し、前記データ処理手段は、前記決定手段が決定した割り当て方に基づいて、前記複数の端末機に前記サーバ資源を割り当てることを特徴としても良い。例えば、前記決定手段は、前記各端末機に対する優先度を特定して、前記優先度に応じて前記割り当て方を決定する。
これにより、端末特性情報に示される内容に基づいてサーバ資源の割り当て方が決定され、その割り当て方に基づいてデータの送受信や処理が行われるため、サーバ資源を有効に活用することができる。
また、前記取得手段は、前記データ処理手段により受信されるデータの作成された日時を示す内容の前記端末特性情報を取得し、前記決定手段は、前記端末特性情報により示される日時に基づいて、前記データ処理手段により受信されたデータの出力順を決定し、前記データ処理手段は、前記決定された出力順に基づいて前記データを同期して出力することを特徴としても良い。
これにより、端末特性情報に示される内容に基づいてデータの出力順が決定され、その出力順に基づいてデータが同期して出力されるため、各端末機に扱われるデータをその作成された日時に従って容易に管理することができる。
また、本発明に係るデータ管理装置は、複数の端末機のそれぞれに扱われる各データを管理するデータ管理装置であって、前記データ管理装置が有するサーバ資源の前記複数の端末機に対する割り当てのパターンを示す内容の割当パターン情報を記憶するための記憶手段と、前記記憶手段に記憶されている前記割当パターン情報を前記端末機に送信する送信手段と、前記割当パターン情報に基づいて所定のパターンを指示する内容の指示情報を前記端末機から取得する取得手段と、前記取得手段により取得された前記指示情報に示されるパターンに基づいて前記サーバ資源を割り当てて、前記複数の端末機との間でデータを送受信してこれを処理するデータ処理手段とを備えることを特徴としても良い。例えば、前記割当パターン情報には複数のパターンが示されてあって、前記取得手段は、前記割当パターン情報に示される複数のパターンの中から何れかのパターンを選択して指示する内容の前記指示情報を取得する。
これにより、端末機から指示されたパターンに基づいてサーバ資源が割り当てられてデータの送受信や処理が行われるため、各端末機に扱われるデータを適切に且つ容易に管理することができる。
ここで、前記データ管理装置は、さらに、前記記憶手段に記憶されている前記割当パターン情報により示されるパターンを表示し、ユーザによる操作に応じた所定のパターンを特定するユーザインタフェース手段を備え、前記データ処理手段は、前記ユーザインタフェース手段により特定された所定のパターンに基づいて、前記複数の端末機との間でデータを送受信してこれを処理することを特徴としても良い。
これにより、ユーザによる操作に応じた所定のパターンに基づいてサーバ資源が割り当てられるため、ユーザの意図に沿ってデータを管理することができる。
また、本発明に係るデータ管理システムは、複数の端末機と、前記複数の端末機のそれぞれに扱われる各データを管理するデータ管理装置とを備えたデータ管理システムであって、前記データ管理装置は、前記端末機のデータ処理に関する内容を示す端末特性情報を前記端末機から取得する取得手段と、前記取得手段が取得した前記端末特性情報に基づいて、前記データ管理装置が有するサーバ資源の前記端末機に対する割り当て方を決定する決定手段と、前記決定手段が決定した割り当て方に基づいて、前記複数の端末機との間でデータを送受信してこれを処理するデータ処理手段とを備え、前記端末機は、前記端末特性情報を送信する端末送信手段と、前記決定手段により決定されたサーバ資源の割り当て方に応じて、前記データ管理装置との間でデータを送受信してこれを処理する端末データ処理手段とを備えることを特徴とする。
これにより、各端末機の端末特性情報に示される内容に基づいてサーバ資源の割り当て方が決定され、その割り当て方に基づいてそのデータの送受信や処理が行われるため、各端末機がそれぞれの用途に応じて異なるデータ処理を行う場合であっても、その各端末機に扱われるデータを適切に且つ容易に管理することができる。また、複数の端末機の構成が高い頻度で変更されるような環境、例えば端末機の数が2つから3つや4つに変更されるような場合であっても、それぞれの端末機の端末特性情報に応じてサーバ資源の割り当て方が決定されるため、サーバ資源を有効に活用することができる。
また、本発明は、端末機として実現したり、データ管理装置や、端末機、データ管理システムの特徴的な構成要素をステップとするデータ管理方法として実現したり、コンピュータに実行させるプログラムとして実現することもできる。そして、そのプログラムをCD−ROM等の記録媒体に格納したり、インターネット等の伝送媒体を介して流通させることができるのは言うまでもない。
本発明にかかるデータ管理装置は、各端末機の端末特性情報に示される内容に基づいてデータの取り扱い方が決定され、その取り扱い方に基づいてそのデータの送受信や処理が行われるため、各端末機がそれぞれの用途に応じて異なるデータ処理を行う場合であっても、その各端末機に扱われるデータを適切に且つ容易に管理することができるという効果を奏する。
以下、本発明に係るデータ管理装置及びデータ管理システムを示す好ましい実施の形態について、図面を参照しながら説明する。
(実施の形態1)
最初に、本実施の形態に関するいくつかの電子機器の動作について説明する。電子機器の例としては、数GBの容量を有する書換え型光ディスクであるDVD−RAMディスクへ、デジタルAVデータの符号化規格であるMPEG(MPEG2)で符号化したAV情報を録画するDVDレコーダ装置やDVDレコーダにカメラ装置を組み合わせたDVDカムコーダ装置等がある。
(実施の形態1)
最初に、本実施の形態に関するいくつかの電子機器の動作について説明する。電子機器の例としては、数GBの容量を有する書換え型光ディスクであるDVD−RAMディスクへ、デジタルAVデータの符号化規格であるMPEG(MPEG2)で符号化したAV情報を録画するDVDレコーダ装置やDVDレコーダにカメラ装置を組み合わせたDVDカムコーダ装置等がある。
以下、DVDレコーダ装置、DVDディスク及びDVDプレーヤについて、下記の順序で説明する。
1.DVDレコーダ装置のシステム概要
2.DVDレコーダ装置の機能概要
3.DVDディスクの概要
4.再生されるAV情報の概要
5.AV情報の管理情報と再生制御の概要
6.再生機能の基本動作
7.記録機能の基本動作
1.DVDレコーダ装置のシステム概要
2.DVDレコーダ装置の機能概要
3.DVDディスクの概要
4.再生されるAV情報の概要
5.AV情報の管理情報と再生制御の概要
6.再生機能の基本動作
7.記録機能の基本動作
(1.DVDレコーダ装置のシステム概要)
図1は、DVDレコーダ装置の外観と関連機器とのインタフェースの一例を説明するための図である。図1に示されるように、DVDレコーダ装置は、光ディスクであるDVDが装填され、ビデオ情報の記録再生が行なわれる。DVDレコーダ装置の操作は、一般的にはリモコンや機器上のスイッチによって行なわれる。
図1は、DVDレコーダ装置の外観と関連機器とのインタフェースの一例を説明するための図である。図1に示されるように、DVDレコーダ装置は、光ディスクであるDVDが装填され、ビデオ情報の記録再生が行なわれる。DVDレコーダ装置の操作は、一般的にはリモコンや機器上のスイッチによって行なわれる。
DVDレコーダ装置に入力されるビデオ情報には、アナログ信号とデジタル信号の両者があり、アナログ信号としてはアナログ放送があり、デジタル信号としてはデジタル放送がある。一般的に、アナログ放送は、テレビジョン装置に内蔵されている受信機により受信、復調され、NTSC方式等のアナログビデオ信号としてDVDレコーダ装置に入力される。また、デジタル放送は、受信機であるSTB(Set Top Box)でデジタル信号に復調され、DVDレコーダ装置に入力され記録される。
一方、DVDディスクに記録されたビデオ情報は、DVDレコーダ装置により再生され外部に出力される。出力される信号も入力される信号と同様に、アナログ信号とデジタル信号の両者があり、アナログ信号であれば直接テレビジョン装置に入力され、デジタル信号であればSTBを経由し、アナログ信号に変換された後にテレビジョン装置に入力され、テレビジョン装置で映像として表示される。
さらに、DVDディスクを利用する装置にDVDカムコーダ装置がある。DVDカムコーダ装置は、DVDレコーダ装置にレンズやCCDからなるカメラ装置を組み合わせた装置であり、撮影した動画情報を符号化して記録する。
また、DVDディスクは、DVDレコーダ装置やDVDカムコーダ装置以外に、パーソナルコンピュータ等でビデオ情報が記録再生される場合がある。パーソナルコンピュータ等でビデオ情報が記録されたDVDディスクであっても、DVDレコーダ装置に装填されれば、DVDレコーダ装置はこれを再生する。
なお、上述したアナログ放送やデジタル放送のビデオ情報には、通常、音声情報が付随している。付随している音声情報もビデオ情報と同様に、DVDレコーダ装置で記録再生される。また、ビデオ情報は、一般的には動画であるが、静止画の場合もある。例えば、DVDカムコーダ装置の写真機能で静止画が記録される場合が該当する。
なお、DVDレコーダ装置とSTB等の外部機器との間のデジタルI/Fには、IEEE1394、ATAPI、SCSI、USB、バス方式の有線LAN、又はIEEE802.11などの無線LAN等がある。
なお、上記では、DVDレコーダ装置とテレビジョン装置との間の信号として、NTSC方式のアナログ(コンポジット)ビデオ信号を例示したが、輝度信号と色差信号を個別に伝送するコンポーネント信号でもよい。さらには、AV機器とテレビジョン装置の間の映像伝送I/Fは、アナログI/FをデジタルI/F、例えば、DVI(Digital Visual Interface)に置きかえる研究開発が進められており、DVDレコーダ装置とテレビジョン装置がデジタルI/Fで接続されることも当然予想される。
(2.DVDレコーダ装置の機能概要)
図2は、DVDレコーダ装置の機能を示すブロック図である。このDVDレコーダ装置は、DVD−RAMディスク100のデータを読み出す光ピックアップ101、ECC(Error Correcting Code)処理部102、トラックバッファ103、トラックバッファ103への入出力を切り替えるスイッチ104、エンコーダ105及びデコーダ106を備える。図2に示されるように、DVD−RAMディスク100には、1セクタ=2KBを最小単位としてデータが記録される。また、16セクタ=1ECCブロックとし、このECCブロックを1単位としてECC処理部102でエラー訂正処理が施される。
図2は、DVDレコーダ装置の機能を示すブロック図である。このDVDレコーダ装置は、DVD−RAMディスク100のデータを読み出す光ピックアップ101、ECC(Error Correcting Code)処理部102、トラックバッファ103、トラックバッファ103への入出力を切り替えるスイッチ104、エンコーダ105及びデコーダ106を備える。図2に示されるように、DVD−RAMディスク100には、1セクタ=2KBを最小単位としてデータが記録される。また、16セクタ=1ECCブロックとし、このECCブロックを1単位としてECC処理部102でエラー訂正処理が施される。
トラックバッファ103は、DVD−RAMディスク100にAVデータをより効率良く記録するため、AVデータを可変ビットレート(VBR)で記録するためのバッファである。DVD−RAMディスク100への読み書きレート(Va)が固定レートであるのに対して、AVデータはその内容(ビデオであれば画像)の持つ複雑さに応じてビットレート(Vb)が変化するため、このビットレートの差を吸収するためのバッファである。
このトラックバッファ103をさらに有効利用すると、DVD−RAMディスク100上にAVデータを離散配置することが可能になる。図3を用いて、これを説明する。
図3は、DVD−RAMディスク100上のアドレス空間と、トラックバッファに蓄積してあるデータをデコーダへ供給することでAVデータの連続再生が可能になるときの状態とを説明するための説明図である。
図3は、DVD−RAMディスク100上のアドレス空間と、トラックバッファに蓄積してあるデータをデコーダへ供給することでAVデータの連続再生が可能になるときの状態とを説明するための説明図である。
図3の(a)に示されるように、AVデータが[a1、a2]の連続領域と[a3、a4]の連続領域に分かれて記録されている場合、a2からa3へシークを行なっている間、トラックバッファに蓄積してあるデータをデコーダ106へ供給することでAVデータの連続再生が可能になる。この時の状態を示したのが、図3の(b)である。位置a1で読み出しが開始されたAVデータは、時刻t1からトラックバッファ103に入力されると共に、トラックバッファ103からデータの出力が開始される。これにより、トラックバッファ103への入力レート(Va)とトラックバッファ103からの出力レート(Vb)のレート差(Va−Vb)の分だけトラックバッファ103にデータが蓄積されていく。この状態が、連続領域がa2に達するまで、即ち、時刻t2に達するまで継続する。この間にトラックバッファ103に蓄積されたデータ量をB(t2)とすると、時間t2から、領域a3のデータの読み出しを開始する時刻t3までの間、トラックバッファ103に蓄積されているデータ量B(t2)を消費してデコーダ106へ供給し続けられればよい。言い方を変えれば、シーク前に読み出すデータ量([a1、a2])が一定量以上確保されていれば、シークが発生した場合でも、AVデータの連続供給が可能である。AVデータの連続供給が可能な連続領域のサイズは、ECCブロック数(N#ecc)に換算すると次の式で示される。この式において、N#secはECCブロックを構成するセクタ数であり、S#sizeはセクタサイズ、Tjはシーク性能(最大シーク時間)である。
N#ecc = Vb・Tj/((N#sec・8・S#size)・(1−Vb/Va))
N#ecc = Vb・Tj/((N#sec・8・S#size)・(1−Vb/Va))
また、連続領域の中には欠陥セクタが生じる場合がある。この場合も考慮すると連続領域は次の式で示される。下記の式において、dN#eccは容認する欠陥セクタのサイズであり、Tsは連続領域の中で欠陥セクタをスキップするのに要する時間である。このサイズもECCブロック数で表される。
N#ecc = dN#ecc+Vb・(Tj+Ts)/((N#sec・8・S#size)・(1−Vb/Va))
N#ecc = dN#ecc+Vb・(Tj+Ts)/((N#sec・8・S#size)・(1−Vb/Va))
なお、ここでは、DVD−RAMディスクからデータを読み出す場合、すなわち再生の場合の例を説明したが、DVD−RAMディスクへデータを書き込む場合、すなわち録画の場合も同様に考えることができる。上述したように、DVD−RAMディスクでは、一定量以上のデータが連続記録されていればディスク上にAVデータを分散記録しても連続再生/録画が可能である。DVDでは、この連続領域をCDAと呼称する。
なお、DVDレコーダ装置はデータの蓄積媒体として、DVD−RAMディスクに加え、半導体メモリカードやハードディスクドライブ装置を備えてもよい。
なお、DVDレコーダ装置はデータの蓄積媒体として、DVD−RAMディスクに加え、半導体メモリカードやハードディスクドライブ装置を備えてもよい。
図4は、半導体メモリカードとハードディスクドライブ装置を備える場合のDVDレコーダ装置のブロック図である。なお、1セクタは512B(Byte)でもよいし、8KB等でもよい。また、ECCブロックも1セクタ、16セクタ、32セクタ等でもよい。記録できる情報容量の増大に伴い、セクタサイズ及びECCブロックを構成するセクタ数は増大すると予想される。
(3.DVDディスクの概要)
図5(a),(b)は、記録可能な光ディスクであるDVD−RAMディスクの外観と物理構造を表した図である。なお、DVD−RAMディスクは、一般的にはカートリッジに収納された状態でDVDレコーダ装置に装填される。記録面を保護するのが目的である。ただし、記録面の保護が別の構成で行なわれたり、容認できる場合にはカートリッジに収納せずに、DVDレコーダ装置に直接装填できるようにしたりしても、もちろんよい。
図5(a),(b)は、記録可能な光ディスクであるDVD−RAMディスクの外観と物理構造を表した図である。なお、DVD−RAMディスクは、一般的にはカートリッジに収納された状態でDVDレコーダ装置に装填される。記録面を保護するのが目的である。ただし、記録面の保護が別の構成で行なわれたり、容認できる場合にはカートリッジに収納せずに、DVDレコーダ装置に直接装填できるようにしたりしても、もちろんよい。
DVD−RAMディスクは、相変化方式によりデータを記録する。ディスク上の記録データはセクタ単位で管理され、アクセス用のアドレスが付随する。16個のセクタは誤り訂正の単位となり、誤り訂正コードが付与され、ECCブロックと呼称される。
図5(a)は、記録可能な光ディスクであるDVD−RAMディスクの記録領域を表した図である。図5(a)のように、DVD−RAMディスクは、最内周にリードイン領域が、最外周にリードアウト領域が、その間にデータ領域が配置されている。リードイン領域は、光ピックアップのアクセス時においてサーボを安定させるために必要な基準信号や他のメディアとの識別信号などが記録されている。リードアウト領域もリードイン領域と同様の基準信号などが記録される。データ領域は、最小のアクセス単位であるセクタ(2048バイトとする)に分割されている。また、DVD−RAMディスクは、記録・再生時においてZ−CLV(Zone Constant Linear Velocity)と呼ばれる回転制御を実現するために、データ領域が複数のゾーン領域に分割されている。また、図5(a)に示すように、DVD−RAMディスクは、ゾーン0〜ゾーン23の24個のゾーン領域に分割されている。DVD−RAMディスクの回転角速度は、内周側のゾーン程速くなるようにゾーン領域毎に設定され、光ピックアップが1つのゾーン内でアクセスする間は一定に保たれる。これにより、DVD−RAMディスクの記録密度を高めると共に、記録・再生時における回転制御を容易にしている。
図5(b)は、上記図5(a)において同心円状に示されるリードイン領域と、リードアウト領域と、ゾーン領域0〜23を横方向に配置した説明図である。リードイン領域とリードアウト領域は、その内部に欠陥管理領域(DMA:Defect Management Area)を有する。欠陥管理領域とは、欠陥が生じたセクタの位置を示す位置情報と、その欠陥セクタを代替するセクタが上記代替領域のいずれに存在するかを示す代替位置情報とが記録されている領域をいう。各ゾーン領域はその内部にユーザ領域を有すると共に、境界部に代替領域及び未使用領域を有している。ユーザ領域は、ファイルシステムが記録用領域として利用することができる領域をいう。代替領域は、欠陥セクタが存在する場合に代替使用される領域である。未使用領域は、データ記録に使用されない領域である。未使用領域は、2トラック分程度設けられる。未使用領域を設けているのは、ゾーン内では隣接するトラックの同じ位置にセクタアドレスが記録されているが、Z−CLVではゾーン境界に隣接するトラックではセクタアドレスの記録位置が異なるため、それに起因するセクタアドレス誤判別を防止するためである。
このように、ゾーン境界にはデータ記録に使用されないセクタが存在する。そのため、データ記録に使用されるセクタのみを連続的に示すように、DVD−RAMディスクは、内周から順に論理セクタ番号(LSN:Logical Sector Number)をユーザ領域の物理セクタに割り当てている。
図6(a),(b)は、論理セクタにより構成されるDVD−RAMディスクの論理的なデータ空間を示す図である。論理的なデータ空間は、ボリューム空間と呼称され、ユーザデータを記録する。ボリューム空間は、記録データをファイルシステムで管理する。すなわち、データを格納する1群のセクタをファイルとして、さらには1群のファイルをディレクトリとして管理するための情報がボリューム空間内のパーティション空間内に記録され、パーティション空間等を管理するためのボリューム構造情報がボリューム空間の先頭と終端に記録される。DVDレコーダ装置で用いられるファイルシステムは、UDFと呼称され、ISO13346規格に準拠している。
なお、上記1群のセクタは、ボリューム空間で必ずしも連続的には配置されず、部分的に離散配置される。このため、ファイルシステムは、ファイルを構成するセクタ群のうち、ボリューム空間で連続的に配置される1群のセクタをエクステントとして管理し、ファイルを関連のあるエクステントの集合として管理する。
図7は、DVD−RAMディスクに記録される動画データのディレクトリとファイルの構造を示す図である。ルートディレクトリの下に、VIDEO_RTディレクトリがあり、この下に、再生用のデータである各種オブジェクトのファイルと、これらの再生順序や各種属性を示す管理情報としてVIDEO Managerファイルが格納される。オブジェクトは、MPEG規格に準拠したデータであり、PS_VOB、TS1_VOB、TS2_VOB、AOB、POB、MNFがある。
このうち、PS_VOB、AOB及びPOBは、MPEGのプログラムストリーム(PS)であり、TS1_VOB及びTS2_VOBは、トランスポートストリーム(TS)である。プログラムストリームは、パッケージメディアにAV情報を格納することを考慮されたデータ構造を有し、一方、トランスポートストリームは通信メディアを考慮したデータ構造を有する。
一般的には、PS_VOB、TS1_VOB及びTS2_VOBは、いずれも映像情報と音声情報を有し、映像情報が主体となるオブジェクトである。このうち、TS1_VOBは、原則、DVDレコーダ装置によりエンコードが行なわれ、内部のピクチャ構造が詳細に管理されているオブジェクトであり、TS2_VOBは、DVDレコーダ装置外でエンコードされたオブジェクトであり、内部のピクチャ構造等のデータ構造が一部不明なオブジェクトである。典型的には、TS1_VOBは、外部から入力されるアナログビデオ信号をDVDレコーダ装置がトランスポートストリームにエンコードしたオブジェクトであり、TS2_VOBは、外部から入力されるデジタルビデオ信号をエンコードすることなく直接ディスクに記録したオブジェクトである。AOB、POBは、MPEGのプログラムストリームであり、AOBは音声情報が主体となるオブジェクトであり、POBは静止画が主体となるオブジェクトである。MNFは、製造業者固有のファイルであり、記録/再生装置の動作を支援するための付加情報を格納する。
なお、これらPS_VOB、POB、AOB、TS1_VOB、TS2_VOBについて、必ずしもすべてを記録する必要はない。また、上述した、映像情報主体、音声情報主体とは、ビットレートの割当てが大きいことを意味する。VOBは映画等のアプリケーションに用いられ、AOBは音楽アプリケーションに用いられる。
(4.再生されるAV情報の概要)
図8は、DVDディスクに各種AVオブジェクトとして記録されるMPEGデータの構造を示す図である。図8に示されるように、ビデオストリーム及びオーディオストリームは、それぞれ分割され多重される。MPEG規格においては、多重化後のストリームをシステムストリームと呼称する。DVDの場合、DVD固有の情報が設定されたシステムストリームをVOB(Video Object)と呼称している。分割の単位は、パック・パケットと称され、約2KByteのデータ量を有する。
図8は、DVDディスクに各種AVオブジェクトとして記録されるMPEGデータの構造を示す図である。図8に示されるように、ビデオストリーム及びオーディオストリームは、それぞれ分割され多重される。MPEG規格においては、多重化後のストリームをシステムストリームと呼称する。DVDの場合、DVD固有の情報が設定されたシステムストリームをVOB(Video Object)と呼称している。分割の単位は、パック・パケットと称され、約2KByteのデータ量を有する。
ビデオストリームは、MPEG規格で符号化されており、可変ビットレートで圧縮され、動きが激しい等の複雑な映像であればビットレートが高くなっている。MPEG規格では、映像の各ピクチャは、Iピクチャ、Pピクチャ、Bピクチャに種類分けして符号化される。このうち、Iピクチャはフレーム内で完結する空間的な圧縮符号化が施されており、Pピクチャ、Bピクチャはフレーム間の相関を利用した時間的な圧縮符号化が施されている。MPEGでは、少なくともIピクチャを含む区間をGOP(Group of Picture)として管理する。GOPは、早送り再生等の特殊再生におけるアクセスポイントになる。フレーム内圧縮されたIピクチャを有するためである。一方、音声ストリームの符号化には、DVDの場合、MPEGオーディオであるAAC、MP3に加え、AC3やLPCMの符号化が用いられる。図8に示されるように、GOPを構成するビデオ情報とそれに付随する音声情報とを含む多重化後のデータ単位は、VOBU(Video Object Unit)と称される。
VOBUには、当該動画区間の管理用の情報をヘッダ情報として含ませる場合がある。上記図8で説明したシステムストリームには、プログラムストリーム(PS)とトランスポートストリーム(TS)がある。前者は、パッケージメディアを考慮したデータ構造を有し、後者は通信メディアを考慮したデータ構造を有する。
図9は、プログラムストリームとトランスポートストリームのデータ構造の概要を説明するための図である。プログラムストリームは、伝送及び多重化の最小単位である固定長のパックからなり、パックはさらに、1つ以上のパケットを有する。パックもパケットもヘッダ部とデータ部を有する。MPEGではデータ部をペイロードと称する。DVDの場合はパックの固定長はセクタサイズと整合性をとり、2KBになる。パックは複数のパケットを有することができるが、DVDの映像や音声を格納するパックは1パケットのみを有するため、特別な場合を除いて1パック=1パケットになる。
一方、トランスポートストリームの伝送及び多重化の単位は固定長のTSパケットからなる。TSパケットのサイズは188Bであり、通信用規格であるATM伝送との整合性をとっている。TSパケットは1つ以上が集まりPESパケットを構成する。PESパケットは、プログラムストリームとトランスポートストリームで共通する概念であり、データ構造は共通である。プログラムストリームのパックに格納されるパケットはPESパケットを直接構成し、トランスポートストリームのTSパケットは1つ以上が集まりPESパケットを構成する。
また、PESパケットは符号化の最小単位であり、符号化が共通するビデオ情報、オーディオ情報をそれぞれ格納する。即ち、一つのPESパケット内に符号化方式の異なるビデオ情報、オーディオ情報が混在して格納されることはない。ただし、同じ符号化方式であればピクチャバウンダリやオーディオフレームのバウンダリは保証せずともよい。図9に示されるように、複数のPESパケットで1つのIピクチャを格納したり、1つのPESパケットに複数のピクチャデータを格納したりするケースもありうる。
図10は、トランスポートストリームのデータ構造を示した図であり、図11は、プログラムストリームのデータ構造を示した図である。図10、図11に示されるように、TSパケットは、TSパケットヘッダと、適用フィールドと、ペイロード部から構成される。TSパケットヘッダにはPID(Packet Identifier)が格納され、これにより、TSパケットが所属するビデオストリーム又はオーディオストリーム等の各種ストリームが識別される。
適用フィールドにはPCR(Program Clock Reference)が格納される。PCRは、ストリームをデコードする機器の基準クロック(STC)の参照値である。機器は、典型的にはPCRのタイミングでシステムストリームをデマルチプレクスし、ビデオストリーム等の各種ストリームに再構築する。
PESヘッダには、DTS(Decoding Time Stamp)とPTS(Presentation Time Stamp)が格納される。DTSは、当該PESパケットに格納されるピクチャ/オーディオフレームのデコードタイミングを示し、PTSは、映像音声出力等のプレゼンテーションタイミングを示す。なお、すべてのPESパケットヘッダにPTS、DTSを有する必要はなく、Iピクチャの先頭データが格納開始されるPESパケットのヘッダにPTS、DTSがあればデコード及び出力に支障はない。
図12は、TSパケットの構造の詳細を示す図である。図12に示されるように、適用フィールドにはPCRに加えて、ランダムアクセス表示フラグが格納され、当該フラグにより、対応するペイロード部にビデオ・オーディオのフレーム先頭であってエントリポイントとなり得るデータを格納するか否かを示す。また、TSパケットのヘッダ部には、前述したPIDに加えて、PESパケットの開始を示すユニット開始表示フラグ、適用フィールドが後続するか否かを示す適用フィールド制御情報も格納される。
図13は、プログラムストリームを構成するパックの構造を示す図である。このパックは、パックヘッダにSCRとStreamIDを有する。SCRは、トランスポートストリームのPCRと、StreamIDはPIDと実質同じである。またPESパケットのデータ構造はトランスポートストリームと共通であるため、PESヘッダにPTSとDTSが格納される。
プログラムストリームとトランスポートストリームの大きな違いの1つに、トランスポートストリームではマルチプログラムが許される点がある。即ち、番組という単位では1つの番組しかプログラムストリームは伝送できないが、トランスポートストリームは複数の番組を同時に伝送することを想定している。このため、トランスポートストリームでは、番組毎に番組を構成するビデオストリームとオーディオストリームの何れであるかを再生装置が識別することが必要になる。
図14(a)〜(d)は、番組を構成するオーディオストリームとビデオストリームの構成情報を伝送するPATテーブル及びPMAPテーブルを示す図である。図14(a)〜(d)に示されるように、番組毎に使用されるビデオストリームとオーディオストリームの組合せに関する情報がPMAPテーブルに格納され、番組とPMAPテーブルの組合せに関する情報がPATテーブルに格納される。再生装置は、PATテーブル、PMAPテーブルにより出力が要求された番組を構成するビデオストリームとオーディオストリームを検出することができる。
次に、図15を用いて、上述してきたプログラムストリームのパックと、トランスポートストリームのTSパケットのディスク上の配置に関して説明する。
図15の(a)に示されるように、16個のセクタはECCブロックを構成する。プログラムストリームの形式をとるビデオオブジェクト(PS_VOB)を構成するパック(PS Pack)は、図15の(b)に示されるように、セクタバウンダリで配置される。パックサイズもセクタサイズも2KBだからである。
図15の(a)に示されるように、16個のセクタはECCブロックを構成する。プログラムストリームの形式をとるビデオオブジェクト(PS_VOB)を構成するパック(PS Pack)は、図15の(b)に示されるように、セクタバウンダリで配置される。パックサイズもセクタサイズも2KBだからである。
一方、トランスポートストリームの形式をとるビデオオブジェクト(TS1−VOB/TS2−VOB)は、図15の(c)に示されるように、カプセル(Capsule)という8KBのサイズを有する単位でECCブロック内に配置される。このカプセルは、18Bのヘッダ領域を有し、データ領域にはATS情報が付加されたTSパケットが43個配置される。ATS情報(Arrival Time Stamp Information)は、DVDレコーダ装置により生成し付加される情報であって、当該パケットがDVDレコーダ装置に外部より伝送されてきたタイミングを示す情報である。
上述の説明では、8KBのCapsuleに43個のMPEGトランスポートパケットを格納するとしたが、本発明はこれに限る訳ではなく、1つのATS(固定バイト長)と1つのMPEGトランスポートパケットが対になった形式で、TS1−VOB/TS2−VOBを形成する等の方法で記録してもよい。
(5.AV情報の管理情報と再生制御の概要)
図16(a),(b)及び図17(a),(b)は、図7が示すところのビデオ管理情報(Video Manager)と称されるファイルのデータ構造を示す図である。ビデオ管理情報は、各種オブジェクトのディスク上の記録位置等の管理情報を示すオブジェクト情報と、オブジェクトの再生順序等を示す再生制御情報とを有する。
図16(a),(b)及び図17(a),(b)は、図7が示すところのビデオ管理情報(Video Manager)と称されるファイルのデータ構造を示す図である。ビデオ管理情報は、各種オブジェクトのディスク上の記録位置等の管理情報を示すオブジェクト情報と、オブジェクトの再生順序等を示す再生制御情報とを有する。
図16(a)は、ディスクに記録されるオブジェクトとして、PS−VOB#1〜PS−VOB#n、TS1−VOB#1〜TS1−VOB#n、TS2−VOB#1〜TS2−VOB#nがある場合を示す。
図16(a)に示されるように、これらオブジェクトの種類に応じて、PS−VOB用の情報テーブルと、TS1−VOB用の情報テーブルと、TS2−VOB用の情報テーブルが個別に存在すると共に、各情報テーブルは各オブジェクトのVOB情報を有している。VOB情報は、それぞれ、対応するオブジェクトの一般情報と、オブジェクトの属性情報と、オブジェクトの再生時刻をディスク上のアドレスに変換するためのアクセスマップ、当該アクセスマップの管理情報を有している。一般情報は、対応するオブジェクトの識別情報、オブジェクトの記録時刻、製造者ID等を有し、属性情報は、ビデオストリームのコーディングモードをはじめとするビデオストリーム情報(V_ATR)と、オーディオストリームの本数(AST_Ns)と、オーディオストリームのコーディングモードをはじめとするオーディオストリーム情報(A_ATR)とから構成される。
アクセスマップを必要とする理由は2つある。
まず、1つは、再生経路情報がオブジェクトのディスク上での記録位置をセクタアドレス等で直接的に参照するのを避け、オブジェクトの再生時刻で間接的に参照できるようにするためである。RAM媒体の場合、オブジェクトの記録位置が編集等で変更される場合がおこりうるが、再生経路情報がセクタアドレス等で直接的にオブジェクトの記録位置を参照している場合、更新すべき再生経路情報が多くなるためである。一方、再生時刻で間接的に参照している場合は、再生経路情報の更新は不要で、アクセスマップの更新のみ行なえばよい。
まず、1つは、再生経路情報がオブジェクトのディスク上での記録位置をセクタアドレス等で直接的に参照するのを避け、オブジェクトの再生時刻で間接的に参照できるようにするためである。RAM媒体の場合、オブジェクトの記録位置が編集等で変更される場合がおこりうるが、再生経路情報がセクタアドレス等で直接的にオブジェクトの記録位置を参照している場合、更新すべき再生経路情報が多くなるためである。一方、再生時刻で間接的に参照している場合は、再生経路情報の更新は不要で、アクセスマップの更新のみ行なえばよい。
2つ目の理由は、AVストリームが一般に時間軸とデータ(ビット列)軸の二つの基準を有しており、この二つの基準間には完全な相関性がないためである。例えば、ビデオストリームの国際標準規格であるMPEG−2ビデオの場合、可変ビットレート(画質の複雑さに応じてビットレートを変える方式)を用いることが主流になりつつあり、この場合、先頭からのデータ量と再生時間との間に比例関係がないため、時間軸を基準にしたランダムアクセスができない。この問題を解決するため、オブジェクト情報は、時間軸とデータ(ビット列)軸との間の変換を行なうためのアクセスマップを有している。
図16(a)に示されるように、再生制御情報は、ユーザ定義再生経路情報テーブル、オリジナル再生経路情報テーブル、タイトルサーチポインタを有する。
図17(a),(b)に示されるように、再生経路には、DVDレコーダ装置がオブジェクト記録時に記録されたすべてのオブジェクトを示すように自動生成するオリジナル再生経路情報と、ユーザが自由に再生シーケンスを定義できるユーザ定義再生経路情報の2種類がある。再生経路は、DVDではPGC情報(Program Chain Information)と統一的に呼称され、また、ユーザ定義再生経路情報はU−PGC情報、オリジナル再生経路情報はO−PGC情報と呼称される。これらのO−PGC情報、U−PGC情報は、それぞれオブジェクトの再生区間であるセルを示す情報であるセル情報をテーブル形式で列挙する情報である。O−PGC情報で示されるオブジェクトの再生区間は、オリジナルセル(O−CELL)と呼称され、U−PGC情報で示されるオブジェクトの再生区間はユーザセル(U−CELL)と呼称される。セルは、オブジェクトの再生開始時刻と再生終了時刻でオブジェクトの再生区間を示し、再生開始時刻と再生終了時刻は前述したアクセスマップにより、オブジェクトの実際のディスク上の記録位置情報に変換される。
図17(b)に示されるように、PGC情報により示されるセル群は、テーブルのエントリー順序に従って順次再生される一連の再生シーケンスを構成する。
図17(b)に示されるように、PGC情報により示されるセル群は、テーブルのエントリー順序に従って順次再生される一連の再生シーケンスを構成する。
図18は、オブジェクト、セル、PGC、アクセスマップの関係を具体的に説明するための図である。図18に示されるように、オリジナルPGC情報50は少なくとも1つのセル情報60、61、62、63を含む。 セル情報60〜63は、再生するオブジェクトを指定し、かつ、そのオブジェクトタイプ、オブジェクトの再生区間を指定する。オリジナルPGC情報50におけるセル情報の記録順序は、各セルが指定するオブジェクトが再生されるときの再生順序を示す。
一つのセル情報60には、それが指定するオブジェクトの種類を示すタイプ情報(Type)60aと、オブジェクトの識別情報であるオブジェクトID(Object ID)60bと、時間軸上でのオブジェクト内の開始時刻情報(Start_PTM)60cと、時間軸上でのオブジェクト内の終了時刻情報(End_PTM)60dと、Entry Point情報(EPI)60eが含まれる。EPI60eは、時刻情報で規定されるものであり、例えばブックマークのような役割を果たすものである。図18には示していないが、セル中のEntry Pointの個数は、セル情報中に記録されている。また、EPIは、そのEntry PointのPTMと、Entry Pointの種別情報などで構成されている。データ再生時は、オリジナルPGC情報50内のセル情報60が順次読み出され、各セルにより指定されるオブジェクトが、セルにより指定される再生区間分再生されることになる。アクセスマップ80cは、セル情報が示す開始時刻情報と終了時刻情報とをオブジェクトのディスク上での位置情報に変換する。
上述したマップ情報であるが、オブジェクトの記録時に共に生成され記録される。マップを生成するためには、オブジェクトのデータ内のピクチャ構造を解析する必要がある。具体的には図9で示すIピクチャの位置の検出と、図10、図11に示す当該Iピクチャの再生時刻であるPTS等のタイムスタンプ情報の検出が必要になる。
ここで、PS−VOBとTS1−VOBとTS2−VOBのマップ情報を生成する際に生じる問題について、以下で説明する。PS−VOB、TS−VOB1は、上記図1で説明したように、主として、受信されたアナログ放送をDVDレコーダ装置がMPEGストリームにエンコードすることにより生成される。このため、Iピクチャや各種タイムスタンプの情報は自らが生成しており、DVDレコーダ装置にとってストリーム内部のデータ構造は明確であり、マップ情報の生成に何の問題も生じない。
次に、TS2−VOBであるが、同じく上記図1で説明したように、主として、受信されたデジタル放送をDVDレコーダ装置がエンコードすることなく直接ディスクに記録する。このため、PS−VOBのようにIピクチャの位置とタイムスタンプ情報を自ら生成するわけではないため、DVDレコーダ装置にとってストリーム内部のデータ構造は明確ではなく、記録するデジタルストリームからこれら情報を検出することが必要になる。このため、DVDレコーダ装置は、レコーダ外部にてエンコードされたストリームを記録しているTS2−VOBのマップ情報については下記のようにIピクチャとタイムスタンプを検出する。
まず、Iピクチャの検出は、図12に示されるTSパケットの適用フィールドのランダムアクセス表示情報を検出することにより行なう。また、タイムスタンプの検出については、PESヘッダのPTSを検出することにより行なう。タイムスタンプについては、PTSの代わりに、適用フィールドのPCRや、TSパケットがDVDレコーダ装置に伝送されてきた到着タイミングであるATSで代用することもある。いずれにせよ、DVDレコーダ装置はMPEGストリームのビデオ層のデータ構造を解析することなく、その上位層であるシステム層の情報により、Iピクチャの位置を検出する。これは、マップ情報を生成するためにビデオ層の解析まで行なうのはシステムの負荷が大きいためである。
また、システム層の検出が不可能な場合もありうるが、この場合は、マップ情報が生成できないため、有効なマップ情報が無いことを示すことが必要になる。DVDレコーダ装置では、図16(a),(b)に示されるマップ管理情報によりこれらが示される。図16(b)に示されるように、マップ管理情報は、マップ有効性情報と自己エンコーディングフラグとを有する。自己エンコーディングフラグは、DVDレコーダ装置自らがエンコードしたオブジェクトであることを示し、内部のピクチャ構造が明確であり、マップ情報のタイムスタンプ情報やIピクチャの位置情報等が正確であることを示している。また、マップ有効性情報は、有効なアクセスマップがあるかないかを示す。
なお、システム層の検出が不可能な例としては、適用フィールドが設定されていない場合や、そもそもMPEGトランスポートストリームでないデジタルストリームの場合が考えうる。デジタル放送が世界各国で各種方式が成立しうるため、DVDレコーダ装置がマップを生成できないオブジェクトを記録するケースも当然予想される。例えば、日本のデジタル放送を想定したDVDレコーダ装置を米国で使用し、米国のデジタル放送を記録した場合、マップを生成できないオブジェクトを記録するケースが出てくる。
ただし、DVDレコーダ装置はマップ情報が生成されないオブジェクトについても、先頭から順次再生することは可能である。この場合、記録されたデジタルストリームをデジタルI/Fを介して、当該ストリームに対応したSTBに出力することでこれを映像再生することができる。
(6.再生機能の基本動作)
次に、図19を用いて、上記光ディスクを再生するDVDレコーダプレーヤの再生動作について説明する。
図19に示されるように、このDVDレコーダプレーヤは、DVD−RAMディスク100からデータを読み出す光ピックアップ201と、読み出したデータのエラー訂正等を行なうECC処理部202と、エラー訂正後の読み出しデータを一時的に格納するトラックバッファ203と、動画オブジェクト(PS_VOB)等のプログラムストリームを再生するPSデコーダ205と、デジタル放送オブジェクト(TS1_VOB)のトランスポートストリームを再生するTSデコーダ206と、オーディオ・オブジェクト(AOB)を再生するオーディオデコーダ207と、静止画オブジェクト(POB)をデコードする静止画デコーダ208と、各デコーダ205〜208へのデータ入力を切り替えるスイッチ210と、プレーヤの各部を制御する制御部211とを備える。
次に、図19を用いて、上記光ディスクを再生するDVDレコーダプレーヤの再生動作について説明する。
図19に示されるように、このDVDレコーダプレーヤは、DVD−RAMディスク100からデータを読み出す光ピックアップ201と、読み出したデータのエラー訂正等を行なうECC処理部202と、エラー訂正後の読み出しデータを一時的に格納するトラックバッファ203と、動画オブジェクト(PS_VOB)等のプログラムストリームを再生するPSデコーダ205と、デジタル放送オブジェクト(TS1_VOB)のトランスポートストリームを再生するTSデコーダ206と、オーディオ・オブジェクト(AOB)を再生するオーディオデコーダ207と、静止画オブジェクト(POB)をデコードする静止画デコーダ208と、各デコーダ205〜208へのデータ入力を切り替えるスイッチ210と、プレーヤの各部を制御する制御部211とを備える。
DVD−RAMディスク100上に記録されているデータは、光ピックアップ201から読み出され、ECC処理部202を通してトラックバッファ203に格納される。トラックバッファ203に格納されたデータは、PSデコーダ205、TSデコーダ206、オーディオデコーダ207、静止画デコーダ208の何れかに入力されデコード及び出力される。
このとき、制御部211は、読み出すべきデータを図17(b)の再生経路情報(PGC)が示す再生シーケンスに基づき決定する。即ち、図17(b)の例であれば、制御部211は、VOB#1の部分区間(CELL#1)を最初に再生し、次いで、VOB#3の部分区間(CELL#2)を再生し、最後にVOB#2(CELL#3)と再生する制御を行なう。
また、制御部211は、図18に示される再生経路情報(PGC)のセル情報により、再生するセルのタイプ、対応するオブジェクト、オブジェクトの再生開始時刻、再生終了時刻を獲得することができる。制御部211は、セル情報により特定されるオブジェクトの区間のデータを、適合するデコーダに入力する。この際、制御部211は、セル情報のObject IDにより再生対象のオブジェクトを特定する。さらに、制御部211は、特定したオブジェクトの再生区間であるセルの特定を、セル情報のStartPTMとEndPTMを、対応するVOB情報のアクセスマップでディスク情報のアドレスに変換することにより行なう。
また、本実施形態のDVDレコーダプレーヤは、さらに、AVストリームを外部に供給するためのデジタルインタフェース204を有している。これにより、AVストリームをIEEE1394やIEC958などの通信手段を介して外部に供給することも可能である。これは、特に、自らがエンコードしていないTS2−VOBについては、プレーヤ内部に該当するデコーダが存在しないケースもありうるため、デコードすることなく、直接、デジタルインタフェース204を通じて外部のSTBに出力し、そのSTBで再生させることができる。外部にデジタルデータを直接出力する際には、制御部211は、図16(b)のマップ管理情報に基づき、ランダムアクセス再生が可能かを否か判断する。アクセスポイント情報フラグが有効であれば、アクセスマップはIピクチャの位置情報を有する。
このため、制御部211は、外部機器から早送り再生等の要求があれば、これに応じてIピクチャを含むデジタルデータをデジタルI/Fを介して外部機器に出力することができる。また、タイムアクセス情報フラグが有効であれば、タイムアクセスが可能である。このため制御部211は、外部の機器からのタイムアクセスの要求に応じて、指定された再生時刻に相当するピクチャデータを含むデジタルデータをデジタルI/Fを介して外部機器に出力することができる。
(7.記録機能の基本動作)
次に、図20を用いて上記光ディスクに対して記録、再生を行なう本発明に係るDVDレコーダの構成及び動作について説明する。
図20に示されるように、DVDレコーダ装置は、ユーザへの表示及びユーザからの要求を受け付けるユーザI/F部222、DVDレコーダ全体の管理及び制御を司るシステム制御部212、VHF及びUHFを受信するアナログ放送チューナ213、アナログ信号をデジタル信号に変換しMPEGプログラムストリームにエンコードするエンコーダ214、デジタル衛星放送を受信するデジタル放送チューナ215、デジタル衛星で送られるMPEGトランスポートストリームを解析する解析部216、テレビ及びスピーカなどの表示部217、AVストリームをデコードするデコーダ218とを備える。
次に、図20を用いて上記光ディスクに対して記録、再生を行なう本発明に係るDVDレコーダの構成及び動作について説明する。
図20に示されるように、DVDレコーダ装置は、ユーザへの表示及びユーザからの要求を受け付けるユーザI/F部222、DVDレコーダ全体の管理及び制御を司るシステム制御部212、VHF及びUHFを受信するアナログ放送チューナ213、アナログ信号をデジタル信号に変換しMPEGプログラムストリームにエンコードするエンコーダ214、デジタル衛星放送を受信するデジタル放送チューナ215、デジタル衛星で送られるMPEGトランスポートストリームを解析する解析部216、テレビ及びスピーカなどの表示部217、AVストリームをデコードするデコーダ218とを備える。
また、記録機がDVDカムコーダ装置である場合、映像を入力するカメラ部223とカメラ部223から送られてくるAV信号をJPEGストリームにエンコードする静止画エンコーダ224を備える。
また、カメラ部223からAV信号をエンコーダ214へ送ることにより、動画のMPEGプログラムストリームへのエンコードが行なわれる。デコーダ218は、上記図19に示した第1及び第2のデコーダ等からなる。さらに、DVDレコーダ装置は、デジタルI/F部219と、書き込みデータを一時的に格納するトラックバッファ220と、DVD−RAMディスク100にデータを書き込むドライブ221とを備える。デジタルI/F部219は、IEEE1394やUSB等の通信手段により外部機器にデータを出力するインタフェースである。
このように構成されるDVDレコーダにおいては、ユーザI/F部222が最初にユーザからの要求を受ける。ユーザI/F部222はユーザからの要求をシステム制御部212に伝え、システム制御部212はユーザからの要求を解釈すると共に各モジュールへの処理要求を行なう。録画には、入力されるデジタルデータを自らエンコードするセルフエンコーディングと、エンコード済みのデジタルデータをエンコードすることなくディスクに記録するアウトサイドエンコーディングがある。
(7.1 セルフエンコーディングによる録画動作)
最初に、セルフエンコーディングの録画について、アナログ放送をPS−VOBにエンコードして記録する動作を以下、具体的に説明する。システム制御部212はアナログ放送チューナ213への受信とエンコーダ214へのエンコードを要求する。エンコーダ214はアナログ放送チューナ213から送られるAVデータをビデオエンコード、オーディオエンコード及びシステムエンコードしてトラックバッファ220に送出する。
最初に、セルフエンコーディングの録画について、アナログ放送をPS−VOBにエンコードして記録する動作を以下、具体的に説明する。システム制御部212はアナログ放送チューナ213への受信とエンコーダ214へのエンコードを要求する。エンコーダ214はアナログ放送チューナ213から送られるAVデータをビデオエンコード、オーディオエンコード及びシステムエンコードしてトラックバッファ220に送出する。
エンコーダ214は、エンコード開始直後に、エンコードしているMPEGプログラムストリームの先頭データが有するタイムスタンプ情報を再生開始時刻(PS_VOB_V_S_PTM)としてシステム制御部212に送り、続いてアクセスマップを作成するために必要な情報をエンコード処理と平行してシステム制御部212に送る。この値は、後に生成される図18に示されるセル情報のStart_PTMに設定される。タイムスタンプ情報は、一般的にはPTSになるがSCRで代用してもよい。
次に、システム制御部212は、ドライブ221に対して記録要求を出し、ドライブ221はトラックバッファ220に蓄積されているデータを取り出しDVD−RAMディスク100に記録する。この際、前述した連続領域(CDA)をディスク上の記録可能領域から検索し、検索した連続領域にデータを記録していく。録画終了はユーザからのストップ要求によって指示される。ユーザからの録画停止要求は、ユーザI/F部222を通してシステム制御部212に伝えられ、システム制御部212はアナログ放送チューナ213とエンコーダ214に対して停止要求を出す。
エンコーダ214は、システム制御部212からのエンコード停止要求を受けエンコード処理を止め、最後にエンコードを行なったMPEGプログラムストリームの終端データが有するタイムスタンプ情報を再生終了時刻(PS_VOB_V_E_PTM)として、システム制御部212に送る。この値は、図18に示されるセル情報のEnd_PTMに設定される。タイムスタンプ情報は、通常PTSが設定されるが、SCRで代用してもよい。
システム制御部212は、エンコード処理終了後、エンコーダ214から受け取った情報に基づき、上記図16(a)に示されるPS−VOB用のVOB情報(PS−VOBI)と再生制御情報を生成する。ここで、生成されるVOB情報はオブジェクト種類に適合したアクセスマップとマップ管理情報とを含む。システム制御部212は、マップ管理情報のマップ有効性情報を有効に設定すると共に、自己エンコーディングフラグをONにする。
また、記録されるオブジェクトを再生対象の1つとする上記図17(a)に示されるオリジナル再生経路(O−PGC情報)が生成される。生成されたO−PGC情報はオリジナル再生経路テーブルに追記される。オリジナル再生経路(O−PGC情報)はセル情報を有する。セル情報のタイプ情報には「PS−VOB」が設定される。
最後に、システム制御部212は、ドライブ221に対してトラックバッファ220に蓄積されているデータの記録終了と、PS−VOB用のVOB情報(PS_VOBI)及び再生制御情報の記録を要求し、ドライブ221がトラックバッファ220の残りデータと、これらの情報をDVD−RAMディスク100に記録し、録画処理を終了する。
なお、アナログ放送をTS1−VOBにエンコードしてももちろんよい。この場合、エンコーダ214はアナログ信号をデジタル信号に変換しMPEGトランスポートストリームにエンコードするエンコーダである必要があり、セル情報内のタイプ情報は「TS1−VOB」に設定される。この場合のStart_PTM及びEnd_PTMは、PTSでもよいし、PCRを用いてもよい。
また、カメラ部からのAV信号をセルフエンコーディングする場合でも、エンコーダ214への入力がアナログ放送チューナからカメラ部に変わるだけで、上述の処理については基本的に同じである。
(7.2 アウトサイドエンコーディングによる録画動作)
次に、アウトサイドエンコーディングによる録画について、デジタル放送を録画する動作を通して、以下、具体的に説明する。この場合、記録されるオブジェクトの種類はTS2−VOBになる。ユーザによるデジタル放送録画要求は、ユーザI/F部222を通してシステム制御部212に伝えられる。システム制御部212はデジタル放送チューナ215への受信と解析部216へのデータ解析を要求する。
次に、アウトサイドエンコーディングによる録画について、デジタル放送を録画する動作を通して、以下、具体的に説明する。この場合、記録されるオブジェクトの種類はTS2−VOBになる。ユーザによるデジタル放送録画要求は、ユーザI/F部222を通してシステム制御部212に伝えられる。システム制御部212はデジタル放送チューナ215への受信と解析部216へのデータ解析を要求する。
デジタル放送チューナ215から送られるMPEGトランスポートストリームは、解析部216を通してトラックバッファ220へ転送される。解析部216は、最初にデジタル放送として受信されたエンコード済みのMPEGトランスポートストリーム(TS2−VOB)のVOB情報(TS2_VOBI)の生成に必要な情報として、トランスポートストリームの先頭データが有するタイムスタンプ情報を開始時刻情報(TS2_VOB_V_S_PTM)として抽出し、システム制御部212に送る。開始時刻情報は、後に生成される上記図18に示されるセル情報のStart_PTMに設定される。このタイムスタンプ情報は、PCR又はPTSになる。また、オブジェクトがDVDレコーダに伝送されてくるタイミングであるATSで代用してもよい。
解析部216は、さらに、MPEGトランスポートストリームのシステム層を解析し、アクセスマップ作成に必要な情報を検出する。Iピクチャのオブジェクト内での位置については、前述したようにTSパケットヘッダ中の適用フィールド(adaptation field)内のランダムアクセスインジケータ(randam_access_indicator)をもとに検出する。
次に、システム制御部212は、ドライブ221に対して記録要求を出力し、ドライブ221はトラックバッファ220に蓄積されているデータを取り出しDVD−RAMディスク100に記録する。この時、システム制御部212はファイルシステムのアロケーション情報からディスク上のどこに記録するかを併せてドライブ221に指示する。この際、前述した連続領域(CDA)をディスク上の記録可能領域から検索し、検索した連続領域にデータを記録していく。
録画終了は、ユーザからのストップ要求によって指示される。ユーザからの録画停止要求は、ユーザI/F部222を通してシステム制御部212に伝えられ、システム制御部212はデジタル放送チューナ215と解析部216に停止要求を出す。
解析部216は、システム制御部212からの解析停止要求を受け解析処理を止め、最後に解析を行なったMPEGトランスポートストリームの終了区間のデータが有するタイムスタンプ情報を表示終了時刻(TS2_VOB_V_E_PTM)としてシステム制御部212に送る。この値は、上記図18に示されるセル情報のEnd_PTMに設定される。このタイムスタンプ情報は、PCR又はPTSになる。また、オブジェクトがDVDレコーダに伝送されてくるタイミングであるATSで代用してもよい。
システム制御部212は、デジタル放送の受信処理終了後、解析部216から受け取った情報に基づき、図16(a)に示されるTS2−VOB用のVOB情報(TS2_VOBI)と再生制御情報を生成する。ここで、生成されるVOB情報はオブジェクト種類に適合したアクセスマップとマップ管理情報とを含む。システム制御部212は、Iピクチャのオブジェクト内での位置等を検出できる有効なアクセスマップを生成した場合にはマップ管理情報のマップ有効性情報を有効に設定する。
また、自己エンコーディングフラグはOFF設定をする。有効なアクセスマップを生成できなかった場合にはマップ有効性情報を無効に設定する。なお、有効なアクセスマップを生成できないケースとしては、対応していないデジタル放送を受信した場合や、適用フィールドにランダムアクセス情報が無い場合等が考えられる。また、デジタルI/Fから直接入力された場合は、MPEGトランスポートストリームでないケースもありえ、この場合も当然、マップ有効性情報は無効に設定される。
また、記録されるオブジェクトを再生対象の1つとする上記図17(a)に示されるオリジナル再生経路(O−PGC情報)が生成される。生成されたO−PGC情報はオリジナル再生経路テーブルに追記される。オリジナル再生経路(O−PGC情報)はセル情報を有する。セル情報のタイプ情報には「TS2−VOB」が設定される。
最後に、システム制御部212は、ドライブ221に対してトラックバッファ220に蓄積されているデータの記録終了と、TS2−VOB用のVOB情報(TS2_VOBI)及び再生制御情報の記録を要求し、ドライブ221がトラックバッファ220の残りデータと、これらの情報をDVD−RAMディスク100に記録し、録画処理を終了する。
以上、ユーザからの録画開始及び終了要求をもとに動作を説明したが、例えば、VTRで使用されているタイマー録画の場合では、ユーザの代わりにシステム制御部が自動的に録画開始及び終了要求を発行するだけであって、本質的にDVDレコーダの動作が異なるものではない。
次に、半導体メモリを記録媒体としたデジタルスチルカメラ(DSC)へ、デジタル画像データの符号化規格であるJPEGで符号化した画像情報を記録する、DSCについて、下記の順序で説明する。
1.DSC装置のシステム概要
2.記録媒体の概要
3.再生されるAV情報の概要
4.再生機能の基本動作
5.記録機能の基本動作
1.DSC装置のシステム概要
2.記録媒体の概要
3.再生されるAV情報の概要
4.再生機能の基本動作
5.記録機能の基本動作
(1.DSC装置のシステム概要)
図21は、DSC装置の外観と関連機器とのインタフェースの一例を説明するための図である。図21に示されるように、DSCには記録媒体としてDVDのような光ディスクや、半導体メモリカードが装填され、主に静止画像情報の記録再生を行なう。操作は一般的に機器上のスイッチや液晶モニタ上のタッチパネル、リモコン等で行なわれる。
図21は、DSC装置の外観と関連機器とのインタフェースの一例を説明するための図である。図21に示されるように、DSCには記録媒体としてDVDのような光ディスクや、半導体メモリカードが装填され、主に静止画像情報の記録再生を行なう。操作は一般的に機器上のスイッチや液晶モニタ上のタッチパネル、リモコン等で行なわれる。
DSCは、レンズやCCD装置などからなるカメラ部を持ち、カメラ部から出力されるAV信号はDSC内で符号化して記録媒体に記録する。一方、静止画像情報が記録された記録媒体は、DSCにより再生され外部に出力される。例えば、アナログ信号で出力して、テレビジョン装置に入力し映像表示される。あるいは、デジタルI/Fを通じて、パーソナルコンピュータやDVDレコーダ等へデジタルの静止画像データが送られる。
また、記録媒体であるDVDディスクや半導体メモリカードに、DSC以外の、パーソナルコンピュータやDVDレコーダなどで静止画像情報が記録再生される場合がある。DSC外で静止画像情報が記録された記録媒体であっても、DSCに装填されれば、DSCはこれを再生する。
なお、DSCとパーソナルコンピュータやDVDレコーダ等の外部機器との間のデジタルI/Fは、IEEE1394、ATAPI、SCSI、USB、バス方式の有線LAN、又はIEEE802.11などの無線LAN等がありうる。
(2.記録媒体の概要)
図22(a),(b)は、メモリカードに記録される静止画データのディレクトリとファイルの構造を示す図である。ここでは、DCF規格に従ったディレクトリ及びファイル構造を例に説明する。
図22(a),(b)は、メモリカードに記録される静止画データのディレクトリとファイルの構造を示す図である。ここでは、DCF規格に従ったディレクトリ及びファイル構造を例に説明する。
ルートディレクトリの下に、DCFイメージルートディレクトリ(ディレクトリ名:DCIM)があり、その下に画像格納用のDCFディレクトリがある。DCFディレクトリの下に再生用のデータであるDCFオブジェクトが格納される。
DCFオブジェクトは、DCFで定められた規定に従って記録されたファイル群であり、DCF基本ファイル、DCF拡張画像ファイル、DCFサムネイルファイル等からなる。
DCF基本ファイルは、DCFディレクトリ直下に記録され、DCF規格で定められたDCFファイル名と拡張子“JPG”を持ち、Exif規格に準拠しDCF規格で定めるデータ構造を有する画像ファイルである。
DCF拡張画像ファイルは、DCFディレクトリ直下に記録され、DCFファイル名を持つがDCF基本ファイルと異なる拡張子及びデータ構造を持つ画像ファイルである。
DCFサムネイルファイルは、DCF拡張画像ファイルのサムネイルを記録するための圧縮ファイルである。
DCFサムネイルファイルは、DCF拡張画像ファイルのサムネイルを記録するための圧縮ファイルである。
なお、これらDCF基本ファイル、DCF拡張画像ファイル、DCFサムネイルファイルについて、必ずしもすべてを記録する必要はない。また、DCFオブジェクト以外に、Motion JPEGファイルなどを記録する場合もある。
上述した、DCF基本ファイルやDCF拡張画像ファイルは、近年のCCD等画像入力装置の発達により、非常に高精細な静止画データとして記録されるようになってきた。
上述した、DCF基本ファイルやDCF拡張画像ファイルは、近年のCCD等画像入力装置の発達により、非常に高精細な静止画データとして記録されるようになってきた。
(3.再生されるAV情報の概要)
図23は、DSCで記録媒体にDCF基本ファイルして記録されるJPEGデータの構造を示す図である。DCF基本ファイルには、APP1(アプリケーション・データ・セグメント1)が格納されている。このAPP1には撮影時刻や絞り値等のメタデータが含まれる。また、160画素×120画素のサムネイル画像が必ず含まれる。APP1はExif付属情報とも呼ばれる。
図23は、DSCで記録媒体にDCF基本ファイルして記録されるJPEGデータの構造を示す図である。DCF基本ファイルには、APP1(アプリケーション・データ・セグメント1)が格納されている。このAPP1には撮影時刻や絞り値等のメタデータが含まれる。また、160画素×120画素のサムネイル画像が必ず含まれる。APP1はExif付属情報とも呼ばれる。
また、静止画像データは、JPEG規格で符号化・圧縮されて、Other Dataで示される領域中に格納される。
(4.再生機能の基本動作)
次に、図24を用いて、上記記録媒体を再生するDSCの再生動作について説明する。
図24に示されるように、DSCは、記録媒体1100からデータを読み出すデータ読み出し部1203と静止画データをデコードする静止画デコーダ1208と、読み出したデータをデジタル出力するデジタルインタフェース1205と静止画デコーダ1208とデジタルI/F部1205へのデータ入力を切り替えるスイッチ1210と、DSC各部を制御する制御部211とを備える。
次に、図24を用いて、上記記録媒体を再生するDSCの再生動作について説明する。
図24に示されるように、DSCは、記録媒体1100からデータを読み出すデータ読み出し部1203と静止画データをデコードする静止画デコーダ1208と、読み出したデータをデジタル出力するデジタルインタフェース1205と静止画デコーダ1208とデジタルI/F部1205へのデータ入力を切り替えるスイッチ1210と、DSC各部を制御する制御部211とを備える。
なお、データ読み出し部1203には必要に応じて、読み出したデータのエラー訂正等を行なうECC処理部やエラー訂正後の読み出しデータを一時的に格納するトラックバッファ等が含まれる。
記録媒体1100上に記録されているデータは、データ読み出し部1203で再生され、静止画デコーダ1208に入力されデコード及び出力される。また、データ読み出し部1203で読み出されたデータは、デジタルインタフェース1205を通じて外部に供給される。これにより、静止画像データをPC上のハードディスクやDVDレコーダ上のDVDディスクへコピーや移動することができる。
(5.記録機能の基本動作)
次に、図25を用いて、上記記録媒体に対して記録、再生を行なうDSCの構成及び動作について説明する。
次に、図25を用いて、上記記録媒体に対して記録、再生を行なうDSCの構成及び動作について説明する。
図25に示されるように、DSCは、ユーザへの表示及びユーザからの要求を受け付けるユーザI/F部1222、DSC全体の管理及び制御を司るシステム制御部1212、液晶モニタ及びスピーカなどの表示部1217、静止画像データをデコードするデコーダ1218とを備える。また、映像を入力するカメラ部1223から送られてくるAV信号をJPEGストリームにエンコードする静止画エンコーダ1224を備える。
データ記録・再生部1221は、記録媒体1100に対してデータの記録・再生を行なう。デジタルI/F部1219はIEEE1394やUSB等の通信手段により外部機器にデータを出力するインタフェースである。
このように構成されるDSCにおいては、ユーザI/F部1222が最初にユーザからの要求を受けるユーザI/F部1222はユーザからの要求をシステム制御部1212に伝え、システム制御部1212はユーザからの要求を解釈すると共に各モジュールへの処理要求を行なう。記録(撮影)には、入力されるデジタルデータを自らエンコードするセルフエンコーディングと、エンコード済みのデジタルデータをエンコードすることなくディスクに記録するアウトサイドエンコーディングがある。
(5.1 セルフエンコーディングによる静止画記録動作)
静止画の記録に関して、カメラ部1223から送られてくるAVデータをJPEGエンコードして記録する動作を以下、具体的に説明する。
静止画の記録に関して、カメラ部1223から送られてくるAVデータをJPEGエンコードして記録する動作を以下、具体的に説明する。
システム制御部1212はカメラ部1223へのAVデータ出力と静止画エンコーダ1224へのエンコードを要求する。静止画エンコーダ1224は、カメラ部1223から送られるAVデータをJPEGエンコードしデータ記録・再生部1221に送出する。データ記録・再生部1221は、システム制御部1212からの指示を受けながら、データを記録媒体1100に記録する。
このとき、システム制御部1212は、ファイルシステムの情報から、必要に応じてDCFイメージルートディレクトリやDCFディレクトリを作成し、既に記録されているDCFオブジェクトとファイル名が重ならないよう、名前を付けて、静止画ファイルを記録媒体1100に記録する。
一枚の静止画ファイルが記録されたら撮影は終了する。あるいは、ユーザから連続撮影の指示があった場合は、ユーザからのストップ要求によって終了するか、所定の枚数の静止画ファイルを記録して終了する。ユーザからの撮影停止要求は、ユーザI/F部1222を通してシステム制御部1212に伝えられ、システム制御部1212はカメラ部1223と静止画エンコーダ1224に対して停止要求を出す。
(5.2 アウトサイドエンコーディングによる静止画記録動作)
また、静止画の記録に関して、デジタルI/F部1219から静止画ファイルを入力して記録する動作を以下、具体的に説明する。
また、静止画の記録に関して、デジタルI/F部1219から静止画ファイルを入力して記録する動作を以下、具体的に説明する。
デジタルI/F部1219から送られるDCFオブジェクトはデータ記録・再生部1221に入力される。データ記録・再生部1221はシステム制御部1212からの指示を受けながら、データを記録媒体1100に記録する。このとき、システム制御部1212は、ファイルシステムの情報から、必要に応じてDCFイメージルートディレクトリやDCFディレクトリを作成し、既に記録されているDCFオブジェクトとファイル名が重ならないよう、名前を付けて、静止画ファイルを記録媒体1100に記録する。
なお、DSCがPCとSCSIやATAPI等で接続され、PCからDSCに静止画が送られる場合、PC側で記録媒体1100上のファイルシステム情報の操作(DCFディレクトリの作成やDCFオブジェクト名の設定など)を行なう場合もある。
一枚の静止画ファイルが記録されたら記録は終了する。ユーザから連続記録の指示があった場合は、ユーザからのストップ要求によって終了するか、所定の枚数の静止画ファイルを記録して終了する。ユーザからの録画停止要求は、ユーザI/F部1222を通してシステム制御部1212に伝えられ、システム制御部1212はデジタルI/F部1219に対して停止要求を出す。
その他にも、CCD等を用いた映像入力手段の小型化や半導体メモリカードの低価格化などを背景として、各種の機器にカメラ装置が搭載されるようになってきた。例えば、携帯電話やPDA、ノートPCにカメラが搭載され、映像の撮影及び保存が可能となった。それらの映像データは、内蔵の半導体メモリやHDD、外付けの半導体メモリカード等に格納される。
また、近年開発されている電子機器の特徴として、インターネット等のネットワークへの接続機能を持つものが増えてきている。例えば、携帯電話やPDA、ノートPC、DSC等においてインターネット接続機能を持つ場合がある。これらの機器は、ネットワークに接続し、電子メール等の送信手段を利用して、撮影した静止画像データや動画データをやりとりすることが行なわれている。
次に、本実施の形態におけるデータ管理システムについて説明する。
図26は、本実施の形態におけるデータ管理システムの構成を示す図である。図26に示されるように、本発明のデータ管理システムは、デジタルデータを記録・再生するサーバ装置(データ管理装置)10、及び前記サーバ装置10にそれぞれ複数のクライアント端末A,B,Cを備えている。サーバ装置10と各クライアント端末A,B,Cとは、ネットワークで接続され、双方向のデジタルデータ通信が可能である。
図26は、本実施の形態におけるデータ管理システムの構成を示す図である。図26に示されるように、本発明のデータ管理システムは、デジタルデータを記録・再生するサーバ装置(データ管理装置)10、及び前記サーバ装置10にそれぞれ複数のクライアント端末A,B,Cを備えている。サーバ装置10と各クライアント端末A,B,Cとは、ネットワークで接続され、双方向のデジタルデータ通信が可能である。
ここで、サーバ装置10と各クライアント端末A,B,Cとを接続するネットワークの通信路は、例えば、IEEE 802.11やBluetooth( [ザ ブルートゥース エスアイジー インコーポレーテッド」の登録商標)、UWB等の無線方式、あるいはIEEE1394やUSB、バス方式の有線LAN、光ファイバなどのケーブル等を用いた有線方式等で構成される。
図27は、本実施の形態におけるデータ管理システムの具体的な構成の一例を示す構成図である。
例えば、クライアント端末Aは、動画像を撮影するカムコーダ機能を有するビデオカメラであり、クライアント端末Bは、静止画像を撮影するデジタルスチルカメラ(DSC)であり、クライアント端末Cは、静止画像の撮影が可能な携帯電話である。また、サーバ装置10は、例えば図27に示すように、携帯可能なように掌に乗るような形状に形成されており、サーバ装置10の表面には、上述のクライアント端末A,B,Cにより取得されたデータを表示する液晶表示パネルが取り付けられている。
例えば、クライアント端末Aは、動画像を撮影するカムコーダ機能を有するビデオカメラであり、クライアント端末Bは、静止画像を撮影するデジタルスチルカメラ(DSC)であり、クライアント端末Cは、静止画像の撮影が可能な携帯電話である。また、サーバ装置10は、例えば図27に示すように、携帯可能なように掌に乗るような形状に形成されており、サーバ装置10の表面には、上述のクライアント端末A,B,Cにより取得されたデータを表示する液晶表示パネルが取り付けられている。
サーバ装置10と各クライアント端末A,B,Cとの間で通信されるデジタルデータは、ビデオやオーディオのような連続メディアデータと、テキストデータや静止画像などの離散メディアデータがある。複数のクライアント端末A,B,Cは、利用者が使用する各種の電子機器であり、それぞれに異なる機能を持つ。
例えば、クライアント端末A,B,Cがカムコーダの機能を持つ場合は、MPEG2方式で符号化されたビデオデータがクライアント端末A,B,Cからサーバ装置10へ送信される。また、クライアント端末A,B,CがDSCの機能を持つ場合であれば、JPEG方式で符号化された静止画データがクライアント端末A,B,Cからサーバ装置10へ送信される。
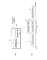
図28は、図26に示されるデータ管理システムにおけるサーバ装置10の構成を示す図である。
サーバ装置10は、制御部11と、I/O部12と、UI部13と、記録装置部14と、端末特性情報処理部15とを備える。
サーバ装置10は、制御部11と、I/O部12と、UI部13と、記録装置部14と、端末特性情報処理部15とを備える。
制御部11は、サーバ装置10全体の動作に関して制御を行なう部分である。
I/O部12は、サーバ装置10の外部とデータの入出力する部分であり、例えば、USB、IEEE1394、バス方式の有線LAN、IEEE802.11等の無線LAN等、あるいはそれらの組合せで構成される。
I/O部12は、サーバ装置10の外部とデータの入出力する部分であり、例えば、USB、IEEE1394、バス方式の有線LAN、IEEE802.11等の無線LAN等、あるいはそれらの組合せで構成される。
UI部13は、ボタンやスティックによる操作や、液晶画面などに表示される画像によるユーザインタフェース(GUI)を通じて、利用者による操作をサーバ装置10に伝え、また、逆に、サーバ装置10からの出力を利用者へ伝える役割を果たす。
記録装置部14は、I/O部12を通じてクライアント端末A,B,Cから受信したデータや、UI部13を通じて利用者が入力した指示を元に制御部11が作成したデータ等を永続的に記録する。また、記録装置部14は、記録しておいたデータをI/O部12を通じて外部へ出力したり、制御部11へ送ってデータ処理の対象としたりする。さらに、記録装置部14は、制御部11がさまざまな処理を行なったりする場合に一時的にデータを格納する場合もある。
また、記録装置部14は、例えば、ハードディスク装置や光ディスク装置、半導体メモリカード装置、あるいはそれらの組合せで構成される。
端末特性情報処理部15は、クライアント端末A,B,Cから受信した端末特性情報を保持し、その端末特性情報に基づいてサーバ装置10の持つリソースの割当てを決定する決定手段として機能する。
端末特性情報の構成と端末特性情報処理部15の動作は後に詳しく説明する。
端末特性情報の構成と端末特性情報処理部15の動作は後に詳しく説明する。
図29は、図26に示されるデータ管理システムにおけるクライアント端末Aの構成を示す図である。
クライアント端末Aは、制御部21と、I/O部22と、UI部23と、データ処理部24と、記録装置部25と、端末特性情報生成部26とを備えている。
クライアント端末Aは、制御部21と、I/O部22と、UI部23と、データ処理部24と、記録装置部25と、端末特性情報生成部26とを備えている。
制御部21は、クライアント端末A全体の動作に関して制御を行なう部分である。
I/O部22は、クライアント端末20の外部とデータの入出力する部分であり、例えば、USB、IEEE1394、バス方式の有線LAN、IEEE802.11等の無線LAN等、あるいはそれらの組合せで構成され、少なくとも一つ、前述のサーバ装置10とネットワーク接続可能なインタフェースを備える。
I/O部22は、クライアント端末20の外部とデータの入出力する部分であり、例えば、USB、IEEE1394、バス方式の有線LAN、IEEE802.11等の無線LAN等、あるいはそれらの組合せで構成され、少なくとも一つ、前述のサーバ装置10とネットワーク接続可能なインタフェースを備える。
UI部23は、ボタンやスティックによる操作や、液晶画面などに表示される画像によるユーザインタフェース(GUI)を通じて、利用者による操作をクラアントAの他のユニットに伝え、また、逆に、クライアント端末Aの他のユニットからの出力の内容を利用者へ伝える役割を果たす。
データ処理部24は、クライアント端末Aにおいてデータの作成や再生を行なう。また、データ処理部24は、後述する記録装置部25から読み出したデータを再生し、UI部23を通じて利用者に表示する。例えば、クライアント端末Aがスチルカメラ機能を持つ場合であれば、データ処理部24は、CCD装置を通じてデジタル映像を入力し、JPEG等の画像圧縮処理を行なう。また、逆に、データ処理部24は、記録装置部25から読み出したJPEGデータをデコードする。
記録装置部25は、クライアント端末Aが生成あるいはI/O部22を通じて外部から入力されたデータや、UI部23を通じて利用者が入力した指示を元に制御部21やデータ処理部24が作成したデータを永続的に記録する。
また、記録装置部25は、記録しておいたデータをクライアント端末Aの外部へ出力するためにI/O部22にそのデータを送信したり、そのデータを再生させるためにデータ処理部24へそのデータを送信したりする。
さらに、記憶装置部25は、制御部21がさまざまな処理を行なったりする場合に、一時的にその処理に用いられれるデータを必要に応じて格納する。
さらに、記憶装置部25は、制御部21がさまざまな処理を行なったりする場合に、一時的にその処理に用いられれるデータを必要に応じて格納する。
記録装置部25は、例えば、ハードディスク装置や光ディスク装置、半導体メモリカード装置、あるいはそれらの組合せで構成される。
端末特性情報生成部26は、クライアント端末A自身の特性を表す端末特性情報を保持又は生成し、必要に応じて、端末特性情報を前記I/O部22を通じて、サーバ装置10等の外部の機器へ送信する。
なお、記録装置部25に関しては、従来の構成に比較して少容量とすることも可能で、例えば、従来のDVDカムコーダ装置であればデータ量の多いビデオデータを記録するため、数GBのDVD−RAMディスクを備えていたが、本実施の形態では、ビデオデータはサーバ装置10に記録するので、カムコーダ機能を持つクライアント端末Aでもその記憶容量を減らしてシステムを構成することが可能となる。
また、クライアント端末B,Cも、上述のクライアント端末Aと同様、それぞれ上述の制御部21、I/O部22、UI部23、データ処理部24、記録装置部25、及び端末特性情報生成部26とを備えている。
このように、本実施の形態のクライアント端末A,B,Cは、記録装置部25の記憶容量が従来より小さくなるので、端末自身の小型化や、電池駆動時の駆動時間の長時間化が可能となる。
また、一人の利用者が携帯するクライアント端末群とサーバ装置10全体で見ても、記憶容量をサーバ装置10に集約するので、端末間での機能重複が少なくなり、全体として効率的なシステム構成が可能となる。
次に、本発明のデータ管理システムについて、下記の順序で説明する。
1.データ管理システムの概要
2.端末特性情報の構造
3.サーバ資源の割当て動作
4.記録動作
5.再生動作
1.データ管理システムの概要
2.端末特性情報の構造
3.サーバ資源の割当て動作
4.記録動作
5.再生動作
(1.データ管理システムの概要)
本発明のデータ管理システムにおいては、図30に示されるように、クライアント端末Aとサーバ装置10間のネットワーク接続が確立されると、クライアント端末Aは、端末特性情報をサーバ装置10へ送信する。
本発明のデータ管理システムにおいては、図30に示されるように、クライアント端末Aとサーバ装置10間のネットワーク接続が確立されると、クライアント端末Aは、端末特性情報をサーバ装置10へ送信する。
図30の(a)に示されるように、クライアント端末Aとサーバ装置10のネットワーク接続が確立されると、図30の(b)に示されるように、クライアント端末Aからサーバ装置10へ端末特性情報I100が送られる。端末特性情報I100は、図29に示される端末特性情報生成部26から、I/O部22を通じてサーバ装置10へと送出される。
サーバ装置10は、図28に示されるI/O部12を通じて端末特性情報I100を受信し、端末特性情報処理部15においてその処理を行なう。また、端末特性情報I100は、必要に応じて記録装置部14に保存される。
次に、図30の(c)に示されるように、さらにクライアント端末Bがサーバ装置10に接続されると、同様に端末特性情報I100がサーバ装置10へ送られ、サーバ装置10は自身に接続しているクライアント端末A,Bのそれぞれに対応する端末特性情報I100を保持することになる。このようにクライアント端末A,B,Cから端末特性情報I100を受け取ったサーバ装置10は、サーバ装置10全体の処理能力を各クライアント端末A,B,Cに対して割り当てるサーバ資源の割当て動作を行なう。例えば、サーバ装置10がクライアント端末Aに対して、記録機能を提供しようとする場合、クライアント端末A,B,C毎に使用可能な記録転送帯域を割り当てる。予め、転送帯域をクライアント端末A,B,C毎に割り当てることにより、サーバ装置10全体での負荷がその最大処理能力を超えるのを防ぎ、確実なデータ転送を可能とする。サーバ資源を割り当てられたクライアント端末A,B,Cは、その割り当てられたサーバ資源の範囲内で、データの送受信等を行なう。
(2.端末特性情報の構造)
図31は、端末特性情報I100のデータ構造を示す図である。端末ID情報は、本発明のサーバ装置10とクライアント端末群で構成されるネットワーク中において、各クライアント端末A,B,Cを識別するための情報を有する。
図31は、端末特性情報I100のデータ構造を示す図である。端末ID情報は、本発明のサーバ装置10とクライアント端末群で構成されるネットワーク中において、各クライアント端末A,B,Cを識別するための情報を有する。
端末ID情報は、クライアント端末A,B,CがI/O部にバス方式の有線LANやIEEE1394等のインタフェースを備える場合は、それらの規格で規定されるユニークなIDを流用してもよいし、ネットワークプロトコルであるTCP/IPのIPアドレスや、その他、クライアント端末A,B,C毎に一意な識別情報であればよい。
また、端末ID情報中に、クライアント端末A,B,Cの名称や説明を利用者が理解できる形式(例えば、文字列)で格納しておいてもよい。
また、端末ID情報中に、クライアント端末A,B,Cの名称や説明を利用者が理解できる形式(例えば、文字列)で格納しておいてもよい。
記録属性情報は、各クライアント端末A,B,Cの持つ記録動作における属性情報を有する。
ここで、記録動作とは、クライアント端末A,B,Cからデータを送信し、そのデータをサーバ装置10に受信させる動作を指す。サーバ装置10はクライアント端末A,B,Cから、受信したデータを自身の記録装置部14へ記録する。
ここで、記録動作とは、クライアント端末A,B,Cからデータを送信し、そのデータをサーバ装置10に受信させる動作を指す。サーバ装置10はクライアント端末A,B,Cから、受信したデータを自身の記録装置部14へ記録する。
再生属性情報は、各クライアント端末A,B,Cの持つ再生動作における属性情報を有する。
ここで再生動作とは、サーバ装置10から送信されたデータをクライアント端末A,B,Cで受信する動作を指す。クライアント端末A,B,Cは、必要に応じて、受信したデータを自身の記録装置部25へ記録したり、データ処理部24やUI部23を通じて再生・表示を行なう。
ここで再生動作とは、サーバ装置10から送信されたデータをクライアント端末A,B,Cで受信する動作を指す。クライアント端末A,B,Cは、必要に応じて、受信したデータを自身の記録装置部25へ記録したり、データ処理部24やUI部23を通じて再生・表示を行なう。
アクセス制御情報は、クライアント端末A,B,Cの持つリソースや機能、クライアント端末A,B,C上に記録されたデータに対して、他のクライアント端末やサーバ装置10がアクセスする時の制御情報を有する。例えば、クライアント端末A,B,C上の記録装置部25内のデータ(ファイルやディレクトリ)へのアクセス制御情報や、クライアント端末A,B,Cの持つ特定の機能へのアクセス制御情報等である。
端末固有情報は、上述の情報以外で、各クライアント端末A,B,Cが持つ固有の属性情報を有する。例えば、クライアント端末A,B,Cの製造メーカが独自に定めた拡張情報などである。
図32(a),(b)は、図31中の記録属性情報のデータ構造を示す図である。一般属性情報は、クライアント端末A,B,Cの記録動作に関する一般的な属性情報を有する。例えば、クライアント端末A,B,Cの記録時に使用できるバッファメモリ容量に関する記録バッファ情報や、クライアント端末A,B,Cがサーバ装置10へ要求する可能性のある最大データ容量や、サーバ資源の割当てに対する各クライアント端末A,B,Cの優先度を示す優先度情報等である。
アプリケーション属性情報テーブルは、クライアント端末A,B,Cが記録要求する各データに関する属性情報のテーブルである。
図32(a)に示されるように、アプリケーション属性情報テーブルは、複数個のアプリケーション属性情報からなる。アプリケーション属性情報は、クライアント端末A,B,Cがサーバ装置10へ記録要求するデータの属性情報を有する。図32(b)に示されるように、アプリケーション属性情報は、アプリケーション一般情報と、データ属性情報テーブルと拡張情報とを有する。
図32(a)に示されるように、アプリケーション属性情報テーブルは、複数個のアプリケーション属性情報からなる。アプリケーション属性情報は、クライアント端末A,B,Cがサーバ装置10へ記録要求するデータの属性情報を有する。図32(b)に示されるように、アプリケーション属性情報は、アプリケーション一般情報と、データ属性情報テーブルと拡張情報とを有する。
アプリケーション一般情報は、少なくともクライアント端末A,B,Cが記録要求するアプリケーションを識別するためのアプリケーション識別情報を有する。アプリケーションの例としては、DCF規格やDVDビデオレコーディング規格などがある。
アプリケーション識別情報は、クライアント端末A,B,Cとサーバ装置10間でその形式に関する取決めが共有されていればよく、例えば、“DCIM”のような文字列や、“0001”のようなID番号でもよく、その他、アプリケーション毎に一意な識別情報であればよい。
アプリケーション一般情報には、その他に、アプリケーションの名称や説明を利用者が理解できる形式(例えば、文字列)で含んだり、アプリケーション全体で共通する属性情報を含んだりしてもよい。また、それ以外にも、サーバ資源の割当てに対する当該アプリケーションの優先度を示す優先度情報等を含んでもよい。
一方、データ属性情報テーブルには、一つのアプリケーションで管理される複数のデータ形式のそれぞれに対して属性情報を有するデータ属性情報が含まれる。データ属性情報の例を図33(a),(b)に示す。
図33(a)に示されるように、データ属性情報は、データ属性一般情報とデータ個別属性テーブルを有する。
データ属性一般情報は、少なくとも、記録するデータの種別を識別するためのデータ識別情報を有する。データ種別の例としては、MPEG2やJPEGなどがある。データ識別情報は、クライアント端末A,B,Cとサーバ装置10間でその形式に関する取決めが共有されていればよく、例えば、“MPEG2”のような簡易な文字列や、“0001”のようなID番号、データをファイルとして記録するときの拡張子、MIME(Multipurpose Internet Mail Extensions)タイプ情報等でもよく、その他、一意に識別可能な情報であればよい。データ属性一般情報には、その他に、データの名称や説明を利用者が理解できる形式(例えば、文字列)で含んだり、データ全体で共通する属性情報を含んだりしてもよい。
データ属性一般情報は、少なくとも、記録するデータの種別を識別するためのデータ識別情報を有する。データ種別の例としては、MPEG2やJPEGなどがある。データ識別情報は、クライアント端末A,B,Cとサーバ装置10間でその形式に関する取決めが共有されていればよく、例えば、“MPEG2”のような簡易な文字列や、“0001”のようなID番号、データをファイルとして記録するときの拡張子、MIME(Multipurpose Internet Mail Extensions)タイプ情報等でもよく、その他、一意に識別可能な情報であればよい。データ属性一般情報には、その他に、データの名称や説明を利用者が理解できる形式(例えば、文字列)で含んだり、データ全体で共通する属性情報を含んだりしてもよい。
データ個別属性情報テーブルは、あるデータ種別のデータが持つ個別の属性情報を含むデータ個別属性情報のテーブルであり、必要な個別属性に応じてデータ個別属性情報を格納する。
図33(b)にデータ個別属性情報の例を示す。例えば、属性項目名“必要帯域情報”であるデータ個別属性は、該当するデータを記録するために必要なサーバ装置10の記録転送帯域の値であり、“6”(Mbps)のような数値情報が格納される。
また、“連続メディア属性”は、該当するデータが連続メディアデータであるかどうかを示し、例えば値“1”が設定されていれば連続メディアデータであり、“0”であれば連続メディアデータでない。同様に、“再送不可能データ属性”は該当するデータが再送可能データであるかどうかを示す。再送不可能データとは、例えば次のようなデータを指す。
クライアント端末Aがカムコーダの機能を有し、現在撮影中の動画データをサーバ装置へ送信する場合は、その動画データにはコピーなどが存在せず、仮にサーバ装置10側で記録に失敗してクライアント端末A側に再送要求をしても再送が不可能である。このようなデータを再送不可能データとする。
逆に、クライアント端末A側の記録装置部25内に格納されたファイルをサーバ装置10へ送る場合は、サーバ装置10からの再送要求に対して、クライアント端末Aは送信対象のファイルを再度記録装置部25から読み出して送信可能なので、このような場合はそのファイルは再送不可能データにあたらず、図33(b)の例であれば、“再送不可能データ属性”の値は“0”に設定される。
“複製属性”については、該当するデータの記録要求が、クライアント端末A,B,C内のデータをサーバ装置10へコピーすることにより、データのバックアップを行なうような動作を要求するものであるとき、該当データは複製データであるとする。
なお、データ個別属性情報は、データ種別によりそれぞれ決まるものであり、図33(b)に示すものに限らない。その他にも、図33(b)に図示していないデータ個別属性情報の例としては、連続メディアデータの場合、可変転送レートで圧縮しているか否かを示す情報、又は、可変転送レートで圧縮した場合の転送レートの上限や下限値や平均値等を示す情報がある。あるいは、静止画のような離散メディアデータの場合でも、連続的に複数のデータを送信することがあるので、この場合におけるデータ個別属性情報の例としては、その送信時の各静止画ファイル当たりのデータ量やファイルの送信間隔、最大の送信ファイル数等を示す情報がある。
図34(a),(b)は、上記図31中の再生属性情報のデータ構造を示す図である。再生属性情報の有する情報は、情報の対象がクライアント端末A,B,Cの再生動作に関する物であることを除けば、上記記録属性情報と同一である。例えば、一般属性情報は、クライアント端末A,B,Cの再生動作に関する一般的な属性情報を有し、クライアント端末A,B,Cの再生時に使用できるバッファメモリ容量に関する再生バッファ情報や、クライアント端末A,B,Cがサーバ装置10へ要求する可能性のある最大データ容量等を含む。同様に、アプリケーション属性情報テーブルは、クライアント端末A,B,Cが再生要求する各データに関する属性情報のテーブルである。
(3.サーバ資源の割当て動作)
次に、サーバ装置10の決定手段たる端末特性情報処理部15が、有限なサーバ資源(例えば、記録転送帯域、記憶領域等)を複数のクライアント端末A,B,Cに対して割り当てる動作について説明する。
次に、サーバ装置10の決定手段たる端末特性情報処理部15が、有限なサーバ資源(例えば、記録転送帯域、記憶領域等)を複数のクライアント端末A,B,Cに対して割り当てる動作について説明する。
従来、例えば、特開平10−283295においては、クライアント端末−サーバ装置間で転送帯域の割当てに関する情報を共有し、クライアント端末は、割り当てられた転送帯域を越えないようにデータ要求を行なうとされている。この時、各クライアント端末の構成は全て同一であり、そのため、サーバ装置は、クライアント端末からの要求に従って順次同じだけの転送帯域を割り当てれば、クライアント端末へのサーバ資源の割当てを実行できた。
しかしながら、本発明の実施の形態においては、各クライアント端末の構成がそれぞれ異なり、そのため、クライアント端末が記録又は再生要求するデータの種類や特性、重要度が異なるため、特開平10−283295のようなサーバ資源の割当て方法では不都合である。例えば、あるクライアント端末が、カムコーダ機能で撮影しながらMPEG2圧縮された動画データをサーバ装置への記録を要求する場合、記録対象のデータは連続メディアデータであり、かつ再送不可能なデータである。よって、サーバ装置で記録の中断や遅延が発生することは許されず、十分な記録転送帯域の割当てが必要である。
一方、JPEG圧縮された静止画データをクライアント端末からサーバ装置へコピーする場合では、データが離散メディアデータであり、かつ再送可能であるので、このクライアント端末へ割り当てられた記録転送帯域が低くても、データのコピーは可能である。
サーバ装置は有限のサーバ資源しか持っていないので、全てのクライアント端末からの資源割当て要求を満たせない場合も発生する。そのような場合、本実施の形態においては、サーバ装置10の端末特性情報処理部15はクライアント端末A,B,Cから受け取った端末特性情報I100を利用して、最適なサーバ・リソース割当てのパターンを決定する。
すなわち、サーバ装置10は端末特性情報I100内に格納されたデータの属性情報を考慮し、より優先度の高い割当て要求に対して優先的にサーバ資源を割り当てることとする。これにより、さまざまな構成を持ったクライアント端末A,B,Cがサーバ装置10へ接続するような環境においても最適なサーバ資源の割当てが可能となる。
図35は、本実施の形態における、サーバ資源の割当て動作を示すフローチャートである。
サーバ装置10は、クライアント端末A,B,Cの何れかの接続を検出すると(S31)、そのクライアント端末A,B,Cが既知のクライアント端末であるかどうかを調べる(S32)。すなわち、そのクライアント端末A,B,Cの端末特性情報I100を保有しているかどうかを調べる。もし、既知のクライアント端末でなければ(S32のNo)、サーバ装置10はそのクライアント端末A,B,Cから端末特性情報I100を受け取る(S33)。そして、サーバ装置10は、端末特性情報処理部15において、その保有する端末特性情報I100からサーバ資源の割当てを決定する(S34)。
サーバ装置10は、クライアント端末A,B,Cの何れかの接続を検出すると(S31)、そのクライアント端末A,B,Cが既知のクライアント端末であるかどうかを調べる(S32)。すなわち、そのクライアント端末A,B,Cの端末特性情報I100を保有しているかどうかを調べる。もし、既知のクライアント端末でなければ(S32のNo)、サーバ装置10はそのクライアント端末A,B,Cから端末特性情報I100を受け取る(S33)。そして、サーバ装置10は、端末特性情報処理部15において、その保有する端末特性情報I100からサーバ資源の割当てを決定する(S34)。
サーバ資源の割当てに際しては、端末特性情報I100内の属性値により割当ての優先度を決定する。例えば、サーバ装置10の端末特性情報処理部15は、記録属性情報や再生属性情報中のサーバ資源割当てに対する優先度情報を参照し、高い優先度を持つクライアント端末やそのアプリケーションに優先的にサーバ資源を割り当てる。
つまり、端末特性情報処理部15は、端末特性情報I100に含まれる記録属性情報や再生属性情報などの内容に基づいて、各クライアント端末A,B,Cに対する優先度を特定して、その優先度に応じて各クライアント端末A,B,Cやアプリケーションに対するサーバ資源の割り当て方を決定する。
なお、記録属性情報や再生属性情報に含まれる優先度情報の値は、クライアント端末やアプリケーションの種類により固定的に設定されていてもよいし、利用者が個別に設定するようにしてもよい。
また、異なる優先度決定の方法の例として、データ個別属性情報の値に関連づけてサーバ資源の割当てに対する優先度を決める場合について説明する。
ここでは、次の1〜5のように優先度を決定するルールを規定し、このルールに従ってサーバ装置10の端末特性情報処理部15はサーバ資源を割り当てる(この例では、1が最も優先度が高い)。
1:データ個別属性が“連続メディアデータ”かつ“再送不可能データ”である。
2:データ個別属性が“離散メディアデータ”かつ“再送不可能データ”である。
3:データ個別属性が“連続メディアデータ”である。
4:データ個別属性が“離散メディアデータ”である。
5:データ個別属性が“複製属性”である。
ここでは、次の1〜5のように優先度を決定するルールを規定し、このルールに従ってサーバ装置10の端末特性情報処理部15はサーバ資源を割り当てる(この例では、1が最も優先度が高い)。
1:データ個別属性が“連続メディアデータ”かつ“再送不可能データ”である。
2:データ個別属性が“離散メディアデータ”かつ“再送不可能データ”である。
3:データ個別属性が“連続メディアデータ”である。
4:データ個別属性が“離散メディアデータ”である。
5:データ個別属性が“複製属性”である。
上記のような優先度決定のルールに従い、サーバ装置I100のもつ最大処理能力の内、優先度の高いクライアント端末から順次サーバ資源を割り当てていくことにより、さまざまな構成を持ったクライアント端末が存在するネットワーク環境においても適切なサーバ資源の割当てが行なえる。
次に、具体的なサーバ資源の割当て動作について説明する。
図36は、サーバ装置10の持つバッファメモリの割当て動作を示す図である。上記図28に示されるサーバ装置10においては、記録装置部14中にバッファメモリを持つ。例えば、上記図2に示されるトラックバッファ103は、このバッファメモリと同じ働きをする部分である。
図36は、サーバ装置10の持つバッファメモリの割当て動作を示す図である。上記図28に示されるサーバ装置10においては、記録装置部14中にバッファメモリを持つ。例えば、上記図2に示されるトラックバッファ103は、このバッファメモリと同じ働きをする部分である。
本発明のサーバ装置10においては、バッファメモリ上の領域を分割して、各クライアント端末に対して割り当てる。
図36においては、DCFとDVDという二つのアプリケーションにバッファメモリを割り当てている。割当てに際する優先度や割当て量は、上記のように端末特性情報I100に格納された情報から決定される。例えば、MPEG2のような連続メディアデータをDVDのような光ディスクへ記録する場合は、上記図3で示したように、記録媒体への書き込みレートと書き込みする連続メディアデータのビットレートが与えられれば、必要なトラックバッファの量(図3のB(t2)に相当する値)やCDAの大きさ(図3の連続領域A1に相当する値)を決定できる。
次に、図37は、サーバ装置10の持つ記録装置部14内の領域割当て動作を示す図である。上記図28に示されるサーバ装置10においては、記録装置部14としてHDDや光ディスク、半導体メモリカードなどを持つ。特に、HDDや光ディスクなど、データへのアクセスに際して、シーク動作が必要な場合、上記図3で述べたように、ビデオデータなどの連続メディアデータの途切れない記録や再生のために、データをCDAに配置しなければならない。
また、本実施の形態のサーバ装置10のように、複数のクライアント端末A,B,Cで記録装置部14を共有する場合、特定のクライアント端末やアプリケーションにより記録装置部14内の領域を占有されてしまうと他のデータを記録できなくなり不都合である。そのため、本実施の形態においては、図37に示されるように、記録装置部14上のパーティション空間をさらに部分領域に分け、複数の部分領域をアプリケーション毎に割り当てる。このアプリケーション毎に割り当てられた部分領域の集合を以下では、仮想パーティション空間と呼ぶ。
なお、部分領域は、論理セクタ単位や、ECCブロック単位、その他、複数個の連続した論理ブロックやECCブロックの集まり等で構成される。それぞれ各クライアント端末A,B,Cは仮想パーティション空間内にデータを配置することにより、特定のアプリケーションにより記憶領域を占有されることなく、データの記録が可能となる。
また、連続メディアデータの記録時には、仮想パーティション空間を割り当てる際にCDAが確保できるよう、その大きさに配慮して部分領域を割り当てることとする。割当ての際の優先度や割当て量は、バッファメモリの割当て動作の時と同様に、端末特性情報I100に格納された情報から決定する。例えば、各クライアント端末A,B,Cが必要な記憶領域を記録属性情報の一般属性情報に含んでもよいし、DVDのMPEG2のような連続メディアデータの場合であれば、CDAの大きさの情報をアプリケーション属性情報中に含んでもよい。
図38は、上記図37で割り当てられたそれぞれの仮想パーティション空間においてループ記録する時の動作を示す図である。仮想パーティション空間内の効率的なデータ配置やデータへのアクセス、記録領域の使用頻度の平準化等を目的として、ループ記録と言われる記録方法が行なわれる場合がある。ループ記録は、例えばパーティション空間内のアドレス空間において、常にアドレス値が小さい位置からアドレス値が増える方向に空き領域の検索及び記録を行ない、パーティション空間内の最後尾へ到達したら、再度アドレス値が最も小さい位置へ戻る方法である。一旦記録が中断した場合でもその位置(図38のループ記録開始位置に相当)を記憶しておき、次回の記録をその位置から再開する。
本実施の形態においてループ記録を行なう場合は、仮想パーティション空間毎にループ記録開始位置を保持しておく。これにより、サーバ装置10内の記録装置部14を共有して使用する場合にもループ記録が可能となる。
(4.記録動作)
次に、記録動作について説明する。ここで、記録動作とは、クライアント端末A,B,Cからサーバ装置10へデータを送信し、サーバ装置10内の記録装置部14へ記録する動作のことである。記録の開始に際して、クライアント端末A,B,Cのそれぞれは、データの送信に先立って、クライアント端末自身の識別情報と、これから送信するデータを識別するためのデータ識別情報をサーバ装置10へ送信する。このデータ識別情報は、上記(2.端末特性情報の構造)で述べたアプリケーション識別情報やデータ識別情報等を含む。
次に、記録動作について説明する。ここで、記録動作とは、クライアント端末A,B,Cからサーバ装置10へデータを送信し、サーバ装置10内の記録装置部14へ記録する動作のことである。記録の開始に際して、クライアント端末A,B,Cのそれぞれは、データの送信に先立って、クライアント端末自身の識別情報と、これから送信するデータを識別するためのデータ識別情報をサーバ装置10へ送信する。このデータ識別情報は、上記(2.端末特性情報の構造)で述べたアプリケーション識別情報やデータ識別情報等を含む。
また、データの格納されるディレクトリの場所やファイルの名前の情報を、上述のデータ識別情報に含めてもよい。DCFやDVDで説明したように、ディレクトリ名やファイル名が分かればデータの種別が分かるので、これらの情報もデータ識別情報となりうる。その後、クライアント端末A,B,Cはサーバ装置10へデータの送信を行なう。
(5.再生動作)
次に、再生動作について説明する。ここで、再生動作とは、クライアント端末A,B,Cがサーバ装置10からデータを受信する動作のことである。再生動作に際して、サーバ装置10はその記録装置部14からデータを読み出してクライアント端末A,B,Cへ送信する。
次に、再生動作について説明する。ここで、再生動作とは、クライアント端末A,B,Cがサーバ装置10からデータを受信する動作のことである。再生動作に際して、サーバ装置10はその記録装置部14からデータを読み出してクライアント端末A,B,Cへ送信する。
再生の開始に際して、クライアント端末A,B,Cは、データの受信に先立って、自己の識別情報と、これから受信するデータを識別するためのデータ識別情報をサーバ装置10へ送信する。このデータ識別情報は、上記(2.端末特性情報の構造)で述べたアプリケーション識別情報やデータ識別情報等を含む。
サーバ装置10は、データ送信の対象となるクライアント端末A,B,Cの端末特性情報I100を参照し、必要に応じて、クライアント端末A,B,Cの再生時に使用できるバッファメモリ容量等を考慮してデータの送信を行なう。
また、サーバ装置10が送信可能な複数のデータを持つ場合、端末特性情報I100を参照してクライアント端末A,B,Cに適するデータを選択して送信するようにしてもよい。例えば、送信可能なデータが解像度の異なる同内容のビデオ映像の場合、クライアント端末AのUI部23であるディスプレイの大きさや、クライアント端末Aの持つ復号装置の種類(MPEG2やMPEG4など)に応じて、適切なビデオ映像を選択して送信することにより、クライアント端末A側で最も視聴しやすいビデオ映像を得ることが出来る。
なお、サーバ装置10はCD−ROMやDVD−ROMのような記憶媒体の再生専用のドライブ装置を持つようにしてもよい。再生専用のドライブ装置においても再生転送帯域の割当てを行なうことにより上記ROM内のデータやコンテンツの共有が可能となる。
なお、本実施の形態においては、クライアント端末A,B,Cがサーバ装置10へ端末特性情報I100を送信するとしたが、クライアント端末A,B,Cからの端末特性情報I100の送信に先立ち、サーバ装置10がクライアント端末A,B,Cへサーバ装置10自身の特性情報を送信するようにしてもよい。
これにより、クライアント端末A,B,Cは、自身の要求するサーバ資源をサーバ装置10が持っているかどうかを予め知ることができ、サーバ装置10が十分なリソースを持たないことが分かれば、サーバ資源の割当て要求を行なわずに済み、余分な手間を避けることが出来る。
なお、端末特性情報I100の構成は、図31に示されるものに限られるものではなく、XMLのような木構造を持つデータ構造であってもよい。
なお、端末特性情報I100の構成は、図31に示されるものに限られるものではなく、XMLのような木構造を持つデータ構造であってもよい。
以上のように、本実施の形態においては、事前に端末特性情報I100をクライアント端末A,B,Cからサーバ装置10へ送信しておくことにより、性能や特性の異なるクライアント端末A,B,Cからのさまざまなデータを記録・再生するための最適なサーバ資源の割当てが可能となる。
また、クライアント端末群とサーバ装置10で構成するネットワークにおいて、記録機能等の重複を無くすことが出来るので、全体としての効率化、小型化、駆動時間の長期化などが実現できる。
(実施の形態2)
次に、本発明における第2の実施の形態のデータ管理システムについて説明する。
実施の形態1では、端末特性情報I100を利用して優先度を決定し、この優先度を用いてサーバ資源の割当てを行なう場合について説明した。
次に、本発明における第2の実施の形態のデータ管理システムについて説明する。
実施の形態1では、端末特性情報I100を利用して優先度を決定し、この優先度を用いてサーバ資源の割当てを行なう場合について説明した。
ところで、サーバ装置10の保有する資源は有限であるので、複数のクライアント端末が接続する場合は、サーバ資源が不足することが予想される。利用者が、記録属性情報や再生属性情報中のサーバ資源割当てに対する優先度情報を予め適切に設定しておけば、それに従ってサーバ資源の割当てが可能となるが、クライアント端末やアプリケーションの数が増加すると、予め全てのサーバ資源割当てに対する優先度情報を矛盾無く設定することは困難となることもある。
そこで、本実施の形態においては、サーバ装置10がサーバ資源の割当てに際して、推奨する割り当て方の幾つかのパターンを利用者に提示し、提示されたパターンの中から何れかを利用者が選択することにより、利用者の意図を反映したサーバ資源割当ての実施を実現する。
本実施の形態におけるデータ管理システムは、実施の形態1と同様、サーバ装置10及びクライアント端末A,B,Cから構成される。
そして、サーバ装置10は、制御部11と、I/O部12と、UI部13と、記録装置部14と、端末特性情報処理部15とを備え、各クライアント端末A,B,Cは、制御部21と、I/O部22と、UI部23と、データ処理部24と、記録装置部25と、端末特性情報生成部26とを備えている。
ここで、サーバ装置10の記録装置部14は、上述のパターンを示す内容の割当パターン情報を記憶する記憶手段として機能する。さらにサーバ装置10のI/O部12は、その記録装置部14に記憶されている割当パターン情報を各クライアント端末A,B,Cに送信する送信手段として機能するとともに、前記割当パターン情報に基づいて所定のパターンを指示する内容の指示情報を各クライアント端末A,B,Cから取得する取得手段として機能する。
図39(a),(b)は、上記割当パターン情報の内容を示す図であって、サーバ装置10に接続するクライアント端末A,B,Cに対して、サーバ資源の割当てのパターンが複数存在する場合の例を示す図である。図39(a)に示されるように、クライアント端末A、B、Cのそれぞれに対して、例えば、パターン1においては、クライアント端末Aには記録転送帯域が80Mbpsが割り当てられ、クライアント端末Bには記録転送帯域の割当てがなく、クライアント端末Cには記録転送帯域20Mbpsが割り当てられることを意味する。このようなパターンは、上記実施の形態1で述べたように、データ個別属性が“連続メディアデータ”かつ“再送不可能データ”であるデータを優先する等の方法により決められる。
同様に、パターン2では別の割り当て方がなされている。サーバ装置10は、何らかの方法で、例えば、サーバ装置10上に設けられたUI部12であるディスプレイ装置や、サーバ装置10に接続している何れかのクライアント端末A,B,CのUI部23であるディスプレイ装置上などに、これらのパターンを提示する。利用者は、提示されたパターンの中から、自らの意図にあったパターンを選択し、その結果をサーバ装置10へ返すことにより、サーバ装置10は、ユーザの意図に沿ったサーバ資源割当てのパターンを決定できる。
なお、図39(a)において、パターン1とパターン2でクライアント端末Aに割り当てられている記録転送帯域が異なるのは、クライアント端末Aが複数の記録モードを持つような場合である。例えば、クライアント端末Aがカムコーダ機能を持ち、サーバ装置10へ記録するAVデータの圧縮レートを変更することが可能な場合、それぞれの圧縮レートに適したサーバ資源割当てのパターンを提示するようにしてもよい。
クライアント端末A,B,Cが複数の記録モードを持つことは、端末特性情報I100中に、それぞれの記録モードに対応する複数のデータ個別属性情報を含めることにより、サーバ装置10に通知される。
図39(a)では、クライアント端末Aの記録転送帯域を低くすることにより、パターン1ではクライアント端末Bにサーバ資源を割り当てられなかったのが、パターン2では、割当て可能となっている。利用者は、図39(a),(b)に示されるような複数のパターンを示す情報を得ることにより、容易に自らが意図するサーバ資源割当てのパターンを決定することが可能となる。
また、サーバ装置10が提示した複数のパターンの中で利用者が意図するパターンが存在しない場合は、利用者が自らパターンを変更又は追加できるようにしてもよい。
例えば、図39(b)において、パターン3は利用者が定義したパターンであり、優先度などにかかわらず、ユーザが意図してクライアント端末Aに割当てを行なわないようにすれば、クライアント端末Bにさらに記録転送帯域が割当て可能になる。
例えば、図39(b)において、パターン3は利用者が定義したパターンであり、優先度などにかかわらず、ユーザが意図してクライアント端末Aに割当てを行なわないようにすれば、クライアント端末Bにさらに記録転送帯域が割当て可能になる。
このような、利用者によるパターンの変更・追加は、サーバ装置10に伝えられ、もしそのパターンがサーバ装置10の持つ全サーバ資源の制限を越えない場合は、そのパターンに従って実際のサーバ資源の割り当てを行なうようにすることができる。いったん求められたサーバ資源割当てのパターンは、サーバ装置10内に保存される。
図40は、サーバ装置10に接続されるクライアント端末に応じた複数のパターンを含む割当パターン情報の内容を示す図である。
上記のように選択されたパターンは、クライアント端末A,B,Cと関連づけてサーバ装置10内に保存される。
上記のように選択されたパターンは、クライアント端末A,B,Cと関連づけてサーバ装置10内に保存される。
また、利用者が定義したパターンについても、同様にサーバ装置10内に保存され、その保存に際しては、利用者が定義したパターンであることを示す属性情報も併せて保存される。
以上のように、サーバ資源割当てのパターンをクライアント端末群の構成に応じて保存しておくことにより、サーバ装置10へ接続するそのクライアント端末群の構成が変化しても、保存してあるパターンを利用すれば、変化のたびに割当てのパターンを作成し直す必要が無く、サーバ装置10の処理の効率化や利用者の操作を簡易化することができる。
(実施の形態3)
実施の形態2では、クライアント端末A,B,Cの何れかがサーバ装置10へ接続したときに、サーバ資源割当てのパターンが決定される場合について述べてきた。すなわち、クライアント端末群の構成メンバーの状態に応じてサーバ資源の割当てを行なった。
実施の形態2では、クライアント端末A,B,Cの何れかがサーバ装置10へ接続したときに、サーバ資源割当てのパターンが決定される場合について述べてきた。すなわち、クライアント端末群の構成メンバーの状態に応じてサーバ資源の割当てを行なった。
本実施の形態では、実施の形態2と同一のネットワーク構成において、サーバ装置10の状態やクライアント端末A,B,Cの状態に応じてサーバ資源の割当てを変更する場合について説明する。
本実施の形態におけるサーバ装置10の制御部11は、各クライアント端末A,B,Cとの間で送受信されるデータの処理環境の変化を検出し、上述の指示情報に示されるパターンの内容を、その検出結果に応じて変更する検出変更手段としての機能を有する。
図41(a),(b)は、クライアント端末A,Bの状態変化に応じてサーバ資源の割当てが変更される動作を説明するための図である。図41(a)に示すように、クライアント端末Aとクライアント端末Bがサーバ装置10に接続しており、それぞれ記録転送帯域10Mbpsと再生転送帯域5Mbpsでデータ転送を行なっている。ここで、クライアント端末Aのデータ転送が停止すると、サーバ装置10の総データ転送帯域に余裕が生じるので、サーバ装置10の制御部11はそのデータ転送の停止を検出し、図41(b)に示されるように、クライアント端末Bの再生転送帯域を15Mbpsに上げるように、利用者によって選択されたサーバ資源割当てのパターンを変更する。そして、再度、サーバ装置10がクライアント端末Aからの記録要求を受け取ったら、制御部11はその変化を検出してパターンを元の内容に変更する。その結果、本システムの動作状態は、図41(a)の状態に戻り、クライアント端末Aへ優先的にサーバ資源が割り当てられる。
上記の他にも、サーバ装置10の電源状態の変化に応じて、パターンを変更してもよい。例えば、サーバ装置10が電池駆動しており、その電池残量が低下した場合に、優先度の高いクライアント端末へより優先的にサーバ資源を割当て、一方、優先度の低いクライアント端末に対して、サーバ資源を割り当てないようにしたり、割当量を減らしたりする。
このような動作により、残り少ない電池残量において、重要度の高いデータ転送を完了させることが可能となる。サーバ資源の割当て量が減らされるクライアント端末に関しては、サーバ装置10からクライアント端末へその情報を伝え、そのクライアント端末は、新たに割り当てられたサーバ資源を越えない用に、転送態様を変更してデータを転送する。そして、サーバ装置10がAC接続される等してサーバ装置10の電源に問題が無くなったとき、再度、優先度の低いクライアント端末へのサーバ資源の割り当てを実施する。
また、サーバ装置10の電源状態に応じて、サーバ装置10の持つ全サーバ資源の量を変化させてもよい。例えば、サーバ装置10が電池駆動する場合は、その駆動時間を長くするため、記録装置部14の性能を低くする(シーク速度や、記録媒体の回転速度を遅くするなど)。
一方、サーバ装置10がAC電源に接続されている場合は、電池切れによる動作停止の恐れが無いため、サーバ装置10はその性能を抑える必要がない。よって、電池駆動とAC駆動とでは、割り当てられるサーバ資源の総量が異なるため、サーバ資源割当てのパターンも変更することになる。
上述のような場合、サーバ装置10が、自身の電源状態の変化を検出する手段を持ち、その電源状態が変化した時に、サーバ資源割当てのパターンを変更する。これにより、サーバ装置10の電源状態に応じた適切なサーバ資源の割当てが行なえる。
また、クライアント端末A,B,Cの変化に応じて、パターンを変更してもよい。例えば、クライアント端末Aが電池駆動しており、その電池残量が低下した場合や、クライアント端末Aのバッファメモリの残量が残り少なくなった場合に、クライアント端末Aからサーバ装置10へその情報を伝えると、サーバ装置10はそのクライアント端末Aに対してより多くのサーバ資源を割り当てる。
これにより、サーバ装置10は例えば残り少ない電池残量のクライアント端末Aに対して、必要なデータの転送を完了させることが可能となる。
これにより、サーバ装置10は例えば残り少ない電池残量のクライアント端末Aに対して、必要なデータの転送を完了させることが可能となる。
また、クライアント端末A,B,Cとサーバ装置10間のデータ転送の実行速度の変化に応じて、割り当てのパターンを変更してもよい。例えば、クライアント端末Aとサーバ装置10間が無線方式のデジタルネットワークで接続されている場合、無線の電波状態により、クライアント端末Aとサーバ装置10間のデータ転送速度が低下する場合がある。
このような場合、データの送信元で発生するデータレートよりもデータ転送レートが下回ると、送信したいデータが失われることになる。データを失わないようにするためには、データ送信元がバッファメモリを持ち、一時的に送信できなかったデータを保持しておくことが有効である。このバッファメモリは、上記図28や図29内のI/O部12,22内に備えたメモリや、記録装置部14,25に一時的にデータを記録することにより実現され、データ転送速度の低下のため送信できなかったデータをバッファメモリ内に保持しておく。そして、クライアント端末Aとサーバ装置10間のデータ転送速度が所定の速度に回復したときに、バッファメモリ内のデータを送信する。
しかしながら、送信しようとするデータが連続メディアデータの場合、バッファメモリ内のデータ送信中にも新たなデータが発生し、また、データ転送の実行速度の低下が再発する場合もあり得る。バッファメモリの容量は有限であるので、バッファメモリの空き容量に余裕がない状態で、データ転送の実行速度が低下すると、それ以上データを保持することが不可能になり、データを失うことになる。よって、データ転送の実行速度が低下後、データ転送の実行速度が回復した場合、送信側のバッファメモリ内のデータを出来るだけ速く送出してしまい、バッファメモリの空き容量をなるべく大きくしておくことが望ましい。
そのため、本実施の形態では、クライアント端末A,B,Cとサーバ装置10間のデータ転送の実行速度が低下した後において、一時的にサーバ資源割り当てを変更する。
そのため、本実施の形態では、クライアント端末A,B,Cとサーバ装置10間のデータ転送の実行速度が低下した後において、一時的にサーバ資源割り当てを変更する。
具体的には、一例として、クライアント端末AがDVDカムコーダ装置の機能を持ってデータの送信元となる場合、サーバ装置10はサーバ資源であるデータ記録帯域やサーバ装置10の持つバッファメモリの割当てに関する優先度を上げ、その結果より多くのサーバ資源をクライアント端末Aに割り当てることとする。例えば、図36の(a)に示されるように、サーバ装置10は、通常の動作では、各アプリケーション(アプリA、アプリB)に割り当てるバッファメモリに加えて、予備の領域を確保しておく。そして、データ転送速度の低下後に、一時的にサーバ資源の割り当てを変更し、図36の(b)のように、上述の予備領域をアプリBに追加割当てする。
また、サーバ装置10は、記録転送帯域についても、アプリBのデータを記録要求するクライアント端末へ追加割当てする。そして、前記クライアント端末は、通常よりも高いデータ転送レートでサーバ装置10へデータの記録を行なう。その結果、サーバ装置10側ではより多くのデータを受け取ることになるが、バッファメモリの容量が一時的に多く割り当てられているので、それらのデータを受け取ることが可能となり、データの記録失敗を防ぐことが可能となる。
なお、図36では、予備領域を設けるとしたが、追加のサーバ資源の割当ては、他のクライアント端末に割当てられているサーバ資源を減らし、別のクライアント端末へ割り当てるようにしてもよい。
(実施の形態4)
本実施の形態においては、本発明に係るデータ管理システムにおけるデータ転送の信頼性を向上させる方法について説明する。
本実施の形態においては、本発明に係るデータ管理システムにおけるデータ転送の信頼性を向上させる方法について説明する。
本実施の形態におけるデータ管理システムは、実施の形態1と同様の構成を有する。
図42は、上記図31の端末特性情報I100とは異なる端末特性情報I101のデータ構造を示す図である。なお、端末特性情報I101に含まれる端末ID情報、記録属性情報、再生属性情報、及びアクセス制御情報はそれぞれ、上述の端末特性情報I100に含まれる端末ID情報、記録属性情報、再生属性情報、及びアクセス制御情報と同様の構成を有する。
図42は、上記図31の端末特性情報I100とは異なる端末特性情報I101のデータ構造を示す図である。なお、端末特性情報I101に含まれる端末ID情報、記録属性情報、再生属性情報、及びアクセス制御情報はそれぞれ、上述の端末特性情報I100に含まれる端末ID情報、記録属性情報、再生属性情報、及びアクセス制御情報と同様の構成を有する。
メッセージ登録情報は、その端末特性情報I101を有するクライアント端末A,B,Cがサーバ装置10から受け取りたいメッセージ情報に関する情報を有する。
図43(a),(b)は、上記図42中のメッセージ登録情報のデータ構造を示す図である。一般属性情報は、メッセージ登録情報に関する一般的な属性情報を有する。例えば、メッセージ登録情報を識別するためのID情報等である。個別メッセージ情報テーブルは、クライアント端末A,B,Cがサーバ装置10へ登録する個別メッセージ情報のテーブルである。
図43(a)に示されるように、個別メッセージ情報テーブルは、複数個の個別メッセージ情報からなる。個別メッセージ情報は、クライアント端末A,B,Cがサーバ装置10へ登録する個別メッセージ情報を有する。
図43(b)に示されるように、個別メッセージ情報は、個別メッセージ一般情報と、送信トリガ情報と、メッセージ情報とを有する。個別メッセージ一般情報は、クライアント端末A,B,Cが登録しようとする個別メッセージ情報を識別するための情報、例えば、“0001”のようなID番号等を有する。送信トリガ情報は、後述するメッセージ情報をサーバ装置10からクライアント端末A,B,Cへ送信を開始する際の条件に関する情報を含む。送信を開始するための条件とは、例えば、サーバ装置10の電源電圧が所定の電圧を下回った場合等である。メッセージ情報は、前記送信トリガ情報に格納された条件が満たされたときに、サーバ装置10からクライアント端末A,B,Cへ送信されるメッセージ情報であり、例えば、“サーバ装置のバッテリレベルが低下しています”等の文字列や、サーバ装置10とクライアント端末A,B,C間で予め取り決められたメッセージを含む。
ここで、サーバ装置10の制御部11は、電源電圧の低下などの特定の事象が生じたか否かを判別する事象判別手段としての機能を有し、I/O部12は、上述の端末特性情報I101を各クライアント端末A,B,Cから取得することで、特定の事象に対応付けられたメッセージを示す内容のメッセージ登録情報を取得する。さらに、制御部11は、特定の事象が生じたと判別したときには、そのI/O部12により取得されたそのメッセージ登録情報に基づいてその事象に対応するメッセージを、端末特性情報I101の取得先となるクライアント端末に対して通知する。
これにより、例えば、サーバ装置10の電源電圧を送信トリガ情報の条件として、あるクライアント端末A,B,Cからサーバ装置10へメッセージ情報を登録しておけば、利用者の意図した特定のクライアント端末A,B,Cでサーバ装置10の電源電圧低下を知ることができ、意図しないサーバ装置10の停止などによるデータ転送の失敗等を防ぐことが可能となる。
上述と異なるメッセージ情報が登録されている本システムの動作の例として、サーバ装置10が記録装置部14としてDVDのような可換型の記録媒体を持つ場合について、図44を用いて説明する。
クライアント端末Aにおいて、個別メッセージ情報の送信トリガ情報の条件が、サーバ装置10上での記録媒体の交換であり、メッセージ情報が“ディスクが交換されました”のメッセージであれば、サーバ装置10上で記録媒体が交換された場合、上述のメッセージ情報がクライアント端末Aへ送信される。
これにより、利用者の不注意などにより、意図しない記録媒体にデータを記録したり、記録自体の失敗を回避したりすることが可能となる。
これにより、利用者の不注意などにより、意図しない記録媒体にデータを記録したり、記録自体の失敗を回避したりすることが可能となる。
さらに、送信トリガ情報中に、可換媒体の持つ固有の識別ID等を含めるようにすることにより、より確実に記録媒体の交換を検出可能となる。
また、上述と異なるメッセージ情報が登録されている本システムの動作の例として、サーバ装置10とクライアント端末Aとのネットワーク接続に関する場合について、図45を用いて説明する。
また、上述と異なるメッセージ情報が登録されている本システムの動作の例として、サーバ装置10とクライアント端末Aとのネットワーク接続に関する場合について、図45を用いて説明する。
サーバ装置10とクライアント端末A間が無線方式のデジタルネットワーク接続で接続される場合、サーバ装置10とクライアント端末A間の電波状況によりネットワーク接続が途絶えたり、データ転送速度が低下したりする場合がある。例えば、図45では、クライアント端末Aがカムコーダ機能を持っており、AVデータの録画を行なうような場合、そのAVデータは、上記実施の形態1で述べたように、“連続メディアデータ”であってかつ“再送不可能データ”である。この場合、データの再送が不可能なことから、ネットワークの断絶やデータ転送速度の低下によるデータ記録の失敗は、利用者にとって大きな損失となる。
そこで、クライアント端末Aにおいて、メッセージ登録情報の送信トリガ情報の条件が、サーバ装置10とクライアント端末A間のネットワークの接続状況(例えば、クライアント端末Aとサーバ装置10間のデータ転送の実行速度や、クライアント端末Aとサーバ装置10間の距離情報等)であれば、利用者はネットワークの状況を知ることができ、例えばサーバ装置10とクライアント端末A間の距離を近づけるなどの対策を事前にとることができる。その結果、再送不能なデータ等の貴重なデータを失わなくてもすむ。
なお、個別メッセージ情報は、上記の他に、メッセージ情報の種類を表すような属性情報、例えば、警告のレベルとして“緊急”、“注意”、“参考”などの情報を含んでもよい。また、メッセージの登録を行なったクライアント端末と異なるクライアント端末へメッセージを送信したい場合は、その端末を識別するための情報を含むようにしてもよい。この時、サーバ装置10は指定されたクライアント端末へメッセージ情報を送信する。
さらに、サーバ装置10の電源電圧低下や無線方式のネットワークの接続状況などの重要なメッセージに関しては、クライアント端末A,B,C側でメッセージ情報を登録しなくても、サーバ装置10側で自動的にクライアント端末A,B,Cへ送信するようにしてもよい。これは、暗黙のうちに予めメッセージ情報の登録が行なわれているのと同じことであり、本実施の形態の一つである。
(実施の形態5)
本実施の形態では、複数のクライアント端末から、異なるアプリケーションフォーマットに従ったデータがサーバ装置へ記録される場合の動作について説明する。ここで、アプリケーションフォーマットとは、例えば、上述したDVD規格やDCF規格などのことである。また、アプリケーションデータとは、DVD規格であれば、MPEG2のAVストリームデータであり、DCF規格ではDCFオブジェクトなどである。
本実施の形態では、複数のクライアント端末から、異なるアプリケーションフォーマットに従ったデータがサーバ装置へ記録される場合の動作について説明する。ここで、アプリケーションフォーマットとは、例えば、上述したDVD規格やDCF規格などのことである。また、アプリケーションデータとは、DVD規格であれば、MPEG2のAVストリームデータであり、DCF規格ではDCFオブジェクトなどである。
また、管理データとは、DVD規格であれば、上記図16(a)や図17(a)で説明したビデオ管理情報ファイルである。DCF規格では、管理データは存在しないが、全てのディレクトリ名やファイル名がDCF規格に準拠しなければならず、ファイルシステムの機能を利用してこれらの管理が行なわれている。
図46は、本実施の形態におけるサーバ装置の構成を示す図である。サーバ装置40は、上述のサーバ装置10と同様、I/O部12、UI部13、記録装置部14、及び端末特性情報処理部15を備えるとともに、さらに制御部41を備える。この制御部41は、管理データ処理部41aを具備し、サーバ装置10の制御部11が有する機能を有するとともに、その管理データ処理部41aに基づく機能をも有する。
また、本実施の形態のデータ管理システムは、上述のサーバ装置40とクライアント端末A,B,Cとから構成される。
管理データ処理部41aは、クライアント端末A,B,Cからデータ転送されてきたアプリケーションデータを管理するための管理データを処理する部分である。すなわち、DVD規格に対しては、ビデオ管理情報ファイルを処理し、DCF規格に対しては、ディレクトリ名やファイル名の管理を行なう。
図47は、本実施の形態におけるサーバ装置40とクライアント端末A,B間の動作を説明するための図である。図47では、クライアント端末AはDVDカムコーダ装置の機能を持ち、アプリケーションデータとして、上記図8で述べたようなMPEG2データ等をサーバ装置40へ記録する。また、クライアント端末BはDSCの機能を持ち、アプリケーションデータとして、上記図23で述べたようなDCFオブジェクト等をサーバ装置40へ記録する。
上記実施の形態1で述べたように、クライアント端末A,Bはサーバ装置40に接続する際、端末特性情報I100をサーバ装置40へ送信し、サーバ資源の割当てを受け、その後にデータ記録要求を行なう。上記の通り、クライアント端末A,Bはそれぞれ異なるアプリケーションデータをサーバ装置40へ記録しようとするので、サーバ装置40は、クライアント端末A,Bの端末特性情報I100や、クライアント端末A,Bがアプリケーションデータと共に送信するデータ識別情報を参照して、アプリケーションフォーマットを判別する。そして、そのアプリケーションフォーマットに従って、管理データ処理部41aは管理データの処理を行なう。結果として、図47に示されるように、サーバ装置40の記録装置部14内には、DVD規格とDCF規格に準拠した管理データとアプリケーションデータが記録されることになる。
上記のようなデータ記録を行なうことにより、クライアント端末A,Bで発生したデータは、それぞれバラバラの記録装置や記録媒体内に個別に格納されることが無くなり、利用者が管理しなければならない記録装置や記録媒体の数を減らすことが可能となる。その結果、どこにどんなデータがあったか、バックアップは行なったか等、データ管理のための手間が非常に低減される。
また、本実施の形態のように、DSCとカムコーダを同時に使用し、同じ対象物を撮影、録画するような場合、利用者は、サーバ装置40の記録装置部14内のデータを順次再生するだけで、撮影時の状況や撮影順序を再現、再生できることになり、利便性が大幅に向上する。
図48は、上記図47の状態に対して、さらにクライアント端末Cが接続された場合の動作を説明するための図である。
クライアント端末Cは、クライアント端末Aと同様、カムコーダ機能を持つ。記録動作において、サーバ装置40には二つのカムコーダ機能を持ったクライアント端末が接続することになる。クライアント端末A,Bからデータ転送されてきたMPEG2データは、サーバ装置40上で一つの管理データで管理される。この時、サーバ装置40に記録されたAVストリームデータ中には、クライアント端末Aとクライアント端末Cで生成されたAVストリームデータが混在することになる。
クライアント端末Cは、クライアント端末Aと同様、カムコーダ機能を持つ。記録動作において、サーバ装置40には二つのカムコーダ機能を持ったクライアント端末が接続することになる。クライアント端末A,Bからデータ転送されてきたMPEG2データは、サーバ装置40上で一つの管理データで管理される。この時、サーバ装置40に記録されたAVストリームデータ中には、クライアント端末Aとクライアント端末Cで生成されたAVストリームデータが混在することになる。
サーバ装置40の管理データ処理部41aは、AVストリームデータのどの部分がどのクライアント端末で生成されたかを、例えば、上記図16(a)で示されるビデオ管理情報内に格納しておく。クライアント端末を識別するため情報は、例えば、端末特性情報I100の端末ID情報を利用すればよい。
これにより、利用者がサーバ装置40上のデータを再生するとき、再生された映像がどのクライアント端末で生成されたかを知ることができ、データ管理が容易になる。
これにより、利用者がサーバ装置40上のデータを再生するとき、再生された映像がどのクライアント端末で生成されたかを知ることができ、データ管理が容易になる。
図49は、上記図47とは異なるデータ格納方法での動作を説明するための図である。図49では、各クライアント端末A,Bは、サーバ装置へアプリケーションデータをデータ転送しないこととする。
各アプリケーションデータは、各クライアント端末A,B内に備えられた記録装置部25内に記録される。そして、各クライアント端末A,Bは、サーバ装置40に対して、自身の記録装置部25内に記録した各アプリケーションデータへのリンク先を示すリンク情報と、そのアプリケーションデータを管理するための管理データを生成するのに必要な情報を送信する。例えば、DCF規格の場合であれば、リンク情報にはDCFオブジェクトのファイル名やディレクトリ名などからなるパス名情報が含まれる。
サーバ装置40は、各クライアント端末A,Bから受け取った情報を元に、管理データを生成し、また、各アプリケーションデータへのリンク情報を記録しておく。
なお、管理データに関しては、その情報をまとめて送信してもよい。例えば、図49のクライアント端末Aでは、管理ファイルである“VIDEO_Manager”全体を送信(コピー)してもよい。このような記録の後、利用者は、サーバ装置40内の管理データを参照してアプリケーションデータの再生を行なう。ただし、実際にはサーバ装置40内にアプリケーションデータは存在しないので、サーバ装置40は、アプリケーションデータへのリンク情報を参照し、該当するクライアント端末に対して、アプリケーションデータの送信を要求する。
サーバ装置40からのデータ送信要求を受け取ったクライアント端末A,Bは、サーバ装置40へアプリケーションデータを送信する。サーバ装置40は、クライアント端末A,Bからアプリケーションデータを受取して、利用者へ表示する。
以上より、図49においては、利用者はサーバ装置40だけを参照することにより、複数のクライアント端末A,B,Cに格納されたアプリケーションデータを読み出すことが可能となり、データ再生における利便性が向上する。
図50は、上記図47とは異なるデータ格納方法での動作を説明するための図である。図50では、上記図47と同様のクライアント端末A,Bがサーバ装置40に接続されている。図50のサーバ装置40は、クライアント端末AからのMPEG2データとその管理データを記録する。また、同様に、クライアント端末BからのDCFデータ(DCFオブジェクト)とその管理データを記録する。さらに、図50のサーバ装置40は、クライアント端末Aからのアプリケーションデータとクライアント端末Bからのアプリケーションデータの生成時刻情報を含む第3の管理データを記録する。
図50では、この第3の管理データは、ルートディレクトリ下の“SCRIPT”ディレクトリの下の“ABCD0001.XML”というファイルで示される。以降、この第3の管理データをスクリプトファイルと呼ぶ。
このスクリプトファイルは、上記のように、各クライアント端末A,Bでアプリケーションデータが生成された時刻やそのデータフォーマット等に関連する情報を含むファイルであり、例えば、アプリケーションデータへの参照情報がその生成された順序で記録されたファイルである。本システムにより、このスクリプトファイルを参照して再生されるときの表示の例を図51に示す。図51には、同時に撮影されたアプリケーションデータAとアプリケーションデータBが同一画面上に再生されている。これは、スクリプトファイルに記録された生成時刻情報に同期させて各アプリケーションデータを再生、表示することにより、記録時の状況をそのまま再現した状態である。その結果、複数のクライアント端末で生成されたデータを一括して再生でき、データ利用上の利便性が向上する。
なお、スクリプトファイルのためのデータフォーマットは、例えば、アプリケーションデータへの参照情報と、当該データが生成された生成時刻情報が関連づけられて記録されるフォーマットでもよい。また、上記図17(a)に示される再生経路情報テーブルのような形式でもよい。さらに、各アプリケーションデータ間の再生同期のタイミングが記録されるような形式でもよい。さらにまた、スクリプトファイル内には、アプリケーションデータの生成時刻情報や再生同期タイミングの他に、各アプリケーションデータの再生時の画面内の配置情報やその他付加情報を含んでもよい。例えば、図51において、アプリAのMPEG2データの表示されるUI部13,23であるディスプレイ上の位置や大きさを指定する情報を含んでも良い。また、スクリプトファイルを、例えば、W3Cの規格であるXMLに従った記述言語の形式や、SMIL規格のような記述言語、Apple Computer, Inc.が規定するマルチメディアフォーマットであるQuick Timeのフォーマットで構成しても良い。
図52は、SMIL規格により構成された上述のスクリプトファイルの一例を示すファイル内容表示図である。
例えば、この図52に示すように、スクリプトファイルには、サーバ装置40のUI部13の表示画面上における画像の表示範囲を示す情報が含まれており、さらに、アプリケーションデータのデータファイル名1(“1000ABCD.MPG”)、データファイル名2(“2000ABCD.MPG”)、データファイル名3(“2001ABCD.JPG”)、及びデータファイル名4(“3000ABCD.MPG”)が、それらの生成時刻の順に沿って配列されている。また、データファイル名2及びデータファイル名3は、それぞれのアプリケーションデータが同じ時刻に生成されたものとして配列されている。
例えば、この図52に示すように、スクリプトファイルには、サーバ装置40のUI部13の表示画面上における画像の表示範囲を示す情報が含まれており、さらに、アプリケーションデータのデータファイル名1(“1000ABCD.MPG”)、データファイル名2(“2000ABCD.MPG”)、データファイル名3(“2001ABCD.JPG”)、及びデータファイル名4(“3000ABCD.MPG”)が、それらの生成時刻の順に沿って配列されている。また、データファイル名2及びデータファイル名3は、それぞれのアプリケーションデータが同じ時刻に生成されたものとして配列されている。
また、上述のようなスクリプトファイルを日付毎に複数、サーバ装置40内に記録するようにしてもよい。これにより、例えば、日付別のデータ管理等が可能となる。
また、端末特性情報I100内(例えば、アプリケーション一般情報内)にアプリケーションフォーマット間の関連を格納するようにしてもよい。すなわち、アプリケーション識別情報が例えば“DCIM”である端末特性情報を持つクライアント端末Aにおいて、さらに、そのアプリケーション識別情報に関連する関連アプリケーション識別情報としてDVDビデオレコーディング規格を示す“DVD−VR”という識別情報を格納しておく。クライアント端末Aから、このような端末特性情報を受け取ったサーバ装置40は、別のクライアント端末BからDVDビデオレコーディング規格のデータを受け取ると、クライアント端末Aのアプリケーションデータとクライアント端末Bのアプリケーションデータに対して、前記スクリプトファイルを生成する。さらに、別のクライアント端末Cから異なるアプリケーション間の関連アプリケーション識別情報を受け取ったら、そのアプリケーション間に対するスクリプトファイルを生成する。
また、端末特性情報I100内(例えば、アプリケーション一般情報内)にアプリケーションフォーマット間の関連を格納するようにしてもよい。すなわち、アプリケーション識別情報が例えば“DCIM”である端末特性情報を持つクライアント端末Aにおいて、さらに、そのアプリケーション識別情報に関連する関連アプリケーション識別情報としてDVDビデオレコーディング規格を示す“DVD−VR”という識別情報を格納しておく。クライアント端末Aから、このような端末特性情報を受け取ったサーバ装置40は、別のクライアント端末BからDVDビデオレコーディング規格のデータを受け取ると、クライアント端末Aのアプリケーションデータとクライアント端末Bのアプリケーションデータに対して、前記スクリプトファイルを生成する。さらに、別のクライアント端末Cから異なるアプリケーション間の関連アプリケーション識別情報を受け取ったら、そのアプリケーション間に対するスクリプトファイルを生成する。
これにより、特定のアプリケーションの組みに対応したスクリプトファイルが生成できるようになり、データの管理が容易になる。
次に、本実施の形態のサーバ装置40の基本動作について説明する。図53は、管理データ処理部41aの基本動作を説明するための図である。
管理データ処理部41aでは、複数のアプリケーションデータに関して全体を管理する全体管理部と、各アプリケーションの管理データを管理するアプリケーション管理部からなる。アプリケーション管理部は、それぞれのアプリケーション毎に設けられる。全体管理部とアプリケーション管理部は、アプリケーション規格の詳細に依存しない共通の抽象的なインタフェースを通じて指示や応答のやりとりを行なう。
管理データ処理部41aでは、複数のアプリケーションデータに関して全体を管理する全体管理部と、各アプリケーションの管理データを管理するアプリケーション管理部からなる。アプリケーション管理部は、それぞれのアプリケーション毎に設けられる。全体管理部とアプリケーション管理部は、アプリケーション規格の詳細に依存しない共通の抽象的なインタフェースを通じて指示や応答のやりとりを行なう。
本構成により、例えば、図53の状態に、さらに別のアプリケーションCが加わる場合でも、アプリケーションCに対応したアプリケーション管理部を追加するだけで、システム全体の構成の変更は不要である。
各アプリケーション管理部は、記録装置部14に対して、上記図37で示した仮想パーティション空間を通じてデータの記録・再生を行なう。また、I/O部12を通じて、クライアント端末A,B,Cと送受信するデータの記録・再生の制御に関しても、仮想パーティション空間のアドレス情報に基づいて制御を行なう。
図53に示されるように、各仮想パーティション空間は制御部41(管理データ処理部41a)により管理される。仮想パーティション空間へのアクセスは、所定のインタフェースを通じて行なわれる。本実施の形態のインタフェースでは、仮想パーティション内のデータを見ると、対応するアプリケーションに関するディレクトリやファイルだけが見えるよう規定されている。
また、制御部41は、上記図50を用いて説明したように、スクリプトファイルの生成や記録装置部14への記録を行なう。
また、制御部41は、上記図50を用いて説明したように、スクリプトファイルの生成や記録装置部14への記録を行なう。
以上のような構成により、アプリケーション管理部は、自身が管理するアプリケーションにのみ考慮した実装を行なえばよく、一つのパーティション空間に複数のアプリケーションが混在する場合することを考慮する場合に比べて容易に実装可能となる。
また、上述したように、新たなアプリケーションが加わった場合でもその影響を最小限にとどめることが可能となる。
また、上述したように、新たなアプリケーションが加わった場合でもその影響を最小限にとどめることが可能となる。
また、複数のアプリケーションが混在する場合でも、アプリケーション管理部から見た時に、ディレクトリ名やファイル名の重複を考慮する必要が無くなる。
この場合、制御部41がパーティション空間内において、ディレクトリ名やファイル名の重複を管理し、パーティション空間内のディレクトリ名/ファイル名を仮想パーティション空間内のディレクトリ名/ファイル名と異なるものとし、その両者の関連づけを管理するなどすればよい。
この場合、制御部41がパーティション空間内において、ディレクトリ名やファイル名の重複を管理し、パーティション空間内のディレクトリ名/ファイル名を仮想パーティション空間内のディレクトリ名/ファイル名と異なるものとし、その両者の関連づけを管理するなどすればよい。
次に、本実施の形態のサーバ装置40の再生動作について説明する。図54は、管理データ処理部41aの再生動作を説明するための図である。
制御部41の全体管理部は、記録装置部14からスクリプトファイルを読み出し、その内容を解釈する。スクリプトファイルを解釈することにより各アプリケーションデータの再生タイミングやディスプレイへの表示位置が決定される。
制御部41の全体管理部は、記録装置部14からスクリプトファイルを読み出し、その内容を解釈する。スクリプトファイルを解釈することにより各アプリケーションデータの再生タイミングやディスプレイへの表示位置が決定される。
全体管理部は、各アプリケーション管理部へ再生タイミングと表示位置などに関する指示を出す。指示を受けたアプリケーション管理部は、記録装置部14やUI部13などに指示を出し、全体管理部から指示された再生タイミングや表示位置にデータが表示されるようにする。
その結果、上記図51に示されるように、異なるアプリケーションデータが同一のディスプレイ上に表示され、利用者は複数のクライアント端末を別々に再生する必要が無くなり、利便性が向上する。
図55は、上述の図52に示すスクリプトファイルが管理データ処理部41aの全体管理部により読み込まれたときのサーバ装置10の動作を説明するための説明図である。
例えば、管理データ処理部41aの全体管理部は、図52に示すスクリプトファイルを読み込むと、そのスクリプトファイルの内容を解釈する。つまり、全体管理部は、スクリプトファイルに含まれる表示範囲を示す情報に基づいて、図55の(a)に示すように、UI部13のディスプレイ上における画像の表示範囲rA,rBを特定し、図55の(b)に示すように、スクリプトファイルに含まれるデータファイル名1(“1000ABCD.MPG”)、データファイル名2(“2000ABCD.MPG”)、データファイル名3(“2001ABCD.JPG”)、及びデータファイル名4(“3000ABCD.MPG”)の順に従って、これらのデータファイル名で示されるアプリケーションファイルを上述の表示範囲rA,rBに表示させる。ここで、スクリプトファイルには、データファイル名2及びデータファイル名3が、それぞれのアプリケーションデータが同じ時刻に生成されたものとして配列されているため、データファイル名2及びデータファイル名3により示されるそれぞれのアプリケーションデータは、時間T2の間、同時に再生される。即ち、まず、表示範囲rAには、データファイル名1により示されるアプリケーションデータと、データファイル名2により示されるアプリケーションデータと、データファイル名4により示されるアプリケーションデータとが動画像として順に表示されるとともに、表示範囲rBには、データファイル名3により示されるアプリケーションデータが、データファイル名2に示されるアプリケーションデータの表示とともに、時間T2だけ静止画像として表示される。
例えば、管理データ処理部41aの全体管理部は、図52に示すスクリプトファイルを読み込むと、そのスクリプトファイルの内容を解釈する。つまり、全体管理部は、スクリプトファイルに含まれる表示範囲を示す情報に基づいて、図55の(a)に示すように、UI部13のディスプレイ上における画像の表示範囲rA,rBを特定し、図55の(b)に示すように、スクリプトファイルに含まれるデータファイル名1(“1000ABCD.MPG”)、データファイル名2(“2000ABCD.MPG”)、データファイル名3(“2001ABCD.JPG”)、及びデータファイル名4(“3000ABCD.MPG”)の順に従って、これらのデータファイル名で示されるアプリケーションファイルを上述の表示範囲rA,rBに表示させる。ここで、スクリプトファイルには、データファイル名2及びデータファイル名3が、それぞれのアプリケーションデータが同じ時刻に生成されたものとして配列されているため、データファイル名2及びデータファイル名3により示されるそれぞれのアプリケーションデータは、時間T2の間、同時に再生される。即ち、まず、表示範囲rAには、データファイル名1により示されるアプリケーションデータと、データファイル名2により示されるアプリケーションデータと、データファイル名4により示されるアプリケーションデータとが動画像として順に表示されるとともに、表示範囲rBには、データファイル名3により示されるアプリケーションデータが、データファイル名2に示されるアプリケーションデータの表示とともに、時間T2だけ静止画像として表示される。
以上のような構成にすることにより、アプリケーション管理部は、自身が管理するアプリケーションにのみ考慮した実装を行なえばよく、一つのパーティション空間に複数のアプリケーションが混在する場合に比べて容易に実装可能となる。また、上述したように、新たなアプリケーションが加わった場合でもその影響を最小限にとどめることが可能となる。
なお、上記の実施の形態1〜5においては、クライアント端末A,B,Cへ割り当てられるサーバ資源として主に記録転送帯域について述べたが、サーバ資源は記録転送帯域に限られるものではなく、例えば、再生転送帯域や記録装置部14上の記憶容量などであってもよい。
また、サーバ装置10,40の具体的な形態に関しては、小型で利用者が身につけて歩けるような形態でもよいし、自動車に搭載するような形態でもよい。また、サーバ装置10,40を携帯電話のように遠距離の通信が可能なデジタルネットワークと接続することにより、サーバ装置10,40を利用者の家においたり、本データ管理システムを、インターネットサービスプロバイダ(ISP)などが各端末に対してサービスを提供するような形態として構成しても良い。
本発明にかかるデータ管理装置は、各端末機がそれぞれの用途に応じて異なるデータ処理を行う場合であっても、その各端末機に扱われるデータを適切に且つ容易に管理することができるという効果を奏し、例えば画像や音声などのデジタルデータの送受信や保存等の管理を行うサーバや携帯端末等に適用可能である。
10 サーバ装置
11 制御部
12 I/O部
13 UI部
14 記録装置部
15 端末特性情報処理部
I100 端末特性情報
11 制御部
12 I/O部
13 UI部
14 記録装置部
15 端末特性情報処理部
I100 端末特性情報
Claims (46)
- 複数の端末機のそれぞれに扱われる各データを管理するデータ管理装置であって、
前記端末機のデータ処理に関する内容を示す端末特性情報を前記端末機から取得する取得手段と、
前記取得手段が取得した前記端末特性情報に基づいて前記データの取り扱い方を決定する決定手段と、
前記決定手段が決定した取り扱い方に基づいて、前記複数の端末機との間でデータを送受信してこれを処理するデータ処理手段と
を備えることを特徴とするデータ管理装置。 - 前記決定手段は、
前記データの取り扱いに用いられる前記データ管理装置が有するサーバ資源の、前記複数の端末機に対する割り当て方を決定し、
前記データ処理手段は、
前記決定手段が決定した割り当て方に基づいて、前記複数の端末機に前記サーバ資源を割り当てる
ことを特徴とする請求項1記載のデータ管理装置。 - 前記決定手段は、
前記各端末機に対する優先度を特定して、前記優先度に応じて前記割り当て方を決定する
ことを特徴とする請求項2記載のデータ管理装置。 - 前記データ管理装置は、さらに、
所定の事象が生じたか否かを判別する事象判別手段を備え、
前記取得手段は、
前記事象に対応付けられたメッセージを示す内容のメッセージ登録情報を前記端末機から取得し、
前記データ処理手段は、
前記事象判別手段により所定の事象が生じたと判別されたときには、前記取得手段により取得された前記メッセージ登録情報に基づいて、前記事象に対応するメッセージを前記端末機に通知する
ことを特徴とする請求項2記載のデータ管理装置。 - 前記事象判別手段は、
前記データ管理装置における電源環境に変化が生じたか否かを判別し、
前記データ処理手段は、
前記変化を知らしめる内容のメッセージを通知する
ことを特徴とする請求項4記載のデータ管理装置。 - 前記事象判別手段は、
前記データ管理装置における記憶媒体に関する変化が生じたか否かを判別し、
前記データ処理手段は、
前記変化を知らしめる内容のメッセージを通知する
ことを特徴とする請求項4記載のデータ管理装置。 - 前記事象判別手段は、
前記データ管理装置と前記複数の端末機との間の伝送路の状態に変化が生じたか否かを判別し、
前記データ処理手段は、
前記変化を知らしめる内容のメッセージを通知する
ことを特徴とする請求項4記載のデータ管理装置。 - 前記データ管理装置は、さらに、
前記データ処理手段により受信された前記端末機からのデータに基づいて、前記データの作成に関する属性を特定し、特定した属性に基づいて前記データを管理する管理手段を備える
ことを特徴とする請求項2記載のデータ管理装置。 - 前記管理手段は、
前記データ処理手段により受信された前記端末機からのデータに基づいて、前記データのデータフォーマットを特定し、特定したデータフォーマットに基づいて前記データを管理する
ことを特徴とする請求項8記載のデータ管理装置。 - 前記管理手段は、
前記データ処理手段により受信された前記端末機からのデータに基づいて、前記データの作成された日時を特定し、特定した日時に基づいて前記データを管理する
ことを特徴とする請求項8記載のデータ管理装置。 - 前記管理手段は、
前記データ処理手段により受信された前記端末機からのデータに基づいて、前記データのデータフォーマット及び前記データの作成された日時を特定し、特定したデータフォーマット及び日時に基づいて前記データを管理する
ことを特徴とする請求項8記載のデータ管理装置。 - 前記データ管理装置は、さらに、
前記端末機に記憶されているデータの記憶に関する属性を示す内容の属性情報を前記端末機から取得して、前記端末機に記憶されているデータを、前記属性情報に基づいて管理する管理手段を備える
ことを特徴とする請求項2記載のデータ管理装置。 - 前記管理手段は、
前記端末機に記憶されているデータの格納位置を特定するためのパス名情報を示す前記属性情報を取得して、前記端末機に記憶されているデータを、前記パス名情報に基づいて管理する
ことを特徴とする請求項12記載のデータ管理装置。 - 前記データ管理装置は、さらに、
前記データ処理手段により受信された前記端末機からのデータに基づいて、前記データの作成された日時を特定して記憶する日時記憶手段と、
前記日時記憶手段により記憶されている日時に基づいて、前記データ処理手段により受信されたデータを同期して出力する同期手段と
を備えることを特徴とする請求項2記載のデータ管理装置。 - 前記取得手段は、
前記データ処理手段により受信されるデータの作成された日時を示す内容の前記端末特性情報を取得し、
前記決定手段は、
前記端末特性情報により示される日時に基づいて、前記データ処理手段により受信されたデータの出力順を決定し、
前記データ処理手段は、
前記決定された出力順に基づいて前記データを同期して出力する
ことを特徴とする請求項1記載のデータ管理装置。 - 前記データ処理手段は、前記データを画面に表示して出力する
ことを特徴とする請求項15記載のデータ管理装置。 - 複数の端末機のそれぞれに扱われる各データを管理するデータ管理装置であって、
前記データ管理装置が有するサーバ資源の前記複数の端末機に対する割り当てのパターンを示す内容の割当パターン情報を記憶するための記憶手段と、
前記記憶手段に記憶されている前記割当パターン情報を前記端末機に送信する送信手段と、
前記割当パターン情報に基づいて所定のパターンを指示する内容の指示情報を前記端末機から取得する取得手段と、
前記取得手段により取得された前記指示情報に示されるパターンに基づいて前記サーバ資源を割り当てて、前記複数の端末機との間でデータを送受信してこれを処理するデータ処理手段と
を備えることを特徴とするデータ管理装置。 - 前記割当パターン情報には複数のパターンが示されてあって、
前記取得手段は、
前記割当パターン情報に示される複数のパターンの中から何れかのパターンを選択して指示する内容の前記指示情報を取得する
ことを特徴とする請求項17記載のデータ管理装置。 - 前記データ管理装置は、さらに、
前記記憶手段に記憶されている前記割当パターン情報により示されるパターンを表示し、ユーザによる操作に応じた所定のパターンを特定するユーザインタフェース手段を備え、
前記データ処理手段は、
前記ユーザインタフェース手段により特定された所定のパターンに基づいて、前記複数の端末機との間でデータを送受信してこれを処理する
ことを特徴とする請求項18記載のデータ管理装置。 - 前記ユーザインタフェース手段は、
表示したパターンの中から、ユーザによる操作に応じたパターンを選択して特定する
ことを特徴とする請求項19記載のデータ管理装置。 - 前記ユーザインタフェース手段は、
表示したパターンの中から、ユーザによる操作に応じたパターンを選択し、さらに、選択した前記パターンに対して、ユーザによる操作に応じて内容が変更されたパターンを特定する
ことを特徴とする請求項20記載のデータ管理装置。 - 前記ユーザインタフェース手段は、
前記記憶手段に記憶されている前記割当パターン情報を、前記変更結果に基づいて更新する
ことを特徴とする請求項21記載のデータ管理装置。 - 前記取得手段は、
前記割当パターン情報に示されるパターンに対して内容が変更されたパターンを指示する前記指示情報を取得する
ことを特徴とする請求項17記載のデータ管理装置。 - 前記送信手段は、
前記端末機からの要求に応じ、前記端末機に関連するパターンを示す割当パターン情報を前記記憶手段から読み出して前記端末機に送信する
ことを特徴とする請求項17記載のデータ管理装置。 - 前記割当パターン情報に示されるパターンは、各端末機を識別するために割り当てられた識別情報と、前記識別情報により特定される端末機に対して割り当てられるサーバ資源を示す内容とを含み、
前記送信手段は、
前記端末機からの要求に応じ、前記端末機の識別情報を含むパターンを示す割当パターン情報を前記端末機に送信する
ことを特徴とする請求項24記載のデータ管理装置。 - 前記データ管理装置は、さらに、
前記データの処理環境の変化を検出し、前記指示情報に示されるパターンの内容を、前記検出結果に応じて変更する検出変更手段を備え、
前記データ処理手段は、
前記検出変更手段により変更されたパターンに基づいて前記サーバ資源の割り当てを行う
ことを特徴とする請求項17項に記載のデータ管理装置。 - 前記検出変更手段は、
前記データ管理装置が有するサーバ資源に関する変化を、前記処理環境の変化として検出する
ことを特徴とする請求項26記載のデータ管理装置。 - 前記検出変更手段は、
前記データ管理装置の電源環境に関する変化を、前記サーバ資源に関する変化として検出する
ことを特徴とする請求項27記載のデータ管理装置。 - 前記検出変更手段は、
前記データ管理装置と前記端末機間の伝送路の状態の変化を、前記処理環境の変化として検出する
ことを特徴とする請求項26記載のデータ管理装置。 - サーバが有するサーバ資源を用いて前記サーバと通信する端末機であって、
前記端末機のデータ処理に関する内容を示す端末特性情報を前記サーバへ送信する送信手段と、
前記送信手段により送信された前記端末特性情報に基づいて前記サーバにより決定された、前記サーバ資源の前記端末機に対する割り当て方に応じて、前記サーバとの間でデータを送受信してこれを処理するデータ処理手段と
を備えることを特徴とする端末機。 - 前記端末機は、さらに、
前記サーバが有するサーバ資源の前記端末機に対する割り当てのパターンを示す内容の割当パターン情報を、前記サーバから取得するパターン取得手段と、
前記パターン取得手段が取得した割当パターン情報に示される複数のパターンの中から何れかのパターンを選択する選択手段と、
前記選択手段により選択されたパターンに基づいてサーバ資源を割り当てるように指示する内容の選択指示情報を、前記サーバに送信する指示手段と
を備えることを特徴とする請求項30記載の端末機。 - 前記端末機は、さらに、
前記選択手段により選択されたパターンの内容を変更する変更手段を備え、
前記指示手段は、
前記変更手段により変更されたパターンに基づいてサーバ資源を割り当てるように指示する内容の変更指示情報を前記サーバに送信する
ことを特徴とする請求項31記載の端末機。 - 前記端末機は、さらに、
前記割当パターン情報により示されるパターンを表示するユーザインタフェース手段を備え、
前記選択手段は、
前記ユーザインタフェース手段により表示された複数のパターンの中から、ユーザの操作に応じたパターンを選択し、
前記変更手段は、
前記選択手段により選択され、前記ユーザインタフェース手段により表示されるパターンの内容をユーザの操作に応じて変更する
ことを特徴とする請求項32記載の端末機。 - 前記端末機は、さらに、
所定の事象に対応付けられたメッセージを示す内容のメッセージ登録情報を、前記サーバに送信する登録情報送信手段と、
前記メッセージ登録情報に基づいて前記サーバから通知されるメッセージを取得するメッセージ取得手段と、
前記メッセージ取得手段により取得されたメッセージを表示する表示手段と
を備えることを特徴とする請求項30記載の端末機。 - 前記端末機は、さらに、
前記端末機が記憶しているデータの記憶に関する属性を示して、前記データを前記属性に基づいて前記サーバに管理させるための属性情報を送信する属性情報送信手段を備える
ことを特徴とする請求項30記載の端末機。 - 前記属性情報送信手段は、
前記端末機が記憶しているデータの格納位置を特定するためのパス名情報を示す前記属性情報を送信する
ことを特徴とする請求項35記載の端末機。 - 複数の端末機と、前記複数の端末機のそれぞれに扱われる各データを管理するデータ管理装置とを備えたデータ管理システムであって、
前記データ管理装置は、
前記端末機のデータ処理に関する内容を示す端末特性情報を前記端末機から取得する取得手段と、
前記取得手段が取得した前記端末特性情報に基づいて、前記データ管理装置が有するサーバ資源の前記端末機に対する割り当て方を決定する決定手段と、
前記決定手段が決定した割り当て方に基づいて、前記複数の端末機との間でデータを送受信してこれを処理するデータ処理手段とを備え、
前記端末機は、
前記端末特性情報を送信する端末送信手段と、
前記決定手段により決定されたサーバ資源の割り当て方に応じて、前記データ管理装置との間でデータを送受信してこれを処理する端末データ処理手段と
を備えることを特徴とするデータ管理システム。 - 複数の端末機とデータ管理装置とを備えたデータ管理システムにおける前記複数の端末機のそれぞれに扱われる各データを管理するためのデータ管理方法であって、
前記端末機が、自己のデータ処理に関する内容の端末特性情報を前記データ管理装置に送信する端末送信ステップと、
前記データ管理装置が、前記端末特性情報を前記端末機から取得する取得ステップと、
前記データ管理装置が、前記取得ステップで取得された前記端末特性情報に基づいて、前記データ管理装置が有するサーバ資源の前記端末機に対する割り当て方を決定する決定ステップと、
前記データ管理装置及び前記端末機が、前記決定ステップで決定された割り当て方に基づいて、相互間でデータを送受信してこれを処理するデータ処理ステップと
を含むことを特徴とするデータ管理方法。 - データ管理装置が複数の端末機のそれぞれに扱われる各データを管理するデータ管理方法であって、
前記端末機のデータ処理に関する内容を示す端末特性情報を前記端末機から取得する取得ステップと、
前記取得ステップで取得された前記端末特性情報に基づいて、前記データ管理装置が有するサーバ資源の前記端末機に対する割り当て方を決定する決定ステップと、
前記決定ステップで決定された割り当て方に基づいて、前記複数の端末機との間でデータを送受信してこれを処理するデータ処理ステップと
を含むことを特徴とするデータ管理方法。 - サーバが有するサーバ資源を用いて前記サーバと通信する端末機が、自らによって扱われるデータを前記サーバに対して管理させるためのデータ管理方法であって、
前記端末機のデータ処理に関する内容を示す端末特性情報を送信する送信ステップと、
前記送信ステップにより送信された前記端末特性情報に基づいて前記サーバにより決定された、前記サーバ資源の前記端末機に対する割り当て方に応じて、前記サーバとの間でデータを送受信してこれを処理するデータ処理ステップと
を含むことを特徴とするデータ管理方法。 - データ管理装置が複数の端末機のそれぞれに扱われる各データを管理するために実行するプログラムであって、
前記端末機のデータ処理に関する内容を示す端末特性情報を前記端末機から取得する取得ステップと、
前記取得ステップで取得された前記端末特性情報に基づいて、前記データ管理装置が有するサーバ資源の前記端末機に対する割り当て方を決定する決定ステップと、
前記決定ステップで決定された割り当て方に基づいて、前記複数の端末機との間でデータを送受信してこれを処理するデータ処理ステップと
を含むことを特徴とするプログラム。 - サーバが有するサーバ資源を用いて前記サーバと通信する端末機が、自らによって扱われるデータを前記サーバに対して管理させるために実行するプログラムであって、
前記端末機のデータ処理に関する内容を示す端末特性情報を送信する送信ステップと、
前記送信ステップにより送信された前記端末特性情報に基づいて前記サーバにより決定された、前記サーバ資源の前記端末機に対する割り当て方に応じて、前記サーバとの間でデータを送受信してこれを処理するデータ処理ステップと
を含むことを特徴とするプログラム。 - データ管理装置が複数の端末機のそれぞれに扱われる各データを管理するために実行するプログラムを格納する記憶媒体であって、
前記プログラムは、
前記端末機のデータ処理に関する内容を示す端末特性情報を前記端末機から取得する取得ステップと、
前記取得ステップで取得された前記端末特性情報に基づいて、前記データ管理装置が有するサーバ資源の前記端末機に対する割り当て方を決定する決定ステップと、
前記決定ステップで決定された割り当て方に基づいて、前記複数の端末機との間でデータを送受信してこれを処理するデータ処理ステップと
を含むことを特徴とする記憶媒体。 - サーバが有するサーバ資源を用いて前記サーバと通信する端末機が、自らによって扱われるデータを前記サーバに対して管理させるために実行するプログラムを格納する記憶媒体であって、
前記プログラムは、
前記端末機のデータ処理に関する内容を示す端末特性情報を送信する送信ステップと、
前記送信ステップにより送信された前記端末特性情報に基づいて前記サーバにより決定された、前記サーバ資源の前記端末機に対する割り当て方に応じて、前記サーバとの間でデータを送受信してこれを処理するデータ処理ステップと
を含むことを特徴とする記憶媒体。 - データ管理装置が複数の端末機のそれぞれに扱われる各データを管理するために用いる管理情報を格納する記憶媒体であって、
前記管理情報は、
前記端末機から前記データ管理装置に取得された前記データに基づいて、前記データ管理装置によって特定された前記データの作成に関する属性を示す
ことを特徴とする記憶媒体。 - 前記管理情報は前記データのデータフォーマットを示す
ことを特徴とする請求項45記載の記憶媒体。
Priority Applications (1)
| Application Number | Priority Date | Filing Date | Title |
|---|---|---|---|
| JP2003275650A JP2004088766A (ja) | 2002-07-22 | 2003-07-16 | データ管理装置及びデータ管理システム |
Applications Claiming Priority (2)
| Application Number | Priority Date | Filing Date | Title |
|---|---|---|---|
| JP2002212948 | 2002-07-22 | ||
| JP2003275650A JP2004088766A (ja) | 2002-07-22 | 2003-07-16 | データ管理装置及びデータ管理システム |
Publications (1)
| Publication Number | Publication Date |
|---|---|
| JP2004088766A true JP2004088766A (ja) | 2004-03-18 |
Family
ID=32072256
Family Applications (1)
| Application Number | Title | Priority Date | Filing Date |
|---|---|---|---|
| JP2003275650A Pending JP2004088766A (ja) | 2002-07-22 | 2003-07-16 | データ管理装置及びデータ管理システム |
Country Status (1)
| Country | Link |
|---|---|
| JP (1) | JP2004088766A (ja) |
Cited By (19)
| Publication number | Priority date | Publication date | Assignee | Title |
|---|---|---|---|---|
| JP2006139596A (ja) * | 2004-11-12 | 2006-06-01 | Kddi Corp | 情報伝達システムおよび情報管理装置 |
| JP2007094505A (ja) * | 2005-09-27 | 2007-04-12 | Hitachi Ltd | データ処理システム及びデータ管理方法並びにストレージシステム |
| JP2007274045A (ja) * | 2006-03-30 | 2007-10-18 | Nec Personal Products Co Ltd | 情報処理装置、情報処理装置の制御方法 |
| JP2008066818A (ja) * | 2006-09-05 | 2008-03-21 | Canon Inc | 画像再生システム、画像再生装置の制御方法及び画像再生装置 |
| WO2008105236A1 (ja) * | 2007-02-27 | 2008-09-04 | Mitsubishi Electric Corporation | 情報配信方法、情報記録方法、情報再生方法、及び、情報記録媒体 |
| JP2010061268A (ja) * | 2008-09-02 | 2010-03-18 | Ntt Docomo Inc | データ退避装置、データ復元装置及び端末管理システム |
| JP2011035474A (ja) * | 2009-07-29 | 2011-02-17 | Canon Inc | 画像処理装置、画像管理装置、画像管理方法及び画像管理システム |
| JP2013511196A (ja) * | 2009-11-13 | 2013-03-28 | サムスン エレクトロニクス カンパニー リミテッド | 部分化を利用した適応的なストリーミング方法及びその装置 |
| KR101274422B1 (ko) | 2006-01-05 | 2013-06-14 | 텔레폰악티에볼라겟엘엠에릭슨(펍) | 미디어 컨테이너 파일 관리 |
| WO2015045362A1 (ja) * | 2013-09-30 | 2015-04-02 | パナソニック インテレクチュアル プロパティ コーポレーション オブ アメリカ | 送信方法、受信方法、送信装置、及び受信装置 |
| JP2015070609A (ja) * | 2013-09-30 | 2015-04-13 | パナソニック インテレクチュアル プロパティ コーポレーション オブアメリカPanasonic Intellectual Property Corporation of America | 送信方法、受信方法、送信装置、及び受信装置 |
| US9197689B2 (en) | 2010-03-19 | 2015-11-24 | Samsung Electronics Co., Ltd. | Method and apparatus for adaptively streaming content including plurality of chapters |
| US9277252B2 (en) | 2010-06-04 | 2016-03-01 | Samsung Electronics Co., Ltd. | Method and apparatus for adaptive streaming based on plurality of elements for determining quality of content |
| US9699486B2 (en) | 2010-02-23 | 2017-07-04 | Samsung Electronics Co., Ltd. | Method and apparatus for transmitting and receiving data |
| US9756364B2 (en) | 2009-12-07 | 2017-09-05 | Samsung Electronics Co., Ltd. | Streaming method and apparatus operating by inserting other content into main content |
| US9860573B2 (en) | 2009-11-13 | 2018-01-02 | Samsung Electronics Co., Ltd. | Method and apparatus for providing and receiving data |
| US9967598B2 (en) | 2009-11-13 | 2018-05-08 | Samsung Electronics Co., Ltd. | Adaptive streaming method and apparatus |
| WO2020011267A1 (zh) * | 2018-07-12 | 2020-01-16 | 青岛海信电器股份有限公司 | 广播信号的接收方法及装置 |
| USRE48360E1 (en) | 2009-11-13 | 2020-12-15 | Samsung Electronics Co., Ltd. | Method and apparatus for providing trick play service |
-
2003
- 2003-07-16 JP JP2003275650A patent/JP2004088766A/ja active Pending
Cited By (29)
| Publication number | Priority date | Publication date | Assignee | Title |
|---|---|---|---|---|
| JP2006139596A (ja) * | 2004-11-12 | 2006-06-01 | Kddi Corp | 情報伝達システムおよび情報管理装置 |
| JP2007094505A (ja) * | 2005-09-27 | 2007-04-12 | Hitachi Ltd | データ処理システム及びデータ管理方法並びにストレージシステム |
| KR101274422B1 (ko) | 2006-01-05 | 2013-06-14 | 텔레폰악티에볼라겟엘엠에릭슨(펍) | 미디어 컨테이너 파일 관리 |
| JP2007274045A (ja) * | 2006-03-30 | 2007-10-18 | Nec Personal Products Co Ltd | 情報処理装置、情報処理装置の制御方法 |
| JP2008066818A (ja) * | 2006-09-05 | 2008-03-21 | Canon Inc | 画像再生システム、画像再生装置の制御方法及び画像再生装置 |
| WO2008105236A1 (ja) * | 2007-02-27 | 2008-09-04 | Mitsubishi Electric Corporation | 情報配信方法、情報記録方法、情報再生方法、及び、情報記録媒体 |
| CN101657856A (zh) * | 2007-02-27 | 2010-02-24 | 三菱电机株式会社 | 信息发布方法、信息记录方法、信息再现方法以及信息记录介质 |
| JPWO2008105236A1 (ja) * | 2007-02-27 | 2010-06-03 | 三菱電機株式会社 | 情報配信方法、情報記録方法、情報再生方法、及び、情報記録媒体 |
| US8260123B2 (en) | 2007-02-27 | 2012-09-04 | Mitsubishi Electric Corporation | Information distributing method, information recording method, information reproducing method, and information recording medium |
| CN101657856B (zh) * | 2007-02-27 | 2013-01-30 | 三菱电机株式会社 | 信息发布方法、信息记录方法、信息再现方法 |
| JP2010061268A (ja) * | 2008-09-02 | 2010-03-18 | Ntt Docomo Inc | データ退避装置、データ復元装置及び端末管理システム |
| JP2011035474A (ja) * | 2009-07-29 | 2011-02-17 | Canon Inc | 画像処理装置、画像管理装置、画像管理方法及び画像管理システム |
| US9967598B2 (en) | 2009-11-13 | 2018-05-08 | Samsung Electronics Co., Ltd. | Adaptive streaming method and apparatus |
| JP2013511196A (ja) * | 2009-11-13 | 2013-03-28 | サムスン エレクトロニクス カンパニー リミテッド | 部分化を利用した適応的なストリーミング方法及びその装置 |
| USRE48360E1 (en) | 2009-11-13 | 2020-12-15 | Samsung Electronics Co., Ltd. | Method and apparatus for providing trick play service |
| JP2016007026A (ja) * | 2009-11-13 | 2016-01-14 | サムスン エレクトロニクス カンパニー リミテッド | 部分化を利用した適応的なストリーミング方法及びその装置 |
| US10425666B2 (en) | 2009-11-13 | 2019-09-24 | Samsung Electronics Co., Ltd. | Method and apparatus for adaptive streaming using segmentation |
| US9860573B2 (en) | 2009-11-13 | 2018-01-02 | Samsung Electronics Co., Ltd. | Method and apparatus for providing and receiving data |
| US9756364B2 (en) | 2009-12-07 | 2017-09-05 | Samsung Electronics Co., Ltd. | Streaming method and apparatus operating by inserting other content into main content |
| US9699486B2 (en) | 2010-02-23 | 2017-07-04 | Samsung Electronics Co., Ltd. | Method and apparatus for transmitting and receiving data |
| US9197689B2 (en) | 2010-03-19 | 2015-11-24 | Samsung Electronics Co., Ltd. | Method and apparatus for adaptively streaming content including plurality of chapters |
| US9277252B2 (en) | 2010-06-04 | 2016-03-01 | Samsung Electronics Co., Ltd. | Method and apparatus for adaptive streaming based on plurality of elements for determining quality of content |
| JP2018137778A (ja) * | 2013-09-30 | 2018-08-30 | パナソニック インテレクチュアル プロパティ コーポレーション オブ アメリカPanasonic Intellectual Property Corporation of America | 送信方法、受信方法、送信装置、及び受信装置 |
| JP2019110554A (ja) * | 2013-09-30 | 2019-07-04 | パナソニック インテレクチュアル プロパティ コーポレーション オブ アメリカPanasonic Intellectual Property Corporation of America | 送信方法、受信方法、送信装置、及び受信装置 |
| WO2015045362A1 (ja) * | 2013-09-30 | 2015-04-02 | パナソニック インテレクチュアル プロパティ コーポレーション オブ アメリカ | 送信方法、受信方法、送信装置、及び受信装置 |
| JP2015070609A (ja) * | 2013-09-30 | 2015-04-13 | パナソニック インテレクチュアル プロパティ コーポレーション オブアメリカPanasonic Intellectual Property Corporation of America | 送信方法、受信方法、送信装置、及び受信装置 |
| WO2020011267A1 (zh) * | 2018-07-12 | 2020-01-16 | 青岛海信电器股份有限公司 | 广播信号的接收方法及装置 |
| WO2020011268A1 (zh) * | 2018-07-12 | 2020-01-16 | 青岛海信电器股份有限公司 | 广播信号的收发方法及装置 |
| WO2020011266A1 (zh) * | 2018-07-12 | 2020-01-16 | 青岛海信电器股份有限公司 | 广播信号的发送方法及装置 |
Similar Documents
| Publication | Publication Date | Title |
|---|---|---|
| US20040019681A1 (en) | Data management apparatus and data management system | |
| US7356247B2 (en) | Information recording apparatus and method for the same | |
| JP2004088766A (ja) | データ管理装置及びデータ管理システム | |
| JP4527164B2 (ja) | 記録媒体、記録装置、及び再生装置 | |
| JPWO2000049803A1 (ja) | ストリームデータの記録媒体、その記録方法および再生方法 | |
| WO2006033279A1 (ja) | データ処理装置 | |
| JP3152651B2 (ja) | 情報記録媒体、情報記録媒体に情報を記録、再生する装置および方法 | |
| JP2002325221A (ja) | 情報記録媒体、情報記録媒体に情報を記録、再生する装置 | |
| JP2000041212A (ja) | 光ディスク、記録装置および方法、並びに再生装置および方法 | |
| JP4313521B2 (ja) | 情報情報記録媒体、記録装置、記録方法、再生装置、再生方法およびプログラム | |
| JP4425138B2 (ja) | 再生装置 | |
| CN1969334B (zh) | 数据处理装置 | |
| JP3152653B1 (ja) | 情報記録媒体、情報記録方法及び情報再生装置 | |
| JP2002358728A (ja) | 情報記録媒体、情報記録媒体に情報を記録、再生する装置 | |
| JP2004005934A (ja) | 記録媒体、記録装置、再生装置、記録方法、再生方法、及びプログラム | |
| JP2002197808A (ja) | ストリーム情報処理システム | |
| JP2002335483A (ja) | 情報記録媒体、情報記録媒体に情報を記録、再生する装置 | |
| JP2002334561A (ja) | 情報記録媒体、情報記録媒体に情報を記録、再生する装置 | |
| JP2002343030A (ja) | 情報記録媒体、情報記録媒体に情報を記録、再生する装置 | |
| JP3152654B1 (ja) | 情報記録媒体、情報記録方法及び情報再生装置 | |
| JP2002175683A (ja) | ストリームデータの記録方法およびそのデータ構造 | |
| JP2002367341A (ja) | 情報記録媒体、情報記録媒体に情報を記録、再生する装置 | |
| JP2002335477A (ja) | 情報記録媒体、情報記録媒体に情報を記録、再生する装置 | |
| JP2002358729A (ja) | 情報記録媒体、情報記録媒体に情報を記録、再生する装置 | |
| JP2002352558A (ja) | 情報記録媒体及び情報再生装置 |