EP4545397A1 - Schiffsantriebssystem - Google Patents

Schiffsantriebssystem Download PDF

Info

Publication number
EP4545397A1
EP4545397A1 EP23205493.2A EP23205493A EP4545397A1 EP 4545397 A1 EP4545397 A1 EP 4545397A1 EP 23205493 A EP23205493 A EP 23205493A EP 4545397 A1 EP4545397 A1 EP 4545397A1
Authority
EP
European Patent Office
Prior art keywords
propulsion system
propeller
marine propulsion
clutch
engine
Prior art date
Legal status (The legal status is an assumption and is not a legal conclusion. Google has not performed a legal analysis and makes no representation as to the accuracy of the status listed.)
Pending
Application number
EP23205493.2A
Other languages
English (en)
French (fr)
Inventor
Andreas Kang
Current Assignee (The listed assignees may be inaccurate. Google has not performed a legal analysis and makes no representation or warranty as to the accuracy of the list.)
Volvo Penta AB
Original Assignee
Volvo Penta AB
Priority date (The priority date is an assumption and is not a legal conclusion. Google has not performed a legal analysis and makes no representation as to the accuracy of the date listed.)
Filing date
Publication date
Application filed by Volvo Penta AB filed Critical Volvo Penta AB
Priority to EP23205493.2A priority Critical patent/EP4545397A1/de
Priority to US18/910,492 priority patent/US20250128804A1/en
Priority to CN202411450047.8A priority patent/CN119872851A/zh
Publication of EP4545397A1 publication Critical patent/EP4545397A1/de
Pending legal-status Critical Current

Links

Images

Classifications

    • BPERFORMING OPERATIONS; TRANSPORTING
    • B63SHIPS OR OTHER WATERBORNE VESSELS; RELATED EQUIPMENT
    • B63HMARINE PROPULSION OR STEERING
    • B63H20/00Outboard propulsion units, e.g. outboard motors or Z-drives; Arrangements thereof on vessels
    • BPERFORMING OPERATIONS; TRANSPORTING
    • B63SHIPS OR OTHER WATERBORNE VESSELS; RELATED EQUIPMENT
    • B63BSHIPS OR OTHER WATERBORNE VESSELS; EQUIPMENT FOR SHIPPING 
    • B63B79/00Monitoring properties or operating parameters of vessels in operation
    • B63B79/10Monitoring properties or operating parameters of vessels in operation using sensors, e.g. pressure sensors, strain gauges or accelerometers
    • BPERFORMING OPERATIONS; TRANSPORTING
    • B63SHIPS OR OTHER WATERBORNE VESSELS; RELATED EQUIPMENT
    • B63BSHIPS OR OTHER WATERBORNE VESSELS; EQUIPMENT FOR SHIPPING 
    • B63B79/00Monitoring properties or operating parameters of vessels in operation
    • B63B79/40Monitoring properties or operating parameters of vessels in operation for controlling the operation of vessels, e.g. monitoring their speed, routing or maintenance schedules
    • BPERFORMING OPERATIONS; TRANSPORTING
    • B63SHIPS OR OTHER WATERBORNE VESSELS; RELATED EQUIPMENT
    • B63HMARINE PROPULSION OR STEERING
    • B63H21/00Use of propulsion power plant or units on vessels
    • B63H21/21Control means for engine or transmission, specially adapted for use on marine vessels
    • BPERFORMING OPERATIONS; TRANSPORTING
    • B63SHIPS OR OTHER WATERBORNE VESSELS; RELATED EQUIPMENT
    • B63HMARINE PROPULSION OR STEERING
    • B63H21/00Use of propulsion power plant or units on vessels
    • B63H21/21Control means for engine or transmission, specially adapted for use on marine vessels
    • B63H21/213Levers or the like for controlling the engine or the transmission, e.g. single hand control levers
    • BPERFORMING OPERATIONS; TRANSPORTING
    • B63SHIPS OR OTHER WATERBORNE VESSELS; RELATED EQUIPMENT
    • B63HMARINE PROPULSION OR STEERING
    • B63H23/00Transmitting power from propulsion power plant to propulsive elements
    • B63H23/30Transmitting power from propulsion power plant to propulsive elements characterised by use of clutches
    • BPERFORMING OPERATIONS; TRANSPORTING
    • B63SHIPS OR OTHER WATERBORNE VESSELS; RELATED EQUIPMENT
    • B63HMARINE PROPULSION OR STEERING
    • B63H20/00Outboard propulsion units, e.g. outboard motors or Z-drives; Arrangements thereof on vessels
    • B63H2020/005Arrangements of two or more propellers, or the like on single outboard propulsion units
    • B63H2020/006Arrangements of two or more propellers, or the like on single outboard propulsion units of coaxial type, e.g. of counter-rotative type
    • BPERFORMING OPERATIONS; TRANSPORTING
    • B63SHIPS OR OTHER WATERBORNE VESSELS; RELATED EQUIPMENT
    • B63HMARINE PROPULSION OR STEERING
    • B63H21/00Use of propulsion power plant or units on vessels
    • B63H21/21Control means for engine or transmission, specially adapted for use on marine vessels
    • B63H2021/216Control means for engine or transmission, specially adapted for use on marine vessels using electric control means

Definitions

  • the disclosure relates generally to a propulsion system.
  • the disclosure relates to a marine propulsion system for a marine vessel.
  • the disclosure can be applied to marine vessels, such as water crafts, motorboats, work boats, sport vessels, boats, ships, among other vessel types.
  • marine vessels such as water crafts, motorboats, work boats, sport vessels, boats, ships, among other vessel types.
  • the disclosure may be described with respect to a particular marine vessel, the disclosure is not restricted to any particular marine vessel.
  • Marine propulsion systems for a marine vessel often have an engine providing torque to one or more propellers driving the marine vessel with different speeds.
  • some kind of transmission and a clutch are arranged for transferring power between the engine and the propellers.
  • the main design criteria of the clutch are to be able to transfer maximum driveline torque without slippage of the clutch.
  • a marine propulsion system for a marine vessel comprising
  • control unit further comprises a propeller speed controller
  • the propeller speed controller is configured to control the propeller speed on basis of the propeller speed references.
  • a technical benefit may include that the propeller speed may be controlled so that the intended propeller speed is obtained.
  • the clutch arrangement comprises a clutch plate and a clutch piston, the clutch piston being activated by at least one hydraulic area so as to provide an actuation pressure on the clutch plate.
  • a technical benefit may include that it is ensured that the intended power between the engine and the propeller unit may be provided.
  • the clutch arrangement has a predetermined actuation pressure
  • the predetermined actuation pressure is a reference pressure.
  • a technical benefit may include that it is ensured that the intended power between the engine and the propeller unit may be provided.
  • the clutch arrangement comprises one or more pressure sensor(s), the pressure sensor being configured to detect and/or measure an actuation pressure of the clutch arrangement.
  • a technical benefit may include that the actuation pressure may continuously be detected and/or measured.
  • control unit comprises an actuation pressure controller
  • the actuation controller is configured to control the actuation pressure on basis of the reference pressure and/or the measured actuation pressure.
  • a technical benefit may include that it is ensured that the intended power between the engine and the propeller unit may be provided.
  • the clutch piston is configured to be actuated by a first hydraulic area and/or a second hydraulic area.
  • a technical benefit may include incorporating a first hydraulic area and a second hydraulic area which are configured to pressurize the clutch piston individually or together whereby the compressive forces on the clutch plate may be reduced which again increases resolution in the control pressure.
  • the first hydraulic area is pressurized by an electrically controlled proportional pressure valve and the second hydraulic area is pressurized by an electrically controlled on/off valve.
  • a technical benefit may include Furthermore, by incorporating an electrically controlled proportional pressure valve for controlling the pressure in the first hydraulic area and an electrically controlled on/off valve for controlling the pressure in the second hydraulic area a higher level of redundancy is obtained.
  • the electrically controlled on/off valves can provide gear engagement independently of the status of the proportional valve. Furthermore, a higher level of reliability resulting in possible fuel savings is obtained.
  • the electrical control of the on/off valve makes it possible to engage transmission or gear based on a degree of clutch slippage. Hence, the speed difference over the clutch arrangement may be used to decide if the electrically controlled on/off valve shall be opened or closed.
  • the electrically controlled valve, the electrically controlled proportional pressure valve and/or the electrically controlled on/off valve is/are controlled by a predetermined current
  • the predetermined current is a current reference.
  • a technical benefit may include that a reference point is provided which may be used as a control parameter.
  • control unit comprises a current controller
  • the current controller is configured to closed-loop current control the electrically controlled valve, the electrically controlled proportional pressure valve and/or the electrically controlled on/off valve on basis of the current reference.
  • a technical benefit may include that it is ensured that the intended power between the engine and the propeller unit may be provided.
  • the system further comprises an engine controller, the engine controller is configured to control an engine speed on basis of the propeller speed references.
  • the engine speed may be controlled so that the intended propeller speed is obtained.
  • the engine controller is configured to increase engine speed near full clutch engagement so that the clutch engagement is kept below where slip-stick behavior of the clutch disc may occur.
  • a technical benefit may include that the risk for a slip-stick behavior of the clutch disc may be minimized.
  • control unit and the engine controller are operatively connected.
  • a technical benefit may include that both the control unit and the engine controller is cooperating in providing the intended power between the engine and the propeller unit.
  • a marine vessel comprising a marine propulsion system of any of the preceding claims.
  • the second aspect of the disclosure may seek to provide improved control from low speed to full speed of the marine vessel and thereby to improve slip control performance.
  • a method of controlling a marine propulsion system as describe above comprising
  • Marine propulsion systems for a marine vessel with an engine providing torque to one or more propellers driving the marine vessel with different speeds also have a transmission and a clutch for transferring power between the engine and the propellers.
  • the main design criteria of the clutch are to be able to transfer maximum driveline torque without slippage of the clutch.
  • Unintended slippage is a faulty condition in which there is not enough friction in the clutch whereby the clutch may fail to adequately engage or disengage the transmission. The consequence may be that propulsion system in these circumstances not are transferring the intended torque to drive the marine vessel.
  • an input unit configured to receive an input signal indicative of a propeller speed and to issue a propeller speed reference based on the input signal
  • a control unit being operatively connected with the propeller unit, the clutch arrangement and the input unit, and controlling the propulsion system on basis of propeller speed references during varying operations and/or speeds of the marine propulsion system
  • Stable performance of the slip control is necessary, to be able to provide propeller speeds below idle speed of the engine. In this case continuous operation with clutch slippage is required.
  • FIG. 1 is an exemplary marine propulsion system 1 according to an example.
  • the marine propulsion system 1 is configured to be comprised on a marine vessel 100.
  • the marine propulsion system 1 comprises an engine 2.
  • the engine 2 may be an internal combustion engine.
  • the combustion engine may be any type of internal combustion engine driven by e.g. diesel, gasoline, natural gas, hydrogen or any other combustible fuel.
  • the marine propulsion system may also comprise a parallel hybrid driveline, so that one engine 2 and one or more electric motor(s) are sharing the load.
  • the engine 2 may be provided outside the marine vessel 100 as an outboard engine 2.
  • the engine may be arranged on the marine vessel 100 as an inboard engine.
  • the propulsion system 1 may comprise one engine or a plurality of engines.
  • the propulsion system 1 also comprises a propeller unit 3 comprising one or more propellers 4a, 4b.
  • the propeller unit 3 has a first propeller 4a and a second propeller 4b.
  • the propeller unit may comprise one propeller or a plurality of propellers. If two or more propellers are arranged they may be arranged as counter-rotating propellers, for instance.
  • the propulsion system 1 also comprises a transmission 5 arranged between the engine 2 and the propeller unit 3 to ensure that the intended rotation is provided to the propeller unit 3.
  • the transmission 5 may comprises one or more gear(s).
  • a hydraulic clutch arrangement 6 is arranged.
  • the clutch arrangement 6 is configured to control a power transfer between the engine 2 and the propeller unit 3.
  • the propulsion system 1 also comprises an input unit 14, the input unit 14 is configured to receive an input signal indicative of a propeller speed and to issue a propeller speed reference based on the input signal.
  • the input signal may be activated by an operator or captain and/or is an automatically generated input signal from another unit.
  • the input unit 14 may be a throttle lever, joystick, steering wheel or other devices for maneuvering the marine vessel 100.
  • the input unit 14 is arranged on the marine vessel 100.
  • the propeller speed reference is based on the received input signal indicating the intended propeller speed in a given circumstance and/or operation under nominal load conditions of the marine vessel 100.
  • the propulsion system 1 further comprises a control unit 7 being operatively connected with the propeller unit 3, the clutch arrangement 6 and the input unit 14, the control unit 7 is configured to control the propulsion system 1 based on propeller speed references during varying operations and/or speeds of the marine propulsion system 1.
  • the control unit 7 is arranged in the relation to the marine vessel, however, in other examples it may be arranged at the engine, the clutch arrangement or the propeller unit or in relation to other components of the propulsion system 1.
  • FIG. 2 an exemplary of a marine propulsion system 1 according to an example is shown.
  • the propulsion system 1 has the engine 2, the propeller unit 3 with one or more propellers.
  • the transmission 5 is arranged between the engine 2 and the propeller unit 3 to ensure that the intended rotation is provided to the propeller unit 3.
  • the clutch arrangement 7 may comprise a clutch plate 8 and a clutch piston 9, the clutch piston 9 being activated by at least one hydraulic area 24 so as to provide an actuation pressure on the clutch plate 8.
  • the at least one hydraulic area 24 may be pressurized by at least an electrically controlled valve 25.
  • FIG. 3 shows an example of the clutch arrangement 6.
  • the clutch arrangement 6 comprises the clutch plate 8. In the example one clutch plate 8 is arranged. In other examples two or more clutch plates may be arranged in the clutch arrangement 6.
  • the clutch plate 8 is activated by the clutch piston 9.
  • the clutch piston 9 is configured to be actuated by a first hydraulic area 10 and/or a second hydraulic area 11.
  • the first hydraulic area 10 is pressurized by the electrically controlled proportional pressure valve 12 and the second hydraulic area 11 is pressurized by the electrically controlled on/off valve 13, and the control unit 7 is operatively connected with the electrically controlled proportional pressure valve 12 and the electrically controlled on/off valve 13.
  • a pump 15 is delivering a hydraulic fluid to the first hydraulic area 10 via the electrically controlled proportional pressure valve 12, and the second hydraulic area 11 via the electrically controlled on/off valve 13, respectively.
  • a hydraulic tank 16 is arranged in fluid communication with the pump 15.
  • the input unit 14 is operatively connected with the control unit 7.
  • the electrically controlled valve 25, the electrically controlled proportional pressure valve 12 and/or the electrically controlled on/off valve 13 is/are controlled by a predetermined current, the predetermined current is a current reference.
  • a pressure sensor 17 is configured to measure an actuation pressure of the clutch arrangement 6.
  • the pressure sensor 17 is arranged in connection with the clutch piston 9.
  • the pressure sensor 17 may be arranged in connection with other components of the clutch arrangement 6 for measuring and/or detecting the actuation pressure of the clutch arrangement.
  • a plurality of pressure sensors may be arranged for measuring and/or detecting the actuation pressure at different positions and at different components of the clutch arrangement 6.
  • the clutch arrangement 6 has a predetermined actuation pressure, the predetermined actuation pressure is a pressure reference.
  • a shunt resistor 18 may be arranged in connection with the electrically controlled proportional pressure valve 12 and/or the electrically controlled on/off valve 13, the shunt resistor 18 is configured to measure a control current with a mA accuracy.
  • both the electrically controlled proportional pressure valve 12 and the electrically controlled on/off valve 13 have a shunt resistor 18.
  • the shunt resistor 18 is configured to communicate measured control current to the control unit 7.
  • control unit 7 comprises different sub-controllers which may control different components of the propulsion system 1 independently or in common.
  • the control unit 7 may comprise a propeller speed controller 21, the propeller speed controller 21 is configured to control the propeller speed on basis of the propeller speed references 200.
  • the propeller speed references 200 are received and issued from the input unit 14.
  • the actual propeller speed is detected at point 210 and is compared with the propeller speed references 200 in the propeller speed controller 21. If a difference between the propeller speed reference 200 and the detected propeller speed at 210 is observed the propeller speed controller 21 will control the propeller speed accordingly so that the actual propeller speed at 210 will correspond to the propeller speed reference 200. This may be provided with a closed-loop control.
  • the propeller speed controller 21 comprises a feed-forward speed part 30.
  • the feed-forward speed part 30 roughly calculate the pressure needed to reach intended rpm, under nominal load conditions.
  • the feed-back speed part of the propeller speed controller is intended to compensate for differences from nominal load conditions, due to current, fouling or dents on propeller(s), varying friction in transmission, etc.
  • the control unit 7 may also comprise an actuation pressure controller 20, the actuation pressure controller 20 is configured to control the actuation pressure on basis of the pressure reference 201 and/or the measured actuation pressure.
  • the one or more pressure sensors 17 are operatively connected with the actuation pressure controller 20.
  • the pressure sensor(s) 17 is/are configured to measure forward and/or reverse actuation pressure at point 211, the measured actuation pressure 211 is used as feedback to the actuation pressure controller 20.
  • the actuation pressure controller 20 is configured to control the actuation pressure of the clutch arrangement 6 by a closed-loop control. The actual actuation pressure is detected at point 211 and is compared with the pressure reference 201 in the actuation propeller controller 20.
  • the actuation pressure controller 20 will control the actuation pressure accordingly so that the actual actuation pressure at 211 will correspond to the pressure reference 201.
  • the actuation pressure controller 20 comprises a feed-forward pressure part 31. Based on pressure reference magnitude, the feed-forward pressure part 31 may calculate the current that shall be applied to one of the electrically controlled valves, such as for instance the proportional pressure valve, to obtain the intended pressure. These calculations may be based on stated current to pressure characteristics of the valves.
  • the feed-back part of the actuation pressure controller is intended to compensate for differences from nominal valve characteristics due to variations in oil temperature, valve hysteresis, etc.
  • the control unit 7 may also comprise a current controller 19, the current controller 19 is configured to closed-loop current control the electrically controlled valve 25, the electrically controlled proportional pressure valve 12 and/or the electrically controlled on/off valve 13 on basis of the current reference 202.
  • the shunt resistors 18 may be arranged in connection with the electrically controlled proportional pressure valve 12 and/or the electrically controlled on/off valve 13, the shunt resistor 18 is configured to measure a control current at point 212 with a mA accuracy.
  • the current controller 19 is configured to closed-loop current control the electrically controlled valve 25, the electrically controlled proportional pressure valve 12 and/or the electrically controlled on/off valve 13 on basis of the measured control current 212 and/or the current reference 202.
  • the actual control current is detected at point 212 and is compared with the current reference 202 in the current controller 19. If a difference between the current reference 202 and the measured control current 212 is observed the current controller 19 will control the current accordingly so that the actual current at 212 will correspond to the current reference 202.
  • the current controller compensates for temperature variations in valve coils, and implements dithering to minimize hysteresis caused by stiction of a valve body.
  • the current controller 19 may have a control frequency of more than 500Hz, preferably more than 1kHz, more preferably more than 2kHz.
  • the current controller 19 may be configured to implement dithering of current 200Hz/ ⁇ 10mA to minimize hysteresis of electrically controlled valve, the electrically controlled proportional pressure valve and/or the electrically controlled on/off valve.
  • the propulsion system 1 may further comprise an engine controller 40, the engine controller 40 is configured to control an engine speed on basis of propeller speed references 200.
  • the engine controller 40 is configured to increase engine speed near full clutch engagement so that the clutch engagement is kept below where slip-stick behavior of the clutch disc may occur.
  • the engine controller 40 may be configured to reset engine speed to idle speed when the clutch is set for full engagement.
  • the engine controller is a feed forward controller.
  • the engine controller 40 may be operatively connected with the input unit 14. Also, the control unit 7 and the engine controller 40 may be operatively connected.
  • the current controller 19, the actuation pressure controller 20, the propeller speed controller 21 and/or the engine controller 40 may be operatively connected.
  • FIG. 5 an example of a relationship between propeller speed (Y-axis) and control signal (X-axis) for a propulsion system according to the disclosure.
  • the first curve 300 shows the increase and the second curve 301 shows the decrease.
  • Near 100 % propeller speed is where the slip-stick (area 310 ) of the clutch arrangement occur.
  • the control unit has a high control frequency for avoiding or at least minimizing the risk for slip-stick.
  • FIG. 6 an example of different operations of a low speed situation of the propulsion system 1.
  • FIG. 6 show a low speed throttle request in relation to engine speed (rpm) and propeller speed (rpm). An increase of 100 rpm of idle speed results in clutch engagement of 85.7% maximum.
  • a marine vessel 100 is shown.
  • the marine vessel 100 comprises the propulsion system 1 as described above.
  • the propeller unit 3 is configured to pull the marine vessel 100.
  • the propeller unit may be configured to push the marine vessel.
  • the engine 2 is an internal combustion engine arranged onboard the marine vessel 100.
  • the input unit 14 is in the example arranged at the operator's position on the marine vessel 100.
  • FIG. 8 shows a schematic flow chart of the method of controlling a marine propulsion system 1 as described above.
  • step 500 a control unit is being provided and is operatively connected with the propeller unit, the transmission and the clutch arrangement.
  • step 501 an input signal is received from the input unit.
  • step 502 a propeller speed reference is issued based on the input signal in step 501.
  • step 503 the propulsion system is controlled on basis on the propeller speed references during varying operations and/or speeds of the marine propulsion system.
  • FIGS. 9-11 show schematic flow charts of the methods of controlling the different components of the propulsion system via the sub-controllers of the control unit 7.
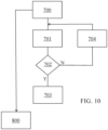
  • step 600 the propeller speed reference is provided.
  • step 601 the actual propeller speed is detected or measured.
  • step 602 the actual propeller speed is compared with the propeller speed reference. If the actual propeller speed is substantial equal to the propeller speed reference it is continued to step 603. If the actual propeller speed is different from the propeller speed reference it is continued to step 604 wherein the propeller speed is either increased or decreased in view of the propeller speed reference.
  • the feed-forward speed part Based on speed reference magnitude, the feed-forward speed part roughly calculate pressure needed to reach intended rpm, under nominal load conditions.
  • the feed-forward speed part in step 600 feeds the calculated pressure to step 700.
  • the feed-back part is intended to compensate for differences from nominal load conditions, due to current, fouling or dents on propeller(s), varying friction of transmission, etc.
  • step 700 the schematic flow chart of the actuation pressure controller is shown.
  • the actuation pressure reference is provided, for instance as described above.
  • step 701 the actual actuation pressure is detected or measured.
  • step 702 the actual actuation pressure is compared with the actuation pressure reference. If the actual actuation pressure is substantial equal to the actuation pressure reference it is continued to step 703. If the actual actuation pressure is different from the actuation pressure reference it is continued to step 704 wherein the actuation pressure is either increased or decreased in view of the actuation pressure reference.
  • the feed-forward pressure part calculate the current that shall be applied to the pressure valves to get the intended pressure. Calculation is based on stated current to pressure characteristics of valve.
  • the feed-forward pressure part in step 700 feeds the calculated pressure to step 800.
  • the feed-back part is intended to compensate for differences from nominal valve characteristics due to variations in oil temperature, valve hysteresis, etc.
  • step 800 the current reference is provided.
  • step 801 the actual current is detected or measured.
  • step 802 the actual current is compared with the current reference. If the actual current is substantial equal to the current reference it is continued to step 803. If the actual current is different from the current reference it is continued to step 804 wherein the current is either increased or decreased in view of the current reference.
  • the current controller compensates for temperature variations in valve coils, and implements dithering to minimize hysteresis caused by stiction of a valve body.
  • Example 1 A marine propulsion system ( 1 ) for a marine vessel, comprising
  • Example 2 The marine propulsion system ( 1 ) of example 1, wherein the control unit ( 7 ) further comprises a propeller speed controller ( 21 ), the propeller speed controller is configured to control the propeller speed on basis of the propeller speed references ( 200 ).
  • Example 3 The marine propulsion system ( 1 ) of any of the preceding examples, wherein the clutch arrangement ( 6 ) comprises a clutch plate ( 8 ) and a clutch piston ( 9 ), the clutch piston ( 9 ) being activated by at least one hydraulic area so as to provide an actuation pressure on the clutch plate.
  • Example 4 The marine propulsion system ( 1 ) of example 3, wherein the clutch arrangement ( 6 ) has a predetermined actuation pressure, the predetermined actuation pressure is a pressure reference.
  • Example 5 The marine propulsion system ( 1 ) of any of the preceding examples, wherein the clutch arrangement ( 6 ) comprises one or more pressure sensor(s) ( 17 ), the pressure sensor being configured to detect and/or measure an actuation pressure of the clutch arrangement.
  • Example 6 The marine propulsion system ( 1 ) of example 5, wherein the control unit ( 7 ) comprises an actuation pressure controller ( 20 ), the actuation controller is configured to control the actuation pressure on basis of the reference pressure and/or the measured actuation pressure.
  • the control unit ( 7 ) comprises an actuation pressure controller ( 20 )
  • the actuation controller is configured to control the actuation pressure on basis of the reference pressure and/or the measured actuation pressure.
  • Example 7 The marine propulsion system ( 1 ) of example 5 and/or 6, wherein the one or more pressure sensors ( 17 ) are operatively connected with the actuation pressure controller ( 20 ).
  • Example 8 The marine propulsion system ( 1 ) of any of the examples 5 to 7, wherein the pressure sensor(s) ( 17 ) is/are configured to measure forward and/or reverse actuation pressure, the measured actuation pressure is used as feedback to the actuation pressure controller.
  • Example 9 The marine propulsion system ( 1 ) of any of the examples 6 to 8, wherein the actuation pressure controller ( 20 ) is configured to control the actuation pressure of the clutch arrangement by a closed-loop control.
  • Example 10 The marine propulsion system ( 1 ) of any of the examples 3 to 9, wherein the at least one hydraulic area ( 24 ) is pressurized by at least an electrically controlled valve ( 25 ).
  • Example 11 The marine propulsion system of any of the examples 3 to 10, wherein the clutch piston ( 9 ) is configured to be actuated by a first hydraulic area ( 10 ) and/or a second hydraulic area ( 11 ).
  • Example 12 The marine propulsion system ( 1 ) of example 11, wherein the first hydraulic area ( 10 ) is pressurized by an electrically controlled proportional pressure valve ( 12 ) and the second hydraulic area ( 11 ) is pressurized by an electrically controlled on/off valve ( 13 ).
  • Example 13 The marine propulsion system ( 1 ) of any of the examples 10 to 12, wherein the electrically controlled valve ( 25 ), the electrically controlled proportional pressure valve ( 12 ) and/or the electrically controlled on/off valve ( 13 ) is/are controlled by a predetermined current, the predetermined current is a current reference.
  • Example 14 The marine propulsion system ( 1 ) of example 13, wherein the control unit ( 7 ) comprises a current controller ( 19 ), the current controller is configured to closed-loop current control the electrically controlled valve, the electrically controlled proportional pressure valve and/or the electrically controlled on/off valve on basis of the current reference.
  • the control unit ( 7 ) comprises a current controller ( 19 ), the current controller is configured to closed-loop current control the electrically controlled valve, the electrically controlled proportional pressure valve and/or the electrically controlled on/off valve on basis of the current reference.
  • Example 15 The marine propulsion system ( 1 ) of example 14, wherein the current controller ( 19 ) has a control frequency of more than 500Hz, preferably more than 1kHz, more preferably more than 2kHz.
  • Example 16 The marine propulsion system ( 1 ) of example 14 and/or 15, wherein the current controller ( 19 ) is configured to implement dithering of current 200Hz/ ⁇ 10mA to minimize hysteresis of electrically controlled valve, the electrically controlled proportional pressure valve and/or the electrically controlled on/off valve.
  • Example 17 The marine propulsion system ( 1 ) of any of the examples 10 to 16, wherein a shunt resistor ( 18 ) is arranged in connection with the electrically controlled valve, the electrically controlled proportional pressure valve and/or the electrically controlled on/off valve, the shunt resistor ( 18 ) is configured to measure a control current with a mA accuracy.
  • Example 18 The marine propulsion system ( 1 ) of example 17, wherein the current controller ( 19 ) is configured to closed-loop current control the electrically controlled valve, the electrically controlled proportional pressure valve and/or the electrically controlled on/off valve on basis of the measured control current and/or the current reference.
  • Example 19 The marine propulsion system ( 1 ) of any of the preceding examples, further comprising an engine controller ( 40 ), the engine controller is configured to control an engine speed on basis of an input of the operator.
  • Example 20 The marine propulsion system ( 1 ) of example 19, wherein the engine controller ( 40 ) is configured to increase engine speed near full clutch engagement so that the clutch engagement is kept below where slip-stick behavior of the clutch disc may occur.
  • Example 21 The marine propulsion system ( 1 ) of example 19 and/or 20, wherein the engine controller ( 40 ) is configured to reset engine speed to idle speed when the clutch is set for full engagement.
  • Example 22 The marine propulsion system ( 1 ) of any of the examples 19 to 21, wherein the engine controller ( 40 ) is a feed forward controller.
  • Example 23 The marine propulsion system ( 1 ) of any of the examples 19 to 22, wherein the engine controller ( 40 ) is operatively connected with the input unit ( 14 ).
  • Example 24 The marine propulsion system ( 1 ) of any of the examples 19 to 23, wherein the control unit ( 7 ) and the engine controller ( 40 ) are operatively connected.
  • Example 25 The marine propulsion system ( 1 ) of any of the examples 2 to 24, wherein the current controller ( 19 ), the actuation pressure controller ( 20 ), the propeller speed controller ( 21 ) and/or the engine controller ( 40 ) are operatively connected.
  • Example 26 The marine propulsion system ( 1 ) of any of the preceding examples, wherein the input signal is activated by an operator or captain and/or is an automatically generated input signal.
  • Example 27 The marine propulsion system ( 1 ) of any of the preceding examples, wherein the clutch arrangement ( 6 ) comprises a forward clutch unit and a reverse clutch unit.
  • Example 28 The marine propulsion system ( 1 ) of any of the preceding examples, wherein the propeller unit ( 3 ) is configured to pull the marine vessel ( 100 ) and/or is configured to push the marine vessel ( 100 ).
  • Example 29 The marine propulsion system ( 1 ) of any of the preceding examples, wherein the clutch arrangement ( 6 ) comprises a plurality of clutch plates ( 8 ).
  • Example 30 The marine propulsion system ( 1 ) of any of the preceding examples, further comprises an additional engine or engines.
  • Example 31 A marine vessel ( 100 ) comprising a marine propulsion system ( 1 ) of any of the preceding examples.
  • Example 32 A method of controlling a marine propulsion system ( 1 ) of any of the examples 1 to 30, comprising
  • Example 33 The method of example 32, further comprising
  • Example 34 The method of example 32 and/or 33, further comprising setting and/or calculating a predetermined actuation pressure, the predetermined actuation pressure is a pressure reference.
  • Example 35 The method of any of the examples 32 to 34, further comprising measuring an actuation pressure of the clutch arrangement.
  • Example 36 The method of example 35, further comprising
  • Example 37 The method of example 36, further comprising
  • Example 38 The method of any of the examples 36 and/or 37, further comprising controlling the actuation pressure of the clutch arrangement by a closed-loop control.
  • Example 39 The method of any of the examples 32 to 38, further comprising pressurizing a hydraulic area by at least an electrically controlled valve, an electrically controlled proportional pressure valve and/or an electrically controlled on/off valve.
  • Example 40 The method of example 39, further comprising
  • Example 41 The method of example 40, further comprising controlling with a control frequency of more than 500Hz, preferably more than 1kHz, more preferably more than 2kHz.
  • Example 42 The method of example 39 and/or 40, further comprising implementing dithering of current 200Hz/ ⁇ 10mA to minimize hysteresis of the electrically controlled valve, the electrically controlled proportional pressure valve and/or the electrically controlled on/off valve.
  • Example 43 The method of any of the examples 39 to 42, further comprising providing a shunt resistor ( 18 ) in connection with the electrically controlled valve, the electrically controlled proportional pressure valve and/or the electrically controlled on/off valve, measuring a control current with a mA accuracy by the shunt resistor.
  • Example 44 The method of example 43, further comprising controlling by a closed-loop current control the electrically controlled valve, the electrically controlled proportional pressure valve and/or the electrically controlled on/off valve on basis of the measured control current and/or the current reference.
  • Example 45 The method of any of the examples 32 to 44, further comprising providing an engine controller ( 40 ), controlling an engine speed on basis of an input of the operator.
  • Example 46 The method of example 45, further comprising increasing engine speed near full clutch engagement so that the clutch engagement is kept below where slip-stick behavior of the clutch disc may occur.
  • Example 47 The method of example 45 and/or 46, further comprising resetting engine speed to idle speed when the clutch is set for full engagement.
  • Relative terms such as “below” or “above” or “upper” or “lower” or “horizontal” or “vertical” may be used herein to describe a relationship of one element to another element as illustrated in the Figures. It will be understood that these terms and those discussed above are intended to encompass different orientations of the device in addition to the orientation depicted in the Figures. It will be understood that when an element is referred to as being “connected” or “coupled” to another element, it can be directly connected or coupled to the other element, or intervening elements may be present. In contrast, when an element is referred to as being “directly connected” or “directly coupled” to another element, there are no intervening elements present.

Landscapes

  • Chemical & Material Sciences (AREA)
  • Engineering & Computer Science (AREA)
  • Combustion & Propulsion (AREA)
  • Mechanical Engineering (AREA)
  • Ocean & Marine Engineering (AREA)
  • Hydraulic Clutches, Magnetic Clutches, Fluid Clutches, And Fluid Joints (AREA)
EP23205493.2A 2023-10-24 2023-10-24 Schiffsantriebssystem Pending EP4545397A1 (de)

Priority Applications (3)

Application Number Priority Date Filing Date Title
EP23205493.2A EP4545397A1 (de) 2023-10-24 2023-10-24 Schiffsantriebssystem
US18/910,492 US20250128804A1 (en) 2023-10-24 2024-10-09 Marine propulsion system
CN202411450047.8A CN119872851A (zh) 2023-10-24 2024-10-17 船舶推进系统

Applications Claiming Priority (1)

Application Number Priority Date Filing Date Title
EP23205493.2A EP4545397A1 (de) 2023-10-24 2023-10-24 Schiffsantriebssystem

Publications (1)

Publication Number Publication Date
EP4545397A1 true EP4545397A1 (de) 2025-04-30

Family

ID=88511510

Family Applications (1)

Application Number Title Priority Date Filing Date
EP23205493.2A Pending EP4545397A1 (de) 2023-10-24 2023-10-24 Schiffsantriebssystem

Country Status (3)

Country Link
US (1) US20250128804A1 (de)
EP (1) EP4545397A1 (de)
CN (1) CN119872851A (de)

Citations (1)

* Cited by examiner, † Cited by third party
Publication number Priority date Publication date Assignee Title
US20100121505A1 (en) * 2005-07-20 2010-05-13 Toyota Jidosha Kabushiki Kaisha Ship maneuvering device

Patent Citations (1)

* Cited by examiner, † Cited by third party
Publication number Priority date Publication date Assignee Title
US20100121505A1 (en) * 2005-07-20 2010-05-13 Toyota Jidosha Kabushiki Kaisha Ship maneuvering device

Also Published As

Publication number Publication date
CN119872851A (zh) 2025-04-25
US20250128804A1 (en) 2025-04-24

Similar Documents

Publication Publication Date Title
US8113892B1 (en) Steering control system for a watercraft with three or more actuators
US9441724B1 (en) Method and system for monitoring and controlling a transmission
JP3971463B2 (ja) 水上走行船の運転制御装置
EP1908684B1 (de) Schiffsmanövriervorrichtung
US7416456B1 (en) Automatic trim system for a marine vessel
US9694892B1 (en) System and method for trimming trimmable marine devices with respect to a marine vessel
US9868501B1 (en) Method and system for controlling propulsion of a marine vessel
US6855020B2 (en) Running control device for watercraft
US11352118B1 (en) Marine propulsion control method and system
JP6214075B1 (ja) 船舶推進方法及び船舶推進装置
US9529965B2 (en) Clutch slip recovery system and method
US10794474B1 (en) System and method for controlling a transmission on a marine engine
EP4545397A1 (de) Schiffsantriebssystem
EP4545398A1 (de) Schiffsantriebssystem
EP0280544A1 (de) Kraftübertragungs-System für ein Fahrzeug mit Vierradantrieb
EP0946388B1 (de) Steuerungssystem für ein getriebe und getriebe mit einem solchen system
US8038489B2 (en) Boat propulsion system, and control device and control method for the same
CN115668086B (zh) 用于航海船舶的控制方法和控制单元
JP2019131178A (ja) 船舶の推進を制御するためのシステムおよび方法
JPH08150999A (ja) 船舶の推進機関
DK2990327T3 (en) Marine Vessel Power System and Procedure
US6853891B2 (en) Low speed shift strategy for marine engines
JP2024139552A (ja) 船舶の制御システム、及び、船舶を制御するための方法
US12258113B2 (en) Marine propulsion control system with synchronized troll and method of operation
JP3712780B2 (ja) 船舶の推進機関

Legal Events

Date Code Title Description
PUAI Public reference made under article 153(3) epc to a published international application that has entered the european phase

Free format text: ORIGINAL CODE: 0009012

STAA Information on the status of an ep patent application or granted ep patent

Free format text: STATUS: REQUEST FOR EXAMINATION WAS MADE

17P Request for examination filed

Effective date: 20240930

AK Designated contracting states

Kind code of ref document: A1

Designated state(s): AL AT BE BG CH CY CZ DE DK EE ES FI FR GB GR HR HU IE IS IT LI LT LU LV MC ME MK MT NL NO PL PT RO RS SE SI SK SM TR

STAA Information on the status of an ep patent application or granted ep patent

Free format text: STATUS: EXAMINATION IS IN PROGRESS