EP4477832A1 - Torsionsfestes abstandhalterprofil - Google Patents

Torsionsfestes abstandhalterprofil Download PDF

Info

Publication number
EP4477832A1
EP4477832A1 EP23179186.4A EP23179186A EP4477832A1 EP 4477832 A1 EP4477832 A1 EP 4477832A1 EP 23179186 A EP23179186 A EP 23179186A EP 4477832 A1 EP4477832 A1 EP 4477832A1
Authority
EP
European Patent Office
Prior art keywords
spacer profile
sidewall
spacer
reinforcement element
wall
Prior art date
Legal status (The legal status is an assumption and is not a legal conclusion. Google has not performed a legal analysis and makes no representation as to the accuracy of the status listed.)
Withdrawn
Application number
EP23179186.4A
Other languages
English (en)
French (fr)
Inventor
Peter Pedersen
Current Assignee (The listed assignees may be inaccurate. Google has not performed a legal analysis and makes no representation or warranty as to the accuracy of the list.)
Rolltech AS
Original Assignee
Rolltech AS
Priority date (The priority date is an assumption and is not a legal conclusion. Google has not performed a legal analysis and makes no representation as to the accuracy of the date listed.)
Filing date
Publication date
Application filed by Rolltech AS filed Critical Rolltech AS
Priority to EP23179186.4A priority Critical patent/EP4477832A1/de
Priority to PCT/EP2024/066337 priority patent/WO2024256524A1/en
Priority to EP24732519.4A priority patent/EP4698746A1/de
Publication of EP4477832A1 publication Critical patent/EP4477832A1/de
Withdrawn legal-status Critical Current

Links

Images

Classifications

    • EFIXED CONSTRUCTIONS
    • E06DOORS, WINDOWS, SHUTTERS, OR ROLLER BLINDS IN GENERAL; LADDERS
    • E06BFIXED OR MOVABLE CLOSURES FOR OPENINGS IN BUILDINGS, VEHICLES, FENCES OR LIKE ENCLOSURES IN GENERAL, e.g. DOORS, WINDOWS, BLINDS, GATES
    • E06B3/00Window sashes, door leaves, or like elements for closing wall or like openings; Layout of fixed or moving closures, e.g. windows in wall or like openings; Features of rigidly-mounted outer frames relating to the mounting of wing frames
    • E06B3/66Units comprising two or more parallel glass or like panes permanently secured together
    • E06B3/663Elements for spacing panes
    • E06B3/66309Section members positioned at the edges of the glazing unit
    • E06B3/66314Section members positioned at the edges of the glazing unit of tubular shape
    • E06B3/66319Section members positioned at the edges of the glazing unit of tubular shape of rubber, plastics or similar materials

Definitions

  • the present invention relates to a spacer profile for forming a spacing between glass panes, said spacer profile having improved torsion resistance.
  • the spacer profile comprises a spacer body made of a synthetic material and having a compartment enclosed by an inner wall, an outer wall, a first side surface and a second side surface.
  • the spacer profile further comprises a diffusion barrier and at least two reinforcement elements being separated by a distance.
  • spacers made of various materials and of various shapes are known in the art. Spacers made by roll formed of a metal foil are widely used in the art and considered one of the preferred alternatives because of their stability and their low gas diffusion properties.
  • Insulating Glass Units having a plurality of glass panes are made by automatic manufacturing machines. Spacers are bent automatically to the desired size and shape and are arranged between two neighbouring glass panes. Spacers made of metal foils are easily bent and will remain in such bent position.
  • spacers made of metal foils have a high resistance against diffusion of gases and moisture penetration.
  • a gas is arranged, for instance argon having good insolating properties.
  • the spacers delimiting the cavity need to be resistant against diffusion of such gaseous elements.
  • spacers which are exclusively made of metal, such as aluminium and galvanised steel, also have some disadvantages. Due to a relatively high heat conductivity of metal, spacers made of a metal foil still have a heat conductivity which may be too high under certain circumstances.
  • plastic/polymer material for forming such spacers.
  • plastic material has relatively high gas diffusion as compared to metal.
  • Such a spacer is shown in e.g. EP 0852280B2 .
  • diffusion barriers of other materials in combination with a reinforcement layer extending from one side of the spacer to the other side.
  • the reinforcement materials have a higher heat conductivity i.e. a lower resistance to transfer of heat through the material.
  • spacers have been developed, where the reinforcements are divided into at least two separated pieces. Examples of such spacers are illustrated in EP3781774A1 and EP3162999A1 .
  • a spacer profile made of a synthetic material is reinforced with at least two separated reinforcement elements and in addition to that is provided with a diffusion barrier covering at least a part of the outer surface.
  • the inventors have found a solution to the torsion problem by adding materials to the spacer body.
  • a spacer profile for use as part of a spacer profile frame, which is suitable for being mounted in and/or along an edged area of an insulating glazing unit so as to surround an intervening space between glazing panes, the spacer profile comprising a spacer body made of a synthetic material and extending in a longitudinal direction (Z), said spacer body comprising:
  • the profile body further comprises areas with reduced thickness.
  • areas with reduced thickness the folding of the spacer profile can be controlled during bending into a spacer frame.
  • the synthetic material comprises 15-50 w/w% talc and/or fiberglass, more preferred is 20-45 w/w%.
  • the first and the second reinforcement elements each has an end located closer to the inner wall than to the diffusion barrier, and said end comprises at least four bendings and one of them being a 180 degree bend resulting in two parallel and overlapping layers, where said overlapping layers are essentially perpendicular to the first and second sidewalls, respectively.
  • the first bending is between 45 degrees and 135 degrees. This has the effect of a better absorption of the forces during bending of the spacer profile into a frame for the IGU and therefore results in less wrinkles on the side walls. Wrinkles are not desires as they can result in leaking from the interior of the IGU.
  • first and the second reinforcement elements have two ends, and each end is terminated with a 180 degree bend.
  • first and the second reinforcement elements are positioned at least on and partially in the first and second sidewalls, respectively. In an alternative embodiment, the first and the second reinforcement elements are positioned inside the profile body.
  • a part of the diffusion barrier is positioned between the first and second reinforcement elements and the first and second sidewalls, respectively.
  • the first and the second side walls each comprises a slanting elongation element.
  • the purpose of the slanting element is twofold. It makes a better and smoother connection with the diffusion barrier extending from the first side wall to the second side wall. It also makes additional room for the primary/secondary sealings, when the spacer profile is mounted in the IGU.
  • the profile body further comprises an outer wall positioned on the inner side of the diffusion barrier.
  • the spacer profile further comprises a first connection element connecting the first sidewall with the outer wall and an a second connection element connecting the second sidewall with the outer wall.
  • the spacer profile further comprises both an outer wall and two connection elements connecting the sidewalls with the outer wall.
  • the previously described variants further comprise a third and a fourth reinforcement element.
  • Said third and fourth reinforcement elements can have many shapes, but wires, flattened wires, threads are preferred.
  • the third and fourth reinforcement elements can be made of a metal such as stainless steel, alumina or tin.
  • a spacer profile for use as part of a spacer profile frame, which is suitable for being mounted in and/or along an edged area of an insulating glazing unit so as to surround an intervening space between glazing panes, the spacer profile comprising a spacer body made of a synthetic material and extending in a longitudinal direction (Z), said spacer body comprising:
  • first and the second reinforcement elements are positioned at least on and partially in the first and second sidewalls, respectively. In an alternative embodiment the, first and the second reinforcement elements are positioned inside the profile body.
  • first and the second reinforcement elements have two ends and each end is terminated with a 180 degree bend.
  • the previously described variants further comprise a third and a fourth reinforcement element.
  • Said third and fourth reinforcement elements can have many shapes, but wires, flattened wires, threads are preferred.
  • a particularly suited spacer profile according to the invention is a spacer profile for use as part of a spacer profile frame, which is suitable for being mounted in and/or along an edged area of an insulating glazing unit so as to surround an intervening space between glazing panes, the spacer profile comprising a spacer body made of a synthetic material and extending in a longitudinal direction (Z), said spacer body comprising:
  • first and the second reinforcement elements have two ends, and each end is terminated with a 180 degree bend.
  • the third reinforcement element is positioned between the first reinforcement element and the chamber, whereas the fourth reinforcement element is positioned between the second reinforcement element and the chamber.
  • the spacer body has areas with reduced thickness. Such areas have the effect that the folding of the spacer profile when being bended into a spacer frame can be controlled.
  • the areas with reduced thickness are positioned near the corners and/or near the connection between the sidewalls with the connection elements and/or near the connection between the connection elements and the outer wall.
  • the diffusion barrier has one of the following configurations. Diffusion barriers of the following configurations have shown to be particularly compatible with spacer profiles with separated reinforcements elements.
  • the diffusion barrier can be a barrier made of inorganic materials, or the diffusion barrier can made of a polymeric material.
  • the diffusion barrier can be a single sheet, or it can be of multiple overlapping sheets.
  • Suitable polymeric diffusion barriers are made of materials such as ethylene-vinyl-alcohol copolymers (EVOH) or polyvinyl alcohols.
  • PE polyethylene
  • PET polyethylene terephthalate
  • Preferred inorganic diffusion barriers are metal layers or aluminium oxide layers or SiOx layers, where 1 ⁇ x ⁇ 2.
  • inert gasses such as argon can be contained in the intervening space between the glass panes by one of the layers, while another layer keeps moisture out of the intervening space.
  • a particularly suited multilayer diffusion barrier foil for use in spacer according to the invention is:
  • the multilayer diffusion barrier foil further comprise:
  • the first, second and third inorganic layers can independent of each other be selected from the group consisting of metals, aluminium oxides and silicium oxides.
  • the silicium oxides have the formula SiOx, where 1 ⁇ x ⁇ 2.
  • the aluminium oxides have the formula AlOy, where 0.5 ⁇ y ⁇ 1.5.
  • At least part of the profile body is made of a polymeric material.
  • the polymeric material is a poor heat conduction.
  • Suited polymeric materials can be selected from the group consisting of Polyolefins such as polypropylene or polyethylene terephthalate, polyamides, polycarbonates, ABS, SAN, PCABS. Co-polymers of the mentioned polymers can also be used.
  • the first and second reinforcement elements can have various bending patterns so as to increase stability and foldability.
  • a preferred bending pattern comprises at least four (4) bendings, where the first bending is a bending of at least 80°, preferably at least 90°.
  • Another preferred bending pattern comprises a 180° bend as the last bending thereby forming two substantially parallel overlapping layers.
  • An even more preferred bending pattern comprises a first bending of at least 90° and a last bending of 180° thereby forming two substantially parallel overlapping layers.
  • the spacer profile 1 comprises a profile body 10, where the profile body comprises an inner wall 11. When mounted between the panes in an IG unit, the inner wall is facing the interior of the IG unit, i.e. the intervening space formed between the panes and the spacer.
  • the profile body in figure 1 further comprises a first sidewall 13 and a second sidewall 14.
  • the sidewalls 13, 14 can be parallel to each other, or they can be slightly slanted.
  • the first sidewall 13 is separated from the second sidewall 14 by a second distance d2.
  • the spacer profile 1 further comprises as first reinforcement element 21 and a second reinforcement element 22 being positioned on the first sidewall 13 and the second sidewall respectively.
  • a diffusion barrier 50 extends at least from the first sidewall 13 to the second sidewall 14 and thereby together with the inner wall 10, the first sidewall 13 and the second sidewall 14 define a chamber suitable for a desiccant.
  • the diffusion barrier can be extended up on the outer side on the sidewalls 13, 14 and can be fixed either between the side walls 13, 14 and the reinforcement elements 21, 22 or on the outer side of the reinforcement element.
  • the spacer profile can comprise additional reinforcement elements (not shown) such as a third and a fourth reinforcement element in form of a wire.
  • the spacer profile 1 comprises a profile body 10, where the profile body comprises an inner wall 11 and an outer wall 12 being separated from the inner wall 11 by a first distance d1.
  • the inner wall is facing towards the interior of the IG unit, i.e. the intervening space formed between the panes and the spacer.
  • the profile body in figure 1 further comprises a first sidewall 13 and a second sidewall 14.
  • the sidewalls 13, 14 can be parallel to each other, or they can be slightly slanted.
  • the first sidewall 13 is separated from the second sidewall 14 by a second distance d2.
  • the inner wall and the outer wall are illustrated as being parallel, but that does not have to be the case. Solutions exist, where the inner wall and the outer wall are separated by a first distance d1, and where they are slanted, curved etc. relative to each other.
  • a first connection element 15 and a second connection element 16 connect the sidewall with the outer wall 12.
  • the inner wall 11, the outer wall 12, the first sidewall 13, the second side wall 14, the first connection element 15, the second connection element 16 and the outer wall 12 define a chamber 50, the chamber being suitable for containing a desiccant.
  • the spacer profile 1 further comprises as first reinforcement element 21 and a second reinforcement element 22 being positioned on the first sidewall 13 and the second sidewall, respectively.
  • a diffusion barrier 50 is provided at least on the outer wall.
  • the diffusion barrier can be extended up on the outer side on the sidewalls 13, 14 and can be fixed either between the sidewalls 13, 14 and the reinforcement elements 21, 22 or on the outer side of the reinforcement elements 21,22.
  • the spacer profile can comprise additional reinforcement elements (not shown) such as a third and a fourth reinforcement element in form of a wire.
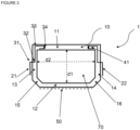
  • Figure 3 illustrates the profile of figure 2 , where the first 21 and the second 22 reinforcement elements further comprise a bending pattern in the end being closest to the inner wall, where said bending pattern comprises a 180 degree bend resulting in two overlapping layers 41 being essentially perpendicular to the sidewall.
  • the bending pattern illustrated further comprises three bendings resulting in four bendings in total.
  • the first bending 31 is a bending of at least 45°, preferably at least 80°, more preferably at least 90°.
  • An even more preferred bending pattern comprises a first bending 31 of at least 90° and a last bending 34 of 180° and forming two substantially parallel overlapping layers 41 substantially parallel with the inner wall.
  • Figure 4 illustrates in addition to the elements illustrated in figure 3 a third reinforcement element 61 and a fourth reinforcement element 62.
  • the third reinforcement element 61 and the fourth reinforcement element 62 are here illustrated to be in the shape of a wire, but other shapes are also possible. They can be a flattened wire, a metal thread or similar.
  • the third reinforcement element 61 and the fourth reinforcement element 62 are positioned near the outer wall 12, but embodiments are also possible, where the third reinforcement element 61 and the fourth reinforcement element 62 are positioned in the inner wall 11 or in the corners.
  • Figure 5 illustrates a spacer profile, where the first 21 and the second 22 reinforcement elements are positioned inside the spacer body.
  • the first reinforcement element 21 and the second reinforcement element 22 each has two ends comprising a bending pattern resulting in an overlapping layer 41, 42 in each end.
  • the overlapping layer 41 being closest to the inner wall is perpendicular to the first and second sidewalls 13, 14.
  • the third reinforcement element 61 is positioned between the first reinforcement element 21 and the chamber 70, whereas the fourth reinforcement element 62 is positioned between the second reinforcement element 22 and the chamber 70.

Landscapes

  • Engineering & Computer Science (AREA)
  • Civil Engineering (AREA)
  • Structural Engineering (AREA)
  • Securing Of Glass Panes Or The Like (AREA)
  • Joining Of Glass To Other Materials (AREA)
EP23179186.4A 2023-06-14 2023-06-14 Torsionsfestes abstandhalterprofil Withdrawn EP4477832A1 (de)

Priority Applications (3)

Application Number Priority Date Filing Date Title
EP23179186.4A EP4477832A1 (de) 2023-06-14 2023-06-14 Torsionsfestes abstandhalterprofil
PCT/EP2024/066337 WO2024256524A1 (en) 2023-06-14 2024-06-13 Torsion resistant spacer profile
EP24732519.4A EP4698746A1 (de) 2023-06-14 2024-06-13 Torsionsfestes abstandhalterprofil

Applications Claiming Priority (1)

Application Number Priority Date Filing Date Title
EP23179186.4A EP4477832A1 (de) 2023-06-14 2023-06-14 Torsionsfestes abstandhalterprofil

Publications (1)

Publication Number Publication Date
EP4477832A1 true EP4477832A1 (de) 2024-12-18

Family

ID=86776301

Family Applications (2)

Application Number Title Priority Date Filing Date
EP23179186.4A Withdrawn EP4477832A1 (de) 2023-06-14 2023-06-14 Torsionsfestes abstandhalterprofil
EP24732519.4A Pending EP4698746A1 (de) 2023-06-14 2024-06-13 Torsionsfestes abstandhalterprofil

Family Applications After (1)

Application Number Title Priority Date Filing Date
EP24732519.4A Pending EP4698746A1 (de) 2023-06-14 2024-06-13 Torsionsfestes abstandhalterprofil

Country Status (2)

Country Link
EP (2) EP4477832A1 (de)
WO (1) WO2024256524A1 (de)

Citations (5)

* Cited by examiner, † Cited by third party
Publication number Priority date Publication date Assignee Title
EP0852280B2 (de) 1996-12-20 2009-06-17 Saint-Gobain Glass France Abstandhalter für Mehrscheiben-Isolierverglasung
US10633914B2 (en) * 2015-12-23 2020-04-28 Ensinger Gmbh Spacer for insulating glass panes
EP3781774A1 (de) 2018-04-17 2021-02-24 Rolltech A/S Abstandshalter mit doppelseitigen oberflächen
EP3162999B1 (de) 2010-10-27 2021-04-21 Technoform Glass Insulation Holding GmbH Abstandshalterprofil und isolierscheibeneinheit mit einem solchen abstandshalterprofil
WO2023030813A1 (de) * 2021-08-31 2023-03-09 Saint-Gobain Glass France Kaltbiegbarer abstandhalter mit verbesserter steifigkeit

Patent Citations (5)

* Cited by examiner, † Cited by third party
Publication number Priority date Publication date Assignee Title
EP0852280B2 (de) 1996-12-20 2009-06-17 Saint-Gobain Glass France Abstandhalter für Mehrscheiben-Isolierverglasung
EP3162999B1 (de) 2010-10-27 2021-04-21 Technoform Glass Insulation Holding GmbH Abstandshalterprofil und isolierscheibeneinheit mit einem solchen abstandshalterprofil
US10633914B2 (en) * 2015-12-23 2020-04-28 Ensinger Gmbh Spacer for insulating glass panes
EP3781774A1 (de) 2018-04-17 2021-02-24 Rolltech A/S Abstandshalter mit doppelseitigen oberflächen
WO2023030813A1 (de) * 2021-08-31 2023-03-09 Saint-Gobain Glass France Kaltbiegbarer abstandhalter mit verbesserter steifigkeit

Also Published As

Publication number Publication date
EP4698746A1 (de) 2026-02-25
WO2024256524A1 (en) 2024-12-19

Similar Documents

Publication Publication Date Title
DK2870313T3 (en) Spacer for double glazing
US10633914B2 (en) Spacer for insulating glass panes
EP2668361B1 (de) Abstandshalterprofil und isolierglaseinheit mit solchem abstandshalter
US8640406B2 (en) Spacer profile having a reinforcement layer
CN100542801C (zh) 压纹的交错层积薄膜
US20090120018A1 (en) Sealed unit and spacer with stabilized elongate strip
KR20160047539A (ko) 절연 글레이징 유닛용 스페이서
US6250045B1 (en) Spacing profile for double-glazing unit
KR20130129372A (ko) 스페이서 프로파일 및 이러한 유형의 스페이서 프로파일을 가진 절연 페인 유닛
GB2527731A (en) Glazing spacer bar
KR20170129830A (ko) 삼중 절연 글레이징의 제조 방법 및 장치
EP4477832A1 (de) Torsionsfestes abstandhalterprofil
US8407952B2 (en) Spacer tube for an insulated glazing, as well as device and method for production of the spacer tube, and insulated glazing having a spacer frame composed of such spacer tubes
EP1889995B1 (de) Abstandhalter für Glasscheiben und ein Verfahren zur Herstellung eines solchen Abstandhalters
DK2746518T3 (en) Two-piece spacer with overlapping surfaces and method of making them
KR20200101022A (ko) 건축용 외장 패널과 그 제조 방법 및 그 외장 패널을 이용한 샌드위치 패널
EP3781774B1 (de) Abstandshalter mit doppelseitigen oberflächen
US10000963B2 (en) Two part spacer with overlapping surfaces
EP4359629B1 (de) Abstandhalterprofil mit dichtungselement
EP0742336A1 (de) Fenster
AU2014100440A4 (en) Perforated sheeting
WO2001051724A1 (en) Vapor and radiant barrier
JPH0719575U (ja) 複層ガラス用のスペーサ構造

Legal Events

Date Code Title Description
PUAI Public reference made under article 153(3) epc to a published international application that has entered the european phase

Free format text: ORIGINAL CODE: 0009012

STAA Information on the status of an ep patent application or granted ep patent

Free format text: STATUS: THE APPLICATION HAS BEEN PUBLISHED

AK Designated contracting states

Kind code of ref document: A1

Designated state(s): AL AT BE BG CH CY CZ DE DK EE ES FI FR GB GR HR HU IE IS IT LI LT LU LV MC ME MK MT NL NO PL PT RO RS SE SI SK SM TR

STAA Information on the status of an ep patent application or granted ep patent

Free format text: STATUS: THE APPLICATION IS DEEMED TO BE WITHDRAWN

18D Application deemed to be withdrawn

Effective date: 20250619